Бесплатная библиотека стандартов и нормативов www.docload.ru

Все документы, размещенные на этом сайте, не являются их официальным изданием и предназначены исключительно для ознакомительных целей.
Электронные копии этих документов могут распространяться без всяких ограничений. Вы можете размещать информацию с этого сайта на любом другом сайте.
Это некоммерческий сайт и здесь не продаются документы. Вы можете скачать их абсолютно бесплатно!
Содержимое сайта не нарушает чьих-либо авторских прав! Человек имеет право на информацию!

 

Министерство внутренних дел Российской Федерации
Государственная противопожарная служба
Нормы пожарной безопасности

 

Лестницы ручные пожарные.
Общие технические требования.
Методы
испытаний

Fire departament hand-operated ladders.
General technical requirements.
Methods of test

 

НПБ 171-98

 

 

Москва 1998

 

Разработаны Всероссийским научно-исследовательским институтом противопожарной обороны (ВНИИПО) МВД России (Н.П. Копылов, С.Г. Цариченко, П.А. Катрасов, В.Н. Леванов, С.А. Заворуев).

Внесены отделом 2.6 ВНИИПО МВД России.

Подготовлены к утверждению отделом пожарной техники и вооружения Главного управления Государственной противопожарной службы (ГУГПС) МВД России (Д.П. Игнатьев).

Утверждены и введены в действие приказом ГУГПС МВД России от 10 июля 1998 г. № 50.

Дата введения в действие 1 октября 1998 г.

 

Настоящий нормативный документ не может быть полностью или частично воспроизведен, тиражирован и распространен в качестве официального издания без разрешения ГУГПС МВД России.

 

 

МИНИСТЕРСТВО ВНУТРЕННИХ ДЕЛ РОССИЙСКОЙ ФЕДЕРАЦИИ
ГОСУДАРСТВЕННАЯ ПРОТИВОПОЖАРНАЯ СЛУЖБА

НОРМЫ ПОЖАРНОЙ БЕЗОПАСНОСТИ

ЛЕСТНИЦЫ РУЧНЫЕ ПОЖАРНЫЕ.

ОБЩИЕ ТРЕБОВАНИЯ.

МЕТОДЫ ИСПЫТАНИЙ

FIRE DEPARTAMENT HAND OPERATED LADDERS.

GENERAL TECHNICAL REQUIREMENTS.

METHODS OF TEST

НПБ 171-98

Дата введения 01.10.98

I. ОБЛАСТЬ ПРИМЕНЕНИЯ

1. Настоящие нормы определяют общие технические требования, методы испытаний, правила и порядок оценки качества лестниц ручных пожарных и распространяются на лестницы ручные пожарные всех типов.

2. Настоящие нормы могут применяться при сертификационных испытаниях в Системе сертификации в области пожарной безопасности.

II. Определения

3. В настоящих нормах использованы следующие термины и определения:

3.1. Лестница ручная пожарная - переносная конструкция, входящая в состав пожарно-технического вооружения пожарного автомобиля и предназначенная для обеспечения боевых действий при тушении пожаров и проведения связанных с ними первоочередных аварийно-спасательных работ на высотах.

3.2. Лестница выдвижная - лестница ручная пожарная, конструктивно состоящая из нескольких параллельно связанных колен и оборудованная механическим устройством перемещения их относительно друг друга в осевом направлении с целью регулирования ее длины. Отсчет колен ведется с верхнего.

3.3. Лестница штурмовая - лестница ручная пожарная, конструктивно состоящая из двух параллельных тетив, жестко соединенных поперечными опорными ступеньками, и оборудованная крюком для подвески на опорную поверхность.

3.4. Лестница-палка - лестница ручная пожарная складная, конструктивно состоящая из двух параллельных тетив, шарнирно соединенных опорными ступеньками.

3.5. Длина лестницы ручной пожарной - максимальное расстояние от нижнего до верхнего конца тетивы лестницы ручной пожарной, приведенной в рабочее состояние (выдвинутой на полную длину).

3.6. Колено - элемент конструкции выдвижной лестницы, состоящий из двух параллельных тетив, жестко соединенных поперечными опорными ступеньками.

3.7. Ширина лестницы в свету - минимальное расстояние между внутренними поверхностями тетив лестницы.

3.8. Шаг ступенек - расстояние между осевыми линиями двух соседних ступенек лестницы.

3.9. Статическая нагрузка - внешнее воздействие, которое не вызывает ускорений деформируемых масс и сил инерции.

3.10. Остаточная деформация - расстояние между контрольной точкой на испытываемом образце, находящемся в исходном состоянии, и этой же точкой на том же образце после снятия нагрузки.

3.11. Контрольная точка - начало координат, образованное пересечением плоскости поверхности лестницы с осью действия нагрузки.

3.12. Базовая горизонтальная поверхность - плоскость, относительно которой производятся замеры для определения остаточной деформации лестниц.

4. Перечень использованных в настоящих НПБ стандартов и других нормативных документов приведен в Приложении.

III. ТЕХНИЧЕСКИЕ ТРЕБОВАНИЯ

5. Общие требования

5.1. Продукция, изготавливаемая отечественными предприятиями, допускается к проведению сертификационных испытаний в области пожарной безопасности, если она в установленном порядке прошла все стадии и этапы разработки, предусмотренные ГОСТ 15.001, ГОСТ 2.103, все виды испытаний (включая межведомственные приемочные), имеет полный комплект конструкторской документации на серийное производство с присвоенной в установленном порядке литерой "А", согласованной с государственным заказчиком пожарно-технической продукции.

Продукция, импортируемая российским потребителям, допускается к проведению сертификационных испытаний в области пожарной безопасности, если она сопровождается эксплуатационной документацией, которая должна быть оформлена на русском языке по ГОСТ 2.601 и одобрена государственным заказчиком пожарно-технической продукции.

Экспертиза конструкторской документации обязательна при организации и проведении сертификационных испытаний в области пожарной безопасности.

(Измененная редакция. Изм. № 2).

5.2. Предприятия, изготавливающие лестницы ручные пожарные, должны иметь лицензию на их производство, выданную ГУГПС МВД России.

5.3. Шаг ступенек лестницы должен быть не более 355 мм.

5.4. Отношение массы лестницы к ее длине не должно превышать:

для выдвижных лестниц - 4,5 кг/м;

для лестниц-палок - 3,1 кг/м;

для штурмовых лестниц - 2,65 кг/м.

(Измененная редакция. Изм. № 3).

5.5. Ширина лестниц в свету должна быть не менее 250 мм.

5.6. Нижние торцы тетив лестниц, за исключением штурмовых лестниц, должны быть оборудованы заостренными шпорами или накладками для предотвращения скольжения лестниц по опорной поверхности.

5.7. Каждая лестница на внешней стороне тетивы должна иметь маркировку, содержащую следующие данные:

товарный знак предприятия-изготовителя;

обозначение лестницы;

порядковый номер по системе нумерации предприятия-изготовителя;

месяц и год изготовления.

Маркировка должна сохраняться в течение всего срока эксплуатации изделия.

Сведения о продукции, отражаемые на изделии и поясняющие порядок его применения, правила безопасности и назначение функциональных деталей, должны быть исполнены на русском языке.

(Измененная редакция. Изм. № 2)

5.8. В конструкции лестниц не должны применяться металлы, взаимодействие которых приводит к контактной коррозии.

5.9. Лестницы должны изготавливаться в климатическом исполнении УХЛ для категории размещения 1 по ГОСТ 15150.

6. Требования к выдвижным лестницам

6.1. Выдвигание колен выдвижной лестницы должно быть плавным, без рывков и заеданий. Усилие выдвигания колен не должно превышать 400 Н. Сдвигание колен лестницы должно происходить под действием собственного веса.

6.2. В конструкции выдвижной лестницы должны быть предусмотрены ограничители выдвигания колен.

6.3. Конструкция выдвижной лестницы должна обеспечивать совпадение шага ступенек в местах перехода с одного колена на другое.

6.4. Выдвижная лестница должна быть оборудована механизмом останова и фиксации выдвигаемых колен по всей рабочей длине лестницы с шагом, равным расстоянию между ступеньками.

6.5. Остаточная деформация тетив горизонтально установленной выдвижной лестницы после воздействия посредине ее длины предварительной статической нагрузки 490,5 Н (50 кгс) и контрольной статической нагрузки 1569,6 Н (160 кгс), не должна превышать 1 % от длины лестницы.

6.6. Остаточная деформация тетив выдвижной лестницы, установленной на ребро, после воздействия посредине длины нижней тетивы статической нагрузки 588,6 Н (60 кгс) не должна превышать 1 % от длины лестницы.

6.7. Остаточная деформация неопертого конца одной из тетив горизонтально установленной выдвижной лестницы после воздействия посредине длины неопертой тетивы статической нагрузки 294,3 Н (30 кгс) не должна превышать 1 % от длины лестницы.

6.8. Остаточная деформация середины ступеньки выдвижной лестницы после воздействия на нее статической нагрузки 3531,6 Н (360 кгс) не должна превышать 2 % от ширины лестницы (колена) в свету.

6.9. Ступенька выдвижной лестницы должна выдерживать без деформации статическую нагрузку не менее 3531,6 Н (360 кгс), приложенную вплотную к одной из тетив.

6.10. Ступенька выдвижной лестницы должна выдерживать циклический крутящий момент не менее 50 Нм.

6.11. Выдвижная лестница в рабочем положении должна без деформации выдерживать комбинированную статическую нагрузку не менее 4708,8 Н (480 кгс), создаваемую тремя грузами массой не менее 160 кг, подвешенными к тетивам каждого колена на уровне верхних ступенек.

6.12. Вероятность безотказной работы выдвижной лестницы должна быть не менее 0,98.

6.13. Назначенный ресурс выдвижной лестницы должен составлять не менее 3000 циклов выдвигания и сдвигания.

7. Требования к штурмовым лестницам

7.1. Остаточная деформация тетив горизонтально установленной штурмовой лестницы после воздействия посредине ее длины предварительной статической нагрузки 490,5 Н (50 кгс) и контрольной статической нагрузки 1569,6 Н (160 кгс) не должна превышать 1 % от длины лестницы.

7.2. Остаточная деформация тетив штурмовой лестницы, установленной на ребро, после воздействия посредине длины нижней тетивы статической нагрузки 588,6 Н (60 кгс) не должна превышать 1 % от длины лестницы.

7.3. Остаточная деформация неопертого конца одной из тетив горизонтально установленной штурмовой лестницы после воздействия посредине длины неопертой тетивы статической нагрузки 294,3 Н (30 кгс) не должна превышать 1 % от длины лестницы.

7.4. Остаточная деформация середины ступеньки штурмовой лестницы после воздействия на нее статической нагрузки 3531,6 Н (360 кгс) не должна превышать 2 % от ширины лестницы (колена) в свету.

7.5. Ступенька штурмовой лестницы должна выдерживать без деформации статическую нагрузку не менее 3531,6 Н (360 кгс), приложенную вплотную к одной из тетив.

7.6. Ступенька штурмовой лестницы должна выдерживать циклический крутящий момент не менее 50 Нм.

7.7. Штурмовая лестница в рабочем положении должна выдерживать без деформации статическую нагрузку не менее 3531,6 Н (360 кгс).

7.8. Штурмовая лестница, подвешенная за концевой зуб крюка, должна без деформации выдерживать статическую нагрузку не менее 1569,6 Н (160 кгс).

8. Требования к лестницам-палкам

8.1. Конструкция лестницы-палки в рабочем положении должна обеспечивать прямой угол между ступеньками и тетивами.

8.2. Усилие раскладывания лестницы-палки в рабочее положение не должно превышать 80 Н.

8.3. Остаточная деформация тетив горизонтально установленной лестницы-палки после воздействия посредине ее длины предварительной статической нагрузки 490,5 Н (50 кгс) и контрольной статической нагрузки 1176 Н (120 кгс) не должна превышать 1 % от длины лестницы.

8.4. Остаточная деформация середины ступеньки лестницы-палки после воздействия на нее статической нагрузки 1569,6 Н (160 кгс) не должна превышать 2 % от ширины лестницы (колена) в свету.

8.5. Ступенька лестницы-палки должна выдерживать без деформации статическую нагрузку не менее 1569,6 Н (160 кгс), приложенную вплотную к одной из тетив.

8.6. Лестница-палка в рабочем положении должна без деформации выдерживать статическую нагрузку не менее 1962 Н (200 кгс).

IV. МЕТОДЫ ИСПЫТАНИЙ

9. Общие требования к проведению испытаний

9.1. Испытания должны проводиться при нормальных климатических условиях по ГОСТ 15150.

9.2. Нагрузки, прикладываемые к испытываемым изделиям, должны быть статическими.

9.3. Приборы и оборудование, применяемые при испытаниях, должны быть поверены и иметь действующие технические паспорта.

9.4. Допускается использование других приборов и оборудования, обеспечивающих заданную точность измерений.

9.5. Осмотр лестницы и проведение необходимых измерений по результатам испытания должны осуществляться не ранее чем через 60 с после снятия нагрузки.

10. Отбор образцов

Выбор образцов производят методом случайного отбора на предприятии-изготовителе из партии лестниц, равной их месячному выпуску (но не менее 20 шт.), в количестве не менее:

лестницы выдвижные - пяти образцов;

лестницы штурмовые - трех образцов;

лестницы-палки - трех образцов.

11. Проверка документации по пп. 5.1, 5.2, 5.8, 5.9

Проверке подвергают весь комплект научно-технической документации на изделие.

Изделие допускают к дальнейшим испытаниям, если:

оно прошло все стадии и этапы разработки, предусмотренные ГОСТ 2.103, ГОСТ 15.001, и предприятие-изготовитель имеет лицензию на производство данного вида продукции;

конструкция изделия удовлетворяет требованиям пп. 5.8, 5.9.

12. Проверка комплектации, качества сборки и маркировки лестницы по пп. 5.6, 5.7, 6.2 - 6.4, 8.1

Проверке подвергают все образцы изделия, представленные на испытания.

12.1. Проведение испытания

12.1.1. Проверку производят внешним осмотром и сличением с документацией.

12.1.2. Изделие считают выдержавшим проверку, если не обнаружено несоответствия комплектации, маркировки и паспортных данных требованиям настоящих норм и конструкторской документации.

13. Проверка линейных размеров по пп. 5.3 - 5.5, 6.4

Проверке подвергают все образцы изделия, представленные на испытания.

13.1. Аппаратура

Рулетка измерительная металлическая по ГОСТ 7502.

Линейка измерительная металлическая по ГОСТ 427.

Штангенциркуль по ГОСТ 166.

13.2. Проведение испытания

13.2.1. Длину лестницы в сложенном и в рабочем состоянии измеряют рулеткой с погрешностью не более ±5 мм.

Ширину, толщину и ширину лестницы в свету измеряют линейкой с погрешностью не более ±1 мм.

Шаг ступенек измеряют между нижними или верхними кромками двух соседних ступенек линейкой с погрешностью не более ±1 мм. При проверке выдвижных лестниц дополнительно измеряют шаг ступенек в местах перехода с одного колена на другое.

Диаметр ступеньки измеряют штангенциркулем с погрешностью не более ±0,5 мм.

13.2.2. Изделие считают выдержавшим проверку, если:

его линейные размеры соответствуют документации;

шаг ступенек не превышает 355 мм;

ширина лестницы в свету составляет не менее 250 мм.

14. Проверка массы по п. 5.4

Проверке подвергают все образцы изделия, представленные на испытания.

14.1. Аппаратура

Весы для статического взвешивания по ГОСТ 29329 среднего класса точности или динамометр пружинный типа ДПУ второго класса точности по ГОСТ 13837 с наибольшим пределом взвешивания 100 кг.

14.2. Проведение испытания

14.2.1. Лестницу взвешивают на весах или с помощью динамометра с погрешностью не более ±0,1 кг.

14.2.2. Изделие считают выдержавшим проверку, если его масса соответствует документации и отношение массы лестницы к ее длине не превышает:

для выдвижных лестниц - 4,5 кг/м;

для лестниц-палок - 3,1 кг/м;

для штурмовых лестниц - 2,1 кг/м.

15. Испытание горизонтально установленной лестницы на прочность по пп. 6.5, 7.1, 8.3

Испытанию подвергают один образец изделия, прошедший проверки по пп. 12 - 14.

15.1. Аппаратура

Опоры, обеспечивающие установку лестницы в горизонтальной плоскости, с цилиндрической поверхностью радиусом не менее 15 мм, находящейся в контакте с испытываемым изделием.

Контрольные грузы массой (50±1) кг и (160±1) кг (для испытания лестницы-палки - грузы массой (50±1) кг и (120±1) кг).

Рулетка измерительная металлическая по ГОСТ 7502.

Линейка измерительная металлическая по ГОСТ 427.

Секундомер по ГОСТ 5072.

Подкладка - стальная пластина длиной не менее ширины лестницы, шириной от 80 до 100 мм и толщиной не менее 10 мм.

15.2. Подготовка к испытанию

15.2.1. Лестницу приводят в рабочее состояние (выдвижную лестницу выдвигают на полную длину, лестницу-палку раскладывают) и устанавливают горизонтально на опоры. Опоры должны быть расположены под первой и последней ступеньками лестницы в соответствии с рис. 1.

Рис. 1

15.2.2. Во избежание смещения колен выдвижной лестницы или тетив лестницы-палки во время испытания допускается использовать дополнительные фиксирующие приспособления.

15.3. Проведение испытания

15.3.1. Отмечают середину длины лестницы и на обе ее тетивы посредине длины укладывают подкладку с погрешностью не более ±5 мм.

15.3.2. Лестницу нагружают путем установки груза массой (50 ±1) кг на подкладку. Время воздействия нагрузки должно составлять (60 ±1) с.

После снятия нагрузки измеряют расстояние от контрольной точки до базовой горизонтальной поверхности.

15.3.3. Испытание лестницы повторяют в соответствии с п. 15.3.2 при нагружении ее грузом массой (160 ±1) кг (при испытании лестницы-палки используют груз массой (120 ±1) кг).

15.3.4. Изделие считают выдержавшим испытание, если остаточная деформация лестницы, равная разнице измерений, проведенных по пп. 15.3.2 и 15.3.3, не превысила 0,01 длины лестницы.

16. Испытание лестницы, установленной на ребро, на прочность по пп. 6.6, 7.2

Испытанию подвергают один образец изделия, прошедший проверку по п. 15.

16.1. Аппаратура

Опоры в соответствии с п. 15.1.

Контрольный груз массой (60 ±1) кг.

Рулетка измерительная металлическая по ГОСТ 7502.

Линейка измерительная металлическая по ГОСТ 427.

Секундомер по ГОСТ 5072.

Подкладка - стальная пластина длиной от 80 до 100 мм, шириной не менее ширины тетивы лестницы и толщиной не менее 10 мм.

16.2. Подготовка к испытанию

Лестницу приводят в рабочее состояние по п. 15.2.1 и устанавливают ребром на опоры. Опоры должны быть расположены под первой и последней ступеньками лестницы (рис. 2).

Рис. 2

16.3. Проведение испытания

16.3.1. Отмечают середину длины лестницы и на ее нижнюю тетиву посредине длины укладывают подкладку с погрешностью не более ±5 мм.

16.3.2. Измеряют расстояние от контрольной точки на нижней тетиве лестницы до базовой горизонтальной поверхности.

16.3.3. Лестницу нагружают путем установки или подвески контрольного груза на подкладку в соответствии с рис. 2. Время воздействия нагрузки должно составлять (60 ±1) с.

16.3.4. После снятия нагрузки измеряют расстояние от контрольной точки на нижней тетиве лестницы до базовой горизонтальной поверхности.

16.3.5. Изделие считают выдержавшим испытание, если остаточная деформация лестницы, равная разнице измерений, проведенных по пп. 16.3.2 и 16.3.4, не превысила 0,01 длины лестницы.

17. Испытание лестницы на кручение по пп. 6.7, 7.3

Испытанию подвергают один образец изделия, прошедший проверку по п. 15.

17.1. Аппаратура

Опоры в соответствии с п. 15.1.

Контрольный груз массой (30,0 ±0,5) кг.

Рулетка измерительная металлическая по ГОСТ 7502.

Линейка измерительная металлическая по ГОСТ 427.

Секундомер по ГОСТ 5072.

Струбцина по ГОСТ 31.2031.02.

Подкладка - стальная пластина длиной от 80 до 100 мм, шириной не менее ширины тетивы лестницы и толщиной (10 ±2) мм.

17.2. Подготовка к испытанию

Лестницу приводят в рабочее положение по п. 15.2.1 и устанавливают горизонтально на опоры в соответствии с рис. 3. Одна опора должна быть установлена под первой (нижней) ступенькой и прикреплена к тетивам лестницы с помощью струбцин. Вторая опора должна быть установлена под одной из тетив на расстоянии (250 ±5) мм от противоположного конца лестницы и прикреплена к этой тетиве струбциной.

17.3. Проведение испытания

17.3.1. Отмечают середину длины лестницы и на ее незакрепленную тетиву посредине длины укладывают подкладку с погрешностью не более ±5 мм.

17.3.2. Измеряют расстояние от произвольно выбранной точки на краю незакрепленного конца свободной тетивы до базовой горизонтальной поверхности.

17.3.3. Лестницу нагружают путем установки или подвески контрольного груза на подкладку (рис. 3). Время воздействия нагрузки должно составлять (60 ±1) с.

Рис. 3

17.3.4. После снятия нагрузки измеряют расстояние выбранной точки по п. 17.3.2 до базовой горизонтальной поверхности.

17.3.5. Изделие считают выдержавшим испытание, если остаточная деформация, равная разнице измерений, проведенных по пп. 17.3.2 и 17.3.4, не превысила 0,01 длины лестницы.

17.3.6. Испытание лестницы повторяют по пп. 17.3.1 - 17.3.5 после перестановки второй опоры под другую тетиву.

18. Испытание ступеньки лестницы на изгиб по пп. 6.8, 7.4, 8.4

Испытанию подвергают один образец изделия, прошедший проверку по п. 17. Испытываемая ступенька не должна быть усиленной.

18.1. Аппаратура

Линейка измерительная металлическая по ГОСТ 427.

Штангенциркуль по ГОСТ 166.

Контрольный груз массой (360 ±2) кг (для испытания ступеньки лестницы-палки - контрольный груз массой (160 ±1) кг).

Секундомер по ГОСТ 5072.

Подкладка - стальная пластина (или скоба) с амортизирующим резиновым слоем шириной от 80 до 100 мм, толщиной (10 ±2) мм; ширина подкладки на (25 ±2) мм больше диаметра ступеньки.

Шаблон - металлический стержень круглого сечения диаметром, равным диаметру ступеньки. Длина стержня должна равняться ширине в свету испытываемой лестницы.

18.2. Подготовка к испытанию

18.2.1. Выдвижную лестницу демонтируют и испытание проводят на ее нижнем колене.

18.2.2. Лестницу (колено) устанавливают с опорой на стену под углом (75 ±5)° к горизонту. Тетивы штурмовой лестницы должны иметь дополнительную опору на уровне испытываемой ступеньки.

18.3. Проведение испытания

18.3.1. На ступеньку сверху накладывают шаблон и производят измерение их суммарной толщины с помощью штангенциркуля.

18.3.2. Отмечают середину длины ступеньки и на нее с погрешностью не более ±1 мм устанавливают подкладку (скобу) резиновой поверхностью к ступеньке (рис. 4).

Рис. 4:

1 - ступенька; 2 - резиновая пластина; 3 - металлическая пластина

18.3.3. Нагружение производят путем установки или подвески на подкладку (скобу) контрольного груза в соответствии с рис. 5. Время воздействия нагрузки должно составлять (120 ±1) с.

Рис. 5

(Измененная редакция. Изм. № 3).

18.3.4. После снятия нагрузки на испытываемую ступеньку сверху накладывают шаблон и измеряют их суммарную толщину в месте приложения нагрузки.

18.3.5. Изделие считают выдержавшим испытание, если остаточная деформация, равная разнице измерений, проведенных по пп. 18.3.1 и 18.3.4, не превысила 0,02 ширины в свету испытываемой лестницы (колена).

19. Испытание ступеньки лестницы на срез по пп. 6.9, 7.5, 8.5

Испытанию подвергают один образец изделия, прошедший проверку по п. 18. Испытываемая ступенька не должна быть усиленной и не должна быть подвергнута испытанию по п. 18.

19.1. Аппаратура

Контрольный груз, секундомер, штангенциркуль, подкладка (скоба) и шаблон по п. 18.1.

19.2. Подготовка к испытанию

Подготовку к испытанию проводят в соответствии с п. 18.2.

19.3. Проведение испытания

19.3.1. На ступеньку сверху накладывают шаблон и производят измерение их суммарной толщины.

19.3.2. Нагружение производят через подкладку (скобу), установленную на ступеньке вплотную с одной из тетив (резиновой поверхностью к ступеньке) путем установки или подвески контрольного груза в соответствии с рис. 6. Время воздействия нагрузки должно составлять (120±1) с.

Рис. 6

(Измененная редакция. Изм. № 3).

19.3.3. После снятия нагрузки на испытываемую ступеньку сверху накладывают шаблон и измеряют их суммарную толщину в месте приложения нагрузки.

19.3.4. Изделие считают выдержавшим испытание, если результаты измерений, проведенных по пп. 19.3.1 и 19.3.2, совпали.

20. Испытание ступеньки лестницы на кручение по пп. 6.10, 7.6

Испытанию подвергают один образец лестницы, прошедший проверку по п. 19. При этом ступенька не должна быть подвергнута испытанию по п. 19 и не должна быть усиленной.

20.1. Аппаратура

Контрольный груз массой (10,0 ±0,1) кг.

Линейка измерительная металлическая по ГОСТ 427.

Секундомер по ГОСТ 5072.

Рычаг двуплечий длиной (1000 ±5) мм с крюками на концах. Посредине рычага - зажим для крепления рычага на ступеньке. Ширина зажима (90 ±5) мм.

20.2. Подготовка к испытанию

20.2.1. Лестницу (колено) устанавливают с опорой на стену под углом (75±5)° к горизонту.

20.2.2. Отмечают середину длины ступеньки и на нее с погрешностью не более ±5 мм закрепляют двуплечий рычаг в соответствии с рис. 7.

Рис. 7.

Приспособление для испытания ступеньки на кручение

Положение ступеньки относительно тетив отмечают рисками.

20.3. Проведение испытания

20.3.1. Производят поочередное нагружение концов рычага контрольным грузом в течение 20 циклов. Циклом считают нагружение одного конца рычага в течение (30 ±1) с.

20.3.2. Изделие считают выдержавшим испытание, если в процессе нагружений не произошло смещения ступеньки относительно тетив.

21. Проверка усилия выдвигания колен выдвижной лестницы по п. 6.1

Проверке подвергают четыре образца изделия, прошедшие проверки по пп. 12 - 14.

21.1. Аппаратура

Приспособление для установки нижнего колена лестницы.

Динамометр пружинный ДПУ-0,05-2 по ГОСТ 13837.

Устройство для фиксации динамометра на синтетическом канате механизма выдвигания.

21.2. Подготовка к проверке

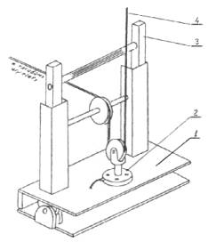
21.2.1. Лестницу в сложенном состоянии устанавливают в приспособление (рис. 8, поз. 1) под углом (85±5)° к горизонту.

Рис. 8:

1 - приспособление для установки лестницы; 2 - силоизмеретельный датчик; 3 - лестница выдвижная трехколенная; 4 - канат механизма выдвигания

21.2.2. Соединяют верхнюю скобу динамометра с синтетическим канатом механизма выдвигания колен с помощью одного из устройств в соответствии с рис. 9, 10. Допускается соединять динамометр с канатом механизма выдвигания с помощью синтетического шнура диаметром от 4 до 6 мм, завязанного одним из узлов в соответствии с рис. 11, 12.

Рис. 9. Зажим Хиблера

Рис. 10. Жумар

Рис. 11. Узел Бахмана

 

Рис. 12. Карабинный узел

 

21.3. Проведение проверки

21.3.1. Выдвигание колен производят до максимальной длины лестницы путем натяжения свободной скобы динамометра вертикально вниз. По мере выдвигания колен устройство для фиксации вместе с динамометром необходимо периодически перемещать вверх по канату. Усилие выдвигания контролируют по показанию динамометра.

21.3.2. Отсоединяют фиксирующее устройство от каната механизма выдвигания колен и складывают лестницу.

21.3.3. Изделие считают выдержавшим проверку, если усилие выдвигания колен не превысило 400 Н и складывание колен лестницы произошло под действием их собственного веса.

22. Испытание выдвижной лестницы в рабочем положении на прочность по п. 6.11

Испытанию подвергают одно изделие, прошедшее проверку по п. 21.

22.1. Аппаратура

Приспособление по 21.1.

Комплект контрольных грузов массой по (160±1) кг.

Секундомер по ГОСТ 5072.

Силовая скоба шириной от 80 до 100 мм.

22.2. Подготовка к испытанию

Лестницу устанавливают в приспособление, выдвигают на полную длину и опирают на стену под углом (75±5)° к горизонту.

Рис. 13

22.3. Проведение испытания

22.3.1. Производят нагружение лестницы путем подвески контрольных грузов по одному на верхнюю ступеньку каждого колена с помощью скоб, размещенных на ступеньках вплотную с тетивами в соответствии с рис. 13. Время воздействия нагрузки должно составлять (120 ±1) с.

22.3.2. После снятия нагрузки производят проверку по п. 21.

22.3.3. Изделие считают выдержавшим проверку, если усилие выдвигания колен не превысило 400 Н и складывание колен лестницы произошло под действием их собственного веса.

23. Проверка вероятности безотказной работы выдвижной лестницы по п. 6.12

Испытанию подвергают три образца изделия, прошедшие проверку по п. 21.

23.1. Аппаратура

Приспособление по п. 21.1.

Тяговый механизм.

Контрольный груз массой (200 ±2) кг.

Силовая скоба шириной от 80 до 100 мм.

Динамометр пружинный ДПУ-0,1-2 по ГОСТ 13837.

23.2. Подготовка к испытанию

23.2.1. Нижнее колено лестницы фиксируют в приспособлении под углом (85±5)° к горизонту.

23.2.2. Тяговый механизм соединяют через динамометр с канатом механизма выдвигания колен лестницы в соответствии с рис. 8.

Примечание. Допускается проводить испытание путем выдвигания и складывания колен вручную в соответствии с Правилами по охране труда в подразделениях ГПС МВД России и Нормативами по пожарно-строевой подготовке.

23.3. Проведение испытания

23.3.1. Испытание проводят в соответствии с ГОСТ 27.410 одноступенчатым методом в течение одного расчетного цикла применения для:

N = 114; Рa = 0,999; Рb = 0,98; a = b = 0,1,

где N - суммарное количество независимых наблюдений на трех образцах; Рa - приемочный уровень вероятности безотказной работы; Рb - браковочный уровень вероятности безотказной работы; a - риск изготовителя; b - риск потребителя.

Цикл включает в себя ряд последовательных операций:

выдвигание лестницы на полную длину (с замером усилия выдвигания) и установку ее к опорной стене под углом (75 ± 5)° к горизонту;

нагружение лестницы путем подвески контрольного груза с помощью скобы в центре ступеньки посредине второго колена в течение 30 с;

снятие нагрузки;

складывание лестницы.

Продолжительность испытаний должна составлять 38 циклов для каждого образца изделия.

23.3.2. Вероятность безотказной работы изделия за один цикл применения равна 0,98, если в процессе испытания не произошло ни одного отказа в работе образцов выдвижной лестницы.

Отказами следует считать:

несрабатывание механизма останова лестницы;

превышение усилия выдвигания колен 400 Н;

заклинивание колен при складывании лестницы.

24. Проверка назначенного ресурса выдвижной лестницы по п. 6.13

Испытанию подвергают один образец изделия, выдержавший проверку по п. 23.

24.1. Аппаратура

Приспособление, тяговый механизм и динамометр по п. 23.1.

24.2. Подготовка к испытанию по п. 23.2

24.3. Проведение испытания

24.3.1. Испытание проводят в соответствии с ГОСТ 27.410 одноступенчатым методом для:

tmax = 3000; a = b = 0,1,

где tmax - требуемая суммарная наработка в циклах; a - риск изготовителя; b - риск потребителя.

Цикл включает в себя ряд последовательных операций:

выдвигание колена;

установку любой из ступенек выдвигаемого колена на рычаги механизма останова;

снятие выдвигаемого колена с рычагов механизма останова;

складывание лестницы.

Продолжительность испытаний должна составлять 3000 циклов с учетом наработки по пп. 21 и 23.

В процессе испытания на рычаг механизма останова должны быть поочередно установлены все ступеньки выдвигаемого колена.

24.3.2. Изделие считают выдержавшим проверку назначенного ресурса, если в процессе испытания не произошло ни одного отказа по п. 23.3.2.

25. Испытание штурмовой лестницы в рабочем положении на прочность по п. 7.7

Испытанию подвергают один образец изделия, прошедший проверки по пп. 12 - 14.

25.1. Аппаратура

Контрольный груз массой (360 ±2) кг.

Секундомер по ГОСТ 5072.

Силовая скоба шириной от 80 до 100 мм.

25.2. Подготовка к испытанию

Лестницу подвешивают на опорной поверхности вплотную к вертикальной стене в соответствии с рис. 14.

Рис. 14

25.3. Проведение испытания

25.3.1. Производят нагружение лестницы путем подвески контрольного груза ко второй снизу ступеньке с помощью скоб, установленных вплотную к тетивам лестницы. Время воздействия нагрузки должно составлять (120 ± 1) с.

(Измененная редакция. Изм. № 3).

25.3.2. Изделие считают выдержавшим испытание, если после снятия нагрузки не наблюдалось остаточной деформации или разрушения элементов конструкции лестницы.

26. Испытание крюка штурмовой лестницы на прочность по п. 7.8

Испытанию подвергают один образец изделия, прошедший проверки по пп. 12 - 14.

26.1. Аппаратура

Контрольный груз массой (160±1) кг.

Секундомер по ГОСТ 5072.

Силовая скоба шириной от 80 до 100 мм.

26.2. Подготовка к испытанию

Лестницу подвешивают на опорной поверхности за большой концевой зуб крюка.

26.3. Проведение испытания

26.3.1. Производят нагружение лестницы путем подвески контрольного груза ко второй снизу ступеньке с помощью скоб, установленных вплотную к тетивам лестницы, в соответствии с рис. 15. Время воздействия нагрузки должно составлять (120±1) с.

Рис. 15

26.3.2. Изделие считают выдержавшим испытание, если после снятия нагрузки не наблюдалось остаточной деформации или разрушения элементов конструкции лестницы.

27. Проверка усилия раскладывания лестницы-палки по п. 8.2

Проверке подвергают один образец изделия, прошедший проверки по пп. 12 - 14.

27.1. Аппаратура

Динамометр пружинный ДПУ-0,02-2 по ГОСТ 13837.

Струбцина по ГОСТ 31.2031.02.

Рулетка измерительная металлическая по ГОСТ 7502.

Технологический стол с закрепленным основанием.

27.2. Подготовка к проверке

27.2.1. Лестницу закрепляют с помощью струбцин за одну из тетив к поверхности стола. Тетивы лестницы должны находиться в горизонтальной плоскости.

27.2.2. Отмечают середину длины незакрепленной тетивы и устанавливают на ней струбцину с погрешностью не более ±0,5 мм. К струбцине присоединяют проушину динамометра.

27.3. Проведение проверки

27.3.1. Раздвигают лестницу в рабочее состояние путем натяжения свободной проушины динамометра с одновременным замером усилия раскладывания.

27.3.2. Изделие считают выдержавшим проверку, если величина усилия раскладывания лестницы не превысила 80 Н.

28. Испытание лестницы-палки в рабочем положении на прочность по п. 8.6

Испытанию подвергают один образец изделия, прошедший проверку по п. 27.

28.1. Аппаратура

Контрольный груз массой (200 ±2) кг.

Секундомер по ГОСТ 5072.

Силовая скоба шириной от 80 до 100 мм.

28.2. Подготовка к испытанию

Лестницу раскладывают в рабочее состояние и устанавливают с опорой на стену под углом (75±5)° к горизонту.

28.3. Проведение испытания

28.3.1. Производят нагружение лестницы путем подвески контрольного груза к средней ступеньке лестницы с помощью скоб, расположенных вплотную к тетивам, в соответствии с рис. 16. Время воздействия нагрузки должно составлять (120±1) с.

Рис. 16

28.3.2. Проводят проверку лестницы по п. 27.

28.3.3. Изделие считают выдержавшим испытание, если не наблюдалось остаточной деформации или разрушения элементов конструкции лестницы, а усилие раскладывания лестницы не превысило 80 Н.

V. ОБЪЕМ РАЗЛИЧНЫХ ВИДОВ ИСПЫТАНИЙ

29. В зависимости от вида испытаний их объем должен отвечать соответствующим требованиям и методам (см. таблицу).

Наименование испытания

Пункт технических требований

Пункт методов испытаний

Вид испытаний

Приемосдаточные

Периодические

Сертификационные

Проверка документации

5.1, 5.2, 5.8, 5.9

11

+

 

+

Проверка комплектации, качества сборки и маркировки

5.6, 5.7, 6.2 - 6.4, 8.1

12

+

+

+

Проверка линейных размеров

5.3 - 5.5, 6.4

13

+

+

+

Проверка массы

5.4

14

+

+

+

Испытание горизонтально установленной лестницы на прочность

6.5, 7.1, 8.3

15

 

+

+

Испытание лестницы, установленной на ребро, на прочность

6.6, 7.2

16

 

+

+

Испытание лестницы на кручение

6.7, 7.3

17

 

+

+

Испытание ступеньки лестницы на изгиб

6.8, 7.4, 8.4

18

+

+

+

Испытание ступеньки лестницы на срез

6.9, 7.5, 8.5

19

 

+

+

Испытание ступеньки лестницы на кручение

6.10, 7.6

20

+

+

+

Проверка усилия выдвигания колен выдвижной лестницы

6.1

21

+

+

+

Проверка вероятности безотказной работы выдвижной лестницы

6.12

23

 

+

+

Проверка назначенного ресурса выдвижной лестницы

6.13

24

 

+

+

Испытание лестницы в рабочем положении на прочность

6.11, 7.7, 8.6

22

25

28

+

+

+

+

+

+

+

+

+

Испытание крюка штурмовой лестницы на прочность

7.8

26

+

+

+

Проверка усилия раскладывания лестницы-палки

8.2

27

 

+

+

Примечания:

1. Проверка вероятности безотказной работы выдвижной лестницы и проверка назначенного ресурса выдвижной лестницы при проведении сертификационных испытаний предусмотрены только для импортных изделий.

2. Проверка вероятности безотказной работы выдвижной лестницы и проверка назначенного ресурса выдвижной лестницы отечественного производства должны осуществляться при проведении периодических испытаний один раз в три года.

(Измененная редакция. Изм. № 1).

Приложение

Перечень использованных в НПБ стандартов
и других нормативных документов

ГОСТ 2.103-88 ЕСКД. Стадии разработки.

ГОСТ 15.001-88. Система разработки и постановки продукции на производство. Продукция производственно-технического назначения.

ГОСТ 27.410-87 Надежность в технике. Методы контроля показателей надежности и планы контрольных испытаний на надежность.

ГОСТ 31.2031.02-91 Приспособления сборно-разборные переналаживаемые для сборки деталей под сварку. Технические условия.

ГОСТ 166-89 Штангенциркули. Технические условия.

ГОСТ 427-75 Линейки измерительные металлические. Технические условия.

ГОСТ 5072-79Е Секундомеры механические. Технические условия.

ГОСТ 7502-89 Рулетки измерительные металлические. Технические условия.

ГОСТ 13837-79 Динамометры общего назначения. Технические условия.

ГОСТ 15150-69 Машины, приборы и другие технические изделия. Исполнения для различных климатических районов. Категории, условия эксплуатации, хранения и транспортирования в части воздействия климатических факторов внешней среды.

ГОСТ 29329-92 Весы для статического взвешивания. Общие технические требования.

Приказ МВД России от 25.05.96 г. № 285: Правила по охране труда в подразделениях ГПС МВД России.

Указание ГУГПС МВД России от 30.12.94 г. № 20/3.1/2188: Нормативы по пожарно-строевой подготовке.

Приказ МВД России от 05.07.95 г. № 257: Боевой устав пожарной охраны.

 

СОДЕРЖАНИЕ

I Область применения

II Определения

III Технические требования

5. Общие требования

6. Требования к выдвижным лестницам

7. Требования к штурмовым лестницам

8. Требования к лестницам-палкам

IV Методы испытаний

9. Общие требования к проведению испытаний

10. Отбор образцов

11. Проверка документации по пп. 5.1, 5.2, 5.8, 5.9

12. Проверка комплектации, качества сборки и маркировки лестницы по пп. 5.6, 5.7, 6.2 - 6.4, 8.1

13. Проверка линейных размеров по пп. 5.3 - 5.5, 6.4

14. Проверка массы по п. 5.4

15. Испытание горизонтально установленной лестницы на прочность по пп. 6.5, 7.1, 8.3

16. Испытание лестницы, установленной на ребро, на прочность по пп. 6.6, 7.2

17. Испытание лестницы на кручение по пп. 6.7, 7.3

18. Испытание ступеньки лестницы на изгиб по пп. 6.8, 7.4, 8.4

19. Испытание ступеньки лестницы на срез по пп. 6.9, 7.5, 8.5

20. Испытание ступеньки лестницы на кручение по пп. 6.10, 7.6

21. Проверка усилия выдвигания колен выдвижной лестницы по п. 6.1

22. Испытание выдвижной лестницы в рабочем положении на прочность по п. 6.11

23. Проверка вероятности безотказной работы выдвижной лестницы по п. 6.12

24. Проверка назначенного ресурса выдвижной лестницы по п. 6.13

25. Испытание штурмовой лестницы в рабочем положении на прочность по п. 7.7

26. Испытание крюка штурмовой лестницы на прочность по п. 7.8

27. Проверка усилия раскладывания лестницы-палки по п. 8.2

28. Испытание лестницы-палки в рабочем положении на прочность по п. 8.6

V Объем различных видов испытаний

Приложение Перечень использованных в НПБ стандартов и других нормативных документов

 




Rambler's Top100 Яндекс цитирования
  Copyright © 2008-2026, www.docload.ru