Бесплатная библиотека стандартов и нормативов www.docload.ru

Все документы, размещенные на этом сайте, не являются их официальным изданием и предназначены исключительно для ознакомительных целей.
Электронные копии этих документов могут распространяться без всяких ограничений. Вы можете размещать информацию с этого сайта на любом другом сайте.
Это некоммерческий сайт и здесь не продаются документы. Вы можете скачать их абсолютно бесплатно!
Содержимое сайта не нарушает чьих-либо авторских прав! Человек имеет право на информацию!

 

МИНИСТЕРСТВО ВНУТРЕННИХ ДЕЛ РОССИЙСКОЙ ФЕДЕРАЦИИ

Всероссийский ордена "Знак Почета" научно-исследовательский институт противопожарной обороны

РЕКОМЕНДАЦИИ

по обеспечению ПОЖАРНОЙ БЕЗОПАСНОСТИ ОБЪЕКТОВ НЕФТЕПРОДУКТООБЕСПЕЧЕНИЯ, РАСПОЛОЖЕННЫХ НА СЕЛИТЕБНОЙ ТЕРРИТОРИИ

Москва 1997

Основанием для разработки настоящих рекомендаций является федеральная целевая программа "Пожарная безопасность и социальная зашита на 1995 - 1997 годы", утвержденная постановлением Правительства Российской Федерации от 26 декабря 1995 г за 1275 (Пункт 4.1.5. Обеспечить разработку противопожарных мероприятий и вывод из черты городской застройки объектов хранения нефти и нефтепродуктов).

Разработаны АО "ВНИИПИНЕФТЬ" с участием специалистов ГУТЛС, ВНИИПО, МИПБ МВД России по заказу Главнефтепродукта ОАО НК "Роснефть".

Исполнители: Сучков В.П. - руководитель темы (МИПБ МВД России); Куликов А.В. (АО "ВНИИПИНЕФТЬ"); Молчанов В.П. (ГУГПС МВД России); Шаталов А.А (Госгортехнадзор России), Шевчук А.П., Бородкин А.Н.. Гуринович Л.В., Смирнов С.П. (ВНИИПО МВД России); Шароварников А.Ф., Парцевский В.В., Швырков А.Н. (МИПБ МВД России).

1. ОБЩИЕ ПОЛОЖЕНИЯ

1.1. Настоящие рекомендации направлены на повышение устойчивости объектов нефтепродуктообеспечения (нефтебаз, наливных пунктов, автозаправочных станций и т. п.), расположенных на селитебных территориях*, к возникновению и развитию на них пожаров.

* Селитебная территория города - территория, предназначенная для размещения жилищного фонда, общественных зданий и сооружений, в том числе научно-исследовательских институтов и их комплексов, а также отдельных коммунальных и промышленных объектов, не требующих устройства санитарно-защитных зон; для устройства путей внутригородского сообщения, площадей, парков, садов, бульваров и других мест общего пользования. (По СНиП 2.07.01-89. Градостроительство. Планировка и застройка городских и сельских поселений).

1.2. Повышение устойчивости к возникновению и развитию пожаров объектов нефтепродуктообеспечения достигается за счет:

модернизации, а также своевременной замены оборудования, прошедшего нормативный срок службы, на более взрывопожаробезопасное;

применения взрывобезопасных технологий хранения нефтепродуктов;

противоаварийной защиты, способной предотвратить аварийный выход нефтепродукта за пределы обвалования и контакт взрывоопасной зоны с возможными источниками зажигания;

противопожарной защиты, обеспечивающей предотвращение развития пожара в крупномасштабную аварию, связанную с выходом в селитебную зону;

организационных мероприятий по подготовке персонала объектов нефтепродуктообеспечения к предупреждению, локализации и ликвидации аварий и пожаров.

1.3. Перечисленные в настоящих рекомендациях мероприятия пожарной безопасности (в дальнейшем - мероприятия), направленные на повышение устойчивости к возникновению и развитию пожара объектов нефтепродуктообеспечения, являются дополнительными к мероприятиям, установленным действующими нормативными документами по пожарной безопасности.

1.4. Комплекс мероприятии, предусмотренных настоящими рекомендациями, должен основываться на результатах анализа пожарной опасности объекта нефтепродуктообеспечения для населения и территории и обеспечивать их безопасность согласно стандарту "Пожарная безопасность. Общие требования" (ГОСТ 12.1.004-91).

В случае, если комплекс дополнительных мероприятий не позволяет обеспечить пожарную безопасность согласно стандарту "Пожарная безопасность. Общие требования", объект нефтепродуктообеспечения подлежит выводу из эксплуатации.

1.5. Анализ пожарной опасности объектов нефтепродуктообеспечения проводят на основе разработки модели возникновения и развития аварии с переходом в пожар (сценарий) применительно к конкретному случаю расположения объекта нефтепродуктообеспечения на селитебной территории (прил. 1).

Количественное определение пожарной опасности производят согласно стандарту "Пожарная безопасность. Общие требования".

Для наиболее опасного сценария - полного разрушения резервуара с образованием гидродинамической волны нефтепродукта, промывающей или перехлестывающей обвалование и разливающейся на большой площади, - показатели пожарной опасности определяют по методике (прил. 2), разработанной в соответствии с требованиями стандарта "Пожарная безопасность. Общие требования".

1.6. Сроки приведения объектов нефтепродуктообеспечения, расположенных на селитебных территориях, в соответствие с настоящими рекомендациями определяются в каждом конкретном случае руководителями предприятий по согласованию с Государственной противопожарной службой МВД России.

1.7. Предлагаемые к настоящим рекомендациям мероприятия, связанные с внедрением взрывобезопасных технологий, заменой на современные, более взрывобезопасные виды оборудования и сооружений, средств пожаротушения, а также новых типовых проектных решений противоаварийной и противопожарной защиты, осуществляются по мере их разработки и отечественного промышленного производства.

1.8. Внедрение мероприятий может производиться при наличии проектной документации, согласованной и утвержденной в установленном порядке.

2. ВЗРЫВОБЕЗОПАСНЫЕ ТЕХНОЛОГИИ ХРАНЕНИЯ НЕФТЕПРОДУКТОВ

2.1. Взрывобезопасная технология - комплекс технических мероприятий, обеспечивающий повышенную устойчивость при нормальном функционировании объекта нефтепродуктообеспечения к возникновению пожара за счет взрывобезопасной паровоздушной среды внутри и снаружи резервуаров, газовых обвязок и других технологических сооружений и аппаратов.

Условия взрывобезопасности паровоздушной среды при хранении нефтепродуктов приведены в прил. 3.

2.2. Взрывобезопасная технология хранения нефтепродуктов в вертикальных резервуарах со стационарной крышей предусматривает применение газоуравнительных обвязок, газгольдеров и устройств улавливания паров.

2.3. Газо-уравнительные обвязки целесообразно защищать антидетонационными огнепреградителями.

Допускается установка вместо антидетонационных огнепреградителей барбатеров, обеспечивающих постоянное поддержание в газоуравнительной обвязке концентрации паров нефтепродукта выше верхнего концентрационного предела распространения пламени.

2.4. При перемещении горючих газов и паров по трубопроводам газоуравнительных обвязок следует предусматривать меры, исключающие конденсацию перемещаемых сред или обеспечивающие надежное и безопасное удаление жидкости из транспортной системы.

2.5. При невозможности или нецелесообразности выполнения мероприятий, изложенных в п. 2.2, следует перепрофилировать предприятие нефтепродуктообеспечения на хранение менее пожаровзрывоопасных нефтепродуктов в вертикальных стальных резервуарах со стационарной крышей:

в I климатическом районе - с температурой вспышки не менее 25 °С;

во II и III климатических районах - с температурой вспышки не менее 30 °С;

в IV климатическом районе - с температурой вспышки не менее 35 °С.

Распределение климатических районов приведено в СНиП "Строительная климатология и геофизика".

2.6. Взрывобезопасность технологии хранения нефтепродуктов в резервуарах с понтонами, т. с. предотвращение образования взрывоопасной концентрации в надпонтонном пространстве резервуара, достигается за счет:

применения уплотняющего затвора понтона с повышенной герметичностью (табл. 1);

оборудования резервуара с понтоном вентиляционными люками (табл. 2 и 3) при условии, что коэффициент герметичности уплотняющего затвора не превышает нормативного значения, равного 1 × 10-5 м×ч-1.

Выбор того или иного технического решения производится на основании паспортных данных на коэффициент герметичности уплотняющего затвора понтона или экспериментального определения коэффициента герметичности согласно действующим в отрасли методикам.

2.7. В процессе эксплуатации резервуара с взрывоопасным надпонтонным пространством, т. е. отвечающего требованиям п. 2.6, не реже 1 раза в квартал герметичность уплотняющего затвора понтона оценивают посредством измерения концентрации паров нефтепродуктов в надпонтонном пространстве резервуара на расстоянии не менее 1 м от крыши в первой половине дня при неподвижном уровне нефтепродукта.

В случае превышения концентрации паров углеводородов более 20 г×м-3 и невозможности установления причины резервуар следует вывести из эксплуатации до ее устранения.

При наличии вентиляционных люков их необходимо загерметизировать крышками.

2.8. При хранении котельных топлив предотвращение взрывоопасных концентраций в свободном от жидкости пространстве может быть достигнуто за счет оборудования резервуара со стационарной крышей вентиляционными люками (см. табл. 2 и 3).

2.9. При хранении бензинов в горизонтальных стальных резервуарах на нефтебазах и в емкостях автозаправочных станций, а также на автотранспортных средствах доставки следует применять взрывоустойчивые "сотовые" технологии хранения (прил. 4) или другие технические решения, обеспечивающие пожаровзрывобезопасность технологии хранения.

2.10. Технологическая схема нефтебазы или наливного пункта может обеспечивать как функции распределительной нефтебазы, так и другие функции.

2.11. Железнодорожные эстакады для слива легковоспламеняющихся жидкостей с температурой вспышки менее 28 °С следует оборудовать сливными устройствами, обеспечивающими нижний герметизированный слив.

2.12. Отпуск нефтепродуктов в автомобильные цистерны необходимо осуществлять только на наличных автомобильных эстакадах. Автомобильные эстакады оборудуют системой улавливания паров наливаемых легковоспламеняющихся жидкостей с температурой вспышки менее 28 °С.

Таблица 1

Значения коэффициентов герметичности, при которых выделение паров из зоны уплотняющего затвора способно дегазироваться за счет "малых дыханий"

Вместимость РВСП, м3

Коэффициент герметичности (Кг) уплотняющего затвора, м×ч-1

400

Кг £ 1 × 10-8

700, 1000, 2000, 3000

Кг £ 1 × 10-7

5000 и более

Кг £ 1 × 10-6

Таблица 2

Число вентиляционных люков, устанавливаемых на крыше резервуара с понтоном

Диаметр резервуара, м

Число люков

менее 19

4

19-23

6

более 23

12

Таблица 3

Параметры проема вентиляционного люка

Тип проема

Параметры проема вентиляционного люки

Область применения (климатические районы и

подрайоны)

Площадь, м2

Ширина, м

Высота, м

1

0,095

0,401

0,237

IБ, IГ, IIА

2

0,125

0,461

0,271

IА, IВ, IД, IIБ, IIВ, IIЕ

3

0,167

0,532

0,313

IIIА, IIIБ, IIIВ, IVА, IVБ, IVВ, IVГ

3. ПРОТИВОАВАРИЙНАЯ ЗАЩИТА

3.1. Противоаварийная защита - комплекс дополнительных технических и организационных мероприятий, обеспечивающих устойчивость технологии наземного, хранения нефтепродукта к его неконтролируемому (аварийному) выходу, с последующими эшелонами защиты по ограничению площади разлива нефтепродукта вплоть до предотвращения контакта взрывоопасного облака с возможными источниками зажигания.

3.2. Эксплуатируемую резервуарную емкость в полном объеме следует подвергнуть комплексному обследованию в соответствии с действующими нормативными документами на предмет ее дальнейшей безопасной эксплуатации с выдачей технического заключения об её состоянии.

3.3. Плановый контроль за техническим состоянием резервуаров, в том числе и их днищ, осуществляется в соответствии с действующей системой планово-предупредительных ремонтов оборудования.

3.4. При замене резервуаров на новые фундаменты следует оборудовать радиальными каналами, обеспечивающими визуальный контроль возможной утечки нефтепродукта из днища резервуара и его отвод на локальные очистные сооружения.

3.5. В качестве дополнительных мер, направленных на ограничение площади аварийного разлива нефтепродуктов на случай полного (хрупкого) разрушения резервуара, следует рассматривать:

устройство специальной защитной стены обвалования, способной удерживать жидкость в случае полного разрушения резервуара (прил. 5);

использование кольцевой дороги вокруг группы резервуаров, имеющей возвышение не менее 1,5 м над планировочной отметкой внутри основного обвалования;

устройство вокруг территории нефтебазы или наливного пункта глухого железобетонного забора.

3.6. Временными мерами, до выполнения требований п. 3.5, обеспечивающими как снижение опасности хрупкого разрушения резервуара, так и последствий разрушения, могут быть:

бандажирование стенок резервуаров согласно действующим нормативным документам;

регламентирование максимального уровня взлива нефтепродукта с учетом технического состояния резервуара.

3.7. Электроприводные задвижки должны устанавливаться за пределами обвалования.

3.8. Молниезащиту резервуарного парка целесообразно выполнять в виде отдельно стоящих стержневых молниеотводов.

3.9. Распределительные устройству трансформаторные и преобразовательные подстанции без средств взрывозащиты, для которых имеется опасность затекания паров нефтепродуктов, целесообразно располагать на возвышенных участках территории. Возможны другие меры, обеспечивающие взрывобезопасность объектов.

3.10. Территорию предприятия нефтепродуктообеспечения необходимо обследовать на наличие нефтепродуктовых линз в грунте.

Обнаруженные нефтепродуктовые линзы должны быть ликвидированы. В дальнейшем следует предусмотреть дополнительные меры защиты, обеспечивающие контроль за образованием линз и предотвращающие их проникновение на селитебную территорию.

3.11. Территория внутри обвалования, а также поверхность самого обвалования должны иметь гидроизоляцию, обеспечивающую предотвращение проникновения нефтепродукта в грунт.

3.12. Система контроля и управления технологическими процессами в резервуарных парках должна обеспечивать подачу аварийного звукового и/или светового сигнала при самопроизвольном снижении уровня нефтепродукта в резервуаре, а при превышении максимально допустимого уровня взлива, кроме подачи сигналов, автоматическое отключение подающих насосов по команде сигнализаторов предельного уровня взлива, установленных на резервуаре.

3.13. Резервуары целесообразно оборудовать системами, предотвращающими возможность попадания нефтепродукта в дренированную подтоварную воду.

3.14. Технологическая схема должна обеспечивать аварийное освобождение (аварийный слив) нефтепродукта из резервуара самотеком и/или посредством подключения передвижных средств перекачки.

При обеспечении объекта энергоснабжением по первой категории надежности допускается осуществление аварийного слива технологическими насосами.

3.15. Для аварийного приема нефтепродукта, как правило, должны использоваться специально предусмотренные для этих целей системы (неиспользуемые емкости резервуарного парка, отводы от линейной части магистральных нефтепродуктопроводов, ж/д и автоцистерны), рассчитанные на вместимость наибольшего резервуара.

3.16. Специальные системы аварийного приема нефтепродукта должны оснащаться средствами контроля и управления, предотвращающими перелив нефтепродуктов.

3.17. Насосные для перекачки легковоспламеняющихся жидкостей с температурой вспышки менее 28 °С могут быть открытыми под навесом.

3.18. В открытых насосных, расположенных под навесами. площадь устраиваемых в них защитных боковых ограждении должна составлять не более 50 % общей площади закрываемой стороны (считая по высоте от пола до выступающей части покрытия насосной).

Защитные боковые ограждения открытых насосных должны быть несгораемыми и по условиям естественной вентиляции не доходить до пола и покрытия насосной не менее чем на 0,3 м.

3.19. Насосы, применяемые для перекачки нефтепродуктов, оснащаются:

блокировками, исключающими пуск или прекращение работы насоса при отклонении уровня жидкости в резервуаре от предельно допустимых максимального и минимального уровней взлива нефтепродуктов;

системами сигнализации и блокировки, отключающими насосы в случае возникновения нерегламентированной утечки перекачиваемого нефтепродукта.

3.20. Все всасывающие и напорные технологические трубопроводы должны иметь отсекающую арматуру, расположенную вне насосной.

На нагнетательном трубопроводе должна предусматриваться установка обратного клапана или другого устройства, предотвращающего перемещение нефтепродукта в противоположном направлении.

3.21. Приемные колодцы, предназначенные для приема утечек или перелива нефтепродуктов, целесообразно оборудовать "самозатухающими устройствами", способными ликвидировать возникшее горение нефтепродукта.

3.22. Прокладка технологических трубопроводов на территории объекта должна быть наземной, исключать их провисание и обеспечиваться защитой от возможного механического повреждения.

При необходимости прокладки технологических трубопроводов в лотках или траншеях должна быть предусмотрена их засыпка песком или грунтом, исключающая возможность образования свободного пространства между перекрытием лотков и поверхностью грунта.

3.23. При прокладке технологических трубопроводов через строительные конструкции зданий и другие препятствия должны приниматься меры, исключающие возможность передачи дополнительных нагрузок на трубопроводы.

3.24. Технологические трубопроводы, как правило, не должны иметь фланцевых или других разъемных соединений.

Фланцевые соединения допускаются только в местах установки запорной арматуры. При этом они не должны размещаться в местах постоянного пребывания или прохода людей.

3.25. Для предприятий нефтепродуктообеспечения, подключенных к отводам магистральных нефтепродуктопроводов, на технологических трубопроводах закачки бензина в резервуары с понтоном необходимо предусматривать устройства, обеспечивающие предотвращение проскока газовых пробок в резервуар.

3.26. Предприятие нефтепродуктообеспечения должно быть снабжено специальными техническими средствами для:

ликвидации возможных утечек и свищей;

снижения интенсивности испарения при аварийном разливе нефтепродукта;

проведения аварийной откачки нефтепродукта.

Выбор технических средств для снижения интенсивности испарения производят, исходя из максимально возможной площади разлива нефтепродукта.

3.27. Для постоянного контроля за состоянием взрывобезопасности среды во взрывопожароопасных помещениях и на открытых взрывопожароопасных территориях должны предусматриваться автоматические сигнализаторы довзрывоопасных концентраций с сигнализацией предельно допустимых величин.

Система электропитания сигнализаторов должна дублироваться от независимого источника энергоснабжения.

3.28. Места установки датчиков определяют согласно ТУ-газ-86 "Требования к установке сигнализаторов и газоанализаторов".

3.29. Система постоянного контроля за состоянием взрывобезопасности среды на территории автомобильной наливной эстакады при превышении концентраций паров нефтепродуктов в зоне налива более 20 % нижнего концентрационного предела распространения пламени должна обеспечивать:

отключение энергообеспечения эстакады;

блокирование движения автомобильного транспорта;

информацию водителей о недопущении запуска двигателей автомобилей.

3.30. Размещение пультов управления технологическими процессами и пожарной насосной или их конструкции должны исключать выведение их из строя при взрыве внешнего взрывоопасного паровоздушного облака или пожара.

3.31. Для обеспечения безопасности населения от распространения облака взрывоопасных концентраций паров нефтепродуктов и/или тепловой энергии пожара могут устанавливаться стационарные паровые или водяные завесы со стороны близлежащих жилых кварталов.

3.32. Для оповещения людей, которые могут находиться в зонах повышенного риска в случае возникновения и развития аварийной ситуации по наиболее опасному сценарию (прил. 2) целесообразно предусмотреть устройство громкоговорящей связи и специальные сигналы оповещения.

4. ПРОТИВОПОЖАРНАЯ ЗАЩИТА

4.1. Противопожарная защита - комплекс дополнительных технических и организационных мероприятий, обеспечивающих повышенную устойчивость объекта к развитию пожара в крупномасштабную аварию, связанную с выходом в селитебную зону.

4.2. Повышенная устойчивость объекта к развитию пожара достигается за счет уменьшения пожарной опасности очага пожара и (или) повышения тактико-технических возможностей подразделений пожарной охраны предприятия нефтепродуктообеспечения, исходя из условия локализации, а затем и ликвидации пожара, развивающегося по наиболее неблагоприятному сценарию.

4.3. Эффективность повышения тактико-технических возможностей подразделения пожарной охраны предприятия нефтепродуктообеспечения может быть достигнута за счет применения следующих современных средств и систем пожаротушения:

подслойного тушения (СПТ) пожаров в резервуарах со стационарной крышей (прил. 6) и в пространстве между резервуаром и специально установленной защитной стеной, рассчитанной на удержание жидкости в случае полного разрушения резервуара:

снижения опасности процесса испарения аварийно пролитых из резервуара нефтепродуктов;

комбинированных гидромониторов для подачи воды и пены;

эжекционных генераторов высокократной пены;

пленкообразующих пенообразователей типа "Легкая вода".

Расчет преобразователя должен быть определен для наиболее неблагоприятного сценария развития пожара с учетом его трехкратного запаса.

4.4. Тактико-технические возможности пожарной охраны объекта нефтепродуктообеспечения должны обеспечивать возможность тушения пожара в резервуаре наибольшей вместимости.

4.5. Расчетную продолжительность боевых действий пожарных подразделений при тушении пожара в резервуарном парке следует принимать равной 6 ч.

Неиспользуемая емкость резервуарного парка может быть заполнена водой для целей пожаротушения.

4.6. В качестве дополнительных мер, обеспечивающих защиту наземных резервуаров от тепловой энергии пожара, следует рассматривать:

оборудование стационарными системами охлаждения резервуаров, конструкция которых не должна иметь жестких связей с корпусом резервуара и иметь дополнительные вводы с противоположных сторон обвалования для подачи воды от передвижной пожарной техники;

устройство дополнительного внутреннего обвалования в группе между резервуарами;

установку на дополнительном внутреннем обваловании роботизированных стволов или установку на внешнем обваловании комбинированных гидромониторов, обеспечивающих кроме подачи воды на охлаждение резервуаров подачу пены низкой кратности для снижения интенсивности испарения или тушения пожара.

4.7. Зашита от разгерметизации фланцевых соединений коренных задвижек должна осуществляться за счет одного из следующих технических решений:

применения огнестойкого покрытия, обеспечивающего предел огнестойкости до разгерметизации не менее 1 ч;

устройства системы локального орошения коренных задвижек, основные параметры которой могут быть определены по "Рекомендациям ВНИИПО по расчету стационарных систем аварийного охлаждения колонных аппаратов, нагревающихся в условиях пожара".

Как временная мера защиты от разгерметизации фланцевых соединений до выполнения одного из вышеуказанных требований допускается установка над коренными задвижками резервуаров металлических козырьков или других устройств, обеспечивающих предотвращение фонтанирования при разгерметизации в условиях пожара.

4.8. Противопожарную защиту насосной целесообразно осуществлять с использованием эжекционных пеногенераторов, обеспечивающих подачу пены кратностью 700-800 без принудительного наддува воздуха от электровентиляторов.

Огнетушащая эффективность пены высокой кратности сохраняется, несмотря на возникающие и процессе пожара или взрыва сквозные проемы.

4.9. На сливоналивных железнодорожных и автомобильных эстакадах целесообразно предусматривать стационарную установку комбинированных гидромониторов со специальными насадками, которые обеспечивают образование компактных водяных и расширенных струй низкократной пены.

Линия подачи водного раствора пенообразователя оборудуется пеносмесителем эжекционного типа для забора из передвижной емкости пенообразователя.

При пожаре до подвода пенообразователя гидромониторы используют для подачи компактных струй воды на охлаждение.

4.10. Для защиты сгораемых конструкций зданий и сооружений, расположенных на селитебной территории в зоне воздействия опасной тепловой энергии пожара, последние могут быть защищены дренчерными завесами с внешней стороны, т.е. со стороны воздействия тепла пожара.

5. ОРГАНИЗАЦИОННЫЕ МЕРОПРИЯТИЯ

5.1. В штатах предприятия нефтебаз и наливных пунктов целесообразно предусматривать должность инженера по пожарной безопасности со специальным образованием.

5.2. Руководителем предприятия нефтепродуктообеспечения должен быть разработан план совместных действий, обеспечивающий взаимодействие сторон, участвующих в локализации и ликвидации крупномасштабной аварии, связанной с выходом в селитебную территорию.

5.3. План совместных действий также должен содержать раздел о пожарной опасности предприятия нефтепродуктообеспечения для населения, способе оповещения людей и их действиях при поступлении специальных сигналов оповещения.

Население, которое может находиться в зонах повышенного риска в случае возникновения и развития аварийной ситуации по наиболее опасному сценарию (прил. 2), должно быть проинформировано по лунному разделу плана.

5.4. План совместных действий должен ежегодно отрабатываться в рамках учений руководителей, участвующих в локализации и ликвидации крупномасштабной аварии, а раз в пять лет практически отрабатываться с привлечением предусмотренных сил и средств, а также с подачей специальных сигналов оповещения.

5.5. Следует предусматривать ежегодную переподготовку руководящего персонала на основе опыта обеспечения пожарной безопасности объектов нефтепродуктообеспечения расположенных на селитебных территориях.

Приложение 1

Сценарии возникновения и развития аварии с переходом в пожар при хранении нефтепродуктов на селитебной территории

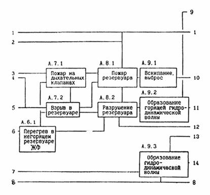
Разработку сценария возникновения и развития аварии с переходом в пожар проводят для конкретного случая расположения предприятия нефтепродуктообеспечения на селитебной территории с помощью "Комплексной модели возникновения и развития аварии с переходом в пожар при хранении нефтепродуктов на селитебной территории" (рис. 1).

В основу разработки данной модели легли сведения о более чем 300 пожарах, происшедших как у нас в стране, так и за рубежом, а также научные труды в области исследования возникновения и развития аварий и пожаров в резервуарных парках.

Данная модель предусматривает постадийное развитие пожара на трех уровнях в зависимости от его масштабов и тяжести последствий.

Уровни развития следующие:

- первый уровень "А" характеризуется возникновением и развитием аварийной ситуации с переходом в пожар на одном резервуаре или пожар разлива нефтепродукта в пределах обвалования, в котором расположен один или несколько резервуаров, без влияния на смежные группы резервуаров;

- второй уровень "Б" характеризуется развитием пожара с выходом за пределы обвалования и возможным продолжением его в пределах резервуарного парка;

- третий уровень "В" характеризуется развитием пожара с возможным переходом на смежные технологические объекты, здания и сооружения на территории предприятия нефтепродуктообеспечения предприятия и за его пределами, а также поражением опасными факторами пожара персонала предприятия и населения близлежащих районов.

При составлении описаний возможных вариантов возникновения и развития аварийной ситуации с переходом в пожар каждому показателю пожарной опасности (событию) присваивают идентификатор (см. рис. 1). Буква идентификатора обозначает уровень пожара, а цифровая идентификация - возможную последовательность смены одних событий другими.

Каждый сценарий пожара может иметь несколько стадий развития при сочетании определенных условий, может быть приостановлен, перейти в следующую стадию развития (событие пожара) или на более высокий уровень.

Рис. 1. Комплексная модель возникновения и развития аварии с переходом в пожар при хранении нефтепродуктов на селитебной территории

Продолжение рис. 1

Продолжение рис. 1

Окончание рис. 1

Сценарий № 1

При образовании взрывоопасной концентрации снаружи резервуара вследствие "больших и малых дыханий" (событие А.7.1) и появлении источника зажигания возникает пожар на дыхательных клапанах или и местах негерметичности сочленения пенных камер с корпусом резервуара (событие А.7.1). При этом в зависимости от величины концентрации паровоздушной среды внутри резервуара возможно:

сценарий 1.1 - устойчивое факельное горение (событие А.7.1);

сценарий 1.2 - взрыв паровоздушной среды в резервуаре (событие А.7.2).

Переход пожара из устойчивого факельного горения (событие А.7.1) в горение на поверхности жидкости (событие А.8.1) характерно для резервуаров со сферической крышей (сценарий 1.1.1).

Взрыв резервуара (событие А.7.2), как правило, приводит к подрыву, реже - к срыву крыши с последующим пожаром резервуара (сценарий 1.2.1).

Не исключена опасность, что взрыв паровоздушной смеси в резервуаре (событие А.7.2) или затяжной пожар резервуара (событие А.8.1) может привести к разрушению резервуара (событие А.8.2) с последующим образованием гидродинамической волны (событие А.9.2).

Гидродинамическая волна способна разрушить соседние резервуары (событие Б. 1.1), что увеличит площадь разлива горящего продукта (событие Б.2.1).

Длительное горение определенных продуктов в резервуаре (событие А.8.1), как правило, приводит к вскипанию или выбросу (событие А.9.1) с последующим разливом продукта (событие Б.2.1) и горением жилкой фазы (событие Б.5.1) на большой площади (сценарий 1.2.1.1).

Событие А.8.1 или событие Б.5.1 может перейти на одно из следующих событий Б.6.1, Б.6.2, Б.6.3 или Б.6.4, что в свою очередь вовлекает в пожар смежные резервуары и другие объекты склада и крупный групповой неуправляемый пожар (сценарий 1.2.1.1.1), который может перекинуться на городскую застройку (событие В.1).

Как видно, безобидное факельное горение на дыхательном клапане может привести к катастрофе.

Сценарий № 2

Развитие пожара, которое начинается с события А.1.2 (образование взрывоопасных концентраций в резервуаре), как правило, приводит к наиболее часто встречающемуся на практике сценарию "пожар резервуара" (сценарий 2.1) или к разрушению резервуара при взрыве (событие А.8.2) - сценарий 2.2.

Характер дальнейшего развития пожара может быть аналогичен сценарию 1.2, начиная с событий А.8.2 или А.9.1.

Сценарий № 3

В результате нарушения технологического режима или неисправности контрольно-измерительных приборов возможен неконтролируемый выход продукта из резервуара (событие А.1.3). Происходит разлив продукта (событие А.3.1).

В зависимости от температуры вспышки продукта и количества, выходящего при неконтролируемом разливе, структуры почвы можно ожидать следующие сценарии развития пожара:

загазованность территории (событие А.4.1) и взрыв парогазовой фазы (событие А.5.1) - сценарий 3,1; пожар разлива продукта (событие А.5.2.) - сценарий 3.2; пожары в черте городской застройки вследствие попадания нефтепродукта в систему городской канализации (событие В.1) - сценарий 3.3.

При взрыве парогазовой фазы пожар может сразу перейти на уровень "Б". При этом в зависимости от массы участвующих во взрыве паров, то есть от непосредственного воздействия тепловой и ударной энергии взрыва можно ожидать:

пожары соседних зданий и сооружений (событие Б.6.1) - сценарий 3.1.1;

пожары на дыхательных клапанах резервуаров (событие Б.6.2) - сценарии 3.1.2;

взрывы в соседних резервуарах (событие Б.6.3) - сценарий 3.1.3;

разрушение соседних резервуаров (событие Б,7.2 - сценарий 3.1.4) и зданий и сооружений (событие Б.7.3 - сценарий 3.1.5).

Пожар жидкой фазы (сценарии 3.2) при разливе приводит к быстрому нагреву оборудования и конструкции резервуара, ограничивающих паровую фазу, до и выше температуры самовоспламенения паров углеводородов.

В анализируемом резервуаре возможны следующие сценарии развития пожара:

Пожар на дыхательных клапанах (событие А.7.1) - сценарий 3.2.1;

взрыв паровоздушной фазы в резервуаре (событие А.7.2) - сценарий 3.2.2.

Перегрев поверхностного слоя нефтепродукта в негорящих резервуарах приводит к интенсивному росту давления паровой фазы и их последующему механическому разрушению (событие А.8.2) - сценарий 3.2.3.

Дальнейшее развитие пожара возможно по сценарию 1.2.1.1.

Сценарий № 4

Статистические данные 50 случаев полного разрушения резервуаров при хранении различных видов продуктов (событие А.1.4.) заставляют с особым вниманием рассматривать этот самый катастрофический вариант развития пожара.

Развитие пожара (сценарий 4.1) при локальной разгерметизации (событие А.2.1) может пойти по сценарию 3.3, начиная с события А.3.1.

При полной разгерметизации резервуара (событие А.2.2) в зависимости от уровня взлива и структуры почвы возможны следующие варианты развития пожара:

разлив продукта в пределах обвалования - сценарий 4.1;

образование гидродинамической полны (событие А.9.2 - сценарий 4.2) с последующим развитием событий:

по варианту сценария 4.2.1 - разрушение соседних резервуаров (событие Б.1.2) или розлив продукта на большой площади (событие Б.2.2), загазованность территории с возможным выходом за пределы склада (событие Б.3.1). взрыв парогазовой фазы (событие Б.4.1). Далее по сценарию 3, начиная с события Б.5.1, Б.7.2 или Б.7.3;

по сценарию 4.2.2 - непосредственный выход гидродинамической волны за пределы склада (событие В.1).

Приложение 2

Методики определения показателей пожарной опасности для населения и территории при наиболее опасных сценариях

Определение показателей пожарной опасности предприятия нефтепродуктообеспечения для населения и территории основано на гипотетическом варианте реализации аварийной ситуации с переходом в пожар, развивающийся по наиболее неблагоприятному варианту на предприятии нефтепродуктообеспечения.

В качестве наиболее неблагоприятного варианта рассматривается случай хрупкого (полного) разрушения резервуара, связанного с образованием гидродинамической волны нефтепродукта, которая либо промывает обвалование, либо перехлестывает через него и разливается на большой площади.

Прорабатывают следующие варианты пожарной опасности для населения и территории, связанные с полным разрушением резервуара наибольшей вместимости или резервуара меньшей вместимости, но наиболее близко расположенного к жилым массивам.

Сценарий 4.2.2.1

Полное разрушение резервуара с нефтепродуктом типа "бензин" и непосредственный выход гидродинамической волны прорыва в селитебную зону.

Для данного сценария определяют следующие показатели пожарной опасности:

зону аварийного разлива нефтепродукта, т. е. последующую зону пожара (методика 1);

зону взрывоопасных концентраций при испарении бензина с поверхности разлива (зону мгновенного поражения людей от пожара-вспышки) (методика 2);

зоны избыточного давления при взрыве паров бензина (методика 3);

зоны опасных (силовых нагрузок при трении нефтепродукта на площади разлива (методика 4).

Сценарий 4.2.2.2

Полное разрушение резервуара с нефтепродуктом типа "дизельное топливо, керосин и т.п." и непосредственный выход гидродинамической волны прорыва в селитебную зону.

Для данного варианта определяют следующие показатели пожарной опасности:

зону аварийного разлива нефтепродукта, т. е. последующую зону пожара (методика № 1);

зоны опасных тепловых нагрузок при горении нефтепродукта на площади разлива (методика 4).

Сценарий 4.2.2.3

Полное разрушение горящего резервуара с нефтепродуктом и непосредственный выход горящей гидродинамической волны прорыва в селитебную зону.

Для данного варианта определяют показатель пожарной опасности - зоны опасных тепловых нагрузок при горении нефтепродукта (методика 4).

Сценарий № 5

Горение нефтепродукта на всей площади сливо-наливной железнодорожной или автомобильной эстакады.

Для данного варианта определяют показатель пожарной опасности - зоны опасных тепловых нагрузок при горении нефтепродукта (методика № 4).

Результаты определения показателей пожарной опасности предприятия нефтепродуктообеспечения для населения и территории наносят на ситуационный план с целью выбора рациональных решений защиты.

1. Карта нарушений противопожарной защиты

Определение опасных факторов пожара и взрыва начинается с составления перечня отступлении от действующих норм в части обеспечения противопожарной защиты по следующему плану:

характеристика объекта _________________________________________________________________________

_______________________________________________________________________________________________

техническое состояние резервуарной емкости _______________________________________________________

_______________________________________________________________________________________________

отступления в части обеспечения противопожарной защиты ___________________________________________

_____________________________________________________________________________________________

тактико-технические возможности гарнизона пожарной охраны по тушению пожара на объекте

хранения нефтепродуктов ________________________________________________________________________

______________________________________________________________________________________________

______________________________________________________________________________________________

 

Перечень отступлении от действующих норм (несоблюдение противопожарных разрывов до зданий и сооружений, расположенных в окрестностях предприятия нефтепродуктообеспечения, и другие) представляется на ситуационном плане и является основой для оценки пожарной опасности предприятия нефтепродуктообеспечения для населения и территории.

На "карте нарушений..." приводится характеристика зданий и сооружений (функциональное назначение, этажность, степень огнестойкости, категория по взрывопожарной и пожарной опасности здания производственного или складского назначения и т.п.) с указанием максимально возможного числа людей, одновременно находящихся на данных объектах.

Методика № 1. Определение зоны аварийного разлива нефтепродукта

Настоящая методика предусматривает два варианта определения зоны разлива:

в пределах обвалования, вследствие нарушения технологии наполнения резервуара нефтепродуктом или локального повреждения резервуара;

на случай крупномасштабной аварии, связанной с полным разрушением наземного вертикального стального резервуара.

В табл. 1.1 приведены зоны аварийного разлива на случай крупномасштабной аварии.

При расположении резервуара в низине или на ровной поверхности зону разлива рассматривают в виде круга. Радиус зоны разлива характеризует максимальное расстояние разлива от центра резервуара. При расположении резервуара на возвышенности зону разлива рассматривают в виде эллипса. Форму эллипса характеризует большая и малая оси. Большую ось отсчитывают от центра резервуара.

По результатам определения составляется карта прогнозируемых зон разлива, которая представляет собой ситуационный план с нанесением расчетных зон разлива.

В текстовой части указывается возможное поражение людей и территории в случае мгновенного воспламенения зоны разлива.

При отсутствии номенклатуры резервуаров в табл. 1.1 зоны аварийного разлива нефтепродукта в случае полного разрушения наземного вертикального стального резервуара определяют по следующим формулам.

Площадь зоны разлива:

Fзр = fзeрVр,

где Fзр - площадь зоны разлива, м2, fз - коэффициент разлива, м-1; eр - степень заполнения резервуара; Vp - номинальная вместимость резервуара, м3.

Степень заполнения резервуара допускается принимать равной 0.9.

Коэффициент разлива определяют исходя из расположения наземного резервуара на местности:

 

Приведенную форму зоны разлива нефтепродукта принимают в зависимости от расположения резервуара на местности.

При расположении в низине или на ровной поверхности - в виде круга с радиусом

.

При расположении резервуара на возвышенности - в виде эллипса. Значения осей эллипса определяют по следующим формулам:

большой полуоси

;

малой оси

aзр = 4Fзp/(pbзр),

где Кук - коэффициент, характеризующий уклон местности.

Значение Кук определяют исходя из уклона местности:

 

Допускается определять параметры разлива нефтепродукта по материалам реальных аварий при адекватности анализируемых ситуаций.

Таблица 1.1

Зоны аварийного разлива нефтепродукта в случае полного разрушения наземного вертикального стального резервуара

Вместимость резервуара,

м3

Показатели пожарной опасности разлива для случая расположения резервуара

в низине или на ровной площадке (уклон < 1 %)

на возвышенности

площадь, м2

радиус

зоны, м

площадь, м2

уклон 1-3 %

уклон > 3 %

большая малая ось, м

большая малая ось, м

100

450

12

1080

52

26

74

18

200

900

17

2160

74

37

105

26

300

1350

21

3240

91

45

128

32

400

1800

24

4320

105

52

148

37

700

3150

32

7560

139

70

196

49

1000

4500

38

10800

166

83

235

59

2000

9000

54

21600

234

117

331

83

3000

13500

66

32400

287

144

406

101

5000

22500

85

54000

370

185

523

131

10000

45000

120

108000

524

262

741

185

Методика № 2. Определение зоны взрывоопасных концентраций при испарении бензина с поверхности разлива

Зоны взрывоопасных концентраций при испарении нефтепродукта с поверхности разлива приведены в табл. 2.1.

По результатам определения составляется карта прогнозируемых зон взрывоопасных концентраций, которая представляет собой ситуационный план с нанесением расчетных зон загазованности.

В текстовой части указывается возможное поражение людей и территории в случае мгновенного воспламенения зоны загазованности.

Определение зон взрывоопасных концентраций (см. табл. 2.1) выполнено на основании проведенных и России исследований по изучению закономерностей распределения концентраций взрывоопасных газов и паров на открытых территориях в Главной геофизической обсерватории. Расчетная формула, заимствованная из работы В. М. Эльтермана "Охрана воздушной среды на химических и нефтехимических предприятиях" (М., Химия, 1985) имеет вид:

,

где Хзвк - расстояние от источника испарения, м; А - константа, равная 0,17; Jn - интенсивность испарения, кг×с-1, t - продолжительность испарения, с; jнп - нижний концентрационный предел распространения пламени для нефтепродуктов, равный 0,04 кг×м-3.

При отсутствии номенклатуры резервуаров в табл. 2.1 аварийные зоны взрывоопасных концентраций при испарении нефтепродукта с поверхности разлива определяют для наиболее неблагоприятного варианта метеоусловий, способствующего образованию максимально возможных аварийных зон взрывоопасных концентраций. Подвижность воздуха принимается равной нулю, а температура нефтепродукта - среднемесячной температуре окружающей среды для июля.

Таблица 2.1

Аварийные зоны взрывоопасных концентраций при испарении бензина с поверхности разлива

Вместимость резервуара, м3

Площадь разлива, м2

Глубина взрывоопасной зоны от границы разлива нефтепродукта, м

100

450

1080

30

47

200

900

2160

43

66

300

1350

3240

52

81

400

1800

4320

61

94

700

3150

7560

80

124

1000

4500

l0800

96

148

2000

9000

21600

135

210

3000

13500

32400

166

257

5000

22500

54000

214

332

10000

45000

108000

3000

470

Примечание. Расчетная температура при испарении бензина принята равной 28 °С. Продолжительность испарения - 1 ч.

Интенсивность испарения допускается определять по следующей формуле:

,

где Мп - молекулярная масса паров нефтепродукта, Рs - давление насыщенных паров нефтепродукта, кПа; Fзр - поверхность разлива (испарения) нефтепродукта, м2.

Продолжительность испарения допускается принимать равной 1 ч при расчете испарения с зоны разлива на случай полного разрушения резервуара и 8 ч при испарении с площади разлива в пределах обвалования.

Давление насыщенных паров нефтепродукта (Рs, кПа) допускается определять по показателю качества нефтепродуктa - температуре вспышки в закрытом тигле (tвсп, °С)

,

где tн - температура нефтепродукта, °С.

Методика № 3. Определение зон избыточного давления при взрыве паров бензина

В качестве критерия опасности избыточного давления для зданий и сооружений принято нормативное значение, равное 5 кПа.

Зоны избыточного давления при взрыве паров бензина приведены в табл. 3.1. Расстояние до границы зоны опасного избыточного давления определяют от центра зоны разлива.

По результатам определения составляется карта, которая представляет собой ситуационный план с нанесением расчетных зон разрушений. В текстовой части указывается возможное поражение людей и территории в случае мгновенного взрывного сгорания паровоздушного облака.

Для проведения многовариантных расчетов радиусов зон взрывных нагрузок при сгорании паров углеводородов, испарившихся с площади разлива нефтепродукта, можно использовать следующее выражение, полученное из работ по оценке опасности промышленных взрывов на взрывопожароопасных химических, нефтехимических и нефтеперерабатывающих производствах:

 

(0,45mn)1/3     при mn ³ 5000 кг

где Ri - радиус класса опасной зоны с заданным избыточным давлением на границе зоны, м (табл. 3.2); ki - коэффициент взаимосвязи величины избыточного давления с радиусом опасной зоны (см. табл. 3.2); mn - масса паров, испарившихся с поверхности разлива нефтепродукта, кг.

Таблица 3.1

Зоны опасного избыточного давления при испарении бензина с поверхности разлива

Вместимость резервуара, м3

Площадь разлива, м2

Радиус опасной зоны избыточного давления, м

100

450

1080

76

136

200

900

2160

122

217

300

1350

3240

159

283

400

1800

4320

193

341

700

3150

7560

278

480

1000

4500

l0800

349

685

2000

9000

21600

531

863

3000

13500

32400

738

988

5000

22500

54000

875

1238

10000

45000

108000

1164

1560

Примечание. Критерий опасного избыточного давления 5 кПа. Расчетная температура 28 °С. Продолжительность испарения - 1 ч.

Массу испарившихся паров определяют по формуле

mn = Jn × t,

где t - продолжительность испарения, с.

36

Продолжительность испарения допускается принимать равной 1 ч при расчете испарения с зоны разлива на случаи полного разрушения резервуара и 8 ч при испарении с площади разлива в обваловании.

Интенсивность испарения (Jn) определяют по методике, изложенной в разделе при расчете зон взрывоопасных концентраций при испарении с поверхности разлива нефтепродукта. Подвижность воздуха принимается равной нулю, а температура нефтепродукта - среднемесячной температуре окружающей среды для июля.

Степень разрушения зданий и сооружений определяет величина воздействия избыточного давления взрыва (DР) (см. табл. 12).

Таблица 3.2

Классификация опасных зон разрушений

Класс зоны

Коэффициент К1

DР,

кПа

Степень разрушения зданий и сооружений

1

3,8

³ 100

Полное разрушение

2

5,6

53

Сильное повреждение - 50 % полного разрушения

3

9,6

28

Среднее повреждение - разрушение зданий без обрушения

Разрушаются резервуары нефтехранилищ

4

28

12

Умеренные разрушения, повреждения внутренних перегородок, рам, дверей

5

56

3

Малые повреждения - разбито не более 10 % остекления

Методика № 4. Определение опасных зон теплового излучения при пожаре разлива нефтепродукта

Опасные зоны теплового излучения при пожарах разливов нефтепродуктов определяют для наиболее неблагоприятного варианта.

В качестве критерия опасного теплового воздействия на границе зоны принято для

людей - тепловые нагрузки, превышающие 1,4 кВт×м-2;

сгораемых элементов конструкций зданий (двери, рамы и т. п.), а также для резервуаров с нефтепродуктами, не оборудованных установками охлаждения, - 7,5 кВт×м-2;

резервуаров с нефтепродуктами, оборудованных установками охлаждения, - 13 кВт×м-2.

В табл. 4.1 приведены опасные тепловые зоны при пожарах разливов нефтепродуктов. При расчете опасных тепловых зон плотность теплового излучения пожара разлива принята равной 50 кВт×м-2.

По результатам определения составляется карта, которая представляет собой ситуационный план с нанесенными опасными тепловыми зонами. При пожаре разлива нефтепродукта на площади круга тепловые зоны будут представлять собой окружности, а при горении нефтепродукта на площади эллипса тепловые зоны будут повторять форму эллипса.

В текстовой части указывается возможное поражение людей и возможность распространения пожара на соседние здания и сооружения при горении нефтепродукта на площади разлива.

При отсутствии характерных размеров зон разлива нефтепродукта (табл. 4.1) опасность теплового излучения пожара определяют для крупномасштабной аварии по следующим формулам методом последовательных приближений.

Плотность потока теплового излучения (qn) на границе зоны при горении нефтепродукта на площади разлива, кВт×м-2:

qn = qф × Fобл,

где qф - максимальная среднеповерхностная плотность излучения, кВт×м-2, Fобл - коэффициент облученности.

Максимальная среднеповерхностная плотность излучения факела пламени пожара и штиль, кВт×м-2:

qф = (335 + 7112/dр)mвыг,

где dp - характерный диаметр зоны разлива, м; твыг - массовая скорость выгорания нефтепродукта, кг×с-1×м-2.

Таблица 4.1

Опасные зоны теплового излучения при пожарах разливов нефтепродуктов

Вместимость резервуара, м3 

Уклон местности 

Радиус зоны с плотностью теплового потока на границе зоны, кВт×м-2

1,4

7,5

13

 

< 1 %

60

27

15

100

1 - 3 %

80*

50

30

21

17

12

 

> 3 %

102

47

32

18

20

8

 

< 1 %

68

30

18

200

1 - 3 %

102

67

32

25

20

16

 

> 3 %

116

50

34

21

22

12

 

< 1 %

96

32

21

400

1 - 3 %

116

79

34

29

22

19

 

> 3 %

132

67

36

35

22

16

 

< 1 %

102

35

22

700

1 - 3 %

132

93

36

33

22

20

 

> 3 %

140

78

36

29

22

19

 

< 1 %

114

36

22

1000

1 - 3 %

142

100

36

34

22

21

 

> 3 %

155

93

36

32

22

20

 

< 1 %

137

86

70

2000

1-3 %

155

116

36

35

22

22

 

> 3 %

162

100

36

34

22

21

 

< 1 %

141

36

22

3000

1 - 3 %

163

131

36

36

22

22

 

> 3 %

170

116

36

35

22

22

 

< 1 %

162

36

22

5000

1-3 %

171

142

36

36

22

22

 

> 3 %

177

137

36

36

22

22

 

< 1 %

169

36

22

10000

1-3 %

177

156

36

36

22

22

 

> 3 %

196

143

36

36

22

22

* В числителе приведены данные по направлению малой оси эллипса, в знаменателе - по направлению большой оси эллипса.

Высота факела пламени, м:

,

где rв - плотность воздуха, кг×м-3 (при отсутствии справочных данных допускается принимать rв = 1,2 кг×м-3); g - ускорение свободного падения.

В дальнейших расчетах в качестве излучающей поверхности принимают факел пожара разлива нефтепродукта в виде плоскости.

Коэффициент облученности допускается определять по формулам, приведенным в справочной литературе по теплообмену.

Для проведения многовариантных расчетов по определению опасных зон теплового излучения целесообразно использовать программный продукт, который позволяет получить более реальные результаты для произвольно расположенной системы "пламя - объект".

Приложение 3

Условия взрывобезопасности паровоздушной среды при хранении нефтепродуктов

Условия взрывобезопасной технологии хранения нефтепродуктов нормируются требованиями ГОСТ 12.1.044-9 "Пожаровзрывобезопасность веществ и материалов. Номенклатура показателей и методы их определения" и заключаются в выполнении одного или нескольких следующих неравенств, что обеспечивает предотвращение образования взрывоопасных концентраций внутри и снаружи резервуаров, газовых обвязок и других технологических аппаратов:

внутри:

а) безопасная концентрация горючего вещества, % об.

jг,без £ 0,9 (jнп - 0,7 R);

jг,без ³ 1,1 (jвп - 0,7 R);

б) безопасная флегматизирующая концентрация флегматизатора, % об.

jф,без ³ 1,1 (jф + 0,7 R);

или безопасная концентрация кислорода в горючей смеси, % об.

jо,без £ 0,9 (jо - 0,7 R);

снаружи:

безопасная концентрация горючего вещества, % об.

jг,без £ 0,9 (jнп - 0,7 R);

где jнп; jвп - нижний и верхний концентрационный предел распространения пламени по смеси горючего вещества с воздухом соответственно, % об.; jф - минимальная флегматизирующая концентрация флегматизатора, % об.; jо - минимальное взрывоопасное содержание кислорода в горючей смеси, % об.; R - воспроизводимость метода определения показателя пожарной опасности при доверительной вероятности 95 %.

При регламентировании требований к взрывобезопасности технологии должна учитываться возможность отклонения фактической безопасной концентрации от значения, определенного по одной из вышеприведенных формул, с доверительной вероятностью 0,95.

Приложение 4

Взрывоустойчивая сотовая технология хранения нефтепродукта

Взрывоустойчивая сотовая технология хранения нефтепродукта - технология хранения нефтепродукта в топливной емкости (резервуаре), заполненной пористым материалом или металлической насадкой, имеющей разветвленную поверхность ("соты"). Отличительной особенностью сотовой технологии является то, что при появлении источника зажигания внутри емкости происходит гашение пламени в порах насадки, а возникающее локальное давление взрыва не способно разрушить емкость и деформировать "соты".

Применение взрывоустойчивой сотовой технологии следует рассматривать как комплексное решение в области создания пожаровзрывобезопасной технологии транспортирования и хранения нефтепродуктов.

Сотовая технология хранения нефтепродуктов должна отвечать следующим основным условиям:

обеспечивать надежное гашение локального очага пламени внутри топливной емкости;

локальное избыточное давление при взрыве не должно превышать 1 кПа или приводить к деформации или сдвигу "сот".

материя "сот" должен способствовать интенсивному отводу тепла внутрь жидкости при внешнем воздействии пожара на топливную емкость;

заполнение топливной емкости "сотами" должно обеспечивать процесс самопроизвольного затухания горения в местах сообщения топливной емкости с атмосферой;

объем, занимаемый "сотами", не должен превышать 5 % от вместимости топливной емкости;

потеря объема "сот" за счет собственного веса не должна превышать 5 % при высоте штабеля не менее 15 м;

конструкция "сот" должна обеспечивать их монтаж как при изготовлении топливной емкости, гак и в процессе ее эксплуатации без проведения каких-либо специальных подготовительных работ;

гарантированный срок эксплуатации "сот" должен быть не менее 10 лет.

Для каждой топливной емкости должны быть определены исходные данные на применение "сот", которые включают в себя:

технические характеристики сотовой технологии хранения;

рабочие чертежи по установке "сот" внутри топливной емкости;

указания по установке "сот" в топливную емкость;

правила контроля за техническим состоянием "сот", установленных в топливной емкости.

Приложение 5

Ограждающая стена для удержания гидродинамического истечения жидкости в случае разрушения резервуара

Одним из эффективных технических решений, способных предотвратить последствия гидродинамического истечения жидкости (волны прорыва) в случае внезапного разрушения резервуара, считается устройство принципиально нового железобетонного ограждения (рис. 2), имеющего конструктивную особенность - волноотражающий козырек, который позволяет уменьшить высоту стены ограждения и защитный зуб, для принятия основной нагрузки, возникающей при гидродинамическом истечении.

Параметрами, на основании которых производится проектирование ограждающей стены, является ее высота и динамические нагрузки, возникающие при взаимодействии полны прорыва с ограждающей стеной.

Высоту ограждающей стены определяют по номограмме (рис. 3) на основании расчетной схемы, приведенной на рис. 4. При определении оптимальной высоты стены исходят из особенностей планировочных решений резервуарного парки и необходимости устройства подслойного тушения в пространстве между ограждающей стеной и резервуаром.

Для наиболее неблагоприятного случая гидродинамического истечения конструкция ограждающей стены должна быть рассчитана на нагрузку, равную 150 тоннам на погонный метр.

Выбор оптимальных параметров ограждающей стены может быть реализован на основании численного решения математической модели образования волны прорыва и ее последующего взаимодействия с ограждением.

Результаты многовариантных расчетов на ПЭВМ должны позволять определять при заданном расстоянии от резервуара до ограждающей стены оптимальные параметры полно-отражающего козырька (вылет козырька и угол его наклона) при минимальной высоте ограждающей стены, а также динамические нагрузки на ограждение, в том числе минимальный опрокидывающий момент при различных вариантах устройства защитного зуба.

Рис. 2. Схема технического решения ограждающей стены для удержания гидродинамического истечения жидкости в случае разрушения резервуара

1 - ограждающая стена в виде вертикального ломаного откоса 3; 2 - волноотражающий козырек; 4 - защитный зуб для гашения энергии волны прорыва; a - угол наклона волноотражающего козырька

Рис. 3. Номограмма для определения высоты ограждающей стены

Рис. 4. Схема к определению высоты ограждающей стены

Приложение 6

Подслойный способ пожаротушения пеной низкой кратности для вертикальных стальных резервуаров

Система подслойного пожаротушения (СПТ) резервуара представляет собой протяженную линию трубопроводов и специального оборудования для получения и подачи пены, образованной за обвалованием, внутрь резервуара (рис. 5).

В системе СПТ используется следующее оборудование:

высоконапорные пеногенераторы (ВПГ);

система задвижек до и после обвалования;

обратный клапан;

пакет с калиброванной разрывной мембраной внутри и снаружи резервуара;

внутренняя разводка трубопроводов в резервуаре с пенными насадками.

Система подслойного тушения может быть реализована только при использовании специального фторсодержащего пенообразователя, способного самопроизвольна образовывать тонкую водную пленку на поверхности нефтепродукта.

Пенообразователи и их водные рабочие распоры должны отвечать следующим параметрам:

температура замерзания концентрата пенообразователя - не ниже минус 15 °С;

срок хранения концентрата пенообразователя - не менее 10 лет;

по токсичности пенообразователь должен соответствовать четвертому классу опасности;

пенообразователь не должен содержать осадка и посторонних примесей; концентрация рабочего раствора пенообразователя в воде - 3 или 6 % об. При использовании морской и жесткой воды концентрация раствора не должна превышать 8 % об.;

поверхностное натяжение рабочего раствора пенообразователя - не выше 19 мН×м-1.

Высоконапорным пеногенератором может быть устройство переносного или стационарного типа, отвечающее следующим требованиям:

кратность пены при давлении раствора на входе 8-10 атм и при встречном дарении нефтепродукта 2 атм - не менее 4;

коэффициент преобразования входного давления и давление пенного потока - не менее 0,3;

производительность по водному раствору - не менее 10 л×с-1;

конструкция пеногенератора должна обеспечивать условия безопасной работы при давлении раствора не менее 15 атм.

Для каждой конкретной схемы подслойного способа пожаротушения пеной низкой кратности должны быть определены следующие показатели:

расходные характеристики по пенообразующему раствору (нормативная интенсивность подачи пленкообразующей пены; расчетная величина кратности пены; расчетное время тушения; расход водного раствора пенообразователя; рабочая концентрация пенообразователя; нормативный запас пенообразователя);

параметры системы образования и ввода пены (количество высоконапорных пеногенераторов с фиксированным секундным расходом пенообразующего раствора; количество насадков для ввода пены; расстояние и расположение насадков в резервуаре; рабочее давление водного раствора пенообразователя на входе в пеногенераторы; запас воды, необходимый для тушения).

Рис. 5. Пример общей схемы разводки подслойной системы в резервуаре PBC-5000 с бензином при тушении от передвижной техники:

1 - внутренняя разводка трубопроводов в резервуаре; 2 - линейный ввод-1; 3 - линейный ввод-2; 4 - коренная задвижка; 5 - разрывная мембрана; 6 - обратный клапан; 7 - обвалование; 8 - высоконапорные пеногенераторы

СОДЕРЖАНИЕ

1. ОБЩИЕ ПОЛОЖЕНИЯ.. 1

2. ВЗРЫВОБЕЗОПАСНЫЕ ТЕХНОЛОГИИ ХРАНЕНИЯ НЕФТЕПРОДУКТОВ.. 2

3. ПРОТИВОАВАРИЙНАЯ ЗАЩИТА.. 3

4. ПРОТИВОПОЖАРНАЯ ЗАЩИТА.. 5

5. ОРГАНИЗАЦИОННЫЕ МЕРОПРИЯТИЯ.. 6

Приложение 1. 6

Сценарии возникновения и развития аварии с переходом в пожар при хранении нефтепродуктов на селитебной территории. 6

Приложение 2. 9

Методики определения показателей пожарной опасности для населения и территории при наиболее опасных сценариях. 9

Приложение 3. 15

Условия взрывобезопасности паровоздушной среды при хранении нефтепродуктов. 15

Приложение 4. 15

Взрывоустойчивая сотовая технология хранения нефтепродукта. 15

Приложение 5. 16

Ограждающая стена для удержания гидродинамического истечения жидкости в случае разрушения резервуара. 16

Приложение 6. 17

Подслойный способ пожаротушения пеной низкой кратности для вертикальных стальных резервуаров. 17

 




Rambler's Top100 Яндекс цитирования
  Copyright © 2008-2025, www.docload.ru