Бесплатная библиотека стандартов и нормативов www.docload.ru

Все документы, размещенные на этом сайте, не являются их официальным изданием и предназначены исключительно для ознакомительных целей.
Электронные копии этих документов могут распространяться без всяких ограничений. Вы можете размещать информацию с этого сайта на любом другом сайте.
Это некоммерческий сайт и здесь не продаются документы. Вы можете скачать их абсолютно бесплатно!
Содержимое сайта не нарушает чьих-либо авторских прав! Человек имеет право на информацию!

 

Институт
технической
теплофизики
АН УССР

Ленинградский
горный институт
им. Г.В. Плеханова
Минвуза РСФСР

Справочное пособие к СНиП

Серия основана в 1989 году

Теплофизические расчеты
объектов народного хозяйства,
размещаемых в горных выработках

Москва Стройиздат 1989

Рекомендовано к изданию Ученым советом Института технической теплофизики АН УССР.

Редактор - М.А. Жарикова

Теплофизические расчеты объектов народного хозяйства, размещаемых в горных выработках / Ин-т техн. теплофизики АН УССР. Ленингр. горный ин-т им. Г.В. Плеханова. - М.: Стройиздат, 1989. - 80 с.: ил. - (Справ. пособие к СНиП).

Разработано к СНиП 2.01.55-85 «Объекты народного хозяйства в подземных горных выработках». Содержит рекомендации по выбору исходных данных для расчета теплового режима подземных сооружений производственно-складского назначения, справочный материал по теплофизическим и влагофизическим свойствам горных пород, а также методики определения параметров систем регулирования теплового режима.

Для инженерно-технических работников проектных, научно-исследовательских и строительных организаций.

ВВЕДЕНИЕ

Подземные сооружения обладают рядом технических преимуществ перед традиционными наземными постройками, в том числе такими, как значительное сокращение расходов строительных и изоляционных материалов, снижение энергетических затрат, увеличение продолжительности эксплуатации, повышение защищенности от внешних воздействий и др.

Наиболее рациональным считается размещение в подземном пространстве сооружений складского назначения, а также некоторых производственных, энергетических и инженерно-транспортных объектов и лечебных учреждений.

Для нормального функционирования подземных сооружений в них должны обеспечиваться и сохраняться в течение всего времени эксплуатации определенные температура и влажность воздуха. Эти параметры состояния воздуха, а также его химический состав, кратность обмена, скорость движения, степень запыленности в основном соответствуют требованиям, предъявляемым к аналогичным наземным объектам. Однако в связи с особенностями физических процессов тепло- и массопереноса здесь требуется особый подход как к выбору исходных величин, так и к методам расчета и способам регулирования термовлажностных условий, определяющих микроклимат. Основным отличием подземного сооружения от его наземного аналога является характер тепло- и массообмена с окружающей средой. В наземных объектах такой средой является воздух с температурой, изменяющейся по закону, близкому к гармоническому. По тому же закону изменяются поля температур и влагосодержаний в наружных ограждениях. При расчете производительности оборудования исходят из наиболее неблагоприятных условий его работы, принимая их стационарными. Из-за сравнительно небольшого объема стен и перекрытий на создание требуемых термовлажностных условий даже в помещениях с низкими температурами требуется в реальных условиях две-три недели.

В подземных сооружениях окружающей средой является массив горных пород с постоянной естественной температурой. В связи с этим формирование в них заданных термовлажностных условий требует значительно большего времени, чем у аналогичных наземных объектов. Изменение температуры воздуха в подземной выработке и температуры горных пород носит выраженный нестационарный характер. При этом если период формирования заданного термовлажностного режима (предэксплуатационный период) характеризуется четко выраженным неустановившимся режимом теплообмена, то большая часть эксплуатационного периода удовлетворительно описывается закономерностями, характерными для квазистационарного режима.

Процессы тепло- и массопереноса в системе горный массив - воздушная среда помимо климатических факторов, характеризующихся изменением температуры и влажности наружного воздуха, определяются геолого-геотермическими и горно-техническими факторами.

К первым относятся свойства горных пород, окружающих подземные сооружения (ПС), гидрогеологические условия и температура пород на глубине строительства.

Под горно-техническими факторами понимаются конструктивные параметры выработки подземных сооружений, их геометрическая форма, расположение выработок относительно друг друга и поверхности Земли, а также протекающие в них технологические процессы, связанные с нагревом (охлаждением) и осушением (увлажнением) подаваемого воздуха.

Для расчета микроклимата подземных сооружений нельзя безоговорочно использовать методы, применяемые для прогноза теплового режима шахт, так как особенности формирования в них термовлажностных условий определенным образом отличаются от подземных выработок горнодобывающих предприятий. Эти отличия, прежде всего, обусловлены небольшой глубиной расположения ПС (до 200 - 300 м), сравнительно низкой естественной температурой пород (до 15 - 20 °С), а также необходимостью обеспечения постоянных значений температуры и влажности воздуха при незначительных их колебаниях. В зависимости от назначения подземного сооружения для обеспечения заданного микроклимата может потребоваться комплексное использование всех видов тепловой обработки воздуха, в то время, как в шахтах и рудниках применяются главным образом или его нагрев, или охлаждение. Выраженный нестационарный характер процессов теплового взаимодействия воздушной среды ПС с горными породами при постоянстве протяженности и объема подземных выработок приводит к изменяющимся во времени условиям теплообмена и определяет необходимость осуществления непрерывного управления параметрами и системами регулирования теплового режима.

Таким образом, комплекс задач по обеспечению заданного микроклимата в ПС следует рассматривать как самостоятельное направление в горной и строительной теплофизике, а данное Пособие - систематизированным руководством по расчету теплового режима подземных сооружений и определению параметров систем его регулирования.

Разработано Институтом технической теплофизики АН УССР: (д-р техн. наук В.П. Черняк, кандидаты техн. наук Э.Н. Малашенко, В.А. Киреев, инж. А.С. Полубинский); ЛГИ: (канд. техн. наук С.Г. Гендлер, д-р техн. наук Ю.Д. Дядькин, канд. техн. наук Ю.В. Шувалов); ВСЕГИНГЕО (канд. техн. наук А.Я. Зильбельборд); МолдНИИСТРОМПРОЕКТ (кандидаты техн. наук И.Л. Ладыженский, Ф.П. Спиваков).

Условные обозначения

а - коэффициент температуропроводности, м2/с;

аm - коэффициент потенциалопроводности (диффузии), м2/с;

В - барометрическое давление, МПа;

с - удельная теплоемкость, Дж/(кг×°С);

d - диаметр, м;

F - площадь поверхности, м2;

f - сечение, м2;

g - ускорение свободного падения, м/с2;

G - расход воздуха, кг/с;

Н - глубина, м;

h - высота, м;

i - энтальпия, кДж/кг;

j - удельные влаговыделения, кг/(м2×с);

J - влаговыделения, кг/с;

k - коэффициент теплопередачи, Вт/(м2×°C);

l - длина, м;

L - удельная теплота замерзания воды, Дж/кг (L = 335 кДж/кг);

N - мощность, Вт, кВт;

Р - парциальное давление, МПа;

q - удельные тепловыделения, Вт/м2;

Q - количество теплоты, Вт, кВт;

S - удельная теплота испарения (конденсации) воды, кДж/кг;

R0 - универсальная газовая постоянная, Дж/(кмоль×К) (R0 = 8,314 кДж/(кмоль×К);

Rt - радиус теплового влияния, м;

r - пространственная координата, перпендикулярная оси выработки, м;

Т - температура пород, °С, К;

t - температура воздуха, °С, К;

U - периметр, м;

v - скорость, м/с;

w - влагосодержание пород, %; доли единиц;

х - влагосодержание, кг/кг, г/кг;

у - пространственная координата, направленная вдоль оси выработки, м;

a - коэффициент теплоотдачи, Вт/(м2×°С);

b - коэффициент массоотдачи, кг/(м2×с×МПа);

d - безразмерный радиус теплового влияния;

eш - коэффициент шероховатости поверхности;

h - коэффициент полезного действия;

l - коэффициент теплопроводности, Вт/(м×°С);

lm - коэффициент массопроводности, кг/(м×с×МПа);

v - кинематическая вязкость, м2/с;

ξ - безразмерный радиус (глубина) промерзания;

r - плотность, кг/м3;

s - геотермический градиент, °С/м;

t - время, с, ч;

j - влажность воздуха, %, доли единиц;

ψ - угол наклона выработки, град.;

w - длительность годового периода, с, ч;

kt - коэффициент нестационарного теплообмена, Вт/ (м2×°С);

kагр - коэффициент интенсификации теплообмена при агрегатных переходах влаги;

bt - коэффициент нестационарного массообмена, кг (м2×с×МПа);

Числа подобия

Тепловые:

Nu - Нуссельта (Nu = adэк/lв); Re - Рейнольдса (Re = vdэк/vв); Pr - Прантдля (Pr = vвв); Bi - Био  F0 - Фурье  Pd - Предводителева  Kit - Кирпичева (Ki = ktdэк/(2ln); K0 - Коссовича (К0 = wLrпт/(Cпмrпмф - t]));

Массообменные:

Num - Нуссельта  Prm -Прантдля  Bim - Био  Gu - Гухмана (Gu = (tсух - tмок/(tсух + 273)); Fоm - Фурье

1. ОСНОВНЫЕ ТЕРМИНЫ И ОПРЕДЕЛЕНИЯ

1.1. Подземное сооружение (ПС) - полость в земной коре, образуемая в результате осуществления подземных горных работ, и предназначенная для выполнения производственных процессов различного вида, хранения материалов, изделий, оборудования, перемещения людей, грузов и т.д.

1.2. Тепловой режим ПС - совокупность термовлажностных параметров воздушной среды (температура воздуха t, влажность воздуха j, влагосодержание воздуха х, теплосодержание воздуха i) и окружающего выработки массива горных пород (температура пород Т, их влагосодержание w).

1.3. ПС с положительной температурой - подземные сооружения, в которых температура воздушной среды поддерживается выше естественной температуры горных пород или ниже ее, но выше 0 °С.

1.4. ПС с отрицательной температурой - подземные сооружения, в которых температура воздушной среды поддерживается ниже 0 °С. Среди ПС с отрицательной температурой выделяются объекты небольшого (до -2, -3 °С), среднего (до -20, -30 °С) и глубокого охлаждения (ниже -30 °С).

1.5. Предэксплуатационный период - длительность повышения или понижения температуры воздуха и горных пород в ПС от естественной или какой-либо иной начальной температуры до температуры, заданной технологическими или гигиеническими условиями данного сооружения.

1.6. Эксплуатационный период - длительность функционирования подземного объекта в режиме, характеризующемся постоянно поддерживаемой температурой и влажностью воздуха, а также температурой поверхности горного массива, окружающего подземные выработки.

1.7. Радиус теплового влияния выработки ПС - расстояние от оси выработки до геометрического места точек в горном массиве с температурой, равной естественной температуре пород.

1.8. Коэффициент нестационарного теплообмена kt - количество тепла, поступающее от горного массива (воздуха) к воздуху (горному массиву) с единицы поверхности выработки при перепаде температур между естественной температурой пород и температурой воздуха в 1 °С.

1.9. Коэффициент нестационарного массообмена (bt - количество влаги, поступающее от горного массива (воздуха) к воздуху (горному массиву) с единицы поверхности выработки в единицу времени при разнице между парциальными давлениями пара в 1 МПа.

2. ВЫБОР ИСХОДНЫХ ДАННЫХ ДЛЯ ТЕПЛОВЫХ РАСЧЕТОВ ПОДЗЕМНЫХ СООРУЖЕНИЙ

2.1. Температуру, влажность и скорость движения воздуха в выработках ПС следует принимать: при наличии специальных технологических требований или условий хранения продукции - по нормам технологического проектирования, а для отдельных складских и автотранспортных объектов - по прил. 1; при отсутствии специальных требований - согласно ГОСТ 121.005-76.

Рис. 1. Характер изменения температуры воздуха, поступающего в ПС

а - гармонический закон (изменение температуры атмосферного воздуха); б - изменение температуры воздуха при его подогреве до положительной температуры в зимнее время; в - ступенчатый закон изменения температуры воздуха

2.2. Расчетные параметры наружного воздуха устанавливаются по климатологическим справочникам и СНиП 2.01.01-82.

2.3. Температура воздуха, подаваемого в выработки ПС, принимается в зависимости от значений параметров наружного воздуха и использования различных мероприятий по его нагреву (охлаждению) (рис. 1).

2.4. Температура пород, окружающих выработки ПС, определяется по формуле

Тнн.с + s(Н - Нн.с).                                                          (1)

Значения температуры пород нейтрального слоя Тн.с, глубины его залегания Нн.с и геотермического градиента s устанавливаются на основании данных инженерно-геологических изысканий. При их отсутствии температура пород Тн.с на глубине Нн.с, составляющей 25 м, принимается на 3 °С выше среднегодовой температуры воздуха в данном районе, а величина s равной 0,03 °С/м.

2.5. Теплофизические и влагофизические свойства горных пород: теплопроводность lп, теплоемкость сп, температуропроводность ап, плотность rп, коэффициент диффузии  зависят от их происхождения, условий формирования, литологической характеристики, влажности, температуры, особенностей залегания в земной коре и изменяются в широких пределах: lп изменяется от 0,2 до 8,2 Вт/(м×°С); сп - от 0,5 до 1,2 кДж/(кг×°С); ап - от 10-7 до 22,5×10-7 м2/с; rп - от 1100 до 5100 кг/м3;  - от 10-8 до 20×10-8 м2/с.

Значения теплофизических и влагофизических свойств горных пород следует принимать в соответствии с данными экспериментальных исследований, проведенных в условиях конкретных климатических зон, горно-промышленных районов или полей. Ориентировочные значения теплофизических и влагофизических свойств некоторых типов горных пород приведены в прил. 2 (табл. 1, 2, рисунок).

2.6. Термодинамические свойства воздуха: плотность rв, теплоемкость cв, теплопроводность lв, температуропроводность ав, кинематическая вязкость vв, парциальные давления насыщенного Рнас и ненасыщенного пара Рпар, концентрация водяного пара насыщенного воздуха Кнас, концентрация водяного пара ненасыщенного воздуха К, влагосодержание х, удельная теплота парообразования S, энтальпия i устанавливаются в зависимости от температуры t и относительной влажности j воздуха по данным прил. 3 (табл. 1) и формулам:

                                           (2)

Рпар = jРнас;                                                                     (3)

К = jКнас;                                                                       (4)

х = 0,622Рпар/(В - Рпар);                                                         (5)

Рис. 2. Геометрические модели формы выработок ПС

а - щелеобразная; б - цилиндрическая с сечением круговой формы; в - цилиндрическая с сечением эллиптической формы

S = 2500 - 2,38t;                                                              (6)

i = 1005t + (2500 + 1,8068t)x.                                             (7)

Коэффициент диффузии воздуха при нормальных условиях t = 0 °С, В = 0,101 МПа принимается равным 2,09×10-5 м2/с. Для пересчета коэффициента диффузии на любую температуру и давление следует использовать формулу

                                                   (8)

Коэффициент массопроводности воздуха  кг/(м×с×МПа) в зависимости от температуры и давления рассчитывается по формуле

                                                 (9)

2.7. Схематизацию геометрических параметров, характеризующих размеры и форму ПС, следует производить в зависимости от соотношений между длиной l, шириной b и высотой выработок h, а также времени их существования t:

при l/b £ 2 ПС принимается щелеобразной формы, а горный массив, окружающий его, в виде полуограниченного пространства с плановыми размерами, соответствующими размерам ПС (рис. 2, а);

при l/b > 2 геометрическая форма выработок принимается:

в случае  - щелеобразной с размерами поперечного сечения, равными ширине и высоте выработки;

в случае  и b/h £ 2 - цилиндрической с круговой формой поперечного сечения (рис. 2, б);

в случае  и b/h > 2 - цилиндрической с эллиптической формой поперечного сечения (рис. 2, в).

В приведенных соотношениях значение rэк устанавливается по величине периметра выработки rэк = Uвыр/2p.

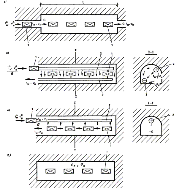
2.8. Выбор расчетной схемы при определении продолжительности предэксплуатационного периода и необходимой мощности теплотехнического оборудования осуществляется в зависимости от принятой схемы проветривания и места установки оборудования:

при продольной схеме проветривания и размещении оборудования у устья выработок или равномерно по их длине (рис. 3, а);

при поперечной и продольно-поперечной схемах проветривания, использующих систему воздуховодов, установленных в выработках, и размещении оборудования у устья выработок или равномерно по их длине (рис. 3, б, в);

при отсутствии специально организованного проветривания и размещении оборудования в выработках ПС (рис. 3, г).

Рис. 3. Расчетные схемы для определения параметров систем регулирования теплового режима ПС

а - продольная схема проветривания; б - поперечная схема проветривания; в - продольно-поперечная схема проветривания; г - отсутствие специально организованной схемы проветривания; 1 - теплотехническое оборудование; 2 - воздуховод для подачи воздуха; 3 - воздуховод для удаления воздуха

3. ОПРЕДЕЛЕНИЕ ТЕПЛО- И ВЛАГОВЫДЕЛЕНИЙ ОТ СТАЦИОНАРНЫХ ИСТОЧНИКОВ

3.1. Тепловыделения от стационарных источников тепла определяются потребляемой Nпотр или установленной Nуст мощностью и зависят от коэффициента полезного действия двигателя h и коэффициента, характеризующего степень их загрузки kзагр. Величина kзагр принимается равной 0,5 - 0,7.

Тепловыделения при работе электрооборудования рассчитываются по формуле

Qэл = mэлNпот,                                                          (10)

где mэл - коэффициент электрических потерь, величина которого принимается равной для трансформаторов - 0,05; для осветительных приборов - 1; для кабелей - 0,01 на 1000 м длины кабеля.

Тепловыделения при работе насосов составляют:

Qнас = (1 - h)kзагрNуст.                                               (11)

Тепловыделения при работе транспорта на электрической тяге вычисляются по формуле

Qэл.тр = qэлАтрl ± 9,81AтрDH,                                           (12)

где Атр - средняя за сутки масса транспортируемого в единицу времени груза, кг/с; qэл - удельные тепловыделения от работы электровозного транспорта, составляющие для электровозов 0,63 - 0,83 Дж/(кг×м); для ленточных конвейеров 2,5 Дж/(кг×м); DН - разница между глубинами расположения начала и конца выработки, м; знак «+» принимается при перемещении груза вниз, и знак «-» вверх.

Тепловыделение при погрузочно-разгрузочных работах устанавливается:

при погрузочных работах (складирование груза)

Qпог = kзагрNпот - 4,9AтрDh;                                               (13)

при разгрузочных работах

Qраз = kзагрNпот + 4,9AтрDh;                                             (14)

где Dh - средняя высота погрузки (разгрузки), м.

Тепловыделения при работе транспортных машин с двигателями внутреннего сгорания вычисляются по формуле

Qдв.сг = kзагрGтопqтоп,                                                         (15)

где Gтоп - часовой расход топлива, кг/с; qтоп - удельные тепловыделения при сгорании (теплотворная способность) топлива, Дж/кг:

бензин..................................................... 43750

керосин................................................... 42960

дизельное

автотракторное....................................... 42620

соляровое масло..................................... 42630

моторное топливо.................................. 41370

Тепловыделения от одновременно работающих в ПС людей составляют:

Qл = qлnл,                                                                (16)

где nл - количество работающих людей, чел.; qл - удельные тепловыделения человека, составляющие при легкой работе 120 - 140 Вт; при работе средней тяжести 210 - 290 Вт; при тяжелой работе 410 - 580 Вт.

Пример. Рассчитать общее количество теплоты, выделяемое в ПС при работе: трансформатора, потребляющего мощность 100 кВт, осветительных приборов, мощностью 5 кВт, электровоза, транспортирующего по горизонтальной выработке, длиной 1000 м груз в количестве 20 кг/с; электропогрузчика, потребляющего при разгрузке с высоты Dh = 3 м груза в количестве 10 кг/с мощностью в 10 кВт (kзагр = 0,6); и 5 рабочих, выполняющих работу средней тяжести.

Решение.

По формулам (10), (12), (13) и (16) имеем:

Qэл.тран = 0,05×100×103 = 5000 Вт;

Qэл.осв = 1×5×103 = 5000 Вт;

Qэл.тр = 0,83×20×1000 = 16600 Вт;

Qэл.погр = 0,6×10×103 + 4,9×10×3 = 5850 Вт;

Qл = 290×5 = 1450 Вт.

Общее количество теплоты SQ будет равно

SQ = 5000 + 5000 + 16600 + 5850 + 1450 = 33900 Вт = 34 кВт.

3.2. Влаговыделения от людей, оборудования, хранимых грузов и т.п. в ПС определяются по методикам, используемым для условий аналогичных наземных сооружений (см. СНиП 2.04.05-86), а также ведомственные нормы технологического проектирования).

4. ОПРЕДЕЛЕНИЕ КОЭФФИЦИЕНТОВ ТЕПЛО- И МАССООТДАЧИ

4.1. Коэффициент теплоотдачи от воздуха к горным породам при скорости движения воздуха, большей 0,5 м/с, рассчитывается по формуле

a = 0,029eшlв/dэкRe0,8,                                                        (17)

где величина коэффициента шероховатости eш принимается в соответствии с данными работы и составляет (1,2 - 1,5), а dэк выбирается по соотношению dэк = 4fвыр/Uвыр.

При скорости движения воздуха менее 0,5 м/с коэффициент теплоотдачи следует принимать равным 4 - 8 Вт/(м2×°С).

4.2. Коэффициент массоотдачи от поверхности горного массива к воздуху вычисляется по формуле

                                                             (18)

где  - безразмерный параметр, величина которого зависит от типа пород и температуры и приведена в прил. 4 (табл. 2); bвод - коэффициент массоотдачи с поверхности чистой воды, рассчитываемый по критериальной зависимости,

                                 (19)

где значения коэффициентов А¢ и n¢ приведены в табл. 1, а величина температуры воздуха по мокрому термометру tмок определяется в зависимости от tсух и относительной влажности воздуха j по психрометрической диаграмме, приведенной в прил. 4 (рис. 1).

Таблица 1

Пределы изменения критерия Re

А¢

n¢

0,315×104

0,83

0,55

0,315×104 - 2,2×104

0,49

0,61

2,2×104 - 31,5×104

0,0248

0,90

Для ориентировочной оценки коэффициента массоотдачи от пород, данные о значении параметра  которых отсутствуют в табл. 2 прил. 4, может быть использована формула

                                                         (20)

4.3. Коэффициенты массоотдачи с поверхности мороженых продуктов bпрод и льда bл следует определять в соответствии с данными табл. 1 прил. 4.

5. ОПРЕДЕЛЕНИЕ КОЭФФИЦИЕНТОВ НЕСТАЦИОНАРНОГО ТЕПЛО- И МАССООБМЕНА МЕЖДУ ВОЗДУХОМ И ПОРОДАМИ

5.1. Величину коэффициента нестационарного теплообмена для ПС щелеобразной формы следует вычислять по формуле

                                                            (21)

где  а значения функции f(z) приведены в табл. 2.

Таблица 2

z

f(z)

z

f(z)

z

f(z)

z

f(z)

0,0

0,0000

2,5

0,7928

11

0,9487

40

0,9859

0,1

0,1036

3,0

0,8207

12

0,9530

45

0,9875

0,2

0,1910

3,5

0,8454

13

0,9566

50

0,9887

0,3

0,2654

4,0

0,8634

14

0,9597

60

0,9906

0,4

0,3202

4,5

0,8777

15

0,9624

70

0,9919

0,5

0,3843

5,0

0,8872

16

0,9647

80

0,9929

0,6

0,4323

5,5

0,8974

17

0,9668

90

0,9937

0,7

0,4741

6,0

0,9060

18

0,9686

100

0,9944

0,8

0,5109

6,5

0,9132

19

0,9703

110

0,9949

0,9

0,5435

7,0

0,9194

20

0,9718

120

0,9953

1,0

0,5724

7,5

0,9248

22

0,9744

130

0,9957

1,2

0,6214

8,0

0,9295

24

0,9765

140

0,9960

1,4

0,6614

8,5

0,9336

26

0,9783

150

0.9962

1,6

0,6975

9,0

0,9373

28

0,9799

160

0,9964

1,8

0,7217

9,5

0,9406

30

0,9812

180

0,9968

2,0

0,7434

10,0

0,9436

35

0,9839

200

0,9971

При значениях коэффициента теплоотдачи a, превосходящих 30 Вт/(м2×°С), для определения  рекомендуется использовать формулу

                                                             (22)

Рис. 4. Номограмма для определения коэффициента нестационарного теплообмена

5.2. Для цилиндрической выработки ПС с круговой формой поперечного сечения величину  следует определять по номограмме, приведенной на рис. 4, или рассчитывать по формулам:

при

                                                                   (23)

при

                                                  (24)

где Bi¢ = Bi + 0,375;  значения функции f(z) устанавливаются по данным табл. 2, значения параметра  приведены ниже:

Bi................... 0,2             0,5         1            2,5         10         

................... 1,8             2            2,2         2,5         2,9         p

Рис 5. Номограмма для определения поправки к коэффициенту нестационарного теплообмена bt, учитывающей отклонение геометрической формы поперечного сечения от круговой

При a > 30 Вт/(м2×°С) расчет  можно выполнять с использованием зависимости

                                             (25)

5.3. Коэффициент нестационарного теплообмена для выработок ПС с поперечным сечением эллиптической формы следует определять по формуле

                                                                     (26)

где bt поправка к коэффициенту нестационарного теплообмена, учитывающая отклонение геометрической формы поперечного сечения от круга с радиусом rэк и определяемая по номограмме на рис. 5 или по формуле

                    (27)

где

Рис. 6. Расчетные схемы к определению kt

а - для выработок, пройденных в породах с различными вдоль напластования и перпендикулярно к нему коэффициентами теплопроводности; б - системы взаимодействия камер в тепловом отношении выработок

Безразмерный радиус теплового влияния d = Rt/rэк рассчитывается по формулам:

 при 1 £ F0 £ 50;                           (28)

 при F0 > 50.                                       (28а)

5.4. Коэффициент нестационарного теплообмена kt для выработок ПС, пройденных в породах, имеющих различные значения коэффициентов теплопроводности вдоль напластования l и перпендикулярно ему l (рис. 6, а) вычисляется по формулам (24) - (26) при

                                                (29)

                                                         (30)

где l = 0,5(l + l).

5.5. Коэффициент нестационарного теплообмена для каждой выработки ПС, окруженной другими выработками и отстоящей от них на расстояние hвыр не больше, чем их радиусы теплового влияния  (рис. 6, б, г), т.е.  вычисляется по формуле

                                       (31)

Рис. 7. Номограмма для определения поправки сt к коэффициенту нестационарного теплообмена, учитывающему тепловое взаимодействие выработок

где nвыр - число взаимодействующих выработок;  - рассчитывается по формулам (24) - (30), а величина поправки , учитывающей тепловое взаимодействие выработки с температурой t1 и эквивалентным радиусом  и выработки с температурой tj и эквивалентным радиусом  в зоне температурного влияния которой  находится первая выработка, устанавливается при  с помощью номограммы на рис. 7 или по формуле

                        (32)

где  а Е(k1) - полный эллиптический интеграл II рода, определяемый по прил. 5 при

5.6. Уточненный расчет коэффициента нестационарного теплообмена с учетом: наличия в горном массиве нескольких незакрепленных выработок; их реальной геометрической формы; наличия в горном массиве естественного температурного поля, зависящего линейно от геотермического градиента; различия теплопроводности массива вдоль и поперек плоскостей напластования пород (анизотропии массива), зависимости коэффициента теплоотдачи от координат расчетного участка поверхности выработки может осуществляться с помощью специальной программы (см. Фонд алгоритмов и программ АН УССР, программа инв. № АП-0079 от 24.12.85).

5.7. Коэффициент нестационарного теплообмена при переменной температуре воздуха, характер изменения которой представлен на рис. 1, следует рассчитывать по формуле

                                             (33)

где  - вычисляется при полном времени существования ПС по формулам (23) - (32), а  определяется в зависимости от характера изменения температуры воздуха:

для гармонического закона (рис. 1, а)

                                  (34)

при подогреве воздуха в зимний период до положительных температур (рис. 1, б)  рассчитывается по формуле (23) при значении w, входящем в число Pd, равным

                                            (35)

где tлет, tср.г - средняя температура воздуха в наиболее жаркий месяц и среднегодовая температура атмосферного воздуха, °С; t¢ср.г - среднегодовая температура воздуха с учетом подогрева в зимний период времени до tпод

                          (36)

Значение  вычисляется по формуле

                                             (37)

где  значения функции f(zзим) приведены в табл. 2, время tзим отсчитывается от 0 до tпод.

При ступенчатом законе изменения температуры воздуха, характеризующимся последовательно следующими значениями температур t1, t2, … , tn-1, tn в периоды времени t1, t2, …, tn-1, tn (рис. 1, в)

                               (38)

где k¢t - определяется по полному времени существования выработки tn, k"t - по времени tn - t1, а kt(n) - по времени tn - tn-1.

Пример. Рассчитать величину коэффициента нестационарного теплообмена для самого жаркого и самого холодного месяцев при гармоническом законе изменения температуры воздуха, характеризующегося значением среднегодовой температуры +3,6 °С и температурами самого жаркого и самого холодного месяцев соответственно равными 17,6 и -10,4 °С. Для тех же условий определить значение kt в случае подогрева воздуха зимой в течение 5 месяцев до температуры +2 °С. При расчете принять kSt = 0,3 Вт/(м2×°С); Te = 12 °С; a = 8 Вт/(м2×°С); rэк = 2 м; aп = 9,3×10-7 м2/c; lп = 2,02 Вт/(м×°С).

Решение.

1. Находим числа подобия Bi, Bi¢ и Pd

По формуле (34) вычисляем величину Dkt

Используя формулу (33) получим значения kt для летнего и зимнего периодов:

.

2. При подогреве воздуха в зимнее время в течение 5 месяцев (3600 ч) до +2 °С для определения , вычисляем по формулам (36), (35) t¢ср.г и w

Величина числа подобия

Используя формулу (34) получим:

Величину  определим при tзим = 2190 ч.

Имеем

и j (11,2) = 0,95 (см. табл. 2).

Значения  и  вычислим по формуле (33):

.

5.8. Коэффициент нестационарного теплообмена в ПС с отрицательной температурой воздуха (начальная температура пород положительна) следует определять путем умножения коэффициента нестационарного теплообмена, вычисленного по формулам (21) - (34), на коэффициент интенсификации теплообмена при агрегатных переходах влаги kагр.

Величина kагр для ПС щелеобразной формы вычисляется по формуле

                                                         (39)

Рис. 8. График зависимости интеграла вероятности, erf, от параметра kb

где

Рис. 9. Номограмма для определения коэффициента

Рис. 10. Номограмма для вычисления параметров ξ1 и ξ2

bпр - коэффициент пропорциональности, характеризующий скорость движения зоны промерзания,  tср - средняя за расчетный период температура воздуха в выработках ПС; erfkb - интеграл вероятности, значения которого приведены на рис. 8.

При kа = ke = 1 значения  определяются по номограмме, представленной на рис. 9.

Глубина промерзания Rпр при этом составляет

                                                            (40)

Для условий цилиндрической выработки с круговой формой поперечного сечения  следует рассчитывать по формуле

                                                    (41)

Глубина промерзания пород вокруг выработки устанавливается по зависимости

                                                         (42)

где величины  определяются по номограмме, приведенной на рис. 10, при

Величина безразмерного радиуса теплового влияния выработки рассчитывается по формуле

,                                             (43)

где значения функции F определяются в зависимости от параметра  по графику на рис. 11.

Коэффициент нестационарного теплообмена для выработок с поперечным сечением эллиптической формы вычисляется как произведение величин kt,  и bt, рассчитанных по формулам (24), (41) и (27). Причем значение радиуса теплового влияния в формуле (27) находится из соотношения (43).

Коэффициент нестационарного теплообмена для выработок, пройденных в породах с отличающимися коэффициентами теплопроводности вдоль напластования l и перпендикулярно ему l, следует определять как произведение kt и , вычисленных по формулам (24) и (41) с учетом зависимостей (29), (30) и величины bt, рассчитанной по формуле (27) при значении радиуса теплового влияния d, установленного с использованием зависимости (43).

Рис. 11. График для определения отношения d/ξ в зависимости от параметра

Коэффициент нестационарного теплообмена для выработки в случае ее теплового взаимодействия с другими выработками, находящимися от нее на расстоянии hвыр £ Rt определяется аналогично п. 5.5 при значении dj, вычисленном по соотношению (43).

Пример. Определить коэффициент нестационарного теплообмена на 3 год эксплуатации выработки, пройденной в песчанике с начальной температурой +10 °С и влагосодержанием 3 %. Коэффициент теплоотдачи равен 8 Вт/(м2×°С), а температура воздуха, поддерживаемая в выработке, составляет -15 °С. Выработка, имеющая ширину и высоту 10 и 3 м, окружена тремя другими выработками, имеющими такие же геометрические параметры и отстоящими от первой выработки на расстояние 10,5, 16 и 24 м. Температура воздуха, поддерживаемая в них, соответственно равна -1, -5 и -30 °С.

Решение.

В соответствии с данными прил. 2 (табл. 2) при wп = 3 % плотность песчаника составляет 2500 кг/м3, а его теплофизические свойства в мерзлом и талом состояниях одинаковы и равны: теплоемкость сп = 0,84×103 Дж/(кг×°С); теплопроводность 2,6 Вт/(м×°С), температуропроводность 12,2×10-7 м2/с.

Вычислим числа подобия Bi, F0 при rэк = 3,5 м

Находим по формуле (24) коэффициент нестационарного теплообмена  для цилиндрической выработки кругового сечения (

Вычислим для каждой выработки значения чисел подобия K0 и kт

По номограмме на рис. 9 определим для каждой выработки величины

По формуле (41) вычислим

Используя номограмму рис. 10 и формулу (42), получим величины глубин промерзания пород вокруг каждой выработки ξ:

По графику рис. 11 определим величину соотношения d/ξ, по формуле (43) вычислим радиус теплового влияния каждой выработки:

d1 = 2,66×4,5 = 12; d2 = 1,04×5 = 5,2; d3 = 1,66×5 = 8,3; d4 = 3,5×3,3 = 11,6.

По номограмме рис. 5 при kпр = 3/10 = 0,3 и d1 = 12 определим поправку bt к коэффициенту нестационарного теплообмена. Получим bt = 0,96.

По номограмме на рис. 7 вычислим поправки сt, учитывающие тепловое взаимодействие выработок:

Окончательно для kt получим:

kt = 1,1×0,386×0,96×0,93×0,92×0,85 = 0,296 Вт/(м2×°С).

5.9. Температуру поверхности пород в выработках ПС при известном коэффициенте нестационарного теплообмена следует рассчитывать по формуле

Тпов = t + kt(Te - t)/a.                                                           (44)

5.10. Коэффициент нестационарного массообмена bt при известных температуре поверхности пород Тпов, их начальном влагосодержании wп, а также температуре t и относительной влажности j воздуха определяется по зависимости

                                                     (45)

где Рнаспов), Р(t) - рассчитываются при температурах Тпов и t по формулам (2), (3), а концентрация водяного пара в воздухе К вычисляется при температуре t по формуле (4) и данным прил. 4.

Коэффициент массобмена b¢t для выработок ПС с щелеобразной, круговой и эллиптической формой поперечного сечения, а также в условиях взаимного влияния выработок друг на друга ориентировочно определяется по формулам (21), (23), (26), (31), (32) при замене в них коэффициентов теплопроводности lп и температуропроводности ап на коэффициент диффузии  и коэффициента теплоотдачи a на коэффициент массоотдачи b¢п, равный

b¢п = 0,126bп,                                                                 (46)

где bп - рассчитывается по формулам (18), (19) или (20).

Пример. Рассчитать величину коэффициента нестационарного массообмена на 3 год эксплуатации выработки, пройденной в плотном известняке с температурой 6 °С и влагосодержанием 5 %. Сечение выработки составляет 12 м2, а ее периметр 10 м. Количество воздуха, подаваемое для проветривания выработки G¢b = 10 м3/с, а его температура и влажность равны t = 16 °С и j = 80 %. Коэффициент теплоотдачи составляет 6 Вт (м2×°С).

Решение.

На основании данных расчетов, выполненных в примере раздела 4.1, величина коэффициента массоотдачи от пород к воздуху равна bп = 0,023 кг/(м2×с×МПа). По данным прил. 2 (табл. 2 и рисунок) плотный известняк имеет следующие значения теплофизических и влагофизических свойств: плотность 2500 кг/м3; теплоемкость 0,92×103 Дж/(кг×°С); теплопроводность 2,7 Вт/(м×°С); температуропроводность 11,7×10-7 м2/с; коэффициент диффузии 0,1×10-8 м2/с.

При эквивалентном радиусе выработки rэк = 10/2×3,14 = 1,6 м числа подобия Bi, F0 равны

Тогда по формуле (24) при

Температуру поверхности пород вычислим по формуле (44)

Тпов = 16 + 0,61(6 - 16)/6 = 15 °С.

Числа подобия Bim и Fom, характеризующие интенсивность массообменных процессов, определим при rэк = 1,6 м и коэффициенте массообмена b¢п, вычисленном по формуле (46):

b¢п = 0,126×0,023 = 0,0029 м/с.

По формуле (25) вычислим b¢t

По данным прил. 4 при температурах Т = 15 °С и t = 16 °C определим Рнас(15 °С) = 17 МПа, Рнас(16 °С) = 18,13 МПа, Кнас(16 °С) = 13,6×10-3 кг/м3. По формулам (3) и (4) при j = 0,8 вычислим Р(16 °С) = 0,8×18,3 = 14,5 МПа и К(16 °С) = 0,8×13,6×10-3 = 10,9×10-3 кг/м3.

Окончательно по формуле (45) получим

При нанесении на поверхность выработок ПС пароизоляционных покрытий величина bt не будет превосходить значений, приведенных в табл. 3.

5.11. Коэффициенты теплопередачи через целики и перемычки, отделяющие рабочие пространства ПС (пространство, в котором поддерживаются заданные термовлажностные параметры воздуха) от смежных и подсобных помещений, следует вычислять с использованием формул:

Таблица 3

Покрытие

Толщина покрытия, м

Значение bt×103 кг/(м2×с×МПа)

ЛПС-145-3

0,0008

0,3

Торкретбетон с пиритными огарками

0,01

1,5

0,02

0,4

Цементно-карбонатное

0,02

0,0008

ЛПС-901

2

0,17

                                                            (47)

                                                (48)

где bцел, bпер - соответственно ширина целиков и толщина перемычек, м; lпер, lиз - теплопроводность материала, из которого изготовлены перемычки, и нанесенного на них теплоизоляционного материала, Вт/(м2 °С); ξцел - поправочный коэффициент, величина которого зависит от отношения ширины целика bцел и высоты выработки h и при значениях bцел/h, равных 1; 2; 4, соответственно составляет 1,3; 1,5; 1,8.

5.12. Коэффициент теплопередачи воздушного потока, движущегося в вентиляционном трубопроводе, к воздуху в выработке, рассчитывается по формуле

                                              (49)

где коэффициенты теплоотдачи от воздуха внутри вентиляционного трубопровода к его стенке a1 и от стенки к воздуху в выработке определяются по формуле (17); eш для стальных трубопроводов составляет 1, а для прорезиненных в зависимости от диаметра dв.тр находится по соотношению eш = 2,4 - 0,8dв.тр. При проветривании выработок ПС охлажденным воздухом величину a2 следует умножить на коэффициент ξкон, учитывающий интенсификацию теплообмена при конденсации влаги на наружной поверхности вентиляционного трубопровода и определяемый по соотношению ξкон = 1 + l-0,15.

6. ТЕПЛОВЫЕ РАСЧЕТЫ ВЫРАБОТОК ПС ПРИ ПРОДОЛЬНОЙ СХЕМЕ ПРОВЕТРИВАНИЯ

Продолжительность предэксплуатационного периода

6.1. Для ПС с положительной температурой устанавливается по формуле

                               (50)

сэф - эффективная теплоемкость воздуха, рассчитываемая по формуле

сэф = 1006 + 2470n¢апрjср0,101/В,                                   (51)

где n¢апр - коэффициент, значения которого в зависимости от ожидаемого интервала изменения температуры воздуха в выработке устанавливаются по данным прил. 6 (табл. 1).

Средняя влажность воздуха в выработке ПС определяется по формуле

                         (52)

jк = 2jср - jн,                                                              (53)

где Pнас(tк), Pнас(tср) и Рнаспов.ср) вычисляются при значениях температур tк, tср, Тпов.ср, а tср = 0,5(tн + tк), Тпов.ср = 0,5(Тпов.н + Тпов.к).

Определение величины tп.эк следует осуществлять в следующей последовательности: по формулам (52), (53) при заданном Gв находятся средняя влажность воздуха jср в выработке и влажность, которую имеет воздух на выходе из выработки jк, при этом принимается, что амплитуда изменения влажности не должна превышать Dj, т.е. |jк - jн| £ Dj; по соотношению (51) устанавливается значение эффективной теплоемкости воздуха сэф; по зависимости (50) вычисляется tп.эк, при этом принимается, что разница между температурами tк и tн в ПС не должна быть больше некоторого заданного значения Dt, т.е. |tк - tн| £ Dt.

Продолжительность предэксплуатационного периода для ПС с отрицательной температурой устанавливается в результате умножения величины tп.эк, вычисленной по формуле (50), на квадрат коэффициента интенсификации теплообмена  определенного с использованием зависимости (39).

Тепловые расчеты выработок ПС в эксплуатационный период

6.2. При установке теплотехнического оборудования у устья выработок ПС его производительность Qоб следует определять по формуле

                                                         (54)

где  и  - устанавливаются при формуле (7), при температуре и влажности подаваемого воздуха перед оборудованием и требуемых температуре и влажности воздуха в выработке tн и jн (см. рис. 3, а).

                    (55)

jк = 2jср - jн,                                                              (56)

        (57)

где Sj - суммарные влаговыделения от работающих людей jл, оборудования jоб и грузов jгр, размещаемых в выработках ПС; Qабс - количество теплоты, выделяемое машинами, стационарными источниками тепловыделений и работающими механизмами Qмех; выделяемое (теряемое) в ходе технологических процессов Qтехн; теряемое через целики Qцел и перемычки Qпер.

Qабс = Qмех + Qтехн + Qцел + Qпер,                                           (58)

где величины Qцел и Qпер рассчитываются по формулам:

Qцел = kцелFцел(tокр - t);                                                    (59)

Qпер = kперFпер(tокр - t),                                                   (60)

где kцел и kпер - коэффициенты теплопередачи от воздуха с температурой t в выработках ПС, используемых для хранения продуктов и осуществления производственных процессов, к воздуху в подсобных и смежных помещениях с температурой tокр, определяемые по формулам (47) - (48); Fцел и Fпер - поверхности целиков и перемычек по границам контакта воздуха с температурами t и tокр.

Расчет величины Qоб следует осуществлять в следующей последовательности: при заданных jн и tк и амплитудах изменения относительной влажности Dj и температуры Dt по длине выработки по формулам (57), (56), (55) устанавливаются значения jк и tн находится расход воздуха Gв, при котором выполняются соотношения |jк - jн| £ Dj; |tк - tн| £ Dt; при влажности jн и температуре tн рассчитывается iн; по формуле (54) определяется Qоб.

Коэффициент нестационарного теплообмена kt в зависимости (55) для ПС с положительной температурой вычисляется по формулам (21) - (32), а для ПС с отрицательной температурой - по формулам (39) - (43).

6.3. При установке теплотехнического оборудования непосредственно в выработках ПС его производительность следует рассчитывать по формуле

                                  (61)

где сэф вычисляется по формуле (51), а jср - по формуле (57). Последовательность определения Qоб при этом аналогична п. 6.2, т.е. вначале рассчитывается значение Gв, обеспечивающее заданный уровень относительной влажности в выработке, а затем находится величина Qоб. Коэффициент нестационарного теплообмена kt устанавливается в зависимости от знака температуры воздуха в ПС по формулам (21) - (43).

6.4. При использовании для подогрева наружного воздуха в зимнее время до положительных температур теплоты горных пород необходимая длина выработок, в которых осуществляется подогрев воздуха (теплоаккумулирующие выработки), рассчитывается по формуле

                               (62)

где tк.тр - требуемая температура воздуха в конце теплоаккумулирующей выработки, °С

                                                       (63)

                                            (64)

Уточненный расчет длины теплоаккумулирующих выработок следует осуществлять с использованием формулы

.                 (65)

Вычисления по формуле (65) выполняются в два этапа: на первом устанавливается некоторое условное среднегодовое распределение температуры воздуха по длине вентиляционного пути; на втором - по найденным среднегодовым температурам с использованием формул (33) - (34) определяются сезонные значения коэффициентов нестационарного теплообмена, а затем рассчитываются распределения температур по длине выработки. С целью повышения точности расчеты следует производить последовательно для участков длиной 200 - 500 м. Необходимая длина теплоаккумулирующей выработки устанавливается по расстоянию, на котором значение температуры будет равно заданному tк.тр. Если в качестве теплоаккумулирующей выработки служат стволы (или другие наклонные выработки), то определение их длины осуществляется аналогично вышесказанному с использованием зависимости

    (66)

где параметры А, N и D рассчитываются по формулам:

                                                                (67)

                                                                  (68)

                                             (69)

а средняя температура пород Тср устанавливается по соотношению Тср = Тн.с + 0,5s(Н - Нн.с). Знак «+» перед слагаемым 9,8×10-3lsiny/cв в формуле (66) относится к случаю нисходящего движения вентиляционной струи, знак «-» - к восходящему движению. Коэффициенты k¢anp, m¢anp, l¢апр устанавливаются по данным табл. 2 прил. 6.

Влажность jк определяется по формулам (56), (57).

7. ТЕПЛОВЫЕ РАСЧЕТЫ ВЫРАБОТОК ПС ПРИ ПОПЕРЕЧНОЙ И ПРОДОЛЬНО-ПОПЕРЕЧНОЙ СХЕМАХ ПРОВЕТРИВАНИЯ

7.1. Вычисление продолжительности предэксплуатационного периода осуществляется:

при поперечной схеме проветривания по формуле

                                           (70)

где  а величины сэфф, jср, jк определяются аналогично п. 6.1;

при продольно-поперечной схеме проветривания с использованием зависимости (50) при расходе воздуха составляющем 0,5Gв. При вычислении tп.эк величины сэф, jср, jк определяются также аналогично п. 6.1 при расходе воздуха, составляющем 0,5Gв.

7.2. Производительность теплотехнического оборудования, располагаемого у устья выработок ПС, устанавливается по формуле (54), в которой энтальпия iн определяется при влажности jн и температуре tн, рассчитываемой:

при поперечной схеме проветривания по формуле

                                                 (71)

где параметр , сэф находится по формуле (51), а jср - по формуле (57); при продольно-поперечной схеме проветривания в соответствии с зависимостью

                     (72)

где R1 = r1exp(r1l); R2 = r2exp (r2l), а r1, r2 равны:

.                         (73)

Параметры П и Е рассчитываются по формулам:

                              (74)

                                                       (75)

где сэф находится по формуле (51), jср - по формуле (57) при расходе воздуха, составляющем 0,5Gв. Последовательность расчета tн производится по формулам (71), (72), методика определения уровня относительной влажности воздуха в выработках и расчета коэффициента нестационарного теплообмена аналогичны п. 6.2.

7.3. Производительность теплотехнического оборудования при его установке непосредственно в выработках ПС определяется:

при поперечной схеме проветривания по формуле

Qоб = Qабс + Gвсэф(tк - tн)(1 - 0,5МL),                                    (76)

где параметры М и L рассчитываются аналогично п. 7.2, величина сэф вычисляется по формуле (51) при jср, определяемой в соответствии с зависимостью (57);

при продольно-поперечной схеме проветривания по формуле

              (77)

где параметры R1, R2, r1, r2 вычисляются аналогично п. 7.2, величина сэф рассчитывается по формуле (51) при jср, определяемом в соответствии с зависимостью (57) при количестве воздуха, равном 0,5Gв, а kt устанавливается по рекомендациям п. 6.3.

Пример. Определить производительность холодильной машины, установленной перед выработкой, длиной 100 м и периметром 14 м, проветриваемой по продольно-поперечной схеме с помощью воздуховода с отверстиями, заданным образом распределенными по его длине. Длина воздуховода соответствует длине выработке, а его диаметр равен 0,8 м. Температура и влажность подходящей к выработке вентиляционной струи 14 °С и 80 %. Естественная температура пород равна 15 °С. Количество воздуха, которое необходимо подавать в выработку, и температура воздуха в ней (tк), установленные в соответствии с технологическими нормами, составляют 10 м3/с и 10 °С. Потребляемая мощность машин и механизмов, работающих в выработке, а также освещения равна 20 кВт. При расчете принять среднюю влажность воздуха в выработке jср = 0,8; коэффициент нестационарного теплообмена kt = 0,3 (Вт/м2×°С); коэффициент теплопередачи от воздуха в воздухопроводе к воздуху в выработке kв.тр = 5 Вт/(м2×°С); барометрическое давление В = 0,101 МПа; плотность воздуха rв = 1,25 кг/м3; допустимая амплитуда колебания температуры воздуха в ПС Dt = ± 1 °C.

Решение.

В диапазоне температур 10 - 15 °С величина коэффициента n¢апр по данным табл. 1, прил. 6, составляет 0,56. По формуле (51) вычислим величину сэф:

сэф = 1006 + 2470×0,56×0,8×0,101/0,101 = 2113 Дж/(кг×°С).

По формулам (74), (75) установим параметры П и Е

Используя соотношения (73) установим значения величин r1, r2 и R1, R2:

По формуле (72) определим температуру, с которой воздух необходимо подавать в воздухопровод, для обеспечения температуры воздуха в выработке tк = 10 °С.

Холодопроизводительность оборудования, установленного перед выработкой, определим по зависимости (54), предварительно по формуле (7) вычислив энтальпии воздуха при j = 0,8, t = 14 °С и при j = 0,8, t = 9 °C (iно = 34,3×103 Дж/кг) (iн = 23,8×103 Дж/кг).

Qоб = 1,25×10(34,3 - 23,8)103 = 132500 Вт = 132,5 кВт.

8. ТЕПЛОВЫЕ РАСЧЕТЫ ПС ПРИ ОТСУТСТВИИ СПЕЦИАЛЬНО ОРГАНИЗОВАННОГО ПРОВЕТРИВАНИЯ И РАЗМЕЩЕНИИ ТЕПЛОТЕХНИЧЕСКОГО ОБОРУДОВАНИЯ НЕПОСРЕДСТВЕННО В ВЫРАБОТКАХ

8.1. Продолжительность предэксплуатационного периода зависит от мощности устанавливаемого в выработках теплотехнического оборудования и определяется:

для ПС с положительной температурой

                                                 (78)

где qуд - удельный тепловой поток на единицу поверхности выработки от установленного в ней теплотехнического оборудования qуд = Qоб/Uвырl; qисп - теплота, расходуемая на испарение влаги с поверхности стен выработки ПС

qисп = SbпPнас(1 - jк),                                                          (79)

где Рнас - находится при температуре 0,5(Те + tк), а tк и jк определяются в соответствии с технологическими нормами микроклимата; для ПС с отрицательной температурой

                           (80)

где kg - коэффициент, учитывающий наличие опорных целиков и зависящий от отношения выработки пролета к ширине целика bцел и температуры воздуха tк, поддерживаемой в ней; определяется по данным табл. 4 или формуле (81)

Таблица 4

Отношение пролета камеры к ширине целика

tк, °C

-5

-10

-15

-20

-25

-30

1

1

1,1

1,17

1,24

1,3

1,4

0,8

1

1,08

1,14

1,19

1,24

1,31

0,6

1

1,06

1,1

1,14

1,18

1,24

0,4

1

1,035

1,064

1,1

1,12

1,16

0,2

1

1,2

1,035

1,05

1,06

1,08

kg = (0,98 - 0,12tк)b/bцел.                                               (81)

Плотность теплового потока qуд связана с тепловой производительностью холодильного оборудовании Qоб соотношением

                         (82)

где mх - коэффициент, характеризующий тип хладоагента: для аммиака mх = 0,0551; для фреона-12 mх = 0,038; для фреона-22 mх = 0,045; Dtк - разность температур между температурой воздуха в охлаждаемом помещении и температурой кипения хладоагента: для систем с непосредственным охлаждением Dtк = 10 °С; для систем с рассольным охлаждением Dtк = 15 °С.

8.2. Производительность теплотехнического оборудования в период эксплуатации выработок ПС определяется по формуле

Qоб = Qабс + Qп,                                                        (83)

где величина Qабс вычисляется по формулам (58) - (60), а величина Qп находится:

для ПС с положительной температурой

Qп = 0,5(k¢t + k¢¢t)(Te - tк)Uвырl,                                           (84)

где коэффициенты нестационарного теплообмена k¢t и k¢¢t вычисляются соответственно при временах tэк и tэк - tп.эк, по формулам (21) - (32);

для ПС с отрицательной температурой

Qп = kагрktе - tк)Uвырl,                                               (85)

где kt - вычисляется с учетом термического сопротивления слоя пород Rпр, промороженных в предэксплуатационный период, по формулам (24) - (32) при замене коэффициента теплоотдачи a на коэффициент теплопередачи kпр, равный

                                                 (86)

где Rпр определяется по формуле (40) при значении температуры воздуха, составляющей 0,5tк, а kагр рассчитывается по формуле (41).

9. РАСЧЕТ ПОЛЕЙ ТЕМПЕРАТУР И ВЛАГОСОДЕРЖАНИЙ В ПОРОДНОМ МАССИВЕ, ОКРУЖАЮЩЕМ ВЫРАБОТКИ ПС

9.1. Температурные поля для условий предэксплуатационного периода следует рассчитывать по формулам:

при принудительной подаче воздуха в выработки ПС:

для ПС с положительной температурой

v = erfcZ,                                                        (87)

где  erfcZ = 1 - erfZ, а значения функции erfZ устанавливаются по графику на рис. 12 при Z = kb;

для ПС с отрицательной температурой

                                            (88)

                                       (89)

где   а величина параметра kb определяется или по формуле (39) или из соотношения  с использованием номограммы рис. 9 и графика рис. 8. Глубина зоны промерзания рассчитывается по формуле (40).

При отсутствии специально организованного проветривания выработок:

для ПС с положительной температурой:

                             (90)

где qуд определяют в зависимости от мощности установленного в выработках оборудования (qуд = Qоб/Fвыр), а qисп рассчитывают по формуле (79);  а значения функции ierfсZ приведены в табл. 5.

Таблица 5

Z

ierfcZ

Z

ierfcZ

Z

ierfcZ

Z

ierfcZ

0

0,5642

0,22

0,3713

0,44

0,2300

0,82

0,0861

0,01

0,5542

0,23

0,3638

0,45

0,2247

0,84

0,0813

0.02

0,5544

0,24

0,3564

0,46

0,2195

0,86

0,0767

0,03

0,5350

0,25

0,3491

0,47

0,2144

0,88

0,0724

0,04

0,5251

0,26

0,3419

0,48

0,2094

0,9

0,0782

0,05

0,5156

0,27

0,3348

0,49

0,2045

0,92

0,0642

0,06

0,5052

0,28

0,3278

0,50

0,1996

0,94

0,0605

0,07

0,4969

0,29

0,3210

0,52

0,1902

0,96

0,0569

0,08

0,4878

0,30

0,3142

0,54

0,1811

0,98

0,0535

0,09

0,4787

0,31

0,3075

0,56

0,1724

1

0,0503

0,10

0,4698

0,32

0,3010

0,58

0,1640

1,1

0,0365

0,11

0,4610

0,33

0,1945

0,6

0,1559

1,2

0,0260

0,12

0,4523

0,34

0,2882

0,62

0,1482

1,3

0,0183

0,13

0,4437

0,35

0,2819

0,64

0,1407

1,4

0,0127

0,14

0,4352

0,36

0,2758

0,66

0,1335

1,5

0,0086

0,15

0,4268

0,37

0,2722

0,68

0,1267

1,6

0,0058

0,16

0,4186

0,38

0,2637

0,7

0,1201

1,7

0,0038

0,17

0,4104

0,39

0,2579

0,72

0,1138

1,8

0,0025

0,18

0,4024

0,40

0,2521

0,74

0,1077

1,9

0,0016

0,19

0,3944

0,41

0,2465

0,76

0,1020

2

0,001

0,20

0,3866

0,42

0,2409

0,78

0,0965

 

 

0,21

0,9789

0,43

0,2354

0,8

0,0912

 

 

для ПС с отрицательной температурой:

                                    (91)

                                (92)

Границы промерзания Rпр и радиус теплового влияния Rt устанавливаются зависимостями:

                                           (93)

                                   (94)

где t* определяется соотношением

Пример. Определить величину температуры пород в кровле выработки на расстоянии 1 м от поверхности их контакта с воздухом через 10 сут после начала предэксплуатационного периода. Породы представлены песчаником, имеющим температуру, влагосодержание и теплофизические свойства, совпадающие с принятыми в примере п. 5.8. Расчет провести для средних температур воздуха в ПС +2 °С и -15 °С, получаемых с помощью средств вентиляции и при установке теплотехнического оборудования, обеспечивающего значение qуд = 50 Вт/м2. При этом принять величину qисп = 10 Вт/м2.

Решение.

1. По формуле (87) при

v = 0,488 Тп = Te - v(Te - t) = 10 - 0,488(10 - 2) = 6,1 °С.

2. По формуле (90) при Z = 0,49 и ierfcZ = 0,204 (см. табл. 5) получим:

Тп = Те(1 - v) = 10(1 - 0,644) = 3,5 °С.

3. По номограмме на рис. 9 при значениях kт = 0,67 и К0 = 0,8,  Тогда erfkn = 1,4/1,67 = 0,84, а kb по графику на рис. 12 составляет kb = 1. По формуле (40) получим  так как у < Rпр, то по формуле (88) при Zм = 0,49 и vм = 0,488/0,84 = 0,58, имеем:

Тм = t + ф - t)vм = -15 + 15×0,58 = -6,3 °С.

4. По формулам (93), (94) при  имеем:

так как у > Rпр, то по формуле (92) получим:

Рис. 12. График для определения значения функции j(Z, Y)

Тт = Те - vтТе = 10(1 - 0,574) = 4,3 °С.

9.2. Температурные поля в породах в период эксплуатации ПС определяются следующими формулами:

для ПС с положительной температурой:

при щелеобразной форме выработок и цилиндрической форме с круговым поперечным сечением для

                                                  (95)

где значения функции j(Z, Y) находятся по графику на рис. 12 при параметрах Z и Y, определяемых для щелеобразной и круговой формам поперечного сечения по соотношениям:   и  

при цилиндрической форме выработок с круговым поперечным сечением для

                                (96)

где величина d устанавливается по формуле (28) или номограмме рис. 5:

при цилиндрической форме выработок с эллиптическим поперечным сечением

                                    (97)

где аэл и bэл - большая и малая полуоси эквивалентного эллипса, устанавливаемые при kпр = h/b по соотношениям:

                                                (98)

                                                (99)

Радиус теплового влияния d и поправка к коэффициенту нестационарного теплообмена bt определяются по формулам (27), (28) или номограмме (рис. 5). Координаты Aг и Bг связаны с декартовой системой координат соотношениями:

                                                     (100)

        (101)

и изменяются от аэл и bэл до значений Ad и Вd, рассчитываемых по формулам:

                                    (102)

                                     (103)

где параметр Nd определяется по формуле (27) при известном значении радиуса теплового влияния d.

Пример. Рассчитать температуру пород, окружающих выработки ПС, в точке, расположенной на расстоянии 10 м от оси выработок. Ширина и высота первой выработки соответственно равны 8 и 4 м, а второй 10 и 2,5 м. Температура воздуха, поддерживаемая в выработках составляет +2 °С, а коэффициент теплоотдачи равен 8 Вт/(м2×°С). Теплофизические свойства принять аналогично примеру п. 5.8.

Решение.

Для первой выработки при b/h = 8/4 = 2 при расчете используем формулу (96).

При rэк = (8 + 4)/3,14 = 3,82 м; Bi = 8×3,82/2,6 = 12; F0 = 12,2×10-7×5×8760×3600/(3,82)2 = 13,2 находим по табл. 4  а по формуле (28) d = 15.

По формуле (96) при R = 10/3,82 = 2,61 получим

Тп = 10 - 0,509(10 - 2) = 6 °С.

Для второй выработки при b/h = 4 (kпр = 0,25) принимаем модель, соответствующую эллиптической форме поперечного сечения. Искомая точка при этом в декартовой системе имеет координаты у = 0, r = 10 м.

По формулам (98) - имеем

Аr = 102 + (5,79)2 - (1,45)2 = 11,5 м.

При rэк = 3,98 м; Bi = 12,2; F0 = 12,2;  d = 14,5 и bt = 0,955 (см. рис. 9) по формуле (97) получим:

откуда Тп = 2 + 0,39(10 - 2) = 5,1 °С.

При цилиндрической форме выработок с круговым или эллиптическим поперечными сечениями, пройденными в породах с различными коэффициентами теплопроводности вдоль напластования l и перпендикулярно к нему l - по формуле (97) с учетом соотношений (29) - (30) при  и

Для ПС с отрицательной температурой:

при щелеобразной форме выработок - по формулам (88) - (89);

при цилиндрической форме выработок с круговым поперечным сечением, в случае

                                      (104)

                              (105)

где   а величина kb вычисляется аналогично п. 9.1:

в случае

                                                (106)

                                         (107)

где величины ξ и d рассчитываются по формулам (42), (43);

при цилиндрической форме выработок с эллиптическим поперечным сечением:

                                           (108)

                                 (109)

где величины b¢t и b²t определяются по формуле (27) или по номограмме рис. 5 при известных значениях d и ξ, которые, в свою очередь, рассчитываются по формулам (42), (43). Координаты Ar и Br в формуле (108) изменяются от границ контура эллиптической выработки до контура, соответствующего границе промерзания Aξ и Вξ, а в формуле (109) от контура, соответствующего границе промерзания Aξ и Вξ до контура, совпадающего с зоной теплового влияния выработки Ad и Bd. Значения Аξ и Вξ, Ad и Вd устанавливаются по формулам (102), (103). Связь координат Аr и Вr с декартовой системой координат (у, r) осуществляется по формулам (100), (101).

Пример. Рассчитать температуру пород, окружающих выработки ПС, для условий предыдущего примера, приняв температуру воздуха, равной -15 °С.

Решение.

Для первой выработки при rэк = 3,82 м; Bi = 12; F0 = 13,2; K0 = 0,8; kт = 0,67, используя номограмму на рис. 13 и формулу (41) получим:   По номограмме рис. 10 и формуле (42) найдем величину ξ = 2,55. Используя график рис. 11 и формулу (43) получим d = 11,5. Так как R = r/rэк = 2,61 > ξ, то для вычислений температуры пород необходимо применять формулу (107)

откуда

Тпт = Те + vцтф - Те) = 10 + (0 - 10)0,975 = 0,25 °С.

Для второй выработки при rэк = 3,98 м; Bi = 12,2; F0 = 12,2; К0 = 0,8; kт = 0,67 аналогично расчетам для первой выработки получим:   ξ = 2,45; d = 11. По формулам (101), (102) с учетом соотношения (27) определенного при ξ = 2,45, установим большую Аξ и малую Вξ полуоси эллиптической границы промерзания:

Так как расчетная точка расположена за пределами зоны промерзания, то для определения температуры пород используем формулу (109). По номограмме рис. 5 при d = 11 и ξ = 2,45 соответственно получим b¢t = 0,95 и b²t = 0,85. Тогда

откуда

Tпт = 0 + (10 - 0)0,02 = 0,2 °С.

9.3. Температурное поле в породах при наличии системы взаимовлияющих в тепловом отношении выработок рассчитывается в следующей последовательности: определяются расстояния от точки, в которой определяется температура пород, до центра каждой выработки rj, и по одной из формул (95) - (109) устанавливаются безразмерные температуры  вычисляется температура, сформировавшаяся в искомой точке от любых двух выработок

                                                        (110)

тепловое влияние третьей выработки v3 (при известной величине ) учитывается аналогичным образом

                                                       (111)

Суммарная температура пород в искомой точке устанавливается в результате последовательного учета в соответствии с формулами (110) - (111) теплового влияния каждой выработки

                                                   (112)

Пример. Рассчитать результирующую температуру, сформировавшуюся в горном массиве от влияния четырех выработок, если начальная температура пород Te = 15 °С, а расчетные температуры пород в искомой точке от влияния каждой из выработок составляют T1 = 8 °C; Т2 = 5 °С; Т3 = 12 °С; Т4 = 2 °С. Температура воздуха в четвертой выработке t4 = 1 °С.

Решение.

Найдем безразмерные температуры vj

  

По формулам (110), (111) найдем

По формуле (112) имеем:

Тп = 15 - 0,992(15 - 1) = 1,1 °С.

9.4. Температурные поля, формирующиеся в горных породах при изменении температуры воздуха в выработках в соответствии с одним из законов, представленных на рис. 1, рассчитываются следующим образом: зависимость изменения температуры воздуха от времени разбивается на временные интервалы, в течение которых температура воздуха считается постоянной tn; по одной из формул (95), (96), (97) при временах (t - tn), отсчитываемых от начала интервала с температурой tn, вычисляются безразмерные температуры пород  температура пород Тn на момент времени t определяется по формуле:

                                 (113)

где tm, t0 - температура воздуха в последний временной интервал и начальная температура воздуха; m - число временных интервалов.

9.5. Уточненный расчет температурных полей в массиве горных пород при наличии нескольких незакрепленных выработок и их реальной геометрической формы, а также учет естественного геотермического градиента, анизотропии теплофизических свойств пород, зависимости коэффициента теплоотдачи от координат и времени, может осуществляться по специальной программе (см. Фонд алгоритмов и программ АН УССР, программа инвентарный № АП-0079 от 24.12.85).

9.6. Поля влагосодержаний в породах, окружающих выработки ПС, wn рассчитываются по формуле

wп = we + vm(wern + kв),                                                    (114)

где vm определяется аналогично полям температур по зависимостям (87), (95) - (97) при замене в них коэффициентов теплопроводности lп и температуропроводности аn на коэффициент диффузии  и коэффициента теплоотдачи на коэффициент массоотдачи b¢n, определяемый соотношением (46).

10. ПРИМЕРЫ ТЕПЛОВЫХ РАСЧЕТОВ ВЫРАБОТОК ПС

Тепловой расчет ПС, используемого для размещения птицефабрики производительностью 1 млн. бройлеров в год

Исходные данные для теплового расчета

1. Нормативные параметры микроклимата производственных помещений для выращивания цыплят-бройлеров выбираются в соответствии с данными табл. 6.

Таблица 6

Возраст, недель

Температура в холодный период года, °С

Относительная влажность j воздуха, %

Скорость движения воздуха, м/с

в помещении

под брудерами (нагревательные приборы), м

холодный период, не более

теплый период, не более

1

28 - 26

35 - 30

65 - 75

0,15

0,2

2 - 3

22 ± 1

29 - 26

65 - 75

0,2

0,4

4 - 6

20 ± 1

-

65 - 75

0,5

0,6

7 - 9

19 ± 1

-

60 - 75

-

-

2. Климатическая характеристика района (р-н г. Одессы) принимается согласно данным СНиП 2.01.01-82. Среднегодовая температура - плюс 7,8 °С.

Среднемесячная температура наиболее холодного месяца - января равна минус 4,8 °С, а наиболее теплого - июля плюс 19,5 °С.

Барометрическое давление равно 0,1 МПа.

3. Геолого-геотермические условия: тип пород - детритовый известняк. Плотность 1700 кг/м3, удельная теплоемкость 1,3 кДж/(кг×оС); теплопроводность вдоль напластования и перпендикулярно к нему равна 1,3 и 0,8 Вт/(м×°С), влажность пород 15 %. Естественная температура пород на глубине расположения выработок ПС Н = 200 м составляет плюс 12 °С.

4. Горно-технические и эксплуатационные условия: подземная птицефабрика состоит из двух обособленных участков, в каждом из которых находится по 17 рабочих камер. Длина камеры 72 м, ширина 7,5 м, высота 2,5 м, геометрическая форма сечения - прямоугольная. Расстояние между центрами камер 12 м. Каждая камера отделена от воздухоподающей выработки перемычкой, характеризующейся коэффициентом теплопередачи kпер = 1,4 Вт/(м2×°С). В каждой камере находится 8640 голов птицы, массой - 1,4 кг каждая. Удельные влаговыделения на 1 кг живой массы 0,54×10-6 кг/с. Тепловыделения от осветительных приборов равны 0,5 кВт. Принятый по условиям эксплуатации расход воздуха на каждую камеру равен 3 м3/с. Для уменьшения влаговыделений от пород в период эксплуатации на них наносится пароизоляционное покрытие типа ЛСП-901.

Задачами тепловых расчетов являются:

1. Вычисление длительности предэксплуатационного периода, т.е. периода повышения температуры воздуха в рабочем помещении от 12 до 18 °С (допустимый уровень колебания температуры в камере ограничен 1 °С).

2. Определение необходимой теплопроизводительности брудеров для поддержания в эксплуатационный период в рабочих помещениях нормативных параметров микроклимата.

3. Установление необходимой длины теплоаккумулирующих выработок, обеспечивающей в зимний период подогрев наружного воздуха до температуры 6 °С.

Вычисление длительности предэксплуатационного периода

1. Расчет коэффициента массоотдачи:

Вычисляем эквивалентный диаметр выработок ПС

Определяем барометрическое давление на глубине 200 м

В = 0,1 + 0,001 = 0,101 МПа.

По формуле (8) и (9) при tср = 0,5(17 + 18) = 17,5 °С vв = 14,7×10-6 м2/с, r = 1,2 кг/м3 (см. прил. 3) вычисляем коэффициент диффузии  и коэффициент массопроводности

Вычисляем числа подобия , Re, Gu. Предварительно находим скорость воздуха в камере v и температуру воздуха по мокрому термометру tмок

v = 3/(7,5×2,5) = 0,16 м/с,

tмок при tсух = 17,5 °С и j = 70 % составляет 13,7 °С.

При Re = 40816 в соответствии с данными табл. 1

А¢ = 0,0248 и n¢ = 0,9.

По формуле (19) рассчитываем коэффициент массоотдачи чистой воды bвод

По данным табл. 2, прил. 4 для детритового известняка  Отсюда по формуле (18)

bп = 0,48×8,1×10-3 = 3,89×10-3 кг/(м2×с×МПа).

2. Расчет относительной влажности воздуха в камере в конце предэксплуатационного периода.

По формуле (2) определяются парциальные давления насыщенного пара при средней температуре воздуха плюс 17,5 °С, средней температуре поверхности стен, равной средней температуре воздуха 17,5 °С, и температурах воздуха в начале и конце камеры 18 и 17 °С.

По формуле (5) вычисляем влагосодержание воздуха при tн = 18 °С, jн = 0,65

По зависимости (52) определяем

3. Расчет длительности предэксплуатационного периода.

По формуле (51) определяем величину сэф, принимая n¢апр в интервале температур 17 - 18 °С по данным табл. 1, прил. 6 равным 0,83

сэф = 1006 + 2470×0,83×0,7×0,101/0,101 = 2441 Дж/(кг×°С).

По зависимости (50) вычисляем продолжительность предэксплуатацирнного периода, принимая lп = 0,5(0,8 + 1,3) = 1,05 Вт/(м×°С)

Определение необходимой теплопроизводительности брудеров (нагревательных приборов) и калориферов для поддержания в эксплуатационный период (в расчете на 5 год эксплуатации) в рабочих помещениях нормативных параметров микроклимата

1. Вычисляем величины коэффициентов нестационарного теплообмена.

В соответствии с данными табл. 6 средняя температура воздуха в камере за период эксплуатации составляет

Величину коэффициента теплоотдачи a при малой скорости движения воздуха v < 0,2 м/с выбираем в соответствии с рекомендациями СНиП II-3-79** и принимаем равной 8 Вт/(м2×°С).

По формулам (29) и (30) устанавливаем для анизотропного горного массива величины rэк и kпр:

Определяем величины чисел подобия Bi и Fo.

 

Коэффициент нестационарного теплообмена на 5-й год эксплуатации ПС для выработки кругового сечения рассчитываем по формуле (24)

2. Вычисляем поправку к коэффициенту нестационарного теплообмена, учитывающую отклонение реальной геометрической формы ПС от круговой.

По формуле (28)

Величину bt рассчитываем по формуле (27) при М и Nd, равных

Определяем поправку к коэффициенту нестационарного теплообмена на тепловое взаимодействие выработок ПС сt. Расчет произведем для условий камеры, расположенной в конце участка, состоящего из 17 выработок.

Радиус теплового влияния выработки составляет

Rt = rэкd = 3,1×12,2 = 37,4 м.

Таким образом на рассматриваемую выработку оказывают влияние две соседние камеры, отстоящие соответственно на hвыр 12 и 24 м.

По формуле (32) при t1 = tj и  имеем:

 (см. рис., прил. 5);

3. Результирующее значение коэффициента нестационарного теплообмена определяем как

kåt = 0,187×0,97×0,76×0,997 = 0,137 Вт/(м2×°С).

4. Расчет коэффициентов нестационарного теплообмена в периоды выращивания цыплят-бройлеров осуществляем по формуле (38).

Для первого периода длительностью t1 = 168 ч.

где  рассчитывается по формуле (23) при Bi = 23,3

Bi = 23,675.

Fo = 0,031; z = 4,17; f(4,17) = 0,869 (по данным табл. 3)

тогда

Температура поверхности горных пород при этом будет равна (формула (44)).

Для второго периода, длительностью t2 = 504 ч

 и , вычисленные по формуле (23), составляют 0,68 и 0,76 Вт/(м2×°С).

Для третьего периода, длительностью t3 = 1008 ч.

Величины ,  и  соответственно равны 0,47; 0,49; 0,58 Вт/(м2×°С).

(12 - 20) = 19,9 °С.

Для четвертого периода длительностью t4 = 1512 ч

Величины     соответственно равны 0,37; 0,39; 0,41; 0,49 Вт/(м2×°С).

5. Определяем величины влажностей воздуха в рабочих помещениях в периоды выращивания цыплят-бройлеров.

Величину коэффициента массоотдачи с поверхности пород с пароизоляционным покрытием ЛСП-901 в соответствии с п. 5.2 выбираем равным bt = 0,17 ´ 10-3 кг/(м2×с×МПа).

Парциальные давления насыщенного пара при температурах 28; 26,7; 22; 21,8; 20; 19,9; 19; 18,9 °С, вычисленные по формуле (2) соответственно равны 3,78×10-3; 3,5×10-3; 2,64×10-3; 2,61×10-3; 2,34×10-3; 2,33×10-3; 2,2×10-3; 2,08×10-3 МПа.

Влагосодержание воздуха хн при температурах 28; 22; 20 °С (влажность 65 %) и температуре 19 °С; (влажность 60 %) равны 1,31×10-2; 1,05×10-2; 1,05×10-2; 9,36×10-2; 8,12×10-3 кг/кг.

Средняя и конечная влажности воздуха в рабочем помещении в первый период рассчитываются по формулам (56), (57):

jк = 2jср - jн = 1,38 - 0,65 = 0,73.

Для второго периода

jк = 2×0,7 - 0,65 = 0,75.

Для третьего периода

jк = 2×0,71 - 0,65 = 0,77.

Для четвертого периода

jк = 2×0,67 - 0,6 = 0,73.

6. Вычисляем необходимые теплопроизводительности нагревательных приборов Qоб, устанавливаемых в рабочих помещениях (камерах), и калориферов Qкал, используемых для подогрева воздуха на входе в выработки.

Формула (61) при tк = tн и Qабс = -Qэл + Qпор (Qэл = 500 Вт) принимает вид

Qоб = -Qэл + Qпер - ktUвырle - tj).

Величину Qкал определим по формуле (54) при  где

Для первого периода:

Qкал = 3,6×1005(22 - 8) = 72360 Вт;

Qпер = 7,5×2,5×1,4(28 - 8) = 525 Вт (см. формулу 60);

Qоб = -500 + 525- 0,635×1440(12 - 28) = 14655 Вт;

åQ = 72,4 + 14,7 = 87,1 кВт.

Для второго периода:

Qкал = 3,6×1005(22 - 8) = 50662 Вт; кап

Qпер = 18,75×1,4(22 - 8) = 368 Вт (см. формулу 60);

Qоб = -500 + 368 - 0,186×1440(12 - 22) = 2546 Вт;

åQ = 50,7 + 2,5 = 53,2 кВт.

Для третьего периода:

Qкал = 3,6×1005(20 - 8) = 43416 Вт;

Qпер = 18,75×1,4(20 - 8) = 315 Вт (см. формулу 60);

Qоб = -500 + 315 - 0,085×1440(12 - 20) = 794 Вт;

åQ = 43,4 + 0,79 = 44,2 кВт.

Для четвертого периода:

Qкал = 3,6×1005(19 - 8) = 39800 Вт;

Qпер = 18,75×1,4(19 - 8) = 289 Вт (см. формулу 60);

Qоб = -500 + 289 - 0,059×1440(12 - 19) = 95 Вт;

åQ = 39,8 + 0,095 = 39,9 кВт.

Максимальные и минимальные затраты энергии на обеспечение заданных параметров микроклимата в 34 рабочих помещениях составят соответственно 2960 и 1360 кВт.

Вычисление длины теплоаккумулирующих выработок для подогрева наружного воздуха в зимний период времени

1. Суммарный расход воздуха для проветривания каждого рабочего участка с учетом вентиляции подсобных помещений равен 80 м3/с. Воздухопадающую выработку выбираем сечением 39 м2, периметром 25,4 м.

2. Рассчитываем коэффициент нестационарного теплообмена.

По формуле (17) определяем коэффициент теплоотдачи

При   eш = 1,5; lв = 0,024 Вт/(м×°С);

По формулам (24), (34) при Bi = 39,3 Bi¢ = 39,7; F0 = 4,6; Pd = 6,8 вычисляем kåt и Dkt

3. По формулам (51), (63), (64) вычисляем величины сэф, Аак, Вак при jср = 0,7 и n¢апр = 0,295

сэф = 1006 + 2470×0,7×0,295 = 1516 Дж/(кг×°С);

4. По формуле (62) определяем величину lак

При расходе воздуха 20 м3/с необходимая длина теплоаккумулирующей выработки снижается до 2260 м.

Тепловой расчет распределительного подземного холодильника вместимостью 10000 т

Исходные данные для теплового расчета

Распределительный подземный холодильник вместимостью 10000 т располагается в известняке. Горные породы, окружающие выработки, характеризуются следующими свойствами: плотность 2600 кг/м3, весовая влажность 7 %, коэффициент теплопроводности 1,43 Вт/(м×°С), коэффициент температуропроводности 6,33×10-7 м2/с, удельная теплоемкость 871 Дж/(кг×°С). Естественная температура горных пород - плюс 8 °С (при расчетах приняты теплофизические свойства талых и мерзлых пород одинаковыми).

Геометрические параметры горных выработок следующие: высота камер 5 м, длина 15 м, ширина 7 м, сечение камер имеет прямоугольную форму. Ширина целика между камерами составляет 10 м. Расходы холода на термическую обработку продуктов по камерам с температурами 0 - 10 °С, -20 °С, -30 °С составляют Qтехн = 165 кВт.

Задачами тепловых расчетов являются:

1. Вычисление расхода холода для поддержания в эксплуатационный период в производственных помещениях холодильника температур 0 °С, -10 °С, -20 °С и -30 °С.

2. Определение длительностей предэксплуатационных периодов формирования заданных температурных режимов в производственных помещениях.

Вычисление расхода холода для поддержания в эксплуатационный период в производственных помещениях холодильника температур 0 °С, -10 °С, -20 °С и -30 °С

1. По формуле (60) определяем потери холода через перемычки Qпер.

Принимаем коэффициент теплоотдачи в соответствии с данными СНиП II-3-79** равным 6 Вт/(м2×°С). При bпер = 0,25 м; lпер = 0,8 Вт/(м×°С); dиз = 0,1 м; lиз = 0,07 Вт/(м×°С) коэффициент теплопередачи, вычисленный по формуле (48), равен:

При температуре воздуха в грузовом коридоре плюс 8 °С потери холода через перемычки равны:

для камер с tк = 0 °С (3 камеры)

Qпер = 0,48×3×2×7×7(8 + 0) = 806 Вт;

для камеры с tк = -10 °С (1-я камера)

Qпер = 0,48×2×5×7(8 + 10) = 605 Вт;

d = 1,68×F(0,8) = 1,68×4,7 = 7,9; Rt = 7,9×3,82 = 30,2 м;

для камер с tк = - 20 °С

kт = 0,4; К0 = 1,35; kа = ke = 1; kb = 0,5; erf(0,5) = 0,52;  x = 2,2; d = 7,7; Rt = 29 м;

для камеры с tк = -30 °С

kт = 0,27; К0 = 0,9; kа = ke = 1; kb = 0,648; erf(0,648) = 0,64;  x = 2,52; d = 6,8; Rt = 26 м;

для камеры с tк = 0 °С

kагр = 1, а d рассчитываем по формуле (28)

 Rt = 8,4×3,82 = 32 м.

2. По формуле (24) вычисляем коэффициент нестационарного теплообмена

3. По формуле (32) определяем поправки к коэффициенту нестационарно теплообмена, учитывающие тепловое взаимодействие камер.

Для камер с tк = -20 °С Rt = 29 м. Поэтому в тепловое взаимодействие будет вовлечено две соседние камеры, так как hвыр = 10 + 7 = 17 м. По формуле (32) при t1 = tj и  получим

для камер с tк = -20 °С (9 камер)

Qпер = 0,48×9×2×5×7(8 + 20) = 8470 Вт;

для камеры с tк = -30 °С (1 камера)

Qпер = 0,48×2×5×7(8 + 30) = 1280 Вт;

åQпер = 11,2 кВт.

4. Вычисляем коэффициенты интенсификации теплообмена при агрегатных переходах kагр и радиус теплового влияния каждой камеры на 2-й год эксплуатации.

Определяем эквивалентный радиус каждой камеры rэк и числа подобия Bi и F0.

Величины kагр, x, d определяем по формулам (39) - (43).

Для камеры с tк = -10 °С

erf(0,32) = 0,35;

 (см. прил. 5).

Для камеры с tк = -30 °C. Камера попадает в зону теплового влияния выработок с tк = -10 °C (Rt = 30,2 м) и tк = -20 °C (Rt = 29 м).

По формуле (32) при  получим:

.

Для камеры с tк = -10 °С. Камера попадает в зону влияния выработки с tк = -30 °С

Для камеры tк = 0 °С. Камера попадает в зону влияния выработок с tк = -20 °С и tк = 0 °C (Rt = 32 м)

5. Вычисляем величины коэффициентов нестационарного теплообмена с учетом теплового взаимодействия выработок.

Для камер с tк = -20 °С.

kt = 0,265×0,87×0,87 = 0,2 Вт/(м2×°С).

Для камеры с tк = -30 °C

kt = 0,265×0,94×0,9 = 0,224 Вт/(м2×°С).

Для камеры с tк = -10 °С

kt = 0,265×0,65 = 0,172 Вт/(м2×°С).

Для камеры с tк = 0 °C

kt = 0,265×0,545×0,89 = 0,128 Вт/(м2×°С).

6. Определяем по формуле (85) потери холода при теплообмене с окружающими рабочие помещения горными породами.

Поверхность рабочих помещений составляет:

Fвыр = 15×2(5 + 7) = 360 м2.

Для рабочих помещений с tк = -20 °С (9 камер)

Qп = 1,2×0,2×360(8 + 20)9 = 21,8 кВт.

Для рабочих помещений с tк = -10 °С (1 камера)

Qп = 1,32×0,172×360(8 + 10) = 1,48 кВт.

Для рабочих помещений с tк = 0 °C (3 камеры)

Qп = 1,28×360(8 + 10)3 = 1,1 кВт.

Для рабочих помещений с tк = -30 °С (1 камера)

Qп = 1,13×0,224×360(8 + 30) = 3,46 кВт;

åQп = 27,8 кВт.

7. Рассчитываем потери холода при теплообмене с воздушной средой в грузовых коридорах (3 коридора, t = +8 °С). Принимаем среднюю температуру пород, окружающих грузовые коридоры -15 °С; сечение грузовых коридоров - 20 м2, периметр - 18 м, длину - 100 м.

Величины kt и  вычисленные по формулам (24), (41) при Bi = 12 и Fo = 4,86 составляют 0,3 Вт/(м2×°С) и 1,25.

Q¢п = 1,25×0,3×100×18(8 + 15)3 = 46,6 кВт.

8. Общий расход холода на теплообмен с окружающей средой и технологические нужды вычисляем по формулам (83)

Qоб = 11,2 + 27,8 + 46,6 + 165 = 250,6 кВт.

Определение длительности предэксплуатационных периодов формирования заданных температурных режимов в производственных помещениях

Для поддержания в рабочих помещениях заданного температурного режима принимаем систему с непосредственным охлаждением на основе фреона-22. Тогда формула (82), связывающая холодопроизводительность оборудования, установленного в камерах, с плотностью теплового потока при Dtк = 10 °С, mх = 0,045, Fвыр = 360 м2 принимает вид:

Для рабочего помещения с tк = -20 °С Qоб составляет

Qоб = Qпер + Qп + Qтехн + Q¢п = 0,94 + 2,42 + 18,3 + 3,3 = 25 кВт.

Тогда

По формуле (80) при b/bцел = 0,7 и tк = -20 °С (см. табл. 4); kд = 1,2; вычисляем tп.эк

Для рабочего помещения с tк = -30 °С

Qоб = 1,28 + 3,46 + 18,3 + 3,3 = 26,3 кВт;

По формуле (80) при b/bцел = 0,7 и tк = -30 °С, kд = 1,28

Для рабочего помещения с tк = -10 °С

Qоб = 0,605 + 1,48 + 18,3 + 3,3 = 23,7 кВт;

Для рабочего помещения с tк = 0 °C

Qоб = 0,27 + 0,37 + 18,3 + 3,3 = 22,2 кВт;

Определяем по формуле (79) величину qисп. Используем для вычисления Рнас, S,  bп формулы (2), (6), (9), (20). При этом примем значение влажности воздуха в камере jк = 0,9, a tср = 0,5(8 + 0) = 4 °С.

S = (2500 - 2,38×4)103 = 2,49×106 Дж/кг;

qисп = 2,49×106×4,1×10-2×8,13×10-4(1 - 0,9) = 8,31 Вт/м2.

По формуле (78) вычисляем tп.эк:

ПРИЛОЖЕНИЕ 1

Параметры воздуха в складских и автотранспортных объектах

Объекты

Параметры воздушной среды

температура t0, °С

относительная влажность воздуха j0, %

скорость движения воздуха v0, м/с

Зернохранилища и хранилища муки (крупы) в таре

10 - 12

65 - 70

До 0,3

Склады оборудования и другие склады общего назначения

5 - 20

До 70

+

Склады цветных и черных металлов

Не регламентируется

До 80

+

Склады бумажной продукции

До 25

До 75

+

Хранилища сухих марочных вин

10 - 12

85 - 90

До 0,3

Хранилища крепких и десертных марочных вин

13 - 15

85 - 90

До 0,3

Помещения для выдержки шампанских вин (в бутылках)

10 - 15

Не регламентируются

Хранилища мокросоленого кожевенного сырья

До 18

70 - 80

До 0,3

Хранилища пресно-сухого кожевенного сырья

До 18

65 - 70

До 0,3

Хранилища хлопка-волокна и шерсти

+

До 70 (до 90 - кратковременно)

+

Продуктовые склады

До 20

70 - 80

До 0,3

Грибницы

12 - 14

85 - 90

+

Книгохранилища

16 - 20

50 - 60

+

Помещения для стоянки автомобилей

Ниже 5

До 75

+

Холодильники

+

+

+

Примечание. Знаком «плюс» показаны случаи, когда параметры принимаются в соответствии с нормами для наземных объектов.

ПРИЛОЖЕНИЕ 2

Тепло- и влагофизические характеристики горных пород

Таблица 1

Теплофизические характеристики горных пород

Наименование породы

Плотность r, кг/м3

Удельная теплоемкость сп, кДж/(кг×с)

Коэффициент теплопроводности lп×103 кВт/(м×с)

Коэффициент температуропроводности ап×107, м2

Базальт

2300

0.921

3,50

1,35

Гранит

2720

0,917

2,21

8,84

Доломит

2675

0,929

1,73

6,96

Известняк

2000

0,920

1,16

6,31

"

2600

0,871

1,43

6,33

Ракушечник

1400

0,921

0,86

6,66

Песчаник

2380

0,791

2,64

14,03

"

2590

0,988

1,05

4,10

"

2900

0,749

2,02

9,30

Мергель

2130

1,570

1,93

5,82

Мел

2020

1,965

1,80

4,56

Серный колчедан

4600

0,860

4,20

10,30

Сланец

2690

0,992

2,22

8,31

"

2330

0,913

1,88

8,83

Сланец глинистый

2770

0,319

1,88

8,30

"

2430

0,992

0,93

3,86

Сланец песчаный

2740

0,849

1,89

8,14

Уголь

1340

0,971

0,22

1,69

Таблица 2

Теплофизические характеристики некоторых типов горных пород в талом и мерзлом состояниях

Порода

Влажность wn, %

Плотность rп, кг/м3

Удельная теплоемкость сп, кДж/(кг×с)

Коэффициент теплопроводности lп×103, кВт/(м×с)

Коэффициент температуропроводности ап×107, м2

Песок

5

1200

1,0/0,92

0,47/0,6

3,9/5,6

10

1200

1,13/0,92

0,72/0,92

5,3/8,1

5

1400

1,0/0,88

0,66/0,8

4,7/6,4

10

1400

1,1/0,92

1,0/1,95

6,7/9,2

15

1400

1,21/1,0

1,16/1,57

6,9/10,6

15

1600

1,21/1,1

1,45/1,86

7,5/11,9

15

1800

1,21/0,96

1,8/2,2

8,3/12,5

15

2000

1,21/0,96

2,2/2,56

8,3/13,1

Супесь

10

1200

1,13/0,92

0,44/0,52

3,3/4,7

10

1400

1,1/0,92

0,84/0,8

3,9/6,1

15

1600

1,21/0,96

1,1/1,28

5,6/8,3

15

1800

1.21/0,96

1,38/1,52

6,4/8,6

15

2000

1,21/0,96

1,63/1,74

6,7/8,9

Суглинки и глины

10

1400

1,10/0,92

0,51/0,79

3,3/6,1

15

1400

1,21/1,00

0,65/0,98

3,9/6,9

20

1400

1,34/1,05

0,76/1,09

4,2/7,5

20

1600

1,34/1,05

1,02/1,30

4,7/7,8

20

1800

1,34/1,05

1,10/1,40

4,7/8,1

20

2000

1,34/1,05

1,44/1,70

5,6/8,6

Уголь

3

1400

1,05

0,29/0,3

1,9/1,9

10

1450

1,26/1,13

0,3/0,41

1,9/2,5

Песчаник

3

2500

0,84/0,84

2,6/2,6

12,2/12,2

6

2500

0,92/0,88

2.7/2,8

11,7/12,8

Глинистый и песчаный и сланцы

2

2500

0,84

1,7/1,7

8,3/8,3

6

2500

0,92

1,86/1,98

8,1/8,6

 

 

 

 

 

Значения коэффициента диффузии некоторых типов горных пород в зависимости от температуры и влажности

а - детритовый известняк; б - крупноолитовый известняк; в - плотный известняк; г - мелкоолитовый известняк; д - кристаллический известняк; е - туф; ж - уплотненный известняк

ПРИЛОЖЕНИЕ 3

Термодинамические свойства воздуха

Термодинамические свойства воздуха при давлении 0,101 МПа

Таблица

t, °С

Теплофизические свойства сухого воздуха

Рнас, МПа

kнac, кг/м3

rв, кг/м3

cв, кДж/ (кг×°С)

lв, Вт/(м×°С)

ав×106, м2

vв×106, м2

-20

1,396

1,009

2,28

16,2

12,79

1,23

1,1

-18

1,385

1,009

2,3

16,4

12,72

1,48

1,3

-16

1,374

1,009

2,31

16,7

12,65

1,74

1,5

-14

1,363

1,009

2,33

16,9

12,57

2,06

1,7

-12

1,353

1,009

2,34

17,2

12,5

2,44

2,0

-10

1,342

1,009

2,36

17,4

12,43

2,85

2,3

-8

1,332

1,009

2,38

17,7

12,6

3,265

2,7

-6

1,322

1,008

2,39

18

12,77

3,83

3,1

-4

1,312

1,007

2,41

18,2

12,94

4,48

3,6

-2

1,303

1,006

2,42

18,6

13,11

5,24

4,2

0

1,293

1,005

2,44

18,8

13,28

6,09

4,9

2

1,284

1,005

2,45

19

13,46

7,05

5,6

4

1,275

1,005

2,47

19,3

13,63

8,11

6,4

6

1,265

1,005

2,48

19,5

13,81

9,31

7,3

8

1,256

1,005

2,5

19,8

13,98

10,66

8,3

10

1,248

1,005

2,51

20

14,16

12,25

9,4

12

1,239

1,005

2,53

20,3

14,34

14

10,6

14

1,23

1,005

2,54

20,6

14,52

15,94

12

16

1,222

1,005

2,56

20,8

14,7

18,13

13,6

18

1,213

1,005

2,57

21,1

14,88

20,6

15,3

20

1,205

1,005

2,59

21,4

15,06

23,3

17,2

ПРИЛОЖЕНИЕ 4

Исходные данные для расчета коэффициентов массоотдачи

Коэффициенты массоотдачи с поверхности льда bл и мороженых продуктов bпрод

Поверхность испарения

Коэффициент массоотдачи b×102; кг/(м2×с×МПа)

Мясо, глазированное льдом при температуре - 9 °С

1,29

Мороженое мясо средней упитанности

0,815

Ледяные блоки размером 14 ´ 16 ´ 4 см при температуре -6 … -10 °С,

1,76 - 2,26

То же при температуре -22 - 25 °С,

1,59

Ледяная пластина при температуре -10 °С

2,09

Таблица 2

Величина параметра  при различных температурах для некоторых типов горных пород

Порода

Температура, °С

20

12

8

4

3

1

Крупнообмолочный известняк

0,50

0,76

0,96

1,22

0,98

0,55

Крупноолитовый

0,49

0,75

0,97

1,31

0,96

0,55

Мелкоолитовый

0,39

0,62

0,82

1,21

0,86

0,47

Детритовый

0,42

0,56

0,74

1,06

0,88

0,51

Уплотненный

0,37

0,47

0,57

0,71

0,68

0,6

Плотный

0,56

0,81

0,98

1,29

0,95

0,55

Кристаллический

0,29

0,44

0,55

0,79

0,63

0,35

Среднезернистый песчаник

0,12

0,23

0,33

0,47

0,37

0,2

Мелкозернистый

0,04

0,07

0,12

0,2

0,17

0,09

Арктикский туф

0,42

0,51

0,57

0,75

0,71

0,53

Гипс

-

0,08

0,09

0,13

0,1

0,04

ПРИЛОЖЕНИЕ 5

Значения полного эллиптического интеграла II рода Е (К)

ПРИЛОЖЕНИЕ 6

Значения коэффициентов n¢апр, k¢anp, m¢апр, l¢апр

Значения коэффициента n¢апр для различных диапазонов изменения температуры

Dt, °C

n¢апр

Dt, °C

n¢апр

-40 … -30

0,01

15 - 20

0,83

-30 … 20

0,05

15 - 25

0,95

-20 … 10

0,09

20 - 25

1,10

-10 … 0

0,19

20 - 30

1,32

0 … 10

0,40

25 - 30

1,40

5 … 15

0,53

25 - 35

1,69

10 … 15

0,56

30 - 35

1,37

10 …20

0,72

30 - 40

2,02

Таблица 2

Значения k¢anp, m¢апр, l¢апр для различных диапазонов изменения температуры

Dt, °C

k¢anp

m¢апр

l¢апр

m¢апр

l¢апр

-30… -20

2,892

0,146

0,002

1446

-25-15

3,112

0,166

0,00244

1275

-20 -10

3,496

0,21

0,0037

945

-15 -5

3,688

0,242

0,005

737

-100

3,77

0,269

0,00676

558

-5+5

3,77

0,281

0,00916

412

010

3,77

0,266

0,012

314

515

3,96

0,209

0,0158

251

1020

4,68

0,089

0,0206

227

1525

5,42

-0,114

0,0264

244

2030

9,82

-0,424

0,0334

294

2535

16,6

-0,94

0,0432

384

3040

29,6

-1,76

0,056

529

4050

103,18

-5,44

0,102

1012

5060

335,2

-14,63

0,193

1737

СОДЕРЖАНИЕ

Введение. 1

1. Основные термины и определения. 4

2. Выбор исходных данных для тепловых расчетов подземных сооружений. 4

3. Определение тепло- и влаговыделений от стационарных источников. 8

4. Определение коэффициентов тепло- и массоотдачи. 10

5. Определение коэффициентов нестационарного тепло- и массообмена между воздухом и породами. 10

6. Тепловые расчеты выработок пс при продольной схеме проветривания. 23

7. Тепловые расчеты выработок пс при поперечной и продольно-поперечной схемах проветривания. 26

8. Тепловые расчеты пс при отсутствии специально организованного проветривания и размещении теплотехнического оборудования непосредственно в выработках. 28

9. Расчет полей температур и влагосодержаний в породном массиве, окружающем выработки ПС.. 30

10. Примеры тепловых расчетов выработок ПС.. 37

Приложение 1. Параметры воздуха в складских и автотранспортных объектах. 50

Приложение 2. Тепло- и влагофизические характеристики горных пород. 50

Приложение 3. Термодинамические свойства воздуха. 52

Приложение 4. Исходные данные для расчета коэффициентов массоотдачи. 53

Приложение 5. Значения полного эллиптического интеграла II рода Е (К) 53

Приложение 6. Значения коэффициентов n¢апр, k¢anp, m¢апр, l¢апр 54

 




Rambler's Top100 Яндекс цитирования
  Copyright © 2008-2026, www.docload.ru