Бесплатная библиотека стандартов и нормативов www.docload.ru

Все документы, размещенные на этом сайте, не являются их официальным изданием и предназначены исключительно для ознакомительных целей.
Электронные копии этих документов могут распространяться без всяких ограничений. Вы можете размещать информацию с этого сайта на любом другом сайте.
Это некоммерческий сайт и здесь не продаются документы. Вы можете скачать их абсолютно бесплатно!
Содержимое сайта не нарушает чьих-либо авторских прав! Человек имеет право на информацию!

 

Центральный научно-исследовательский
и проектно-экспериментальный институт
промышленных зданий и сооружений
(ЦНИИпромзданий) Госстроя СССР

Научно-исследовательский институт
строительных конструкций
(НИИСК) Госстроя СССР

СПРАВОЧНОЕ ПОСОБИЕ К СНиП

Серия основана в 1989 году

ПРОЕКТИРОВАНИЕ
ОТКРЫТЫХ КРАНОВЫХ ЭСТАКАД

Москва Стройиздат 1990

Рекомендовано к изданию решением секции несущих конструкций Научно-технического совета ЦНИИпромзданий Госстроя СССР.

Редактор - М.А. Жарикова

Разработано к СНиП 2.09.03-85 «Сооружения промышленных предприятий» (в части разд. 1 «Общие положения» и разд. 13 «Открытые крановые эстакады») на основе опыта проектирования и эксплуатации, а также результатов исследований. Содержит материалы, необходимые для использования типовых конструкций, индивидуального и типового проектирования. Предназначено для проектирования новых и реконструкции эксплуатируемых сооружений складского и производственного назначения.

Для инженерно-технических работников проектных организаций.

ПРЕДИСЛОВИЕ

Крановая эстакада представляет собой инженерное сооружение, состоящее из опор и горизонтального пролетного строения, которое служит несущей конструкцией для мостовых кранов, движущихся на некоторой высоте над поверхностью земли и используемых для перемещения различных материалов или изделий в вертикальном и горизонтальном направлении.

Обычно крановой эстакадой называют открытое (без ограждений) сооружение, опоры которого несут только мостовые краны.

По конструктивной схеме открытые крановые эстакады могут быть: со свободно стоящими колоннами; с колоннами, раскрепленными выше кранового габарита жесткими поперечными конструкциями (они сложнее и дороже эстакад со свободно стоящими колоннами и поэтому находят ограниченное применение).

Открытые крановые эстакады предназначены для использования на погрузочно-разгрузочных работах, в переработке материалов и сырья, а также непосредственно в технологическом процессе производства изделий, деталей, оборудования и т.п., который может выполняться на открытом воздухе и требует использования подъемно-транспортного оборудования. Это определяет межотраслевой характер таких сооружений, но одновременно возникает вопрос о целесообразности замены их напольным подъемно-транспортным оборудованием, прежде всего - козловыми кранами. Такая замена приводит к снижению капитальных затрат на 20 руб/м2 оборудованной кранами площади (несмотря на то, что козловые краны стоят дороже мостовых). Но мостовые краны имеют лучшие эксплуатационные характеристики, допускают поперечный ввод на площадку транспортных коммуникаций, так что пока нет основания ожидать заметного уменьшения объемов применения открытых крановых эстакад.

Известно, что конструкции, несущие мостовые краны, оказываются в ряде случаев недостаточно долговечными (особенно крановые рельсы, их крепления к балкам и подкрановые балки, а также крепления балок к колоннам). Подкрановые конструкции в эстакадах эксплуатируются в худших условиях, чем в зданиях:

они подвержены непосредственным атмосферным воздействиям;

крановая нагрузка для них основная (при относительно малой массе строительных конструкций) и вследствие этого увеличивается эффект ее многократно повторного действия;

отдельно стоящие опоры эстакад гораздо более деформативны, чем колонны зданий, развязанные конструкциями шатра, и поэтому локальная крановая нагрузка меньше перераспределяется между несущими конструкциями;

площадки складов нередко перегружаются, что вызывает значительные деформации грунтов оснований, соответствующие крены фундаментов и изменяет ширину подкранового пути.

Выявлено два основных дефекта эксплуатируемых сооружений.

Прежде всего, это сверхнормативные отклонения крановых путей от проектного положения (в 16 % общего числа обследованных сооружений), обусловленные преимущественно неравномерными деформациями грунтов оснований. В результате значительно возрастают боковые силы при проходе кранов, из-за чего быстро изнашиваются ходовые колеса кранов и рельсы, нарушаются крепления кранового пути и узловые сопряжения несущих конструкций. Проектную ширину колеи восстанавливают обычно путем рихтовки рельсов по балке, что смещает точку приложения вертикальной крановой нагрузки и. приводит к интенсивному разрушению балки. Со временем эти дефекты приводят к накоплению повреждений колонн и связей по ним.

Почти так же часто проявляется значительная деформативность колонн, которая обусловливает повышенные вибрации при проходе крана, что мешает работе крановщиков и ремонтных рабочих, увеличивает динамическое воздействие крана на несущие конструкции. Иногда эти вибрации вызывают и чисто психологический эффект неудовлетворительной работы сооружения. Подтверждены известные данные об излишнем в ряде случаев облегчении колонн, что приводит к уменьшению их поперечной жесткости. Но оказалось также, что чаще имеют место значительные прогибы колонн в направлении перемещения крана из-за неудовлетворительного решения или состояния вертикальных связей. Недостаточная жесткость колонн также приводит к нарушению соединений конструкций, к накоплению повреждений.

При составлении Пособия учтен опыт проектирования, эксплуатации, лабораторных и натурных исследований около 150 эстакад.

Пособие разработано НИИСК (канд. техн. наук Д.А. Коршунов), Киевским Промстройпроектом (инженеры В.Ш. Козлов, Г.А. Либерман и А.Н. Сытник) и Укрниипроектстальконструкцией (инж. Ю.С. Борисенко) под методическим руководством ЦНИИпромзданий, (канд. техн. наук Н.А. Ушаков).

1. ОБЩИЕ ПОЛОЖЕНИЯ

1.1. Открытая крановая эстакада служит для размещения на ней мостовых электрических кранов, используемых для перемещения материалов и изделий.

1.2. В рабочем пространстве эстакады могут быть размещены оборудование и другие устройства, необходимые для обслуживаемых мостовыми кранами процессов.

На площадку эстакады вводят транспортные коммуникации (как правило, железнодорожный путь или автодорога) для подачи в зону действия кранов и вывоза из нее перерабатываемых грузов.

1.3. Возведение открытой крановой эстакады допускается предусматривать в тех случаях, когда технологический процесс не может быть обеспечен с помощью козловых кранов.

1.4. Проектирование открытых крановых эстакад необходимо осуществлять в соответствии с требованиями СНиП 2.09.03-85 и правил Госгортехнадзора.

1.5. Настоящее Пособие рекомендуется использовать при разработке типовых (или для повторного применения) проектов и привязке их к местным условиям строительства либо индивидуальных проектов новых сооружений, а также разработке проектов реконструкции эксплуатируемых сооружений.

1.6. Типовое проектирование открытых крановых эстакад должно выполняться для габаритных схем наиболее массового применения в соответствии с техническим заданием.

1.7. Индивидуальное проектирование открытых крановых эстакад должно выполняться по технологическому заданию, включающему:

наименование объекта, его назначение и привязку на генеральном плане предприятия;

данные инженерно-геологических изысканий с характеристиками грунтов оснований, необходимыми для строительного проектирования;

сведения об обслуживаемом производстве, необходимые для строительного проектирования, в том числе: о перерабатываемых грузах, стационарном технологическом оборудовании, размерах рабочего пространства, нагрузке на пол эстакады, вводах транспортных коммуникаций; о характеристиках мостовых кранов (вид, грузоподъемность, режим работы, пролет, высота подъема груза) и их количестве в каждом пролете эстакады; об агрессивности среды;

сведения о базе стройиндустрии для изготовления элементов сооружения;

прочие сведения, данные и требования.

При соответствующем обосновании в задании может быть предусмотрено перспективное увеличение грузоподъемности кранов, связанное с прогнозируемой модернизацией обслуживаемого производства. При этом подкрановые балки должны быть запроектированы без учета перспективного увеличения грузоподъемности кранов.

1.8. Проект реконструкции (усиления) эксплуатируемого сооружения должен выполняться по техническому заданию, включающему, кроме указанных в п. 1.7, сведения о цели реконструкции и результаты обследования сооружения.

Результаты обследования в общем случае включают:

проект, по которому возведена эстакада. При его отсутствии должны быть составлены исполнительные чертежи;

обмерочные схемы с фиксацией видимых дефектов;

сведения обслуживающего персонала об особенностях эксплуатации эстакады (включая сведения об эксплуатации кранов, если они не подлежат замене).

1.9. Открытая крановая эстакада может быть отдельно стоящей или пристроенной к зданию (сооружению).

В отдельных случаях допускается встроенная эстакада.

1.10. Эстакаду следует располагать, как правило, параллельно разбивочным осям соседних зданий (сооружений) и проездам. При этом разбивочные оси эстакады следует увязывать с унифицированной сеткой колонн зданий.

1.11. В случае, если эстакада проектируется примыкающей к торцу неотапливаемого здания с выходом мостовых кранов из здания на эстакаду, в местах их примыкания следует:

совмещать продольные разбивочные оси колонн эстакады и здания; совмещать фундаменты колонн эстакады и здания, если это допускаете конструктивными решениями.

1.12. При проектировании эстакады, пристраиваемой к продольной стене здания, следует:

прогнозировать возможные крены фундаментов вследствие наложения зон деформаций грунта основания;

не допускать сток воды с крыши здания на подкрановые пути, троллеи и обслуживающие площадки эстакады.

1.13. Эстакаду следует располагать преимущественно на горизонтальной площадке.

При этом должны предусматриваться мероприятия, обеспечивающие отвод атмосферных вод с площадки путем устройства местных уклонов или другим способом.

1.14. При проектировании эстакады необходимо принимать типовые конструкции и детали, обеспечивающие максимальную унификацию конструкций и узлов и минимальное количество их типоразмеров (включая внутриплощадочную унификацию).

Вместе с тем следует учитывать конкретные условия строительства и эксплуатации, а также технико-экономическую целесообразность принимаемых решений.

1.15. Материал конструкций эстакад следует выбирать на основе технико-экономических расчетов.

1.16. При проектировании открытой крановой эстакады должны предусматриваться помещения для защиты работающих от неблагоприятных метеорологических воздействий.

Допускается использовать для этой цели помещения соседних зданий, расположенные на расстоянии не более 300 м от наиболее удаленных рабочих мест. Помещения должны отвечать требованиям СНиП 2.09.04-877

1.17. Бетонные и железобетонные конструкции, подвергающиеся систематическому увлажнению атмосферными осадками, должны иметь на горизонтальных элементах гидроизоляцию и сливы, обеспечивающие свободный сток воды.

1.18. Стальные конструкции должны быть заземлены.

1.19. При наличии химической агрессии проектирование эстакад должно осуществляться с учетом требований СНиП 2.03.11-85.

В зависимости от вида и степени агрессии следует предусматривать:

использование трещиностойких конструкций;

защиту только подземных или надземных конструкций, либо всех конструкций сооружения;

защитные мероприятия путем применения: стойких против коррозии материалов; защитных покрытий; конструктивных решений, допускающих замену отдельных элементов в процессе эксплуатации.

При этом конструктивные элементы должны иметь простые формы, не способствующие задержанию агрессивной среды, а все конструкции и их соединения должны быть доступны для осмотра и ремонта.

1.20. Покрытие площадки эстакады выбирается с учетом технологических требований и условий эксплуатации.

Покрытие следует проектировать в соответствии со СНиП 2.03.13-88.

1.21. Вводы железнодорожных путей на площадку эстакады следует проектировать в соответствии со СНиП 2.05.07-85.

При этом кабина управления крана должна быть установлена так, чтобы из нее обеспечивалась обозреваемость погрузки и разгрузки во всей рабочей зоне, в том числе и на полу полувагона.

1.22. Цветовое решение эстакады следует разрабатывать в соответствии с общим архитектурным решением предприятия.

2. КОНСТРУКТИВНОЕ РЕШЕНИЕ

2.1. При проектировании эстакады должна быть принята конструктивная схема, которая обеспечивает необходимую прочность, устойчивость и пространственную неизменяемость сооружения в целом, а также отдельных его элементов на всех стадиях возведения (монтажа) и эксплуатации.

2.2. Открытую крановую эстакаду следует проектировать со свободно стоящими (в поперечном направлении) рядами колонн.

Такая эстакада включает (рис. 1):

фундаменты;

колонны, жестко соединенные с фундаментами и раскрепленные в пределах температурного блока вертикальными связями;

пролетные конструкции - подкрановые балки (при необходимости с тормозными конструкциями) с закрепленными на них крановыми путями (рельсы, концевые упоры). К балкам крепятся троллеи для электропитания крана;

эксплуатационные устройства - проходы вдоль крановых путей, посадочные площадки, лестницы;

мостовые краны.

2.3. Изменение конструктивной схемы эстакады путем поперечной развязки противостоящих колонн жесткими распорками, располагаемыми выше кранового габарита, допускается:

при проектировании новой эстакады, если ее параметры превышают указанные в п.п. 2.6, 2.7, 2.10 и 2.11;

при проектировании новой эстакады, если нормативная нагрузка на ее пол превышает 200 кПа (20 тс/м2) или если прогнозируются значительные неравномерные поперечные крены фундаментов при других нагрузках;

при реконструкции (усилении) эксплуатируемой эстакады.

При этом должны быть обеспечены габариты кранов относительно выступающих выше крановых рельсов конструкций, установленные стандартами и ТУ на краны.

Такую эстакаду следует проектировать как каркас производственного здания, оснащенного мостовыми кранами.

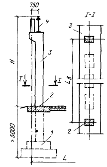
2.4. При использовании фундаментов глубокого заложения (более 5 м) поперечная жесткость сооружения при действии крановой нагрузки может быть повышена путем объединения колонн продольного ряда железобетонной неразрезной балкой в уровне поверхности земли (рис. 2).

Допускается использовать для этого и конструкцию пола (при необходимости - усиленную).

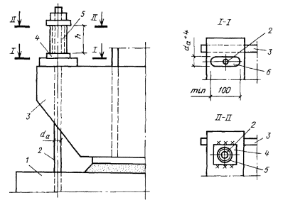
Рис. 1. Конструктивное решение эстакады

1 - фундамент; 2 - колонна; 3 - пролетная конструкция; 4 - мостовой кран; 5 - галерея вдоль кранового пути; 6 - ограждение галереи; 7 - лестница на галерею; 8 - лестница на площадку; 9 - посадочная площадка; 10 - вертикальная связь по колоннам; УГР - уровень головки рельса; ТШ - температурный шов

2.5. Габаритная схема эстакады выбирается в соответствии с технологическим заданием и определяется (см. рис. 1):

характеристиками мостового крана - вид, группа режима работы, грузоподъемность Q и пролет LK. Характеристики кранов приведены в прил. 1;

номинальной высотой эстакады Н, определяемой отметкой головки кранового рельса, которая отсчитывается от головки рельса проходящего по территории эстакады железнодорожного пути, от уровня планировочной отметки или конструкции пола у колонн;

шагом колонн и соответствующим ему номинальным пролетом подкрановых балок LБ;

количеством пролетов;

длиной температурных блоков.

При реконструкции габаритная схема определяется с учетом параметров существующего сооружения.

2.6. Грузоподъемность кранов следует принимать по ГОСТ 1575-87 в соответствии со следующим рядом:

Q = 5, 10, 16, 20, 32 и 50 т,

ограниченным для специальных кранов (магнитные, грейферные, магнитно-грейферные) значением 20 т.

2.7. Пролеты кранов следует принимать по ГОСТ 534-78* в соответствии со следующим рядом:

LK = 16,5; 22,5; 28,5 и 34,5 м.

При этом номинальный пролет эстакады (расстояние между разбивочными осями) следует принимать равным

L = LK + 1,5 м.                                                                  (1)

Рис. 2. Схема конструкции развязки колонн в уровне земли

1 - фундамент глубокого заложения; 2 - железобетонная балка, объединяющая колонны; 3 - колонна; 4 - пролетная конструкция

2.8. При необходимости допускается:

принимать краны большей (или иной) грузоподъемности, чем указано в п. 2.6;

по согласованию с поставщиком использовать краны пролетом 13,5; 19,5 и 31,5 м, если это позволяет сократить приведенные затраты.

Для эстакад с конструктивной схемой по п. 2.3 пролеты кранов должны быть назначены на 0,5 м меньше указанных выше, а номинальный пролет эстакады следует принимать равным

L = L + 2 м.                                                        (2)

Рис. 3. Расчетная схема эстакады

а - при разрезных пролетных конструкциях; б - при неразрезных

2.9. Привязка колонн к продольным разбивочным осям эстакады выполняется:

крайних рядов - из условия симметричного опирания подкрановой балки на колонну;

средних рядов многопролетных эстакад - по геометрической оси колонны.

2.10. Номинальную высоту эстакады следует принимать по ГОСТ 23837-79 по отметке головки кранового рельса в одноэтажных производственных зданиях, оснащенных мостовыми кранами минимальной грузоподъемности.

С целью унификации длины колонн отметку подкрановой консоли рекомендуется назначать одинаковой независимо от высоты подкрановой балки, преимущественно из ряда:

6,3; 8,1 и 10,5 м.

При проектировании эстакады по п. 1.11 отметка подкрановой консоли должна назначаться из условия устройства кранового пути эстакады и здания в одном уровне.

2.11. Шаг колонны эстакады следует принимать равным 12 м. Допускается при необходимости назначать другой шаг колонн, кратный 6 м.

2.12. Эстакада может быть запроектирована однопролетной или многопролетной.

В многопролетном сооружении допускается использовать не более двух различных размеров пролетов, а номинальная высота должна быть одинаковой.

2.13. При достаточно большой длине сооружения надземные конструкции разделяются температурными швами, расстояние между которыми следует назначать, исходя из следующих соображений:

температурные блоки должны иметь одинаковую длину (или с разницей в один шаг колонн, если число шагов колонн не кратно числу температурных блоков);

усилия, вызываемые температурными деформациями пролетных конструкций, не должны вызывать чрезмерного утяжеления колонн и фундаментов.

2.14. При расчетном перепаде температур не более 40 °С расстояние между температурными швами рекомендуется назначать равным:

при железобетонных колоннах - 60 м (в этом случае требуется специальный расчет на температурные деформации);

при стальных колоннах - 132 м (без выполнения дополнительных расчетов).

2.15. Расчетную схему открытой крановой эстакады следует принимать в виде отдельно стоящих продольных рядов колонн, жестко соединенных с фундаментами в уровне их обреза и шарнирно соединенных в пределах температурного блока с пролетными конструкциями и вертикальными связями (рис. 3).

Связь противостоящих рядов несущих конструкций мостом крана расчетом не учитывают.

2.16. При использовании неразрезных пролетных конструкций их следует рассматривать как многопролетную балку на упруго оседающих опорах.

Осадка опор определяется деформациями колонн и грунтов оснований и оценивается коэффициентом упругой податливости системы

С = m ЕJ D / L3б,                                                         (3)

где т - коэффициент, равный 1 для балки и 0,9 для фермы;

EJ - изгибная жесткость пролетной конструкции в вертикальной или горизонтальной плоскости;

D - перемещение опоры от вертикальной единичной силы, приложенной на уровне головки рельса, с учетом деформации колонны и осадки фундамента;

Lб - пролет балки.

2.17. Для расчета неразрезных балок в вертикальной плоскости при C < 0,006 податливостью опор можно пренебречь, при 0,006 £ C £ 0,05 балки следует рассчитывать с учетом податливости опор, а при C > 0,05 использование таких балок не допускается.

При расчете тормозных конструкций в горизонтальной плоскости податливостью опор можно пренебречь при C £ 0,008.

2.18. Конструкции и основание эстакады должны быть рассчитаны по первой и второй группам предельных состояний.

Размеры конструкций следует назначать из расчета на прочность и проверять на устойчивость и выносливость, деформативность, а также образование и раскрытие трещин (для железобетона).

Увеличение размеров конструкций и их элементов из условий ограничения их прогибов требует соответствующего обоснования.

2.19. Расчет и проектирование конструкций необходимо выполнять в соответствии с требованиями: железобетонных - СНиП 2.03.01-84, стальных - СНиП II-23-81*.

При использовании железобетонных конструкций в условиях систематического воздействия технологических температур выше 50 °C необходимо соблюдать требования СНиП 2.03.04-84.

3. НАГРУЗКИ И ВОЗДЕЙСТВИЯ

3.1. Конструкции открытой крановой эстакады должны быть рассчитаны на постоянную и временную нагрузку, а также (при необходимости) на особые воздействия.

Следует учитывать, что временная (главным образом - крановая) нагрузка обусловливает значительную часть усилий во всех основных конструкциях сооружения и давления в основании под ним.

3.2. Нагрузки и воздействия необходимо принимать по СНиП 2.01.07-85.

3.3. Постоянная нагрузка на несущие конструкции эстакады включает только их собственную массу.

Для оснований под фундаментами эстакады в число постоянных необходимо также включать нагрузки от:

а) грунта;

б) постоянно установленного на площадке эстакады оборудования;

в) зданий и сооружений, расположенных за пределами эстакады, если они влияют на деформации основания под ее фундаментами.

3.4. К длительным нагрузкам относят:

а) нагрузки от массы материалов, деталей и оборудования (кроме учтенного по п. 3.3 б), расположенных по полу эстакады в зоне действия мостовых кранов;

б) воздействия усадки и ползучести бетона железобетонных подкрановых балок.

По указанию соответствующих нормативных документов к длительным относятся также части нагрузки от одного мостового крана и температурных климатических воздействий.

3.5. К кратковременным нагрузкам относят:

нагрузки от мостовых кранов, определяемые по прил. 1;

нагрузку от массы людей, деталей и ремонтных материалов на проходах вдоль путей, нормативное значение которой принимается равным 2 кПа (0,2 тс/м2). Эта нагрузка учитывается без снеговой;

ветровую нагрузку на несущие конструкции и мостовые краны, которую нужно принимать по прил. 1;

температурные климатические воздействия - как для открытых сооружений.

3.6. К особым нагрузкам относят сейсмические воздействия.

Расчет прочности конструкций на усилия от воздействия оседания основания при использовании разрезных подкрановых балок не выполняется.

Расчетные сочетания

3.7. Расчет конструкций и оснований должен выполняться на расчетные нагрузки с учетом коэффициентов надежности по нагрузке (для крановых нагрузок - также динамичности), установленных СНиП 2.01.07-85.

3.8. Расчет эстакады выполняется на основное сочетание, включающее постоянные, длительные и кратковременные нагрузки. При этом учитываются коэффициенты сочетания:

для длительных нагрузок                                y1 = 0,95;

для кратковременных нагрузок                     y2 = 0,9.

При учете трех и более кратковременных нагрузок этот коэффициент сочетания следует принимать равным: для крановой нагрузки - 1; для второй (по степени влияния) - 0,8; для остальных - 0,6.

Если сочетание включает постоянные и одну временную (длительную или кратковременную) нагрузку, то коэффициенты сочетания не вводятся.

3.9. За одну кратковременную нагрузку принимают нагрузку одного рода (по п. 3.5).

За одну крановую нагрузку принимают вертикальную и горизонтальную (поперечную или продольную) нагрузку кранов, установленных на эстакаде, но не более двух для крайнего и четырех для среднего ряда опор. Эти нагрузки умножают на коэффициенты, принимаемые по табл. 1.

3.10. В необходимых случаях должна быть выполнена проверка конструкций эстакады на особое сочетание, включающее постоянные (от массы несущих конструкций), кратковременную (от мостовых кранов) и сейсмическую нагрузку.

3.11. В соответствии с СНиП 2.01.07-85 значения расчетных нагрузок (усилий), соответствующих указанным в п.п. 3.8 и 3.10 сочетаниям, следует умножать на коэффициент надежности по назначению gп = 0,95.

Таблица 1

Количество кранов, учитываемое расчетом

Значение коэффициента сочетаний y для кранов группы режима работы

2К - 5К

6К - 8К

1

1

1

2

0,85

0,95

4

0,7

0,8

При реконструкции эстакад, обслуживающих непроизводственные склады, допускается принимать gп = 0,9.

Расчет на сейсмическое воздействие

3.12. Расчет конструкций эстакад с учетом действия сейсмических сил должен выполняться в соответствии с требованиями СНиП II-7-81. При этом рекомендуется упрощать расчет путем исключения покрытия.

3.13. В связи с тем, что масса несущих конструкций и кранов относительно невелика, эстакады мало чувствительны к сейсмическим воздействиям и усиление их конструкций для районов с сейсмичностью 7 и 8 баллов обычно не требуется.

3.14. При расчете в поперечном направлении значение горизонтального смещения от единичной силы вычисляется по схеме свободно стоящей стойки, защемленной в фундаменте.

Для двухветвевой колонны горизонтальное смещение определяется как для свободно стоящей однопролетной многоэтажной рамы. Изменение прогиба по высоте конструкции рекомендуется принимать линейным.

3.15. При расчете в продольном направлении значение горизонтального смещения от единичной силы вычисляется для системы, состоящей из двух колонн, соединенных стальными вертикальными связями. Жесткость каждой колонны в этом случае принимается равной полусумме жесткостей всех колонн, входящих в состав продольной рамы.

3.16. При определении расчетных усилий в конструкциях учитываются колебания только первого (основного) тона.

4. ОСНОВАНИЯ И ФУНДАМЕНТЫ

4.1. Неравномерные деформации оснований под фундаментами эстакады могут вызываться:

изменением размеров пустот (горные выработки, карсты и т.п.) в грунтовом массиве под сооружением;

изменением физико-механических характеристик грунта основания;

неравномерным загружением основания.

4.2. Для предотвращения возможности или ликвидации последствий значительных перемещений несущих конструкций эстакады, которые могут привести к нарушению нормальных условий ее эксплуатации, могут быть использованы следующие мероприятия:

изменение размеров фундаментов;

изменение физико-механических характеристик грунтов естественного основания по СНиП 2.02.01-83, СНиП II-8-78 и СНиП 2.02.04-88;

использование свайных фундаментов по СНиП 2.02.03-85 и ограждений;

применение конструкций и узлов, допускающих восстановление проектного положения каркаса (см. п.п. 4.10, 4.11);

изменение конструктивной схемы сооружения путем поперечной развязки колонн выше кранового габарита (см. п. 2.3);

ограничение площади складирования грузов.

4.3. Выбор необходимых мероприятий производится на основе подробного изучения местных условий, результатов соответствующих расчетов, а также технико-экономического обоснования.

4.4. Для эстакад, обслуживающих непрерывные производственные процессы, следует обеспечивать бесперебойную эксплуатацию даже за счет увеличения затрат на возведение сооружения.

В тех случаях, когда временное прекращение работы крана на некоторых участках эстакады допустимо с точки зрения эксплуатации (например, складские, ремонтно-механические сооружения и т.п.), рекомендуется предусматривать возможность восстановления проектного положения несущих конструкций, если оно будет нарушено.

4.5. Использование фундаментов с разной площадью подошвы рекомендуется для выравнивания осадок и кренов фундаментов при неравномерной деформативности грунтов в пределах площадки сооружения.

4.6. Поверхностное уплотнение рекомендуется при слое уплотняемого грунта до 2,5 м.

4.7. Глубинное уплотнение и искусственное закрепление грунтов либо устройство свайных фундаментов рекомендуется при значительной (более 4 м) толще грунта основания с неблагоприятными свойствами.

4.8. Ограждение фундамента стеной в грунте или шпунтовым рядом на всю глубину сжимаемой толщи используется при значительных деформациях основания от нагрузок или сооружений, расположенных за пределами фундаментов эстакады.

4.9. В том случае, когда неравномерные деформации оснований предотвращены, надземные конструкции решаются так же, как в обычных грунтовых условиях.

4.10. Если ожидаемые перемещения крановых путей вследствие неравномерных деформаций основания не превышают 50 мм по горизонтали (на каждом ряду колонн) и 200 мм по вертикали, то крепление подкрановых балок к колоннам следует проектировать таким образом, чтобы можно было осуществить соответствующую рихтовку балок.

4.11. При ожидаемых перемещениях крановых путей, превышающих указанные в п. 4.10, крепление колонн к фундаментам следует проектировать таким образом, чтобы можно было осуществить соответствующую рихтовку колонн. Одновременно предусматривается крепление балок по п. 4.10.

4.12. Выбор типа основания производится с учетом местных условий, назначения сооружения и технико-экономических соображений.

4.13. Основание надлежит проектировать в соответствии со СНиП 2.02.01-83.

Расчет производится по второй группе предельных состояний (по деформациям) с целью определить:

размеры подошвы фундаментов;

ожидаемые деформации оснований для прогнозирования возможных отклонений несущих конструкций от проектного положения.

В случаях, установленных нормами проектирования, расчет должен быть выполнен также по первой группе предельных состояний (по несущей способности).

Если основание эстакады сложено скальными грунтами, то расчет выполняется только по первой группе предельных состояний.

4.14. Размеры подошвы фундамента необходимо определять расчетом на две комбинации нагрузок, которые создают в уровне подошвы:

максимальную вертикальную силу с соответствующими максимальными изгибающими моментами;

максимальные изгибающие моменты с соответствующей максимальной вертикальной силой.

Допускается выполнять расчет на основное сочетание, включающее постоянные и крановые нагрузки, и использовать линейное распределение контактных давлений.

При этом должны соблюдаться следующие условия:

pтt £ R,                                                                    (4)

pтax £ 1,2R,                                                              (5)

pтin ³ 0,25 pтax.                                                       (6)

где р - давление под подошвой фундамента;

mt - среднее;

max - наибольшее краевое;

min - наименьшее краевое;

R - расчетное сопротивление грунта.

Для эстакад, оснащенных кранами общего назначения группы режима работы не более 5К, грузоподъемностью не более 16 т при R не менее 150 кПа (15 тс/м2) взамен условия (6) допускается использовать условие:

pтin ³ 0.                                                                   (7)

4.15. Проверка деформаций основания производится в следующих случаях:

а) если не выполняются условия, при которых согласно СНиП 2.02.01-83 расчет по деформациям считается удовлетворенным при определении размеров подошвы фундамента по п. 4.14. В этом случае деформации основания от суммарного действия постоянной и крановой нагрузок не должны вызывать вертикальные осадки фундаментов, обусловливающие уклоны крановых путей больше, чем 0,004 вдоль пути и 0,003 поперек пролета;

б) если нагрузка на пол эстакады от массы складируемых или перерабатываемых материалов, изделий и т.п. составляет более 50 кПа (5 тс/м2) или вблизи эстакады расположены здания или сооружения, зона деформируемого грунта под фундаментами которых накладывается на такую зону под фундаментами эстакады. В этом случае деформации основания не должны вызывать разность отметок головок крановых рельсов на соседних колоннах (вдоль или поперек пролета) большую, чем 20 мм и изменение расстояния между крановыми рельсами больше, чем на 10 мм.

4.16. При расчете по п. 4.15а рекомендуется учитывать дополнительные осадки фундаментов от многократного воздействия крановых нагрузок в соответствии с прил. 2 в случаях:

значительного различия грунтовых условий на площадке эстакады;

существенно неравномерной работы кранов по длине эстакады;

отличия грузоподъемности и режима работы кранов в соседних пролетах эстакады.

4.17. При заглублении подошвы фундаментов более 5 м от уровня пола эстакады в расчете следует учитывать отпор грунта, действующий на боковую поверхность фундамента.

4.18. При необходимости улучшения поверхностного слоя грунтового основания под фундаменты и под полы на грунте следует устраивать, как правило, щебеночную подготовку. Применение для этой цепи бетона на портландцементе или шлакопортландцементе не допускается.

Под фундаменты на нескальном основании рекомендуется устраивать бетонную подготовку, выходящую за контур подошвы со всех сторон на 0,1 м, из бетона класса В 3,5 на местном вяжущем материале.

4.19. Фундаменты под колонны следует принимать железобетонными монолитными и проектировать преимущественно прямоугольными в плане с подошвой, развитой в плоскости действия максимальных изгибающих моментов от крановой нагрузки.

4.20. Для обеспечения нормального производства монтажных работ и эксплуатации сооружения обрез фундамента должен находиться:

на 150 мм ниже уровня планировочной отметки или верха пола площадки при железобетонных колоннах;

на 300 мм выше уровня планировочной отметки или верха пола площадки при стальных колоннах.

4.21. Проектирование и расчет монолитных фундаментов следует производить в соответствии с Руководством по проектированию фундаментов на естественном основании под колонны зданий и сооружений промышленных предприятий (М., 1978), а ростверков свайных фундаментов - с Пособием по проектированию железобетонных ростверков свайных фундаментов под колонны зданий и сооружений (М., 1985).

4.22. Фундаменты под лестницы проектируют, исходя из конструктивных соображений.

5. КОЛОННЫ

5.1. Колонны открытых крановых эстакад следует проектировать преимущественно сборными железобетонными. Использование стальных колонн допускается:

для эстакад под краны грузоподъемностью более 32 т, а также высотой более 13 м;

при строительстве в сложных условиях, когда проектом предусмотрена возможность восстановления их проектного положения после неравномерных осадок сооружения (см. п. 4.11);

в других условиях - при соответствующем технико-экономическом обосновании.

5.2. Типы колонн и размеры их сечений должны удовлетворять условиям унификации колонн открытых крановых эстакад с колоннами одноэтажных производственных зданий, и требованиям обеспечения необходимой поперечной жесткости сооружения.

5.3. Расчет колонн на прочность производится при действии нагрузок в комбинациях, создающих в элементах колонны:

максимальные продольные сжимающие усилия с соответствующими наибольшими изгибающими моментами;

максимальные продольные растягивающие усилия с соответствующими наибольшими изгибающими моментами;

максимальные изгибающие моменты с соответствующими наибольшими продольными усилиями.

5.4. Проверка колонн производится:

во всех случаях - по прогибам;

кроме того, для железобетонных колонн - по раскрытию трещин в процессе эксплуатации (в соответствии с требованиями п. 1.16 СНиП 2.03.01-84 как для конструкций 3-й категории трещиностойкости).

Для эстакад под краны группы режима 3К эти проверки могут не выполняться.

5.5. Статический расчет колонн рекомендуется выполнять:

сплошного сечения колонн - по схеме упругого бруса;

двухветвевых железобетонных - как статически неопределимой многоэтажной рамы с учетом перераспределения усилий, вызванного трещинообразованием и развитием неупругих деформаций;

решетчатых стальных - по схеме шарнирно-стержневой системы.

5.6. Прогибы колонн f следует определять методами строительной механики: для железобетонной колонны сплошного прямоугольного сечения

f = H2(Т Н / 3 + Ре / 2) / Eв Jred;                                               (8)

для железобетонной двухветвевой колонны

                                                   (9)

для стальной колонны с раскосной решеткой

,                                                                  (10)

где Н - высота колонны от обреза фундамента до головки кранового рельса;

EвJred - жесткость колонны без трещин при изгибе

Т - усилие поперечного торможения, приходящееся на одну колонну;

P - вертикальная крановая нагрузка на одну колонну;

e - эксцентриситет приложения нагрузки P относительно геометрической оси колонны;

1 / r - кривизна железобетонного элемента от действия крановой нагрузки;

М1, N1 - изгибающие моменты и продольные силы в элементах колонны от единичной нагрузки, приложенной в месте и в направлении определяемого прогиба;

l - длина элемента колонны;

e0 - продольная деформация от действия крановой нагрузки;

N - продольные силы от крановой нагрузки;

Е А - жесткость колонны при действии продольной силы.

Значения 1 / r и e0 следует определять по СНиП 2.03.01-84 с учетом действия постоянных нагрузок.

Влияние трещин при расчете железобетонных двухветвевых колонн может быть учтено в соответствии с прил. 3.

5.7. Прогибы колонн в поперечном направлении должны удовлетворять требованиям соответствующего раздела СНиП 2.01.07-85.

Расчет выполняется на нагрузку одного крана максимальной грузоподъемности из числа установленных в рассматриваемом пролете, соответствующую расчету по второй группе предельных состояний.

Железобетонные колонны

5.8. Колонны крайних рядов эстакад следует проектировать сплошного прямоугольного сечения с обычным или преднапряженным армированием. Они должны быть трещиностойкими.

Колонны средних рядов многопролетных эстакад, а также крайних рядов при невозможности использования колонн сплошного сечения по условиям ограничения прогибов (см. п. 5.6) следует проектировать двухветвевыми с обычным армированием.

Таблица 2

Схема

по рис. 4

Размеры, мм

Количество

i

h

c

d

t

п

m

а

7350

700

-

-

-

-

-

9150

800

-

-

-

-

-

б

9400

-

200

-

-

3

1

11800

-

250

-

-

3

2

в

7600

-

-

1300

От 1150 до 1500*

2

1

9400

-

-

1500

 

4

0

11800

-

-

-

 

4

1

* В зависимости от высоты применяемой подкрановой балки.

5.9. Размеры элементов колонн рекомендуется принимать по рис. 4 и табл. 2, чтобы их можно было изготовлять в опалубке типовых колонн зданий.

Размеры двухветвевой колонны должны быть такими, чтобы при нетрещиностойких ветвях усилие в менее нагруженной ветви от собственной массы, минимального давления одного крана и 90 % усилии его поперечного торможения не было растягивающим.

5.10. Колонны следует проектировать из тяжелого бетона, класс прочности при сжатии которого рекомендуется назначать:

В15 - В25 - для обычно армированных колонн сплошного сечения;

В25 - В30 - для двухветвевых колонн;

В30 - В45 - для преднапряженных колонн сплошного сечения.

Классы бетона по морозостойкости и водонепроницаемости должны назначаться как для сооружений класса II по степени ответственности и как для конструкций, подверженных попеременному замораживанию и оттаиванию в условиях эпизодического водонасыщения.

5.11. Колонны следует армировать стержневой арматурой, назначая рабочую продольную арматуру из стали класса:

не напрягаемую - АIII;

напрягаемую - АIV - АVI (включая термически упрочненную).

Продольную арматуру располагают симметрично относительно оси сечения.

5.12. Колонны должны быть запроектированы с учетом использования стаканного стыка с фундаментом.

Стальные колонны

5.13. Колонны следует проектировать симметричными сквозной конструкции с несущими вертикальными ветвями из широкополочных двутавров, раскрепленных раскосной решеткой.

5.14. В зависимости от высоты эстакады расстояние между ветвями колонн следует принимать по табл. 3.

Высоту сечения траверсы для описания подкрановой балки следует назначать равной 600 - 800 мм.

Рис. 4. Опалубочные размеры железобетонных колонн

а, б - для крайнего ряда; в - для среднего ряда (размеры по табл. 2)

Таблица 3

Номинальная высота эстакады, м

Расстояние между ветвями, м, для колонн ряда

крайнего

среднего

8

1

1,5

10

1; 1,5

1,5; 2

12

1,5; 2

2

5.15. Крепление колонны к фундаменту следует проектировать на удлиненных анкерных болтах с учетом возможности подъема колонны в процессе эксплуатации эстакады не менее чем на 200 мм и горизонтального смещения в поперечном направлении не менее чем на 100 мм (рис. 5).

Рис. 5. Деталь крепления к фундаменту стальной колонны, допускающего ее рихтовку:

1 - фундамент; 2 - анкерный болт; 3 - башмак колонны; 4 - прокладка; 5 - отрезок стальной трубы; 6 - овальное отверстие; h - по прогнозируемой осадке, но не менее 100 мм

В ветвях колонны следует предусматривать отверстия для крепления инвентарной траверсы, используемой в случае необходимости поддомкрачивания.

Вертикальные связи

5.16. Для обеспечения устойчивости сооружения и восприятия горизонтальных усилий в продольном направлении в пределах температурного блока необходимо предусматривать устройство по колоннам стальных вертикальных связей, располагаемых:

при длине температурного блока до 84 м - одна связь посередине его длины;

при длине температурного блока более 84 м - на расстоянии не более 48 м от торцов и не более 36 м по длине блока (в осях связей).

5.17. Вертикальные связи рекомендуется проектировать парными крестового типа (рис. 6) и устанавливать в двух плоскостях:

при двухветвевых колоннах - по оси ветвей;

при колоннах сплошного сечения - на расстоянии не более 100 мм от граней сечения.

5.18. Связи следует выполнять из одиночных уголковых профилей.

Противостоящие связевые фермы следует соединять планками из уголкового профиля.

5.19. вертикальные связи должны быть рассчитаны на нагрузку Tl, приложенную в уровне опирания подкрановых балок и равную горизонтальной продольной нагрузке, деленной на число связей в пределах одного температурного блока.

Эту нагрузку следует передавать только на растянутые элементы связи.

Рис. 6. Вертикальные связи по колоннам

1 - колонна; 2 - пролетная конструкция; 3 - связи; 4 - парные элементы связи; 5 - соединительная планка

Рис. 7. Деталь крепления подкрановой балки к связевой колонне

1 - колонна; 2 - подкрановая балка; 3 - соединительная планка; 4 - вертикальные связи

Гибкость элементов связей должна быть не более 200.

5.20. Нижние пояса подкрановых балок должны быть прикреплены к связевым колоннам листовыми шарнирами на сварке (рис. 7). Это крепление на каждой колонне должно быть рассчитано на нагрузку Tl, передаваемую на вертикальную связь.

5.21. Крепление стальных связевых колонн к фундаменту должно быть рассчитано на сдвигающую нагрузку Tl.

6. ПРОЛЕТНЫЕ КОНСТРУКЦИИ

Подкрановые балки

6.1. Пролетные конструкции следует проектировать преимущественно стальными, используя типовые подкрановые балки по сериям 1.426.2-3 и 1.462-8.

6.2. Железобетонные типовые подкрановые балки по серии 1.462.1-4 следует использовать по железобетонным колоннам, если не прогнозируется необходимость восстановления проектного положения балок в процессе эксплуатации эстакады (см. п. 4.10), под краны общего назначения грузоподъемностью не более 32 т групп режимов работы не более 6К.

6.3. Подбор типовых конструкций балок выполняется на основе дополнительного расчета с учетом ветровой нагрузки.

Рис. 8. Пример использования типового крепления железобетонных подкрановых балок к колоннам для

а - крайнего ряда; б - среднего ряда; 1 - стальной оголовок; 2 - поддерживающая стальная балка тормозной конструкции; 3 - соединительная планка; 4 - железобетонная подкрановая балка; 5 - железобетонная колонна

6.4. Для восприятия усилий поперечного торможения и горизонтальных боковых сил, вызываемых движением крановых мостов, а также ветровой нагрузки на подкрановую балку и торец крана верхний пояс этой балки должен быть развязан горизонтальной тормозной конструкцией:

фермой - для эстакад под краны общего назначения групп режимов работы не более 6К;

сплошной балкой - в остальных случаях.

По средним рядам колонн поясами тормозной конструкции служат верхние пояса подкрановых балок, а по крайним рядам - верхний пояс подкрановой балки и элемент жесткости.

Тормозные конструкции следует проектировать с использованием серии 1.462.2-3.

При неразрезных подкрановых балках тормозные конструкции следует проектировать также неразрезными.

6.5. Стыки разрезных подкрановых балок на опорах должны допускать свободный поворот опорных сечений при загружении в пролете.

Рекомендуется использовать типовые конструкции крепления балок к колоннам (рис. 8).

6.6. Стальные пролетные конструкции следует проектировать, а также поставлять и монтировать в виде пространственного блока, состоящего (рис. 9):

по крайним рядам колонн - из подкрановой балки вспомогательной фермы, тормозной конструкции и вертикальных крестовых связей в приопорных сечениях;

по средним рядам колонн многопролетных эстакад - из двух параллельных подкрановых балок, тормозной конструкции и таких же вертикальных связей.

Элементы вертикальных связей следует рассчитывать по прочности на поперечную крановую и ветровую нагрузку и назначать гибкостью не более 150.

Рис. 9. Рекомендуемая схема блочного решения стальных пролетных конструкций для ряда

а - крайнего; б - среднего

6.7. В тех случаях, когда прогнозируется необходимость рихтовки балок в процессе эксплуатации сооружения, крепление пролетных конструкций к колоннам следует проектировать согласно рис. 9 на удлиненных болтах, пропускаемых в овальные (в поперечном направлении) дыры, и предусматривать возможность крепления к колонне инвентарного столика для установки домкрата.

Крановый путь

6.8. Тип кранового рельса следует назначать в соответствии с указаниями стандартов или технических условий на мостовые краны.

Для кранов общего назначения грузоподъемностью не более 50 т, а также магнитных, грейферных и магнитно-грейферных кранов грузоподъемностью не более 20 т тип рельса следует назначать в соответствии с табл. 4.

Таблица 4

Тип рельса

Наибольшая нагрузка на колесо Pmax, кН, при группе режима работы крана

не более 5К

6К, 7К

Крановый по ГОСТ 4121-76*:

 

 

КР70

Не более 400

Не более 350

КР80

Св. 400

Св. 350

Железнодорожный:

 

 

Р43 по ГОСТ 7173-54*

Не более 300

Не более 200

Р50 по ГОСТ 7174-75*

Св. 300 до 400

Св. 200 до 350

Для металлургических кранов используют крановые рельсы типов КР 100 и КР 120.

6.9. Крановые рельсы следует крепить к подкрановой балке прижимными планками, а железнодорожные - крюками в соответствии с типовыми чертежами по сериям 1.426.1-4 и 1.426.2-3.

Под подошву рельсов для кранов групп режимов работы 7К и 8К рекомендуется подкладывать упругую прокладку.

6.10. При использовании специальных рельсов ширина верхнего пояса подкрановой балки должна быть не менее 400 мм. При этом не допускается без специального расчета уменьшать толщину (в сравнении с типовым решением) верхнего поясного листа стальной балки.

6.11. Рекомендуется применение рельсов со сварными стыками в пределах температурного блока сооружения.

6.12. Расчет концевых упоров на крановых путях необходимо выполнять на нагрузки, указанные в СНиП 2.01.07-85.

Конструкции концевых упоров рекомендуется принимать для кранов общего назначения по типовым чертежам серии 1.426.1-4 и для специальных кранов по серии ИС-01-08/67.

7. УСТРОЙСТВА ДЛЯ ОБСЛУЖИВАНИЯ КРАНОВ

7.1. Для обслуживания мостовых кранов эстакада должна быть оснащена галереями (проходами) вдоль крановых путей, посадочными площадками и лестницами, устройство которых должно соответствовать требованиям правил Госгортехнадзора.

7.2. Посадочные площадки и лестницы следует проектировать металлическими.

7.3. Настил галереи и посадочной площадки должен быть металлическим или достаточной прочности деревянным (если это допустимо по противопожарным нормам).

Настил должен быть устроен по всей длине и ширине галереи или площадки.

Металлический настил должен быть выполнен так, чтобы исключалась возможность скольжения ног (листы рифленые, из просечно-вытяжной стали и т.д., причем один из размеров отверстия не должен превышать 20 мм).

Деревянный настил должен быть выполнен с зазорами между досками, равными 20 мм.

7.4. По каждому ряду опор в уровне верха подкрановой балки должна быть запроектирована галерея для прохода вдоль кранового пути.

7.5. Ширина прохода (в свету) по галерее должна быть не менее 500 мм, а высота не менее 1800 мм.

В местах расположения (для эстакад с жесткими распорками выше кранового габарита) должен быть обеспечен проход шириной не менее 400 мм. При устройстве прохода внутри колонны за 1 м до подхода к ней ширина прохода по галерее должна быть уменьшена до ширины прохода в колонне.

7.6. Каждая галерея должна иметь постоянные перила высотой не менее 1 м, располагаемые по крайним рядам опор - только с наружной стороны, по средним - с обеих сторон галереи. В пределах каждого шага колонн перила должны иметь съемный участок шириной не менее 500 мм.

Оставлять у колонны неогражденный участок галереи не разрешается.

7.7. Размер люка в настиле галереи должен быть не менее 0,5´0,5 м. Крышка люка должна быть шарнирно закреплена, легко и удобно открываться и закрываться.

7.8. Каждая галерея должна иметь выходы из лестницы не реже чем через 200 м.

7.9. Для входа в кабину управления крана должна быть предусмотрена посадочная площадка со стационарной лестницей.

7.10. Расстояние от пола посадочной площадки до нижней части перекрытия и выступающих частей конструкций должно быть не менее 1800 мм.

7.11. Пол посадочной площадки должен быть расположен на одном уровне с полом кабины крана (или тамбура, если кабина его имеет). Зазор между посадочной площадкой и порогом двери кабины (тамбура) при остановке крана возле площадки должен быть не менее 60 и не более 150 мм.

Допускается устройство с посадочной площадки ниже уровня пола кабины при соблюдении дополнительных требований Правил устройства и безопасной эксплуатации грузоподъемных кранов (М., 1981).

7.12. Посадочные площадки рекомендуется проектировать с использованием типовых чертежей серии ИС-01-08/67.

7.13. Лестницы для доступа на галереи и площадки следует проектировать шириной не менее 600 мм с углом наклона к горизонту не более 60°.

При высоте более 10 м лестница должна быть снабжена площадкой через 6 - 8 м.

7.14. Расстояние между ступенями должно быть одинаковым по всей высоте лестницы и составлять не более 300 мм.

Ступени должны быть плоскими шириной не менее 120 мм и выполненными из стального рифленого листа.

Ранее выполненные лестницы со ступенями из стержней могут не переделываться.

Лестницы должны иметь ограждения.

7.15. Конструкцию лестниц следует принимать типовыми по серии 1.450.3-3.

ПРИЛОЖЕНИЕ 1

ХАРАКТЕРИСТИКИ МОСТОВЫХ КРАНОВ

1. Режим работы кранов

Для всех видов грузоподъемных кранов (кроме судовых и плавучих) согласно ГОСТ 25546-82 установлены группы режима их работы от 1К до 8К, которые назначаются в зависимости от сочетания двух показателей: общего числа циклов работы крана C за срок его службы и коэффициента нагружения КР. Эта новая классификация заменила ранее установленные правилами Госгортехнадзора режимы работы кранов: легкий (Л), средний (С), тяжелый (Т) и весьма тяжелый (ВТ), которые использовались и в технических условиях на краны.

При отсутствии в технологическом задании конкретных значений характеристик C и КР группу режима работы крана можно установить в зависимости от его вида и условий использования в соответствии с данными приложения к ГОСТ 25546-82.

2. Основные характеристики кранов

При проектировании новых сооружений основные характеристики кранов следует принимать по стандартам типов, основных параметров и размеров (пока такие стандарты имеются только для специальных кранов с гибким подвесом траверсы и для нескольких видов (металлургических кранов) или по техническим условиям заводов подъемно-транспортного оборудования (ЗПТО), выпускающих краны: общего назначения - табл. 1 и специальные - табл. 2. При реконструкции эти характеристики следует принимать по паспортным данным установленных кранов. Характеристики ранее выпускавшихся кранов приведены также в Справочнике по кранам. Т. 2. Характеристики кранов, крановые механизмы, их узлы и детали, техническая эксплуатация (Л., 1973).

Таблица 1

Грузоподъемность,

Q, т

Основные параметры по рисунку

Показатели (не более) при режиме работы крана

LК, м

не менее

среднем

тяжелом

АК, мм

В, мм

ТК, т

MТ, т

Pmax, кН

ТК, т

MТ, т

Pmax, кН

Бурейский ЗПТО

 

16,5

3500

5120

11

2

65

12

2

73

5

22,5

5000

5910

16

2

77

17

2

82

 

28,5

5000

5910

22

2

94

24

2

100

Александрийский ЗПТО

 

16,5

4000

5260

11

2

55

12

3

57

5

22,5

4000

5260

13

2

60

14

3

62

 

28,5

4200

5460

19

2

75

19

3

76

 

16,5

4350

5600

13

3

84

14

4

89

10

22,5

4350

5600

16

3

93

18

4

99

 

28,5

4600

5850

21

3

105

22

4

110

 

16,5

4350

5450

19

4

133

19

5

139

16

22,5

4350

5450

21

4

142

21

5

149

 

28,5

4600

5700

27

4

161

27

5

166

 

16,5

4350

5450

20

5

138

20

6

144

16/3,2

22,5

4350

5450

22

5

147

22

6

154

 

28,5

4600

5700

28

5

166

28

6

171

ПО «Кран» (г. Узловая)

 

16,5

4400

5600

22

7

188

26

7

195

20/5

223

4400

5600

28

7

195

32

7

210

 

28,5

5000

6200

38

7

235

42

7

240

 

16,5

4400

5600

30

10

260

34

10

270

32/5

22,5

4400

5600

36

10

275

40

10

290

 

28,5

5000

6200

45

10

305

47

10

305

Харьковский ЗПТО

 

16,5

5250

6500

41

14

364

50

16

380

50/12,5

22,5

5250

6500

49

14

387

58

16

440

 

28,5

5250

6500

60

14

421

71

16

470

Примечания: 1. Значения массы крана тК и тележки тТ округлены до 1 т.

2. Наибольшая нагрузка на колесо обозначена Рmax.

3. Для кранов, эксплуатируемых на открытом воздухе допускается некоторое увеличение базы В (а также высоты, крана), с увеличением тК и Рmax. Это мало изменяет нагрузки (в пределах прочности расчета строительных конструкций и оснований).

Таблица 2

Грузоподъемность Q, т

Основные параметры по рисунку

Показатели (не более)

LК, м

не менее

AК, мм

BК, мм

mК, т

mт, т

Pmax, кН

Краны магнитные

 

16,5

3500

5070

15

2

75

5

22,5

3500

5070

19

2

87

 

28,5

5000

5910

26

2

109

 

16,5

4400

5380

15

3

91

10

22,5

4400

5380

18

3

100

 

28,5

5000

5980

24

3

113

 

16,5

4400

5600

29

6

171

15

22,5

4400

5600

34

6

190

 

28,5

5000

6200

43

6

212

 

16,5

5300

6500

30

8

202

20/5

22,5

5300

6500

38

8

220

 

28,5

5600

6800

47

8

246

Краны грейферные

 

16,5

4400

5380

16

3

83

5*

22,5

4400

5380

18

3

91

 

28,5

5000

5980

24

3

105

 

16,5

4900

6100

33

9

165

10

22,5

4900

6100

41

9

197

 

28,5

5000

6200

50

9

210

15

22,5

6000

7250

50

14

245

28,5

6000

7250

62

14

280

20

22,5

5250

6500

50

18

281

28,5

5250

6500

60

18

320

Краны магнитно-грейферные

 

16,5

3800

4960

15

2

101

5/5

22,5

3800

4960

20

2

116

 

28,5

4850

5860

25

2

131

 

16,5

4900

6200

42

9

136

10/10

22,5

4900

6200

50

9

207

 

28,5

5000

6300

58

9

230

15/5

22,5

5650

6900

36

-

295

28,5

5650

6900

74

-

332

20/5

25

7500

8700

50

13

265

31,5

7500

8700

54

13

310

Примечания: 1. Все краны тяжелого режима работы, кроме отмеченного * - весьма тяжелый режим работы.

2. См. примеч. к табл. 1.

3. Нагрузки от крана

Нагрузка от крана передается на рельс колесами в местах контакта по схеме на рисунке. Нормативные значения нагрузки для четырехколесных кранов с гибким подвесом груза определяют, кН:

максимальная вертикальная Рmax - по характеристикам кранов (см. табл. 1 и 2);

минимальная вертикальная - по формуле

Pmin = 5 (mК + Q) - Pmax                                                                                       (1)

принимая ее не менее 5 mК;

горизонтальная, поперечная (тормозная) - по формуле

Т = 0,25 (mТ + Q);                                                            (2)

горизонтальная, продольная (тормозная) - по формуле

Тl = 0,1 Pmax.                                                                     (3)

Основные размеры кранов и нагрузки, передаваемые им на рельсы

а - поперек пути; б - вдоль пути

Для кранов режима работы 8К, а также металлургических кранов режимов работы 7К, 8К для расчета подкрановых балок и их креплений к колоннам взамен нагрузки Т следует учитывать боковую силу

Т' = 0,1 Pmax                                                                (4)

В формулах (1) и (2) обозначены: mК, mТ - масса крана и тележки соответственно; Q - грузоподъемность крана. Их значения принимаются в т при значениях Р в кН.

Нагрузка от удара крана о тупиковый упор принимается по СНиП 2.01.07-85.

4. Ветровая нагрузка на кран

Ветровую нагрузку на работающий кран определяют в соответствии с ГОСТ 1451-77. Эта нагрузка не зависит от района строительства и высоты эстакады, учитывается только в поперечном направлении, передается на один (любой) крановый рельс и может суммироваться с усилиями поперечного торможения Т. При практических расчетах нормативное значение нагрузки, передаваемой на рельс одним колесом крана, можно принимать:

грузоподъемность крана, т       5 - 10          16 - 20             32 - 50

ветровая нагрузка, кН (тс)        1 (0,1)         1,5 (0,15)         2 (0,2).

Для эстакад, обслуживающих производства, исключающие возможность перерывов в работе, указанные значения нагрузок должны быть увеличены в 4 раза.

Ветровую нагрузку на неработающий кран определяют в соответствии со СНиП 2.01.07-85. Эта нагрузка зависит от района строительства и высоты эстакады, учитывается в продольном и в поперечном направлении и передается поровну на оба крановые рельса.

При определении значения ветровой нагрузки площадь крана с грузом допускается определять по табл. 3.

Таблица 3

Грузоподъемность крана, т

Условная площадь, м2, при направлении действия ветра

поперек эстакады

вдоль эстакады при пролете крана, м

16,5

21,5

28,5

5

15

29

41

56

10

17

32

48

67

16

19

36

49

68

20

19

39

52

72

32

23

45

61

84

50

25

49

66

84

ПРИЛОЖЕНИЕ 2

ОСОБЕННОСТИ РАСЧЕТА ДЕФОРМАЦИЙ ОСНОВАНИЙ ПРИ МНОГОКРАТНО ПОВТОРНОМ НАГРУЖЕНИИ

1. Прогнозирование осадок

Основания под фундаментами открытых крановых эстакад подвержены многократно повторному нагружению вертикальной крановой нагрузкой P, действующей на фоне постоянной нагрузки G (включая массу фундамента и грунта на его уступах), цикл которого характеризуется коэффициентом асимметрии

r = Р / (G + P).                                                           (1)

В таких условиях происходит заметное накопление остаточных деформаций грунта и после п нагружений нагрузкой Р полная осадка sn превышает начальную s, так что коэффициент

kr.n. = sn / s,                                                                  (2)

причем после начальных n0 = 50 - 100 нагружений полная осадка накапливается по закону, близкому к логарифмическому

lg kr.n. = b (lg n - lg n0).                                                  (3)

Значение коэффициента накопления деформаций b мало зависит от начальной плотности грунта (она влияет на s) и размеров фундамента, но существенно зависит от коэффициента асимметрии цикла r и вида грунта. Значение b следует определять опытным путем по результатам полевых или лабораторных испытаний в соответствии с рекомендациями Справочника по кранам. Т. 2. Характеристики кранов, крановые механизмы, их узлы и детали, техническая эксплуатация (Л., 1973).

Для ориентировочных расчетов при r = 0,3 - 0,7 допускается принимать в формуле (3)

b = 0,2r и n0 = 1,                                                        (4)

что соответствует несвязным грунтам, наиболее подверженным остаточным деформациям.

Полная осадка фундамента может быть вычислена по формуле

Sser = s (G + krP) / (G + P).                                             (5)

При этом начальную осадку s определяют по СНиП 2.02.01-83 путем послойного суммирования осадок отдельных слоев в пределах сжимаемой толщи грунта от действия полной нагрузки G + Р. Значения коэффициента kr допускается принимать по табл. 1.

Таблица 1

Число нагружений п

Приближенное значение kr при ρ

0,3

0,4

0,5

0,6

0,7

103

1,5

1,7

2

2,3

2,6

104

1,7

2,1

2,5

3

3,6

105

2

2,5

3,2

4

5

106

2,3

3

4

5,2

6,9

107

2,6

3,6

5

6,9

9,5

Прогнозирование возможного накопления осадки фундаментов с учетом повторного нагружения за 50 лет эксплуатации сооружения требует оценки числа циклов нагружения. При 300 рабочих днях в году, работе крана в 1 - 3 смены по 7 ч и при 1 - 20 наездах крана на колонну в 1 ч общее число нагружений составит п = (0,1 - 6) 106. Возможное накопление деформаций в зависимости от r для разных периодов работы сооружения приведено в табл. 2, данные которой подтверждают целесообразность обкатки сооружения и свидетельствует о значительном уменьшении накопления деформаций грунтов после первого года эксплуатации (особенно при малой грузоподъемности кранов).

Таблица 2

Условия эксплуатации

Число нагружений п

Значения при r

0,3

sser / s, %

0,7

sser / s, %

Для крана среднего режима работы:

 

 

 

обкатка

103

88

45

первый год эксплуатации

104

92

60

50 лет эксплуатации

5×105

100

100

Для крана весьма тяжелого режима работы:

 

 

 

обкатка

103

80

35

первый год эксплуатации

105

95

65

50 лет эксплуатации

5×106

100

100

2. Учет внецентренного нагружения колонн

В многопролетных эстакадах, оборудованных в соседних пролетах неодинаковыми кранами, может проявляться крен фундамента в сторону более интенсивно нагруженного пролета. Для предотвращения этого следует смещать центр подошвы фундамента на величину приведенного эксцентриситета

ered = 0,75 (k1Q1 - k2Q2) / (k1Q1 + k2Q2),                                        (6)

где 0,75 - привязка подкрановых балок к оси колонны, м; k - коэффициент, учитывающий режим работы крана, который может быть принят:

группа режима работы        2К - 3К       4К - 5К        6К - 7К            

значение k                                  0,1             0,25                1                  2,5;

Q - грузоподъемность крана, т; индексы 1 и 2 соответствуют первому и второму пролетам.

Например, в соседних пролетах эстакады должны эксплуатироваться краны: в первом Q1 = 10 т режима работы 7К (k1 = 1) и во втором Q2 = 16 т режима работы 5К (k2 = 0,25). Тогда приведенный эксцентриситет по формуле (6) ered = 0,75 (1 · 10 - 0,25 · 16) / (1 · 10 + 0,25 · 16) = 0,32 м, так что для предотвращения накопления неравномерных деформаций основания центр подошвы фундамента следует сместить на 300 мм относительно оси колонны в сторону первого пролета.

ПРИЛОЖЕНИЕ 3

РЕКОМЕНДАЦИИ ПО ОПРЕДЕЛЕНИЮ ХАРАКТЕРИСТИК ЖЕСТКОСТИ НЕТРЕЩИНОСТОЙКИХ ЭЛЕМЕНТОВ ЖЕЛЕЗОБЕТОННОЙ ДВУХВЕТВЕВОЙ КОЛОННЫ

При выполнении расчетов колонн, которые представляют собой статически неопределимую нелинейно деформирующуюся стержневую систему, следует учитывать вызванное трещинообразованием изменение характеристик жесткости элементов, оказывающее влияние на распределение усилий между стержнями.

Трещиностойкость элементов допускается проверять по приближенной формуле:

smax = 0,9 (N / Aб ± M / 1,75Wб) £ Rбtn                                     (1)

где 0,9 - коэффициент, учитывающий армирование; Aб, Wб - геометрические характеристики бетонного сечения; 1,75 - коэффициент, учитывающий пластические деформации бетона; Rбtn - нормативное сопротивление бетона растяжению; N, M - соответственно продольное усилие и изгибающий момент в проверяемом элементе.

Значения тN (a) и тМ (б) при относительной толщине защитного слоя бетона а / h0 = 0,1 ¼ 0,25 и приведенном к бетону коэффициенте армирования mа = 0,02 ¼ 0,2

1 - более сжатая ветвь; 2 - менее сжатая ветвь; 3 - растянутая ветвь; 4 - изгибаемая распорка

Характеристики жесткости элементов B для вычисления перемещений допускается определять приближенно: при действии продольной силы

BN = mNEбAred,                                                                  (2)

при действии изгибающего момента

BM = mMEбJred,                                                                   (3)

где Eб - модуль деформации бетона; Ared, Jred - приведенные к бетону геометрические характеристики железобетонного сечения; т - коэффициент, учитывающий увеличение деформативности железобетонного элемента вследствие образования трещин, значения которого принимают по рисунку. Для трещиностойких элементов m = 1.

ПРИЛОЖЕНИЕ 4

ОСОБЕННОСТИ ВОЗВЕДЕНИЯ И ЭКСПЛУАТАЦИИ ЭСТАКАД

1. Уменьшение деформативности основания

При выполнении строительно-монтажных работ необходимо руководствоваться общими правилами и требованиями, установленными действующими нормативными документами. При этом должны приниматься меры по уменьшению влияния начальных деформаций оснований на отклонение несущих конструкций от проектного положения в период эксплуатации, для чего следует:

сообщать проектной организации обо всех обнаруженных при земляных работах отклонениях фактических грунтовых условий от принятых в проекте;

обеспечивать отвод поверхностных вод с площадки во время строительства;

не нарушать естественного сложения грунта под подошвой фундамента или грунтовой подушки;

предотвращать замачивание основания под подошвой фундамента;

не допускать промерзания основания;

производить предварительную обкатку эстакады краном.

Обкатка эстакады производится груженым краном в течение 5 - 6 смен непрерывной работы с таким расчетом, чтобы кран прошел над каждой колонной примерно 1000 раз. Обкатку многопролетных эстакад следует производить одновременно во всех пролетах. Окончательная выверка и закрепление крановых рельсов, а в случае необходимости - и подкрановых балок производится после окончания обкатки.

2. Требования к кранам

Монтируемые на эстакаде краны должны соответствовать требованиям ГОСТ 24378-80*Е и Правил устройства и безопасной эксплуатации грузоподъемных кранов (М., 1981). В частности, следует проверять состояние ходовой части крана, влияющее на его перемещение по путям: равенство диаметров ходовых колес, отсутствие на их рабочей поверхности неровностей, степень отклонения колес от проектного положения.

Для кранов пролетом 22,5 м и более, монтируемых при температуре выше +10 °С или ниже -10 °С, пролет крана следует уточнять с учетом температурных деформаций.

3. Требования к крановому пути

Допускаемые отклонения в расположении крановых рельсов не должны превышать значений, указанных в табл. 1.

Выполнение требований к расположению рельсов производится путем:

рихтовки рельса по балке;

восстановления проектного положения балок, смещаемых относительно колонны;

восстановления проектного положения каркаса с помощью поддомкрачивания колонн.

Рихтовка балок и колонн может производиться в пределах, предусмотренных проектом в соответствии с п.п. 4.10 и 4.11 Пособия.

Таблица 1

Допускаемое отклонение

Значение, мм

при укладке или рихтовке рельсов

во время эксплуатации эстакады

1. Разность отметок в поперечном сечении:

 

 

на колоннах

15

20

в пролете

20

25

2. Разность отметок на соседних колоннах при пролете балок Lб, м:

не более 10

10

15

более 10

1/1000 пролета балки Lб, но не более 15

20

3. Отклонение в плане между осями крановых рельсов (ширина колеи)

10

15

4. Отклонение рельса от прямой линии (на участке 40 м)

15

20

5. Взаимное смещение торцов стыкуемых рельсов в плане и по высоте

2

3

6. Зазоры в стыках (при 0 °С и длине рельса 12,5 м)

4

4

7. Смещение рельса с оси подкрановой балки

15

15

Примечания: 1. Замеры производятся на участке эстакады без крана. 2. При температуре, отличной от 0 °С зазоры по п. 6 изменяются на 1,5 мм на каждые 10 °С. 3. Допуски по п. 7 во время эксплуатации могут быть увеличены на основании соответствующего расчета подкрановых балок, но не более чем в 2 раза для стальных и в 3 раза для железобетонных балок.

4. Эксплуатация и реконструкция эстакады

Служба эксплуатации предприятия должна обеспечивать своевременный ремонт несущих конструкций эстакады и кранов. При этом особое внимание должно уделяться обеспечению нормального состояния крановых путей и ходовой части крана, а также несущих конструкций, их элементов и узловых соединений.

Недостатки эксплуатации эстакады определяются в большинстве случаев одной или несколькими из следующих причин:

сверхнормативные отклонения от проектного положения крановых путей;

разница в диаметрах ходовых колес крана;

перекос колес крана из плоскости его движения;

несинхронность привода колес крана;

недостаточная продольная или поперечная жесткость опор или пролетных конструкций;

расстройство сопряжений несущих конструкций (путей с балками, балок и тормозных конструкций, пролетных конструкций и колонн, колонн и фундаментов, вертикальных связей и колонн).

Реконструкция (усиление) эстакады может выполняться:

при необходимости переоснащения сооружения кранами увеличенной грузоподъемности, другого типа или при интенсификации режима работы кранов;

в том случае, когда не обеспечивается нормальная работа кранов на эстакаде (заклинивание и сход с рельсов крана, значительные вибрации или перемещения несущих конструкций).

Мероприятиям по реконструкции (усилению) должны предшествовать ознакомление с проектом, оценка реализации его в натуре и обследование фактического состояния конструкций и их узлов (см. п. 1.8 настоящего Пособия). Необходимо по возможности четко выявить причины нарушения нормальной эксплуатации крана и проверить условия его работы после приведения крана и несущих конструкций в проектное состояние с соблюдением нормативных допусков. Эту работу следует проводить под руководством или при консультации квалифицированного специалиста, имеющего опыт в области подкрановых конструкций.

Учитывая многократно повторное действие крановых нагрузок, необходимо предотвращать расстройство болтовых соединений (путем установки пружинных шайб, контргаек и т.д.).

СОДЕРЖАНИЕ

Предисловие. 1

1. Общие положения. 2

2. Конструктивное решение. 4

3. Нагрузки и воздействия. 9

4. Основания и фундаменты.. 11

5. Колонны.. 13

6. Пролетные конструкции. 18

7. Устройства для обслуживания кранов. 20

Приложение 1 Характеристики мостовых кранов. 21

1. Режим работы кранов. 21

2. Основные характеристики кранов. 21

3. Нагрузки от крана. 23

4. Ветровая нагрузка на кран. 24

Приложение 2 Особенности расчета деформаций оснований при многократно повторном нагружении. 24

1. Прогнозирование осадок. 24

2. Учет внецентренного нагружения колонн. 26

Приложение 3 Рекомендации по определению характеристик жесткости  нетрещиностойких элементов железобетонной  двухветвевой колонны.. 26

Приложение 4 Особенности возведения и эксплуатации эстакад. 27

1. Уменьшение деформативности основания. 27

2. Требования к кранам.. 27

3. Требования к крановому пути. 27

4. Эксплуатация и реконструкция эстакады.. 28

 




Rambler's Top100 Яндекс цитирования
  Copyright © 2008-2025, www.docload.ru