Бесплатная библиотека стандартов и нормативов www.docload.ru

Все документы, размещенные на этом сайте, не являются их официальным изданием и предназначены исключительно для ознакомительных целей.
Электронные копии этих документов могут распространяться без всяких ограничений. Вы можете размещать информацию с этого сайта на любом другом сайте.
Это некоммерческий сайт и здесь не продаются документы. Вы можете скачать их абсолютно бесплатно!
Содержимое сайта не нарушает чьих-либо авторских прав! Человек имеет право на информацию!

 

Научно-исследовательский институт
строительной физики (НИИСФ) Госстроя СССР

Справочное пособие к СНиП

Серия основана в 1989 году

Расчет
и проектирование
ограждающих конструкций зданий

Москва Стройиздат 1990

Рекомендовано к изданию секцией № 1 Научно-технического совета НИИСФ Госстроя СССР.

Редактор - И.А. Баринова

Расчет и проектирование ограждающих конструкций зданий/НИИ строит, физики. - М.: Стройиздат, 1990.: ил. - (Справ. пособие к СНиП).

Разработано к СНиП II-3-79** «Строительная теплотехника». Содержит материалы по теплотехническому расчету и проектированию ограждающих конструкций зданий и сооружений. Приведены общие методы теплотехнических расчетов ограждающих конструкций зданий и сооружений различного назначения - жилых, общественных и производственных. Даны примеры расчетов.

Для инженерно-технических работников научно-исследовательских и проектных организаций.

ПРЕДИСЛОВИЕ

Настоящее Пособие разработано к СНиП II-3-79** «Строительная теплотехника». В нем содержатся методические материалы и примеры по теплотехническому расчету и проектированию ограждающих конструкций зданий и сооружений.

Особое внимание в Пособии уделено вопросам, которые вызывают затруднения при практическом использовании, например, расчеты: экономически целесообразного сопротивления теплопередаче ограждающих конструкций, неоднородных ограждающих конструкций с теплопроводными включениями сложной формы, ограждающих конструкций теплых чердаков при наличии в помещениях агрессивных сред, а также расчеты прогнозирования долговечности ограждающих конструкций и пр.

В Пособии даны рекомендации по автоматизации теплотехнических расчетов с использованием разнообразных современных ЭВМ от программируемого калькулятора и мини-ЭВМ до крупных ЭВМ типа ЕС.

Настоящее Пособие разработано НИИСФ Госстроя СССР (кандидаты техн. наук Ю.А. Матросов - разд. 1, 2, прил. 4, 12, 13, 14 - руководитель темы, М.А. Гуревич - разд. 1-6, Ф.В. Клюшников - разд. 2, И.Н. Бутовский - разд. 2, М.Ю. Негинский - прил. 13, В.Р, Хлевчук - прил. 3, д-р техн. наук С.В. Александровский - разд. 7 и прил. 11) совместно с ЦНИИпромзданий Госстроя СССР (канд. техн. наук Э.Э. Наргизян, инж. М.А. Пак - прил. 5, канд. техн. наук Ю.П. Александров - прил. 6); ЦНИИЭП жилища Госкомархитектуры (кандидаты техн. наук В.С. Беляев, А.Н. Мазалов, канд. экон. наук М.С. Любимова - разд. 2); ЦНИИЭПсельстрой Госкомархитектуры (канд. техн. паук В.А. Бенц - разд. 2 и прил. 15, 16, 17); МИСИ им. В.В. Куйбышева (канд. техн. наук В.А. Объедков - разд. 2 и прил. 7, 10); НИИ строительства Госстроя ЭССР (канд. техн. наук Э.В. Йыгиоя - прил. 4), А.В. Щербаков - научное редактирование.

НИИСФ Госстроя СССР выражает благодарность специалистам, и организациям, которые будут использовать настоящее Пособие, сделают замечания и внесут предложения по его улучшению.

Замечания и предложения просьба направлять по адресу: 127238, Москва, Локомотивный пр., д. 21. НИИСФ.

1. ПРИНЦИПЫ ТЕПЛОТЕХНИЧЕСКОГО ПРОЕКТИРОВАНИЯ ОГРАЖДАЮЩИХ КОНСТРУКЦИЙ ЗДАНИЙ

1.1. При теплотехническом проектировании ограждающих конструкций зданий следует руководствоваться СНиП II-3-79** «Строительная теплотехника» и связанными с ним нормативными документами, а также рекомендациями настоящего Пособия.

При разработке проектов ограждающих конструкций следует предпочитать варианты, которые при удовлетворении нормативных требований обеспечивают снижение топливно-энергетических и материальных ресурсов.

1.2. Многослойные наружные стены с использованием эффективного теплоизоляционного материала имеют преимущество в повышении теплозащитных качеств здания по сравнению с однослойными наружными стенами. Однослойные наружные стены эффективны при применении легкого бетона плотностью менее 1000 кг/м3, ячеистого бетона плотностью менее 800 кг/м3 и кладки из пустотелых керамических или силикатных камней и кирпичей.

1.3. При проектировании наружных ограждений с теплопроводными включениями необходимо учитывать следующее:

в многослойных конструкциях целесообразно располагать с теплой стороны материал с большим коэффициентом теплопроводности, что обеспечивает более высокую температуру угла;

зона влияния несквозного включения, как правило, распространяется от границы соприкасания двух материалов на расстояние, равное половине толщины стены;

включения, размещенные внутри ограждения, целесообразно располагать ближе к холодной стороне ограждения.

1.4. Покрытия с вентилируемой воздушной прослойкой следует проектировать для районов с расчетной скоростью ветра в июле не менее 2 м/с, толщина воздушной прослойки должна быть не менее 0,15 м. Оптимальная толщина вентилируемой воздушной прослойки в наружных стенах находится в пределах 0,05-0,1 а оптимальная высота - 5-6 м.

1.5. При проектировании наружных ограждений с замкнутыми воздушными прослойками необходимо учитывать, что

эффективными в теплотехническом отношении являются прослойки небольшой толщины;

рациональнее делать в ограждающей конструкции несколько прослоек малой толщины, чем одну большей толщины;

воздушные прослойки рекомендуется располагать ближе к наружной стороне ограждения;

в целях уменьшения количества тепла, передаваемого излучением, рекомендуется покрыть одну из поверхностей воздушной прослойки алюминиевой фольгой.

1.6. Для предупреждения переувлажнения материалов наружных ограждающих конструкций рекомендуется располагать слои с большим сопротивлением паропроницанию с внутренней стороны.

1.7. Для стен помещений с влажным и мокрым режимом не рекомендуется применять силикатный кирпич, пустотелые камни, ячеистые бетоны, древесину, фибролит, а также другие невлагостойкие или небиостойкие материалы.

1.8. Наружные и внутренние стены следует предохранять от грунтовой влаги путем устройства гидроизоляции. Основная обязательная во всех случаях горизонтальная гидроизоляция в нижней части наружной стены или по всему верху цоколя должна быть расположена выше тротуара или отмостки здания, но ниже отметки пола первого этажа. Дополнительную горизонтальную гидроизоляцию следует предусматривать в стенах зданий с подвалами и цокольными этажами ниже уровня их пола.

В зависимости от гидрогеологических условий и назначения помещения следует предусматривать вертикальную гидроизоляцию, которую рекомендуется устраивать на наружной поверхности подземной части стен, соединяя ее с горизонтальной.

1.9. Для снижения расхода энергии на охлаждение помещения и защиты зданий от воздействия солнечной радиации используются следующие мероприятия: применение солнцезащитных устройств для световых проемов, организованное проветривание, увеличение теплоустойчивости наружных ограждающих конструкций, ориентация здания, светозащитное остекление.

В районах с большим количеством солнечных дней (в III-IV климатических районах) рекомендуется предусматривать меридиональную ориентацию здания для предупреждения перегрева помещений. Постоянные солнцезащитные устройства, размещаемые по фасаду здания, должны проектироваться: при ориентации фасада на юг - горизонтальными, на восток или запад - вертикальными, при других ориентациях на освещенную солнцем сторону - комбинированными, состоящими из горизонтальных и вертикальных солнцезащитных элементов.

1.10. Безинерционные и малоинерционные наружные ограждения для жилых зданий, больничных учреждений (больниц, клиник, стационаров и госпиталей), диспансеров, амбулаторно-поликлинических учреждений, родильных домов, домов ребенка, домов-интернатов для престарелых и инвалидов, детских садов, яслей, яслей-садов (комбинатов) и детских домов, а также производственных зданий, в которых должны соблюдаться оптимальные нормы температуры и относительной влажности воздуха в рабочей зоне или по условиям технологии должны поддерживаться постоянными температура или температура и относительная влажность воздуха, допускается использовать только при наличии эффективной солнцезащиты заполнений световых проемов.

1.11. Наружные поверхности кровель чердачных покрытий бесчердачных крыш следует окрашивать в светлые тона, обладающие высокими отражательными качествами. Рулонные кровли рекомендуется покрывать мелким гравием светлых тонов слоем толщиной не менее 10 мм.

1.12. Полы, устраиваемые на грунте, должны проектироваться в соответствии с п. [1.17]*. При расположении ниже наивысшего уровня капиллярного поднятия грунтовых вод полы должны быть водонепроницаемыми, а в случае насыщения грунтов вредными газами - газонепроницаемыми. В этом случае в конструкции пола следует предусматривать гидроизоляционный слой, располагаемый под подстилающим слоем.

2. СОПРОТИВЛЕНИЕ ТЕПЛОПЕРЕДАЧЕ ОГРАЖДАЮЩИХ КОНСТРУКЦИЙ

Порядок расчета

2.1. Сопротивление теплопередаче ограждающих конструкций Rо (п. [2.1*]) определяется следующим образом:

а) рассчитывают требуемое сопротивление теплопередаче Roтр по санитарно-гигиеническим условиям:

по формуле [1] - для ограждающей конструкции (за исключением заполнения светового проема и покрытия теплого чердака);

по табл. [9*] - для окон, балконных дверей и фонарей;

по формуле (14) или (15) для покрытия теплого чердака;

б) рассчитывают экономически целесообразное сопротивление теплопередаче ограждающих конструкций Rоэк по формуле [17], а для покрытий теплого чердака по формуле [22]. Единовременные затраты Сд, входящие в формулы [17] и [22], рассчитывают по методике, изложенной в п. 2.5. Сопротивление теплопередаче Rо, содержащееся в формуле [17], для однородной конструкции определяют по формуле [4], а для неоднородной Ro заменяют приведенным сопротивлением теплопередаче Rопр, определяемым по п. 2.8;

в) сопротивление теплопередаче Ro ограждающих конструкций (при наличии в них теплопроводных включений - приведенное сопротивление теплопередаче Rопр) в соответствии с п. [2.1*] должно быть не менее требуемого сопротивления теплопередаче Rотр и экономически целесообразного сопротивления теплопередаче Rоэк;

_______________

* В квадратных скобках даются номера пунктов, формул, приложений и таблиц СНиП II-3-79**.

г) для неоднородной ограждающей конструкции (за исключением заполнения светового проема) проверяют, выполняется ли требование п. [2.10*], т.е. выполняется ли условие невыпадения конденсата на внутренней поверхности ограждения

t'в³tp,                                                                  (1)

где t'в - температура внутренней поверхности ограждающей конструкции по теплопроводному включению (диафрагмы, сквозного шва из раствора, стыка панелей и т.д.), определяемая на основании расчета температурных полей. Для теплопроводных включений, приведенных в прил. [5*], t'в определяется по п. [2.11*]; tр -температура точки росы, °С, при расчетной температуре tв и относительной влажности внутреннего воздуха jв определяется по прил. 1. В расчете покрытия теплого чердака взамен tр рекомендуется принимать минимально допустимую температуру  холодного участка покрытия по графику рис. 11, значение которой определено из условия ограничения конденсата количеством 1 кг/м2 за наиболее холодную пятидневку.

Примечание. В Пособии приведенное сопротивление теплопередаче ограждающих конструкций, в том числе вычисленное по формулам [10] и [II], будет обозначаться Rопр.

2.2. Требуемое сопротивление теплопередаче Rотр внутренних ограждающих конструкций между помещениями с нормируемой температурой воздуха следует определять при разности расчетных температур воздуха в этих помещениях Dt более 3 °С по формуле [1]. При этом tв, и tп - расчетные температуры воздуха соответственно теплого и холодного помещения, °С; n=1; aв - коэффициент теплоотдачи внутренней поверхности (табл. [4*]); Dtн - нормативный температурный перепад между температурой воздуха теплого помещения и температурой внутренней поверхности ограждающей конструкции (табл. [2*]).

Примечание. При Dt£Dtн внутренние ограждающие конструкции удовлетворяют санитарно-гигиеническим условиям при любом значении их сопротивления теплопередаче.

2.3. Порядок определения расчетной зимней температуры (и при вычислении требуемого сопротивления теплопередаче ограждающих конструкций по формуле [1] следующий:

предварительно назначают величину тепловой инерции D, рассчитываемой ограждающей конструкции по гр. 1 табл. [5*];

по выбранной величине D назначают в соответствии с п. [2.3*] расчетную зимнюю температуру наружного воздуха tн;

подставляя в формулу[1] величины n, tв, Dtн, aв, а также вышеуказанную величину tн, определяют Rотр.

Проверка правильности назначения расчетной зимней температуры наружного воздуха производится следующим образом:

вычисляют требуемое термическое сопротивление теплоизоляционного слоя Rуттр рассчитываемой конструкции по формуле

,                                                   (2)

где SRк.c - сумма термических сопротивлений конструктивных слоев, м2·°С/ВТ, многослойной ограждающей конструкции; aв - коэффициент теплоотдачи внутренней поверхности ограждающей конструкции Вт/(м2·°С), принимаемый по табл. [4*]; aн - коэффициент теплоотдачи для зимних условий наружной поверхности ограждающей конструкции, Вт/(м2·°С), принимаемый по табл. [6*];

по формуле [2] вычисляют тепловую инерцию рассчитываемой ограждающей конструкции D.

Если величина D рассчитываемой ограждающей конструкции совпадает по диапазону с предварительно заданной, то расчетная зимняя температура tн выбрана правильно.

Если же величина D ограждающей конструкции находится в другом диапазоне, чем предварительно заданная, то расчетная зимняя температура была назначена неправильно; в качестве расчетной зимней температуры следует выбрать из табл.[5*] температуру, соответствующую вычисленной величине D.

Определение экономически целесообразного сопротивления теплопередаче Rоэк

2.4. Расчет экономически целесообразного сопротивления теплопередаче Rоэк ограждающей конструкции выполняется в следующей последовательности:

а) определяется толщина первого варианта ограждающей конструкции исходя из сопротивления теплопередаче R01=Rотрrэф и действующей унификации толщин стеновых конструкций, сопротивление теплопередаче которой R01 равно или близко к величине R'01. Величину Rотр следует определять по формуле [1], величину rэф по табл. [9а*];

б) определяются приведенные затраты первого варианта конструкций по формуле [17] с учетом п. 2.5. При этом стоимость тепловой энергии Cт принимается по прил. 2;

в) затем определяются приведенные затраты П для той же конструкции при возрастающих унифицированных ее толщинах. Если приведенные затраты при этом уменьшаются, то расчет ведется до тех пор, пока величина их станет минимальной. Если приведенные затраты при этом увеличиваются, то следует переходить к их определению при уменьшающихся унифицированных толщинах конструкции. Расчет также ведется до тех пор, пока величина приведенных затрат П станет минимальной;

г) экономически целесообразное сопротивление теплопередаче Rоэк принимают для того варианта ограждающей конструкции, при котором обеспечивается минимальная величина приведенных затрат П.

2.5. Единовременные затраты Сд, руб/м2, необходимые для расчета Rоэк определяются по формуле [17а].

Значения величин, входящих в указанную формулу, определяются следующим образом:

а) оптовая цена ограждающей конструкции Ц принимается по прейскурантам в зависимости от ценового пояса, к которому относится пункт строительства, с учетом соответствующего коэффициента к оптовой цене пояса.

В случае отсутствия в прейскурантах оптовых цен на сборные железобетонные конструкции рекомендуется принимать вместо оптовой цены их расчетную стоимость Ск, определяемую по Рекомендациям по определению расчетной стоимости и трудоемкости изготовления сборных железобетонных конструкций на стадии проектирования (М.: НИИЭС Госстроя СССР, 1985);

б) стоимость транспортирования ограждающих конструкций с учетом погрузочно-разгрузочных работ определяется с использованием таблиц СНиП IV-4-82. Сборник сметных цен на перевозки грузов для строительства. Ч, 1, Железнодорожные и автомобильные перевозки:

T=P[K1T1+n(1+0,01H)T2]1V,                                      (3)

где Р - масса 1 м2 ограждающей конструкции соответствующего варианта, т/м2; Т1 - сметная цена на погрузочно-разгрузочные работы при автомобильных и железнодорожных перевозках, руб/т, принимаемая по таблице сметных цен разд. 1; К1 - коэффициент к сметной цене на погрузочно-разгрузочные работы при железнодорожных и автомобильных перевозках, принимаемый по таблице коэффициентов разд. 1; Т2 - провозная (тарифная) плата, руб/т, принимаемая за перевозку конструкций автомобильным транспортом - по разд. 3а; за перевозку конструкций железнодорожным транспортом (повагонными отправками грузовой скоростью) по табл. 2 разд. 4; Н - надбавка, %, к плате за перевозку строительных крупногабаритных грузов (бетонные, железобетонные и тому подобные конструкции) автомобильным транспортом, принимаемая в размере 25%, (Для Белорусской, Грузинской, Литовской и Эстонской союзных республик надбавки к плате за перевозку вышеуказанных грузов принимаются в размерах, указанных в п. 12 разд. 3а). При перевозке других конструкций автомобильным транспортом и любых конструкций железнодорожным транспортом в формуле (3) следует принять Н=0; n - коэффициент для перехода от массы нетто к массе брутто, принимаемый; при перевозке конструкций из бетона и железобетона автомобильным транспортом равным 1; при перевозке указанных конструкций по железной дороге равным 1,01; при перевозке других конструкций автомобильным и железнодорожным транспортом - по таблице сметных цен на тару, упаковку и реквизит разд. 2а; Ц1 - стоимость реквизита (подкладок, прокладок, стоек, скруток, инвентарных креплений и др.) для укладки и креплений конструкции в руб. на 1 м3 конструкции в плотном теле (включая объем конструктивно-изоляционных слоев). Стоимость реквизита при перевозке бетонных и железобетонных конструкций автомобильным транспортом составляет 0,8 руб/м3 (Для Якутской АССР, Магаданской, Сахалинской областей - 1,15, для Камчатской области 1,35, для управления строительством "Вилюйгазстрой" Якутской АССР - 1,4 руб/м3). Стоимость реквизита при перевозке указанных конструкций по железной дороге - 2,6 руб/м3. Стоимость (сметная стоимость) реквизита при перевозке других конструкций автомобильным и железнодорожным транспортом принимается по таблице сметных цен на тару, упаковку и реквизит разд. 2а; V - объем 1 м2 ограждающей конструкции соответствующего варианта, м32.

Если типы конструкций в разных вариантах существенно не меняются, можно при сравнении принимать одинаковую величину Т;

в) стоимость монтажа (возведения) См ограждающей конструкции определяется в зависимости от территориальных районов по соответствующим сборникам СНиП IV-5-84. Приложение. Сборники единых районных единичных расценок на строительные конструкции и работы.

Примечание В п. 2.5, б даны ссылки на номера разделов и та блицы СНиП IV-4-84, ч. 1.

2.6. При разработке типовых проектов, предназначенных для массового применения, расчет экономически целесообразного сопротивления теплопередаче ограждающих конструкций зданий (кроме животноводческих и птицеводческих зданий) для расчетных зимних температур наружного воздуха -10, -20, -30, -40, -50 °С, следует производить с климатическими параметрами, отопительного периода соответственно:

продолжительность отопительного периода 150, 180, 210, 240 и 270 сут;

средняя температура наружного воздуха за отопительный период 5, 0, -5, -10, -15 °С.

При типовом проектировании единовременные затраты Сд, руб/м2, следует определять по единым районным единичным расценкам на строительные работы для 1 территориального района (подрайона 1а) и базисным ценам на местные строительные материалы и конструкции для Московской обл, а стоимость тепловой энергии принимать равной Ст=3,58 руб/ГДж. Коэффициенты теплопроводности материалов следует принимать по прил. [3*] при условии эксплуатации Б.

2.7. При расчете экономически целесообразного сопротивления теплопередаче Rоэк ограждающих конструкций животноводческих и птицеводческих зданий в соответствии с п. [2.15*] длительность отопительного периода zот.пер сут, и средняя .температура наружного воздуха за отопительный период tот.пер, °С, определяются в зависимости от граничной наружной температуры отопительного периода tгн, °С, при которой следует начинать (заканчивать) снабжение этих зданий техническим теплом.

При привязке животноводческого или птицеводческого здания к конкретным условиям строительства значение граничной наружной температуры отопительного периода tгн, °С, следует определять из уравнений тепловлажностного баланса соответствующего помещения без подачи технического тепла.

Для основных типов животноводческих и птицеводческих помещений значения tгн допускается принимать по прил. 15.

Длительность zот.пер сут, и среднюю температуру наружного воздуха tот.пер., °С, за отопительный период в зависимости от граничной температуры tгн, °С, для ряда географических пунктов СССР следует принимать по прил. 16.

Стоимость тепловой энергии Ст, руб/ГДж, в формуле [17] для животноводческих и птицеводческих зданий определяется на основе расчетных калькуляций на тепловую энергию в зависимости от источника теплоснабжения и вида топлива.

Величину Ст допускается определять по прил. 2 с коэффициентом 1,1.

При типовом проектировании ограждающих конструкций животноводческих и птицеводческих зданий основные климатологические характеристики наружного воздуха следует принимать по прил. 17 применительно к пяти условным климатическим районам со средними температурами наиболее холодной пятидневки обеспеченностью 0,92, равными соответственно -10, -20, -30, -40 и -50, При типовом проектировании затраты Сд, руб/м2, следует определять в соответствии с указаниями п. 2.5, а стоимость тепловой энергии допускается принимать равной Ст=3,94 руб/ГДж. Коэффициенты теплопроводности материалов следует принимать по прил. [3*] при условии эксплуатации Б.

Примеры расчета экономически целесообразного сопротивления теплопередаче Rоэк

Пример 1. Определить толщину наружной стены жилого здания из керамзитобетонных панелей.

Стена имеет внутренний отделочный и наружный защитно-декоративный слой из цементно-песчаного раствора с толщиной соответственно d1=l,5 см и d2=2 см. Высота здания 45 м. Установка наружных стеновых панелей производится с разрезкой на этаж.

А. Исходные данные

1. Пункт строительства - г. Хабаровск.

2. Параметры внутреннего воздуха: температура tв=18°С, относительная влажность jв=60%.

3. Влажностный режим помещения нормальный. Согласно прил. [1] и [2] принимаем условия эксплуатации Б.

4. Величины теплотехнических показателей и коэффициентов в формулах [1]-[4], [17]:

tн=-32,5°С (табл. [5*] и СНиП 2.01.01.82); n=l (табл. [3*], п,1); Dtн=6°С (табл. [2*], п.1); aв=8,7 Bт/(м2·°C) и aн=23 Вт/(м2·°С); (табл.[4*], п.1 и табл. [6*], п.1); rэф=1,1 (табл. [9а*], п.1); zот.пер=205 сут и tот.пер=10,1°С (СНиП 2.01.01.82), таблица «Температура наружного воздуха», гр. 22 и 23); Ст=5,02 руб/ГДж (принято по прил. 2).

Теплотехнические показатели материалов слоев конструкции при условии эксплуатации Б:

керамзитобетон на керамзитовом песке плотностью 1000 кг/м3, коэффициент теплопроводности 0,41 Вт/(м2·°С) - прил. [3*], п. 21; цементно-песчаный раствор плотностью 1800 кг/м3, коэффициент теплопроводности 0,93 Вт/(м2·°С) - прил. [3*], п. 71.

Б. Порядок расчета

1. Требуемое сопротивление теплопередаче по формуле [1]

 м2·°С/Вт.

2. Определяем толщину и сопротивление теплопередаче Ro первого варианта стены для расчета Rоэк по п. [2.15*].

В качестве первого варианта принимается конструкция, приведенное сопротивление теплопередаче которой Rопр равно или близко величине Rотр rэф=0,967·1,1=1,064 м2·°С/Вт (rэф принимается по табл. [9а*]).

Вычисляем толщину dк.б керамзитобетонного слоя стены, приведенное сопротивление теплопередаче которой равно 1,064 м2·°С/Вт. Подставляя в формулу

соответствующие значения величин, получим:

,

откуда dк.в=0,379 м и d (толщина стены)=0,41 м.

В вычислениях было учтено, что коэффициент теплотехнической однородности стен из однослойных панелей r=0,95.

В качестве первого варианта (с учетом унифицированной толщины) принимается стена толщиной 0,4 м (см. Прейскурант № 06-08, п. 9.61). Приведенное сопротивление теплопередаче этого варианта стены Rопр=1,032 м2·°С/Вт.

3. Определение единовременных затрат Сд для стены из керамзитобетонных панелей толщиной 0,4 м:

а) в соответствии с Прейскурантом № 06-08 г. Хабаровск относится к XI поясу и оптовая цена конструкции Ц=37,38 руб/м2 (п. 9.61);

б) Транспортные расходы по п. 2.6, б при дальности перевозки панелей - 50 км.

В данном случае: Р=0,428 т/м2; K1=1,21; Т1=0,75 руб/т; n=1; H=25%; Т2=3 руб/т; Ц1=0,8 руб/м3; V=0,4 м32.

Подставляя указанные величины в формулу (3), получим

Т=0,428[1,21·0,75+1(1+0,01·25)3]+0,8·0,4=2,31 руб/м2;

в) стоимость монтажа См стены из панелей определяем по п. 7-553 СНиП IV-5-82. ЕРЕР, Сб. № 7, См=5,26 руб/м2.

Площадь панели F=13,5 м2;  руб/м2;

г) подставляя величины Ц=37,38 руб/м2, Т=2,31 руб/м2, См=0,39 руб/м2 в формулу [17а], получим

Сд=1,25[(37,38+2,31)1,02+0,39]=51,09 руб/м2.

4. Приведенные затраты по формуле [17]

 руб/м2.

5. Аналогично определяются величины Rопр, Ц, Т, См и П для конструкций с толщинами 0,5 и 0,55 м.

Данные расчета приведены в табл. 1.

Таблица 1

Толщина конструкции, м

Rопр, м2·°С/Вт

Ц. руб/м2

Т, руб/м2

См, руб/м2

Сд, руб/м2

П, руб/м2

0,4

1,032

37,38

2,31

0,39

51,09

82,75

0,5

1,264

40,44

2,88

0,39

55,72

81,45

0,55

1,379

41,97

3,13

0,39

58,07

81,72

6. На основании данных расчета по минимуму приведенных затрат П (п. [2.15*]) принимается наружная стена из керамзитобетонных панелей толщиной 0,5 (Ro=Rоэк=1,27> Rотр=0,967 м2·°С/Вт.

Решение примера 1 на микрокалькуляторе типа «Электроника» (см. прил. 12):

а) рассчитаем Rотр по программе 1 первой группы, предположив, что величина тепловой инерции ограждения лежит в интервале (4<D<7)

23 П2 8,7 П4     0,96743286

В/О С/П 6­1­18­32,5 /-/ С/П         Rотр

б) по программам 4 и 3 первой группы рассчитаем Ro и D соответственно, назначив толщину конструкции 0.4 м

23 П

2 БП26 С/П |2| 0,035­0,93 С/П |1| 0,365­0,41

С/П С/П

2 БП12 С/П |2| 11,09 С/П 0,035­0,93 С/П |1|

6,13 С/П 0,365­0,41 С/П

Принятая в качестве tн температура наиболее холодных трех суток правильная;

в) подберем первый вариант конструкции по программам 1 и 3а третьей группы:

23П2 8,7 П4 18П5 205 П6 10,1 |-| П7 5,02 П8 0,95П9

В/О С/П 0,967¯ 1,1 С/П

2 БП06 С/П |2| 0,035­0,93 С/П |1| 0,35­

0,41 С/П  С/П

2 БП06 С/П |2| 0,035­0,93 С/П |1| 0,40­

0,41 С/П  С/П

г) в качестве первого варианта с учетом унифицированной толщины примем стену толщиной 0,4 м, для которой рассчитаем Ro по формуле 3б третьей группы.

2 БП06 С/П |2| 0,035­0,93 С/П |1| 0,365­0,41 С/П ;

д) рассчитаем транспортные расходы по программе 5 третьей группы

БП72 С/П 1­3­25 С/П 0,428­1,21­0,75 С/П 0,8­0,4 С/П

e) рассчитаем П по программе 4 третьей группы

БП30 С/П 37,38 С/П 0,39 С/П ;

ж) повторим пп. 4, 5 и 6 для конструкции с толщиной 0,45, 0,5 и 0,55 м

2 БП06 С/П |2| 0,035­0,93 С/П |1| 0,415­0,41 С/П

БП72 С/П 1­3­25 С/П 0,485­1,21­0,75 С/П 0,8­0,45 С/П

­БП30 С/П 38,91 С/П 0,39 С/П

¯2БП06 С/П |2| 0,035­0,93 С/П |1| 0,465­0,41 С/П

БП72 С/П 1­3­25 С/П 0,535­1,21­0,75 С/П 0,8­0,5 С/П

­БП30 С/П 40,44 С/П 0,39 С/П

¯2БП06 С/П |2| 0,035­0,93 С/П |1| 0,515­0,41 С/П

БП72 С/П 1­3­25 С/П 0,585­1,21­0,75 С/П 0,8­0,55 С/П

БП30 С/П 41,97 С/П 0,39 С/П

Минимум П при толщине стены 0,5 м.

Пример 2. Определить, какую из панелей наружных стен экономически целесообразно применять в жилых домах:

керамзитобетонные трехслойные панели с соединительными ребрами (жесткие связи) и утеплители из пенополистирола плотностью 40 кг/м3;

железобетонные трехслойные панели с гибкими связями и утеплителем из пенополистирола плотностью 40 кг/м3.

А. Исходные данные

1. Пункт строительства - Москва.

2. Параметры внутреннего воздуха: температура tв=18°С, относительная влажность - не нормируется.

3. Влажностный режим помещения - нормальный; условия эксплуатации Б.

4. Величины теплотехнических показателей и коэффициентов в формулах [1]-[4], [17]:

tн=-32°С (СНиП 2.01.01-82); n=1 (табл. [3*], п. 1);

Dtн=6°С (табл. [2*], п. 1); aв=8,7 Вт/(м2·°С) и aн=23 Вт/(м2·°С) (табл. [4*], п.1 и табл. [6*], п. 1); zот.пер.=213 сут и tот.пер=-3,6°С, (СНиП 2.01.01-82), Ст=3,58 руб/ГДж (по прил. 2).

Характеристики панелей и теплотехнические показатели материалов при условии эксплуатации Б и коэффициент теплотехнической однородности приведены соответственно в табл. 2 и 3. Требуемое сопротивление теплопередаче по формуле [1] равно 0,958 м2·°С/Вт

Таблица 2

Тип панелей

Плотность, кг/м3

Толщина, см

Расход на 1 м2

Бетона

Утеплителя

Панели

Бетонных слоев

Утеплителя

Бетона, м2

Стали, кг

Утеплителя, м3

На жестких связях

1400

40

30

25

5

0,209

6,5

0,031

35

25

10

0,249

6,6

0,063

40

25

15

0,289

6,7

0,095

На гибких связях

2500

40

30

20

10

0,206

7,6

0,08

35

20

15

0,206

7,7

0,121

Таблица 3

Конструкция

Толщина, см

l, Вт/(м2·°С)

Коэффициент r

Rо, м2·°С/Вт

бетона

Утеплителя

На жестких связях

30

0,65

0,05

0,6

0,926

35

0,55

1,399

40

0,48

1,701

На гибких связях

30

2,04

0,05

0,73

1,647

35

0,65

2,116

Примечание. Rо определяется по формуле [11], коэффициент теплотехнической однородности панельных трехслойных стен r - по прил. [13*].

Б. Порядок расчета

1. Рассматриваемые варианты конструкций должны удовлетворять условию Rо³Rотр (см. табл. 3).

Указанному условию удовлетворяют следующие конструкции: трехслойные на жестких связях толщиной d=35 и 40 см; трехслойные на гибких связях толщиной d=30 и 35 см.

2. Единовременные затраты Сд (стоимость конструкции «в деле») определяются по формуле [17а].

Так как в действующих прейскурантах отсутствуют оптовые цены на все рассматриваемые в примере конструкции, то вместо оптовых цен принимаются расчетные стоимости Ск (см. п. 2.5).

Транспортные расходы Т определяются по СНиП IV-4-84. Сборник сметных цен на перевозки грузов для строительства. Ч. 1. Учитываются автомобильные перевозки на условное расстояние 100 км. Расчетная стоимость Ск, и транспортные расходы Т рассматриваемых конструкций приведены в табл. 4.

Таблица 4

Трехслойные конструкции на связях

жестких

гибких

d

35

40

30

35

Ск

16,14

19,96

15,34

18,24

Т

2,55

2,95

3,66

3,66

Таблица 5

Трехслойные конструкции на связях

жестких

гибких

d

35

40

30

35

Сд

26,2

31,58

26,6

30,3

Сот

13,3

10,94

11,3

8,8

П

39,5

42,52

37,9

39,1

Стоимость монтажа См сборных железобетонных конструкций определяется по Сб. 7 ЕРЕР-84. Для рассматриваемых конструкций См=1,9 руб/м2.

3. Затраты на отопление Сот, руб/м2, за срок службы здания в соответствии с формулой [17]

Подставляя в полученное выражение величины Rо из табл. 3, получим стоимость отопления для рассматриваемых конструкций. Единовременные затраты, затраты на отопление и приведенные затраты по конструкции приведены в табл. 5.

Из анализа табл. 5 видно, что наименьшую величину приведенных затрат П имеют наружные стены из трехслойных панелей толщиной 30 см на гибких связях, которые экономически целесообразно применять в соответствии с п. [2.16*].

Пример 3. Имеется два типа трехслойных стеновых панелей серии 90 с внешним - наружным и внутренним слоями из керамзитобетона на керамзитовом песке и средним слоем из полистирольного пенопласта при соединении внешних слоев армированными керамзитобетонными ребрами по контуру панели и проема. Площадь панели F2=6,39 м2, площадь ребер F1=2,73 м2 (см. рис. 6 примера 11). Панели имеют внутренний отделочный и наружный защитно-декоративный слой из цементно-песчаного раствора толщиной 2 см. Толщины указанных панелей и их средних утепляющих слоев равны соответственно 35 и 10 см; 35 и 15 см; 40 и 12 см.

Определить, какой из двух типов панелей экономически целесообразно применить в наружных стенах жилого дома высотой 50 м, строящегося в г. Кемерове.

А. Исходные данные

1. Параметры внутреннего воздуха; температура tв=18°С; относительная влажность jв=60%.

2. Согласно прил. [1] и [2] принимаем условия эксплуатации А.

3. Величины теплотехнических показателей и коэффициентов в формулах [1]-[4], [17]:

tн=-40,5°С (табл. [5*] и СНиП 2.01.01-82); n=1 (табл. [3*], п. 1); Dtн=6°С (табл. [2*], п. 1); aв=8,7 Вт/(м2·°С) и aн=23 Вт/(м2·°С) (табл. [4*], п. 1 и табл. [6*], п. 1), zот.пер=232 сут и tот.пер=-8,8°С (СНиП 2.01.01-82.

таблица «Температура наружного воздуха», гр. 22, 23); Ст=3,11 руб/ГДж (прил. 2). Теплотехнические показатели материалов слоев конструкции при условии эксплуатации А: керамзитобетон на керамзитовом песке плотностью 1400 кг/м3, коэффициент теплопроводности 0,56 Вт/(м2·°С) (прил. [3*], п. 19), пенополистирол g=40 кг/м3, коэффициент теплопроводности 0,041 Вт/(м2·°С) (прил. [3*], п. 144), цементно-песчаный g=1800 кг/м3, коэффициент теплопроводности 0,76 Вт/(м2·°С) (прил. [3*], п. 71).

Б. Порядок расчета

1. Требуемое сопротивление теплопередаче по формуле [1]:

 м2·°С/Вт.

2. Определение единовременных затрат Сд для стены из панелей толщиной 35 см и средним утепляющим слоем 10 см:

а) В соответствии с таблицей поясного деления (см. Прейскурант № 06-08. Ч. 1) г. Кемерово относится к VII поясу. По дополнительному Прейскуранту № 06-08-1981/30 оптовая цена указанной панели для VII пояса Ц=29,87 руб/м2 (п. 9.2450);

б) транспортные расходы по п. 2.6, б при дальности перевозки панелей автомобильным транспортом 50 км.

В данном случае Р=0,37 т/м2, K1=1,11; Т1=0,75 руб/т; n=1; Н=25%; Т2=2,64 руб/т; Ц1=0,8 руб/м3; V=0,35 м32.

Подставляя указанные величины в формулу (3), получим

Т=0,37[1,11·0,75+1(1+0,01·25)2,64]+0,8·0,35=1,809 руб/м2;

в) стоимость монтажа См стены из бетонных панелей определяем по п. 7.533 СНиП IV-5-84. ЕРЕР, Сб. № 7. Затраты на установку панели равны См=5,26 руб., площадь панели F2=6,39 м2.

 руб/м2

г) подставляя величины Ц=29,87 руб/м2, Т=1,809 руб/м2; См=0,82 руб/м2 в формулу [17а], получим

Сд=1,25[(29,87+1,809)1,02+0,82]=41,416 руб/м2.

3. Определение приведенного сопротивления теплопередаче Ro стены из панелей толщиной 35 см и средним утепляющим слоем 10 см.

а) сопротивление теплопередаче панельной стены без учета теплопроводных включений по формуле [4]

 м2·°С/Вт;

б) коэффициент теплотехнической однородности r по прил. [13*] при ;

r1=0,444 (прил. 3), где табл. [1] из прил. [13*] дана более подробно; r2=0,9 (табл. [2], прил. [13*]); r=0,444·0,9=0,399;

в) приведенное сопротивление теплопередаче Ro по формуле [11]

Rо=3,025·0,399=1,207 м2·°С/Вт

4. Приведенные затраты по формуле [17]

 руб/м2.

5. Аналогично определяются величины Ro, Ц, Т, См и П для других ограждающих конструкций (данные расчета приведены в табл. 6)

Таблица 6

Толщина, см

Rопр, м2·°С/Вт

Ц. руб/м2

Т, руб/м2

См, руб/м2

Сд, руб/м2

П, руб/м2

Конструкции

Среднего утепляющего слоя

35

10

1,207

29,87

1,809

0,82

41,416

59,52

35

15

1,276

30,89

1,528

0,82

42,358

59,48

40

12

1,264

31,22

2,027

0,82

43,414

60,7

6. Из данных табл. 6 следует, что из трех указанных панелей экономически целесообразно применять в стенах жилых домов, строящихся в г. Кемерове, панели толщиной 35 см и с утеплителем толщиной 15 см (Ro=Rоэк>Rотр и приведенные затраты минимальны).

Пример 4. Определить, какие окна с деревянными переплетами экономически целесообразно применять в жилых зданиях, строящихся в г. Дмитрове Московской обл.

А. Исходные данные

1. Расчетная температура внутреннего воздуха tв=18°С.

2. Средняя температура наиболее холодной пятидневки tн=-28°С (СНиП 2.01.01-82, таблица «Температура наружного воздуха», гр. 21).

3. Величины показателей в формуле [17]: tот.пер=-3,8°С, zот.пер=217 сут (СНиП 2.01.01-82); Ст=3,58 руб/ГДж (прил. 2).

4. Отношение площади остекления к площади окна равно 0,8.

Б. Порядок расчета

1. Требуемое сопротивление теплопередаче окон Rотр=0,42 м2Х°С/Вт (табл. [9*], п. 1, гр. 3, при tв-tн=46°С).

2. Выбираем из прил. [6*] типы окон жилых зданий, имеющих Rо> Rотр учетом поз. 4 исходных данных. Для экономического расчета выбираются окна:

с двойным остеклением в деревянных раздельных переплетах (Rо=0,42 м2·°С/Вт);

с тройным остеклением в деревянных раздельно-спаренных переплетах (Ro=0,55 м2·°С/Вт).

3. Единовременные затраты Сд, руб/м2, входящие в формулу [17], определяются по сметным ценам, введенным в действие с 1 января 1982г. Для окон с двойным остеклением в деревянных переплетах единовременные затраты по формуле [17а] составляют:

Сд=1,25[(23+4,47)1,02+(0,92+3,4+1,17)]=41,9 руб/м2,

где 23 руб/м2 - сметная цена оконного блока (СНиП IV-4-84, ч. II, Строительные конструкции и детали); 4,47 руб/м2 - стоимость установки оконного блока (СНиП IV-5-84, Сб, 10. Деревянные конструкции); 0,92 руб/м2 - стоимость установки подоконных досок (СНиП IV-5-84, Сб. 10. Деревянные конструкции); 3,4 руб/м2 - стоимость остекления оконных переплетов (Прейскурант №07-27-01 «Оптовые цены на детали и конструкции из дерева строительные»); 1,17 руб/м2 - стоимость подоконной доски (СНиП IV-4-84, ч. II, Строительные конструкции и детали).

Аналогично определяются единовременные затраты Сд для других заполнений световых проемов (данные расчета приведены в табл. 7).

4. Приведенные затраты П, руб/м2, по формуле [17]

 руб/м2.

Аналогично определяются приведенные затраты П для тройного остекления световых проемов (табл. 7).

Таблица 7

Заполнение светового проема (оконные блоки)

Rопр, м2·°С/Вт

Сд, руб/м2

П, руб/м2

Двойное остекление в деревянных раздельных переплетах

0,42

41,9

87,47

Тройное остекление в деревянных раздельно-спаренных переплетах

0,55

58,3

93,05

5. Итоговые данные расчета подтверждают экономическую целесообразность применения двойного остекления в деревянных раздельных переплетах.

Определение приведенного сопротивления теплопередаче Rпр

2.8. Приведенное сопротивление теплопередаче Rопр, м2·°С/Вт, неоднородной ограждающей конструкции (или ее участка определяется по формуле

,                                                         (4)

где Q - тепловой поток через ограждающую конструкцию (или ее участок), Вт; F - площадь конструкции (или ее участка), м2; tв, и tн - температура соответственно внутреннего и наружного воздуха, °С.

В общем случае тепловой поток Q определяется по результатам численного расчета на ЭВМ температурного поля конструкции, как указано в прил. 14. В зависимости от типа ограждающей конструкции, ее неоднородностей и наличия различных примыкающих конструкций возможно использование программ для расчета двумерных или трехмерных температурных полей (примеры 5-8).

Таблица 7

Схема теплопроводного включения по прил. [5*]

lт/l

Коэффициент Кi при а/d[5*]

0,1

0,2

0,4

0,6

0,8

1

1,5

2

I

2

1,02

1,01

1,01

1,01

1

1

1

1

5

1,16

1,11

1,07

1,05

1,04

1,03

1,02

1,01

10

1,33

1,25

1,15

1,1

1,08

1,06

1,04

1,03

30

1,63

1,47

1,27

1,18

1,14

1,11

1,07

1,05

II

10-40

2,65

2,2

1,77

1,6

1,55

-

-

-

III при с/d

0,25

2

1,02

1,01

1,01

1,01

1,01

1,01

1,01

1

5

1,12

1,08

1,05

1,04

1,03

1,03

1,02

1,01

10

1,18

1,13

1,07

1,05

1,04

1,04

1,03

1,02

30

1,21

1,16

1,1

1,07

1,05

1,04

1,03

1,02

0,5

2

1,05

1,04

1,03

1,02

1,01

1,01

1,01

1,01

5

1,28

1,21

1,13

1,09

1,07

1,06

1,04

1,03

10

1,42

1,34

1,22

1,14

1,11

1,09

1,07

1,05

30

1,62

1,49

1,3

1,19

1,14

1,12

1,09

1,06

0,75

2

1,06

1,04

1,03

1,02

1,02

1,01

1,01

1,01

5

1,25

1,2

1,14

1,1

1,08

1,07

1,05

1,03

10

1,53

1,42

1,25

1,16

1,12

1,11

1,08

1,05

30

1,85

1,65

1,38

1,24

1,18

1,15

1,11

1,08

IV при с/d

0,25

2

1,03

1,02

1,02

1,01

1,01,

1,01

1

1

5

1,12

1,10

1,07

1,05

1,04

1,03

1,02

1,01

10

1,2

1,16

1,1

1,07

1,06

1,05

1,03

1,02

30

1,28

1,22

1,14

1,09

1,07

1,06

1,04

1,03

0,5

2

1,07

1,05

1,04

1,03

1,02

1,02

1,01

1,01

5

1,32

1,25

1,17

1,13

1,1

1,08

1,06

1,04

10

1,54

1,42

1,27

1,19

1,14

1,12

1,09

1,06

30

1,79

1,61

1,38

1,26

1,19

1,16

1,12

1,08

0,75

2

1,07

1,05

1,04

1,03

1,02

1,02

1,01

1,01

5

1,36

1,28

1,18

1,14

1,11

1,09

1,07

1,05

10

1,64

1,51

1,33

1,23

1,18

1,15

1,11

1,08

30

2,05

1,82

1,5

1,33

1,25

1,21

1,16

1,11

Примечание. Обозначения приняты по прил. [5*]

Для некоторых частных случаев допускается использовать упрощенные (без применения ЭВМ) методы расчета приведенного сопротивления теплопередаче неоднородной ограждающей конструкции или ее участка по формуле [11], где Rоусл определяется в соответствии с п. 2.9 (примеры 9-13).

Для неоднородных трехслойных панельных стен с теплоизоляционными вкладышами или на однотипных гибких металлических связях с равномерным шагом коэффициент теплотехнической однородности r определяется по прил. [13*] (примеры 9-11). Табл. 1 прил. (13*] в расширенном виде представлена в прил. 3.

Для неоднородных ограждающих конструкций, включающих протяженные теплопроводные включения типа I, IIа, II6, III и IV - по прил. [5*], (пример 11), коэффициент теплотехнической однородности определяется по формуле

,                                                    (5)

где F - общая площадь конструкции, м2; т - число теплопроводных включений в конструкции; ai и Li - соответственно ширина и длина i-го теплопроводного включения, м; Кi - коэффициент, зависящий от типа i-го теплопроводного включения. Для неметаллических включений определяется по табл. 7, для металлических - по формуле

.                                                           (6)

Здесь yi - коэффициент, зависящий от типа теплопроводного включения, определяемый по табл. 8, di и li - то же, что в прил. [5*]. Остальные обозначения те же, что в формуле [13].

Для ограждающих конструкций из трехслойных железобетонных панелей (с проемами или без них) с разнотипными гибкими металлическими связями коэффициент теплотехнической однородности г определяется по формуле

,                                                            (7)

где Fo - общая площадь панели без учета площади проема, м2; Fi - площадь зоны влияния i-го теплопроводного включения, м2, определяемой по формулам (8)-(11); fi - коэффициент влияния i-го теплопроводного включения, определяемый для отдельных элементов по табл. 9; n - число теплопроводных включений.

Таблица 8

Схема теплопроводного включения по прил. [5*]

Значения коэффициента y при alт/dутlут (прил. [5*])

0,25

0,5

1

2

5

10

20

50

150

I

0,024

0,041

0,066

0,093

0,121

0,137

0,147

0,155

0,19

IIб

-

-

-

0,09

0,231

0,43

0,665

1,254

2,491

III при с/d

0,25

0,016

0,02

0,023

0,026

0,028

0,029

0,03

0,03

0,031

0,5

0,036

0,054

0,072

0,083

0,096

0,102

0,107

0,109

0,11

0,75

0,044

0,066

0,095

0,122

0,146

0,161

0,168

0,178

0,194

IV при с/d

0,25

0,015

0,02

0,024

0,026

0,029

0,031

0,033

0,039

0,048

0,5

0,037

0,056

0,076

0,09

0,103

0,12

0,128

0,136

0,15

0,75

0,041

0,067

0,01

0,13

0,16

0,176

0,188

0,205

0,22

Таблица 9

Вид теплопроводного включения

Коэффициент влияния fi

Стыки

без примыкания внутренних ограждений

С примыканием внутренних ограждений

без ребер

с ребрами толщиной, мм

10

20

Rст/Rкуслi

 

 

 

 

1 и более

-

-

0,07

0,12

0,9

-

0,1

0,14

0,17

0,8

0,01

0,13

0,17

0,19

0,7

0,02

0,2

0,24

0,26

0,6

0,03

0,27

0,31

0,34

0,5

0,04

0,33

0,38

0,41

Оконные откосы

без ребер

С ребрами толщиной

10 мм

20 мм

d'ок/d'п

 

 

 

0,2

0,45

0,58

0,67

0,3

0,41

0,54

0,62

0,4

0,35

0,47

0,55

0,5

0,29

0,41

0,48

0,6

0,23

0,34

0,41

0,7

0,17

0,28

0,35

0,8

0,11

0,21

0,28

Утолщение внутреннего железобетонного слоя

 

 

 

Rу/Rкуслi

 

 

 

0,9

0,02

-

-

0,8

0,12

-

-

0,7

0,28.

-

-

0,6

0,51

-

-

0,5

0,78

-

-

Гибкие связи диаметром, мм:

 

 

 

4

0,05

-

-

6

0,1

-

-

8

0,16

-

-

10

0,21

-

-

12

0,25

-

-

14

0,33

-

-

16

0,43

-

-

18

0,54

-

-

20

0,67

-

-

Примечания: 1. В таблице приведены Rкусл, Rст, Rу - термические сопротивления, м2·°С/Вт, соответственно панели вне теплопроводного включения, стыка, утолщения внутреннего железобетонного слоя, определяемые по формуле [5]; d'ок и d'п - расстояния, м, от продольной оси оконной коробки до ее края и до внутренней поверхности панели. 2. Промежуточные значения следует определять интерполяцией.

Площадь Fi зоны влияния i-го теплопроводного включения при толщине панели dп, м, определяется по формулам:

а) для стыков длиной l, м

Fi=ldп;                                                                      (8)

б) для горизонтальных и вертикальных оконных откосов длиной соответственно l1 и l2, м

Fi=2dп(l1+l2)+pd2п;                                                       (9)

в) для теплопроводных включений прямоугольного сечения шириной а и высотой b, м

Fi=(a+2dп)(b+2dп);                                                      (10)

г) для теплопроводных включений типа «гибких связей» (распорки-шпильки, распорки-стержни и пр.)

Fi=2d2п.                                                                 (11)

2.9. Могут применяться также следующие способы определения приведенного сопротивления теплопередаче Rопр. Для ограждающих конструкций, в которых конструктивное решение отдельных слоев неоднородно (многослойная каменная стена облегченной кладки с теплоизоляционным слоем и т.п.), Rопр определяется в соответствии с пп. [2.6*, 2.8, 2.9*]. Данные Rопр и r некоторых ограждающих конструкций приведены в прил. 4.

Для ограждающей конструкции, включающей участки с различными термическими сопротивлениями, Rопр можно определять по формуле

,                                                                (12)

где Fi и Roi - соответственно площадь i-го участка ограждающей конструкции, м2, и его сопротивление теплопередаче, м2·°С/Вт;  - общая площадь конструкции, м2;

m - число участков конструкции с различными термическими сопротивлениями.

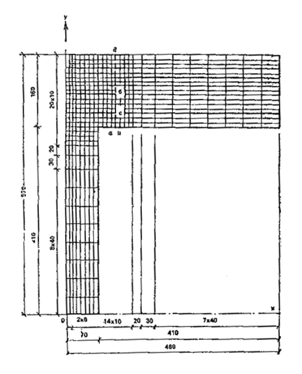
Рис. 1. Схема разбивки на расчетные участки стеновой панели для определения Rопр

A - для панели с оконным проемом; Б - для панели с проемом для окна и двери; 1, 2 - перемычка; 3, 4 - простенок; 5 - подоконный участок 6 - поддверной участок

Так, например, для стеновой панели с оконным проемом или проемом для окна и двери одна из возможных схем разбивки на расчетные участки показана на рис. 1. Определение приведенного сопротивления теплопередаче каждого участка производится на основании расчета на ЭВМ температурных полей узлов сопряжения конструктивных элементов панели или экспериментально по ГОСТ 26254-84. Приведенное сопротивление теплопередаче панели определяется на основании приведенных сопротивлений теплопередаче характерных участков по формуле

,                                              (13)

где F - площадь панели (за вычетом площади окна) по наружному обмеру, м2; F1, F2, F3, F4, F5 и R0,1пр, R0,2пр, R0,3пр, R0,4пр, R0,5пр -площади, м2, и приведенные сопротивления теплопередаче обозначенных на рис. 1 участков стены (простенка, перемычки, подоконного участка, верхних и нижних угловых участков), м2·°С/Вт.

2.10. Приведенное сопротивление теплопередаче окон, балконных дверей и фонарей определяется по прил. [6*].

Примеры расчета приведенного сопротивления теплопередаче с использованием ЭВМ

Пример 5. Требуется определить приведенное сопротивление теплопередаче неоднородной стеновой панели.

А. Исходные данные

1. Конструкция панели изображена на рис. 2. Она состоит из двух стальных профилированных листов с коэффициентом теплопроводности 58 Вт/(м·°С), между которыми размещены минераловатные полужесткие плиты плотностью 200 кг/м3 с коэффициентом теплопроводности 0,08 Вт/(м·°С). Листы соединяются между собой стальными профилями через бакелизированные фанерные прокладки толщиной 8 мм, с коэффициентом теплопроводности 0,18 Вт/(м·°С).

2. В расчете приняты следующие условия на сторонах ограждения:

снаружи - tн=-30°С и aн=23 Вт/(м2·°С);

внутри - tв=18°С и aв=8,7 Вт/(м2·°С).

Б. Порядок расчета

На процесс теплопередачи в рассматриваемой конструкции оказывают существенное влияние стальные профили, соединяющие профилированные листы обшивки друг с другом и образующие так называемые мостики холода. Для разрыва этих мостиков холода профили присоединены к листам через фанерные прокладки. Участок конструкции с ребром посередине возможно выделить для расчета температурного поля.

Температурное поле рассматриваемого участка двухмерно, так как распределение температуры во всех плоскостях, параллельных плоскости поперечного сечения конструкции, одинаково. Профили в основной части находятся на расстоянии 2 м один от другого, поэтому при расчете можно учесть ось симметрии посредине этого расстояния.

Рис. 2. Конструкция панели типа "сэндвич" и чертеж исследуемой области

1 - минераловатные плиты; 2 - профилированные стальные листы; 3 - стальные профили; 4 - фанерные прокладки

Исследуемая область (см. рис. 2) имеет форму прямоугольника, стороны которого являются естественными границами ограждающей конструкции, на которых задаются условия теплообмена с окружающей средой, а остальные две - осями симметрии, на которых возможно задавать условия полной теплоизоляции, т.е. тепловой поток в направлении оси ох, равный нулю.

Исследуемая область для расчета согласно прил. 14 была расчленена на 1215 элементарных блоков с неравномерными интервалами.

В результате расчета двухмерного температурного поля на ЭВМ получен осредненный тепловой поток, проходящий через рассчитанный участок ограждающей конструкции, равный Q=52,25 Вт, Площадь рассчитанного участка составляет f=2 м2.

Приведенное сопротивление теплопередаче рассчитанного фрагмента по формуле (4)

Rопр=(18+30)(2/52,25)=1,837 м2·°С/Вт.

Для сравнения сопротивления теплопередаче вне теплопроводного включения по формуле [4]

 м2·°С/Вт

Температура внутренней поверхности в зоне теплопроводного включения по расчету на ЭВМ равна 8,55°С. Проверим на условие выпадения конденсата. При tв=18°С и j=55% по прил. 1 температура точки росы tр=8,83°С, что выше температуры поверхности по теплопроводному включению, следовательно при расчетной температуре наружного воздуха -30°С будет выпадение конденсата и конструкция нуждается в доработке.

Расчетная температура наружного воздуха, при которой не будет выпадения конденсата, определяется по формуле (2) прил. 14.

°С

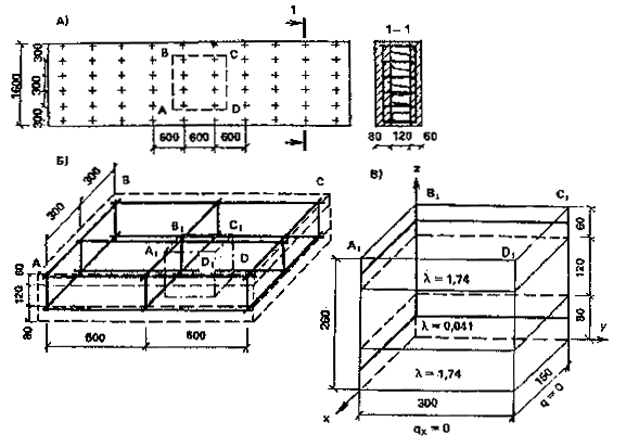
Пример 6. Определить приведенное сопротивление теплопередаче участке трехслойной ограждающей конструкции - стеновой панели с гибкими связями из металла.

А. Исходные данные

1. Конструкция панели представлена на рис. 3. Пунктиром обозначен участок конструкции, более детально приведенный на рис. 3. Между слоями бетона (1) толщиной 60 и 80 мм помещен слой утеплителя (2) из пенополистирола толщиной 120 мм. Стальные арматурные сетки (3) выполнены из стержней диаметром 6 мм с размерами ячеек 300 на 600 мм. Железобетонные слои соединены с помощью металлических стержней (4) - гибких связей, расположенных против узлов арматурных сеток. Железобетонные слои имеют коэффициент теплопроводности 1,74 Вт/(м·°С); утеплитель - 0,04 Вт/(м·°С) и стальные стержни - 58 Вт/(м·°С).

Рис. 3. Конструкция панели и схема расчета трехмерной задачи на ЭВМ

а - схема панели; б - участок ABCD, выделенный дли расчета; в - то же, A1B1С1D1 для расчета на ЭВМ

2. В расчете приняты следующие условия на поверхностях ограждения по данным эксперимента:

снаружи - tн=-20°С и aн=14,3 Вт/(м2·°С);

внутри - tв=20°С и aв=7,7 Вт/(м2·°С).

Б. Порядок расчета

Процесс теплопередачи в рассматриваемой конструкции существенно трехмерен, так как потоки тепла интенсивно распространяются по металлическим стержням, образующим каркас. Поэтому необходим расчет трехмерного температурного поля.

Выделим для расчета только часть конструкции (см. рис. 3) исходя из следующих соображений. Температурное поле симметрично относительно двух плоскостей сечений, проходящих через оси стержней гибких связей и стержней арматурной сетки. Оно также симметрично относительно двух плоскостей сечений, проходящих через середины сетки и перпендикулярных стержням. Поэтому по условию симметрии на этих плоскостях перпендикулярные плоскостям сечений тепловые потоки можно принять равными нулю.

Исследуемая область была расчленена на 4200 элементарных прямоугольных параллелепипедов параллельными плоскостями, перпендикулярными координатным плоскостям и отстоящими одна от другой на неравномерные интервалы. В результате расчета на ЭВМ получены поле температур и поле тепловых потоков. При площади поверхности рассматриваемого участка F=0,045 м2 осредненный тепловой поток составил Q=0,589 Вт и приведенное сопротивление теплопередаче, вычисленное по формуле (4), равно:

 м2·°С/Вт.

Для сравнения укажем, что приведенное сопротивление теплопередаче такого же участка панели без гибких связей составляет Rоусл=3,21 м2·°С/Вт, т.е. коэффициент теплотехнической однородности рассчитываемой панели равен r=0,95. Незначительное влияние оказывают гибкие связи рассматриваемого типа и на температуру внутренней поверхности. Так, рассчитанные температуры внутренней поверхности против стержня гибкой связи tв=18,15°С, а в точке, равноудаленной от связей tв=18,34°С, а такой же поверхности, но в конструкции без гибких связей, tв=18,38°С, т.е. наличие гибкой связи вызывает снижение температуры внутренней поверхности на 0,23°С.

Пример 7. Определить приведенное сопротивление теплопередаче экструзионной панели совмещенной крыши.

А. Исходные данные

1. Конструкция панели совмещенной крыши (рис. 4) размером 3180´3480´270 мм представляет в сечении трехслойную оболочку, Наружный и внутренний слои толщиной 50 и 60 мм из железобетона с коэффициентом теплопроводности 2,04 Вт/(м·°С). Средний теплоизоляционный слой из пенополистирольных плит с коэффициентом теплопроводности 0,05 Вт/(м·°С). Каждая из оболочек имеет параллельные один другому на расстоянии 700 мм ребра по 60 и 40 мм, доходящие до середины теплоизоляционных слоев. Направления ребер оболочек взаимно перпендикулярны и таким образом каждое ребро одной оболочки примыкает к ребру другой оболочки на площадках 60´40 мм.

2. В расчете приняты следующие условия на поверхностях ограждения

снаружи - tп=-40°С и aн=23 Вт/(м2·°С);

внутри - tв=18°С и aв=8,7 Вт/(м2·°С).

Рис. 4. Схема конструкции панели совмещенной крыши

Б. Порядок расчета

Процесс теплопередачи в такой ограждающей конструкции трехмерен, так как распределение температур определяется не только потоками тепла, перпендикулярными плоскости ограждения, но и потоками тепла в его плоскости. Поле температур симметрично относительно координатных плоскостей, поэтому для расчета возможно вырезать исследуемую область конструкции плоскостями, параллельными координатным (на рис. 4 помечено буквами ADBC). На рис. 5 аксонометрическая проекция этой части конструкции. Условия теплообмена: на плоскостях AOD'D, CC'OA, BB'D'D, CC'B'B тепловые потоки, перпендикулярные осям координат ОХ и СУ, равны нулю; на плоскостях ACBD и OC'B'D' возможно задать граничные условия второго рода - для плоскости ACBD tн=-40°С и aн=23 Вт/(м2·°С), для плоскости OC'B'D' tв=18°С и aв=8,7 Вт/(м2·°С).

Согласно принятой методике расчета трехмерного температурного поля исследуемая область расчленяется на 3528 элементарных параллелепипедов. Расчет выполняется на ЭВМ. В результате расчета получаем осредненный тепловой поток Q=3,108 Вт. Площадь рассчитанного фрагмента F=0,35·0,35=0,1225 м2.

Приведенное сопротивление теплопередаче рассчитанного участка и всей панели определяется по формуле (4)

 м2·°С/Вт

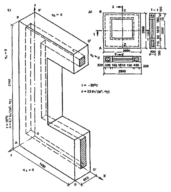
Пример 8. Определить приведенное сопротивление теплопередаче трехслойной конструкции стеновой панели с обрамляющими ребрами.

Рис. 5. Схема расчета конструкции панели совмещенной крыши

А. Исходные данные

1. Конструкция стеновой панели Н5В дома серии 90 из керамзитобетона плотностью 1400 кг/м3 с коэффициентом теплопроводности 0,65 Вт/(м·°С) приведена на рис. 6. Средний теплоизоляционный слой из пенополистирольных плит толщиной 15 см плотностью 40 кг/м3 с коэффициентом теплопроводности 0,05 Вт/(м·°С). Панель размером 2990´2900´400 мм имеет окно 1510´1510 мм.

2. В расчете приняты следующие условия на поверхностях ограждения.

снаружи tн=-30°С и aн=23 Вт/(м2·°С);

внутри tв=18°С и aв=8,7 Вт/(м2·°С).

Б. Порядок расчета

Так же, как и в предыдущем примере величину Q определяем расчетом трехмерного температурного поля. При расчете границы панели принимаем в середине вертикального и горизонтального стыков, при этом толщиной слоя раствора пренебрегаем. Таким образом, получаем высоту панели 2770 мм, ширину 2900 мм.

По условию симметрии температурного поля при расчете можно рассмотреть половину панели, расположить ее относительно осей координат, как показано на рис. 6.

Рис. 6. Схема конструкции и расчета стеновой панели с обрамляющими ребрами

а - схема панели; б - участок CBAD; выделенный для расчета на ЭВМ

Определим граничные условия. На плоскостях АОВ'B, DD'C'C, AOD'D и BB'C'C тепловые потоки равны нулю. На плоскостях AВСD и OB'C'D' - указанные выше условия теплообмена второго рода.

Согласно методике расчета исследуемая область расчленяется на 4446 элементарных параллелепипедов. В результате расчета на ЭВМ осредненный тепловой поток через поверхность Q=101,61 Вт.

Приведенное сопротивление теплопередаче (по формуле (4)):

 м2·°С/Вт

Рис. 7. Схема конструкции стеновой панели на гибких связях с расчленением на расчетные участки

Примеры расчета приведенного сопротивления теплопередаче без использования ЭВМ

Пример 9. Определить приведенное сопротивление теплопередаче Rопр трехслойной железобетонной стеновой панели дома серии 90 с гибкими связями с эффективным утеплителем.

А. Исходные данные

Схема панели представлена на рис. 7. Конструктивные слои толщиной 80 и 120 мм выполнены из тяжелого бетона плотностью 2400 кг/м3 с коэффициентом теплопроводности 1,86 Вт/(м·°С). Утеплитель толщиной 100 мм из пенополистирола марки ПСБ-С плотностью 40 кг/м3, с коэффициентом теплопроводности 0,05 Вт/(м·°С). Гибкие связи, подкосы и подвески выполнены из стальных прутков диаметром 5 и 8 мм.

В. Порядок расчета

Определим условное сопротивление теплопередаче без гибких связей

 м2·°С/Вт

Приведенное сопротивление теплопередаче панели определим путем расчленения ее на характерные расчетные участки и вычисления приведенного сопротивления участков по формуле [11]. Схема разбивки панели на расчетные участки, принятая из условия расположения связей в центрах частей участка, представлена на рис. 7. Приведенное сопротивление участков Rо,i вычисляем по прил. [13*] при расстоянии между связями 0,6 м. Величины r для диаметра связи 5 мм определим экстраполяцией табличных значений (табл. [3] прил. [13*]). Результаты расчета сведены в табл. 10.

Таблица 10

Номер участка

Количество участков

Диаметр связи d, мм

r

Площадь участка Fi, м3

Сопротивление теплопередаче участка Roi, м2·°С/Вт

Fi/Roi

1

1

5

0,78

1,33

,1,777

0,753

2

2

8

0,74

0,44

1,677

0,262

3

2

5

0,78

0,91

1,767

0,515

4

1

5

0,78

2,03

1,767

1,149

б

1

8

0,74

0,33

1,677

0,197

SFi=6,39 м2    SFi/Roi=3,65

Приведенное сопротивление теплопередаче панели вычислим по формуле (12). В результате получим Rопр=6,39/3,653=1,749 м2·°С/Вт.

Необходимо отметить, что в результате расчета двухмерных и трехмерных температурных полей характерных участков панели получены Rопр=1,654 м2·°С/Вт, а в результате теплотехнических испытаний фрагментов конструкции в климатической камере Rопр=1,72 м2·°С/Вт.

Пример 10. Определить приведенное сопротивление теплопередаче керамзитобетонной панели серии Н60-15Т с теплоизоляционными минераловатными вкладышами толщиной 100 мм.

А. Исходные данные

Конструкция панели представлена на рис. 8. Панель размером 5980Х1485Х300 мм площадью 8,88 м2 изготовлена из керамзитобетона плотностью 1200 кг/м3 с коэффициентом теплопроводности 0,44 Вт/(м·°С) на керамзитовом песке. Внутри панели вложены пять термовкладышей из минераловатных плит повышенной жесткости плотностью 200 кг/м3 с коэффициентом теплопроводности 0,07 Вт/(м·°С) размером от 680´1325´100 до 1200´1325´100 мм. По краям панели и в середине ее расположены ребра из керамзитобетона шириной от 80 до 250 мм, соединяющие слои керамзитобетона с наружной и внутренней сторон. При расчете приняты следующие коэффициенты теплоотдачи поверхностей: снаружи - 23, внутри - 8,7 Вт/(м2·°С).

Б. Порядок расчета

Расчет произведем в соответствии с прил. [13*]. Площадь ребер в панели

F1=2·5,98·0,08+2(0,25+0,14+0,08)(1,325-2·0,08)=2,04 м2;

Площадь панели f2=8,88 м2, отношение .

Рис. 8. Схема конструкции керамзитобетонной панели с теплоизоляционными вкладышами

1, 2 - перемычки; 3, 4 - обрамляющие ребра

Сопротивление теплопередаче вдали от теплопроводного включения по формуле [4]

 м2·°С/Вт

По табл. 1 прил. [13*] r1=0,46; по табл. 2 прил. [13*] r2=1. По формуле [1] прил. [13*] вычислим r=0,46·1=0,46. По формуле [11] определим приведенное сопротивление теплопередаче Rо=2,04·0,46=0,94 м2·°С/Вт.

Пример 11. Определить приведенное сопротивление теплопередаче панели с эффективным утеплителем (пенополистирол) и стальными обшивками.

А. Исходные данные

Размеры панели 6Х1 м. Конструктивные и теплотехнические характеристики панели:

толщина стальных обшивок 0,001 м, коэффициент теплопроводности l=58 Вт/(м·°С), толщина пенополистирольного утеплителя 0,1 м, коэффициент теплопроводности 0,04 Вт/(м·°С).

Отбортовка листового материала вдоль протяженных сторон панели приводит к образованию теплопроводного включения типа IIб (прил. [5*]), имеющего ширину а=0,002 м.

Б. Порядок расчета

Сопротивления теплопередаче вне Rоусл и по теплопроводному включению R'o

 м2·°С/Вт;

 м2·°С/Вт.

Значение безразмерного параметра - теплопроводного включения для табл. 8.

.

По табл. 8 по интерполяции определяем величину y

.

Коэффициент Кi по формуле (6)

.

Коэффициент теплотехнической однородности панели по формуле (5)

.

Приведенное сопротивление теплопередаче по формуле [11]

Rопр=0,426·2,66=1,133 м2·°С/Вт.

Пример 12. Определить приведенное сопротивление теплопередаче Rопр одномодульной трехслойной железобетонной стеновой панели на гибких связях с оконным проемом крупнопанельного жилого дома серии III-133.

А. Исходные данные

Панель толщиной 300 мм содержит наружный и внутренний железобетонные слои, которые соединены между собой двумя подвесками (в простенках), подкосом, расположенным в нижней зоне подоконного участка, и распорками: 10 - у горизонтальных стыков и 2 - в зоне оконного откоса (рис. 9).

В табл. 11 приведены расчетные параметры панели.

В зоне подвесок и петель фибролит заменен бетонным слоем.

Б. Порядок расчета

Конструкция ограждения содержит следующие теплопроводные включения: горизонтальные и вертикальные стыки, оконные откосы, утолщения внутреннего железобетонного слоя и гибкие связи (подвески, подкос, распорки).

Рис. 9. Конструкция трехслойной панели на гибких связях

1 - распорки; 2 - петля; 3 - подвески; 4 - бетонные утолщения (d=75 мм внутреннего железобетонного слоя); 5 - подкос

Таблица 11

Материал слоя

g0, кг/м3

lБ, Вт/м·°С

Толщина слоя, мм

Вдали от включений

В зоне подвески и петли

Горизонтальный стык

Вертикальный стык

Наружный железобетонный слой

2500

2,04

65

65.

65

65

Теплоизоляционный слой:

 

 

 

 

 

 

пенопласт

60

0,05

60

60

-

-

ФСП

 

 

 

 

 

 

фибролит

300

0,14

75

-

-

-

Минераловатные вкладыши

150

0,075

-

-

135

60

Внутренний железобетонный слой

2500

2,04

100

175

100

175

Для определения коэффициента влияния отдельных теплопроводных включений предварительно рассчитаем по формуле [5] термические сопротивления отдельных участков панели:

в зоне утолщения внутреннего железобетонного слоя

 м2·°С/Вт;

по горизонтальному стыку

 м2·°С/Вт;

по вертикальному стыку

 м2·°С/Вт;

термическое сопротивление панели вдали от теплопроводных включений

 м2·°С/Вт;

Условное сопротивление теплопередаче вдали от теплопроводных включений

 м2·°С/Вт.

Так как панель имеет вертикальную ось симметрии, то определение последующих величин осуществляем для половины панели:

Определим площадь половины панели без учета проема окна

 м2.

Толщина панели dп=0,3 м.

Определим площадь зон влияния Fi и коэффициент fi для каждого теплопроводного включения панели:

для горизонтального стыка

Rстг/Rкусл=1,881/1,817=1,04.

Так как отношение больше 1, то это теплопроводное включение в расчет не принимается;

для вертикального стыка

Rств/Rкусл=0,918/1,817=0,506.

По табл. 9 fi=0,33. Площадь зоны влияния по формуле (8) Fi=0,3·2,8=0,84 м2;

для оконных откосов при d'ок=0,065 м и d'п=0,18 м, по табл. 9 fi=0,374. Площадь зоны влияния половины оконного проема с учетом угловых участков определяется по формуле (9)

[2·0,3(1,53+1,56)+3,14·0,32]=1,069 м2;

для бетонных утолщений внутреннего железобетонного слоя в зоне подвески и петли при Rу/Rкусл=1,318/1,817=0,725, по табл. 9 fi=0,24. Суммарную площадь зоны влияния утолщений подвески и петли находим по формуле (10)

Fi=(0,6+2·0,3)(0,47+0,l)+(0,2+0,3+0,l)(0,42+0,3+0,075)=1,161 м2;

подвеску, диаметр стержня 8 мм, по табл. 9; fi=0,16, площадь зоны влияния по формуле (10)

Fi=(0,13+0,3+0,14)(0,4+2·0,3)=0,57 м2;

подкос, диаметр стержня 8 мм, по табл. 9 fi=0,16,

Fi=(0,13+0,3)(0,22+0,3+0,09)=0,227 м2.

распорку, диаметр стержня 4 мм, по табл. 9 fi=0,05 по формуле (11). При определении суммарной площади зоны влияния пяти распорок следует учитывать, что ширина зоны влияния со стороны стыка ограничена краем панели и составляет 0,09 м.

Fi=5(0,3+0,3)(0,3+0,09)=l,17 м2.

Рассчитаем r по формуле (7)

Приведенное сопротивление теплопередаче панели определим по формуле [11]

Rопр=0,696·1,975=1,375м2·°С/Вт.

Пример 13. Определить приведенное сопротивление теплопередаче Rопр многослойной асбестоцементной каркасной панели наружной стены производственного здания.

А. Исходные данные

Схема панели представлена на рис. 10. Панель размером 6´1,2´0,14 мм имеет наружные асбестоцементные слои толщиной 10 мм, деревянный каркас из брусков сечением 50Х120 мм и утеплитель из минераловатных плит плотностью 100 кг/м3. Коэффициенты теплопроводности материалов соответственно 0,52; 0,18 и 0,07 Вт/(м·°С).

Б. Порядок расчета

Расчет произведем в соответствии с [2.8]:

а) плоскостями, параллельными направлению теплового потока, условно разрезаем ограждающую конструкцию на участки (см. рис. 10, II), рассчитываем по формуле (5) термическое сопротивление участков панели с утеплителем R1 и с деревянным каркасом R2:

 м2·°С/Вт;

 м2·°С/Вт;

и определяем термическое сопротивление Rа по формуле [6]

 м2·°С/Вт;

б) плоскостями, перпендикулярными направлению теплового потока, условно разрезаем ограждающую конструкцию на участки (см. рис. 10, в), рассчитываем термические сопротивления двух однородных асбоцементных слов по формуле [3]

 м2·°С/Вт;

Рис. 10. Схема конструкции асбестоцементной каркасной панели с утеплителем

I - схема панели; II - условная разрезка на сечение параллельной плоскости панели; III - то же, на сечение перпендикулярной плоскости панели

термическое сопротивление утеплителя R1 и каркаса панели R2 по формуле [3]:

R1=0,12/0,07=1,714 м2·°С/Вт;

R2=0,12/0,18=0,667 м2·°С/Вт

и неоднородного внутреннего слоя по формуле [6]

 м2·°С/Вт.

Термическое сопротивление Rб определим по формуле [5]

Rб=R'+R''=0,038+1,439=1,477 м2·°С/Вт.

Приведенное термическое сопротивление ограждающей конструкции определим по формуле [7]

Rкпр=(1,485+2·1,477)/3=1,48 м2·°С/Вт.

Приведенное сопротивление теплопередаче по формуле [5]

Rопр=1/23+1,48+1/8,7=1,638 м2·°С/Вт.

Решение примера 13 на микрокалькуляторе типа «Электроника» (см. прил. 12).

1. Рассчитаем Rа по программе 5 первой группы

23 П2 8,7 П4

2БП49 С/П |2| 6,325 С/П 3 С/П |3| 0,01­

0,52 С/П |2| 0,12­0,07 С/П |1| 0,01­0,52 С/П

1,7527453 С/П 1,9111681 С/П |1| 0,875

С/П 3 С/П |3| 0,01­0,52 С/П |2| 0,12­

0,18 С/П |1| 0,01­0,52 С/П 0,7051282 С/П

0,86354898 С/П

2. Рассчитаем Rопр по программе 6 первой группы. Термическое сопротивление по двум однородным асбоцементным слоям определением

0ПА

1БП26 С/П |1| 0,02­ 0,52 С/П 0,0384615

ИПА+ПА 0,0384615.

Термическое сопротивление неоднородного внутреннего слоя и определяем Rб

2 БП49 С/П |2| 6,325 С/П 1 С/П |1|

0,12­ 0,07 С/П С/П С/П |1| 0,875 С/П 1

С/П |1| 0,12­ 0,18 С/П С/П С/П 1,4394002

ИПА+ПА

Приведенное термическое сопротивление Rкпр и сопротивление теплопередаче Rопр вычислим, выполнив следующую последовательность БП75 С/П (следовательно, можно продолжать вычисление) С/П  С/П

Расчет сопротивления теплопередаче покрытий теплого чердака

2.11. Требуемое сопротивление теплопередаче Rотр, м2·°С/Вт, покрытия теплого чердака1, определяется следующим образом.

_____________

1 Источниками тепла, поступающего в теплый чердак, являются нагретый воздух вытяжной вентиляции и тепло, проходящее через чердачное перекрытие, а также тепловыделения трубопроводов отопления и горячего водоснабжения.

Если tвпок³tминпок, то требуемое сопротивление теплопередаче покрытия теплого чердака Rотр определяется по формуле

Rотр=R01.                                                         (14)

Если tвпок<tминпок, то требуемое сопротивление теплопередаче покрытия теплого чердака следует определять по формуле

Rотр=R02.                                                         (15)

В формулах (14) и (15):

;                              (16)

.                     (17)

В формулах (16), (17) приняты следующие обозначения:

Rопер, Rост - сопротивление теплопередаче чердачного перекрытия и наружной стены чердака, м2·°С/Вт, рассчитываемое по проектным данным. При этом следует предусматривать равную теплозащиту наружных стен чердака и жилых помещений; aвпок - коэффициент теплоотдачи внутренней поверхности покрытия, Вт/(м2·°С), принимаемый по табл. 12; tв - расчетная температура воздуха жилого помещения, °С; tн - расчетная зимняя температура наружного воздуха (средняя температура наиболее холодной пятидневки, °С, обеспеченностью 0,92, принимаемая по СНиП 2.01.01-82 «Строительная климатология и геофизика»). При расчете теплого чердака для жилых зданий 12 этажей и более можно расчетную зимнюю температуру наружного воздуха принимать равной средней температуре наиболее холодного периода (см. СНиП 2.01.01-82); tвен - температура воздуха, поступающего в чердак из вентиляционных каналов, °С, определяемая по формуле

tвен=tв+1,                                                                  (18)

Таблица 12

Внутренняя поверхность покрытия

Коэффициенты теплоотдачи внутренней поверхности покрытия чердака aвпок, Вт/(м2·°С) при этажности здания

Плоская

8,5

9,5

10,5

11,5

Ребристая

8

8,5

9,5

10,5

С перегородками

7

7,5

8,5

9,5

Примечание. При устройстве водосточного лотка значения коэффициентов aвпок обследует принимать по п. 3.

n1 - коэффициент, учитывающий теплопоступление от труб систем отопления и горячего водоснабжения, принимается равным 1,1; при отсутствии указанных теплопоступлений следует принимать n1=l; qвен - удельные теплопоступления в чердак с воздухом вентиляции, Вт/(м2·°С), определяемые по формуле

,                                                       (19)

где G - расход воздуха (по нормам вытяжки из жилых помещений по СНиП 2.08.01-85 "Жилые здания"), м3/ч; Fпок - площадь чердачного покрытия, м2.

Таблица 13

Этажность здания

Удельные теплопоступления в чердак с воздухом вентиляции qвен, Вт/(м2·°С) из кухонь

газифицированных

электрифицированных

5

3,4

2,7

9

5,5

4,3

12

7,1

5,6

16

9,2

7,2

Для предварительных и общих расчетов рекомендуется принимать значение qвен по табл. 13 (с обеспеченностью 0,8); F'ст=Fст/Fпок" - приведенная площадь стен чердака (Fст - площадь стен чердака, м2); tминпок - допустимое минимальное значение температуры внутренней поверхности покрытия, °С; рекомендуется принимать по графику рис. 11; tчер - минимально допустимая температура воздуха на чердаке (по условию обеспечения санитарно-гигиенического состояний помещений верхнего этажа), определяемая по формуле

tчер=tв-DtнaвRопер,                                                 (20)

Рис. 11. Допустимые минимальные значения температуры внутренней поверхности - основного покрытия tminпок или холодного участка tминхол

Где Dtн - нормативный температурный перепад между температурой воздуха верхнего этажа и температурой внутренней поверхности чердачного перекрытия, °С, принимаемый по табл. [2*]; aв - коэффициент теплоотдачи внутренней поверхности перекрытия, Вт/(м2·°С), принимаемый по табл. [4*]; tвпок - температура внутренней поверхности чердачного покрытия, °С, с сопротивлением теплопередаче R01, определяемая по формуле

                                                     (21)

2.12. Экономически целесообразное сопротивление теплопередаче Roэк м2·°С/Вт, покрытия теплого чердака следует принимать равным сопротивлению теплопередаче Rопок того варианта покрытия, при котором обеспечивается наименьшая величина приведенных затрат П, руб/м2, определяемая по формуле

П=Сд+11,3·10-4qотперzот.перСт,                                      (22)

где Сд - единовременные затраты на покрытие теплого чердака, руб/м2, определяемые по п. 2.5 и [17а]; Ст - стоимость тепловой энергии, руб/ГДж, принимаемая по прил. 2; zот.пер -продолжительность отопительного периода, сут, принимаемая в соответствии с. п. [2.15*]; qотпер - средний за отопительный период тепловой поток через чердачное перекрытие, Вт/м2, определяемый по формуле

.                                     (23)

Пример 14. Расчет толщины утеплителя в двухслойных панелях покрытия теплого чердака жилого дома.

А. Исходные данные

1. Ограждающая конструкция - покрытие с несущим и утепляющим слоем из керамзитобетона на керамзитовом песке g=1200 кг/м3, l=0,44 Вт/м·°С; кровельный слой толщиной 50 мм из железобетона g=2500 кг/м3, l=1,92 Вт/м·°С. Перекрытие из однослойной железобетонной плиты толщиной 160 мм, Rол=0,920 м2Х°С/Вт.

2. Район строительства - г. Горький.

3. Объект строительства - крупнопанельный газифицированный девятиэтажный дом.

4. Параметры внутреннего воздуха: температура tв=18°С; влажностный режим помещения теплого чердака - сухой; согласно прил. [1] и [2] принимаем для ограждающих конструкций чердака условия эксплуатации А.

5. Величины теплотехнических показателей и коэффициентов: tн=-30°С (СНиП 2.08.01-89); Dtн=6°С - для стен чердака и 4°С - для внутренней поверхности чердачного перекрытия (табл. [2*], п. 1); tвен=tв+1=19°С (18); aвпер=8,7 Вт/(м2·°С), aнпер=12 Вт/(м2·°С) - для перекрытия; aвпок=9,5 Вт/(м2·°С), aнпок=23 Вт/(м2·°С) - для покрытия; удельные теплопоступления в чердак с воздухом вентиляции по табл. 13 qвен=5,5 Вт/(м2·°С); коэффициент, учитывающий теплопоступления от труб систем отопления и горячего водоснабжения n1=1; приведенная площадь наружных стен Fст=0,4; стоимость тепловой энергии Ст=3,58 руб/ГДж (по прил. 2); продолжительность и средняя температура отопительного периода zот.пер=218 сут и tот.пер= -4,7°С (СНиП 2.01.01-82).

Б. Порядок расчета

Сопротивление теплопередаче чердачного перекрытия по формуле [4]

 м2·°С/Вт.

Требуемое сопротивление теплопередаче покрытия теплого чердака по п. 2.11.

По формуле (20): tчер=18-4·8,7·0,282=8,2°С; по формуле (16)

 м2·°С/Вт

по формуле (21):

°С

По графику рис. 11 tминпок=-0,5°С, т.е. tвпок>tминпок, следовательно, Rотр=R01=0,492 м2·°С/Вт.

Экономически целесообразно сопротивление теплопередаче покрытия теплого чердака принимать по п. 2.12.

В качестве первого варианта принимаем (с учетом унифицированной толщины) покрытие с толщиной утепляющего слоя 0,2 м, так как она является минимальной по расчету на прочность и деформативность.

Определяем Rопок при толщине слоя керамзитобетона 0,2 м

 м2·°С/Вт.

По формуле (23) определяем тепловой поток qотпер через перекрытие

 Вт/м2.

По формуле [17а] определяем единовременные затраты Сд:

а) оптовая цена Ц покрытия:

Ц=12,58 руб/м2 (Прейскурант № 06-08, ч. 1 поз. 9.1568);

б) транспортные расходы Т по формуле (3) при дальности перевозки панелей покрытия 50 км. В данном случае:

Р=0,365 т/м2; K1=I; T1=0,75 руб/т; п=1;

Н=25%; T2=2,4 руб/т; Ц1=0,8 руб/м3; V=0,25 м32.

Подставляя указанные значения величин в формулу (3), получим:

Т=0,365[1·0,75+1(1+0,01·25)2,4]+0,8·0,25=1,569 руб/м2;

в) стоимость монтажа См покрытия определяем по сборнику ЕРЕР № 7 (Приложение к СНиП IV-5-84, поз. 7-230):

C'м=4,97 pyб.; F=18 м2 - площадь панели покрытия;

 руб/м2;

г) подставляя значения Ц, Т и См в формулу [17а], получим:

Сд=1,25[(12,58+1,569)1,02+0,276]=18,38 руб/м2.

Приведенные затраты по формуле (22)

П=18,38+11,3·10-4·12·96·218·3,58=29,81 руб/м2.

Аналогично делаем расчет для покрытий толщиной 0,26 и 0,27 м с толщиной утеплителя 0,21 и 0,22 м (табл. 14).

Таблица 14

Толщина покрытия, м

Rопок, м2·°С/Вт

qотпер, Вт/м2

Р, т/м2

Ц, руб/м2

Т, руб/м2

Сд, руб/м2

П, руб/м2

0,25

0,629

12,96

0,365

12,58

1,569

18,38

29,81

0,26

0,652

12,62

0,377

12,58

1,622

18,45

29,58

0,27

0,675

12,29

0,389

13,89

1,675

20,19

31,03

Расчет ограждающих конструкций производственных зданий в обычных условиях эксплуатации

2.13. С целью определения оптимальной толщины теплоизоляционного слоя для наиболее распространенных типов ограждающих конструкций производственных зданий произведена подготовительная работа, основанная на использовании районирования территории страны и таблиц экономически целесообразных толщин и сопротивлений теплопередаче.

Для определения оптимальной толщины теплоизоляционного слоя конструкции, используя прил. 5, следует:

а) определить район строительства здания по табл. 1;

б) определить номер конструкции покрытия по табл. 2 или стены по табл. 5;

в) найти по данным п. 2.13, а, б экономически целесообразную толщину dэк теплоизоляционного слоя и экономически целесообразное сопротивление теплопередаче конструкции покрытия соответственно по табл. 3 и 4 и стены по табл. 6 и 7;

г) определить толщину теплоизоляционного слоя d, удовлетворяющую требованиям п. [2.2*];

д) принять в качестве оптимальной толщины dопт теплоизоляционного слоя конструкции большую из двух величин d и dэк с учетом унификации толщин изделий и стандартных толщин утеплителей.

2.14. Конструктивное решение окон и фонарей и способ вентиляции помещений производственных зданий следует выбирать с учетом производственных выделений тепла, влаги и вредных веществ, руководствуясь прил. 6. Выбранные типы светопрозрачных ограждений проверяются по табл. [9*], а также в соответствии с п. 2.4 и примером 4.

Расчет ограждающих конструкций производственных зданий с агрессивной средой

2.15. Теплотехнический расчет ограждающих конструкций производственных зданий с агрессивными средами производится с учетом их предельного состояния, характеризующегося тем, что в толще ограждения присутствует достаточное количество соли, способное образовать насыщенный раствор в условиях допустимого увлажнения конструкции. Водорастворимые соли могут проникать в толщу ограждающих конструкций промышленных зданий, подверженных воздействию производственных аэрозолей. Состав аэрозоли, а, следовательно, и раствора солей, образующихся в толще ограждения, зависит от технологического процесса, осуществляемого в здании.

Условия эксплуатации ограждающих конструкций зданий с агрессивными средами следует принимать в зависимости от влажностного режима помещений, характеризуемого относительной влажностью внутреннего воздуха с учетом агрессивной среды, и зон влажности района строительства по прил. [2].

Относительная влажность внутреннего воздуха с учетом агрессивной среды jп, %, учитывает понижение упругости паров воды над растворами солей и определяется по формуле

,                                       (24)

где ев - упругость водяного пара внутреннего воздуха, Па, рассчитываемая по формуле

ев=0,01jвЕв;                                                       (25)

jв - относительная влажность воздуха в помещении, %; jр - относительная влажность воздуха над насыщенным водным раствором соли, %; Ев - максимальная упругость водяного пара при расчетной температуре внутреннего воздуха, Па, принимаемая по прил. 8; Ер - максимальная упругость водяного пара над насыщенным раствором соли при расчетной температуре внутреннего воздуха, Па, принимаемая по прил. 7.

Пример 15. Определить характеристику влажностного режима в производственном помещении при следующих параметрах внутреннего воздуха: tв=10°С; jв=55%; в воздухе присутствует аэрозоль сульфата натрия Na2SО4.

Без учета понижения давления паров воды над насыщенным раствором аэрозоля по табл. [1] влажностный режим в помещении сухой. Упругость водяного пара внутреннего воздуха при tв=10°С по формуле (25)

ев=0,01·1228·55=675 Па.

По прил. 7 упругость водяного пара над насыщенным раствором

Na2SО4 при tв=10°С, Еp=909,3 Па.

По формуле (24) относительная влажность внутреннего воздуха с учетом агрессивной среды

%.

т.е. с учетом понижения давления паров воды над насыщенным раствором сульфата натрия Na2SO4 влажностный режим в помещении по табл. [1] следует считать уже не сухим, а нормальным.

Пример 16. Определить температуру точки росы на внутренней поверхности наружной стены в производственном помещении при следующих параметрах внутреннего воздуха: tв=20°С; jв=50%, в воздухе присутствует аэрозоль бромистого натрия NaBr.

Без учета понижения давления паров воды над насыщенным раствором аэрозоля по табл. [1] влажностный режим в помещении сухой. По прил. 8 максимальная упругость водяного пара воздуха Е при tв=20°С равна 2338 Па, а упругость водяного пара в воздухе помещения при jв=50% по формуле (25).

ев=0,01·2338·50=1169 Па.

Температура точки росы при tв=20°С и jв=50% по прил. 1 равна tp=9,28°C.

Далее определяем температуру точки росы внутреннего воздуха с учетом понижения давления паров воды над насыщенным раствором бромистого натрия NaBr (tрр).

По прил. 7 упругость паров воды Ер над насыщенным раствором бромистого натрия NaBr при tв=20°С равна 1400 Па. По формуле (24) относительная влажность воздуха с учетом агрессивной среды

%.

т.е. с учетом понижения давления водяных паров над насыщенным раствором бромистого натрия NaBr влажностный режим в помещении следует считать уже не сухим, а мокрым.

Температура точки росы tрр над раствором соли равна температуре, при которой упругость водяных паров внутреннего воздуха ев станет равной максимальной упругости водяных паров над раствором NaBr, т.е. 1169 Па. Интерполируя данные прил. 7, находим, что ев=Ер=1169 Па при tрр=17,5°С.

Пример 17. Оценить температурно-влажностный режим помещения с наличием сернисто-кислого натрия.

При температуре внутреннего воздуха tв=20°С и относительной влажности внутреннего воздуха jр=50% упругость водяных парой ев равна 1169 Па, а упругость водяных паров над сернисто-кислым натрием Еp=1051 Па. Относительная влажность воздуха с учетом агрессивной среды в этом случае равна по формуле (24)

jр=100=111,2%>100%.

В этом случае невозможно избежать конденсации влаги на поверхности ограждающих конструкций и необходима гидро- и химзащита внутренней поверхности наружных ограждающих конструкций.

2.16. Требуемое сопротивление теплопередаче Rотр, м2·°С/Вт, ограждающих конструкций промышленных зданий с агрессивными средами (аэрозоли водорастворимых солей) следует определять по формуле [1], причем tрр для определения Dtн рассчитывается по п. 2.15.

Термическое сопротивление R, м2·°С/Вт, слоя многослойной ограждающей конструкции промышленного здания с агрессивной средой следует определять по формуле [3]. При этом расчетный коэффициент теплопроводности материала слоя, Вт/(м2·°С), принимается по прил. [3*] для условия эксплуатации, определяемого согласно п. 2.15.

Пример 18. Определить требуемое сопротивление теплопередаче панели наружной стены промышленного здания с агрессивными средами.

А. Исходные данные

Панель имеет защитный слой из тяжелого бетона плотностью 2400 кг/м3 с внутренней стороны, теплоизоляционный слой из керамзитобетона на керамзитовом песке плотностью 1000 кг/м3 и наружный фактурный слой из цементно-песчаного раствора плотностью 1800 кг/м3, место строительства г. Пермь. Параметры внутреннего воздуха; tв=20°С; jв=50%, в воздухе присутствует аэрозоль азотнокислого магния Mg(NO3)2.

Б. Порядок расчета

1) Без учета понижения давления паров воды над насыщенным раствором аэрозоля при сухом влажностном режиме в помещении и нормальной зоне влажности строительства (прил. [1]) определяем по прил. [2] условия эксплуатации рассчитываемой панели - А и соответствующие им расчетные показатели строительных материалов по прил. [3*].

Бетон l1=1,74 Вт/(м·°С), s1=16,77 Вт/(м2·°С). Керамзитобетон l2=0,33 Вт/(м·°С), s2=5,03 Вт/(м2·°С). Цементно-песчаный раствор l3=0,76 Вт/(м·°С); s3=9,51 Вт/(м2·°С).

Определяем Rотр по формуле [1], принимая расчетную зимнюю температуру наружного воздуха равной средней температуре наиболее холодных суток (tн=-39°С); нормативный температурный перепад по п. 4 табл. [2*] Dtн=10°С

 м2·°С/Вт.

Проверим правильность назначения расчетной зимней температуры наружного воздуха.

Требуемое термическое сопротивление слоя керамзитобетона

 м2·°С/Вт.

По формуле [2] рассчитываем тепловую инерцию D ограждающей конструкции D=0,04·16,69+0,454·5,03+0,026·9,51=3,199; (1,5<3,199<4), следовательно, расчетная зимняя температура для определения Rотр была выбрана правильно (см. табл. [5*]).

2) С учетом понижения давления паров воды над насыщенным раствором аэрозоля азотнокислого магния Mg(NO3)2 влажностный режим помещения мокрый (см, табл. 1), так как по формуле (24) и прил. 7

jп=%.

При этом режиме в нормальной зоне влажности строительства (прил. [1]) по прил. [2] условия эксплуатации рассчитываемой панели Б и соответствующие им расчетные показатели строительных материалов по прил. [3*].

Бетон l1=1,86 Вт/(м·°С), s1=17,88 Вт/(м2·°С). Керамзитобетон l2=0,41 Вт/(м·°С), s2=6,13 Вт/(м2·°С). Цементно-песчаный раствор l3=0,93 Вт/(м·°С); s3=11,09 Вт/(м2·°С).

Определяем Rотр по формуле [1], принимая расчетную зимнюю температуру наружного воздуха равной средней температуре наиболее холодной пятидневки (tн=-35°С) и нормативный температурный перепад по п. 6 табл. [2*] D tн= tв-tр.

По прил. 7 для азотнокислого магния Mg(NO3)2 Еp=1261 Па при tв=20°С и Еp=1659 Па при tв=25°С. Так как ев=1169 Па (см. пример 16), то экстраполяцией определяем температуру точки росы tрр=18,6°С, соответствующую этой влажности.

Следовательно, Dtн=20-18,6=1,4°С;

 м2·°С/Вт.

При этом термическое сопротивление слоя керамзитобетона в стене R2тр=4,52-0,115-0,043-0,038-0,022=4,3 м2·°С/Вт потребует при коэффициенте теплопроводности 0,41 Вт/(м·°С) толщину слоя 1,76 м, что практически не осуществимо.

Следовательно, нужно принять стену по конструкции, близкой к обычным условиям эксплуатации, но с эффективной защитой лакокрасочными или другими защитными покрытиями от непосредственного воздействия солевого раствора.

3. ТЕПЛОУСТОЙЧИВОСТЬ ОГРАЖДАЮЩИХ КОНСТРУКЦИЙ

3.1. При проектировании ограждающих конструкций с учетом их теплоустойчивости необходимо руководствоваться следующими положениями:

теплоустойчивость конструкции зависит от порядка расположения слоев материалов;

величина затухания амплитуды колебаний температуры наружного воздуха v в двухслойной конструкции увеличивается, если более теплоустойчивый материал расположен изнутри;

наличие в конструкции ограждения воздушной прослойки увеличивает теплоустойчивость конструкции. В замкнутой воздушной прослойке целесообразно устраивать отражательную теплоизоляцию;

слои конструкции, расположенные между вентилируемой наружным воздухом воздушной прослойкой и наружной поверхностью ограждающей конструкции, должны иметь минимально возможную толщину. Наиболее целесообразно выполнять эти слои из тонких металлических или асбестоцементных листов.

3.2. Теплоустойчивость ограждающей конструкции здания должна соответствовать требованиям СНиП II-3-79**; для этого определяют:

требуемую амплитуду колебаний температуры внутренней поверхности ограждающей конструкции Atвтр, °С, по формуле [18];

величину затухания расчетной амплитуды колебаний температуры наружного воздуха v в ограждающей конструкции, состоящей из однородных слоев по формуле [21], а величину v для многослойной неоднородной ограждающей конструкции с теплопроводными включениями в виде обрамляющих ребер в соответствии с ГОСТ 26253-84 (см. пример 3).

расчетную амплитуду колебаний температуры наружного воздуха Atнрасч, °С, по формуле [20] и амплитуду колебаний температуры внутренней поверхности ограждающей конструкции Atв, по формуле [19].

Если Atв£Atвтр, то ограждающая конструкция удовлетворяет требованиям норм по теплоустойчивости.

Пример 1. Определить, удовлетворяет ли требованию теплоустойчивости керамзитобетонная панель толщиной 250 мм в г. Одессе.

А. Исходные данные

1. Панель состоит из следующих слоев, считая от ее внутренней поверхности: фактурный слой из цементно-песчаного раствора плотностью 1800 кг/м3, толщиной 20 мм, керамзитобетон на кварцевом песке с поризацией плотностью 1000 кг/м3, толщиной 210 мм, наружный фактурный слой такой же, как внутренний.

2. Среднемесячная температура наиболее жаркого месяца (июль) tн=22,2°С.

3. Максимальная амплитуда суточных колебаний температуры наружного воздуха Atн=14,7°С.

4. Максимальное и среднее значения суммарной (прямой и рассеянной) солнечной радиации для вертикальных поверхностей западной ориентации Iмакс=752 Вт/м2 и Iср=182 Вт/м2.

5. Расчетная скорость ветра V=4,3 м/с.

Значения параметров пп. 2-5 определяются по СНиП 2.01.01-82.

6. Теплотехнические характеристики материалов панели выбираются по условиям эксплуатации А из прил. [3*]:

для фактурных слоев из цементно-песчаного раствора

l1=l3=0,76 Вт/(м·°С); s1=s3=9,60 Вт/(м2·°С);

для керамзитобетона на кварцевом песке с поризацией

l2=0,41 Вт/(м·°С); s2=5,49 Вт/(м2·°С).

Б. Порядок расчета

1. Термические сопротивления отдельных слоев стеновой панели:

фактурных слоев

 Вт/(м2·°С);

слоя керамзитобетона

 Вт/(м2·°С).

2. Тепловая инерция слоев и самой стены:

фактурных D1=D3=0,263<1.

3. Керамзитобетона D2=0,512·5,49=2,81

панели SDi=0,252·2+2,81=3,31.

Поскольку тепловая инерция стеновой панели Д<4, требуется расчет панели на теплоустойчивость.

4. Требуемая амплитуда колебаний температуры внутренней поверхности определяется по формуле [18]

Аtвтр=2,5-0,1(22,2-21)=2,38°С.

5. Расчетная амплитуда колебаний температуры наружного воздуха вычисляется по формуле [20]

°С,

где aн - по летним условиям вычисляется по формуле [24];

°С.

6. Коэффициент теплоусвоения наружной поверхности слоя:

для внутреннего фактурного слоя с тепловой инерцией D<1 рассчитывается по формуле [22]

 Вт/(м2·°С)

для среднего слоя из керамзитобетона, имеющего D>1, принимается равным коэффициенту теплоусвоения материала

Y2=s2=5,49 Вт/(м2·°С);

для наружного фактурного слоя с тепловой инерцией D<1 рассчитывается по формуле [23]

Вт/(м2·°С)

7. Величина затухания расчетной амплитуды колебаний температуры наружного воздуха в ограждающей конструкции вычисляется по формуле [21]

.

8. Амплитуда колебаний температуры внутренней поверхности стеновой панели определяется по формуле [19]

°С.

что отвечает требованиям СНиП II-3-79**.

Пример 2. Определить, удовлетворяет ли требованию теплоустойчивости экранированная стена с замкнутой воздушной прослойкой в г. Одессе.

А. Исходные данные

1. Стена такой же конструкции, как в примере 1, имеет с наружной стороны воздушную прослойку 60 мм, ограниченную стальным листом 8 мм.

2. Коэффициент поглощения солнечной радиации материалом наружной поверхности ограждающей конструкции для стали листовой, окрашенной белой краской r=0,45.

3. Теплотехнические характеристики и климатические данные по летним условиям принимаются как в предыдущем примере. Коэффициент теплоусвоения воздушной прослойки s4=0, стального листа s5=126,5 Вт/(м2·°С).

Б. Порядок расчета

1. Термические сопротивления слоев стены:

фактурных R1=R3=0,0263 м2·°С/Вт;

керамзитобетона R2=0,512 м2·°С/Вт;

воздушной прослойки R4=0,14 м2·°С/Вт;

стального листа R5=0,08/0,58=0,0014 м2·°С/Вт.

2. Тепловая инерция слоев стены:

фактурных D1=D3=0,0263·9,60=0,252<1;

керамзитобетона D2=0,512·5,49=2,81;

воздушной прослойки D4=0;

металлического экрана D5=0,177;

стены D=SDi=0,252·2+2,81+0,177=3,48<4, т.е. требуется проверка на теплоустойчивость.

3. Значения требуемой амплитуды колебаний температуры внутренней поверхности стены Аtвтр и расчетной амплитуды колебаний температуры наружного воздуха тоже, что в предыдущем примере,

Аtвтр=2,38, Аtнрасч=15°С

4. Коэффициент теплоусвоения наружных поверхностей слоев:

внутреннего фактурного слоя, среднего слоя керамзитобетона и наружного фактурного слоя Y1, Y2 и Y3, как в примере 1;

воздушной прослойки (s4=0)

 Вт/(м2·°С);

металлического экрана (s5=126,5; s4=0)

 Вт/(м2·°С).

5. Величина затухания расчетной амплитуды колебаний температуры наружного воздуха для вентилируемой ограждающей конструкции определяется по формуле [21]:

Рис. 12. Схема конструкции панели из керамзитобетона с термовкладышами из газобетона

Амплитуда колебаний температуры внутренней поверхности стеновой панели определяется по формуле [19]

°С.

что отвечает требованиям СНиП II-3-79**.

Пример 3. Определить, удовлетворяет ли требованию теплоустойчивости панель (рис. 12) из керамзитобетона на кварцевом песке с поризацией плотностью 1200 кг/м3, толщиной 260 мм, имеющей термовкладыш из газобетона плотностью 300 кг/м3, толщиной 70 мм в г. Ростове-на-Дону,

А. Исходные данные

1. Среднемесячная температура наиболее жаркого месяца (июль) tн=22,9°С.

2. Максимальная амплитуда суточных колебаний температуры наружного воздуха Аtн=20,8°С.

3. Максимальное и среднее значения суммарной (прямой и рассеянной) солнечной радиации для вертикальных поверхностей западной ориентации Iмакс=764 Вт/м2 и Iср=184 Вт/м2.

4. Расчетная скорость ветра V=3,6 м/с.

Значения параметров в пп. 1-4 определяются по СНиП 2.01.01-82.

5. Теплотехнические характеристики материалов панели выбираются по условиям эксплуатации А по прил. [3*]:

для керамзитобетона на кварцевом песке с поризацией

l1=0,52 Вт/(м·°С), s1=6,77 Вт/(м2·°С);

для газобетона l2=0,11 Вт/(м·°С); s2=l,68 Вт/(м2·°С).

Б. Порядок расчета

1. Термические сопротивления отдельных слоев стеновой панели:

для керамзитобетона R1=0,1/0,52=0,192 м2·°С/Вт;

для газобетона R2=0,07/0,11=0,636 м2·°С/Вт;

для керамзитобетона R3=0,09/0,52=0,173 м2·°С/Вт.

2. Тепловая инерция каждого слоя:

D1=0,192·6,77=1,299;

D2=0,636·1,68=1,068;

D3=0,173·6,77=1,171

и всей панели SDi=1,299+1,068+1,171=3,538<4 и требуется расчет панели на теплоустойчивость.

3. Так как D1, D2, D3>1, то коэффициенты теплоусвоения слоев панели принимаются равными коэффициентам теплоусвоения материалов

Y1=Y3=s1=6,77 и Y2=s2=1,68 Вт/(м2·°С).

4. Требуемая амплитуда колебаний температуры внутренней поверхности определяется по формуле [18]

Atвтр=2,5-0,1(22,9-21)=2,3°С.

5. Расчетная амплитуда колебаний температуры наружного воздуха вычисляется по формуле [20]

°С,

где aн - по летним условиям вычисляется по формуле [24]:

 Вт/(м2·°С).

6. Величина затухания расчетной амплитуды колебаний температуры наружного воздуха в ограждающей конструкции вычисляется по формуле [21]

7. Так как тепловая инерция участка панели со сквозными ребрами >1

Dp=3,385>l, то значение Yр=sр=6,77.

8. Величина затухания расчетной амплитуды колебаний температуры наружного воздуха для участка панели со сквозными ребрами

.

9. Площадь участка панели с термовкладышем:

f1=2,76·2,78-1,56·1,7=5,02 м2;

То же, с ребрами

F2=2,96·2,98-5,02-1,36·1,50=1,76 м2.

Их отношение f=1,76:5,02=0,35.

10. Величину затухания амплитуды колебаний наружного воздуха для неоднородной ограждающей конструкции с одним видом включения определяют по формуле, приведенной в ГОСТ 26253-84:

.

где f=F2/F1 - отношение площади участка конструкции с ребрами F2 к площади участка с термовкладышами F1; v1 и v2; D1 и D2 - соответственно величина затухания расчетной амплитуды колебаний температуры наружного воздуха и тепловая инерция участков конструкции.

11. Амплитуда колебаний температуры внутренней поверхности стеновой панели определяется по формуле [19]

.

что отвечает требованиям СНиП II-3-79**.

Пример 4. Определить, удовлетворяет ли требованиям теплоустойчивости трехслойная железобетонная панель плотностью 2500 кг/м3 (2 слоя 60 и 80 мм) с ребрами из керамзитобетона на кварцевом песке с поризацией плотностью 800 кг/м3 сечением 40´80 мм и с утеплителем из плит полужестких минераловатных на крахмальном связующем плотностью 200 кг/м3 и толщиной 80 мм в г. Ростове-на-Дону (рис. 13).

А. Исходные данные

Рис. 13. Схема трехслойной железобетонной панели с ребрами из керамзитобетона и с утеплителем из минераловатных плит

1 - керамзитобетон; 2 - железобетон

1. Среднемесячная температура наиболее жаркого месяца (июль) tн=22,9°С.

2. Максимальная амплитуда суточных колебаний температуры наружного воздуха Аtн=20,8°С.

3. Максимальное и среднее значение суммарной (прямой и рассеянной) солнечной радиации для вертикальных поверхностей западной ориентации Iмакс=764 Вт/м2 и Iср=184 Вт/м2.

4. Расчетная скорость ветра V=3,6 м/с.

Значения параметров в пп. 1-4 определяются по СНиП 2.01.01-82.

5. Теплотехнические характеристики материалов панели выбираются по условиям эксплуатации А:

для железобетона l1=l,92 Вт/(м·°С), s1=17,98 Вт/(м2·°С);

для керамзитобетона на кварцевом песке с поризацией l2=0,29 Вт/(м·°С), s2=4,13 Вт/(м2·°С);

для минераловатных плит l3=0,076 Вт/(м·°С); s3=1,01 Вт/(м2·°С).

Б. Порядок расчета

1. Термические сопротивления отдельных слоев участка панели с утеплителем:

для железобетона R1=0,08/l,92=0,0417 м2·°С/Вт;

для минераловатных плит R2=0,08/0,076=1,05 м2·°С/Вт;

для железобетона R3=0,06/1,92=0,0312 м2·°С/Вт.

2. Тепловая инерция участка панели с утеплителем:

D1=0,0417·17,98=0,75;

D2=1,05·1,01=1,06;

D3=0,0312·17,98=0,56.

Суммарное значение тепловой инерции участка панели с утеплителем

D=0,75+1,06+0,56=2,37.

3. Коэффициент теплоусвоения наружной поверхности слоя Y:

для внутреннего слоя с тепловой инерцией D<1 рассчитывается по формуле [22]

 Вт/(м2·°С)

для утеплителя, имеющего D>1, принимается равным коэффициенту теплоусвоения материала Y2=s2=1,01 Вт/(м2·°С);

для наружного слоя с тепловой инерцией D<1 определяется расчетом по формуле [23]

 Вт/(м2·°С)

4. Величина затухания расчетной амплитуды колебаний температуры наружного воздуха для участка панели с утеплителем по формуле [21]

.

5. Термические сопротивления отдельных слоев участка панели с ребрами R1 и R3 определяются так же, как в примере 1; для керамзитобетонных ребер R2=0,08/0,29=0,276 м2·°С/Вт

6. Тепловая инерция участка панели с ребрами D1 и D3 определяется так же, как в примере п. 2, D2=0,276·4,13=1,14. Суммарное значение тепловой инерции участка панели с ребрами

D=0,75+1,14+0,56=2,45.

7. Коэффициент теплоусвоения участка панели с ребрами:

для внутреннего слоя определяется так же, как в п. 3;

для керамзитобетонных ребер, имеющих D>1, принимается равным коэффициенту теплоусвоения материала

Y2=sp=4,13;

для наружного слоя с тепловой инерцией D<1 определяется расчетом по формуле [23]

.

8. Величина затухания расчетной амплитуды колебаний температуры наружного воздуха для участка панели с ребрами

.

9. Площадь участков панели с утеплителем:

F1=2,88·2,9- 1,44·1,58=6,1 м2;

площадь участков панели с ребрами:

F2=2,96·2,98-6,1-1,36·1,5=0,71 м2;

отношение площадей участков панели:

f=0,71/6,1=0,116.

10. Величину затухания расчетной амплитуды колебаний температуры наружного воздуха для неоднородной ограждающей конструкции с одним видом включения определяют по формуле ГОСТ 26253-84 (см. п. 10 примера 3)

.

11. Требуемая амплитуда колебаний температуры внутренней поверхности определяется по формуле [18]

Аtвтр=2,5-0,1 (22,9-21)=2,3°С.

12. Расчетная амплитуда колебаний температуры наружного воздуха вычисляется по формуле [20]:

°С,

где aн - по летним условиям вычисляется по формуле [24]:

 Вт/(м2·°С).

13. Амплитуда колебаний температуры внутренней поверхности стеновой панели определяется по формуле [19]:

.

что отвечает требованиям СНиП II-3-79**.

4. ТЕПЛОУСВОЕНИЕ ПОВЕРХНОСТИ ПОЛОВ

4.1. Теплоусвояемость полов (см. п. [4.1]) зданий должна соответствовать требованиям СНиП 11-3-79** и определяется следующим образом:

показатель теплоусвоения поверхности пола Yп* находят по [4.2];

если расчетная величина Yп показателя теплоусвоения поверхности пола окажется не более нормативной величины Yпн, установленной табл. [11*], то этот пол удовлетворяет требованиям в отношении теплоусвоения;

если Yп>Yпн ,то следует взять другую конструкцию пола или изменить толщины некоторых его слоев и т.д. (см. пример 2).

4.2. Теплотехническая характеристика пола в местах отдыха животных при содержании их без подстилки определяется вычисляемым в соответствии с требованиями пункта [4.2] показателем теплоусвоения поверхности пола Yп, который должен быть не более нормативной величины, принимаемой равной: для крупного рогатого скота молочного направления и молодняка до четырехмесячного возраста (крупного рогатого скота и свиней) - 12,5 Вт/(м2·°С); для откормочных животных с четырехмесячного возраста (свиней - 17 Вт/(м2·°С) и крупного рогатого скота - 15 Вт/(м2·°С).

Примечание. В разд. [3] и [4] представлена единая методика оценки теплоустойчивости ограждающих конструкций и теплоусвоения поверхности полов. Причем показатель теплоусвоения материала при расчете полов берется удвоенным по сравнению с принимаемым при расчете теплоустойчивости и равным по своей величине коэффициенту тепловой активности пола, при этом период тепловых воздействий условно принимается равным б ч вместо 24 ч.

Расчетные коэффициенты теплопроводности материалов слоев конструкции пола в местах отдыха животных следует принимать при эксплуатационной влажности этих материалов, но не выше, чем при условиях эксплуатации Б по прил. [3*]. В случае применения специальных гидрофобизированных материалов допускается принимать указанные характеристики при условиях эксплуатации А.

Пример 1. Определить, удовлетворяет ли в отношении теплоусвоения требованиям СНиП II-3-79** пол на участках с постоянными рабочими местами в отапливаемых помещениях производственных зданий, где выполняются физические работы средней тяжести (категория II). Конструкция пола-линолеум на тканевой подоснове, наклеенный холодной водостойкой мастикой на цементную стяжку, уложенную на теплозвукоизоляционный слой над железобетонной плитой перекрытия. Теплотехнические характеристики отдельных слоев конструкции пола (при их нумерации сверху вниз) даны в табл. 15.

Тепловая инерция слоев пола по формуле [2]

D1=R1·s1=0,009·7,52=0,068;

D2=R2·s2=0,0059·4,56=0,027;

D3=R3·s3=0,026·9,6=0,25;

D4=R4·s4=0,027·2,44=0,065;

D5=R5·s5=0,073·17,98=1,31.

Таблица 15

Номер слоя

Материал

Толщина слоя d, м

Плотность материала в сухом состоянии g0, кг/м3

Коэффициенты при условиях эксплуатации А

Термическое сопротивление R, м2·°С/Вт

Теплопроводности l, Вт/(м·°С)

Теплоусвоения s, Вт/(м2·°С)

1

Покрытие из линолеума

0,003

1600

0,33

7,52

0,009

2

Прослойка из битумной мастики

0,001

1000

0,17

4,56

0,0059

3

Стяжка из цементно-песчаного раствора марки 150

0,02

1800

0,76

9,6

0,026

4

Теплозвукоизоляционный слой из поризованного раствора

0,004

600

0,15

2,44

0,027

5

Железобетонная плита перекрытия

0,14

2500

1,92

17,98

0,073

Так как суммарная тепловая инерция первых четырех слоев

D1+D2+D3+D4=0,068+0,027+0,25+0,065=0,409<0,5,

но суммарная тепловая инерция пяти слоев 0,409+1,31=1,72>0,5, то в соответствии с п. [4.2, б] показатель теплоусвоения поверхности пола определяем последовательно расчетом показателей теплоусвоения поверхностей слоев конструкции пола по формулам [28]-[28а], начиная с четвертого:

 Вт/(м2·°С);

 Вт/(м2·°С);

 Вт/(м2·°С);

 Вт/(м2·°С).

Значение показателя теплоусвоения поверхности пола по табл. [11*] не должно превышать Yпн=17 Вт/(м2·°С). Расчетное значение показателя теплоусвоения данной конструкции пола составляет 16,9 Вт/(м2·°С), следовательно, рассматриваемая конструкция пола в отношении теплоусвоения удовлетворяет нормативным требованиям.

Пример 2. Определить, удовлетворяет ли в отношении теплоусвоения требованиям СНиП II-3-79** конструкция пола жилого здания из поливинилхлоридного линолеума на теплозвукоизолирующей подоснове из стеклянного волокна, наклеенного холодной битумной мастикой на железобетонную плиту перекрытия. Теплотехнические характеристики отдельных слоев конструкции пола (при их нумерации сверху вниз) даны в табл. 16.

Таблица 16

Номер слоя

Материал

Толщина слоя d, м

Плотность материала в сухом состоянии g0, кг/м3

Коэффициенты при условиях эксплуатации А

Термическое сопротивление R, м2·°С/Вт

Теплопроводности l, Вт/(м·°С)

Теплоусвоения s, Вт/(м2·°С)

1

Лицевой слой из линолеума

0,0015

1600

0,33

7,52

0,0045

2

Подоснова

0,002

150

0,047

0,92

0,043

3

Битумная мастика

0,001

1000

0,17

4,56

0,0059

4

Плита перекрытия

0,14

2400

1,74

16,77

0,08

Определим тепловую инерцию слоев пола по формуле [2]:

D1=R1·s1=0,0045·7,52=0,034;

D2=R2·s2=0,0043·0,92=0,04;

D3=R3·s3=0,059·4,56=0,027;

D4=R4·s4=0,08·16,7=1,34.

Так как суммарная тепловая инерция первых трех слоев D1+D2+D3=0,034+0,04+0,027=0,101<0,5, но суммарная тепловая инерция четырех слоев 0,101+1,34=1,441>0,5, то показатель теплоусвоения поверхности пола определяем последовательно с учетом четырех слоев конструкции пола с помощью формул [28] и [28 а], начиная с третьего:

 Вт/(м2·°С);

 Вт/(м2·°С);

 Вт/(м2·°С).

Значение показателя теплоусвоения поверхности пола для жилых зданий по табл. [11*] не должно превышать Yпн=12 Вт/(м2·°С), а расчетное значение показателя теплоусвоения данной конструкции пола составляет Yп=13,2 Вт/(м2·°С).

Следовательно, рассматриваемая конструкция пола в отношении теплоусвоения не удовлетворяет требованиям главы СНиП II-3-79**. Определим показатель теплоусвоения поверхности данной конструкции пола в том случае, если по плите перекрытия будет устроена стяжка из шлакопемзобетона (d=0,02 м, g=1200 кг/м3, l=0,37 Вт/(м·°С), s=5,83 Вт/(м2·°С), R=0,054 м2·°С/Вт, D=0,315). Конструкция пола в этом случае будет состоять из пяти слоев.

Так как суммарная тепловая инерция первых четырех слоев D1+D2+D3+D4=0,034+0,04+0,027+0,315=0,416<0,5, но суммарная тепловая инерция пяти слоев 0,416+1,34=1,756>0,5, то показатель теплоусвоения поверхности пола определяется с учетом пяти слоев конструкции пола.

Определим показатель теплоусвоения поверхности четвертого, третьего, второго и первого слоев пола по формулам [28], [28а]:

 Вт/(м2·°С);

 Вт/(м2·°С);

 Вт/(м2·°С);

 Вт/(м2·°С).

Таким образом, устройство по плите перекрытия стяжки из шлакопемзобетона (g0=1200 кг/м3) толщиной 20 мм уменьшило значение показателя теплоусвоения поверхности пола с 13,2 до 9,4 Вт/(м2·°С). Следовательно, эта конструкция пола в отношении теплоусвоения удовлетворяет нормативным требованиям, так как значение показателя теплоусвоения поверхности не превышает Yпн=12 Вт/(м2·°С) нормируемого показателя теплоусвоения пола для жилых зданий.

Пример 3. Определить, удовлетворяет ли нормативным требованиям в отношении теплоусвоения [п. 4.1] конструкция пола в местах отдыха животных - коров молочного направления, состоящая, из резиновых плит, наклеенных резинобитумной мастикой по слою гидрофобизированного керамзитобетона, уложенного по грунту. Теплотехнические характеристики отдельных слоев конструкции пола (при их нумерации сверху вниз) даны в табл. 17.

Таблица 17

Номер слоя

Материал

Толщина слоя d, м

Плотность материала в сухом состоянии g0, кг/м3

Коэффициенты при условиях эксплуатации А

Термическое сопротивление R, м2·°С/Вт

Теплопроводности l, Вт/(м·°С)

Теплоусвоения s, Вт/(м2·°С)

1

Резиновая плита

0,015

1200

0,35

6,4

0,043

2

Резинобитумная мастика

0,003

1400

0,27

6,8

0,011

3

Керамзитобетон гидрофобизированный

0,08

1000

0,33

5,03

0,042

Примечание. Поскольку для третьего слоя пола предусмотрен гидрофобизированный керамзитобетон, его расчетные коэффициенты теплопроводности l3 и теплоусвоения s3 приняты по прил. [3*] при условиях эксплуатации А.

Порядок расчета

Тепловая инерция слоев пола по формуле [2]

D1=R1s1=0,0043·6,4=0,275;

D2=R2s2=0,011·6,8=0,075;

D3=R3s3=0,242·5,03=1,217.

Так как суммарная тепловая инерция первых двух слоев D1+D2=0,275+0,075=0,35<0,5, но суммарная тепловая инерция трех слоев 0,35+1,217=1,567<0,5, то определяем последовательно снизу вверх показатели теплоусвоения поверхности слоя пола начиная со второго слоя по формулам [28] и [28а]:

 Вт/(м2·°С);

 Вт/(м2·°С).

Показатель теплоусвоения поверхности рола в местах отдыха животных для коров молочного направления по п. 4.2 не должен превышать нормативной величины Yпн=12,3 Вт/(м2·°С).

Так как расчетное значение показателя теплоусвоения рассматриваемой конструкции пола Yп=12·22< Yпн=12,3 Вт/(м2·°С), то конструкция пола в отношении теплоусвоения удовлетворяет нормативным требованиям,

5. СОПРОТИВЛЕНИЕ ВОЗДУХОПРОНИЦАНИЮ ОГРАЖДАЮЩИХ КОНСТРУКЦИЙ

5.1. Воздухоизоляционные свойства строительных материалов и конструкций характеризуются сопротивлением их воздухопроницанию Rп, м2·ч/кг, при Dр=10 Па.

Сопротивление воздухопроницанию материалов ограждающих конструкций и заполнений световых проемов принимается по прил. [9] и [10*].

Примечание. Величину сопротивления воздухопроницанию Rи при иной, отличной от указанной в прил. 9, толщине слоя допускается принимать прямо пропорционально толщине.

5.2. Сопротивление воздухопроницанию ограждающей конструкции (массивной или светопрозрачной) согласно требованиям СНиП II-3-79** рассчитывается следующим образом:

а) определяют разность давления воздуха Dр на наружной и внутренней поверхностях ограждающей конструкции по формуле [30];

б) по табл. [12*] устанавливают нормативное значение воздухопроницаемости ограждения Gн для данного вида здания с учетом района строительства;

в) определяют требуемое сопротивление воздухопроницанию Rитр заполнений световых проемов (окон, балконных дверей и фонарей) по формуле [33], а для других ограждающих конструкций - по формуле [29];

г) требуемое сопротивление воздухопроницанию ограждающей конструкции Rитр сравнивают с сопротивлением воздухопроницанию рассматриваемой конструкции Rи. Величина Rи для заполнения светового проема устанавливается по данным проектной документации или по прил. [10*]. Для других ограждающих конструкций Rи рассчитывают по формуле [32].

Если Rи³Rитр, то рассматриваемая конструкция удовлетворяет СНиП II-3-79 ** в отношении сопротивления воздухопроницанию. В случае, если Rи<Rитр, то принимается другая конструкция, для которой Rи³Rитр.

Пример 1. Определить, удовлетворяют ли в отношении сопротивления воздухопроницанию требованиям СНиП II-3-79** деревянные окна с тройным остеклением в раздельно-спаренных переплетах (ГОСТ 16289-86) в 12-этажном здании высотой Н=34,8м в г. Уфе.

Порядок расчета

Для г. Уфы согласно СНиП 2.01.01-82 средняя температура наиболее холодной пятидневки при обеспеченности 0,92 (расчетная температура наружного воздуха при расчете конструкций на воздухопроницаемость) равна -35°С, а расчетная температура внутреннего воздуха равна 18°С.

Вычисляем удельный вес наружного и внутреннего воздуха по формуле [31]

Определяем расчетную разность давлений воздуха на наружной и внутренней поверхностях окна на первом этаже здания Dр по формуле [30]

Dр=0,55 Н(gн-gв)+0,03gнv2=0,55·34,8(14,55-11,9)+0,03·14,55·5,52=63,92 Па.

Находим требуемое сопротивление воздухопроницанию окон в рассматриваемом доме по формуле [33]

 м2·ч/кг

при Dро=10 Па.

В соответствии с прил. [10*] окна с тройным остеклением в раздельно-спаренных переплетах имеют сопротивление воздухопроницанию при одном ряде уплотняющих прокладок из пенополиуретана и при Rи=0,3 м2·ч/кг, а при двух рядах тех же прокладок Rи=0,44 м2·ч/кг.

Величина Rи=0,44 м2·ч/кг превышает, следовательно окна рассматриваемой конструкции с двумя рядами прокладок удовлетворяют требованиям СНиП II-3-79**.

Пример 2. Определить, удовлетворяют ли в отношении сопротивления воздухопроницанию требованиям СНиП II-3-79** наружные стены крупнопанельного жилого дома, возводимого в г. Каунасе. Высота здания 15 м. Наружные стеновые панели из неавтоклавного пенобетона плотностью gо=800 кг/м3. Толщина стеновой панели d=0,24 м.

Порядок расчета

Средняя температура наиболее холодной пятидневки при обеспеченности 0,92 и скорости ветра в соответствии с СНиП 2.01.01-82 составляют tн(5)=-20°С и v=4,9 м/с. Расчетная температура внутреннего воздуха равна 18°С. Сопротивление воздухопроницанию слоя неавтоклавного бетона толщиной 0,1 м согласно прил. [9] равно 196 м2·ч·Па/кг. Сопротивление воздухопроницанию стены (d=0,24 м), вычисленное согласно п. 5.1, составляет

 м2·ч·Па/кг.

Вычисляем удельный вес наружного и внутреннего воздуха по формуле [31]

Определяем расчетную разность давлений воздуха на наружной и внутренней поверхностях стены Dр по формуле [30]

Dр=0,55 Н(gн-gв)+0,03gнv2=0,55·15(13,69-11,9)+0,03·13,69·4,92=24,63 Па.

В соответствии с табл. [12*] нормативная воздухопроницаемость рассматриваемого ограждения Gн=0,5 кг/(м2·ч). По формуле [29] определим требуемое сопротивление воздухопроницанию стены

 м2·ч·Па/кг.

Поскольку Rп=470>Rитр=49,3 м2·ч·Па/кг, стена по воздухопроницаемости удовлетворяет требованиям СНиП II-3-79**.

Пример 3. Требуется проверить возможность применения окон с двойным остеклением в деревянных спаренных переплетах в производственном здании высотой 12 м с незначительными избытками явного тепла, расположенном в г. Горьком.

А. Исходные данные

Температура внутреннего воздуха tв=18°С, gв=11,9 Н/м3, определяется по формуле [31].

Средняя температура наиболее холодной пятидневки tн составляет -30°С, расчетная скорость ветра v=5,1 м/с (СНиП 2.01.01-82), gн=14,25 Н/м3 (формула [31]). Согласно прил. [10*] сопротивление воздухопроницанию окон данного типа составляет Rи=0,16 м2·ч/кг.

Б. Порядок расчета

Определяем разность давлений по обе стороны окна на первом этаже здания по формуле [30]

Dр=0,55·12(14,25-11,9)+0,03·14,25·5,1=26,4 Па.

Нормативная воздухопроницаемость окна, установленная по табл. [12*], составляет 15 кг(м2·ч). Находим требуемое сопротивление воздухопроницанию окна по формуле [33]

 м2·ч/кг

Так как величина сопротивления воздухопроницанию удовлетворяет нормам, следовательно, рассматриваемое окно по его воздухо-изоляционным свойствам может быть применено в данных условиях эксплуатации.

Пример 4. Требуется проверить возможность применения окон с одинарными переплетами из гнутосварных стальных профилей, остекленных стеклопакетами (серия 1.436.3-21) в производственном здании высотой 18 м, с незначительными избытками явного тепла, расположенном в г. Мурманске.

А. Исходные данные

Температура внутреннего воздуха tв=18°С, gв=11,9 Н/м3 (формуле [31]).

Средняя температура наиболее холодной пятидневки составляет минус 27°С, расчетная скорость ветра V=7,5 м/с (СНиП 2.01.01-82), gн=14,07 Н/м (формула [31]).

Сопротивление воздухопроницанию окон по прил. [10*] принимается как для окон с деревянными спаренными переплетами, имеющими уплотнительные прокладки из губчатой резины Rи=0,16 м2·ч/кг с коэффициентом 0,8, Rи=0,13 м2·ч/кг.

Б. Порядок расчета

Определяем разность давлений по обе стороны окна на первом этаже здания по формуле [30].

Dр=0,55·18(14,07-11,09)+0,03·14,07·7,52=50,5 Па.

Согласно данным табл. [12*] нормативная воздухопроницаемость окон для данных условий эксплуатации составляет 15 кг/(м2·ч).

Находим требуемое сопротивление воздухопроницанию окна по формуле [33]

 м2·ч/кг

Следовательно, рассматриваемое окно с одинарным переплетом не удовлетворяет нормативным требованиям. В данном случае, учитывая большую высоту здания и его расположение в районе со значительным скоростным напором ветра, может быть рекомендовано применение окна с раздельными переплетами из гнутосварных профилей той же серии.

Согласно прил. [10*] сопротивление воздухопроницанию окон с раздельными металлическими переплетами составляет Rи=0,26´0,8=0,21 м2·ч/кг, что больше Rи=0,20 м2·ч/кг. Данный вариант удовлетворяет нормативным требованиям по воздухопроницаемости.

6. СОПРОТИВЛЕНИЕ ПАРОПРОНИЦАНИЮ ОГРАЖДАЮЩИХ КОНСТРУКЦИЙ

6.1. Расчет требуемого сопротивления паропроницанию ограждающей конструкции (в пределах от внутренней поверхности до плоскости возможной конденсации) производится по СНиП II-3-79**, разд. [6] с учетом следующих требований:

а) упругости водяного пара Е1, E2, Е3, Е0, Па, в формулах [34]-[37] принимаются (для конструкций помещений без агрессивной среды - по прил. 8, а с агрессивной средой - по пп. 6.1, б, в и 6.2) по температуре в плоскости возможной конденсации, определяемой при средней температуре наружного воздуха соответственно зимнего, весенне-осеннего, летнего периодов и периода месяцев с отрицательными среднемесячными температурами (упругости Е1, E2, Е3, Е0, Е в формулах [34]-[37] для конструкций помещений с агрессивной средой обозначаются соответственно: Ер1, Eр2, Ер3, Ер0, Ер);

б) значения упругости водяного пара Еp, Па, над насыщенными растворами солей для температур 10-30°С принимаются по прил. 7, для температур ниже 10°С они могут быть определены по формуле

Ерi=0,01Eij'p,                                                         (26)

где Ei - упругость насыщенного водяного пара, Па, принимается по температуре в плоскости возможной конденсации по прил. 8; j'р - относительная влажность воздуха над насыщенным водным раствором соли, %, при t=20°С, принимается по прил. 7;

в) упругости водяного пара Еpi, в плоскости возможной конденсации наружных стен из керамзитобетона на керамзитовом песке (gо=1200 кг/см3), содержащих соли NaCl, KCl, MgCl2 или их смеси а также расстояние до плоскости конденсации от внутренней поверхности стены dw в указанных стенах следует определять соответственно по формулам (27) и (28):

Epi=0,01Eijp при i=1, 2, 3, 0;                                     (27)

dw=0,07dутjр,                                                        (28)

где jр - относительная влажность воздуха в порах материала ограждающей конструкции, %, определяемая в соответствии с п.6.2; dут - толщина утеплителя, м.

Индексы i=1, 2, 3, 0 относятся соответственно к зимнему, весенне-осеннему, летнему периодам и периоду месяцев с отрицательными среднемесячными температурами;

г) значения температуры в плоскости возможной конденсации следует определять по формуле

,                                           (29)

где tв, tн - расчетные температуры соответственно внутреннего и наружного воздуха (среднесезонная или средняя за период влагонакопления), °С; Rо - сопротивление теплопередаче ограждающей конструкции, м2·°С/Вт; Rв=1/aв, где aв то же, что в формуле [1]; SR - сумма термических сопротивлений слоев конструкции, расположенных между внутренней поверхностью и плоскостью возможной конденсации, м2·°С/Вт.

При расчете величин Ro и SR коэффициенты теплопроводности материалов слоев ограждающей конструкции зданий с агрессивной средой могут быть приняты по прил. [3*] при соответствующих условиях эксплуатации;

д) стены промышленных зданий, подверженные воздействию высокоактивных в гигроскопическом отношении аэрозолей (jр£60%) расчету по формулам [34]-[37] не подлежат. Защиту от увлажнения таких стен с внутренней стороны следует производить без расчета, как от непосредственного воздействия раствора соответствующего аэрозоля.

е) независимо от результатов расчета по формулам [34], [35] требуемые сопротивления паропроницанию Rп1тр и Rп2тр (в пределах от внутренней поверхности до плоскости возможной конденсации) во всех случаях должны приниматься не более 5 м2·ч·Па/мг.

6.2. При наличии графиков сорбции в зависимости от массового солесодержания определение сопротивления паропроницанию может быть проведено следующим образом.

Относительная влажность воздуха jр в порах керамзитобетона на керамзитовом песке плотностью 1200 кг/м3, содержащих соли NaCl, KCl, MgCl2 или их смеси, определяется по графику сорбции в зависимости от массового солесодержания С, % (см. прил. 10). При этом величина jр в формулах (27) и (28) при расчете Еpi(i=1, 2, 3) определяется по графику сорбции w=10%, а при расчете Ер0 - по графику сорбции w=15%.

Массовое солесодержание в материале ограждающих конструкций, защищенных с внутренней стороны лакокрасочным покрытием, а с наружной гидрофобизацией, определяется по формуле

C=[A+B(T-4)]d,                                                      (30)

где А - эмпирическая величина, характеризующая процесс соленакопления в первые годы эксплуатации здания; В - увеличение солесодержания за год эксплуатации; Т - предполагаемый срок службы в годах; d - коэффициент, учитывающий влияние гидрофобизации наружной поверхности стен на кинетику процесса соленакопления.

В частности, для производств, связанных с переработкой хлористых солей натрия, калия и магния эта формула приобретает следующий вид:

C=[A+0,1(T-4)]0,4,                                                (31)

где величина А принимается равной 0,7 для стен зданий дробильных отделений флотационных фабрик и 0,9 для стен зданий сушильных отделений.

Рис. 14. Сечение панели наружной стены промышленного здания

Пример 1. Определить требуемое сопротивление паропроницанию панелей наружной стены (рис. 14), состоящей из защитного слоя бетона плотностью 2400 кг/м3, d1=0,07 м, с внутренней стороны, (теплоизоляционного слоя из керамзитобетона на керамзитовом песке плотностью 1200 кг/м3, d2=0,36 м и наружного фактурного слоя из цементно-песчаного раствора плотностью 1800 кг/м3, d3=0,02 м для промышленного здания, строящегося в районе г. Свердловска, и проверить соответствие сопротивления паропроницанию панели (в пределах от внутренней поверхности до плоскости возможной конденсации) требуемому.

А. Исходные данные

Расчетная температура и относительная влажность внутреннего воздуха:

tв=18°C, jв,=60%; по формуле (25) ев=1402 Па, также можно определить ев, по прил. 9. Влажный режим помещения - нормальный (табл. [1]) и в соответствии с прил. [2] условия эксплуатации - А. Расчетные показатели строительных материалов по прил. [3*], Бетон l1=1,74 Вт/(м·°С), m1=0,03 мг/(м·ч·Па). Керамзитобетон l2=0,44 Вт/(м·°С); m2=0,11 мг/(м·ч·Па). Цементно-песчаный раствор l3=0,76 Вт/(м·°С), m3=0,09 мг/(м·ч·Па).

Б. Порядок расчета

Сопротивление теплопередаче панели:

 м2·°С/Вт.

Термическое сопротивление слоя панели (в пределах от внутренней поверхности до плоскости возможной конденсации (см. примеч. [3] к п. [6.1*])

 м2·°С/Вт.

Продолжительность сезонов и среднесезонные температуры определяем по СНиП 2.01.01-82, а значения температур в плоскости возможной конденсации ti, соответствующие этим температурам, по формуле (29).

Зима (январь-март, ноябрь, декабрь) - z1=5 мес, tн1=-11,3°С;

°С;

Весна, осень (апрель, октябрь) - z2=2 мес, tн2=1,9°С;

°С;

Лето (май-сентябрь) - z3=5 мес, tн3=-13,5°С;

°С.

По среднесезонным температурам в плоскости возможной конденсации определяем упругости водяного пара по прил. 8:

Е1=535 Па, Е2=1016 Па, Е3=1705 Па.

По формуле [36] подсчитываем упругость водяного пара в плоскости возможной конденсации за годовой период

 Па.

Среднюю упругость водяного пара наружного воздуха за годовой период определяем по СНиП 2.01.01-82

 Па.

Сопротивление паропроницанию части панели, расположенной между наружной поверхностью и плоскостью возможной конденсации

 м2·°С/Вт.

По формуле [34] определяем требуемое сопротивление паропроницанию и из условия недопустимости накопления влаги в панели за годовой период эксплуатации

 м2·ч·Па/мг.

Продолжительность в сутках периода влагонакопления, принимаемая равной периоду с отрицательными среднемесячными температурами согласно СНиП 2.01.01-82 z0=169 сут, а средняя температура наружного воздуха периода месяцев с отрицательными температурами tн.о=-11,3°С. По формуле (29) температура на плоскости возможной конденсации t0=-1,6°С. Упругость водяного пара в плоскости возможной конденсации по t0Е0=535 Па по прил. 8. Плотность материала gw=1200 кг/м3, толщина увлажняемого слоя и dw=0,24 м. Предельно допустимое приращение расчетного массового отношения влаги в материале увлажняемого слоя панели за период влагонакопления по табл. [14] Dwср=5%. Средняя упругость водяного пара наружного воздуха периода месяцев с отрицательными среднемесячными температурами по СНиП 2.01.01-82

 Па.

По формуле [37]

.

По формуле [35] определяем требуемое сопротивление паропроницанию м2·ч·Па/мг, из условия ограничения накопления влаги в панели за период с отрицательными среднемесячными температурами наружного воздуха

 м2/ч·Па/мг.

Сопротивление паропроницанию части панели, расположенной между внутренней поверхностью стены и плоскостью возможной конденсации.

 м2·ч·Па/мг.

Rп.в>Rп1тр>Rп2тр, т.е. конструкция панели в отношении сопротивления паропроницанию удовлетворяет требованиям СНиП II-3-79**.

Пример 2. Определить требуемое сопротивление паропроницанию наружной стены, состоящей из керамзитобетона на керамзитовом песке плотностью 1200 кг/м3 и фактурных слоев из цементно-песчаного раствора плотностью 1800 кг/м3 для промышленного здания, строящегося в г. Солигорске, и проверить соответствие сопротивления паропроницанию (в пределах от внутренней поверхности до плоскости возможной конденсации) требуемому. Срок эксплуатации предприятия 60 лет.

А. Исходные данные

Толщина слоя керамзитобетона 0,27 м, каждого из фактурных слоев 0,015 м. В стене содержится хлористый натрий NaCl. Расчетная температура и относительная влажность внутреннего воздуха tв=15°С; jв=70%; по формуле (25) ев=1193 Па, где Ен находим по прил. 8; ев можно определить по прил. 9. Расчетные показатели строительных материалов слоев конструкции по прил. [3*] при условиях эксплуатации В:

Цементно-песчаный раствор l1=l3=0,93 Вт/(м·°С), m1=m3=0,09 мг/(м·ч·Па).

Керамзитобетон на керамзитовом песке l2=0,52 Вт/(м·°С); m2=0,11 мг/(м·ч·Па).

Б. Порядок расчета

1. Расчет Rп1тр.

Среднее массовое солесодержание керамзитобетона в стене по формуле (31)

С=[0,7+0,1(60-4)]0,4=2,52%.

По графику сорбции w=10% (см. прил. 10, рис. 1); jр=75%. Положение плоскости возможной конденсации по формуле (28)

dw=0,007·0,27·75=0,135 м.

Сопротивление теплопередаче стены по формуле [4]

 м2·°С/Вт.

Сумма термических сопротивлений слоев конструкции, расположенных между ее внутренней поверхностью и плоскостью возможной конденсации и сопротивление теплоотдаче:

 м2·°С/Вт;

 м2·°С/Вт.

Среднесезонные температуры и продолжительность сезонов определяем по СНиП 2.01.01-82, а значения температур в плоскости возможной конденсации ti, соответствующих среднесезонным температурам наружного воздуха, по формуле (29).

Зима (январь, февраль) - z1=2 мес, tн1=-6,6°С;

°С;

Весна, осень (март, ноябрь, декабрь) - z2=3 мес, tн2=-2,2°С;

°С;

Лето (апрель-октябрь) - z3=7 мес, tн3=-12,2°С;

°С.

Температурам t1, t2, t3 соответствуют (см. прил. 8):

Е1=764 Па; Е2=904 Па; Е3=1547 Па.

При равновесной относительной влажности воздуха в порах керамзитобетона jр=75% определяем упругости водяного пара в плоскости возможной конденсации. Еp1; Еp2; Еp3 по формуле (27):

Еp1=764·0,75=573 Па; Еp2=904·0,75=678 Па; Еp3=1574·0,75=1160 Па.

Упругость водяного пара в плоскости возможной конденсации за годовой период по формуле [36]

 Па.

Средняя упругость водяного пара наружного воздуха за годовой период по СНиП 2.01.01-82

 Па.

Сопротивление паропроницанию части стены, расположенной между плоскостью возможной конденсации и наружной поверхностью.

 м2·ч·Па/мг.

Сопротивление паропроницанию части стены, расположенной между плоскостью возможной конденсации и внутренней поверхностью.

 м2·ч·Па/мг.

Требуемое сопротивление паропроницанию Rп1тр по формуле [34]

 м2·ч·Па/мг.

2. Расчет Rп2тр

По графику сорбции w=15%; С=2,52% (см. прил. 10, рис. 1); jр=81,8%.

Положение плоскости возможной конденсации определяем по формуле (28)

dw=0,007·0,27·81,8=0,146 м.

Сопротивление теплопередаче части стены, расположенной между плоскостью возможной конденсации и внутренней поверхностью.

 м·°С/Вт.

Средняя температура наружного воздуха периода месяцев с отрицательными среднемесячными температурами по СНиП 2.01.01-82

°С

Температура в плоскости возможной конденсации при tн.о=-5°С по формуле (29)

°С

Значению tо=3,38 (см. прил. 8) соответствует Еo=780 Па. При равновесной относительной влажности воздуха в порах керамзитобетона jр=81,8% определяем упругость водяного пара в плоскости возможной конденсации по формуле (27)

Еp0=780·0,818=638 Па.

Средняя упругость водяного пара наружного воздуха периода месяцев с отрицательными среднемесячными температурами и продолжительность в сутках периода влагонакопления, принимаемая равной этому периоду по СНиП 2.01.01-82, соответственно равны:

 Па и z0=134 сут.

Сопротивление паропроницанию части панели, расположенной между плоскостью возможной конденсации и наружной поверхностью

 м2·ч·Па/мг.

Плотность материала увлажняемого слоя gw=1200 кг/м3. Предельно допустимое приращение расчетного массового отношения влаги в материале увлажняемого слоя панели за период влагонакопления z0 по табл. 14 Dwсp=5%.

По формуле [37]

.

Требуемое сопротивление паропроницанию Rп2тр по формуле [35]

 м2·ч·Па/мг.

Rп1тр>Rп.в> Rп2тр, т.е. конструкция панели в отношении сопротивления паропроницанию не удовлетворяет требованиям СНиП II-3-79**. Для обеспечения требуемой величины сопротивления паропроницанию требуется устройство защитного покрытия.

3. Требуемое сопротивление паропроницанию защитного (лакокрасочного) покрытия с внутренней стороны равно:

rп=Rп1тр-Rп.в=2,78-1,39=1,39 м2·ч·Па/мг.

Пример 3. Определить требуемое сопротивление паропроницанию наружной стены (см. пример 2) для промышленного здания, строящегося в г. Соликамске, и проверить соответствие сопротивления паропроницанию (в пределах от внутренней поверхности до плоскости возможной конденсации) требуемому. Отличие в исходных данных заключается в том, что в стене содержится трехкомпонентная система хлористых солей состава: хлористый натрий NaCl - 60%, хлористый калий КСl - 30%, хлористый магний MgCl2 - 10%.

Расчет производится так же, как в примере 2, но значения величины jр берутся по графикам сорбции по прил. 10, рис. 4.

Пример 4. Определить требуемое сопротивление паропроницанию панелей наружной стены, состоящей из защитного слоя тяжелого бетона плотностью 2400 кг/м3, d1=0,07 м, с внутренней стороны, теплоизоляционного слоя из керамзитобетона на керамзитовом песке плотностью 1200 кг/м3, d2=0,36 м и наружного фактурного слоя из цементно-песчаного раствора плотностью 1800 кг/м3, d3=0,02 м для промышленного здания, строящегося в г. Березняки, и проверить соответствие сопротивления паропроницанию панели (в пределах от внутренней поверхности до плоскости возможной конденсации) требуемому.

А. Исходные данные

Расчетная температура и относительная влажность внутреннего воздуха tв=°20°С, jв=50%. При этом ев=1169 Па (формула (25). В воздухе присутствует аэрозоль азотнокислого натрия NaNO3. По прил. 7 упругость паров воды над насыщенным раствором азотнокислого натрия при tв=20°С и Еp=1804 Па. По формуле (24) относительная влажность воздуха с учетом агрессивной среды

,

т.е. режим помещения с учетом понижения давления водяного пара над насыщенным раствором азотнокислого натрия - влажный (табл. [1]) и в соответствии с прил. [2] условия эксплуатации - Б.

Расчетные показатели строительных материалов принимаем по прил. [3*]: бетон l1=l,86 Вт/(м·°С); m1=0,03 мг/(м·ч·Па); керамзитобетон l2=0,52 Вт/(м·°С); m2=0,11 мг/(м·ч·Па); цементно-песчаный раствор l3=0,93 Вт/(м·°С); m3=0,09 мг/(м·ч·Па).

Б. Порядок расчета

Сопротивление теплопередаче панели

 м2·°С/Вт.

Термическое сопротивление слоя панели (в пределах от внутренней поверхности до плоскости возможной конденсации)

 м2·°С/Вт;

Продолжительность сезонов и среднесезонные температуры определяем по СНиП 2.01.01-82, а значения температур в плоскости возможной конденсации, соответствующих этим температурам, по формуле (29).

Зима (ноябрь-март) - z1=5 мес, tн1=-12°С;

°С;

Весна, осень (апрель, октябрь) - z2=2 мес, tн2=2,1°С;

°С;

Лето (май-сентябрь) - z3=5 мес, tн3=-13,9°С;

°С.

По среднесезонным температурам в плоскости возможной конденсации определяем упругости водяного пара над насыщенным раствором аэрозоля азотнокислого натрия NaNO3:

Еp1=112 Па; Еp2=820 Па (по формуле (26);

Еp3=1408 Па (по прил. 7).

По формуле [36] подсчитываем упругость водяного пара в плоскости возможной конденсации за годовой период

 Па.

Среднюю упругость водяного пара наружного воздуха за годовой период определяем по СНиП 2.01.01-82

 Па.

Сопротивление паропроницанию части панели, расположенной между наружной поверхностью и плоскостью возможной конденсации.

 м2·ч·Па/мг.

По формуле [34] определяем требуемое сопротивление паропроницанию из условия недопустимости накопления влаги в панели за годовой период эксплуатации

 м2·ч·Па/мг.

Продолжительность в сутках периода влагонакопления, принимаемая равной периоду с отрицательными среднемесячными температурами, z0=152 сут, а средняя температура наружного воздуха этого периода согласно СНиП 2.01.01-82 tн.о=-12°С.

По формуле (29):

°С.

По данным прил. 7 упругость водяного пара над насыщенным раствором аэрозоля азотнокислого натрия NаNО3 в плоскости возможной конденсации при tн.о=-12°С равна Еp0=435 Па.

Плотность материала увлажняемого слоя gw=1200 кг/м3, его толщина dw=0,24 м. Предельно допустимое приращение расчетного массового отношения влаги в материале увлажняемого слоя панели за период влагонакопления z0 по табл. [14] Dwсp=5%.

Средняя упругость водяного пара наружного воздуха периода месяцев с отрицательными среднемесячными температурами по СНиП 2.01.01-82 равна:

 Па.

По формуле [37]

.

По формуле [35] определяем требуемое сопротивление паропроницанию из условия ограничения накопления влаги в панели за период с отрицательными среднемесячными температурами наружного воздуха

 м2/ч·Па/мг.

Сопротивление паропроницанию части панели, расположенной между внутренней поверхностью стены и плоскостью возможной конденсации

 м2·ч·Па/мг.

Rпв>Rп1тр>Rп2тр, т.е. конструкция панели в отношении сопротивления паропроницанию удовлетворяет требованиям СНиП II-3-79*.

6.3. Спецификой расчета сопротивления паропроницанию ограждающих конструкций животноводческих и птицеводческих зданий по формулам [34]-[37] является учет параметров внутреннего воздуха в помещении в летний расчетный период эксплуатации.

6.4. Для зданий с круглогодичным содержанием животных в помещениях средняя температура внутреннего воздуха в летний период (tв3 принимается выше средней температуры наружного воздуха Dtн3 за этот период на величину температурного перепада Dtв3, но не ниже расчетной температуры внутреннего воздуха tв1 в зимний период в соответствии с нормами технологического проектирования. Таким образом, для указанных зданий при назначении расчетных температур внутреннего воздуха tв за соответствующие расчетные периоды года, обозначенные индексами: 1 - зимний, 2 - весенне-осенний, 3 - летний, - необходимо руководствоваться следующими указаниями:

если tв1<tн3+Dtв3, то следует принимать tв3=tн3+Dtв3, tв2=tв1.                     (32)

если tв1³tн3+Dtв3, то следует принимать tв3=tв2=tв1.                              (33)

Здесь tв1, tв2, tв3 - среднесезонные расчетные температуры внутреннего воздуха, °С, соответственно за зимний, весенне-осенний и летний расчетные периоды года (расчетные периоды года назначаются в зависимости от среднемесячных температур наружного воздуха района строительства в соответствии с указаниями п. [6.1]); значение tв1 для зимнего периода года принимается равным расчетной температуре внутреннего воздуха по соответствующим нормам технологического проектирования; tв3 - средняя температура наружного воздуха, °С, за летний период, определяемая как среднее арифметическое для месяцев со среднемесячными температурами наружного воздуха выше 5°С в соответствии с СНиП 2.01.01-82; D tв3 - среднее превышение температуры внутреннего воздуха, °С, по сравнению с температурой наружного воздуха в летний период, принимаемое равным: 6°С - для свиноводческих, зданий; 8°С - для зданий крупного рогатого скота.

Относительная влажность jв3 воздуха животноводческих зданий в летний период принимается равной; 70% - для свиноводческих зданий; 80% - для зданий крупного рогатого скота.

6.5. Для животноводческих зданий с выгульно-пастбищным содержанием животных в летний период и для птицеводческих зданий средняя температура внутреннего воздуха tв3 за этот период принимается равной средней температуре наружного воздуха tн3 летнего периода, но не ниже расчетной температуры внутреннего воздуха tв за зимний период, а упругость водяного пара ен3 внутреннего воздуха за летний, период - равной средней упругости водяного пара наружного воздуха ен3 за этот период, но не ниже упругости водяного пара ев3 внутреннего воздуха за зимний период. Таким образом, для указанных зданий при назначении расчетных параметров внутреннего воздуха за соответствующие расчетные периоды года необходимо руководствоваться следующими указаниями:

если tв1<tн3 и ен3, то следует принимать tв3=tн3;                                         (34)

если tв1³tн3 и ен3, то следует принимать tв3=tв2=tв1;                             (35)

Здесь tв1, tв2, tв3, tн3 - то же, что в формулах (32) и (33); ев1, ев2, ев3 - средняя упругость водяного пара, Па, внутреннего воздуха соответственно за зимний, весенне-осенний и летний расчетные периоды года; значение ев1 для зимнего периода года определяется по расчетной температуре tв1 и относительной влажности jв1 внутреннего воздуха за зимний период; еп3- средняя упругость водяного пара, Па, наружного воздуха за летний период, определяемая как среднее арифметическое из среднемесячных упругостей водяного пара наружного воздуха для месяцев со среднемесячными температурами наружного воздуха выше 5°С в соответствии с СНиП 2.0101-82.

6.6. Среднюю упругость водяного пара ев внутреннего воздуха за годовой период эксплуатации следует определять по формуле

.                                     (36)

где ев1, ев2, ев3 - то же, что в формулах (34); определяются с учетом указаний пп. 6.4 и 6.5 в зависимости от средней расчетной температуры tв1 и относительной влажности jвi внутреннего воздуха за соответствующий расчетный период по формуле

евi=0,01Евijвi,                                                               (37)

где Евi - максимальная упругость водяного пара внутреннего воздуха, Па, определяемая по прил. 8 в зависимости от соответствующей средней температуры внутреннего воздуха tвi; jвi - средняя относительная влажность внутреннего воздуха, %, за соответствующий расчетный период; z1, z2, z3 - то же, что в формуле [36], мес.

Среднюю упругость водяного пара ев=ев0 за период влагонакоплений (с отрицательными среднемесячными температурами наружного воздуха) в формуле [35] следует принимать равной средней упругости водяного пара eв1, Па, за зимний период

ев=ев0=ев1.                                                                     (38)

7. ПРОГНОЗИРОВАНИЕ ДОЛГОВЕЧНОСТИ НАРУЖНЫХ ОГРАЖДАЮЩИХ КОНСТРУКЦИЙ ЗДАНИЙ

7.1. Долговечность наружных ограждающих конструкций определяется сроком их службы с сохранением в требуемых пределах эксплуатационных качеств в данных климатических условиях при заданном режиме эксплуатации зданий.

При проектировании наружных ограждающих конструкций необходимо учитывать их долговечность, при выборе типа ограждения предпочтение следует отдавать более долговечной конструкции,

Жилые здания для северной строительно-климатической зоны следует проектировать с наружными ограждающими конструкциями с долговечностью не менее 50 лет.

7.2. Необходимую долговечность наружных стен следует обеспечивать применением материалов, имеющих надлежащие прочность, морозостойкость и влагостойкость, а также соответствующими конструктивными решениями, предусматривающими, в случае необходимости, специальную защиту элементов конструкции, выполняемых из недостаточно стойких материалов.

7.3. Срок службы отдельных элементов, от которых зависит долговечность наружных ограждающих конструкций (стальные закладные и крепежные детали, связи, узлы и их сопряжения), должен быть не ниже срока службы всей конструкции.

7.4. Наружные однослойные стены должны иметь защитные слои надлежащей долговечности. Их марка по морозостойкости должна быть на 1-2 ступени выше, чем у материала стены.

7.5. Долговечность наружной ограждающей конструкции оценивается по се сравнительному или фактическому значениям. Под долговечностью понимается продолжительность в годах первого доремонтного периода эксплуатации ремонтируемых ограждающих конструкции или их элемента, например защищенного слоя (сравнительная долговечность), или продолжительность срока службы ремонтируемой конструкции с капитальными ремонтами, а также неремонтируемой конструкции или ее неремонтируемой части, например простенка (фактическая долговечность).

Сравнительная долговечность ограждающей конструкции не должна быть ниже нормативной периодичности капитальных ремонтов, предусмотренной действующими нормативными документами.

7.6. Расчетом на долговечность наружной ограждающей конструкции здания определяется:

сравнительная или фактическая долговечность конструкции при данном конструктивном решении ограждения, выбранном материале и заданной его марке по морозостойкости;

требуемая марка по морозостойкости выбранного материала при заданном (нормативном или требуемом) сроке службы ограждающей конструкции и материале.

7.7. Долговечность q, лет, наружной ограждающей конструкции или ее наружного защищенного слоя определяется по формуле

,                                    (39)

где N - выдерживаемое материалом ограждения или соответственно его наружным защищенным слоем число циклов попеременного замораживания при стандартных испытаниях на морозостойкость, численно равное цифровому индексу устанавливаемой марки по морозостойкости (например, 35 циклов при F35); wн - массовое отношение влаги в материале, соответствующее его полному водонасыщению без вакуумирования, принимаемое по табл. 18; wр - среднее равновесное массовое отношение влаги в материале, ниже которого при температуре -20°С лед в нем не образуется, принимаемое по табл. 19; wэз, wэл - массовые отношения влаги в материале в зоне промерзания ограждения в условиях его эксплуатации на зимне-весеннем (з) и летне-осеннем (л) периодах года соответственно при расчетах на долговечность; x(ti) - соответствующие данному зимне-весеннему или летне-осеннему периоду года переменные коэффициенты, принимаемые по табл. 20, в зависимости от достигаемой материалом отрицательной температуры ti в каждом отдельном случае i ее перехода через 0°С ниже температуры начала замерзания tнз в нем жидкой влаги (см. табл. 18); пiз, пiл - соответственно число таких случаев i-го достижения температуры ti в году на этих периодах.

Таблица 18

Материал

go, кг/м3

wн, % по массе

tнз, °С

Цементно-песчаный раствор:

2100

8,3

-2,7

1:1

1950

9,4

-3,5

1:2

1700

10,8

-1,9

1:4

1300

35,8

-1,3

Поризованный раствор

800

54

-1,8

Ячеистый бетон

1450

10,3

-1,8

Керамзитобетон

1000

18

-2,7

Шунгизитогазобетон

1100

33

-1,6

Таблица 19

Материал

wр, % по массе

Ячеистый бетон

4

Шучгизитогазобетон

2,2

Керамзитобетон

1,8

Цементно-песчаный раствор

0,6

При обычно наблюдаемом нестационарном (неустановившемся) температурном поле ограждения при данной температуре (см. пример 2) наблюдается только один цикл i, поэтому

niз=niл=1 цикл/год.

Для установления числа случаев i и, соответствующих им температур ti, по которым находят коэффициенты x(ti), необходимо предварительное определение полных нестационарных температурных полей ограждающей конструкции на зимне-весеннем и летне-осеннем периодах года с учетом характеристик климатической активности района строительства, влияющих на долговечность наружных ограждений.

Таблица 20

Материал

gо, кг/м3

tнз

Коэффициенты x(ti) при температуре ti, °С

-3

-4

-5

-6

-7

-8

-9

-10

-15

-20

-30 и более

Цементно-песчаный раствор:

 

 

 

 

 

 

 

 

 

 

 

 

 

1:1

2100

0

0,097

0,363

0,522

0,628

0,704

0,761

0,805

0,84

0,947

1

1,004

1:2

1950

0

-

0,153

0,365

0,506

0,607

0,682

0,741

0,788

0,929

1

1,07

1:4

1700

0

0,407

0,582

0,686

0,756

0,806

0,843

0,874

0,895

0,965

1

1,035

Поризованный раствор

1300

0

0,605

0,721

0,791

0,837

0,87

0,896

0,915

0,931

0,977

1

1,023

Ячеистый бетон

800

0

0,444

0,607

0,706

0,771

0,818

0,853

0,88

0,902

0,967

1

1,033

Керамзита бетон

1000

1450

0

0

0,106

0,133

0,369

0,454

0,527

0,711

0,632

0,775

0,707

0,821

0,763

0,855

0,807

0,882

0,842

0,903

0,947

0,967

1

1

1,052

1,032

Шунгитогазобетон

1100

0

0,522

0,663

0,747

0,803

0,843

0,873

0,897

0,916

0,972

1

1,028

7.8. При рабочем проектировании однослойных наружных ограждающих конструкций долговечность стены рекомендуется рассчитывать на ЭВМ по программе KLIMAT, приведенной в прил. 11. Долговечность наружного защитного слоя бел при этом определяется по формуле

,                                               (40)

где индексы «ст» и «сл» указывают на принадлежность данной величины соответственно к материалу тела стены или защитного слоя.

7.9. Долговечность наружного защитного слоя наружной ограждающей конструкции без применения ЭВМ определяется при коэффициентах x(ti), найденных для середины этого слоя по ее полному температурному полю по п. 7.19.

7.10. Долговечность основной части наружной ограждающей конструкции без применения ЭВМ определяется при коэффициентах x(ti), найденных для середины слоя устойчивого промерзания па активных периодах года, по ее полному температурному полю по пп. 7.13-7.24.

Толщина слоя устойчивого промерзания на активных периодах года устанавливается в соответствии с указаниями п. 7.20.

7.11. Массовые отношения влаги в материале wэз и wэл зоне промерзания наружной ограждающей конструкции в условиях ее эксплуатации на зимне-весеннем (з) и летне-осеннем (л) периодах года при расчете ее долговечности без применения ЭВМ принимаются соответственно равными:

                                             (41)

где g0 g0min - соответственно расчетная и минимальная плотности материала ограждения в сухом состояния (прил. [3*]); w - соответствующее расчетное массовое отношение влаги в материале такое же, как принимаемое, исходя из условий эксплуатации при теплофизических расчетах, приведенное в этом же приложении; Dwср - его предельно допустимое приращение, принимаемое по табл. [14*].

7.12. Долговечность наружных ограждающих конструкций южной ориентации в зависимости от интенсивности солнечной радиации и числа дней безоблачного неба в году может быть на 10-20% ниже расчетной долговечности, найденной по формуле (39) без их учета. Поэтому для этих стен желательны меры по снижению влияния солнечной радиации (светлые отделка или окраска, экранирование и т. п.).

7.13. При определении температурного поля однослойной стены различие в теплофизических характеристиках защитного слоя и основной части стены не учитывается. Их значения принимаются соответствующими ее основной части и расчетному массовому отношению влаги в материале по прил. [3*].

7.14. Квазистационарная составляющая температурного поля на зимне-весеннем и летне-осеннем периодах года однослойной наружной ограждающей конструкции общей толщиной d, связанная с годовым ходом среднемесячных температур наружного воздуха tсм, при температуре внутреннего воздуха tв определяется по формуле

t, t)=m1+m3х+m5x2+m6x3+(m2+m4х)t,                                       (42)

где х - координата точки ограждения, отсчитываемая от его наружной поверхности; t - время, отсчитываемое от середины месяца зимне-весеннего или соответственно, летне-осеннего периодов года, предшествующего началу периодических оттепелей или соответственно заморозков па этих периодах с переходом через tиз; mi - постоянные коэффициенты, определяемые по формулам:

                                   (43)

                                                 (44)

                 (45)

Здесь: а - коэффициент температуропроводности материала ограждения; b - темп изменения среднемесячных температур наружного воздуха на зимне-весеннем или летне-осеннем периодах года, соответственно определяемый по указаниям п. 7.21; tв - расчетная температура внутреннего воздуха;

.                                                  (46)

Здесь

,                                              (47)

где aв и aн определяются соответственно по табл. [4*] и [6*].

7.15. Гармонические составляющие температурного поля однослойной наружной ограждающей конструкции определяются с учетом соответствующих амплитуд и периодов, назначаемых в соответствии с пп. 7.21 и 7.23.

Учитываются две составляющие, связанные:

первая -с суточными колебаниями температуры наружного воздуха со средней амплитудой Ас (см. п. 7.20) и периодом Р=24 ч;

вторая - с устойчивыми периодическими заморозками и оттепелями со средними амплитудами Ар, периодами Рр и числом т в году (см. п. 7.23).

7.16. Амплитуда суточных колебаний температуры в слое ограждения, отстоящем на расстоянии х от его наружной поверхности, определяется по формуле

,                                           (48)

где Aп - амплитуда суточных колебаний температуры на наружной поверхности ограждения

.                                         (49)

В формулах (48) и (49) р - период суточных колебаний температуры, равный 24 ч; Ас - средняя амплитуда суточных колебаний температуры наружного воздуха, принимаемая по п. 7.21.

7.17. Амплитуды колебаний температуры в слое ограждения, отстоящем на расстоянии х от его наружной поверхности, связанные с устойчивыми периодическими заморозками и оттепелями с периодом Рр (см. п. 7.23), находят по формуле.

,                                          (50)

где Ар - средняя расчетная амплитуда этих заморозков и оттепелей на данном зимне-весеннем или летне-осеннем периодах года, определяемая в соответствии с п. 7.23; d - толщина ограждения.

7.18. Полное температурное поле однослойной наружной ограждающей конструкции находится наложением на его составляющую двух гармонических колебаний (см. п. 7.15) с амплитудами и периодами, назначаемыми в соответствии с п. 7.16, 7.17, 7.20, 7.23.

7.19. Глубину устойчивого промерзания однослойного ограждения на активном периоде года находим из уравнения (42) при t(хt)=0. Она определяется дважды: для начала зимне-весеннего и конца летне-осеннего периодов и находится как среднеарифметическое из этих двух ее значений.

7.20. Для расчета нестационарных температурных полей наружных ограждающих конструкций на зимне-весеннем и летне-осеннем периодах года, с учетом которых производится прогнозирование их долговечности, необходимы следующие климатологические параметры наружного воздуха:

среднемесячные температуры tсм по месяцам года;

средние амплитуды Ас суточных колебаний температуры по месяцам года с периодом Р=24 ч;

среднесуточные температуры tсс по дням месяцев года;

темп b изменения среднемесячных температур tсм в их годовом ходе на зимне-весеннем и летне-осеннем периодах года;

средние расчетные полупериоды Рр устойчивых периодических заморозков и оттепелей по отношению к годовому ходу среднемесячных температур tсм на зимне-весеннем и летне-осеннем периодах года;

средние расчетные амплитуды Ар этих заморозков и оттепелей с полупериодом Рр на зимне-весеннем и летне-осеннем периодах года;

среднее расчетное число mp указанных заморозков и оттепелей в году на зимне-весеннем и летне-осеннем периодах года;

средняя календарная дата начала устойчивых периодических оттепелей по отношению к годовому ходу среднемесячных температур tсм на зимне-весеннем периоде года;

средняя календарная дата начала устойчивых периодических заморозков по отношению к годовому ходу среднемесячных температур tсм на летне-осеннем периоде года.

Указанные характеристики определяются по СНиП 2.01.01-82, а отсутствующие там величины по пп. 7.21-7.23.

Примечания: 1. Зимне-весенним и летне-осенним периодами года называются его активные периоды в указанное время, на которых возможны периодические оттепели и заморозки с переходами температуры наружного воздуха через 0°С. 2. В прил. 2 СНиП 2.01.01-82 указаны удвоенные значения Ас.

7.21. Темп b изменения среднемесячных температур tсм наружного воздуха на зимне-весеннем и летне-осеннем периодах года определяется по графику их годового хода на участках, где эти температуры изменяются практически линейно.

7.22. Среднесуточные температуры tсс наружного воздуха определяются по наблюдениям за год по метеорологическим ежемесячникам.

7.23. Средние расчетные амплитуды Ар, средние расчетные периоды Рр, среднее число в году mp и календарные даты начала устойчивых периодических оттепелей и заморозков на зимне-весеннем и летне-осеннем периодах года определяются как средние арифметические за последние пять лет по графикам годового хода среднемесячных температур. При этом учитываются только периодические оттепели и периодические заморозки с переходом за tнз.

Для некоторых городов северной строительно-климатической зоны средние расчетные характеристики климатической активности, связанные с устойчивыми периодическими заморозками и оттепелями, и календарные даты начала последних приведены и табл. 21.

Таблица 21

Город

Зимне-весенний период

Оттепели

Заморозки

начало

Рр, сут

Ар, °С

mp, цикл/год

Рр, сут

Ар, °С

mp, цикл/год

Воркута

30.04

1,9

3,8

4

4,7

4,1

7

Магадан

02.05

2

2,1

3

4,7

2,2

3

Надым

16.01

3,6

5,2

1

5,7

6,1

6

Новый Уренгой

20.04

3,3

2,7

3

5,7

7

6

Норильск

27.04

1,6

3,7

1

10,8

10,5

3

Сургут

04.04

5,8

5,7

5

3,4

4

6

Тында

09.04

3,5

3,6

3

5,2

3,8

3

Якутск

16.04

4,6

4,6

2

6,1

4,4

2

Продолжение табл.

Город

Летне-осенний период

Оттепели

Заморозки

начало

Рр, сут

Ар, °С

mp, цикл/год

Рр, сут

Ар, °С

mp, цикл/год

Воркута

29 09

4,8

3,2

3

3,3

3,1

2

Магадан

08.10

4,9

4,4

1

4,7

2,9

1

Надым

29.09

3,7

3

3

3,4

3,8

2

Новый Уренгой

28.09

3,9

2,8

3

2,5

3,2

2

Норильск

28.09

4

4,1

1

1,6

2,5

1

Сургут

03.10

6,1

7,5

4

2,4

3,5

5

Тында

01.10

3,4

3,6

2

2,9

3,4

2

Якутск

25.10

2,7

1,8

2

5,7

5,2

2

Рис. 15. Годовой ход температур на летне-осеннем периоде 1973г. в г. Норильске

1 - среднемесячных; 2 - среднесуточных; 3 - апроксимация годового хода полусинусоидами

Пример 1. Определить характеристики климатической активности района строительства г. Норильска.

А. Исходные данные

Ввиду отсутствия данных полных многолетних метеорологических наблюдений в г. Норильске воспользуемся данными ближайшей метеорологической станции (табл. 22).

Таблица 22

Месяц

Параметры наружного воздуха, °С

среднемесячные температуры tсм

средние суточные амплитуды Ас

I

-27,6

4,1

II

-25,2

3,7

III

-21,4

4,35

IV

-14

4,75

V

-5,2

3,75

VI

5,9

4,1

VII

13,4

4,65

VIII

10,4

4,05

IX

3,6

3,05

X

-8,8

3,15

XI

-21,8

3,9

XII

-25,6

4

По наблюдениям этой станции найдены среднесуточные температуры по дням за 1973-1976 гг. для летне-осеннего (сентябрь-ноябрь) и зимне-весеннего (апрель-май) периодов года. Пример соответствующего графика годового хода этих температур за 1973 г, на летне-осеннем периоде этого года показан на рис. 15. Там же нанесена кривая годового хода среднемесячных температур (см. табл. 22) на указанном периоде года и на нем выделены границы участка, где наблюдаются периодические изменения среднесуточных температур с переходами через 0°С, за пределами которого температура наружного воздуха уже скачкообразно, но устойчиво повышается или понижается без переходов через 0°С. В границах этого участка определены полупериоды и амплитуды соответствующих переходов (заморозков и оттепелей) через кривую годового хода среднемесячных температур. Таким же образом для каждого из рассматриваемых годов были найдены полупериоды оттепелей и заморозков, их амплитуды и их количества в году на зимне-весеннем и летне-осеннем периодах (табл. 23 и 24).

Б. Порядок расчета

По табл. 23 найдем, что на зимне-весеннем периоде года средняя амплитуда оттепелей

°С;

средняя амплитуда заморозков

°С;

средний полупериод оттепелей

 сут;

средний полупериод заморозков

 сут.

Таким образом на зимне-весеннем периоде - средняя расчетная амплитуда заморозков и оттепелей

°С;

средний расчетный период оттепелей и заморозков

Рр=6,3+10,4=16,7 сут;

среднее расчетное число заморозков и оттепелей в год

 цикл/год.

Таблица 23

Год

Характеристики климатической активности

Летне-осенний период

Зимне-весенний период

Оттепели

Заморозки

Оттепели

Заморозки

1973

Амплитуда, °С

2,7

9,6

12,8

8,8

9,8

11,2

5,6

 

14,5

7,2

11,5

 

Полупериод, сут

2,25

2,25

6,75

9,5

7

5

2,6

 

8,75

8,75

13

1974

Амплитуда, °С

 

5,6

 

 

6

 

9,6

 

9,6

5,2

5,4

 

Полупериод, сут

 

6

 

 

10,5

 

11

 

14

12,5

11,5

1975

Амплитуда, °С

 

-

 

 

-

 

15

11,6

7,8

11

 

 

Полупериод, сут

 

-

 

 

-

 

6

5

7

18

 

1976

Амплитуда, °С

 

-

 

 

-

 

12,8

8

6,2

7

 

 

Полупериод, сут

 

-

 

 

-

 

8

5

4

16,5

 

1977

Амплитуда, °С

 

7,8

 

 

8,7

 

10,2

9,6

8,9

7,9

 

 

Полупериод, сут

 

4,3

 

 

8

 

5,9

6,9

5

5,8

 

Сумма

Амплитуда, °С

 

38,5

 

 

44,5

 

 

82,4

 

103,2

 

 

Полупериод, сут

 

21,55

 

 

40

 

 

50,4

 

124,8

 

Таблица 24

Год

Зимне-весенний период

Количество m

Начало оттепелей

оттепелей

заморозков

1973

1

3

5 мая

1974

1

3

27 апреля

1975

2

2

14 »

1976

2

2

19 »

1977

2

2

25 »

Итого за 5 лет

 

 

 

8

12

25 апреля

Продолжение табл. 24

Год

Зимне-весенний период

Количество m

Начало оттепелей

оттепелей

заморозков

1973

3

3

23 сентября

1974

1

1

19 »

1975

-

-

-

1976

-

-

-

1977

1

1

18 сентября

Итого за 5 лет

 

 

 

5

5

20 сентября

Аналогичным образом найдем, что на летне-осеннем периоде года средняя амплитуда оттепелей

°С;

средняя амплитуда заморозков

°С;

средний полупериод оттепелей

 сут;

средний полупериод заморозков

 сут.

Таким образом на летне-осеннем периоде средняя расчетная амплитуда заморозков и оттепелей

°С;

средний расчетный период оттепелей и заморозков

Рр=4,3+8=12,3 сут;

среднее расчетное число заморозков и оттепелей в год

 цикл/год.

На рис. 16 по данным табл. 22 построена кривая годового хода среднемесячных температур и по ней приближенно выделены зимне-весенний (май-июнь) и летне-осенний (сентябрь-октябрь) периоды года, на которых возможны переходы температуры наружного воздуха через 0°С. Для них определены темпы изменения среднемесячных температур, как тангенсы угла наклона соответствующих линейных участков указанной кривой к осям времени t с началом его отсчета в предшествующем этим периодам месяце. Эти темпы оказались равными на зимне-весеннем периоде b=0,0131°С/ч; на летне-осеннем периоде b=-0,0166°С/ч.

Таким образом все характеристики климатической активности района строительства tсм, tcc, b, Ас, Ар, Рр, mp и начала оттепелей и заморозков определены.

Пример 2. Оценить долговечность защитного слоя однослойной наружной стены

А. Исходные данные

Стена жилого дома толщиной d=0,4 м из керамзитобетона с gо=1000 кг/м3 с F35 на пористом песке с защитным слоем толщиной dр=0,03 м из цементно-песчаного раствора состава 1:2 с gо=1950 кг/м3 и F50.

Район строительства г. Норильск. Условия эксплуатации Б (см. прил. [1*] и [2*]).

Рис. 16. Годовой ход среднемесячных температур в г. Норильске

Б. Порядок расчета

Находим w=0,1; l0=0,27 Вт/(м·°С): С0=0,84 кДж/(кг·°С); l=0,41 Вт/(м·°С) (прил. [3*]) Dwср=0,05 (табл. [14*]) с переводом процентов в доли, единицы; aн=23 Вт/(м2·°С) (табл. [6*]) aв=8,7 Вт/(м2·°С), табл. [4*]); tв=18°С (ГОСТ 12.1.005-88); tсм и Ас - по табл. 22.

Далее находим

 м2/ч,

где коэффициент 0,278 принят для перевода кДж в Вт·ч

 по формуле (47);

 по формуле (46)

Определяем квазистационарное температурное поле стены (п. 7.14) на зимне-весеннем периоде года при tсм=-14°С для апреля (табл. 22 и рис. 16) и b=0,0131°С/ч (пример 7.1).

по формулам (44).

по формулам (45)

Далее находим

по формулам (43)

Для средней плоскости защитного слоя (x=0,015 м) по п. 7.9

m1+m3x+m5х2+m6х3=-12,80+67,295·0,015+5,380·0,0152-4,014·0,0153=-11,790°С;

m2+m4x=0,0126-0,0282·0,015=0,0122°С/ч.

Таким образом для этой плоскости по формуле (42)

t(0,015; t)=-11,790+0,0122t, °С.

Амплитуду Aс суточных колебаний температуры наружного воздуха найдем как среднюю для V и VI месяца (табл. 22)

°С

и для них по п. 7.15 величина Р=24 ч.

При этом амплитуда суточных температурных колебаний Aп на наружной поверхности стены по формуле (49) равна

а в слое х=0,015 м по формуле (48)

°С.

Амплитуда же колебаний температуры этого слоя на указанном периоде, связанная с периодическими устойчивыми оттепелями и заморозками (формула (50)

°С.

Для двух выбранных точек t=30 сут и t=50 сут интервала времени, где возможны переходы температуры стены в точке х=0,015 м через 0°С по формуле (42) найдем

для t=30 сут t(0,015; 30)=-11,790+0,0122(30·24)=-3°С;

для t=50 сут t(0,015; 50)=-11,790+0,0122(50·24)=2,9°С.

На рис. 17 с учетом этого для средней плоскости защитного слоя х=0,015 м построен линейный график квазистационарного изменения t(0,015; t) во времени на зимне-весеннем периоде года и на него с учетом п. 7.15 наложены два гармонических колебания температуры этой плоскости с найденными амплитудами А(0,015)=2,7°С и периодом р=24 ч и А(0,015)=8,8°С и периодом 16,7 сут.

Рис. 17. Изменение температуры середины защитного слоя в зимне-весенний период

а - квазистационарное; б - гармоническое, связанное с устойчивыми заморозками и оттепелями; в - то же связанное с суточными колебаниями температуры: г - их огибающие; 1-15 - переходы через 0°С, № 5 и № 9 - минимальное значение t после перехода через 0°С (ниже fнз)

Теперь определим квазистационарное температурное поле стены на летне-осеннем периоде года при tсм=13,4°С для августа (см. табл. 22) и b=-0,0166°С/ч (пример 7.1).

 формулы (44).

 формулы (45)

Далее находим

формулы (43)

Для средней плоскости защитного слоя (x=0,015 м) по п. 7.9

m1+m3x+m5х2+m6х3=-13,611+11,850·0,015-6,832·0,0152+5,081·0,0153=13,787°С;

m2+m4x=-0,0160+0,0357·0,015=-0,0155°С/ч.

Таким образом t(0,015; t)=13,787-0,0155·t, °С.

Суточные колебания температуры наружного воздуха на летне-осеннем периоде года (IX месяц) имеют амплитуду Ас=3,1°С (табл. 22) и для них (п. 7.15) Р=24 ч. Поэтому амплитуда суточных колебаний на наружной поверхности стены (формула 49) на летне-осеннем периоде года будет равна:

°С.

а в слое х=0,015 м (формула(48)

°С.

Амплитуда же колебаний температуры этого слоя на указанном периоде года, связанная с устойчивыми заморозками и оттепелями (формула (50)).

°С.

Возможный интервал времени, где могут быть переходы температуры стены в точке х=0,015 м через 0°С равен 25-45 сут (рис. 18). Для его границ (формула (42) для t=25 сут t(0,015; 25)=13,787-0,0155·25·24=4,5°С, а для t=45 сут t(0,015; 45)=13,787-0,0155·45·24=-2,9°С.

На рис. 18 с учетом этого построен линейный график квазистационарного изменения t(0,015; t) во времени в интервале 25-50 сут на летне-осеннем периоде года и на него наложены два гармонических колебания температуры этого слоя с найденными амплитудами А(0,015)=2,2°С и периодом Р=24 ч и А(0,015)=7,7°С и периодом Р=12,3 сут,

Рис. 18. Изменение температуры середины защитного слоя в летне-осенний период:

а - квазистационарный; б - гармоническое связанное с устойчивыми заморозками и оттепелями; в - то же, связанное с суточными колебаниями температуры; г - их огибающие; 1-3 - переходы через 0°С; № 1 и № 3 - минимальные значения t после перехода через 0°С (ниже tнз)

Из рис. 17 и 18 следует, что на зимне-весеннем периоде года в защитном слое будет 15 переходов через 0°С, из них два (№ 5 до -16,6°С и № 9 до -11,8°С) за tнз=-3,5°С (табл. 18), а на летне-осеннем периоде - три перехода через 0°С и из них два (№ 1 до -8,2°С и № 3 до -4,4°С) через tнз. Для указанных переходов за tнз определяем температуры переходов и им соответствующие коэффициенты x(ti) (табл. 20):

зимне-весенний период

t5=-16,6°С; x(t5)=0,952;

t9=-11,8°С; x(t9)=0,839

летне-осенний период

t1=-8,2°С;   x(t1)=0,694;

t3=-4,4°С;   x(t3)=0,233

Для материала защитного слоя (цементно-песчаный раствор) будем иметь wн=0,094 (табл. 18); wp= 0,006 (табл. 19); w=0,04 и g0min=1800 кг/м3 (прил. [3*]: Dwср=0,035 (табл. [14*]: среднее для легкого и тяжелого бетонов). Отсюда (формулы (41)

При этом долговечность защитного слоя по формуле (39) будет

 лет.

Таким образом, для обеспечения нормативного срока службы защитного слоя, равного 50 г (см. пп. 7.1-7.5) понадобится либо один капитальный ремонт, либо повышение его марки по морозостойкости до F75. В этом случае долговечность защитного слоя

 лет

и будет уже близка к нормативной.

Пример 3. Оценить долговечность всей однослойной стены

А. Исходные данные

Условия примера 2.

Б. Порядок расчета

Квазистационарное распределение температуры в стене с учетом формулы (42) и коэффициентов, найденных в примере 2, будет равно:

на зимне-весеннем периоде

t(х, t)=-12,800+67,295х+5,380х2-4,014x3+(0,0126-0,0282x)t, °С;

на летне-осеннем периоде

t(х, t)=13,611+11,85x-6,832x2+5,081x3+(0,0357x-0,0160)t, °C.

Пользуясь указаниями п. 7.26 для отыскания глубины промерзания стены на середине зимне-весеннего периода при t=30 сут будем иметь уравнение 4,014x3-5,38x2-46,991x+3,728=0.

Решая уравнение, найдем глубину промерзания стены равной х=7,78 см.

Из них на защитный слой приходится 3 см и на тело стены 4,78 см. Таким образом, придется оценить долговечность стены для слоя

.

При этом на зимне-весеннем периоде для него

m1+m3x+m5х2+m6х3=-12,800+67,295·0,05+5,380·0,052-4,014·0,053=-9,442°С;

m2+m4x=0,0126-0,0282·0,05=0,0112°С/ч.

Таким образом t(0,05; t)=-9,422+0,0112t, °С;

на летне-осеннем периоде

m1+m3x+m5х2+m6х3=13,611+11,850·0,05-6,832·0,052+5,081·0,053=14,187°С;

m2+m4x=-0,0160+0,0357·0,05=-0,0142°С/ч.

Таким образом t(0,05; t)=14,187-0,0142·t, °С.

Амплитуда суточных колебаний температуры в слое х=0,05 м (формула (48):

ил зимне-весеннем периоде

°С.

на летне-осеннем периоде

°С.

Теперь по формуле (50) найдем расчетные амплитуды колебании температуры в рассматриваемом слое стены, связанные с периодическими устойчивыми заморозками и оттепелями (пример 1):

на летне-весеннем периоде

°С.

на летне-осеннем периоде

°С.

По аналогии с предыдущим найдем квазистационарные температуры в расчетном слое стены на границах интервалов времени, где происходят переходы его температуры через 0°С:

для зимне-весеннего периода

t(0,05; 5)=-9,422+0,0112·5·24=8,1°С;

t(0,05; 45)=-9,422+0,0112·45·24=2,7°С;

для летне-осеннего периода

t(0,05; 30)=14,187-0,0142·30·24=4°C;

t(0,05; 50)=14,187-0,0142·50·24=-2,8°C.

По аналогии с примером 2 для рассматриваемых периодов и интервалов времени, построив графики изменения температуры зоны промерзания стены, подобные изображенным на рис. 17 и 18, найдем, что на зимне-весеннем периоде в стене будет шесть переходов через 0°С и из них два (№ 4 до -13,4°С и № 6 до -8,8°С) за tнз=-2,7°С (см. табл. 18), а на летне-осеннем периоде - шесть переходов через 0°С и из них два (№ 1 до -5,6°С и № 6 до -3,0°С) за tнз.

Теперь для указанных периодов определяем температуры переходов за tнз и коэффициенты x(ti) (см. табл. 20):

на зимне-весенний период

t4=-13,4°С; x(t4)=0,913;

t6=-8,8°С;   x(t6)=0,748

на летне-осенний период

t1=-5,6°С;   x(t1)=0,59;

t6=-3°С; x(t6)=0,106

.

Для материала стены (керамзитобетон) будем иметь wн=0,18 (см. табл. 18); wp=0,018 (табл. 19); w=0,1 и g0min=500 кг/м3 (прил. [3*]); Dwср=0,05 (табл. [14*]).

Поэтому по формуле (41):

; .

Теперь по формуле (39) находим долговечность стены:

 лет

Чтобы повысить долговечность стены до 50 лет, можно повысить марку морозостойкости керамзитобетона до F=50. Тогда мы будем иметь ее долговечность, равной q=36·50/35=51 г.

ПРИЛОЖЕНИЕ 1

ТЕМПЕРАТУРА ТОЧКИ РОСЫ tр, °С, ДЛЯ РАЗЛИЧНЫХ ЗНАЧЕНИЙ ТЕМПЕРАТУР tв И ОТНОСИТЕЛЬНОЙ ВЛАЖНОСТИ jв, %, ВОЗДУХА В ПОМЕЩЕНИИ

tв, °С

jв, %

40

45

50

55

60

65

70

75

80

85

90

95

-5

-15,3

-14,04

-12,9

-11,84

-10,83

-9,96

-9,11

-8,31

-7,62

-6,89

-6,24

-5,6

-4

-14,4

-13,1

-11,93

-10,84

-9,89

-8,99

-8,11

-7,34

-6,62

-5,89

-5,24

-4,6

-3

-13,42

-12,16

-10,98

-9,91

-8,95

-7,99

-7,16

-6,37

-5,62

-4,9

-4,24

-3,6

-2

-12,58

-11,22

-10,04

-8,98

-7,95

-7,04

-6,21

-5,4

-4,62

-3,9

-3,34

-2,6

-1

-11,61

-10,28

-9,1

-7,98

-7

-6,09

-5,21

-4,43

-3,66

-2,94

-2,34

-1,6

0

-10,65

-9,34

-8,16

-7,05

-6,06

-5,14

-4,26

-3,46

-2,7

-1,96

-1,34

-0,62

1

-9,85

-8,52

-7,32

-6,22

-5,21

-4,26

-3,4

-2,58

-1,82

-1,08

-0,41

0,31

2

-9,07

-7,72

-6,52

-5,39

-4,38

-3,41

-2,56

-1,74

-0,97

-0,24

0,52

1,29

3

-8,22

-6,88

-5,66

-4,53

-3,52

-2,57

-1,69

-0,88

-0,08

0,74

1,52

2,29

4

-7,45

-6,07

-4,84

-3,74

-2,7

-1,75

-0,87

-0,01

0,87

1,72

2,5

3,26

5

-6,66

-5,26

-4,03

-2,91

-1,87

-0,92

-0,01

0,94

1,83

2,68

3,49

4,26

6

-5,81

-4,45

-3,22

-2,08

-1,04

-0,08

0,94

1,39

2,8

3,68

4,48

5,25

7

-5,01

-3,64

-2,39

-1,25

-0,21

0,87

1,9

2,85

3,77

4,66

5,47

6,25

8

-4,21

-2,83

-1,56

-0,42

-0,72

1,82

2,86

3,85

4,77

5,64

6,46

7,24

9

-3,41

-2,02

-0,78

0,46

1,66

2,77

3,82

4,81

5,74

6,62

7,45

8,24

10

-2,62

-1,22

0,08

1,39

2,6

3,72

4,78

5,77

6,71

7,6

8,44

9,23

11

-1,83

-0,42

0,98

1,32

3,54

4,68

5,74

6,74

7,68

8,58

9,43

10,23

12

-1,04

0,44

1,9

3,25

4,48

5,63

6,7

7,71

8,65

9,56

10,42

11,22

13

-0,26

1,35

2,82

4,18

5,42

6,58

7,66

8,68

9,62

10,54

11,41

12,21

14

0,63

2,26

3,76

5,11

6,36

7,53

8,62

9,64

10,59

11,52

12,4

13,21

15

1,51

3,17

4,68

6,04

7,3

8,48

9,58

10,6

11,59

12,5

13,38

14,21

16

2,41

4,08

5,6

6,97

8,24

9,43

10,54

11,57

12,56

13,48

14,36

15,2

17

3,31

4,99

6,52

7,9

9,18

10,37

11,5

12,54

13,53

14,46

15,36

16,19

18

4,2

5,9

7,44

8,83

10,12

11,32

12,46

13,51

14,5

15,44

16,34

17,19

19

5,09

6,81

8,36

9,76

11,06

12,27

13,42

14,48

15,47

16,42

17,32

18,19

20

6

7,72

9,28

10,69

12

13,22

14,38

15,44

16,44

17,4

18,32

19,18

21

6,9

8,62

10,2

11,32

12,94

14,17

15,33

16,4

17,41

18,38

19,3

20,18

22

7,69

9,52

11,12

12,55

13,88

15,12

16,28

17,37

18,38

19,36

20,3

21,10

23

8,68

10,43

12,03

13,48

14,82

16,07

17,23

18,34

19,38

20,34

21,28

22,15

24

9,57

11,34

12,94

14,41

15,76

17,02

18,19

19,3

20,35

21,32

22,26

23,15

25

10,46

12,75

13,86

15,34

16,7

17,97

19,15

20,26

21,32

22,3

23,24

24,14

26

11,35

13,15

14,78

16,27

17,64

18,95

20,11

21,22

22,29

23,28

24,22

25,14

27

12,24

14,05

15,7

17,19

18,57

19,87

21,06

22,18

23,26

24,26

25,22

26,13

28

13,13

14,95

16,61

18,11

19,5

20,81

22,01

23,14

24,23

25,24

26,2

27,12

29

14,02

15,86

17,52

19,04

20,44

21,75

22,96

24,11

25,2

26,22

27,2

28,12

30

14,92

16,77

18,44

19,97

21,38

22,69

23,92

25,08

26,17

27,2

28,18

29,11

31

15,82

17,68

13,36

20,9

22,32

23,64

24,88

26,04

27,14

28,08

29,16

30,1

32

16,71

18,58

20,27

21,83

23,26

24,59

25,83

27

28,11

29,16

30,16

31,19

33

17,6

19,48

21,18

22,76

24,2

25,54

26,78

27,97

29,08

30,14

31,14

32,19

34

18,49

20,38

22,1

23,68

25,14

26,49

27,74

28,94

30,05

31,12

32,12

33,08

35

19,38

21,28

23,02

24,6

26,08

27,64

28,7

29,91

31,02

32,1

33,12

34,08

ПРИЛОЖЕНИЕ 2

СТОИМОСТЬ ТОПЛИВА И ТЕПЛОВОЙ ЭНЕРГИИ ПО ОСНОВНЫМ ЭКОНОМИЧЕСКИМ ЗОНАМ СТРАНЫ НА ПЕРИОД ДО 2000 ГОДА ДЛЯ РАСЧЕТОВ СОПРОТИВЛЕНИЯ ТЕПЛОПЕРЕДАЧЕ ОГРАЖДАЮЩИХ КОНСТРУКЦИЙ ЗДАНИЙ И ТЕПЛОВОЙ ИЗОЛЯЦИИ

Регион

Стоимость котельно-печного топлива, руб./т.усл. т

Стоимость тепловой энергии СТ, руб/ГДж

уголь

газ

Европейские районы СССР

50

60

3,58

Урал

43

52

3,35

Казахстан

41

50

3,35

Средняя Азия

42

51

3,58

Западная Сибирь

35

43

3,11

Восточная Сибирь

20

-

2,63

Дальний Восток

60

72

5,02

ПРИЛОЖЕНИЕ 3

РАСШИРЕННАЯ ТАБЛ. 1 ПРИЛ. [13*]

Rоусл, м2·°С/Вт

r1, при F1/F2

0,45

0,4

0,35

0,3

0,25

0,2

0,15

0,1

0,05

6

0,21

0,22

0,23

0,25

0,28

0,31

0,35

0,41

0,51

5

0,27

0,28

0,29

0,31

0,34

0,37

0,4

0,47

0,59

4

0,35

0,36

0,37

0,39

0,42

0,45

0,48

0,56

0,69

3

0,44

0,45

0,46

0,48

0,5

0,53

0,56

0,65

0,79

2,6

0,48

0,49

0,5

0,52

0,54

0,57

0,6

0,67

0,81

2,4

0,52

0,53

0,54

0,56

0,58

0,61

0,64

0,69

0,81

2.3

0,55

0,56

0,57

0,59

0,61

0,64

0,67

0,72

0,82

2,2

0,58

0,59

0,6

0,62

0,64

0,67

0,7

0,74

0,83

2,1

0,61

0,62

0,63

0,65

0,67

0,7

0,73

0,77

0,83

2

0,64

0,65

0,66

0,68

0,7

0,72

0,74

0,78

0,84

1,9

0,66

0,67

0,68

0,7

0,72

0,74

0,77

0,8

0,85

1,8

0,68

0,69

0,7

0,72

0,74

0,76

0,79

0,82

0,85

1,7

0,71

0,72

0,73

0,74

0,76

0,78

0,8

0,83

0,86

1,6

0,74

0,75

0,76

0,77

0,8

0,82

0,83

0,84

0,86

1,5

0,77

0,77

0,79

0,8

0,82

0,83

0,84

0,85

0,87

1,4

0,8

0,8

0,81

0,82

0,83

0,84

0,85

0,86

0,87

ПРИЛОЖЕНИЕ 4

ПРИВЕДЕННОЕ СОПРОТИВЛЕНИЕ ТЕПЛОПЕРЕДАЧЕ И КОЭФФИЦИЕНТ ТЕПЛОТЕХНИЧЕСКОЙ ОДНОРОДНОСТИ НЕКОТОРЫХ ОГРАЖДАЮЩИХ КОНСТРУКЦИЙ ПРИ УСЛОВИИ ЭКСПЛУАТАЦИИ Б

№ п.п.

Схема конструкции, основные размера

Материалы

Сопротивление теплопередаче R0усл, м2·°С/Вт

Приведенное сопротивление теплопередаче, R0пр, м2·°С/Вт

Коэффициент теплотехнической однородности r

Тепловая инерция D

1

Сплошной силикатный кирпич минеральная вата 60 мм, сплошной силикатный кирпич штукатурка

1,38

0,87

0,63

4,62

2

Дырчатый силикатный кирпич, минеральная вата 60 мм, сплошной силикатный кирпич штукатурка

1,42

0,97

0,68

4,63

3

Керамический дырчатый кирпич, минеральная вата 60 мм, керамический дырчатый кирпич, штукатурка

1,62

1,19

0,73

5,68

4

Керамический дырчатый кирпич, минеральная вата 60 мм, сплошной силикатный кирпич, штукатурка

1,45

1,01

0,7

4,84

5

Сплошной силикатный кирпич минеральная вата 60 мм, сплошной силикатный кирпич штукатурка

1,5

0,99

0,66

5,9

6

Дырчатый силикатный кирпич, минеральная вата 60 мм, сплошной силикатный кирпич штукатурка

1,53

1,08

0,71

5,91

7

Керамический дырчатый кирпич, минеральная вата 60 мм, керамический дырчатый кирпич, штукатурка

1,81

1,38

0,76

7,39

8

Керамический дырчатый кирпич, минеральная вата 60 мм, сплошной силикатный кирпич, штукатурка

1,56

1,13

0,72

6,13

9

Сплошной силикатный кирпич минеральная вата 140 мм, сплошной силикатный кирпич штукатурка

2,41

1,20

0,5

4,16

10

Дырчатый силикатный кирпич, минеральная вата 140 мм, сплошной силикатный кирпич штукатурка

2,44

1,26

0,52

4,17

11

Керамический дырчатый кирпич, минеральная вата 140 мм, сплошной силикатный кирпич, штукатурка

2,47

1,31

0,53

4,39

12

 

Сплошной силикатный кирпич минеральная вата 140 мм, сплошной силикатный кирпич штукатурка

2,53

1,65

0,65

5,45

13

Дырчатый силикатный кирпич, минеральная вата 140 мм, сплошной силикатный кирпич штукатурка

2,56

1,71

0,67

5,45

14

Керамический дырчатый кирпич, минеральная вата 140 мм, сплошной силикатный кирпич, штукатурка

2,59

1,76

0,68

5,67

15

Сплошной силикатный кирпич минеральная вата 140 мм, сплошной силикатный кирпич штукатурка

2,53

1,32

0,52

5,45

16

Дырчатый силикатный кирпич, минеральная вата 140 мм, сплошной силикатный кирпич штукатурка

2,56

1,39

0,54

5,45

17

Керамический дырчатый кирпич, минеральная вата 140 мм, сплошной силикатный кирпич, штукатурка

2,59

1,44

0,56

5,67

18

Сплошной силикатный кирпич минеральная вата 270 мм, сплошной силикатный кирпич штукатурка

4,26

2,19

/ 0,51

5,5

19

Сплошной силикатный кирпич минеральная вата 270 мм, сплошной силикатный кирпич сухая штукатурка

4,29

2,22

0,52

5.46

20

Дырчатый силикатный кирпич, минеральная вата 270 мм, сплошной силикатный кирпич штукатурка

4,30

2,42

0,56

5,51

21

Дырчатый силикатный кирпич, минеральная вата 270 мм, сплошной силикатный кирпич сухая штукатурка

4,32

2,44

0,56

5,47

22

Керамический дырчатый кирпич, минеральная вата 270 мм, сплошной силикатный кирпич, штукатурка

4,33

2,53

0,58

5,73

23

Керамический дырчатый кирпич, минеральная вата 270 мм. сплошной силикатный кирпич, сухая штукатурка

4,35

2,55

0,59

5,69

24

Сплошной силикатный кирпич, термолит 270 мм, сплошной силикатный кирпич, штукатурка

2,6

1,74

0,67

8,63

25

Сплошной силикатный кирпич, термолит 270 мм, сплошной силикатный кирпич, сухая штукатурка

2,63

1,77

0,67

8,59

26

Дырчатый силикатный кирпич, термолит 270 мм, сплошной силикатный кирпич, сухая штукатурка

2,64

1,88

0,71

8,63

27

Керамический дырчатый кирпич, термолит 270 мм, сплошной силикатный кирпич, штукатурка

2,67

1,93

0,72

8,85

28

Керамический дырчатый кирпич, термолит 270 мм, сплошной силикатный кирпич, сухая штукатурка

2,69

1,95

0,72

8,81

29

Сплошной силикатный кирпич, термолит 230 мм, деревянная обшивка 22 мм, сухая штукатурка 8 мм

2,32

1,93

0,83

7,09

30

Сплошной силикатный кирпич, термолит 230 мм, шпунтовая доска 19 мм

2,26

1,88

0,83

6,88

31

Сплошной силикатный кирпич, термолит 230 мм, древесностружечная плита 19 мм

2,23

1,82

0,82

6,89

32

Сплошной силикатный кирпич, минеральная вата 230 мм, деревянная обшивка 22 мм, сухая штукатурка 8 мм

3,73

2,84

0,76

4,43

33

Сплошной силикатный кирпич, минеральная вата 230 мм, шпунтовая доска 19 мм

3,68

2,79

0,76

4,22

34

Сплошной силикатный кирпич, минеральная вата 230 мм, древесностружечная плита 19 мм

3,65

2,76

0,76

4,23

35

Дырчатый силикатный кирпич, термолит 230 мм, деревянная обшивка 22 мм, сухая штукатурка 8 мм

2,35

1,97

0,84

7,1

36

Дырчатый силикатный кирпич, термолит 230 мм, шпунтовая доска 19 мм

2,3

1,95

0,85

6,88

37

Дырчатый силикатный кирпич, термолит 230 мм, древесностружечная плита 19 мм

2,27

1,93

0,85

6,9

38

Дырчатый силикатный кирпич, минеральная вата 230 мм, деревянная обшивка 22 мм, сухая штукатурка 8 мм

3,77

2,91

0,77

4,43

39

Дырчатый силикатный кирпич, минеральная вата 230 мм, шпунтовая доска 19 мм

3,71

2,9

0,78

4,22

40

Дырчатый силикатный кирпич, минеральная вата 230 мм, древесностружечная плита 19 мм

3,68

2,86

0,78

4,23

41

Керамический дырчатый кирпич, термолит 230 мм, деревянная обшивка 22 мм, сухая штукатурка 8 мм

2,4

2,09

0,87

7,49

42

Керамический дырчатый кирпич, термолит 230 мм, шпунтовая доска 19 мм

2,32

2,02

0,87

7,28

43

Керамический дырчатый кирпич, термолит 230 мм, древесностружечная плита 19 мм

2,31

1,98

0,86

7,29

44

Керамический дырчатый кирпич, минеральная вата 230 мм, деревянная обшивка 22 мм, сухая штукатурка 8 мм

3,81

3,04

0,86

4,83

45

Керамический дырчатый кирпич, минеральная вата 230 мм, шпунтовая доска 19 мм

3,76

2,97

0,79

4,61

46

Керамический дырчатый кирпич, минеральная вата 230 мм, древесностружечная плита 19 мм

3,73

2,92

0,78

4,63

47

Сплошной силикатный кирпич, деревянная рейка 22 мм, минеральная вата 150 мм, деревянная обшивка 22 мм, сухая штукатурка 8 мм

2,74

2,58

0,94

3,55

48

Сплошной силикатный кирпич, деревянная рейка 22 мм, минеральная вата 150 мм, шпунтовая доска 19 мм

2,68

2,52

0,94

3,33

49

Сплошной силикатный кирпич, деревянная рейка 22 мм, минеральная вата 150 мм, древесностружечная плита 19 мм

2,65

2,49

0,94

3,35

50

Сплошной силикатный кирпич, деревянная рейка 22 мм, термолит 150 мм, деревянная обшивка 22 мм, сухая штукатурка 8 мм

1,81

1,78

0,98

5,29

51

Сплошной силикатный кирпич, деревянная рейка 22 мм, термолит 150 мм, шпунтовая доска 19 мм

1,76

1,73

0,98

5,07

52

Сплошной силикатный кирпич деревянная рейка 22 мм, термолит 150 мм, древесностружечная плита 19 мм

1,73

1,7

0,98

5,09

53

Дырчатый силикатный кирпич, деревянная рейка 22 мм, минеральная вата 150 мм, деревянная обшивка 22 мм, сухая штукатурка 8 мм

2,79

2,63

0,94

3,73

54

Дырчатый силикатный кирпич деревянная рейка 22 мм, минеральная вата 150 мм, шпунтовая доска 19 мм

2,73

2,57

0,94

3,51

55

Дырчатый силикатный кирпич, деревянная рейка 22 мм, минеральная вата 150 мм, древесностружечная плита 19 мм

2,7

2,54

0,94

3,53

56

Дырчатый силикатный кирпич, деревянная рейка 22 мм, термолит 150 мм, деревянная обшивка, сухая штукатурка

1,86

1,82

0,98

5,47

57

Дырчатый силикатный кирпич, деревянная рейка, термолит 150 мм, гладкая деревянная обшивка

1,81

1,77

0,98

5,25

58

деревянная рейка, термолит 150 мм, древесностружечная плита

1,78

1,74

0,98

5,27

59

Штукатурка, мелкие блоки, минеральная вата 50 мм, деревянная обшивка 22 мм, сухая штукатурка 8 мм

2,47

2,34

0,95

6,27

60

Штукатурка, мелкие блоки, минеральная вата 50 мм, шпунтовая доска 19 мм

2,42

2,39

0,99

6,06

61

Штукатурка, мелкие блоки, минеральная вата 50 мм, древесностружечная плита 19 мм

2,39

2,35

0,98

6,08

62

Штукатурка, мелкие блоки, минеральная вата 100 мм, деревянная обшивка 22 мм, сухая штукатурка 8 мм

3,19

3,11

0,97

6,79

63

Штукатурка, мелкие блоки, минеральная вата 100 мм, шпунтовая доска 19 мм

3,13

3,07

0,98

6,57

64

Штукатурка, мелкие блоки, минеральная вата 100 мм, древесностружечная плита 19 мм

3,1

3,02

0,97

6,59

65

Штукатурка, мелкие блоки, минеральная вата 150 мм, деревянная обшивка 22 мм, сухая штукатурка 8 мм

3,9

3,78

0,97

7,31

66

Штукатурка, мелкие блоки, минеральная вата 150 мм, шпунтовая доска 19 мм

3,85

3,73

0,97

7,09

67

Штукатурка, мелкие блоки, минеральная вата 150 мм, древесностружечная плита 19 мм

3,82

3,7

0,97

7,11

68

Горизонтальная деревянная обшивка 22 мм, древесноволокнистая плита 4 мм, минеральная вата 50 мм, мелкие блоки, сухая штукатурка 8 мм

2,15

2,09

0,97

4,77

69

Горизонтальная деревянная обшивка 22 мм, древесноволокнистая плита, минеральная вата 50 мм, мелкие блоки, сухая штукатурка 8 мм

2,63

2,58

0,98

6,49

70

Горизонтальная деревянная обшивка 22 мм, древесноволокнистая плита 4 мм, минеральная вата 50 мм, газосиликальцитная плита, сухая штукатурка 8 мм

2,15

2,09

0,97

6,23

71

Горизонтальная деревянная обшивка 22 мм, древесноволокнистая плита 4 мм, минеральная вата 150 мм, деревянная обшивка 22 мм, сухая штукатурка 8 мм

2,75

2,55

0,93

2,93

72

Горизонтальная деревянная обшивка 22 мм, древесноволокнистая плита 4 мм, минеральная вата 150 мм, шпунтовая доска 19 мм

2,7

2,53

0,94

2,72

73

Горизонтальная деревянная обшивка 22 мм, древесноволокнистая плита 4 мм, минеральная вата 150 мм, древесностружечная плита 19 мм

2,67

2,46

0,92

2,73

74

Горизонтальная деревянная обшивка, древесноволокнистая плита 4 мм, термолит 150 мм, деревянная обшивка 22 мм, сухая штукатурка 8 мм

1,83

1,63

0,89

4,66

75

Горизонтальная деревянная обшивка, древесноволокнистая плита 4 мм, термолит 150 мм, шпунтовая доска 19 м

1,77

1,58

0,89

4,45

76

Горизонтальная деревянная обшивка, древесноволокнистая плита 4 мм, термолит 150 мм, древесностружечная плита 19 мм

1,74

1,51

0,87

4,46

77

Шифер, древесноволокнистая плита 4 мм, минеральная вата 150 мм, деревянная обшивка 22 мм, сухая штукатурка 8 мм

2,65

2,45

0,92

2,5

78

Шифер, древесноволокнистая плита 4 мм, минеральная вата 150 мм, шпунтовая доска 19 мм

2,59

2,39

0,92

2,28

79

Шифер, древесноволокнистая плита 4 мм, минеральная вата 150 мм, древесностружечная плита 19 мм

2,56

2,36

0,92

2,3

80

Шифер, древесноволокнистая плита 4 мм, термолит 150 мм, деревянная обшивка 22 мм, сухая штукатурка 8 мм

1,62

1,71

0,99

4,23

81

Шифер, древесноволокнистая плита 4 мм, термолит 150 мм, шпунтовая доска 19 мм

1,67

1,66

0,99

4,02

82

Шифер, древесноволокнистая плита 4 мм, термолит 150 мм, древесностружечная плита 18 мм

1,64

1,63

0,59

4,03

83

Штукатурка, фибролитовая плита 75 мм, древесноволокнистая плита 4 мм, минеральная вата 150 мм, деревянная обшивка 22 мм, сухая штукатурка 8 мм

3,18

3,02

0,95

4,14

84

Штукатурка, фибролитовая плита 75 мм, древесноволокнистая плита 4 мм, минеральная вата 150 мм, шпунтовая доска 19 мм

3,12

2,96

0,95

3,92

85

Штукатурка, фибролитовая плита 75 мм, древесноволокнистая плита 4 мм, минеральная вата 150 мм, древесностружечная плита 19 мм

3,09

2,82

0,91

3,94

86

Штукатурка, фибролитовая плита 75 мм, древесноволокнистая плита 4 мм, термолит 150 мм, деревянная обшивка 22 мм сухая штукатурка 8 мм

2,25

2,21

0,98

5,87

87

Штукатурка, фибролитовая плита 75 мм, древесноволокнистая плита 4 мм, термолит 150 мм шпунтовая доска 19 мм

2,2

2,16

0,98

5,66

88

Штукатурка, фибролитовая плита 75 мм, древесноволокнистая плита 4 мм, термолит 150 мм, древесностружечная плита 19 мм

2,17

2,14

0,99

5,67

Условные обозначения: 1, 3, 5 - армированная бетонная диафрагма 30 мм; 2, 6 - вертикальное ребро 250 мм; 4 - вертикальное ребро 120 мм; 7 - деревянный брус 50Х100 мм; 8 - воздушная прослойка 22 мм; 9 - воздушная прослойка 22Х50 мм

ПРИЛОЖЕНИЕ 5

ОПРЕДЕЛЕНИЕ ЭКОНОМИЧЕСКИ ЦЕЛЕСООБРАЗНОЙ ТОЛЩИНЫ И СОПРОТИВЛЕНИЯ ТЕПЛОПЕРЕДАЧЕ ДЛЯ НАИБОЛЕЕ УПОТРЕБЛЯЕМЫХ В ПРОМЫШЛЕННОМ СТРОИТЕЛЬСТВЕ ОГРАЖДАЮЩИХ КОНСТРУКЦИЙ

Экономически целесообразная толщина теплоизоляционного слоя ограждающих конструкций рассчитана для зданий с температурой внутреннего воздуха 16-20°С.

Единовременные затраты рассчитывались на основе оптовых цен на строительные материалы и конструкции, введенные в действие с 1.01.1982г., а также тарифов на перевозки и сборников Единых районных единичных расценок на строительные работы и конструкции (ЕРЕР) введенных в действие с 1.01.1984г. Сметные цены на привозные материалы были приняты по сборникам районных сметных цен на материалы, изделия, конструкции. Стоимость железобетонных конструкций определялась по Прейскуранту № 06-08 оптовых цен на железобетонные изделия. Стоимость кирпича определена по Прейскуранту № 06-13 оптовых цен на кирпич и другие местные строительные материалы.

Затраты на транспорт железобетонных конструкций и местных материалов определялись по Сборнику сметных цен на перевозки грузов для строительства. Стоимость бетона, раствора для заделки швов и штукатурки приняты по Сборнику районных сметных цен на материалы, изделия и конструкции. Стоимость монтажа конструкций определялись по соответствующим сборникам элементных сметных норм на строительные конструкции и работы к сборникам ЕРЕР. Стоимость тепловой энергии принята в соответствии с прил. 2.

Таблица 1

Районирование территории СССР для определения экономически целесообразной толщины теплоизоляционного слоя ограждающих конструкций

№ п.п.

Район

Территории, вошедшие в район (области, края, автономные и союзные республики)

1

Северо-западный

Мурманская, Архангельская области РСФСР, Карельская АССР

2

Ленинградский

Ленинградская, Новгородская, Псковская, Вологодская области РСФСР

3

Западный

Литовская, Латвийская, Эстонская, Белорусская ССР, Калининградская область РСФСР

4

Центральный

Владимирская, Калининская, Ивановская, Калужская, Московская, Рязанская, Смоленская, Тульская, Белгородская, Брянская, Воронежская, Курская, Липецкая, Орловская, Тамбовская, Костромская, Ярославская области РСФСР

5

Юго-Западный

Молдавская ССР, Винницкая, Волынская, Житомирская, Закарпатская, Киевская, Ивано-Франковская, Львовская, Николаевская, Одесская, Ровенская, Тернопольская, Хмельницкая, Черниговская, Черновицкая области УССР

6

Донецко-Приднепровский

Днепропетровская, Донецкая, Херсонская, Крымская, Запорожская, Кировоградская, Ворошиловградская, Сумская, Харьковская, Черкасская, Полтавская области УССР

7

Печорский

Коми АССР

8

Водго-Вятский

Горьковская, Кировская области РСФСР, Марийская, Мордовская, Чувашская АССР

9

Средне-Волжский

Волгоградская, Саратовская, Куйбышевская, Пензенская, Ульяновская области РСФСР, Татарская АССР

10

Нижне-Волжский

Астраханская, Ростовская области РСФСР, Калмыцкая АССР

11

Северо-Уральский

Свердловская, Пермская, Удмуртская АССР

12

Южно-Уральский

Курганская, Оренбургская, Челябинская области РСФСР, Башкирская АССР

13

Северо-Кавказский

Краснодарский, Ставропольский края РСФСР, Дагестанская, Кабардино-Балкарская, Северо-Осетинская, Чечено-Ингушская АССР

14

Закавказский

Азербайджанская ССР, Армянская ССР, Грузинская ССР

15

Казахский

Казахская ССР

16

Туркменский

Туркменская ССР

17

Узбекский

Узбекская ССР

18

Таджикский

Таджикская ССР

19

Киргизский

Киргизская ССР

20

Тюменский

Тюменская область РСФСР (без Ямало-Ненецкого национального округа)

21

Ямало-Ненецкий

Ямало-Ненецкий национальный округ Тюменской области

22

Западно-Сибирский

Новосибирская, Кемеровская, Томская, Омская области РСФСР, Алтайский край РСФСР

23

Восточно-Сибирский

Тувинская АССР, Красноярский край (без Таймырского национального округа)

24

Норильский

Таймырский национальный округ Красноярского края РСФСР

25

Иркутский

Иркутская область РСФСР

26

Якутский

Якутская АССР

27

Забайкальский

Бурятская АССР, Читинская область РСФСР

28

Хабаровский

Хабаровский край. Амурская область РСФСР

29

Приморский

Приморский край РСФСР, Сахалинская область РСФСР

30

Магаданский

Магаданская, Камчатская области РСФСР

Таблица 2

Конструктивные решения покрытий (оптимальная толщина утеплителя обозначена dопт)

Номер конструкции

Эскиз конструкции

Вид теплоизоляции

Основные характеристики теплоизоляционного слоя

Плотность g, кг/м3

коэффициент теплопроводности l, Вт/м·°С, для условий эксплуатации

А

Б

1

Пенополиуретан заливочный

50

0,04

0,04

2

1 - гравий на антисептированной мастике, d=0,02 м; 2 - четыре слоя рулонного водоизоляционного ковра; 3 - мешочная бумага или слой рубероида; 4 - теплоизоляция (см. гр. 3); 5 - стальной профилированный настил

Фенольный пенопласт заливочный

100

0,052

0,076

3

Плиты фенольные ФРП-1

100

0,052

0,076

4

1 - гравий на антисептированной мастике, d=0,02 м; 2 - четыре слоя рулонного водоизоляционного ковра; 3 - теплоизоляция (см. гр. 3); 4 - рубероид, наклеенный на горячем битуме; 5 - стальной профилированный настил

Плиты минераловатные повышенной жесткости

200

0,07

0,076

5

Плиты пенополистерольные ПСБ-С

40

0,041

0,05

6

1 - гравий на антисептированной мастике, d=0,01 м; 2 - три слоя рулонного водоизоляционного ковра; 3 - теплоизоляция (см. гр. 3); 4 - рубероид, наклеенный на горячем битуме; 5 - железобетонная плита, d=0,03 м

Плиты минераловатные повышенной жесткости

200

0,07

0,076

7

Плиты фенольные ФРП-1

100

0,052

0,076

8*

Плиты из ячеистого бетона

400

0,14

0,15

9

1 - гравий на антисептированной мастике, d=0,01 м; 2 - три слоя рулонного водоизоляционного ковра; 3 - цементно-песчаный раствор марки 50, d=0,015 м и d=0,025 м (по керамзитовому гравию); 4 - теплоизоляция (см. гр. 3); 5 - рубероид, наклеенный на горячем битуме; 6 - железобетонная плита, d=0,03 м

Плиты фибролитовые

300

0,11

0,14

10

А

Керамзитобетон

500

600

0,17

0,2

0,23

0,26

Б

11

Керамзитовый гравий

500

600

0,15

0,17

0,17

0,2

* Комплексная железобетонная плита.

Таблица 3

Экономически целесообразная толщина слоя теплоизоляции в конструкциях покрытий dопт, м

№ п.п.

Район

Конструкция

стальной профилированный настил с утеплителем, gо, кг/м3

железобетонная плита с утеплителем, gо, кг/м3

ППУ 50

Фенольный пенопласт, 100

ФРП-1, 100

МВП повышенной жесткости, 200

ПСБ-С, 40

МВП повышенной жесткости, 200

ФРП-1, 100

Ячеистый бетон, 400

Фибролитовая плита, 300

Керамзитобетон

Керамзитовый гравий, 600

500

600

Номер конструкции покрытия по табл. 2

1

2

3

4

5

6

7

8

9

10А

10Б

11

1

Северо-западный

0,08

0,1

0,12

0,12

0,1

0,12

0,12

0,18

0,3

0,26

0,26

0,3

2

Ленинградский

0,06

0,08

0,08

0,1

0,1

0,1

0,08

0,24

0,2

0,24

0,3

0,35

3

Западный

0,06

0,08

0,08

0,03

0,1

0,1

0,08

0,22

0,2

0,26

0,3

0,3

4

Центральный

0,06

0,03

0,08

0,1

0,1

0,1

0,1

0,24

0,2

0,26

0,3

0,35

5

Юго-западный

0,05

0,07

0,07

0,06

0,1

0,08

0,07

0,16

0,2

0,2

0,26

0,2

6

Донецко-Приднепровский

0,06

0,07

0,06

0,08

0,1

0,08

0,06

0,18

0,2

0,2

0,26

0,2

7

Печорский

0,08

0,1

0,1

0,12

0,1

0,12

0,1

0,22

0,3

0,26

0,26

0,35

8

Волго-Вятский

0,06

0,1

0,08

0,1

0,1

0,1

0,1

0,24

0,2

0,26

0,3

0,35

9

Средне-Волжский

0,06

0,07

0,07

0,08

0,1

0,1

0,08

0,2

0,2

0,26

0,26

0,35

10

Нижне-Волжский

0,05

0,06

0,06

0,06

0,1

0,08

0,07

0,14

0,2

0,2

0,2

0,2

11

Северо-Уральский

0,08

0,08

0,03

0,1

0,1

0,1

0,08

0,2

0,2

0,26

0,3

0,35

12

Южно-Уральский

0,06

0,08

0,08

0,1

0,1

0,1

0,08

0,22

0,2

0,26

0,26

0,3

13

Северо-Кавказский

0,05

0,06

0,07

0,06

0,1

0,06

0,07

0,16

0,2

0,2

0,2

0,2

14

Закавказский

0,04

0,05

0,05

0,06

0,05

0,06

0,05

0,14

0,1

0,14

0,14

0,15

15

Казахский

0,08

0,08

0,08

0,1

0,1

0,1

0,08

0,22

0,2

0,2

0,26

0,2

16

Туркменский

0,04

0,04

0,05

0,05

0,05

0,05

0,05

0,10

0,1

0,1

0,12

0,15

17

Узбекский

0,04

0,04

0,05

0,06

0,05

0,06

0,05

0,14

0,1

0,16

0,16

0,15

18

Таджикский

0,04

0,04

0,05

0,05

0,05

0,05

0,05

0,1

0,1

0,12

0,14

0,15

19

Киргизский

0,05

0,05

0,06

0,06

0,1

0,06

0,06

0,16

0,15

0,16

0,2

0,15

20

Тюменский

0,06

0,08

0,08

0,1

0,1

0,1

0,08

0,14

0,2

0,2

0,2

0,25

21

Ямало-Ненецкий

0,08

0,12

0,12

0,12

0,1

0,12

0,12

0,16

0,2

0,24

0,28

0,2

22

Западно-Сибирский

0,06

0,08

0,08

0,1

0,1

0,1

0,08

0,24

0,2

0,26

0,24

0,3

23

Восточно-Сибирский

0,08

0,07

0,08

0,1

0,1

0,1

0,08

0,22

0,2

0,22

0,26

0,3

24

Норильский

0,06

0,12

0,12

0,12

0,1

0,12

0,12

0,24

0,2

0,26

0,3

0,2

25

Иркутский

0,08

0,08

0,08

0,1

0,1

0,1

0,08

0,2

0,2

0,2

0,26

0,3

26

Якутский

0,08

0,1

0,1

0,1

0,1

0,12

0,1

0,16

0,2

0,2

0,22

0,2

27

Забайкальский

0,1

0,12

0,12

0,12

0,15

0,15

0,12

0,24

0,3

0,26

0,3

0,4

28

Хабаровский

0,1

0,12

0,1

0,12

0,15

0,12

0,1

0,24

0,3

0,26

0,3

0,4

29

Приморский

0,08

0,1

0,1

0,12

0,064

0,12

0,1

0,24

0,3

0,26

0,36

0,35

30

Магаданский

0,08

0,14

0,12

0,12

0,15

0,12

0,12

0,22

0,3

0,24

0,26

0,25

Таблица 4

Экономически целесообразное сопротивление теплопередаче конструкций покрытий Rоэк, м2·°С/Вт

№ п.п.

Район

Конструкция

стальной профилированный настил с утеплителем, gо, кг/м3

железобетонная плита с утеплителем, gо, кг/м3

ППУ 50

Фенольный пенопласт, 100

ФРП-1, 100

МВП повышенной жесткости, 200

ПСБ-С, 40

МВП повышенной жесткости, 200

ФРП-1, 100

Ячеистый бетон, 400

Фибролитовая плита, 300

Керамзитобетон

Керамзитовый гравий, 500-600

500

600

Номер конструкции покрытия по табл. 2

1

2

3

4

5

6

7

8

9

10А

10Б

11

1

Северо-западный

2,31

1,63

1,63

1,85

2,23

1,81

1,81

1,49

2,39

1,42

1,25

1,92

2

Ленинградский

1,81

1,36

1,36

1,59

2,23

1,55

1,28

1,89

1,68

1,33

1,4

2,19

3

Западный

1,81

1,36

1,36

1,32

2,23

1,55

1,28

1,76

1,68

1,42

1,4

1,92

4

Центральный

1,81

1,36

1,36

1,59

2,23

1,55

1,55

1,89

1,68

1,42

1,4

2,19

5

Юго-западный

1,56

1,23

1,23

1,06

2,23

1,28

1,15

1,36

1,68

1,16

1,25

1,38

6

Донецко-Приднепровский

1,81

1,66

1,66

1,41

2,67

1,37

1,38

1,58

2,07

1,47

1,55

1,56

7

Печорский

2,31

1,63

1,63

1,85

2,23

1,81

1,55

1,76

2,39

1,42

1,25

2,19

8

Волго-Вятский

1,81

1,63

1,63

1,59

2,23

1,55

1,55

1,89

1,68

1,42

1,4

2,19

9

Средне-Волжский

1,81

1,66

1,66

1,41

2,67

1,66

1,77

1,72

2,07

1,82

1,55

2,5

10

Нижне-Волжский

1,56

1,46

1,46

1,13

2,67

1,37

1,58

1,29

2,07

1,47

1,25

1,56

11

Северо-Уральский

2,31

1,85

1,85

1,7

2,67

1,66

1,77

1,72

2,07

1,82

1,75

2,5

12

Южно-Уральский

1,81

1,85

1,85

1,7

2,67

1,66

1,77

1,86

2,07

1,82

1,55

2,18

13

Северо-Кавказский

1,56

1,1

1,1

1,06

2,23

1,02

1,15

1,36

1,68

1,16

1,02

1,38

14

Закавказский

1,31

1,27

1,27

1,06

1,45

1,09

1,19

1,29

1,16

1,12

0,95

1,25

15

Казахский

2,31

1,85

1,85

1,7

2,67

1,66

1,77

1,86

2,07

1,47

1,55

1,56

16

Туркменский

1,31

1,08

1,08

0,98

1,45

0,94

1,19

1,01

1,16

0,88

0,85

1,25

17

Узбекский

1,31

1,08

1,08

1,13

1,45

1,09

1,19

1,29

1,16

1,24

1,05

1,25

18

Таджикский

1,31

1,08

1,08

0,98

1,45

0,94

1,19

1,01

1,16

1

0,95

1,25

19

Киргизский

1,56

1,27

1,27

1,13

2,67

1,09

1,38

1,44

1,61

1,24

1,25

1,25

20

Тюменский

1,81

1,85

1,85

1,7

2,67

1,66

1,77

1,29

2,07

1,47

1,25

1,87

21

Ямало-Ненецкий

1,81

1,89

1,89

1,85

2,23

1,81

1,81

1,36

1,68

1,33

1,33

1,38

22

Западно-Сибирский

2,31

1,85

1,85

1,7

2,67

1,66

1,77

2,01

2,07

1,82

1,45

2,18

23

Восточно-Сибирский

1,81

1,66

1,66

1,7

2,67

1,66

1,77

1,86

2,07

1,59

1,55

2,18

24

Норильский

2,31

1,89

1,89

1,85

2,23

1-,81

1,81

1,89

1,68

1,42

1,4

1,38

25

Иркутский

1,81

1,85

1,85

1,7

2,67

1,66

1,77

1,72

2,07

1,47

1,55

2,18

26

Якутский

2

2,23

2,23

1,7

2,67

1,94

1,55

1,44

2,07

1,47

1,35

1,56

27

Забайкальский

2,81

2,62

2,02

1,98

3,89

2,37

2,54

2,01

2,98

1,82

1,75

2,81

28

Хабаровский

2,81

1,89

1,89

1,85

3,23

1,81

1,55

1,89

2,39

1,42

1,4

2,46

29

Приморский

2,31

1,63

1,63

1,85

1,56

1,81

1,55

1,89

2,39

1,42

1,4

2,19

30

Магаданский

2,31

2,15

2,15

1,85

3,23

1,81

1,81

1,86

2,39

1,33

1,25

1,65

Таблица 5

Конструктивные решения стен (оптимальная толщина утеплителя обозначена dопт)

Номер конструкции

Эскиз конструкции

Вид теплоизоляции

Основные характеристики теплоизоляционного слоя

Плотность g, кг/м3

коэффициент теплопроводности l, Вт/м·°С, для условий эксплуатации

А

Б

1

Пенополиуретан

50

0,04

0,04

 

1 - стальной профилированный лист; 2 - пенополиуретан

 

 

 

 

2

Минераловатные плиты

150

0,068

0,075

 

1 - стальной профилированный лист; 2 - стальной профиль; 3 - минераловатные плиты

 

 

 

 

3

Пенополистирол ПСБ

40

0,041

0,05

4

1 - железобетон; 2 - теплоизоляция (см. гр. 3)

Минераловатные плиты марки 175

175

0,072

0,075

5

Ячеистый бетон

800

0,33

0,37

 

1 - теплоизоляция (см. гр. 3)

 

 

 

 

6

Керамзитобетон

1100

0,38

0,46

7

1 - керамзитобетон; 2 - цементно-песчаный раствор

То же

1300

0,5

0,58

8

Кирпич или камни керамические пустотные на цементно-песчаном растворе

1400

0,52

0,58

 

1 - теплоизоляция (см. гр. 3)

 

 

 

 

9

Кирпич керамический полнотелый на цементно-песчаном растворе

1800

0,7

0,8

 

1 - теплоизоляция (см. гр. 3)

 

 

 

 

Таблица 6

Экономически целесообразная толщина слоя теплоизоляции в конструкциях стен dопт, м

№ п.п.

Район

Конструкция

стальной профилированный лист с утеплителем, gо, кг/м3

железобетонная плита с утеплителем, gо, кг/м3

ячеистый бетон, gо 800

керамзитобетон, gо, кг/м3

кирпич, gо, кг/м3

ППУ, 50

МВП, 150

ПСБ,40

МВП, 175

1100

1300

1400

1800

1

2

3

4

5

6

7

8

9

1

Северо-западный

0,08

0,15

0,15

0,18

0,25

0,25

0,3

0,37

0,5

2

Ленинградский

0,06

0,15

0,1

0,18

0,25

0,25

0,3

0,37

0,5

3

Западный

0,06

0,15

0,1

0,18

0,25

0,25

0,25

0,37

0,37

4

Центральный

0,06

0,15

0,1

0,18

0,25

0,25

0,3

0,37

0,5

5

Юго-западный

0,06

0,12

0,1

0,15

0,25

0,2

0,25

0,37

0,37

6

Донецко-Приднепровский

0,06

0,15

0,1

0,18

0,25

0,2

0,25

0,37

0,37

7

Печорский

0,08

0,18

0,15

0,18

0,25

0,3

0,4

0,5

0,62

8

Волго-Вятский

0,08

0,18

0,1

0,18

0,25

0,25

0,4

0,37

0,5

9

Средне-Волжский

0,06

0,15

0,1

0,18

0,25

0,25

0,25

0,37

0,37

10

Нижне-Волжский

0,06

0,12

0,1

0,15

0,2

0,2

0,25

0,25

0,37

11

Северо-Уральский

0,08

0,15

0,1

0,18

0,25

0,25

0,3

0,37

0,5

12

Южно-Уральский

0,08

0,15

0,1

0,18

0,25

0,25

0,3

0,37

0,5

13

Северо-Кавказский

0,06

0,12

0,1

0,12

0,25

0,2

0,25

0,25

0,37

14

Закавказский

0,045

0,1

0,06

0,1

0,16

0,2

0,2

0,25

0,25

15

Казахский

0,08

0,15

0,1

0,18

0,25

0,25

0,3

0,37

0,5

16

Туркменский

0,045

0,08

0,666

0,1

0,16

0,2

0,2

0,25

0,25

17

Узбекский

0,045

0,1

0,066

0,12

0,16

0,2

0,2

0,25

0,25

18

Таджикский

0,45

0,08

0,066

0,1

0,16

0,2

0,2

0,25

0,25

19

Киргизский

0,06

0,12

0,1

0,12

0,2

0,2

0,25

0,37

0,37

20

Тюменский

0,08

0,15

0,1

0,18

0,25

0,25

0,4

0,37

0,5

21

Ямало-Ненецкий

0,08

0,15

0,1

0,2

0,3

0,4

0,5

0,5

0,62

22

Западно-Сибирский

0,08

0,15

0,1

0,18

0,25

0,25

0,4

0,37

0,5

23

Восточно-Сибирский

0,06

0,15

0,1

0,18

0,25

0,3

0,4

0,37

0,5

24

Норильский

0,08

0,2

0,15

0,25

0,3

0,4

0,5

0,5

0,62

25

Иркутский

0,06

0,15

0,1

0,18

0,25

0,25

0,4

0,37

0,5

26

Якутский

0,08

0,18

0,1

0,2

0,3

0,4

0,5

0,5

0,75

27

Забайкальский

0,08

0,2

0,15

0,25

0,25

0,25

0,4

0,5

0,62

28

Хабаровский

0,08

0,2

0,15

0,25

0,25

0,25

0,4

0,62

0,62

29

Приморский

0,06

0,18

0,15

0,2

0,25

0,25

0,3

0,37

0,5

30

Магаданский

0,06

0,2

0,15

0,25

0,25

0,25

0,4

0,37

0,5

Таблица 7

Экономически целесообразные сопротивления теплопередаче конструкций стен Rоэк, м2·°С/Вт

№ п.п.

Район

Конструкция

стальной профилированный лист с утеплителем, gо, кг/м3

железобетонная плита с утеплителем, gо, кг/м3

ячеистый бетон, 800

керамзитобетон, gо, кг/м3

кирпич, gо, кг/м3

ППУ, 50

МВП, 150

ПСБ,40

МВП, 175

1100

1300

1400

1800

1

2

3

4

5

6

7

8

9

1

Северо-западный

2,07

1,76

2,39

1,92

0,9

0,74

0,71

0,82

0,8

2

Ленинградский

1,6

1,76

1,66

1,92

0,9

0,74

0,71

0,82

0,8

3

Западный

1,6

1,76

1,66

1,92

0,9

0,74

0,63

0,82

0,64

4

Центральный

1,6

1,76

1,66

1,92

0,9

0,74

0,71

0,82

0,8

5

Юго-западный

1,6

1,42

1,66

1,66

0,9

0,63

0,63

0,82

0,64

6

Донецко-Приднепровский

1,6

1,92

1,98

2

0,99

0,73

0,71

0,9

0,71

7

Печорский

2,07

2,06

2,39

1,92

0,9

0,86

0,89

1,05

0,95

8

Волго-Вятский

2,07

2,06

1,66

1,92

0,9

0,74

0,88

0,82

0,8

9

Средне-Волжский

1,6

1,92

1,98

2

0,99

0,86

0,71

0,9

0,71

10

Нижне-Волжский

1,6

1,55

1,98

1,72

0,83

0,73

0,7

0,66

0,71

11

Северо-Уральский

2,07

1,92

1,98

2

0,99

0,86

0,81

0,9

0,9

12

Южно-Уральский

2,07

1,92

1,98

2

0,99

0,86

0,81

0,9

0,9

13

Северо-Кавказский

1,6

1,42

1,66

1,34

0,9

0,63

0,62

0,61

0,64

14

Закавказский

1,24

1,33

1,39

1,21

0,71

0,73

0,61

0,66

0,54

15

Казахский

2,07

1,92

1,98

2

0,99

0,86

0,81

0,9

0,9

16

Туркменский

1,24

1,07

1,39

1,21

0,71

0,73

0,61

0,66

0,54

17

Узбекский

1,24

1,33

1,39

1,39

0,71

0,73

0,61

0,66

0,54

18

Таджикский

1,24

1,07

1,39

1,21

0,71

0,73

0,61

0,66

0,54

19

Киргизский

1,6

1,55

1,98

1,39

0,83

0,73

0,71

0,9

0,71

20

Тюменский

2,07

1,92

1,98

2

0,99

0,86

1,01

0,9

0,9

21

Ямало-Ненецкий

2,07

1,76

1,66

2,14

1,03

1,06

1,05

1,05

0,95

22

Западно-Сибирский

2,07

1,92

1,98

2

0,99

0,86

1,01

0,9

0,9

23

Восточно-Сибирский

1,6

1,92

1,98

2

0,99

0,99

1,01

0,9

0,9

24

Норильский

2,07

2,29

2,39

2,63

1,03

1,06

1,05

1,05

0,95

25

Иркутский

1,6

1,92

1,98

2

0,99

0,86

1,01

0,9

0,9

26

Якутский

2,07

2,26

1,98

2,23

1,14

1,25

1,2

1,15

1,25

27

Забайкальский

2,07

2,39

2,87

2,73

0,99

0,86

1,01

1,15

1,07

28

Хабаровский

2,07

2,29

2,39

2,63

0,9

0,74

0,89

1,25

0,95

29

Приморский

2,07

2,06

2,39

2,14

0,9

0,74

0,71

0,82

0,8

30

Магаданский

1,6

2,29

2,39

2,63

0,9

0,74

0,88

0,82

0,8

ПРИЛОЖЕНИЕ 6

ВЫБОР КОНСТРУКТИВНЫХ РЕШЕНИЙ ОКОН И ФОНАРЕЙ И СПОСОБ ВЕНТИЛЯЦИИ ПОМЕЩЕНИЯ ПРОМЫШЛЕННЫХ ЗДАНИЙ В ЗАВИСИМОСТИ ОТ ПРОИЗВОДСТВЕННЫХ ВЫДЕЛЕНИЙ ТЕПЛА, ВЛАГИ И ВРЕДНЫХ ВЕЩЕСТВ

№ категории

Условия производства

Вид производств

Вид светопрозрачных конструкций

Способ вентиляции

Iа

С незначительными избытками явного тепла (до 23 Вт/м3) и незначительными выделениями вредных веществ (ГОСТ 12.1.005-88)

Цех инструментальный, сборочный, механический, механосборочный

Открывающиеся окна, зенитные фонари

Принудительная, приточно-вытяжная

То же, при наличии специальных требований к параметрам внутреннего воздуха

Предприятия электроники, часовые заводы

Глухие окна и зенитные фонари

То же

II

С незначительными избытками явного тепла (до 23 Вт/м3) и значительными выделениями вредных веществ

Цехи сварочные, окрасочные, цехи химических предприятий с открытыми или полуоткрытыми процессами по выработке кислот, щелочей, едких реактивов, ядохимикатов, удобрений, цехи гальванических покрытий с гальванопластики с применением электролиза

То же

Принудительная, приточно-вытяжная с очисткой выбросов от вредных веществ

IIIa

С избытками явного тепла от 23 до 50 Вт/м3 и незначительными выделениями вредных веществ

Цехи химических производств с закрытыми процессами, трубоволочильные, холодного проката листа по производству картона и бумаги целлюлозно-бумажных комбинатов, сборного железобетона

Открывающиеся окна, светоаэрационные фонари

Естественная через окна и фонари

Открывающиеся окна

Естественная через окна и аэрационные шахты

Глухие окна

Принудительная приточно-вытяжная

IIIб

То же, при наличии специальных требований к чистоте приточного воздуха

Цехи пищевой промышленности

Глухие окна и зенитные фонари

Принудительная, приточно-вытяжная

IV

Со значительными избытками явного тепла (более 50 Вт/м3) и незначительными выделениями вредных веществ

Цехи горячего проката металла, непрерывной разливки стали, стекловарения огнеупоров

Глухие окна, аэрационные проемы в стенах, аэрационные фонари

Естественная через аэрационные проемы в стенах и аэрационные фонари

V

Со значительными избытками явного тепла (более 50 Вт/м3) и значительными выделениями вредных веществ

Сталелитейные, доменные, конверторные, электролизные цехи металлургической промышленности, агломерационные фабрики, цехи цементных заводов

Глухие окна, аэрационные проемы в стенах, аэрационные фонари

Естественная через аэрационные проемы в стенах и аэрационные фонари, дополненная местной вентиляцией с очисткой выбросов. При соответствующем обосновании вытяжная вентиляция может быть решена принудительной

VI

С влажным и мокрым режимом

Цехи электролиза, флотации предприятий цветной металлургии, цехи по производству бумаги, картона, целлюлозы, целлюлозно-бумажных комбинатов, цехи изготовления железобетонных изделий, помещения животноводческих комплексов, пищевых предприятий, прачечные

Окна в одинарных переплетах со стеклопакетами, окна из профильного стекла

Принудительная приточно-вытяжная с возможностью устройства дополнительной естественной вентиляции через окна

ПРИЛОЖЕНИЕ 7

ЗНАЧЕНИЯ УПРУГОСТИ ВОДЯНОГО ПАРА Ер, Па, И ОТНОСИТЕЛЬНОЙ ВЛАЖНОСТИ ВОЗДУХА НАД НАСЫЩЕННЫМИ РАСТВОРАМИ СОЛЕЙ ПРИ В=100,7 кПа

Химическая формула соли

Упругость водяного пара Ер, Па, при температуре, °С

Относительная влажность g'p, %, при t=20°С

10

15

20

25

30

ZnBr2

-

-

230,6

286,6

305,3

10

MgCl2

-

-

-

-

1400

33

Na2S2O3

548

761,3

1051

1451

1895

45

Mg(NO3)2

-

-

1261

1659

2169

54

Ca(NO3)2

746,6

954,6

1288

1605

2005

55

NaBr

-

959,9

1400

1787

2240

60

NH4NO3

917,3

1193

1566

1992

2524

67

NaNO3

950,6

1313

1804

2364

3076

77

NaCl

923,6

1279

1807

2381

3263

77

NH4C1

969,3

1353

1856

2416

3281

79

Ca(NH2)2

997,2

1365

1873

2408

3078

80

(NH4)2SO4

971,9

1355

1896

2600

3362

81

Na2SO4

909,3

1333

1927

2748

3633

82

KC1

1055

1445

1968

2636

3733

84

NaSO3

1075

1487

2038

2762

3706

87

CdSO4

1099

1511

2077

2812

3768

89

Na2CO3

-

1601

2090

2704

3465

89

CdBr2

-

-

2120

2820

3678

90

ZnSO4

1189

1597

2126

2802

3661

91

NH4H2PO4

1192

1658

2146

2921

3890

92

KNO3

1183

1635

2161

2925

3845

92

CaH4(PO4)2

1193

1689

2202

3052

3980

94

КН2РO4

1195

1683

2251

3034

3946

96

MgSO4

-

-

-

-

4000

97

K2SO4

1208

1701

2306

3141

4112

98

ПРИЛОЖЕНИЕ 8

УПРУГОСТЬ НАСЫЩЕННОГО ВОДЯНОГО ПАРА Е, Па, ДЛЯ РАЗЛИЧНЫХ ЗНАЧЕНИЙ ТЕМПЕРАТУР ПРИ В=100,7 кПа

Таблица 1

Для температур от 0 до -40°С (над льдом)

t, °С

E

t, °С

E

t, °С

E

t, °С

t, °С

E

Е

0

611

-0,4

592

-0,8

573

-1,2

553

-1,6

535

-0,2

601

-0,6

581

-1

563

-1,4

544

-1,8

527

-2

517

-7

338

-11,8

221

-16,8

140

-24

69

-2,2

509

-7,2

332

-12

217

-17

137

-24,5

65

-2,4

400

-7,4

327

-12,2

213

-17,2

135

-25

63

-2,6

492

-7,6

321

-12,4

209

-17,4

132

-25,5

60

-2,8

484

-7,8

315

-12,6

207

-17,6

129

-26

57

-3

476

-8

310

-12,8

203

-17,8

128

-26,5

53

-3,2

468

-8,2

304

-13

199

-18

125

-27

51

-3,4

460

-8,4

299

-13,2

195

-18,2

123

-27,5

48

-3,6

452

-8,6

293

-13,4

191

-18,4

120

-28

47

-3,8

445

-8,8,

289

-13,6

188

-18,6

117

-28,5

44

-4

437

-9

284

-13,8

184

-18,8

116

-29

42

-4,2

429

-9,2

279

-14

181

-19

113

-29,5

39

-4,4

423

-9,4

273

-14,2

179

-19,2

111

-

-

-4,6

415

-9,6

268

-14,4

175

-19,4

109

-30

38

-4,8

408

-9,8

264

-14,6

172

-19,6

107

-31

34

-5

402

-

-

-14,8

168

-19,8

105

-32

34

-5,2

395

-10

260

-15

165

-

-

-33

27

-5,4

388

-10,2

260

-15,2

163

-20

103

-34

25

-5,6

381

-10,4

251

-15,4

159

-20,5

99

-35

22

-5,8

375

-10,6

245

-15,4

159

-21

93

-36

20

-6

369

-10,8

241

-15,8

153

-21,5

89

-37

18

-6,2

363

-11

237

-16

151

-22

85

-38

16

-6,4

356

-11,2

233

-16,2

148

-22,5

81

-39

14

-6,6

351

-11,4

229

-16,4

145

-23

77

-40

12

-6,8

344

-11,6

225

-16,6

143

-23,5

73

-41

11

Таблица 2

Для температур от 0 до 50 °С (над водой)

°С

0

0,1

0,2

0,3

0,4

0,5

0,6

0,7

0,8

0,9

0

611

615

620

624

629

633

639

643

648

652

1

657

661

667

671

676

681

687

691

696

701

2

705

711

716

721

727

732

737

743

748

753

3

759

764

769

775

780

785

791

796

803

808

4

813

819

825

831

836

843

848

855

860

867

5

872

879

885

891

897

904

909

916

923

929

6

935

941

948

956

961

968

975

981

988

995

7

1001

1009

1016

1023

1029

1037

1044

1051

1059

1065

8

1072

1080

1088

1095

1103

1189

1117

1125

1132

1140

9

1148

1156

1164

1172

1180

1188

1196

1204

1212

1220

10

1228

1236

1244

1253

1261

1269

1279

1287

1285

1304

11

1312

1321

1331

1339

1348

1355

1365

1375

1384

1323

12

1403

1412

1421

1431

1440

1449

1459

1468

1479

1488

13

1497

1508

1517

1527

1537

1547

1557

1568

1577

1588

14

1599

1609

1619

1629

1640

1651

1661

1672

1683

1695

15

1705

1716

1727

1739

1749

1761

1772

1784

1795

1807

16

1817

1829

1841

1853

1865

1877

1889

1901

1913

1925

17

1937

1949

1962

1974

1986

2000

2012

2025

2037

2050

18

2064

2077

2089

2102

2115

2129

2142

2156

2169

2182

19

2197

2210

2225

2238

2252

2266

2281

2294

2309

2324

20

2338

2352

2366

2381

2396

2412

2426

2441

2456

2471

21

2488

2502

2517

2533

2542

2564

2580

2596

2612

2628

22

2644

2660

2676

2691

2709

2725

2742

2758

2776

2792

23

2809

2826

2842

2860

2877

2894

2913

2930

2948

2965

24

2984

3001

3020

3038

3056

3074

3093

3112

3130

3149

25

3168

3186

3205

3224

3244

3262

3282

3301

3321

3341

26

3363

3381

3401

3421

3441

3461

3481

3502

3523

3544

27

3567

3586

3608

2628

3649

3672

3692

3714

3796

3758

28

3782

3801

3824

3846

3869

3890

3913

3937

3960

3982

29

4005

4029

4052

4076

4100

4122

4146

4170

4194

4218

30

4246

4268

4292

4317

4341

4366

4890

4416

4441

4466

ПРИЛОЖЕНИЕ 9

ЗАВИСИМОСТЬ УПРУГОСТИ ВОДЯНОГО ПАРА ев ОТ ТЕМПЕРАТУРЫ tв И ОТНОСИТЕЛЬНОЙ ВЛАЖНОСТИ jв, ВНУТРЕННЕГО ВОЗДУХА

зависимость упругости водяных паров ев от температуры tв и относительной влажности jв, внутреннего воздуха

ПРИЛОЖЕНИЕ 10

ИЗОЛИНИИ СОРБЦИОННОГО ВЛАГОСОДЕРЖАНИЯ КЕРАМЗИТОБЕТОНА g=1200 кг/м3, СОДЕРЖАЩЕГО ХЛОРИДЫ ПРИ ИЗМЕНЕНИИ ОТНОСИТЕЛЬНОЙ ВЛАЖНОСТИ ВОЗДУХА jв, %, И МАССОВОГО СОЛЕСОДЕРЖАНИЯ С, %

Рис. 1. Изолинии сорбционного влагосодержания керамзитобетона g0=1200 кг/м3, содержащего хлорид натрия, при изменении относительной влажности воздуха jв, %, и массового солесодержания С, %

Рис. 2. Изолинии сорбционного влагосодержания керамзитобетона g0=1200 кг/м3, содержащего хлорид калия при изменении относительной влажности воздуха jв, %, и массового солесодержания С, %

Рис. 3. Изолинии сорбционного влагосодержания керамзитобетона g0=1200 кг/м3, содержащего хлорид магния, при изменении относительной влажности воздуха, jв, %, и массового солесодержания С, %

Рис. 4. Изолинии сорбционного влагосодержания керамзитобетона g0=1200 кг/м3 при изменении относительной влажности воздуха jв, %, и массового солесодержания С, %, в стенах флотофабрик (NaCl - 60%, KCl - 30%, MgCl2 - 10%)

Рис. 5. Изолинии сорбционного влагосодержания керамзитобетона g0=1200 кг/м3 при изменении относительной влажности воздуха jв, %, и массового солесодержания С, %, в стенах цехов дробления руды (NaCl - 50%; KCl - 30%, MgCl2 - 20%)

Рис. 6. Изолинии сорбционного влагосодержания керамзитобетона g0=1200 кг/м3 при изменении относительной влажности воздуха jв, %, и массового солесодержания С, %, в стенах цехов сушки (NaCl - 30%; KCl - 60%; MgCl2 - 10%)

ПРИЛОЖЕНИЕ 11

ПРОГРАММА РАСЧЕТА ДОЛГОВЕЧНОСТИ ОДНОСЛОЙНЫХ ОГРАЖДАЮЩИХ КОНСТРУКЦИЙ

1. Программа KLIMAT разработана на базе общих принципов расчета долговечности наружных стен, изложенных в разд. 7. Она позволяет, основываясь на метеорологических данных о климате района строительства, определить долговечность однослойных наружных ограждающих конструкций.

2. Расчет долговечности по программе KLIMAT осуществляется в три этапа:

на первом строится математическая модель хода среднесуточных температур наружного воздуха, для этого используется разложение функции реального хода среднесуточных температур в тригонометрические ряды Фурье;

на втором этапе рассчитывается температура в стеновом ограждении от каждой из отдельных составляющих построенной математической модели, при этом используются известные решения задач об изменении температуры в стенке при изменении температуры воздуха со стороны наружной поверхности стены по квазистационарному и гармоническому законам;

на третьем этапе проводится расчет параметров, необходимых для определения долговечности ограждения по комплексному методу, изложенному в разд. 7.

3. Описанный расчет осуществляется по климатическим данным за один год, на котором выделяются два расчетных (активных) периода; зимне-весенний и летне-осенний, характеризующиеся максимальным для данного года числом переходов через ноль градусов температуры наружного воздуха.

Расчет долговечности для одного ограждения по программе KLIМАТ осуществляется по данным о среднесуточных температурах наружного воздуха для каждого года из последних пяти лет из метеорологических ежегодников.

Значения долговечности определяются для последовательного ряда слоев стенового ограждения, на который оно разбивается. За окончательное значение долговечности ограждения принимается среднее значение долговечности его наименее долговечного слоя. В каждом выбранном слое стены значение долговечности вычисляется как среднее из соответствующих значений по каждому году из пяти выбранных лет.

Программа написана на языке Фортран-4 для ЭВМ серии ЕС. Объем машинной памяти, необходимый для ее реализации, 26 Кбайт.*

___________

* Программа KLIMAT сдана в МОФАП при ЦНИИПроект, шифр Ч-47Н.

Исходные данные для расчета долговечности наружной стены по программе KLIMAT

4. Ввод данных о материале и геометрических размерах наружной стены осуществляется оператором READ на строке 10 в формате F12.6, посредством которого происходит считывание с перфокарт значений следующих величин: aн, aв, lм, d, tв, ам, См, gм, , b0, b1, b2, b3.

Значения aв, aн приведены в табл. [4*] и [6*].

Значение lм принимается соответствующим среднему для всей стены массовому отношению влаги в материале в эксплуатационных условиях wcp=KC, где К=0,71 для материалов, у которых величина С определяется по формуле (1).

Рис. 1. Расчетная эпюра распределения влажности по толщине наружной стены

Для материалов, у которых вид расчетной эпюры распределения влажности определен по данным натурных обследовании (см. табл. 1), wcp=0,16a+0,83C-0,22dd. Для определения lм используются экспериментальные данные о зависимости lм от w. При их отсутствии производится линейная интерполяция на случай w=wср данных приложения [3*], относящихся к условиям эксплуатации Б.

Расчетная эпюра распределения влажности по толщине наружной стены приведена на рис. 1. Параметры этой эпюры, характерные для наружных однослойных стен зданий, строящихся в северной строительно-климатической зоне, по данным их натурных обследований для трех материалов приведены в табл. 1.

Анализ большого числа данных натурных обследований наружных стен показал, что для однослойных стен без облицовки или с наружными защитными слоями, имеющими обычную паропроницаемость, значение массовых отношений влаги в толще ограждения близки на летне-осеннем и зимне-весеннем периодах, поэтому их можно принимать одинаковыми и равными wср. Для материалов, не указанных в табл. 1, при отсутствии данных натурных обследований при расчете долговечности наружных стен можно принимать

С=w+Dwcp,                                                                 (1)

где w - расчетное массовое отношение влаги в материале в эксплуатационных условиях, принимаемое по прил. [3*]; Dwcp - его предельно допустимое приращение, принимаемое по табл. [14*] а=0,6 С; b=1,2а/b; d=c/b.

Таблица 1

Значения коэффициентов расчетной эпюры распределения влажности по толщине однослойных наружных стен из некоторых материалов

Материал

a, % по массе

b, % по массе/см

с, % по массе

d, % по массе/см

Ячеистый бетон g0=700 кг/м3

5,6

0,46

11,1

-0,4

Керамзитобетон g0=1000 кг/м3

3,3

0,85

14,6

-0,4

Шунгизитогазобетон g0=1160 кг/м3

3,7

0,93

14,4

-0,56

Толщина ограждения d задается в метрах. Значение tв, °С, принимается по ГОСТ 12.1.005-88 и нормам проектирования зданий, для жилых зданий tв=18°С.

Температуропроводность ам для материалов во влажном состоянии определяется по формуле

,                                                       (2)

где Сж - 4,19 кДж/(кг·°С) удельная теплоемкость воды; С0 - тоже для материала стены в сухом состоянии (принимается по прил. [3*]); g0 - плотность материала в сухом состоянии (указана там же).

Объемная теплоемкость Смgм и плотность gм материала во влажном состоянии определяются по формулам:

Смgм=С0g0+Сж(wсрg0);                                                  (3)

gм=g0(1+wср).                                                           (4)

Марка материала по морозостойкости принимается по результатам стандартных испытаний на морозостойкость.

Коэффициенты регрессии, используемые в программе, b0, b1, b2, b3 принимаются по табл. 2.

Таблица 2

Значении коэффициентов регрессии для определения фазового состава влаги в порах материалов

Материал

g0, кг/м3

b0·102, кг/кг

b1

b2·°С

b3·102, (кг/кг)°С

Цементно-песчаный раствор

2120

3,239

0,411

0,052

-1,637

1935

0,549

0,786

0,573

-0,605

1725

2,197

0,260

1,915

-1,193

Шунгизитогазобетон

1160

4,063

0,219

-3,875

-0,304

Керамзитобетон

1430

3,833

0,219

-4,269

-0,340

1000

4,448

0,129

0,934

-1,758

Ячеистый бетон

850

2,353

0,242

-7,670

-1,135

где N - соответствует числу суток в выбранном интервале времени на изучаемом активном периоде года. Непременным условием реализации программы является задание числа N четным; D1 - разность между среднесуточными температурами наружного воздуха первых и последних суток на данном активном периоде года TN и D1 - определяются по метеорологическим данным о среднесуточных температурах наружного воздуха в районе строительства; TN - среднесуточная температура наружного воздуха в первые сутки на выбранном интервале времени для каждого активного периода года; Ac - амплитуда суточных колебаний температуры наружного воздуха средняя для всего активного периода года. Значение Ас может быть взято по метеорологическим ежегодникам, непосредственно по данным ближайшей к пункту строительства метеостанции или определено с учетом данных СНиП 2.01.01-82.

wp и wн берутся из табл. 18 и 19 разд. 7; a, b, d - принимаются из табл. 1.

5. Ввод значения IKLMN в формате 18, соответствующего числу активных периодов года (строка 18), осуществляется оператором READ на протяжении одного года обычно наблюдается два периода (IKLMN=2).

6. Ввод климатических данных и данных о влажностном состоянии материала ограждения осуществляется в формате F6.1 на строке 23. Ввод производится один раз для каждого активного периода года, в результате чего осуществляется считывание с перфокарт значений величин N, D1, TN, Ac, wp, wн, а, b, d.

Таблица 3

Исходные данные к расчету по программе

Величина

Идентификатор

Числовое значение по периодам

летне-осенний

зимне-весенний

aм, Вт/(м2·°С)

AL2

23

23

aв, Вт/(м2·°С)

AL1

8,7

8,7

lм, Вт/(м·°С)

LA

0,47

0,47

d, м

НЗ

0,35

0,35

tв,°С

ТВ

18

18

ам, м2

АО

0,00124

0,00124

См, кДж/(кг·°С)

СИ

1,087

1,087

gм, кг/м3

ОМ

1253

1253

, цикл

ОМ

50

50

b0·102, кг/кг

В1

4,063

4,063

b1

В11

0,219

0,219

b2,°C

В12

-3,875

-3,875

b3, (кг/кг)°С

В13

-0,304

-0,301

IKLMN

IKLMN

2

2

N, сут

N

10

10

D1, °С

D1

-16,5

14,2

tн, °С

TN

6,5

-4,2

Асут, °С

AMP

3,3

3

wр, %

WR

2,2

2,2

wн, %

WN

33

33

а, %

А6

6,3

6,3

b, %/м

В6

54

54

d, %/м

В7

-42

-42

Массив значений среднесуточных температур наружного воздуха, °С

Y=(I)

I=1, ..., 10

6,5

-6,5

-25

3,1

1

-2,1

-1

2,2

1

-10

-4.2

5,1

1,2

-21,1

1

1

1,5

-6,5

-1,1

10

Таблица 4

Величина

х, м

0,01

0,0483

0,06

0,0776

0,1067

0,165

0,34

tнз, °С (TNZ)

-4,65

-2,27

-2

-1,71

-1,4

-0,58

-0,62

 

Летне-осенний период

 

 

 

 

Амплитуды заморозков в слое, °С

-9,3

-6,3

-4,8

-2,6

-

-

-

-J

Зимне-весенний период

 

 

 

 

 

-8,2

-5,7

-4,9

-4,3

-2,9

-0,1

-

 

-8,7

-8,5

-7,7

-6,5

-4,42

 

 

 

-1

-1,1

-0,6

 

 

 

 

Долговечность 0, лет материала слоя (DUR)

102

70

77

72

93

-

-

7. Ввод хода среднесуточных температур осуществляется в формате F8.1 (строка 27). Необходимо задавать среднесуточные температуры в виде одномерного массива с числом значении N, которое выбирается таким образом, чтобы в активный период года попали все случаи переходов через 0°С на данном летне-осеннем и зимне-весеннем периоде.

8 Образец результатов расчета приводится в примере.

Пример. Стеновое ограждение жилого здания толщиной 0,35 м из шунгизитогазобетона gм=1253 кг/м3, lм=0,47 Вт/(м·°С), марка по морозостойкости F50, эксплуатируется в климатических условиях г. Архангельска. Распределение влажности по толщине стенового ограждения известно: а = 6,3 %, b = 54 %/м, d = -42 %/м.

Необходимо определить долговечность стенового ограждения.

Примечание. Для сокращения объема вычислений и времени счета в иллюстративном примере взят в качестве расчетного непродолжительный интервал времени, равный для каждого из двух активных периодов года 10 сут (N=10).

За окончательное значение срока службы стенового ограждения принимается соответствующее значение для наименее долговечного слоя. Таким образом, срок службы стенового ограждения q = 70 лет.

ПРИЛОЖЕНИЕ 12

ПРОГРАММА ВЫЧИСЛЕНИЙ НА МИКРОКАЛЬКУЛЯТОРАХ

Программы предназначены для вычислений на микрокалькуляторах типа «Электроника» БЗ-34, МК-54, МК-56, МК-61 и МК-52. Каждая программа содержит описание назначения программы, ее алгоритм текст самой программы, порядок ввода численных значений и контрольный текст. В памяти микрокалькулятора не могут быть размещены все программы, поэтому они объединены по группам. С каждой программой группы можно работать самостоятельно, однако для удобства работы рекомендуется вводить все программы группы. Если в процессе работы необходимо перейти от одной группы программ к другой, то необходимо каждую группу программ вводить заново с клавиатуры.

В микрокалькуляторе МК-52 возможно записать часть групп программ в постоянное запоминающее устройство и вызывать их по мере надобности без ручного набора.

Краткие методические указания

1. Для ввода программ каждой группы необходимо выполнить на микрокалькуляторе следующую последовательность операций (нажатий клавиш) FПРГ. Если программа начинается не с адреса 00, то перед указанной последовательностью выполняют операции БП <адрес>. По завершении набора программ выполняют последовательность операции FABT.

При вводе каждого шага программы набирается только первая часть после точки (см. табл. 4). Левая часть до точки высвечивается автоматически в двух правых разрядах экрана.

2. Запуск программы па счет осуществляется последовательностью В/О С/П в случае, если программа начинается с адреса 00, и последовательностью БП<aдpec>C/П в других случаях.

3. До начала счета согласно инструкции к программе в отдельные регистровые ячейки памяти необходимо ввести численные значения. Порядок ввода следующий: <численное значение>П<адрес ячейки>. Адрес ячейки может быть от 0 до 9 и А, В, С, Д, знак числа вводится в конце набора. Дробная часть от целой отделяется запятой. Например, число -148,12 вводится нажатием клавишей в последовательности 1 4 8, 12 /-/.

При вводе числа с порядком вначале вводится мантисса числа и знак числа, затем ВП, и, наконец, вводится порядок и знак порядка. Например, число -148,12·10-15 вводится нажатием клавиш 1 4 8,12 /-/ ВП 15 /-/. При ошибке набора числа нажмите клавишу Сх, и повторите набор. Проверить набранное значение можно последовательностью ИП<адрес ячейки>.

4. Ввод исходных данных в процессе счета выполняется в строго перечисленной инструкцией последовательностью. Причем, после набора числа в зависимости от указаний инструкции необходимо выполнить операцию С/П или ­.

5. Результаты расчета получают согласно инструкции либо на экране, либо и регистровых ячейках памяти. Вызов результатов из ячеек памяти см. в п. 3.

Программы расчета разд. 2 "Сопротивление теплопередаче ограждающих конструкций"

6. Первая группа программ расчета по формулам [1], [2], [3], [4], [5], [6], [7].

Распределение регистровой памяти:

ПО - Rо, П1 - D, П2 - aн, П3 - счетчик слоев, П4 - aв, П5 - R0тр, П7 - Rк, П8 - Rа, ПА - Rб. Условные обозначения те же, что приняты в СНиПе.

Распределение программной памяти и назначение программ приведены в табл. 1. До начала расчета исходные данные aн и aв вводятся в регистры П2 и П4. Остальные данные вводятся в процессе счета согласно инструкций, помещенных в табл. 2. Текстовые примеры приведены в табл. 3, тексты программ - в табл. 4.

Таблица 1

Назначение программ первой группы

№ программы

Назначение программ

Места, занимаемые в памяти

1

Расчет Rотр по формуле [1]

00-09

2

Программа расчета по формуле [3]

09-11

3

Расчет D по формуле [2]

12-25

4

      »    Rо и rk по формулам [4] и [5]

26-48

5

      »    Rа по формуле [6]

49-74

6

      »    Rкпр по формуле [7] и Rопр

75-98

Таблица 2

Инструкция по выполнению счета по программам первой группы

№ программы

Последовательность работы с программами

1

в/о с/п (Dtн)­(n)­(tв)­(tн) с/п rотр

3

(k) БП12 С/П

4

(k) БП 26 С/П  Rк С/П Rо

5

(m) БП 49 С/П (F) С/П  Rк С/П R0 С/П Ra П8

6

До начала расчета исполнить 0 ПА

 по однородным участкам

1 БП 26 С/П(d)­(l) С/П Rк ИПА+ПА

SRк по неоднородным участкам

() БП 49  С/П С/П Ra ИПА+ПА

Б/П 75 С/П__________ % С/П Rкпр С/П Rопр

если меньше 25 %,

то продолжать

Примечания: 1. В круглых скобках приведены вводимые величины. 2. k - число слоев данной конструкции или участка, m - число участков, на которые условно разрезается конструкция. 3. При выполнении программ 4 и 5 перед вводом d высвечивается номер слоя, считая от последнего, кроме того для программы 5 перед вводом F высвечивается номер участка, считая от последнего. 4. Площади участков считают последовательностью:

.

5. Рекомендуется следующая последовательность исполнения программ: 1, 3 (снова 1, если меняется tн), 4, 5 и 6.

Таблица 3

Тестовые примеры программ первой группы

№ программы

Последовательность работы с программами и результаты

1

23 П2 8,7 П4

В/О С/П 8­1­18­35/-/ С/П 0,76149419 {Rбтр}

3

3 БП12 С/П [3] 8,12 С/П 0,01­0,52 С/П

[2]0,55 С/П 0,08­0,041 С/П [1] 8,12 С/П

0,01­0,52 С/П 1,3854783{D}

4

3 БП26 С/П [3] 0,01­0,52 С/П [2] 0,08­

0,041 С/П [1] 0,01­0,52 С/П 1,9896811{Rк}

С/П 2,1481019{R0}

5

2 БП49 С/П [2] 0,42 С/П 1 С/П [1] 0,1­0,52

С/П 0,19230769 {R1} С/П 0,35072847 {R0} С/П [1] 3,024 С/П

3 С/П [3] 0,01­0,52 С/П [2] 0,08­0,041 С/П

[1] 0,01­0,52 С/П 1,9896811 {R2} С/П 2,1481019{R0} С/П 0,9298454 {Ra} П8

6

0 ПА {первый участок} 1 БП 26 С/П [1] 0,01­0,52 С/П 0,0192308{Rк1} ИПА+ПА 0,0192308{SRк}

{второй участок} 2 БП 49 С/П [2] 0,42 С/П 1

C/П [1]0,08­0,52

С/П С/П С/П [1] 3,024 С/П 1 С/П [1] 0,08­0,041 С/П С/П С/П

0,80471 {Rк2} ИПА+ПА 0,823941 {SRк}

{третий участок} 1 БП 26 С/П [1] 0,01­0,52 С/П 0,0192308{Rк3}

ИПА+ПА 0,843172{Rк}

БП 75 С/П  С/П 0,872063{R{Rкпр}

С/П 1,0304839 {Rопр}

Примечание. Цифры в квадратных скобках, высвечивающиеся на экране, либо номер участка, либо номер слоя. Их вводить не надо. Вслед за подчеркнутым результатом расчета в фигурных скобках дано условное обозначение его в соответствии с формулой.

Таблица 4

Тексты программ первой группы

№ программы

Тексты программ

1

F ПРГ

 

 

03.

 

 

00 с/п

01.-

02.X

04.¸

05.ИП4

06.F1/X

07.X

08.П5

09.С/П

 

 

2

10.¸

11.В/О

 

 

 

 

3

12.П3

13.0

14.П1

15.ИП3

16.С/П

17. ПП

18.09

19.X

20.ИП1

21.+

22.П1

23.FL3

24.15

25.С/П

 

 

 

 

4

26.П3

27.0

28.П0

29.ИП3

30.ПП

31.09

32.ИП0

33.+

34.П0

35.FL3

36.29

37.П7

38.С/П

39.ИП4

40.F1/X

41.ИП2

42.F1/X

43.+

44.+

45.П0

46.С/П

47.В/О

48.С/П

 

5

49.П1

50.0

51.ПС

52.0

53.ПВ

54.ИП1

55.С/П

56.ПД

57.ИПС

58.+

59.ПС

60.С/П

61.ПП

62.26

63.ИПД

64.ИП7

65.¸

66.ИПВ

67.+

68.ПВ

69.FL1

70.54

71.ИПС

72.

73.¸

74.С/П

 

 

 

6

75.ИП8

76.ИПА

77.-

78.ИПА

79.¸

80.2

81.F10х

82.X

83.С/П

84.ИПА

85.2

86.Х

87.ИП8

88.+

89.3

90.¸

91.С/П

92.ИП4

93.F1/X

94.ИП2

95.F1/Х

96.+

97.+

98.С/П

 

 

 

 

 

F ABT

Таблица 5

Назначение программ второй группы

№ программы

Назначение программ

Места, занимаемые в памяти

1

Расчет tв по формуле [12]

00-11

2

Подпрограмма части расчета

12-20

3

      »    расчета по формуле [4]

21-37

4

      »    »    R по формуле [3]

39-41

5

Расчет R'o

42-46

6

      »    Rоусл

47-51

7

      »    t'в по формуле [13]

52-75

8

      »    t'в  »    »    [13а]

76-97

Каждая программа может быть использована самостоятельно, кроме программы 2. Программы 3, 4 и 5 при работе используют подпрограмму 2, программа 5 использует программу 4, программа 6 использует результаты расчета программы 4 и 5.

7. Вторая группа программ расчета по формулам [12], [13], [13а]. Распределение регистровой памяти: П0 - Ro, П2 - aн, П3 - счетчик слоев, П4 - aв, П5 - tв, П6 - tв, П7 - R'о, П8 - Rоусл, П9 - t'в, П1 - рабочая ячейка.

Распределение программной памяти и назначение программ приведено в табл. 5, Исходные данные aн и aв вводятся в регистры П2 и П4 перед расчетом, a Rо или Rоусл вводятся в регистр П0 или определяются расчетом по программе 6 данной группы. Остальные данные вводятся в процессе счета. Инструкции исполнения программ приведены в табл. 6, тестовые примеры в табл. 7 и тексты программ в табл. 8.

Таблица 6

Инструкция по выполнению счета по программам второй группы

№ программы

Последовательность работы с программам!

1

В/О С/П (n)­(tн)­(tв) С/П tв

5

(k) БП42 С/П  R'o

6

(k) БП47 С/П  Roусл П0

7

БП52 С/П (h)­(tн)­(tв) С/П t'в

8

БП76 С/П (x)­(tн)­(tв) С/П t'в

Примечания: 1.В круглых скобках приведены вводимые величины, k - число слоев конструкции. 2. Рекомендуется следующая последовательность исполнения программ: 6, 1, 5, 7 или 8. 3. Коэффициент 1+е-51Кh вычислять последовательностью ∟­5X|-|XFеx1+hX.

Таблица 7

Тестовые примеры программ второй группы

№ программы

Последовательность работы с программами и результаты

6

23 П2 8,7 П4

3 БП47 С/П [3] 0,01­0,52 С/П [2] 0,08­

0,041 С/П [1] 0,01­0,52 С/П 2,1481019 П0 {Rоусл}

1

В/О С/П 1­35/-/­18 С/П 15,16403 {tв}

.5

1 БП42 С/П [1] 0,1­0,52 С/П 0,35072847 {R'0}

0,084­5 Х/-/ Fex1+0,275Х0,45568787{h}

7

БП52 С/П 0,456 С/П 1­35 /-/­18 С/П 8,536772 (t'в)

(См. примеч. к табл. 3.)

Таблица 8

Тексты программ второй группы

№ программы

Тексты программ

 

F ПРГ

1

00.0 01.П6 02.ПП 03.12 04.ИП0 05.F1/Х 06.Х 07.ИП5 08. 09.- 10.П6 11.С/П

2

12.С/П 13.П5 14. 15.- 16.X 17.ИП4 18.F1/Х 19.Х 20.В/О

3

21.0 22.П1 23.ИП3 24.ПП 25.39 26.ИП1 27.+ 28.П1 29. FL3 30.23 31.ИП4 32.F1/X 33.ИП2 34.F1/Х 35.+ 36.+ 37.В/О

4

39.С/П 40.¸ 41.В/О

5

42.П3 43.ПП 44.21 45.П7 46.С/П

6

47.П3 48.ПП 49.21 50.П8 51.С/П

7

52.0 53.П9 54.ИП8 55.ИП7 56.¸ 57.1 58.- 59.С/П 60.X 61.1 62.+ 63.П9 64.ПП 65.12 66.ИП8 67.F1/X 68.ИП9 69.X 70.X 71.ИП5 72. 73.- 74.П9 75.С/П

8

76.0 77.П9 78.1 79.ИП8 80.ИП4 81.С/П 82.Х 83.X 84.+ 85.П9 86.ПП 87.12 88.ИП8 89.F1/X 90.X 91.ИП9 92.X 93.ИП5 94. 95.- 96.П9 97.С/П

F АВТ

Каждая программа может быть использована самостоятельно. Программы 1, 7 и 8 при работе используют подпрограмму 2, а программы 5 и 6 - подпрограммы 3 и 4.

8. Третья группа программ расчета по формулам [3], [4], [5], [17] и [17а] СНиП II-3-79**.

Распределение регистровой памяти:

П2 - aн, П3 - счетчик слоев, П4 - aв, П5 - tв, П6 - zот.пер., П7 - tот.пер., П8 - Ст, П9 - r.

Результаты вычислений ПА-Rотрrэф, ПВ - Ro, ПС-Т, ПД - П.

Распределение программной памяти и назначение программ приведено в табл. 9. До начала расчета исходные данные aн, aв, tв, zот.пер., tот.пер., Cт вводятся в регистры соответственно П2, П4, П5, П6, П7, П8. Остальные данные вводятся в процессе счета. Инструкция исполнения программ приведена в табл. 10, тестовые примеры в табл. 11 и тексты программ в табл. 12.

Таблица 9

Назначение программ третьей группы

№ программы

Назначение программ

Места, занимаемые в памяти

1

Расчет произведения R0трrэф

00-03

2

Подпрограмма части расчета

04-05

Подбор первого варианта конструкции по условию изменения знака разности R0трrэф-R0

06-28

Программа 3а включает расчет R0

06-23

4

Расчет Сд и П по формулам [17а] и [17]

30-71

5

Расчет Т по формуле (3)

72-95

Таблица 10

Инструкция по выполнению счета по программам третьей группы

№ программы

Последовательность работы с программами

1

в/о с/п (R0тр)­rэф с/п (R0трrэф)

(k) БП06 С/П  С/П (R0трrэф-R0)

(k) БП06 С/П  R0

4

БП30 С/П (Ц) С/П (См) С/П П

5

БП72 С/П (n)­(T2)­(H) С/П (Р)­(K1)­(T1) С/П (Ц1)­(U) С/П Т

Примечания: 1. В круглых скобках приведены вводимые величины k-число слоев конструкции. 3. Рекомендуется следующая Последовательность исполнения программ; 1, 3а, 3б, 5, 4; затем 3б, 5, 4 повторяется по числу вариантов.

Таблица 11

Тестовые примеры программ третьей группы

№ программы

Последовательность работы с программами и результаты

1

23 П2 8,7 П4 18 П5 205 П6 10,1/-/П7 5,02 П8 1 П9 В/О С/П 0,967­1,1 С/П 1,0637 {R0тр·rэф}

2 БП 06 С/П [2] 0,445­0,52 С/П [1] 0,035­0,93 С/П 1,0518244 С/П 0,0118756 {R0тр·rэф-R0}

2 БП 06 С/П [2] 0,465­0,52 С/П [1] 0,035­0,93 С/П 1,090286 С/П -0,02659 {R0тр·rэф-R0}

2 БП 06 С/П [2] 0,415­0,52 С/П [1] 0,035­0,93 С/П 0,994132 {R0}

5

БП 72 С/П 1­3­25 С/П 0,564­1,21­1,55 С/П 0,8­0,45 С/П 3,532782 {T}

4

БП 30 С/П 36,1 С/П 1,08 С/П 84,75 {П}

(См. примеч. к табл. 3.)

Таблица 12

Тексты программ третьей группы

№ программы

Тексты программ

 

F ПРГ

 

 

 

 

 

1

00.С/П

01.X

02.ПА

03.С/П

 

 

2

04.¸

05.В/О

 

 

 

 

3

06.П3

07.0

08.ПВ

09.ИП3

10.ПП

11.03

12.ИПВ

13.+

14.ПВ

15.FL3

16.09

17.ИП4

18.F1/X

19.ИП2

20.F1/X

21.+

22.+

23.ПВ

24.С/П

 

 

 

 

 

25.ИПА

26.

27.-

28.С/П

29.

 

4

30.0

31.ПД

32.ИП8

33.ИП6

34.ИП7

35.ИП5

36.

37.-

38.X

39.X

40.1

41.1

42.,

43.3

44.ВП

45.4

46./-/

47.X

48.ИПВ

49.ИП9

50.X

51.¸

52.ПД

53.С/П

54.ИПС

55.+

56.1

57.,

58.0

52.2

60.X

61.С/П

62.+

63.1

64.,

65.2

66.5

67.X

68.ИПД

69.+

70.ПД

71.С/П

5

72.0

73.ПС

74.С/П

75.­

76.0

77.,

78.0

79.1

80.X

81.1

82.+

83.X

84.X

85.ПС

86.С/П

87.X

88.ИПС

89.+

90.X

91.С/П

92.X

93.+

94. ПС

95.С/П

 

 

 

 

 

F ABT

Таблица 13

Назначение программ четвертой группы

№ программы

Назначение программ

Места, занимаемые в памяти

1

Расчет R'0

00-04

2

      »    R0усл

05-09

3

Подпрограмма части расчета

10-26

4

То же

27-29

5

Расчет  части формулы (5) и накопление ее в П7

30-38

6

Расчет r по формуле (5) и R0

39-49

7

Определение y из формулы (6) методом линейной интерполяции

50-68

8

Вычисление К для металлических теплопроводных включений по формуле (6)

69-82

Таблица 14

Инструкция по выполнению счета по программам четвертой группы

№ программы

Последовательность работы с программами

1

(k) В/О С/П (d)­(l) С/П R'0

2

(k) БП 05 С/П (d)­(l) С/П R0усл

5

БП 30 С/П (a)­(L) С/ПИП7+П7

6

БП 39 С/П (f) С/П r С/П R0

7

БП 50 (h) П9 (Х0) С/П (Y0) С/П (Y1) С/П [0] (X) С/П y

8

БП69 С/П (l)­(a)­(d) С/П К

(См. примеч. к табл. 2.)

Программы 1, 3, 4 и 5 и расчет Ro могут быть использованы самостоятельно. Программа 3 при работе использует подпрограмму 2.

9. Четвертая группа программ расчета по формулам (5) и (6).

Распределение регистровой памяти:

П1 - y, П2 - aн, П3 - счетчик слоев, П4 - aв, П5 - R'о, П6 - Roусл, П7 - , П8 - r (результат), ПД - K, остальные регистры памяти - рабочие.

Распределение программной памяти и назначение программ приведено в табл. 13. До начала расчета исходные данные aн, aв соответственно вводятся в П2 и П4, остальные данные вводятся в процессе счета. Инструкция исполнения программ приведена в табл. 14, тестовые примеры в табл. 15 и тексты программ в табл. 16. В случае неметаллических включений К определяется по табл. 7 и п. 2.8 разд. 2, для металлических включений К вычисляется программой.

Таблица 15

Тестовые примеры программ четвертой группы

№ программы

Последовательность работы с программами и результата

1

23 П2 8,7 П4

1 В/О С/П [1] 0,102­58 С/П 0,1601794 {R'0}

2

2 БП 05 С/П [2] 0,002­58 С/П [1] 0,1­0,04 C/П 2,658455 {R0усл}

0,002­58­0,1­0,04 X + X29 <Х=29 Y(X)=y по таблице 8 Пособия, схема II

Х0=20 , Х1=50 h=Х1-Х0=30 Y0=0,665 Y1=1,254>

7

БП 50 30 П9 20 С/П 0,665 С/П 1,254 С/П [0] 29 С/П 0,8417 [y]

8

БП 69 С/П 0,04­0,002­0,1 С/П 40,576553{K}

5

БП 30 С/П 0,002­6 С/П 8,0812599  ИП7+П7

6

БП 39 С/П 6 С/П 0,42609824 {R} С/П 1,132763{R0}

(См. примеч. к табл. 3.)

В случае неметаллических включений первая строчка 23, в табл. 15 П2 8,7 П4 К ПД.

Последовательность выполнения программ - 1, 2, 5, 6 для неметаллических включений и 1, 2, 7, 8, 5, 6 - для металлических. При определении коэффициента y в формуле (6) находим значение безразмерного параметра теплопроводного включения

по табл. 8 Пособия определяется значение Х0, h, Y0, Y1 формулы линейной интерполяции по программе

Y(X)=Y0+(X-X0)(Y1-Y0)/h,

где h=X1-Х0.

h=x1-x0

Таблица 16

Тексты программ четвертой группы

№ программы

Тексты программ

 

FПРГ

 

 

 

 

1

00.П3

01.ПП

02.10

03.П5

04.С/П

2

05.П3

06.ПП

07.10

08.П6

09.С/П

3

10.0

11.П1

12.ИП3

13.ПП

14.27

15.ИП1

16.+

17.П1

18.FL3

19.12

20.ИП4

21.F1/X

22.ИП2

23.F1/X

24.+

4

25.+

26.В/О

27.С/П

28.¸

29.В/О

5

30.ИП6

31.ИП5

32.¸

33.ИПД

31.С/П

35.X

36.X

37.X

38.С/П

 

6

39.ИП7

40.С/П

41.+

42.1

43.+

44.F1/X

45.П8

46.С/П

47.ИП6

48.X

49.С/П

 

 

 

 

7

50.П0

51.С/П

52.ПА

53.С/П

54.ИПA

55.-

56.ИП9

57.¸

58.ПВ

59.0

60.С/П

61.ИП0

62.-

63.ИПВ

64.X

65.ИПА

66.+

67.П1

68.С/П

 

8

69.ИП1

70.ИП6

71.¸

72.С/П

73.F2

74.

75.¸

76.

77.¸

78.X

79.1

80.+

81.ПД

82.С/П

F ABT

10. Пятая группа программ расчета коэффициента теплотехнической однородности панелей на гибких связях.

Распределение регистровой памяти: П2 - aн, П3 - счетчик, П4 - aв, П5 - сумма, П6 - dп, П7 - R0усл.

До начала расчета исходные данные aн, aв, dп вводятся о регистры памяти П2, П4, П6 соответственно.

Распределение программной памяти и назначение программ приведено в табл. 17. Данные для расчета вводятся в процессе счета согласно инструкциям, помещенным в табл. 18.

Таблица 17

Назначение программ пятой группы

№ программы

Назначение программ

Места, занимаемые в памяти

1

Подпрограмма расчета площади зоны влияния fi горизонтальных и вертикальных стыков по формуле (8)

00-04

2

То же, оконных откосов по формуле (9)

05-17

3

То же, теплопроводных включений прямоугольного сечения по формуле (10)

18-31

4

То же, теплопроводных включений точечного типа по формуле (11)

32-37

5

Программа расчета r по формуле (7) и Rопр по формуле [12]

38-57

6

Подпрограмма расчета по формуле [3]

57-59

7

Расчет Rк и R0усл по формулам [5] и [4]

60-79

Таблица 18

Инструкция по выполнению счета по программам пятой группы

Последовательность работы с программами

5

(п) БП38 С/П

7

к БП60 С/П

Примечание. При работе программы 5 при каждом исполнении необходимо выбрать одну из четырех последовательностей команд в фигурных скобках в зависимости от типа теплопроводного включения, например, при двух включениях, первое из которых рассчитывается по подпрограмме 2, а второе по подпрограмме 4 будет следующая последовательность: 2 БП38 С/П БП05…fi С/П БП32…fi с/п F0 с/п r с/п rопр.

Таблица 19

Тестовые примеры программ пятой группы

№ программы

Последовательность работы с программами и результаты

7

23 П2 8,7 П4 0,25 П6

3 БП60 С/П [3] 0,1­0,075 С/П

[2] 0,05­0,15 С/П [1] 0,05­0,25 С/П

7

3 БП60 С/П [3] 0,1­2,04 С/П

[2] 0,1­0,05 С/П [1] 0,05­2,04 С/П

5

5 БП38 С/П [5] БП00 С/П 6,0 С/П 0,05 С/П

[4] БП00 С/П 3,2 С/П 0,05 С/П

[3] БП05 С/П 6,0­0,5 С/П 0,47 С/П

[2] БП18 С/П 0,15­0,1 С/П 0,12 С/П

[1] БП32 С/П 0,2 С/П 8,0 С/П

(См. примеч. к табл. 3.)

Тексты программ пятой группы

Таблица 20

№ программы

Тексты про грамм

1

F ПРГ

 

 

 

 

00.ИП6

01.С/П

02.X

03.БП

04.42

05.ИП6

06.С/П

07.+

08.X

09.2

2

10.Х

11.Fp

12.ИП6

13.12

14.X

15.+

16.БП

17.42

 

 

3

18.ИП6

19.С/П

20.ИП6

21.2

22.X

23.+

24.

25.ИП6

26.2

27.X

28.+

29.X

30.БП

31.42

 

4

32.ИП6

33.2

34.4

35.X

36.БП

37.42

 

 

 

 

5

38.П3

39.0

40.П5

41.ИП3

42.С/П

43.X

44.ИП5

45.+

46.П5

47.FL3

48.41

49.С/П

50.¸

51.1

52.+

53.F1/X

54.С/П

55.ИП7

56.X

57.С/П

6

58.¸

59.В/О

 

 

 

7

60.П3

61.0

62.П7

63.ИП3

64.ПП

65.57

66.ИП7

67.+

68.П7

69.FL3

70.63

71.С/П

72.ИП4

73.F1/X

74.ИП2

75.F1/Х

76.+

77.+

78.П7

79.С/П

F АВГ

 

 

 

 

Тестовые примеры приведены в табл. 19, тексты программ в табл. 20.

Программа 7 при работе использует подпрограмму 6, программа 5 использует подпрограммы 1-4 в зависимости от типа теплопроводного включения.

ПРИЛОЖЕНИЕ 13

ДИАЛОГОВЫЙ ПРОГРАММНЫЙ КОМПЛЕКС АВТОМАТИЗАЦИИ РАСЧЕТОВ, ПРЕДУСМОТРЕННЫХ ГЛАВОЙ СНиП II-3-79**

1. Направление, связанное с автоматизацией теплотехнических расчетов, предусмотренных главой СНиП II-3-79**, является закономерным этапом совершенствования качества проектных решений и сокращения сроков проектирования. Бурное развитие средств электронно-вычислительной техники и программного обеспечения, общее повышение уровня компьютерной грамотности инженерно-технического и научного персонала, наличие в большинстве научно-исследовательских и проектных институтов, высших учебных заведений современных мини-ЭВМ (типа СМ-4, СМ-1420) диктуют необходимость разработки соответствующих программных средств. Однако следует подчеркнуть ряд требований, которым должно отвечать подобное прикладное программное средство.

Во-первых, это диалоговый режим работы, обеспечивающий наглядность и простоту информационного обмена, что особенно важно для неспециалистов в области вычислительной техники и программирования. При этом появляется возможность оперативного контроля за ходом расчетов и корректирования как начальных значений, так и данных промежуточных и окончательных результатов. Полный протокол проводимого с ЭВМ Диалога, по желанию исполнителя, должен выводиться на алфавитно-цифровое печатающее устройство (АЦПУ).

Во-вторых, программное средство должно обеспечить организацию работы с большими массивами справочной информации путем создания и использования архивов, необходимых для расчетов данных в виде файлов прямого доступа во внешней памяти ЭВМ (на магнитном диске). За счет этого появляется возможность свести к минимуму тот необходимый объем дополнительной справочной информации, который проектировщик вынужден использовать при теплотехнических расчетах в виде различных таблиц, справочников, ГОСТов и т.п.

И, наконец, программное средство должно разрабатываться путем тщательнейшей проработки всех алгоритмов с участием экспертов - опытных специалистов в области строительной теплотехники.

В нем должны быть сохранены структура СНиПа, а также принятая методика и последовательность работы с соответствующими разделами, Таким образом, становится возможным повысить достоверность и улучшить качество проводимых по СНиПу расчетов даже при условии недостаточной квалификации исполнителя и отсутствия у него опыта работы.

2. Работа над созданием подобного программного комплекса была начата в НИИСФе еще в конце 70-х годов, В начале 80-х был создан программный комплекс автоматизации расчетов по главе СНиП II-3-79**, Областью применения программного комплекса является проектирование ограждающих конструкций зданий и исследование их теплотехнических свойств с целью как проверки качества запроектированной (или существующей) конструкции, так и подбора мероприятий по ее улучшению либо отбору наилучшего варианта в процессе проектирования. Данный комплекс состоит из 5-ти программ (по количеству разделов СНиПа), а также двух архивов данных-с теплофизическими характеристиками материалов из прил. 3 СНиП II-3-79** и температурами воздуха по географическим пунктам СССР из табл. 1 СНиП 2.01.01-82. «Строительная климатология и геофизика». Все программы написаны на алгоритмическом языке Фортран-IV и функционируют на ЭВМ СМ-3, СМ-4 под управлением операционной системы ОС РАФОС. Программный комплекс представляет собой открытую систему, составленную по модульному принципу, что даст возможность его дополнения и модификации. Минимальная конфигурация технических средств, необходимая для реализации комплекса - ЭВМ типа СМ-4 с ОЗУ не менее 32К, видеотерминал на магнитной ленте (типа ИЗОТ или СМ-5300), накопитель на магнитном диске (типа СМ-5400), АЦПУ. Программный комплекс был передан в Межотраслевой фонд алгоритмов и программ автоматизированных систем в строительстве МОФАП АСС в 1985г, (его № 4-27-Н) и с тех пор внедрен более чем в 15 научно-исследовательских и проектных организациях и учебных заведениях страны.

3. В связи с выходом в свет нового СНиП II-3-79**, а также с учетом опыта разработки и эксплуатации описанного в предыдущем пункте комплекса программ, в лаборатории автоматизации исследований и расчетов по строительной физике НИИСФа создан новый диалоговый программный комплекс автоматизации расчетов по всем разделам СНиП II-3-79**.

Следует отметить ряд особенностей нового программного комплекса, таких, как:

более развитую его диалоговую компоненту, предусматривающую три состояния человеко-машинного интерфейса: сообщение, меню и запрос;

возможность ввода числовых данных в произвольном формате и, по желанию пользователя, протоколирование сеанса диалога;

наличие трех файлов прямого доступа во внешней памяти ЭВМ с необходимыми справочными данными;

наличие удобного единого монитора типа «меню», позволяющего многократно работать с любым разделом СНиП II-3-79**, а также реализация всего программного комплекса в виде оверлейной структуры;

существенную модификацию проблемно-ориентированной компоненты комплекса в соответствии с модификацией СНиП II-3-79**, Перевод всех архивов данных в систему единиц СИ, обязательное использование климатологического архива и т.д.

4. Диалоговый программный комплекс имеет двухуровневую сверленную структуру. В качестве корневого сегмента выступает программа-монитор SNIPÆ. В ней автоматически вызывается подпрограмма OPEN и в соответствии с «меню» предоставляется возможность выбрать для работы нужный раздел СНиП II-3-79** или выйти из комплекса.

На первом уровне располагается шесть подпрограмм: OPEN, СС12, СС13, СС14, СС15 и СС16.

Подпрограмма OPEN открывает три файла прямого доступа на диске: PR2, DAT, PR3, DAT, PR22, DAT, содержащие соответственно температуры наружного воздуха из табл. 1 и упругость водяного пара из прил. 3 СНиП 2.01.01-82, а также теплофизические характеристики н наименования материалов согласно прил. 3 СНиП II-3-79**.

Остальные подпрограммы реализуют алгоритмы работы со всеми пятью разделами СНиП II-3-79**.

Оверлей второго уровня построен лишь для подпрограммы СС12 и содержит девять подпрограмм: NOMER, SNB1, SNF, SF1, SNR, SNST, SF2, S3 и SN, в которых реализованы различные виды проблемно-ориентированных расчетов, предусмотренных разд. 2 СНиП II-3-79**, а также содержатся средства взаимодействия с архивами данных. Так, например, подпрограмма NOMER запрашивает название географического пункта на территории СССР, для которого ведется расчет, обращается к архиву данных и ставит в соответствие пункту определенный порядковый номер, который в дальнейшем используется при работе со всеми архивами данных.

5. В качестве примеров использования разработанного диалогового программного комплекса приведем протоколы диалога при расчете ряда предложенных в настоящем Пособии примеров.

6. Ниже приведен протокол диалога при расчете примера разд. 2.

ПРОГРАММА РАСЧЕТА СОПРОТИВЛЕНИЯ ТЕПЛОПЕРЕДАЧЕ ОГРАЖДАЮЩИХ КОНСТРУКЦИЙ

УКАЖИТЕ ОТНОСИТЕЛЬНУЮ ВЛАЖНОСТЬ В ПОМЕЩЕНИИ

60

УКАЖИТЕ ТЕМПЕРАТУРУ ВНУТРЕННЕГО ВОЗДУХА

18

БУДЕТЕ ЛИ ВЫ ПОЛЬЗОВАТЬСЯ БАНКОМ

КЛИМАТОЛОГИЧЕСКИХ ДАННЫХ? 1 - ДА, 0 - НЕТ

1

ВВЕДИТЕ НАЗВАНИЕ ГЕОГРАФИЧЕСКОГО ПУНКТА МЕСТА СТРОИТЕЛЬСТВА

ХАБАРОВСК

ВВЕДИТЕ ЧИСЛО СКВОЗНЫХ УЧАСТКОВ РАССЧИТЫВАЕМОЙ КОНСТРУКЦИИ

1 ВВЕДИТЕ ЧИСЛО СЛОЕВ РАССЧИТЫВАЕМОЙ КОНСТРУКЦИИ

3

ДЛЯ РАСЧЕТА ЭКОНОМИЧЕСКИ ЦЕЛЕСООБРАЗНОГО СОПРОТИВЛЕНИЯ ТЕПЛОПЕРЕДАЧЕ ВЫБЕРИТЕ НОМЕР СЛОЯ (ОДНОГО), ТОЛЩИНА КОТОРОГО БУДЕТ ВАРЬИРОВАТЬСЯ.

ТОЛЩИНУ ЭТОГО СЛОЯ УКАЖИТЕ РАВНОЙ НУЛЮ ПРИ НАЛИЧИИ ВОЗДУШНОЙ ПРОСЛОЙКИ, НЕ ВЕНТИЛИРУЕМОЙ НАРУЖНЫМ ВОЗДУХОМ, УКАЖИТЕ ОТРИЦАТЕЛЬНОЕ ЧИСЛО -1, СЛОИ СЧИТАЙТЕ ОТ ВНУТРЕННЕГО ПОМЕЩЕНИЯ.

СЛОЙ НОМЕР 1

ВВЕДИТЕ НОМЕР СТРОКИ ИЗ ПРИЛ. 3 (СНиП II-3-79**), СООТВЕТСТВУЮЩИЙ МАТЕРИАЛУ СЛОЯ, И ЕГО ТОЛЩИНУ (в метрах)

71            0,0 15

СЛОЙ НОМЕР 2

ВВЕДИТЕ НОМЕР СТРОКИ ИЗ ПРИЛ. 3 (СНиП II-3-79**), СООТВЕТСТВУЮЩИЙ МАТЕРИАЛУ СЛОЯ, И ЕГО ТОЛЩИНУ (в метрах)

21            0

СЛОЙ НОМЕР 3

ВВЕДИТЕ НОМЕР СТРОКИ ИЗ ПРИЛ. 3 (СНиП II-3-79**), СООТВЕТСТВУЮЩИЙ МАТЕРИАЛУ СЛОЯ, И ЕГО ТОЛЩИНУ (в метрах)

71            0,0 20

МАТЕРИАЛЫ 1-го СКВОЗНОГО СЕЧЕНИЯ

71            ЦЕМЕНТНО-ПЕСЧАНЫЙ РАСТВОР

21            КЕРАМЗИТОБЕТОН НА КЕРАМЗИТОВОМ ПЕСКЕ И КЕРАМЗИТОПЕНОБЕТОН

71            ЦЕМЕНТНО-ПЕСЧАНЫЙ РАСТВОР

ВВЕДИТЕ КОЭФФИЦИЕНТ п ИЗ ТАБЛ. 3 (СНиП II-3-79**)

1

ЦИФРОЙ УКАЖИТЕ НОМЕР (ТАБЛ. 2 СНиП II-3-79**)

1. ЗДАНИЯ ЖИЛЫЕ, БОЛЬНИЧНЫЕ, ДЕТСКИЕ ДОМА, САДЫ-ЯСЛИ

2. ЗДАНИЯ ДИСПАНСЕРОВ, ПОЛИКЛИНИК, ДЕТСКИХ ШКОЛ

3. ОБЩЕСТВЕННЫЕ И ВСПОМОГАТЕЛЬНЫЕ ЗДАНИЯ (кроме пп. 1 и 2)

ПРОМ. ПОМЕЩЕНИЯ (кроме с влажным или мокрым режимом)

4. ПРОИЗВОДСТВЕННЫЕ ЗДАНИЯ С СУХИМ РЕЖИМОМ

5. ПРОИЗВОДСТВЕННЫЕ ЗДАНИЯ С НОРМАЛЬНЫМ РЕЖИМОМ

6. ПРОИЗВОДСТВЕННЫЕ, ВСПОМОГАТЕЛЬНЫЕ И ОБЩЕСТВЕННЫЕ ЗДАНИЯ С ВЛАЖНЫМ ИЛИ МОКРЫМ РЕЖИМОМ

7. КАРТОФЕЛЕ- и ОВОЩЕФРУКТОХРАНИЛИЩА

8. ПРОИЗВ. ЗДАНИЯ С ИЗБЫТКАМИ ЯВНОГО ТЕПЛА (более 23 Вг/(М**3)) И НЕ БОЛЕЕ 50% РАСЧЕТНОЙ ОТНОСИТЕЛЬНОЙ ВЛАЖНОСТИ ВНУТРЕННЕГО ВОЗДУХА

1

ЦИФРОЙ УКАЖИТЕ НОМЕР

1. НАРУЖНЫЕ СТЕНЫ

2. ПОКРЫТИЯ И ЧЕРДАЧНЫЕ ПЕРЕКРЫТИЯ

3. ПЕРЕКРЫТИЯ НАД ПРОЕЗДАМИ, ПОДВАЛАМИ И ПОДПОЛЬЯМИ

1

ВВЕДИТЕ ВНУТРЕННИЙ КОЭФФИЦИЕНТ ТЕПЛООТДАЧИ

8,7

ВВЕДИТЕ НАРУЖНЫЙ КОЭФФИЦИЕНТ ТЕПЛООТДАЧИ

23

В КАЧЕСТВЕ РАСЧЕТНОЙ ЗИМНЕЙ ТЕМПЕРАТУРЫ В ПУНКТЕ «ХАБАРОВСК» ВЗЯТА ТЕМПЕРАТУРА -32,5 ПРИ ВЕЛИЧИНЕ ТЕПЛОВОЙ ИНЕРЦИИ 6,257

ТРЕБУЕМОЕ СОПРОТИВЛЕНИЕ ТЕПЛОПЕРЕДАЧЕ =0,967 ПРИ ТОЛЩИНЕ УТЕПЛИТЕЛЯ =0,401

СОПРОТИВЛЕНИЕ ТЕПЛОПЕРЕДАЧЕ ПРИ ТОЙ ЖЕ ТОЛЩИНЕ УТЕПЛИТЕЛЯ 0,967

БУДЕТЕ ПРОДОЛЖАТЬ РАСЧЕТ? 1 - ДА, 0 - НЕТ

1

ЕСТЬ ЛИ РЯД ЗНАЧЕНИЙ ТОЛЩИНЫ КОНСТРУКЦИИ? 1 - ДА 0 - НЕТ

1

ВВЕДИТЕ КОЛИЧЕСТВО ЗНАЧЕНИЙ ТОЛЩИН КОНСТРУКЦИИ

3

ВВЕДИТЕ КАЖДОЕ ИЗ ЗНАЧЕНИЙ ТОЛЩИН КОНСТРУКЦИИ

0,4           0,45            0,5             0,55

R 0 ПРИВЕДЕННЫЕ

1,032       1,148          1,264         1,379

ПРИ ТОЛЩИНАХ КОНСТРУКЦИИ

0,4           0,45            0,5             0,55

ПРИ ТОЛЩИНАХ УТЕПЛИТЕЛЯ

0,365       0,415          0,465         0,515

РАСЧЕТ ЭКОНОМИЧЕСКИ ЦЕЛЕСООБРАЗНОГО СОПРОТИВЛЕНИЯ ТЕПЛОПЕРЕДАЧЕ БУДЕТ ИДТИ ДЛЯ КОНСТРУКЦИИ ТОЛЩИНОЙ

0,4           0,45            0,5             0,55

ВВЕДИТЕ СТОИМОСТЬ МОНТАЖА (руб/м2)

0,39

ВВЕДИТЕ СТОИМОСТЬ ТЕПЛОВОЙ ЭНЕРГИИ (руб/гДж)

5,02

ВВЕДИТЕ ТРАНСПОРТНЫЕ РАСХОДЫ И ОПТОВУЮ ЦЕНУ КОНСТРУКЦИИ (руб/м2)

ПРИ ТОЛЩИНЕ 0,4

2,31         37,38

ВВЕДИТЕ ТРАНСПОРТНЫЕ РАСХОДЫ И СТОИМОСТЬ КОНСТРУКЦИИ (руб/м2)

ПРИ ТОЛЩИНЕ 0,45

2,62         38,91

ВВЕДИТЕ ТРАНСПОРТНЫЕ РАСХОДЫ И СТОИМОСТЬ КОНСТРУКЦИИ (руб/м2)

ПРИ ТОЛЩИНЕ 0,5

2,88         40,44

ВВЕДИТЕ ТРАНСПОРТНЫЕ РАСХОДЫ И СТОИМОСТЬ КОНСТРУКЦИИ (руб/м2)

ПРИ ТОЛЩИНЕ 0,55

3,13         41,97

РЕЗУЛЬТАТ

ТОЛЩИНА ОПТИМАЛЬНОЙ КОНСТРУКЦИИ =0,5

ТОЛЩИНА УТЕПЛИТЕЛЯ =0,465

ПРИВЕДЕННОЕ СОПРОТИВЛЕНИЕ ТЕПЛОПЕРЕДАЧЕ КОНСТРУКЦИИ =1,264

ЕДИНОВРЕМЕННЫЕ ЗАТРАТЫ =55,72

ПРИВЕДЕННЫЕ ЗАТРАТЫ =81,45

БУДЕТЕ ЛИ ПРОДОЛЖАТЬ РАСЧЕТ ДЛЯ ОПРЕДЕЛЕНИЯ СООТВЕТСТВИЯ КОНСТРУКЦИИ ТЕМПЕРАТУРЕ ТОЧКИ РОСЫ? 1 - ДА, 0 - НЕТ

1

НУЖНО ЛИ ИЗМЕНИТЬ ЗНАЧЕНИЕ ВЛАЖНОСТИ ДЛЯ РАСЧЕТА ТЕМПЕРАТУРЫ ТОЧКИ РОСЫ? 1 - ДА, 0 - НЕТ

0

ЕСТЬ ЛИ В КОНСТРУКЦИИ ТЕПЛОПРОВОДНЫЕ ВКЛЮЧЕНИЯ? 1 - ДА, 0 - НЕТ

0

РЕЗУЛЬТАТ

ТЕМПЕРАТУРА ТОЧКИ РОСЫ =10,1

НАИМЕНЬШАЯ ТЕМПЕРАТУРА ВНУТРЕННЕЙ ПОВЕРХНОСТИ =13,1

РАСЧЕТ ОКОНЧЕН.

7. Ниже приведен протокол диалога при расчете примера 1 разд. 3.

ПРОГРАММА РАСЧЕТА ТЕПЛОУСТОЙЧИВОСТИ ОГРАЖДАЮЩИХ КОНСТРУКЦИЙ

БУДЕТЕ ЛИ ВЫ ПОЛЬЗОВАТЬСЯ БАНКОМ КЛИМАТОЛОГИЧЕСКИХ ДАННЫХ? 1 - ДА, 0 - НЕТ

1

ВВЕДИТЕ НАЗВАНИЕ ГЕОГРАФИЧЕСКОГО ПУНКТА МЕСТА СТРОИТЕЛЬСТВА

ОДЕССА

УКАЖИТЕ ОТНОСИТЕЛЬНУЮ ВЛАЖНОСТЬ В ПОМЕЩЕНИИ

45

УКАЖИТЕ ТЕМПЕРАТУРУ ВОЗДУХА В ПОМЕЩЕНИИ

22

УКАЖИТЕ ВИД ОГРАЖДАЮЩЕЙ КОНСТРУКЦИИ:

1 - НАРУЖНАЯ СТЕНА, 2 - ПОКРЫТИЕ

УКАЖИТЕ КОЛИЧЕСТВО СЛОЕВ ОГРАЖДАЮЩЕЙ КОНСТРУКЦИИ

3

НАЧИНАЯ ОТ ВНУТРЕННЕЙ ПОВЕРХНОСТИ УКАЖИТЕ ДЛЯ КАЖДОГО СЛОЯ ЗНАЧЕНИЯ СЛЕДУЮЩИХ ВЕЛИЧИН:

1. ТОЛЩИНА СЛОЯ (м) 2. НОМЕР СТРОКИ ИЗ ПРИЛ. 3 (СНиП II-3-79**), СООТВЕТСТВУЮЩИЙ МАТЕРИАЛУ

СЛОЙ НОМЕР 1

0,020           71

СЛОЙ НОМЕР 2

0,210           26

СЛОЙ НОМЕР 3

0,020           71

МАТЕРИАЛЫ СЛОЕВ

71 ЦЕМЕНТНО-ПЕСЧАНЫЙ РАСТВОР

26 КЕРАМЗИТОБЕТОН НА КВАРЦЕВОМ ПЕСКЕ С ПОРИЗАЦИЕЙ

71 ЦЕМЕНТНО-ПЕСЧАНЫЙ РАСТВОР

УКАЖИТЕ КОЭФФИЦИЕНТ ТЕПЛООТДАЧИ ВНУТРЕННЕЙ ПОВЕРХНОСТИ ОГРАЖДАЮЩЕЙ КОНСТРУКЦИИ

8,7

УКАЖИТЕ СОГЛАСНО СНиП 2.01.01-82 «СТРОИТЕЛЬНАЯ КЛИМАТОЛОГИЯ И ГЕОФИЗИКА», СЛЕДУЮЩИЕ ЧЕТЫРЕ ВЕЛИЧИНЫ:

1. МАКСИМАЛЬНАЯ АМПЛИТУДА СУТОЧНЫХ КОЛЕБАНИЙ ТЕМПЕРАТУРЫ НАРУЖНОГО ВОЗДУХА В ИЮЛЕ

2 и 3. МАКСИМАЛЬНОЕ И СРЕДНЕЕ ЗНАЧЕНИЯ СУММАРНОЙ СОЛНЕЧНОЙ РАДИАЦИИ (прямой и рассеянной)

4. МИНИМАЛЬНАЯ ИЗ СРЕДНИХ СКОРОСТЕЙ ВЕТРА ПО РУМБАМ ЗА ИЮЛЬ, ПОВТОРЯЕМОСТЬ КОТОРЫХ СОСТАВЛЯЕТ 16% И БОЛЕЕ

14,7             752                182             4,3

УКАЖИТЕ НОМЕР МАТЕРИАЛА НАРУЖНОЙ ПОВЕРХНОСТИ ОГРАЖДАЮЩЕЙ КОНСТРУКЦИИ, ЕСЛИ ЕГО НЕТ - ВВЕДИТЕ 0

1. АЛЮМИНИИ 2. АСБЕСТОЦЕМЕНТНЫЕ ЛИСТЫ

3. АСФАЛЬТОБЕТОН 4. БЕТОНЫ

5. ДЕРЕВО НЕОКРАШЕННОЕ 6. СТЕКЛО ОБЛИЦОВОЧНОЕ

7. ЗАЩИТНЫЙ СЛОЙ РУЛОННОЙ КРОВЛИ ИЗ СВЕТЛОГО ГРАВИЯ

8. КИРПИЧ ГЛИНЯНЫЙ КРАСНЫЙ 9. КИРПИЧ СИЛИКАТНЫЙ

10. ОБЛИЦОВКА ПРИРОДНЫМ КАМНЕМ БЕЛЫМ

11. ОКРАСКА СИЛИКАТНАЯ ТЕМНО-СЕРАЯ

12. ОКРАСКА ИЗВЕСТКОВАЯ БЕЛАЯ

13. ПЛИТКА ОБЛИЦОВОЧНАЯ КЕРАМИЧЕСКАЯ

14. ПЛИТКА ОБЛИЦОВОЧНАЯ СТЕКЛЯННАЯ СИНЯЯ

0

УКАЖИТЕ НОМЕР МАТЕРИАЛА НАРУЖНОЙ ПОВЕРХНОСТИ ОГРАЖДАЮЩЕЙ КОНСТРУКЦИИ. ЕСЛИ ЕГО НЕТ, ВВЕДИТЕ 0

15. ПЛИТКА ОБЛИЦОВОЧНАЯ БЕЛАЯ ИЛИ ПАЛЕВАЯ

16. РУБЕРОИД С ПЕСЧАНОЙ ПОСЫПКОЙ

17. СТАЛЬ ЛИСТОВАЯ, ОКРАШЕННАЯ БЕЛОЙ КРАСКОЙ

18. СТАЛЬ ЛИСТОВАЯ, ОКРАШЕННАЯ ТЕМНО-КРАСНОЙ КРАСКОЙ

19. СТАЛЬ ЛИСТОВАЯ, ОКРАШЕННАЯ ЗЕЛЕНОЙ КРАСКОЙ

20. СТАЛЬ КРОВЕЛЬНАЯ ОЦИНКОВАННАЯ

21. ШТУКАТУРКА ИЗВЕСТКОВАЯ ТЕМНО-СЕРАЯ ИЛИ ТЕРРАКОТОВАЯ

22. ШТУКАТУРКА ЦЕМЕНТНАЯ СВЕТЛО-ГОЛУБАЯ

23. ШТУКАТУРКА ЦЕМЕНТНАЯ ТЕМНО-ЗЕЛЕНАЯ

24. ШТУКАТУРКА ЦЕМЕНТНАЯ КРЕМОВАЯ

24

РЕЗУЛЬТАТ

АМПЛИТУДА КОЛЕБАНИЙ ТЕМПЕРАТУРЫ НА ВНУТРЕННЕЙ ПОВЕРХНОСТИ ОГРАЖДЕНИЯ РАВНА 1,09

ДОПУСТИМАЯ АМПЛИТУДА КОЛЕБАНИЙ РАВНА 2,380

ОГРАЖДАЮЩАЯ КОНСТРУКЦИЯ УДОВЛЕТВОРЯЕТ НОРМАМ.

8. Ниже приведен протокол диалога при расчете примера 1 разд. 4.

ПРОГРАММА РАСЧЕТА ТЕПЛОУСВОЕНИЯ ПОЛОВ

ПОДХОДИТ ЛИ ВАШ СЛУЧАЙ К ЭТОМУ СПИСКУ:

1. ПОЛ ИМЕЕТ ТЕМПЕРАТУРУ ПОВЕРХНОСТИ ВЫШЕ 23 ГРАД

2. ПОЛ В ОТАПЛИВАЕМЫХ ПОМЕЩЕНИЯХ ПРОИЗВОДСТВЕННЫХ ЗДАНИЙ, ГДЕ ВЫПОЛНЯЮТСЯ ТЯЖЕЛЫЕ ФИЗИЧЕСКИЕ РАБОТЫ (категория 3)

3. ПОЛ ПРОИЗВОДСТВЕННЫХ ЗДАНИЙ ПРИ УСЛОВИИ УКЛАДКИ НА УЧАСТКИ ПОСТОЯННЫХ РАБОЧИХ МЕСТ ДЕРЕВЯННЫХ ЩИТОВ ИЛИ ТЕПЛОИЗОЛИРУЮЩИХ КОВРИКОВ

4. ПОЛ ПОМЕЩЕНИЙ ОБЩЕСТВЕННЫХ ЗДАНИЙ, ЭКСПЛУАТАЦИЯ КОТОРЫХ НЕ СВЯЗАНА С ПОСТОЯННЫМ ПРЕБЫВАНИЕМ В НИХ ЛЮДЕЙ (залы музеев, выставки и т.п.) 1 - ДА, 0 - НЕТ

0

УКАЖИТЕ ВЛАЖНОСТЬ В ПОМЕЩЕНИИ

45

УКАЖИТЕ ТЕМПЕРАТУРУ ВОЗДУХА В ПОМЕЩЕНИИ

22

ВВЕДИТЕ НАЗВАНИЕ ГЕОГРАФИЧЕСКОГО ПУНКТА МЕСТА СТРОИТЕЛЬСТВА

ОДЕССА

ПОДХОДИТ ЛИ ВАШ СЛУЧАЙ К ПРИВЕДЕННОМУ НИЖЕ СПИСКУ?

1 - ДА, 0 - НЕТ

ЗДАНИЯ ЖИЛЫЕ, БОЛЬНИЧНЫХ УЧРЕЖДЕНИЙ, ДОМОВ РЕБЕНКА, ДОМОВ-ИНТЕРНАТОВ ДЛЯ ПРЕСТАРЕЛЫХ И ИНВАЛИДОВ, ОБЩЕОБРАЗОВАТЕЛЬНЫХ ДЕТСКИХ ШКОЛ, ДЕТСКИХ САДОВ, ЯСЛЕЙ, ДЕТСКИХ ДОМОВ И ДЕТСКИХ ПРИЕМНИКОВ-РАСПРЕДЕЛИТЕЛЕЙ

0

ПОДХОДИТ ЛИ ВАШ СЛУЧАЙ К ПРИВЕДЕННОМУ НИЖЕ СПИСКУ?

1 - ДА, 0 - НЕТ

ОБЩЕСТВЕННЫЕ ЗДАНИЯ, КРОМЕ УКАЗАННЫХ РАНЕЕ, ВСПОМОГАТЕЛЬНЫЕ ЗДАНИЯ И ПОМЕЩЕНИЯ ПРОМЫШЛЕННЫХ ПРЕДПРИЯТИЙ УЧАСТКИ С ПОСТОЯННЫМИ РАБОЧИМИ МЕСТАМИ В ОТАПЛИВАЕМЫХ ПОМЕЩЕНИЯХ ПРОИЗВОДСТВЕННЫХ ЗДАНИЙ, ГДЕ ВЫПОЛНЯЮТСЯ ЛЕГКИЕ ФИЗИЧЕСКИЕ РАБОТЫ (категория 1)

0

ПОДХОДИТ ЛИ ВАШ СЛУЧАЙ К ПРИВЕДЕННОМУ НИЖЕ СПИСКУ?

1 - ДА, 0 - НЕТ

УЧАСТКИ С ПОСТОЯННЫМИ РАБОЧИМИ МЕСТАМИ В ОТАПЛИВАЕМЫХ ПОМЕЩЕНИЯХ ПРОИЗВОДСТВЕННЫХ ЗДАНИЙ, ГДЕ ВЫПОЛНЯЮТСЯ ФИЗИЧЕСКИЕ РАБОТЫ СРЕДНЕЙ ТЯЖЕСТИ (категория 2)

1

ДЛЯ 1-го СЛОЯ, СЧИТАЯ ОТ ПОВЕРХНОСТИ, ВВЕДИТЕ ТОЛЩИНУ И НОМЕР СТРОКИ ИЗ ПРИЛ. 3, СООТВЕТСТВУЮЩИЙ ЕГО МАТЕРИАЛУ

0,003 188

188 ЛИНОЛЕУМ ПОЛИВИНИЛХЛОРИДНЫЙ МНОГОСЛОЙНЫЙ ТЕПЛОВАЯ ИНЕРЦИЯ 1-го СЛОЯ РАВНА 0,068

ДЛЯ 2-го СЛОЯ ВВЕДИТЕ ЗНАЧЕНИЯ ТОЛЩИНЫ, м, И НОМЕР СТРОКИ ИЗ ПРИЛ. 3, СООТВЕТСТВУЮЩИЙ ЕГО МАТЕРИАЛУ

0,001 182

182 БИТУМЫ НЕФТЯНЫЕ СТРОИТЕЛЬНЫЕ И КРОВЕЛЬНЫЕ ТЕПЛОВАЯ ИНЕРЦИЯ 2 СЛОЕВ РАВНА 0,095

ДЛЯ 3-го СЛОЯ ВВЕДИТЕ ЗНАЧЕНИЯ ТОЛЩИНЫ, м, И НОМЕР СТРОКИ ИЗ ПРИЛ. 3, СООТВЕТСТВУЮЩИЙ ЕГО МАТЕРИАЛУ

0,020 71

71 ЦЕМЕНТ 110 - ПЕСЧАНЫЙ

ТЕПЛОВАЯ ИНЕРЦИЯ 3 СЛОЕВ 0,348

ДЛЯ 4-го СЛОЯ ВВЕДИТЕ ЗНАЧЕНИЯ ТОЛЩИНЫ, м, И НОМЕР СТРОКИ ИЗ ПРИЛ. 3, СООТВЕТСТВУЮЩИЙ ЕГО МАТЕРИАЛУ

0,004 79

79 ПОРИЗОВАННЫЙ ГИПСО-ПЕРЛИТОВЫЙ

ТЕПЛОВАЯ ИНЕРЦИЯ 4 СЛОЕВ РАВНА 0,413

ДЛЯ 5-го СЛОЯ ВВЕДИТЕ ЗНАЧЕНИЯ ТОЛЩИНЫ, м, И НОМЕР СТРОКИ ИЗ ПРИЛ. 3. СООТВЕТСТВУЮЩИЙ ЕГО МАТЕРИАЛУ

0,140 1

1 ЖЕЛЕЗОБЕТОН

РЕЗУЛЬТАТ

ПОКАЗАТЕЛЬ ТЕПЛОУСВОЕНИЯ ПОВЕРХНОСТИ ПОЛА РАВЕН 16,9

НОРМАТИВНАЯ ВЕЛИЧИНА ПОКАЗАТЕЛЯ ТЕПЛОУСВОЕНИЯ ПОВЕРХНОСТИ ПОЛА РАВНА 17

КОНСТРУКЦИЯ ПОЛА УДОВЛЕТВОРЯЕТ НОРМАМ

9. Ниже приведен протокол диалога при расчете примера 1 разд. 5.

ПРОГРАММА РАСЧЕТА СОПРОТИВЛЕНИЯ ВОЗДУХОПРОНИЦАНИЮ ОГРАЖДАЮЩИХ КОНСТРУКЦИЙ

ОПРЕДЕЛИТЕ ЛИ ВЫ СОПРОТИВЛЕНИЕ ВОЗДУХОПРОНИЦАНИЮ

1. НАРУЖНОЙ СТЕНЫ, ПЕРЕКРЫТИЯ ИЛИ ПОКРЫТИЯ

2. СВЕТОВОГО ПРОЕМА

3. ВХОДНОЙ ДВЕРИ В КВАРТИРУ

4. ДВЕРЕЙ И ВОРОТ ПРОИЗВОДСТВЕННЫХ ЗДАНИЙ

ОТВЕТ (1, 2,3, 4)

2

ЦИФРОЙ (1 ИЛИ 2) УКАЖИТЕ ВИД ЗДАНИЯ

1. ЖИЛЫЕ И ОБЩЕСТВЕННЫЕ ЗДАНИЯ, А ТАКЖЕ ВСПОМОГАТЕЛЬНЫЕ ЗДАНИЯ И ПОМЕЩЕНИЯ ПРОМЫШЛЕННЫХ ПРЕДПРИЯТИЙ

2. ПРОИЗВОДСТВЕННЫЕ ЗДАНИЯ

1

ЦИФРОЙ (1 ИЛИ 2) УКАЖИТЕ ВИД СВЕТОВОГО ПРОЕМА

1. ОКНО 2. БАЛКОННАЯ ДВЕРЬ

1

УКАЖИТЕ ТЕМПЕРАТУРУ ВНУТРЕННЕГО ВОЗДУХА

18

ВВЕДИТЕ НАЗВАНИЕ ГЕОГРАФИЧЕСКОГО ПУНКТА МЕСТА СТРОИТЕЛЬСТВА

УФА

УКАЖИТЕ МАКСИМАЛЬНУЮ ИЗ СРЕДНИХ СКОРОСТЕЙ ВЕТРА ПО РУМБАМ ЗА ЯНВАРЬ, ПОВТОРЯЕМОСТЬ КОТОРЫХ СОСТАВЛЯЕТ 16% И БОЛЕЕ, ПРИНИМАЕМУЮ СОГЛАСНО ГЛАВЕ СНиП ПО СТРОИТЕЛЬНОЙ КЛИМАТОЛОГИИ И ГЕОФИЗИКЕ. ДЛЯ ТИПОВЫХ ПРОЕКТОВ СКОРОСТЬ ВЕТРА СЛЕДУЕТ ПРИНИМАТЬ - 5 м/с, А В КЛИМАТИЧЕСКИХ ПОДРАЙОНАХ 1Б И 1Г - 8 м/с

5,5

УКАЖИТЕ ВЫСОТУ ЗДАНИЯ ОТ ПОВЕРХНОСТИ ЗЕМЛИ ДО ВЕРХА КАРНИЗА (м)

34,8

У ВАС ОКНО БЕЗ ОТКРЫВАЮЩИХСЯ СТВОРОК (БЕЗ ПРИТВОРОВ, С УПЛОТНЕННЫМИ ФАЛЬЦАМИ) - 1 - ДА, 0 - НЕТ

0

ОБОЗНАЧЬТЕ ЦИФРОЙ (1, 2, 3) ВИД ОСТЕКЛЕНИЯ

1. ОДИНАРНОЕ ОСТЕКЛЕНИЕ ИЛИ ДВОЙНОЕ ОСТЕКЛЕНИЕ В СПАРЕННЫХ ПЕРЕПЛЕТАХ

2. ДВОЙНОЕ ОСТЕКЛЕНИЕ В РАЗДЕЛЬНЫХ ПЕРЕПЛЕТАХ

3. ТРОЙНОЕ ОСТЕКЛЕНИЕ В ОДИНАРНОМ И СПАРЕННОМ ПЕРЕПЛЕТАХ

3

ЦИФРОЙ (1, 2, 3) УКАЖИТЕ ВИД МАТЕРИАЛА ПРОКЛАДКИ

1. ПЕНОПОЛИУРЕТАНОВАЯ 2. ГУБЧАТАЯ РЕЗИНА 3. ПОЛУШЕРСТЯНОЙ ШНУР

1

ВВЕДИТЕ КОЛИЧЕСТВО УПЛОТНЕННЫХ ПРИТВОРОВ ЗАПОЛНЕНИЯ (ДЛЯ СПРАВКИ: ИХ МОЖЕТ БЫТЬ МАКСИМУМ 3)

2

ВЫ РАССЧИТЫВАЕТЕ СВЕТОВЫЕ ПРОЕМЫ С МЕТАЛЛИЧЕСКИМИ ПЕРЕПЛЕТАМИ?

1 - ДА, 0 - НЕТ

0

РЕЗУЛЬТАТ

ТРЕБУЕМОЕ СОПРОТИВЛЕНИЕ ВОЗДУХОПРОНИЦАНИЮ 0,345

ДЕЙСТВИТЕЛЬНОЕ СОПРОТИВЛЕНИЕ ВОЗДУХОПРОНИЦАНИЮ 0,440

КОНСТРУКЦИЯ УДОВЛЕТВОРЯЕТ НОРМАМ

10. Ниже приведен протокол диалога при расчете примера 1 разд. 6

ПРОГРАММА РАСЧЕТА СОПРОТИВЛЕНИЯ ПАРОПРОНИЦАНИЮ ОГРАЖДАЮЩИХ КОНСТРУКЦИЙ

УКАЖИТЕ ВЛАЖНОСТЬ В ПОМЕЩЕНИИ (ОТНОСИТЕЛЬНУЮ)

60

УКАЖИТЕ ТЕМПЕРАТУРУ ВОЗДУХА В ПОМЕЩЕНИИ

18

БУДЕТЕ ЛИ ВЫ ПОЛЬЗОВАТЬСЯ БАНКОМ КЛИМАТОЛОГИЧЕСКИХ ДАННЫХ

1 - ДА, 0 - НЕТ

ВВЕДИТЕ НАЗВАНИЕ ГЕОГРАФИЧЕСКОГО ПУНКТА МЕСТА СТРОИТЕЛЬСТВА

СВЕРДЛОВСК

ОПРЕДЕЛИТЕ ЦИФРОЙ (1, 2, 3) ВИД РАССЧИТЫВАЕМОЙ ОГРАЖДАЮЩЕЙ КОНСТРУКЦИИ

ЕСЛИ НИ ОДИН ИЗ ПУНКТОВ НЕ ПОДХОДИТ, ВВЕДИТЕ 0

1. НАРУЖНЫЕ СТЕНЫ И ПОКРЫТИЯ

2. ЧЕРДАЧНЫЕ ПЕРЕКРЫТИЯ

3. ВЕНТИЛИРУЕМЫЕ ПОКРЫТИЯ

1

УКАЖИТЕ КОЛИЧЕСТВО СЛОЕВ ОГРАЖДАЮЩЕЙ КОНСТРУКЦИИ

4

ДЛЯ КАЖДОГО СЛОЯ, НАЧИНАЯ ИЗНУТРИ, УКАЖИТЕ НОМЕР ИЗ ПРИЛ. 3 И ТОЛЩИНУ СЛОЯ (в м) ВОЗДУШНОЙ ПРОСЛОЙКИ

ВМЕСТО НОМЕРА УКАЖИТЕ 0, А ДЛЯ ЛИСТОВОГО МАТЕРИАЛА ИЛИ ТОНКОГО СЛОЯ ПАРОИЗОЛЯЦИИ ИЗ ПРИЛ. 11 (СНиП II-3-79**) УКАЖИТЕ ОТРИЦАТЕЛЬНОЕ ЧИСЛО -1

СЛОЙ НОМЕР 1

2   0,070

СЛОЙ НОМЕР 2

20 0,240

СЛОЙ НОМЕР 3

20 0,120

СЛОЙ НОМЕР 4

71 0,020

МАТЕРИАЛЫ СЛОЕВ

2 БЕТОН НА ГРАВИИ ИЛИ ЩЕБНЕ ИЗ ПРИРОДНОГО КАМНЯ

20 КЕРАМЗИТОБЕТОН НА КЕРАМЗИТОВОМ ПЕСКЕ И КЕРАМЗИТОПЕНОБЕТОН

20 КЕРАМЗИТОБЕТОН НА КЕРАМЗИТОВОМ ПЕСКЕ И КЕРАМЗИТОПЕНОБЕТОН

71 ЦЕМЕНТНО-ПЕСЧАНЫЙ

УКАЖИТЕ, СЧИТАЯ ОТ ВНУТРЕННЕЙ ПОВЕРХНОСТИ, НОМЕР СЛОЯ, ЯВЛЯЮЩЕГОСЯ УТЕПЛИТЕЛЕМ

2

УКАЖИТЕ НОМЕР МАТЕРИАЛА УВЛАЖНЯЕМОГО СЛОЯ (УТЕПЛИТЕЛЯ), ЕСЛИ ЕГО НЕТ, ВВЕДИТЕ 0

1. КЛАДКА ИЗ ГЛИНЯНОГО КИРПИЧА И КЕРАМИЧЕСКИХ БЛОКОВ

2. КЛАДКА ИЗ СИЛИКАТНОГО КИРПИЧА

3. ЛЕГКИЕ БЕТОНЫ НА ПОРИСТЫХ ЗАПОЛНИТЕЛЯХ (КЕРАМЗИТОБЕТОН, ШУНГИЗИТОБЕТОН, ПЕРЛИТОБЕТОН, ПЕНЗОБЕТОН И ДР.)

4. ЯЧЕИСТЫЕ БЕТОНЫ (ГАЗОБЕТОН, ПЕНОБЕТОН, ГАЗОСИЛИКАТ И ДР.)

5. ПЕНОГАЗОСТЕКЛО 6. ФИБРОЛИТ ЦЕМЕНТНЫЙ

7. МИНЕРАЛОВАТНЫЕ ПЛИТЫ И МАТЫ

8. ПЕНОПОЛИСТИРОЛ И ПЕНОПОЛНУРЕТАН

9. ТЕПЛОИЗОЛЯЦИОННЫЕ ЗАСЫПКИ ИЗ КЕРАМЗИТА, ШУНГИЗИТА, ШЛАКА

10. ТЯЖЕЛЫЕ БЕТОНЫ

3

ВВЕДИТЕ КОЭФФИЦИЕНТ ТЕПЛООТДАЧИ ВНУТРЕННЕЙ ПОВЕРХНОСТИ

8,7

ВВЕДИТЕ КОЭФФИЦИЕНТ ТЕПЛООТДАЧИ НАРУЖНОЙ ПОВЕРХНОСТИ

23,0

РЕЗУЛЬТАТ

ДЕЙСТВИТЕЛЬНОЕ СОПРОТИВЛЕНИЕ ПАРОПРОНИЦАНИЮ ОГРАЖДАЮЩЕЙ КОНСТРУКЦИИ РАВНО 4,51, ТРЕБУЕМОЕ СОПРОТИВЛЕНИЕ ПАРОПРОНИЦАНИЮ РАВНО 0,38

КОНСТРУКЦИЯ УДОВЛЕТВОРЯЕТ НОРМАМ

11. Разработанный диалоговый программный комплекс может быть использован на ЭВМ типа СМ-4, СМ-1420, СМ-1700 при наличии транслятора базового Фортрана (Фортран-IV СМ ЭВМ) и операционной системы РАФОС (TS-монитор), Имеется также вариант комплекса, функционирующий в операционной системе ОС РВ.

Средние затраты машинного времени ЭВМ СМ-4 при расчете примеров Руководства, протоколы диалога которых приведены в предыдущих пунктах, составляют 5 мин (включая получение протокола па АЦПУ).

12. Следует отметить следующие требования к минимальной конфигурации технических средств, необходимых для функционирования комплекса:

базовая ЭВМ с ОЗУ не менее 64 Кслов, совместимая с СМ-4,

внешняя память - накопитель на магнитном диске СМ-5400 и накопитель на магнитной ленте СМ 5300.01,

алфавитно-цифровое печатающее устройство (типа ДАРО-1156).

13. Диалоговый программный комплекс автоматизации расчетов по СНиП II-3-79** представляет собой открытую систему, построенную по модульному принципу и имеющую тенденцию к дальнейшему совершенствованию. В этой связи полезной является поступающая к разработчикам информация из внедряющих организаций, относящаяся как к диалоговой, так и к функциональной его компонентам.

ПРИЛОЖЕНИЕ 14

ПОДГОТОВКА К РАСЧЕТУ ТЕМПЕРАТУРНЫХ ПОЛЕЙ ПО ПРОГРАММАМ НИИСФа

1. Для расчета двухмерного температурного поля с помощью ЭВМ необходимо подготовить исходные данные, которые получают при последовательном выполнении следующих видов работы:

а) выбирают участок ограждающей конструкции, двухмерной в отношении распределения температур. Решают вопрос о том, какое поле (плоское или осесимметричное) будет рассматриваться (рис. 1, а, б);

б) составляют схему расчета, вычерчивая в определенном масштабе изучаемую часть ограждающей конструкции, и, при необходимости, упрощают ее. При этом заменяют сложные конфигурации участков, например криволинейные, более простыми, если эта конфигурация имеет незначительное влияние в теплотехническом отношении, Наносят на чертеж границы области исследования и оси координат (х, у или r, z). Выделяют участки с различными теплопроводностями и указывают условия теплообмена на границах. Проставляют все необходимые размеры;

Рис. 1. Определение стационарных двухмерных температурных полей и схемы расположения чертежа двухмерной исследуемой области по отношению к осям координат

а - плоское температурное поле; б - осесимметричное температурное поле; в - схема расчета двухсвязной области; г - расчленение схемы (в) при расчете; д - схема расчета многокомпонентной области

в) расчленяют область исследования на элементарные блоки, выделяя отдельно участки с различными коэффициентами теплопроводности. Вычерчивают в масштабе схему расчленения исследуемой области и проставляют размеры всех блоков;

г) вычерчивают область исследования в условной системе координат х', у', когда все блоки принимаются одного и того же размера. Проставляют координаты вершин полигонов, ограничивающих участки области с различными теплопроводностями, и координаты вершин многоугольников, образующих границы исследуемой области. Нумеруют участки и границы исследуемой области и подписывают вершины областей теплопроводностей, температур (или тепловых потоков) на границах или окружающего воздуха и коэффициентов теплоотдачи;

д) пользуясь двумя чертежами, выполненными по пп. «в» и «г», и руководствуясь стандартной (обычной) последовательностью расположения, составляют комплект численных значений исходных данных, выписывая их в бланки набивки перфокарт (см. пп. 8 - 33 данного приложения);

е) после набивки перфокарт укладывают их в пакет задачи, предварительно пронумеровав и надписав группы данных, и передают оператору для пропуска на машине;

ж) в случае диагностических указаний проверочного блока на наличие в подготовленном пакете задачи ошибок их следует найти, устранить и заменить соответствующие карты, а затем повторно пропустить пакет на машине по программе проверки;

з) пакет задачи, не содержащей ошибок, передается оператору на счет с указанием о графическом выводе результатов или без него.

2. При подготовке к решению задач о стационарном трехмерном температурном поле необходимо выполнить следующую последовательность работ:

а) выбирают требуемый для расчета участок ограждающей конструкции, трехмерный в отношении распределения температур. Вычерчивают в масштабе три проекции ограждающих конструкций и проставляют все размеры;

б) составляют схему расчета, вычерчивая в аксонометрической проекции и определенном масштабе изучаемую часть ограждающей конструкции. При этом сложные конфигурации участков заменяют более простыми, состоящими из параллелепипедов. При такой замене необходимо учитывать влияющие в теплотехническом отношении детали конструкции. Наносят на чертеж границы области исследования и оси координат, выделяют в виде параллелепипедов участки с различными теплопроводностями, указывают условия теплообмена на границах н проставляют все размеры;

в) расчленяют область исследования на элементарные параллелепипеды плоскостями, параллельными координатным плоскостям XOY, ZOY, YOZ, выделяя отдельно участки с различной теплопроводностью, вычерчивают в масштабе схему расчленения исследуемой области на элементарные параллелепипеды и проставляют размеры;

г) вычерчивают три проекции области исследования на координатные плоскости в условной системе координат х', у', z', пользуясь схемами, приведенными в пп, «б» и «в». Когда все элементарные параллелепипеды принимаются одного и того же размера, проставляют координаты вершин проекций параллелепипедов, ограничивающих участки области с различными теплопроводностями и проекции плоскостей, образующих границы исследуемой области. Подписывают величины теплопроводностей, температуру на границах или окружающего воздуха и коэффициенты теплоотдачи.

Составляют комплект исходных данных, пользуясь схемами пп. «б», «в», «г» осуществляют набивку перфокарт, нумеруют их, подписывают группы данных и передают оператору на счет.

3. При выборе для расчета соответствующего сечения ограждающей конструкции необходимо тщательно проанализировать саму конструкцию и условия теплообмена на ее поверхностях с целью установления возможности расчета по двухмерной или трехмерной схеме. Например, если справедливо допущение о неизменности участка конструкции и условий теплообмена на поверхностях в направлении оси z на протяжении 5-10 ее толщин, расчет можно провести по двухмерной схеме.

4. Если искомое температурное поле ожидается симметричным, при расчете следует учесть его половину. Такое использование симметрии упрощает процесс подготовки исходных данных к расчету. Используя ось симметрии как границу исследуемой области с указанным условием теплообмена не следует забывать, что симметричными в отношении этой оси должны быть не только участки рассматриваемой конструкции, но и условия теплообмена ее с окружающей средой.

5. Ограничение области исследования производят из следующих соображений. Область исследования, с одной стороны, ограничивается естественными поверхностями конструкции, на которых заданы условия теплообмена, и, с другой стороны, ее необходимо искусственно ограничить для расчета, так как реальные конструкции имеют значительные размеры. С целью упрощения расчета желательно ограничить область возможно меньшими размерами, а значит и упростить подготовку пакета исходных данных задачи и уменьшить время счета на ЭВМ. Вместе с тем назначение границ исследуемой области связано с возможностью задать на них условия теплообмена с остальной частью конструкции и поэтому желательно эту границу относить как можно дальше, где уже фактически происходит одномерный процесс теплоотдачи. Такое предположение допустимо уже на расстоянии около 5-7 толщин конструкции от теплопроводного включения. На такой границе возможно задавать тепловой поток, равный нулю в направлении, перпендикулярном этой границе. Правильность назначения возможно проверить только после расчета на ЭВМ путем сопоставления полученных расчетом температур по назначенной границе с рассчитанными по формулам одномерного распределения.

6. При расчете по двухмерной схеме с использованием программ НИИСФа область исследования размещают полностью в первой четверти прямоугольной системы координат таким образом, чтобы часть ее границ совпадала с осями координат х, у (см. рис. 2, в-д). Если область исследования состоит из нескольких частей с различными теплопроводностями, то каждую такую часть следует выделить отдельно в виде участков областей. Участки не могут быть многосвязными, т.е. внутри них не допускаются отверстия. Участки с одинаковыми теплопроводностями, появившиеся в разных местах области, выделяются как отдельные участки.

Исследуемую область рекомендуется разместить таким образом, чтобы по оси у было меньшее число разбиений на элементарные интервалы.

Рис. 2. Расположение наклонной границы исследуемой области

Исследуемую область разбивают на прямоугольные блоки взаимно перпендикулярными линиями, параллельными осям координат. Разбивка на блоки может быть неравномерной, но обязательно должна быть сквозной, т.е. не допускается объединение двух рядов блоков в один. Линии разбивки должны совпадать с границами участков с различными теплопроводностями. В части области, где границы (или границы ее участков) наклонены к осям координат, разбивку рекомендуется провести с одинаковыми интервалами вдоль осей таким образом, чтобы наклонная граница проходила через середину граней блоков (см. рис. 2). В этом случае существенно упрощается подготовка исходных данных. В тех частях исследуемой области, где ожидаются резкие изменения температуры и где желательно получить более точные результаты, следует приводить более детальную разбивку на блоки. Каждую сторону участка области рекомендуется разбивать не менее, чем на два-три интервала.

Чертеж разбивки на блоки в условной системе координат располагается по отношению к осям координат таким образом, что первые линии отступают от оси на один интервал, а абсциссы и ординаты следующих линий возрастают с шагом, равным единице в направлении осей координат. Особенностью вычерчивания схемы исследуемой области в условных координатах является то, что все блоки вычерчиваются одинакового размера, обеспечивая удобства и четкость при описании контуров участка области и границ, особенно в случаях с неравномерной разбивкой.

Участки области представляют собой замкнутые многоугольники, содержащие произвольное число точек перелома. Вершинами участка области называют точки перелома. На чертеже у каждой вершины выписываются парой (х, у) значения ее координат. При выписывании координат на блоки обход осуществляют последовательно против часовой стрелки, Последняя вершина не должна совпадать с первой, так как предполагается, что многоугольник всегда замкнут.

Принимаемые в расчет граничные условия могут быть различными по типу и численным значениям на отдельных участках границ исследуемой области. Участки границ с одинаковыми условиями теплообмена с окружающим воздухом задают в виде незамкнутых многоугольников, содержащих произвольное число точек перелома. Вершинами участка границы называют начало, конец и точки перелома многоугольника. В частном случае участок границы может быть задан в виде отрезка линии с двумя точками. Многоугольник, определявший один участок границы, обязательно должен быть разомкнут. Например, если на поверхности отверстия в исследуемой области заданы одинаковые условия теплообмена и среды, то принимаемая в расчет граница в этом случае должна состоять хотя бы из двух участков, В соответствии с этим показанная на рис. 1, в-д граница по замкнутому контуру fcde с одинаковыми условиями теплообмена на всех ее участках, должна быть учтена расчлененной на участок ef и fcde. При задании граничных условий не допускается неопределенность, т.е. граничные условия должны быть определены на всех границах исследуемой области.

Исходные данные об условиях на границах исследуемой области подготавливаются в форме, соответствующей граничным условиям третьего рода, т.е. в виде значений температуры воздуха tн и коэффициента теплоотдачи с поверхности aн. В случае задания на каком-либо участке границы температуры поверхности ее назначают равной температуре воздуха и одновременно принимают в расчет очень большое значение коэффициента теплоотдачи поверхности, равное 0,9·1018Вт/(м2·°С). Если на некотором участке границы требуется задать величину теплового потока q, Вт/м2, т.е. граничное условие второго рода, то его величину задают как условную температуру окружающей среды, равную численному значению q, принимая одновременно a=0. При необходимости задания на одной и той же границе смешанных граничных условий третьего и второго родов, нужно это условие привести к условию третьего рода, задавая значение условной температуры воздуха tусл=tн+q/aн.

Если требуется решить задачу, в которой на всех участках границ исследуемой области заданы значения тепловых потоков, то необходимо учесть два обстоятельства: а) хотя бы в одной точке границы должно быть задано граничное условие первого рода, т.е. должна быть обусловлена точка отсчета температур в исследуемом температурном поле, например в задаче, приведенной на рис. 3, температура в точке В должна быть равна нулю; б) задаваемые в качестве граничных условий тепловые потоки, входящие в исследуемую область и выходящие из нее, должны быть сбалансированы с большой точностью (не менее 0,001%), например, в задаче на рис. 3 должно соблюдаться равенство Sqx1=Sqy1, в противном случае при контроле баланса тепловых потоков будет обнаружен недопустимый разбаланс, и задача будет снята с расчета по ошибке.

Рис. 3. Постановка задачи в случае, когда на границах заданы только тепловые потоки

7. При расчете по трехмерной схеме область исследования размещают полностью в первом октанте правой прямоугольной системы координат (рис. 4). Исследуемая область должна быть ограничена параллелепипедом и может состоять из нескольких соприкасающихся друг с другом участков материалов с различной теплопроводностью (рис. 4). Внутри области допускаются полости в виде параллелепипеда. Участки с неизменной теплопроводностью должны иметь форму параллелепипедов, стороны которых должны быть параллельны координатным плоскостям, т.е. плоскостям хоу, уоz, xoz. Сложные участки с неизменной теплопроводностью должны быть представлены несколькими параллелепипедами. Источники тепла задаются едиными на весь объем участка.

Рис. 4. Схема расположения трехмерной исследуемой области по отношению к осям координат

Исследуемую область разбивают на элементарные параллелепипеды взаимно перпендикулярными плоскостями, параллельными координатным плоскостям. Разбивка на параллелепипеды может быть неравномерной. Плоскости разбивки должны совпадать с границами участков с различными теплопроводностями. В тех частях исследуемой области, где ожидаются резкие изменения температуры, следует проводить более детальную разбивку.

Исходные данные об условиях на границе исследуемой области подготавливают так же, как при расчете по двухмерной схеме.

Последовательность подготовки исходных данных к расчету на ЭВМ по программам НИИСФа

8. Комплект исходных данных программы расчета двухмерных температурных полей состоит из 10 групп и выписывается и строгом порядке. Все числа должны быть вещественными, за исключением номера варианта и управляющего массива, которые должны быть целого типа. Последовательность этих групп следующая.

9. Номер N0 рассчитываемого варианта должен быть положительным, если решается плоская задача в прямоугольной системе координат х, у и отрицательным для осесимметричной задачи в системе координат r, z.

10. Группа данных BUF - управляющий массив, состоящий из 6 величин:

а) количество N интервалов разбивки по оси у или z;

б) количество L интервалов разбивки по оси х или r;

в) количество участков Z1 области с различными теплопроводностями;

г) число границ Z2 области, на которых задаются температуры поверхности TEMP или коэффициенты теплоотдачи ALPHA и соответствующие температуры окружающей среды, либо потоки;

д) число M1 вершин участка исследуемой области, имеющего наибольшее число вершин;

е) число М2 вершин на границе (или в участке границы), имеющей наибольшее число вершин.

11. Группа данных DX (DR) - вершины интервалов между смежными линиями разбивки по оси х или r, обычно задаваемые в метрах. Количество данных в группе должно быть L+2. Нумерация интервалов производится в направлении осей х или r и начинается с нуля, т.е. DX0, DX1,..,, DXL, DXL+1\ (или в случае оси r - DR0, DR1,...., DRL, DRL+1), Для плоской задачи интервал DХ0 следует назначить равным нулю. Для осесимметричной задачи в случае, если граница исследуемой области слева не совпадает с осью симметрии (например, расчет полей цилиндрической конструкции), DR0 должно быть равно расстоянию от оси симметрии до этой границы. В случае совпадения следует положить DR0=0. Значение интервала DXL+1(DRL+1) используется для управления видом печати искомых температур. Если величина DXL+1>0 (DRL+1>0), то на печать выдастся распределение температур в углах элементарных блоков. Если величина DXL+1=0 (DRL+1>0) то на печать выдаются две таблицы распределений температур - в центрах элементарных блоков (узлах) и в углах, а в случае DXL+1<0 (DRL+1<0) на печать выдается только распределение температур в центрах элементарных блоков. Следует заметить, что в процессе счета по программе величина DXL+1(DRL+1) становится равной нулю.

12. Группа данных DY(DZ) - та же, что и в п. 11, но по оси у или z, т.е. DY0, DY1, ..., DYN, DYN+1 или DZ0, DZ1, ..., DZN, DZN+1. Количество данных DY или DZ в группе должно быть равно N+2.

Значения начального и конечного интервала DY(DZ) используются для специальных целей: начальный - для управления масштабом чертежа при автоматическом вычерчивании результатов расчета, конечный - для масштабирования интервалов разбивки, т.е. записи их не в метрах. Если величина DY0(DZ0) равна нулю, то осуществляется автоматический выбор масштаба чертежа, ограничивающий его условной рамкой размером 25´35 см. Масштаб чертежа (М) представляет собой отношение размеров на чертеже к соответствующему размеру в исследуемой области, При использовании выбранного пользователем масштаба величину DY0(DZ0) назначают равной М; а комплекте данных величина масштаба М записывается в виде действительного числа. При назначении масштаба чертежа следует иметь в виду, что, с одной стороны, размер чертежа не должен выходить за пределы размера планшета графопостроителя (100 см по оси абсцисс и 80 см по оси ординат), а с другой - наибольший размер чертежа по любой из осей не должен быть меньше 10 см, так как в противном случае будут искажены соотношения размеров. Величины интервалов DX и DY обычно задают в метрах. В этом случае элемент DYN+1 должен быть равен нулю. В случае необходимости эти величины можно задавать в других единицах, тогда величина DYN+1 должна быть равна масштабу s. Масштаб s - это число, на которое надо поделить численные значения интервалов DX и DY, чтобы пересчитать их в метрах. Например, если интервал задан в сантиметрах, то s=100.

13. Группа данных CORD1 - список координат вершин участков областей и условной системе координат. Каждая вершина представляется парой координат (х', у' или r', z'). Данные располагаются в следующем порядке: номер участка области (НУ), число вершин (НB) в этом участке, координата х'1 по оси х' (или r') и координата у'1 по оси y' (или z') первой вершины, далее второй вершины x'2y'2 и т.д. до последней вершины первого участка. Затем данные о следующем участке области. В таком порядке должны быть представлены вершины всех участков исследуемой области. Вершины нумеруются против часовой стрелки, начиная с вершины, ближайшей к началу осей координат. Если число вершин в некотором участке области меньше M1, то необходимо произвести дополнение нулями до M1. Всего данных в группе CORD1 должно быть 2·zl·(М1+1).

Исследуемую область можно расчленить взаимно перпендикулярными линиями (параллельными осям координат только на прямоугольные блоки, поэтому в той части области, где ее граница или участок наклонены к оси, эти границы должны быть учтены в виде ступенек с соответствующим числом переломов. Однако, если разбивка исследуемой области на блоки в местах наклонных границ была произведена с одинаковыми интервалами вдоль каждой из осей координат (при этом интервалы DX могут быть равны интервалам DY), то можно значительно сократить количество исходных данных об этом участке границы. В этом случае в списке CORD1 достаточно указать только координаты начала и конца учитываемого наклонного участка границы. Начальная и конечная точки этого участка отмечены квадратами на рис. 2. Как видим, в этом случае координаты вершин многоугольника, образующего границу, будут дробными числами, кратными 0,5.

14. Группа данных XLAM - список теплопроводностей lх(lr) в направлении оси х (или r), Вт/(м·°С) для различных участков области, располагаемые в порядке возрастания номеров участков области. Первый элемент массива необходим по техническим причинам и всегда равен нулю. Всего данных XLAM должно быть Z1+1. Назначить lx=0 нельзя, так как при решении задачи это вызывает деление на нуль, и машина прекращает счет.

15. То же, что и в п. 23, но по оси у или z - YLAM, т.е. lу или lz.

16. Группа данных CORD2 - список координат границ (участков границ) в условной системе координат. Каждая вершина представлена парой координат х', у' или r', z', Данные располагаются в следующем порядке: номер участка границы (НГ), число вершин (ЧВ) в этом участке, координата начала участка границы х'1 (по оси х' или r') и координата у'1 по оси (у' или z'), далее координаты первой вершины x'2, y'2 и т.д. до конца первого участка границы. Затем данные о следующем участке границы. Таким образом, должны быть представлены все границы исследуемой области. Координаты вершин нумеруются против часовой стрелки. Если число вершин на участке границы меньше M1, то необходимо дополнение нулями до М2. Количество данных в CORD2 должно быть 2·z2(M2+1). Координаты вершин границ (или участков границ), наклоненных к осям координат, должны быть учтены в соответствии с п. 13.

17. Группа данных ALPHA о коэффициентах теплоотдачи поверхности a, Вт/(м2·°С), - границы (участков границ) исследуемой области. Данные располагаются в порядке возрастания номером границ. Для граничных условий первого рода принимать a=0,9·1018. В случае, если на соответствующем участке границы задана величина теплового потока, перпендикулярного границе, принимать условно a=0. Всего данных ALPHA должно быть z2.

18. Группа данных TEMP о температурах на границах, °С, располагается в порядке возрастания номеров границ. Если при подготовке группы данных ALPHA на каких-либо участках границы принято a=0, то соответствующие данные TEMP превращаются в величины тепловых потоков, Вт/м2, входящих (записываются со знаком "+") в исследуемую область или выходящих (знак "-") из нее. Всего данных в группе должно быть z2.

19. Подготовленные данные записываются на бланках поколонной набивки перфокарт в бесформатном виде. Между числами следует обязательно оставлять не менее двух пробелов. Для отделения целой части от дробной используется точка либо запятая. При записи следующих подряд одинаковых чисел рекомендуется использовать сокращенную запись вида IXD, где I целая константа, указывающая число повторений действительного числа. Например, запись 3´0,15 эквивалентна записи 0·15 0·15 0·15. На одной строке перфокарты допускается разместить не более 30 чисел с учетом повторения. В конце данных указывается признак конца файла /*. При наличии меньшего, чем определено BUF количества данных, этот признак вводится машиной, и задача снимается с соответствующей диагностикой об ошибке.

20. Комплект исходных данных программ расчета трехмерных температурных полей состоит из 13 групп. Четыре группы - N0, BUF, CORD1, CORD2 должны быть целого типа, остальные - вещественного типа. Последовательность этих групп следующая.

21. Номер N0 рассчитываемого варианта. Номер может быть в пределах 10£N0£32000.

22. Группа данных BUF - управляющий массив, состоящий из пяти величин:

а) количество NX интервалов разбивки по оси х;

б) количество NY интервалов разбивки по оси у;

в) количество NZ интервалов разбивки по оси z;

г) количество участков К1 области с различной теплопроводностью;

д) число границ К2 области, на которых задаются условия теплообмена с окружающей средой, либо тепловые потоки.

23. Группа данных DX состоит из NX величин. Это величины интервалов между смежными плоскостями разбивки по оси х, задаваемые в метрах. Нумерация интервалов производится в направлении оси х, т.е. DX1, DX2, …, DXNX.

24. Группа данных DY состоит из NY величин, то же, что и DX, но по оси y.

25. Группа данных DZ состоит из NZ величин, то же, что и DX, но по оси z.

26. Группа данных CORD1 - список данных об участках областей с различной теплопроводностью. Данные располагаются в двухмерной таблице, причем каждая строка отводится для одного участка, и таким образом число строк в этой таблице соответствует числу участков. Строка состоит из 7 величин. В первой колонке помещают порядковый номер участка, затем три координаты (х, у, z) ближайшего к началу координат угла участка, и, наконец, три величины L, М, N о числе интервалов в участке по направлению осей координат х, у, z. Координаты приводятся в условной системе. Строчки располагают в порядке номеров участков. Всего данных в группе CORD1 должны быть K1 величин.

27. Группа данных XLAM - список теплопроводностей в Вт/(м·°С) в направлении оси х для различных участков области, располагаемые по порядку номеров. Всего данных XLAM должно быть К1.

28. Группа данных YLAM, то же, что и XLAM, но по оси у.

29. Группа данных ZLAM - то же, что и XLAM, но по оси z.

30. Группа данных Q - список величин источников тепла, Вт/м3, вводимого (со знаком «+») или уходящего (со знаком «-») в участке области. Данные размещаются по порядку номеров участков. При отсутствии источников следует задавать нули. Всего данных должно быть К1.

31. Группа данных CORD2 - список данных о границах. Данные располагаются в двухмерной таблице, причем каждая строка отводятся для одного участка границы, и таким образом число строк в этой таблице соответствует числу участков границ. Строка состоит из 7 величин. В первой колонке помещают порядковый номер участка границы, затем для этой границы три координаты (х, у, z) вершины, ближайшей к началу координат и, наконец, три величины L, М, N о числе интервалов на участке границы в направлении осей координат х, у, z. Данные о координатах определяют в условной системе координат. Строчки располагают в порядке номеров границ. Так как границы представляют собой плоскости, то одна из величин L, М или N должна быть равна нулю.

32. Группа данных ALPHA - список коэффициентов теплоотдачи поверхности a, Вт/(м2·°С), участков границ исследуемой области. Данные располагаются в порядке возрастания номеров границ. Для граничных условий первого рода принимать a=0,9·1018. В случае, если на соответствующем участке границы задана величина теплового потока, перпендикулярного границе, принимать условно a=0.

33. Группа данных TEMP либо о температурах на границах, °С, либо о тепловых потоках, Вт/м2, располагающиеся в порядке возрастания номеров границ. Если a≠0, то TEMP представляет данные о температурах, в случае a=0, TEMP представляет данные о тепловых потоках. Входящие в исследуемую область потоки записываются со знаком «+», выходящие - «-»,

В конце данных указывается признак конца файла /*.

34. Пересчет температурного поля, определенного при температурах tвс и tнс (назовем их старыми) в поле, определяемое температурами tвн и tвн (назовем их новыми), при неизменных всех без исключения остальных параметрах (геометрии и значений li и ai) производится в двух случаях:

а) необходимо определить новое значение температуры tiн в какой-либо точке i исследуемой области внутри или на границе ее при новых значениях температур наружного и внутреннего воздуха tнн и tвн. Температура tiн в этой точке определяется по формуле

;                                                (1)

б) требуется определить новое значение температуры наружного воздуха tнн, при которой температура tiн в точке i исследуемой области достигает заданного значения. Температура наружного воздуха определяется в этом случае по формуле

.                                                   (2)

Плотность теплового потока qс, определенная при значении температур tвс и tнс, пересчитывается в плотность теплового потока qн, соответствующего значениям tвн и tнс, по формуле

.                                                          (3)

Пример 1. В точке i исследуемой области получено значение температуры tiс=6,32°С при температурах воздуха снаружи помещения tнс=-38°С и внутри tвс=18°С. Определим температуру в этой же точке, используя эту конструкцию в другой климатической зоне, т.е. при температуре снаружи tнн=-30°С, Расчет производим по формуле

°С.

Пример 2. В точке i на внутренней поверхности ограждающей конструкции получена недопустимо низкая температура, равная tiс=6,91°С при температурах наружного воздуха tнс=-30°С и внутри помещения tвс=18°С.

Определим температуру наружного воздуха, при которой температура на поверхности в точке i будет удовлетворять требованиям норм из условия невыпадения конденсата, т.е. равной 8,8°С при относительной влажности воздуха 55%. Эту температуру рассчитываем по формуле

°С.

При температуре наружного воздуха ниже -21,9°С будет выпадать конденсат на внутренней поверхности стены.

35. Рекомендуемый комплекс программ для расчета температурных полей написан на Фортране, предназначен для использования на ЭВМ серии ЕС, использует память на магнитных дисках. Вариант программы для решения двухмерных задач1 эффективно использовать на ЭВМ серии ЕС-1033 и более крупных машинах, требует минимально 250 Кбайт оперативной памяти и при объеме файла на диске 4-5 Кбайт, решает задачи, расчленяемые в пределах 4000-4500 элементарных блоков. Вариант программы для решения трехмерных задач2 эффективно использовать на более крупных ЭВМ (ЕС-1040, ЕС-1060), требует минимально 256 Кбайт оперативной памяти и решает задачи, расчленяемые в пределах 25000-30000 элементарных параллелепипедов. Отличительные особенности комплекса: возможность решения неоднородных задач со сложной геометрией, компактный способ представления исходных данных и их контроль, проверка решения по балансу тепловых потоков.

______________

1 Программа расчета двухмерных стационарных температурных полей сдана в МОФАП при ЦНИИпроекте, шифр 4-28Н.

2 Программа расчета трехмерных стационарных температурных полей имеется в НИИСФе

Сопровождающие расчет автоматическое вычерчивание с помощью графопостроителя схемы конструкции и рассчитанного поля изолиний температур в двухмерном случае и аксонометрическое построение схемы конструкции и поля изолиний поверхностей в трехмерном случае обеспечивают наглядное представление результатов и происходящих тепловых процессов в рассчитываемых ограждающих конструкциях.

Рис. 5. Выделение для расчета фрагмента стыкового соединения стеновых панелей и перегородки

Рис. 6. Схема разбивки исследуемой области на блоки

Пример 3. Определить сопротивление теплопередаче ограждающей конструкции из трехслойной панели, включающей стык с внутренней стеной. Анализируемый участок конструкции схематически изображен на рис. 5. На нем выделены две части - неоднородной по теплотехническим свойствам ограждающей конструкции длиной Lно и однородной конструкции длиной Lгл. Предполагается, что рассматриваемая конструкция простирается перпендикулярно к плоскости чертежа, и температурные условия неизменны по высоте. Распределение температуры в этом случае во всех плоскостях, параллельных плоскости поперечного сечения стыка панели, будет одинаково, т.е. в плоскости рассматриваемого поперечного сечения будет двухмерное температурное поле. На наружной стороне ограждения заданы температура воздуха tв=-32°C и коэффициент теплоотдачи поверхности aн=23 Вт/(м2·°С). На внутренней стороне ограждения заданы температура воздуха tв=18°C и коэффициент теплоотдачи поверхности aв=8,7 Вт/(м2·°С). В углу (на расстоянии по 30 мм от вершины) принято значение aу=7,6 Вт/(м2·°С). В панели на расстоянии от оси стыка около трех толщин ее возможно практически одномерное распределение температуры, т.е. qх=0 в сечениях, отстоящих от оси на 480 мм (см. рис. 6). Поэтому здесь назначены границы исследуемой области с упомянутым условием. Подобным способом была назначена и граница исследуемой области d-d, во внутренней стене отстоящая от внутренней поверхности наружной стены на 410 мм.

Чертеж принятой разбивки исследуемой области на блоки с неравномерными, интервалами приведен на рис. 6. Здесь же жирными линиями показаны участки исследуемой области с различными теплопроводностями. Размеры блоков в мм. Всего в исследуемой области оказалось 509 элементарных блоков. На рис. 7 приведена принятая разбивка исследуемой области, вычерченная в условных координатах. На этом рисунке около вершин участков исследуемой области и участков границ подписаны их координаты (отделенные одна от другой точкой с запятой). Например, 9, 1 означает х'=9, у'=1, в условных координатах. Начало и конец участка границы обведены кружками.

В табл. 1 приведен комплект исходной информации к этой задаче.

Выполнив на ЭВМ расчет температурного поля стыка, переходим к расчету приведенного сопротивления теплопередаче. Предварительно вычислим величину

Rо.гл=1/aв+dжб/lжб+lиз/lиз+1/aн=1/8,7+(0,05+0,03)/2,04+0,08/0,05+1/23=1,798 м2·°С/Вт.

Используем величину SQ сумму тепловых потоков, входящих в исследуемую область, равную 29,2655 Вт/м. Искомую величину R0 определяем по формуле

 м2·°С/Вт

В результате просмотра выведенных на печать значений температур на внутренней поверхности ограждения выявлено самое холодное место - вблизи железобетонного ребра (см. рис. 6, точка и), где температура равна 6,072°С»6,1°С. Это недопустимо для жилых помещений, так как на внутренней поверхности ограждений должна быть температура выше температуры точки росы tр=8,8°С при влажности воздуха в них 55%. Как видим, рассматриваемый стык нуждается в доработке.

Таблица 1

Полный комплект информации к примеру 3

1)

N0=2

 

 

 

 

 

 

 

 

 

 

2)

BUF

N

L

z1

z2

M1

M2

 

 

 

 

 

 

30

25

7

7

8

4

 

 

 

 

3)

DX

0

1

2

3

4

5

6

7

8

9

 

0

0.000

0.005

0.005

0.010

0.010

0.010

0.000

0.010

0.010

0.010

 

10

0.010

0.010

0.010

0.010

0.010

0.010

0.010

0.020

0.030

0.040

 

20

0.040

0.040

0.040

0.040

0.040

0.040

0.000

 

 

 

4)

DY

0

1

2

3

4

5

6

7

8

9

 

0

0.000

0.040

0.040

0.040

0.040

0.040

0.040

0.040

0.040

0.030

 

10

0.020

0.010

0.010

0.010

0.010

0.010

0.010

0.010

0.010

0.010

 

20

0.010

0.010

0.010

0.010

0.010

0.010

0.010

0.010

0.010

0.010

 

30

0.010

0.000

 

 

 

 

 

 

 

 

5)

CORD1

 

 

 

 

 

 

 

 

 

 

 

 

ну

чв

X

Y

X

Y

X

Y

X

Y

X

Y

X

Y

X

Y

X

Y

 

 

1

6

1

1

9

1

9

15

13

15

13

18

1

18

0

0

0

0

 

 

2

4

1

18

13

18

13

22

2

22

0

0

0

0

0

0

0

0

 

 

3

4

15

18

26

18

26

26

15

26

0

0

0

0

0

0

0

0

 

 

4

8

13

15

26

15

26

18

15

18

15

26

26

26

26

31

31

31

 

 

5

4

1

22

2

22

2

24

1

24

0

0

0

0

0

0

0

0

 

 

6

1

1

24

3

24

3

28

1

28

0

0

0

0

0

0

0

0

 

Z1

7

2

2

22

3

22

13

31

2

31

2

28

3

28

3

24

2

24

6)

XLAM

ну

 

1

2

3

4

5

6

7

 

 

 

 

0

2.04

0.05

0.05

2.04

0.05

0.06

2.04

 

7)

YLAM

ну

 

1

2

3

4

5

6

7

 

 

 

 

0

2.04

0.05

0.05

2.04

0.05

0.06

2.04

 

8)

CORD2

ну

чв

1

2

3

4

 

 

 

 

 

X

Y

X

Y

X

Y

X

Y

 

 

 

1

2

1

1

9

1

0

0

0

0

 

 

 

2

2

9

1

9

10

0

0

0

0

 

 

 

3

3

9

12

9

15

12

15

0

0

 

 

 

4

2

12

15

26

15

0

0

0

0

 

 

 

5

2

26

15

26

31

0

0

0

0

 

 

 

6

4

26

31

2

31

2

28

1

28

 

 

Z2

7

2

1

28

1

1

0

0

0

0

 

9)

ALPHA

нг

1

2

3

4

5

6

7

 

 

 

 

 

0

8,7

7,6

8,7

0

23

20

 

 

10)

TEMP

нг

1

2

3

4

5

6

7

 

 

 

 

 

0

18

18

18

0

-32

0

 

 

Рис. 7. Схема разбивки исследуемой области на блоки в условных ординатах

В начале изложения этого примера было указано, что положение границы исследуемой области а-а назначили по опыту подобных расчетов т.е. с некоторым риском ошибиться. Поэтому по окончании расчета следует удостовериться, что эта граница не была назначена слишком близко от оси симметрии стыка. Наиболее простой проверкой является сопоставление полученной по расчету на ЭВM температуры на внутренней поверхности стены в сечении а-а (14,523°C) с температурой, рассчитанной по известной формуле для однородного ограждения, т.е. для ограждения, в котором имеет место одномерный температурный поток

°С.

Расхождение, как видим, составляет 0,28°С. Оно указывает на некоторую неточность в расчетах, вызванную отсутствием запаса в положении границы а-а исследуемой области. Для выяснения величины вводимой таким образом ошибки в искомые величины tп и SQ расчет был повторен в случае, когда граница а-а была отодвинута вправо на 480 мм. Это дополнительный участок по оси ох прошли 12 интервалами размером 0,04 м каждый. Разбивка по оси оy осталась неизменной. В этом случае исследуемая область оказалась расчлененной на 701 элементарный блок. Время расчета составило 15 мин. Температура в самом холодном месте на внутренней поверхности оказалась 6,074°С, т.е. на 0,002°С выше, чем в результате расчета основного варианта, Сумма тепловых потоков, входящих в часть исследуемой области, которая соответствует области принятой в расчет в основном варианте, равна SQ=29,219 Вт/м, т.е. на 0,047 Вт/м (или на 0,16%) меньше, чем получилось в результате расчета основного варианта. Напомним, что рассматриваемый вариант расчета поставили с целью более точно воспроизвести взаимодействие исследуемой области с отсекаемой частью ограждающей конструкции. Теперь температура на внутренней поверхности стены в точке, лежащей на границе а-а, отодвинутой от границы а-а на 480 мм, оказалась 14,802°С. т.е. совпадающей до 0,001°С с температурой, полученной по расчету одномерной схемы.

Пример 4. Требуется рассчитать приведенное сопротивление теплопередаче торцовой трехслойной панели здания (рис. 8, а). Панель изготовлена из железобетона теплопроводностью 2,04 Вт/(м·°С). Внутрь панели вложены четыре термовкладыша из минераловатного утеплителя теплопроводностью 0,06 Вт/(м·°С). По краям панели и между вкладышами расположены ребра из железобетона толщиной 50 мм, соединяющие слои железобетона с наружной и внутренней сторон.

Рис. 8. Выделение области исследования для расчета и схемы рассчитываемой панели

а - рассчитываемая панель; б - исследуемая область для расчета по программе

Рис. 9. Схема разбивки исследуемой области на блоки

Процесс теплопередачи в таких панелях трехмерен, так как распределение температур определяется не только потоками тепла, перпендикулярными плоскости стены, но и потоками тепла в плоскости стены.

Теплотехнический расчет таких ограждений состоит в определении трехмерного температурного поля и полей тепловых потоков на поверхностях панели.

Так как поле температур симметрично относительно осей I-I и II-II (см. рис. 8, а), проходящих через середину панели в плоскости стены, то для расчета возможно выделить исследуемую область по этим сечениям, приняв по условию симметрии равные нулю тепловые потоки, перпендикулярные этим осям. Также возможно провести ограничение области исследования по осям III-III и IV-IV, проходящим через середины стыков. В этих местах по условиям симметрии возможно установить равные нулю тепловые потоки, перпендикулярные этим осям. Таким образом, для расчета выделяют четверть панели, схема которой представлена на рис. 8.б. Там же показаны условия теплообмена на границах: с внутренней поверхности ограждения здания температура воздуха tв=20°С и коэффициент теплоотдачи aв=8,7 Вт/(м2·°С), значения величин с наружной поверхности соответственно равны tн=-20°С и aн=23 Вт/(м2·°С).

На рис. 9 приведен чертеж расчленения исследуемой области на 4046 неравномерных элементарных прямоугольных параллелепипедов - 17 интервалов по оси х, 17 интервалов по оси у и 14 интервалов по оси z. Расчленение осуществлялось параллельными плоскостями, перпендикулярными координатным плоскостям и отстоящим одна от другой на неравномерные интервалы. Причем плоскости раздела участков с различной теплопроводностью должны совпадать с плоскостями разбивки. При этом участки, содержащие ребра, были расчленены на четыре сечения в направлении каждой из осей. Величины теплопроводности материалов были назначены как для изотропных материалов, т.е. lх=lу=lz и были равны для железобетона 2,04 Вт/(м·°С), для утеплителя из минеральной ваты 0,06 Вт/(м·°С).

На рис. 10 приведена принятая разбивка исследуемой области на элементарные параллелепипеды в условных координатах, т.е. когда все интервалы между параллельными сторонами заданы одинаковыми. Для уменьшения ошибок при кодировании на рис. 11 в условных координатах представлены порознь в виде элементарных параллелепипедов отдельные участки исследуемой области с различной теплопроводностью. Там же для каждого участка в условных координатах подписаны координаты вершин, ближайших к началу осей координат и числа интервалов в участке в направлении осей координат.

В табл. 2 приведен полный комплект исходных данных к рассматриваемому примеру. Каждая строка содержит до 80 символов, включая пробел. Числа отделены одно от другого двумя и более пробелами. Предназначенные для пробивки данные приведены справа от вертикальной линии. Слева от нее помещены пояснения.

Рис. 10. Разбиение исследуемой области на элементарные параллелепипеды (в условных координатах)

Рис. 11. Кодирование элементарных параллелепипедов (в условных координатах)

Таблица 2

Комплект исходных данных к примеру 2

(N0)

200

 

 

 

 

 

 

(BUF)

17

17

14

7

6

20000

5003

(DX)

4X0.006

 

9X0.1472222

4X0.0125

 

(DY)

4X0.006

 

9X0.1472222

4X0.0125

 

(DZ)

4X0.0125

 

6X0.0125

4X0.0125

 

(CORD1)

1

1

1

1

17

17

4

 

2

5

5

5

9

9

6

 

3

1

1

11

17

17

4

 

4

14

1

5

4

17

6

 

5

1

1

5

4

17

6

 

6

5

14

5

9

4

6

(XLAM)

2.04

0.06

5X2.04

 

 

 

 

(YLAM)

2.04

0.06

5X2.04

 

 

 

 

(XLAM)

2.04

0.06

5X2.04

 

 

 

 

(Q)

7X0.0

 

 

 

 

 

 

(CORD2)

1

18

1

1

0

17

14

 

2

1

18

1

17

0

14

 

3

1

1

1

0

17

14

 

4

1

1

1

17

0

14

 

5

1

1

1

17

17

0

 

6

1

1

15

17

17

0

(ALPHA)

4X0.0

8.7

23.3

 

 

 

 

(TEMP)

4X0.0

20.0

-20.0

 

 

 

 

В результате расчета на ЭВМ были получены поля температур и тепловых потоков, а также баланс потоков на границах исследуемой области; при этом входящий поток Qвx=72,484 Вт, выходящий Qвых=72,478 Вт и небаланс 0,006 Вт, что свидетельствует о достаточно высоком качестве данного решения. Приведенное сопротивление рассчитали по формуле

 м2·°С/Вт.

Для сравнения укажем, что то же сопротивление, рассчитанное в предположении одномерности тепловых потоков, перпендикулярных плоскости стены, равно 1,42 м2·°С/Вт, т.е. оно на 30% завышено по отношению к результатам решения трехмерной задачи.

Распределение температур на внутренней поверхности рассчитанного участка крайне неравномерно. Если температура в точке Е (см. рис. 8, б) равна 18,2°С, то температура в точке А падает до 6,9°С, что может вызвать при расчетной температуре наружного воздуха -20°С выпадение конденсата вблизи торца панели, а при расчетной температуре -30° на всей поверхности вблизи ребер. Наибольшие плотности тепловых потоков, как и следовало ожидать, проходят по ребрам конструкции и достигают наибольшей величины по углам конструкции. Например, в точке А на рис. 8, б плотность теплового потока равна 113,6 Вт/м2 по сравнению с 15,5 Вт/м2 в точке Е. По распределению температур на внутренней и наружной поверхностях конструкции и по плотностям тепловых потоков, пересекающих поверхность конструкции, было рассчитано поле локальных термических сопротивлений конструкции. Эти величины изменялись от 0,185 м2·°С/Вт (точка А) до 2,42 м2·°С/Вт (точка Е). Для сравнения укажем, что соответствующие термические сопротивления, рассчитанные в предположении одномерного распределения температур равны 0,122 м2·°С/Вт (точка А) и 2,55 м2·°С/Вт (точка Е).

ПРИЛОЖЕНИЕ 15

СОЧЕТАНИЯ РАСЧЕТНЫХ ПАРАМЕТРОВ ВНУТРЕННЕГО ВОЗДУХА ЖИВОТНОВОДЧЕСКИХ И ПТИЦЕВОДЧЕСКИХ ПОМЕЩЕНИЙ И ГРАНИЧНЫХ НАРУЖНЫХ ТЕМПЕРАТУР ОТОПИТЕЛЬНОГО ПЕРИОДА

Наименование помещений

Группы животных и птиц

Расчетные параметры внутреннего воздуха

Граничная наружная температура отопительного периода tнг

Температура

Относительная влажность

°С

%

°С

1. Помещения для крупного рогатого скота беспривязного содержания

Коровы на глубокой подстилке

3

86

-15

Молодняк

3

85

-10

2. Помещения для крупного рогатого скота привязного и боксового содержания

Коровы, скот на откорме

10

75

-5

Телята до 4-6 мес.

15

75

0

Молодняк от 4-6 до 12 мес.

12

75

-2

3. Свинарники

Свиноматки холостые и легкосупоросные

16

75

0

Ремонтный молодняк

20

70

0

Поросята-отъемыши и свиноматки тяжело супоросные и подсосные свиньи на откорме

18

75

-4

4. Птичники напольного содержания

Куры-несушки яичных пород

16

70

0

Куры маточного стада

16

70

5

Молодняк кур в возрасте до 4 недель

24

70

12

То же, в возрасте более 4 недель

20

70

8

5. Птичники клеточного содержания

Куры-несушки пром-стада

16

70

0

 

Молодняк кур в возрасте до 4 недель

24

70

8

 

То же, в возрасте более 4 недель

-20

70

5

Примечание. Уточненные значения граничных наружных температур отопительного периода следует определять расчетом на основе уравнений тепловлажностного баланса помещений.


ПРИЛОЖЕНИЕ 16

РАСЧЕТНЫЕ КЛИМАТОЛОГИЧЕСКИЕ ХАРАКТЕРИСТИКИ ОТОПИТЕЛЬНОГО ПЕРИОДА ПРИ РАЗЛИЧНЫХ ГРАНИЧНЫХ ТЕМПЕРАТУРАХ НАРУЖНОГО ВОЗДУХА ДЛЯ КОНКРЕТНЫХ ГЕОГРАФИЧЕСКИХ ПУНКТОВ СССР

№ п.п.

Город

Расчетная зимняя температура наружного воздуха (средняя наиболее холодной пятидневки обеспеченностью 0,92) tн5, °С

Среднегодовая температура наружного воздуха tнс.г, °С

Длительность zот.пер, сут (над чертой), и средняя температура tот.пер, °С (под чертой), отопительного периода при граничной температуре tнсг, °С, наружного воздуха

12

10

8

5

0

-5

-10

-15

-20

-25

1

Сковородино (Амурская обл.)

-40

-4,7

281

-10,4

263

-12,4

246

-13,7

228

-14,8

195

-17,9

171

-20,2

148

-22,6

125

-26,8

96

-29,3

61

-32,3

2

Котлас (Архангельская обл.)

-34

-1,2

280

-3

260

-4,2

237

-5,5

214

-6,8

169

-8,8

133

-10,8

88

-12,7

37

-21,3

19

-25,7

9

-29,7

3

Мезень (Архангельская обл.)

-35

-11

326

-2,7

291

-4,4

269

-5,5

243

-6,6

197

-8,7

147

-11,1

99

-15

39

-21,6

21

-25,6

10

-30,1

4

Онега (Архангельская обл.)

-31

1,3

290

-1,7

269

-3,2

248

-4,2

220

-5

174

-7

122

-8,8

60

-16,4

23

-20,1

10

-24,5

4

-28,5

5

Астрахань

23

9,4

199

0,3

185

-0,8

172

-1,6

146

-2,8

113

-6,7

56

-11,2

27

-15,7

13

-19,5

6

-23,2

2

-26,5

6

Стерлитамак (Башкирская АССР)

-36

2,6

242

-4,5

225

-6

210

-7,1

191

-8

160

-10,4

128

-13,7

66

-17,7

45

-21,3

24

-25

10

-28,8

7

Бодайбо (Иркутская обл.)

-47

-5,6

286

-11,3

271

-12,7

257

-13,9

235

-15,6

198

-18,9

172

-23,8

141

-26,4

121

-28,7

101

-31,1

76

-34,2

8

Калининград (Калининградская обл.)

-18

6,8

243

2,6

218

1,5

195

0,6

163

-0,4

104

-2,1

55

-6,5

25

-11,5

10

-16

2

-22

1

-26

9

Петрунь (Коми АССР)

-43

-4,4

319

-6,8

302

-7,8

283

-9

258

-9,7

221

-13

180

-16,3

128

-19,6

87

-23,2

55

-27

31

-30,5

10

Куйбышев

30

3,8

235

-3,8

219

-5,1

206

-6,1

176

-7,5

154

-9,3

117

-11,2

79

-14,2

40

-18,5

20

-23

10

-27

11

Курган

37

0,8

262

-6,3

233

-7,4

217

-8,7

199

-10,5

169

-1,2

141

-14,8

90

-17,8

62

-21

33

-24

15

-26,5

12

Ленинград

-26

4,3

264

0

242

-1,1

219

-2,2

192

-3,8

143

-5,7

81

-10,4

32

-14,5

15

-18,7

5

-23,1

2

-26,3

13

Липецк

-27

5,1

233

-1,6

213

-3

199

-3,9

175

-4,7

147

-7,8

100

-11,8

49

-15,5

24

-19,2

10

-23,1

3

-27,6

14

Дмитров (Московская обл.)

28

3,4

263

-1,3

236

-2,8

217

-3,8

197

-5

155

-8,5

107

-12

65

-15,5

35

-19,5

16

-23

6

-27

15

Москва

-26

3,8

265

-0,9

230

-2,7

213

-3,6

191

-4,3

151

-7,1

102

-11,5

51

-15

29

-19

13

-22

5

-26,5

16

Мурманск

-27

0

357

-0,3

303

-2,4

281

-3,3

245

-4,6

192

-6,5

130

-8,4

53

-15

30

-19,4

14

-22

6

-26,5

17

Новосибирск

-39

-0,1

265

-6,2

243

-8,3

230

-8,7

212

-10,3

178

-12,4

151

-13,6

125

-15,3

85

-22

55

-24

30

-29

18

Омск

-37

0

259

-6,4

237

-8,2

220

-9,5

207

-10,4

175

-12,6

148

-14,4

119

-18,5

80

-22,7

55

-26,7

30

-30

19

Оренбург

-31

3,9

230

-4,6

213

-6

201

-7,1

185

-7,7

157

-10,1

125

-11,5

87

-14,4

45

-19

25

-23,5

11

-27,5

20

Кизел (Пермская обл.)

-36

0,1

282

-4,2

263

-5,4

243

-6,6

219

-8

178

-10,8

143

-13,7

103

-17,2

53

-21

26

-25,1

11

-29,2

21

Псков

-26

4,6

258

0,3

233

-1

212

-2

185

-3

139

-6,3

77

-10,7

31

-14,9

13

-19,2

5

-22,9

1

-26,9

22

Саратов

-27

5,3

225

-2,9

207

-4,3

198

-5

177

-5,8

147

-8,8

107

-12,8

58

-16,5

33

-20,3

15

-23,9

5

-27,8

23

Свердловск

-35

1,2

268

-4

246

-5,3

228

-6,4

206

-7,9

169

-11,8

135

-14,4

94

-19,2

63

-22,8

39

-26,5

21

-30,2

24

Смоленск

-26

4,4

251

-0,5

227

-1,9

210

-2,7

185

-3,7

145

-7

85

-11

48

-14,7

24

-18,7

12

-26,7

5

-27

25

Ставрополь

-19

9,1

208

2,1

190

1,2

169

0,3

143

-0,8

93

-5

50

-9

25

-12,5

8

-16,5

3

-21

-

20

26

Казань

-32

2,8

250

-3,8

230

-4,9

218

-5,7

194

-6,9

160

-9,6

128

-12,5

80

-16

45

-20

25

-23,8

10

-28

27

Березово (Тюменская обл.)

-43

-3,8

303

-7,4

282

-8,9

265

-9

245

-11,2

207

-14

177

-16,6

144

-19,8

107

-23

63

-27,5

38

-31,3

28

Николаевск-на-Амуре (Хабаровский край)

-35

-2,4

270

-8,2

262

-9

246

-9,8

221

-11,6

190

-15

156

-18,4

128

-20,6

101

-23

71

-25,5

39

-29,9

29

Челябинск

-34

-1,5

257

-4,5

236

-6,1

218

-7,3

201

-8,3

167

-10,8

135

-13,2

99

-18

60

-22,5

35

-26

20

-29,5

30

Грозный

-18

10,1

198

2,4

180

1,2

164

0,4

141

-0,5

89

-4,9

32

-10,6

15

-15

7

-18,6

2

-22,7

1

-26,2

31

Чебоксары

-31

2,9

237

-3,4

232

-4,4

217

-5,4

195

-6,5

160

-9,1

120

-12,2

75

-15,8

40

-20

20

-24,6

10

-28,5

32

Порецкое (Чувашская АССР)

-31

3,6

243

-2,9

225

-4,2

211

-5,1

191

-6,1

156

-8,9

116

-12

65

-16,2

38

-20,3

18

-24,6

8

-28,5

33

Усть-Мая (Якутская АССР

-63

-10

288

-16,7

270

-18,7

254

-20,5

238

-22,1

210

-26,9

190

-30,2

169

-33,2

160

-35,6

132

-37,5

118

-39,3

34

Винница

-21

6,7

231

1,1

207

-0,1

189

-1,1

161

-2,2

116

-5,5

51

-10,1

23

-14,2

10

-18,3

5

-22,6

1

-27,4

35

Донецк

-23

7,5

216

0,1

198

-0,9

183

1,8

159

-2,8

122

-5

57

-10,6

20

-15

12

-18,8

6

-22,5

4

-26,4

36

Запорожье

-22

9

207

1,3

190

0,4

174

-0,4

147

-1,6

102

-3,9

38

-10,5

18

-14,6

10

-18,3

5

-22,1

4

-26

37

Киев

-22

7,2

222

0,8

204

-0,2

187

-1,1

161

-2,6

118

-5

51

-10

23

-15,8

10

-17,8

5

-22,3

2

-27

38

Ялта (Крымская обл.)

-6

13

177

6,5

157

5,9

126

5,2

73

2,6

21

-2

3

-6,7

1

-10

-

-

-

-

-

-

39

Ровно

-21

6,9

231

1,5

210

0,4

191

-0,5

160

-1,6

112

-4,6

45

-9,9

21

-14,1

10

-18,7

5

-22,6

1

-26

40

Минск

-25

5,4

243

0,4

220

-0,9

203

-1,2

182

-2,5

134

-5,4

73

-10,5

35

-14,4

18

-18,3

8

-23,5

5

-27

41

Нукус (Узбекская ССР)

-19

10,8

187

0,7

174

-0,4

158

-1,4

138

-2,2

104

-6,7

56

-11

30

-14,6

13

-18,3

4

-21,9

1

-25

42

Наманган

-14

13,4

164

3,2

148

2,1

131

1,2

103

0,1

56

-4,1

23

-8,7

8

-12,9

2

-17,2

1

-20

-

-

43

Ташкент

-15

13,3

161

4,2

151

3,4

130

2,4

98

0,2

36

-4,6

21

-9,4

8

-13,5

3

-17,1

1

-20

-

-

44

Алма-Ата

-25

8,7

201

0,2

181

-1,2

166

-2,1

146

-3,2

113

-8,1

79

13

48

-16,9

29

-20,7

14

-24,6

6

-28,6

45

Целиноград

-35

1,4

244

-6,2

828

-7,7

215

-8,7

198

-9,7

169

-11,6

143

-13,4

113

-18,2

64

-22,6

37

-26,3

27

-29,8

46

Душанбе

-13

14,7

153

5,4

134

4,6

109

3,6

73

1,6

35

-2,9

10

-7,8

5

-12,6

8

-15,8

-

-

-

-

47

Ленинабад (Таджикская ССР)

-13

14,1

161

4,2

143

2,7

129

2

97

0

43

-4,5

20

-8,6

8

-12,6

2

-15,8

-

-

-

-

48

Ереван

-10

11,6

177

2,8

159

1,5

139

0,5

115

-1,0

74

-4,3

30

-9,3

13

-13,5

6

-17,6

3

-20,9

1

-25

49

Ашхабад

-11

16,3

145

5,4

133

4,8

111

3,9

74

1,2

38

-3,5

12

-8,1

6

-12,5

1

-15

-

-

-

-

50

Таллин

-22

5

270

1,5

244

0,4

221

-0,8

187

1,6

130

-4,8

51

-9,5

25

-13,5

10

-17,3

6

-21,6

1

-26

Примечания: 1. Для пунктов, отсутствующих в приложении, следует использовать данные ближайшего по климатическим параметрам географического пункта метеослужбы. Допускается использовать также данные приложения на основе графической интерполяции по средней температуре наиболее холодной пятидневки tн5. 2. Для промежуточных значений граничной температуры tнг величины zот.пер и tот.пер допускается определять на основе графической интерполяции.

ПРИЛОЖЕНИЕ 17

РАСЧЕТНЫЕ КЛИМАТИЧЕСКИЕ ХАРАКТЕРИСТИКИ УСЛОВНЫХ КЛИМАТИЧЕСКИХ РАЙОНОВ, ИСПОЛЬЗУЕМЫЕ ПРИ ТИПОВОМ ПРОЕКТИРОВАНИИ ОГРАЖДАЮЩИХ КОНСТРУКЦИЙ ЖИВОТНОВОДЧЕСКИХ И ПТИЦЕВОДЧЕСКИХ ЗДАНИЙ

№ условного климатического района

Расчетные температуры наружного воздуха, °С, средние наиболее холодных

Длительность zот.пер, сут (над чертой), и средняя температура tот.пер, °С (под чертой), отопительного периода при граничной температуре tнсг, °С, наружного воздуха

Пятидневок tн5

Трех суток tн3

Суток tн1

Суток t'н1

Средняя годовая tнс.г

обеспеченностью

0,92

0,92

0,92

0,98

°c

12

10

8

5

0

-5

-10

-15

-20

-25

I

-10

-12

-14

-17

13

180

6

155

4,5

130

3,5

100

1

50

-2,5

15

-6,5

5

-10

1

-15

-

-

-

-

II

-20

-23

-25

-29

8

220

2

200

1

180

0

150

-2,5

105

-6

60

-10

30

-13,5

12

-17

5

-20

1

-25

III

-30

-33

-35

-39

3,5

250

-3

235

-4

220

-5

195

-7

155

-10

110

-13,5

170

-17

40

-20,5

20

-23,5

10

-28

IV

-40

-42

-44

-47

1

275

-8

263

-9

250

-10

230

-11,5

195

-14,5

155

-17,5

120

-20,5

90

-24

60

-24

35

-31,5

V

-50

-52

-54

-57

7,5

300

-13,5

290

-14

280

-15

265

-16

235

-18,5

200

-21,5

170

-24,5

135

-27,5

105

-30,5

75

-35

Примечания: 1. Граничную наружную температуру отопительного периода tнг, при которой следует начинать (заканчивать) снабжение животноводческих и птицеводческих зданий техническим теплом, необходимо назначать в соответствии с указаниями прил. 15.

2. Среднегодовая температура наружного воздуха tнсг соответствует длительности периода 365 сут при максимальном условном значении граничной температуры tн максг=36°С.

3. Для промежуточных значений величин, указанных в таблице, рекомендуется использовать интерполяцию на основе графических построений.


СОДЕРЖАНИЕ

Предисловие. 1

1. Принципы теплотехнического проектирования ограждающих конструкций зданий. 1

2. Сопротивление теплопередаче ограждающих конструкций. 3

Порядок расчета. 3

Определение экономически целесообразного сопротивления теплопередаче Rоэк 4

Примеры расчета экономически целесообразного сопротивления теплопередаче Rоэк 6

Определение приведенного сопротивления теплопередаче Rпр 13

Примеры расчета приведенного сопротивления теплопередаче с использованием ЭВМ.. 17

Примеры расчета приведенного сопротивления теплопередаче без использования ЭВМ.. 22

Расчет сопротивления теплопередаче покрытий теплого чердака. 29

Расчет ограждающих конструкций производственных зданий в обычных условиях эксплуатации. 33

Расчет ограждающих конструкций производственных зданий с агрессивной средой. 33

3. Теплоустойчивость ограждающих конструкций. 36

4. Теплоусвоение поверхности полов. 42

5. Сопротивление воздухопроницанию ограждающих конструкций. 46

6. Сопротивление паропроницанию ограждающих конструкций. 48

7. Прогнозирование долговечности наружных ограждающих конструкций зданий. 58

Приложение 1 Температура точки росы tр, °с, для различных значений температур tв и относительной влажности jв, %, воздуха в помещении. 71

Приложение 2 Стоимость топлива и тепловой энергии по основным экономическим зонам страны на период до 2000 года для расчетов сопротивления теплопередаче ограждающих конструкций зданий и тепловой изоляции. 72

Приложение 3 Расширенная табл. 1 прил. [13*] 72

Приложение 4 Приведенное сопротивление теплопередаче и коэффициент теплотехнической однородности некоторых ограждающих конструкций. 73

Приложение 5 Определение экономически целесообразной толщины и сопротивления теплопередаче для наиболее употребляемых в промышленном строительстве ограждающих конструкций. 81

Приложение 6 Выбор конструктивных решений окон и фонарей и способ вентиляции помещения промышленных зданий в зависимости от производственных выделений тепла, влаги и вредных веществ. 87

Приложение 7 Значения упругости водяного пара ер, па, и относительной влажности воздуха над насыщенными растворами солей при в=100,7 кпа. 88

Приложение 8 Упругость насыщенного водяного пара е, па, для различных значений температур при в=100,7 кпа. 88

Приложение 9 Зависимость упругости водяного пара ев от температуры tв и относительной влажности jв, внутреннего воздуха. 89

Приложение 10 Изолинии сорбционного влагосодержания керамзитобетона g=1200 кг/м3, содержащего хлориды при изменении относительной влажности воздуха jв, %, и массового солесодержания с, %.. 90

Приложение 11 Программа расчета долговечности однослойных ограждающих конструкций. 92

Приложение 12 Программа вычислений на микрокалькуляторах. 96

Приложение 13 Диалоговый программный комплекс автоматизации расчетов, предусмотренных главой снип ii-3-79**. 104

Приложение 14 Подготовка к расчету температурных полей по программам ниисфа.. 112

Приложение 15 Сочетания расчетных параметров внутреннего воздуха животноводческих и птицеводческих помещений и граничных наружных температур отопительного периода. 127

Приложение 16 Расчетные климатологические характеристики отопительного периода при различных граничных температурах наружного воздуха для конкретных географических пунктов ссср. 128

Приложение 17 Расчетные климатические характеристики условных климатических районов, используемые при типовом проектировании ограждающих конструкций животноводческих и птицеводческих зданий. 130

 




Rambler's Top100 Яндекс цитирования
  Copyright © 2008-2026, www.docload.ru