Бесплатная библиотека стандартов и нормативов www.docload.ru

Все документы, размещенные на этом сайте, не являются их официальным изданием и предназначены исключительно для ознакомительных целей.
Электронные копии этих документов могут распространяться без всяких ограничений. Вы можете размещать информацию с этого сайта на любом другом сайте.
Это некоммерческий сайт и здесь не продаются документы. Вы можете скачать их абсолютно бесплатно!
Содержимое сайта не нарушает чьих-либо авторских прав! Человек имеет право на информацию!

 

МИНИСТЕРСТВО ВНУТРЕННИХ ДЕЛ РОССИЙСКОЙ ФЕДЕРАЦИИ

ГЛАВНОЕ УПРАВЛЕНИЕ ВНЕВЕДОМСТВЕННОЙ ОХРАНЫ

ВЫБОР И ПРИМЕНЕНИЕ ИМПОРТНЫХ СРЕДСТВ
В СИСТЕМАХ РАДИОСВЯЗИ ПОДРАЗДЕЛЕНИЙ
ВНЕВЕДОМСТВЕННОЙ ОХРАНЫ

МЕТОДИЧЕСКИЕ УКАЗАНИЯ

Р 78.36.006-99

МОСКВА 2001

Методические указания разработаны сотрудниками B.C. Веремчуком (ГУВО МВД России), Ю.А. Киреевым и А.В. Лавровым (НИЦ «Охрана» ГУВО МВД России) под общей редакцией В.А. Станотина.

Выбор и применение импортных средств в системах радиосвязи подразделений вневедомственной охраны: Методические указания. - М.: НИЦ «Охрана», 2001.

Содержатся рекомендации по выбору и применению импортных средств при построении систем радиосвязи подразделений вневедомственной охраны.

Предлагаются типовые системы радиосвязи.

Предназначены для инженерно-технических работников вневедомственной охраны, занимающихся вопросами организации радиосвязи.

СОДЕРЖАНИЕ

Введение. 2

1. Рекомендации по выбору носимых, мобильных, базовых радиостанций импортного производства. 2

1.1. Обоснование выбора радиостанций. 2

1.2. Рекомендуемые радиостанции. 3

1.3. Программирование радиостанций. 5

1.4. Рекомендации по эксплуатации аккумуляторов портативных радиостанций. 6

2. Выбор антенного оборудования для систем радиосвязи отделов охраны.. 6

2.1. Классификация антенн. 6

2.2. Базовые антенны.. 6

2.3. Автомобильные антенны.. 7

2.4. Антенны портативных радиостанций. 7

3. Коаксиальные кабели. 8

3.1. Основные характеристики коаксиальных кабелей. 8

3.2. Рекомендации по применению коаксиальных кабелей. 8

4. Рекомендации по выбору источника питания. 9

5. Типовые системы радиосвязи, рекомендуемые к применению в подразделениях вневедомственной охраны.. 9

5.1. Система радиосвязи с использованием тонового (CTCSS) или кодового (DCS) шумоподавления. 9

5.2. Система радиосвязи с выходом в телефонную сеть. 13

5.3. Система радиосвязи с ретранслятором и выходом в телефонную сеть. 13

5.4. Система радиосвязи с дистанционным выносом базовой радиостанции подразделения вневедомственной охраны.. 18

6. Сервисная аппаратура. 19

7. Официальные дистрибьюторы фирм-производителей средств радиосвязи в России. 20

Заключение. 21

Введение

На российском рынке средств радиосвязи представлен широкий спектр оборудования связи импортного производства. Отечественные средства радиосвязи в настоящее время не могут конкурировать со средствами ведущих зарубежных фирм (MOTOROLA, YEASU/VERTEX, KENWOOD и др.) и дальнейшее применение отечественных средств связи («Виола», «Маяк» и др.) в системах радиосвязи подразделений вневедомственной охраны не дает преимуществ в надежности и качестве радиосвязи. Поэтому для организации эффективных систем радиосвязи подразделений охраны рекомендуется использовать импортные средства (носимые, мобильные, стационарные радиостанции, антенное оборудование, источники питания и т.д.).

Наряду с указанными зарубежными фирмами на отечественном рынке средств радиосвязи постепенно укрепляют свои позиции фирмы VERTEX (филиал фирмы YAESU) и KENWOOD. Радиостанции этих фирм отличает высокая надежность, удобство в эксплуатации, функциональная насыщенность. Профессиональные средства радиосвязи фирм прошли специальные проверки на соответствие военному стандарту MIL-STD 810 С, D, Е (США), который характеризует возможность работы средств радиосвязи в условиях воздействия:

- высокой и низкой температур;

- низкого давления;

- температурного удара;

- ударных нагрузок;

- вибраций;

- пыли, влаги, грязи.

Радиосредства фирм STANDARD и ICOM по отношению к продукции ведущих фирм имеют худшее соотношение цена/качество. Профессиональные модели радиостанций IC-F10, IC-F30 (ICOM) значительно уступают по техническим характеристикам радиостанциям GP 300 MOTOROLA и VX 500 VERTEX. Радиостанции фирмы ALINCO относятся к классу любительских. Опыт эксплуатации этих радиостанций в подразделениях вневедомственной охраны показал, что их отличает невысокая надежность, низкие значения радиотехнических параметров (чувствительность, избирательность, стабильность частоты), слабый корпус, ненадежное крепление аккумуляторов. Поэтому радиостанции фирмы ALINCO не рекомендуется применять в системах радиосвязи подразделений вневедомственной охраны.

1. Рекомендации по выбору носимых, мобильных, базовых радиостанций импортного производства

1.1. Обоснование выбора радиостанций

В настоящее время на российском рынке средств радиосвязи предлагается оборудование следующих фирм-производителей: MOTOROLA, VERTEX (YAESU), KENWOOD, STANDARD, ICOM, MAXON, ALINCO и др. Дли построения сетей радиосвязи подразделений вневедомственной охраны ранее использовали отечественное оборудование радиосвязи, уступающее импортным радиосредствам по тактико-техническим показателям:

- чувствительность приемного устройства;

- избирательность по соседнему каналу;

- избирательность по интермодуляции;

- уровень побочных излучений передатчика;

- стабильность частоты (передатчика и гетеродина приемника).

Импортные средства радиосвязи (носимые, мобильные, базовые радиостанции) обладают следующими функциональными возможностями:

- различными режимами сканирования (обычный режим, приоритетное сканирование, двойное приоритетное сканирование);

- работы в полудуплексном режиме (двухчастотный симплекс для работы с ретранслятором);

- функциями кодового (DCS) и тонового (CTCSS) шумоподавления, позволяющими создавать на одном частотном канале независимые группы радиоабонентов;

- DTMF-функцией, позволяющей организовать индивидуальный, групповой, общий вызов абонентов, выход в телефонную сеть;

- работы (при дополнительной установке логических модулей) в транковой системе;

- режима энергосбережения - экономного расходования ресурса аккумулятора;

- защиты информации (при дополнительной установке скремблеров).

Применение импортных радиосредств для построения систем радиосвязи подразделений охраны даст значительный выигрыш в надежности и качестве радиосвязи. Поэтому при выборе радиостанций (носимых, мобильных, базовых) прежде всего следует соблюдать следующие требования:

а) средства радиосвязи должны иметь высокие показатели технических характеристик (чувствительность, избирательность по соседнему каналу, интермодуляции);

б) средства радиосвязи должны относиться к классу профессиональных (жесткая программная установка данных, минимально необходимое количество органов управления, соответствие стандарту MTL-STD 810 С, D, Е) и обеспечивать:

- возможность работы в тяжелых условиях эксплуатации (при низкой и высокой температурах, в дождь, грязь, пыль, а также при ударных нагрузках);

- функциональные возможности (сканирование каналов, передача идентификационного признака, функции тонового (CTCSS) и кодового (DCS) шумоподавления, режим энергосбережения);

- наличие в составе носимых радиостанций аккумуляторов емкостью 1200 мА · ч.

1.2. Рекомендуемые радиостанции

1 группа - радиостанции для сотрудников групп задержания

Таблица 1

Наименование параметров

Типы радиостанций

носимые

мобильные (базовые)

GP 300 MOTOROLA

Р 110 MOTOROLA

VX 500 VERTEX

ТK 250/ТK 350 KENWOOD

GM 300 MOTOROLA

FTL 2011/FTL 7011 VERTEX

TK 768(Н)/ ТК 868(Н) KENWOOD

Диапазон частот, МГц

136 ... 174 (400 ... 470)

136 ... 174 (400 ... 470)

136 ... 174 (403 ... 470)

136 ... 174 (400 ... 470)

146 ... 174 (403 ... 470)

148 ... 174 (400 ... 470)

148 ... 174 (400 ... 470)

Количество каналов, шт.

2,8,16

2,6

32

32

8, 16

32

32

Сетка частот, кГц

12,5/20/25,0

12,5/20/25,0

12,5/20/25,0

12,5/20/25,0

12,5/20/25,0

12,5/20/25,0

12,5/20/25,0

Мощность передатчика, Вт/Время работы от 1 аккумулятора, ч

5/8

5,0/9,5

5/8

5/8

1 ... 10

10 ... 25

25 ... 45

25

25 (40)

Чувствительность приемника, мкВ

0,22

0,22

0,2

0,25

0,25

0,25

0,25

Избирательность по соседнему каналу, дБ

70

70

75

70

80

80

78

Избирательность по интермодуляции, дБ

70

70

70

70

80

70

73

Рабочий диапазон температур, °С

От минус 30 до плюс 60

От минус 30 до плюс 60

Or минус 30 до плюс 60

От минус 30 до плюс 60

От минус 30 до плюс 60

От минус 30 до плюс 60

От минус 30 до плюс 60

Режим сканирования

+

+

+

+

+

+

+

Двухчастотный симплекс

+

+

+

+

+

+

+

Функция CTCSS

+

+

+

+

+

+

+

Функция DCS

+

+

+

+

+

+

+

DTMF-функция

+*

+*

+*

+*

+**

+**

+

Избирательный вызов

+

-

+

+

+

+

+

Индикация разряда батареи

+

+

+

+

 

 

 

Включение передатчика голосом

+

+

+

+

 

 

 

Масса, кг

0,509

0,514

0,530

0,545

1,700

1,500

1,000

Стоимость, у.е.

508 [16 к.] (536)

422 [6 к.] (473)

530 (556)

568

530 [16 к, 45 Вт]

568 [24 к.]

488

* Функция реализуется при установке дополнительной платы.

** Функция реализуется при использовании DTMF-тангенты.

Примечания:

1. Здесь (и далее по тексту таблиц) приводятся средние цены средств радиосвязи фирм-поставщиков, находящихся в Москве.

2. [16 к.] - 16-канальный вариант.

3. Во всех радиостанциях предусмотрена возможность установки дополнительных скремблеров (маскираторов речи).

4. (536) - стоимость радиостанций для диапазона 400 ... 470 МГц.

2 группа - радиостанции для руководящего состава подразделений охраны

Таблица 2

Наименование параметров

Тип радиостанции

носимые

VX 10

VERTEX

TK 278/TK 378 KENWOOD

VISAR, MOTOROLA

GP 300 MOTOROLA

VX 500 VERTEX

Диапазон частот, МГц

136 ... 174

(400 ... 470)

136 ... 174

(400 ... 470)

136 ... 178/

403 ... 470/

450 ... 520/

800 ... 866

136 ... 174

(400 ... 470)

148 ... 174

(403 ... 470)

Количество каналов, шт.

40

32

16

16

32

Сетка частот, кГц

12,5/20/25,0

12,5/20/25,0

12,5/20/25,0

12,5/20/25,0

12,5/20/25,0

Мощность передатчика. Вт/ Время работы от 1 аккумулятора, ч

5/8

5/8

5/8

5/8

5/8

Чувствительность приемника, мкВ

0,20

0,25

0,25

0,25

0,20

Избирательность по соседнему каналу, дБ

70

³65

70

70

75

Избирательность по интермодуляции, дБ

70

³65

70

70

70

Рабочий диапазон температур, °С

От минус 30 до плюс 60

От минус 30 до плюс 60

От минус 30 до плюс 60

От минус 30 до плюс 60

От минус 30 до плюс 60

Режим сканирования

+

+

+

+

+

Двухчастотный симплекс

+

+

+

+

+

Функция CTCSS

+

+

+

+

+

Функция DCS

+

+

+

+

+

Выход в ГТС

+

+

+

+

+

Избирательный вызов

+

+

+

+

+

Индикация разряда батареи

+

+

+

+

+

Включение передатчика голосом

+

+

+

+

+

Возможность работы в транковой системе

Smartrunk-II

Smartrunk-II

-

Smartrunk-II

Smartrunk-II

Масса, кг

0,390

0,430

0,305

0,509

0,530

Стоимость, у.е.

460

488

920

508 (536)*

530 (566)*

* (536) - стоимость радиостанций для диапазона 400 ... 470 МГц.

1.3. Программирование радиостанций

Рассматриваемые в настоящих Методических указаниях радиостанции являются многофункциональными, поэтому их параметры (в зависимости от условий применения) могут иметь разные значения. Для обеспечения установки этих параметров используют специальные аппаратно-программные комплексы (программаторы или интерфейсные блоки, интерфейсные кабели, программное обеспечение, персональный компьютер).

Основными программируемыми параметрами являются:

- количество частотных каналов;

- номинальные значения частот каналов;

- мощность передатчика;

- режим работы радиостанции (симплексный или полудуплексный);

- способ управления шумоподавителем (тоновый или кодовый);

- допустимое время работы передатчика;

- режим энергосбережения и т.д.

Программирование перечисленных параметров в радиостанции может осуществляться (в зависимости от марки) тремя основными способами:

- с помощью программатора (интерфейсного блока), персонального компьютера и программного обеспечения;

- методом клонирования (переписывание содержимого памяти одной радиостанции в память другой радиостанции через специальный кабель);

- с собственной клавиатуры радиостанции.

Радиостанции фирмы MOTOROLA (P 110, GP 300, GM 300) программируются с помощью персонального компьютера, специального интерфейсного блока и программного обеспечения. Стоимость интерфейсного блока с программным обеспечением составляет 960 у.е.

Радиостанции фирмы VERTEX (YAESU) программируются аналогичным способом. Стоимость программатора с программным обеспечением составляет 100 у.е.

Радиостанции фирмы KENWOOD могут программироваться как с клавиатуры, так и с помощью компьютера, специального интерфейсного кабеля и программного обеспечения. Стоимость интерфейсного кабеля и программного обеспечения составляет 270 у.е.

Аппаратно-программные средства для программирования рекомендуется иметь в краевых и областных УВО, ОВО для оперативного перепрограммирования радиосредств отделов охраны.

1.4. Рекомендации по эксплуатации аккумуляторов портативных радиостанций

1.4.1 Для зарядки аккумуляторов рекомендуется использовать «медленные» зарядные устройства (10 ... 14 ч). При этом аккумуляторы имеют в среднем 1000 циклов заряда - разряда.

При использовании «быстрых» зарядных устройств ресурс аккумуляторов уменьшается в 5 ... 10 раз. Поэтому эти зарядные устройства применять нецелесообразно, так как в них аккумуляторы заряжаются большим током (нормальный ток заряда 1/10 от номинальной емкости аккумулятора), что приводит к их быстрому износу.

1.4.2 Необходимо избегать глубоких разрядов аккумуляторов. При включении индикатора разряда аккумулятора следует немедленно заменить его на заряженный. По возвращении с патрулирования группы задержания разряженный аккумулятор следует ставить на подзарядку.

1.4.3 Запрещается хранить аккумуляторы в разряженном состоянии.

1.4.4 Не допускается превышение температуры аккумуляторов выше плюс 45 °С (это может произойти в автомобиле в жаркий день) и ниже минус 30 °С, так как емкость аккумуляторов может снизиться в 2 раза (по сравнению с номинальной). В холодную погоду радиостанции желательно носить на поясе под одеждой, а для ведения сеанса оперативной связи применять выносные микрофоны-телефоны. (Их удобно крепить с помощью клипсы на воротнике одежды.)

1.4.5 Не рекомендуется проводить подзарядку не полностью разряженных аккумуляторов для исключения эффекта «памяти», приводящего к снижению их номинальной емкости.

1.4.6 Рекомендуется проводить тренировочный цикл заряд-разряд-заряд один раз в две - четыре недели.

2. Выбор антенного оборудования для систем радиосвязи отделов охраны

2.1. Классификация антенн

Один из факторов, от которого зависит дальность радиосвязи, - высота подъема антенны и ее технические характеристики.

Антенны классифицируют на:

- базовые с круговой диаграммой направленности;

- базовые направленные;

- автомобильные;

- портативных радиостанций.

2.2. Базовые антенны

В настоящее время на российском рынке представлено антенное оборудование фирм DIAMOND, CUSHCRAFT, ANLI, ANTENEX, MAXRAD и др.

Основными характеристиками базовых антенн являются:

- диапазон рабочих частот;

- коэффициент усиления.

Базовые антенны выпускают на разные диапазоны:

- 144 ... 174 МГц;

- 400 ... 512 МГц;

- 800 МГц.

В зависимости от конструктивного исполнения - 1/4 и (или) 5/8 длины волны - антенны имеют усиление от 3 до 8 дБ.

В диспетчерской системе радиосвязи подразделения вневедомственной охраны должны быть установлены базовые антенны с круговой диаграммой направленности. При этом радиус действия системы радиосвязи зависит от высоты подъема антенны.

Направленные антенны применяют для связи с очень удаленными объектами. Такие антенны концентрируют максимум излучения в нужном направлении, обеспечивая выигрыш как при передаче, так и при приеме (например: направленная антенна PLC 1666 CUSHCRAFT, усиление 7,1 дБ, 6 элементов, ориентировочная стоимость 269 у.е.).

Для системы радиосвязи подразделения охраны рекомендуется применять следующие базовые антенны с круговой диаграммой направленности:

- F 23 DIAMOND (146 ... 174 МГц, настраиваемая, три 5/8 длины волны, усиление 7,8 дБ, ориентировочная стоимость 200 у.е.);

- ARX 2B CUSHCRAFT (135 ... 174 МГц, настраиваемая, три 5/8 длины волны, усиление 7 дБ, ориентировочная стоимость 130 у.е.);

- А 300 ANLI (138 ... 174 Мгц или 400 ... 470 МГц, настраиваемая, усиление 6 или 8 дБ, ориентировочная стоимость 200 у.е.).

Для обеспечения грозозащищенности аппаратуры радиосвязи необходимо использовать грозоразрядники, например: LAC-4H CUSHCRAFT (стоимость 70 у.е.), CA-35R DIAMOND (стоимость 59 у.е.).

Рекомендуемые базовые антенны не являются строго обязательными для применения в системах радиосвязи. Возможно использование аналогичных антенн других фирм.

2.3. Автомобильные антенны

Для мобильных радиостанций применяют штыревые антенны, которые крепят на магнитном основании, врезают в крышу автомобиля, а также крепят на боковое стекло.

КПД излучения автомобильной антенны зависит от способа крепления и места ее установки на машине. (Оптимальный способ крепления - врезной, наилучшее место установки - в центре крыши автомобиля.)

Различные фирмы выпускают антенны 1/4 и (или) 5/8 длины волны. Четвертьволновые антенны имеют коэффициент усиления 0 дБ (по отношению к усилению, создаваемому простейшим полуволновым вибратором). Коэффициент усиления антенн 5/8 длины волны составляет 3 дБ.

Мобильные радиостанции групп задержания следует оборудовать автомобильными антеннами 5/8 длины волны.

В системах радиосвязи рекомендуется применять следующие автомобильные антенны:

- AW 6 ANLI с магнитным основанием МС 1, (146 ... 174/400 ... 470 Мгц, усиление 3 дБ, ориентировочная стоимость 75 у.е.);

- МНВ 5800 MAXRAD с магнитным основанием G-MAG (144 ... 174 МГц, усиление 3 дБ, ориентировочная стоимость 97 у.е.);

- В 1443 ANTENEX с магнитным основанием GB-8PI (144 ... 174 Мгц, усиление 3 дБ, ориентировочная стоимость 80 у.е.). Эта антенна может быть укомплектована врезным основанием типа MB-8PI стоимостью 20 у.е.

Возможно применение аналогичных по характеристикам антенн других фирм.

2.4. Антенны портативных радиостанций

Для удобства эксплуатации портативных радиостанций как правило используют антенны минимальных размеров. Однако ограничение длины таких антенн приводит к существенным потерям их эффективности (по сравнению с полноразмерным четвертьволновым штырем) и требует хорошего согласования антенны с радиостанцией. В отличие от автомобильных или базовых антенн, роль «земли» у которых выполняют металлический кузов или противовесы, антенны портативных радиостанций не имеют полноценного заземления. Фактически «землей» является тело пользователя. Поэтому при нахождении радиостанции вне рук абонента (например на столе) дальность связи существенно сокращается.

Наиболее типичными конструктивными вариантами согласования антенн, входящих в стандартный комплект поставки, являются индуктивность, распределенная по длине, или индуктивность в основании антенны. Такие антенны в городских условиях обеспечивают уверенную радиосвязь на расстоянии до 2 ... 3 км. Для увеличения дальности радиосвязи используют специальные удлиненные антенны.

3. Коаксиальные кабели

3.1. Основные характеристики коаксиальных кабелей

При построении систем радиосвязи отделов охраны немаловажное значение имеет выбор коаксиального кабеля, применяемого для передачи высокочастотной энергии от передающего устройства базовой радиостанции к антенне.

Основными параметрами коаксиального кабеля являются: волновое сопротивление, коэффициент стоячей волны (КСВ), потери в кабеле, электрическая прочность и устойчивость к внешним воздействиям.

Коэффициент КСВ характеризует степень согласования линии передачи высокочастотной энергии (коаксиального кабеля) с нагрузкой. Идеальный случай, когда сопротивление нагрузки равно волновому сопротивлению кабеля. (Фактически КСВ всегда больше 1).

Электрическая прочность коаксиального кабеля ограничивается допустимым током, проходящим через центральный проводник. Для радиостанций с мощностью передающего устройства 25 Вт допускается использовать кабели с диаметром центрального проводника не менее 1 мм.

В процессе эксплуатации коаксиальный кабель прежде всего подвергается воздействию влаги и со временем может значительно ухудшить свои характеристики. Наиболее устойчивыми в этом отношении являются полужесткие кабели, сплошная внешняя оболочка которых мало подвержена коррозии и обеспечивает абсолютную герметичность.

3.2. Рекомендации по применению коаксиальных кабелей

3.2.1 В системах радиосвязи подразделений охраны рекомендуется применять кабели с низкими потерями (не более 0,2 дБ/м на частотах 170 ... 470 МГц).

3.2.2 Для базовых радиостанций отделов охраны с мощностью передатчика 10 ... 25 Вт вполне удовлетворяет КСВ линии передачи высокочастотной энергии не более 2.

3.2.3 Для базовых наружных антенн лучшим по совокупности электрических, механических и эксплуатационных параметров является полужесткий кабель среднего диаметра 6 ... 9 мм (по диаметру диэлектрика).

3.2.4 При монтаже кабеля нельзя допускать резких изгибов. Допустимый радиус изгиба не должен быть менее 20 диаметров для кабелей со сплошной полиэтиленовой изоляцией.

В таблице 3 приведены технические характеристики рекомендуемых марок коаксиальных кабелей.

Допускается применение других аналогичных по характеристикам марок коаксиальных кабелей.

Таблица 3

Тип кабеля

Технические характеристики

Стоимость, у.е. за 1 м

Потери, дБ/м

Конструктивное исполнение

170 МГц

450 МГц

РК 50-7-12

0,10

0,22

Многожильный, полиэтилен, разъемы PL 259, SO 239

2,0

РК 50-9-11

0,08

0,17

Многожильный, полиэтилен, разъемы PL 259, SO 239

3,0

RG-213U

0,08

0,16

Многожильный, фторопласт, разъемы PL 259, SO 239

3,0

10D-2V/50

0,05

0,11

Многожильный, полиэтилен, разъем типа N

6,9

4. Рекомендации по выбору источника питания

На российском рынке средств радиосвязи и аксессуаров представлены источники питания фирм MOTOROLA, ASTRON, DIAMOND, DC и др.

Наиболее хорошо зарекомендовали себя источники питания фирмы ASTRON.

Источники питания фирмы MOTOROLA: HPN 4001 (ток нагрузки 15 А), HPN 4002 (ток нагрузки 10 А) по результатам опроса технических специалистов отличаются невысокой надежностью.

Информации по источникам питания фирм DIAMOND, DC недостаточно, поэтому говорить об их надежности преждевременно.

В таблице 4 указаны рекомендуемые источники питания и их технические характеристики.

Таблица 4

Наименование источника питания

Технические характеристики

Стоимость, у.е.

SL-11R ASTRON

Настольный; 13,8 В; постоянная нагрузка 9 А, кратковременная 11 А (не более 5 мин). Рекомендуется для радиостанций с мощностью передатчика не более 25 Вт

225

SL-15R-RA ASTRON

Настольный с установочной ячейкой для базовой радиостанции; 13,8 В; постоянная нагрузка 12 А, кратковременная 15 А. Рекомендуется для радиостанций с мощностью передатчика не более 45 Вт

250

RM-20M-ВВ ASTRON

Встраиваемый в 19-дюймовую стойку; 13,8 В; постоянная нагрузка 16 А, кратковременная 20 А; возможность переключения на резервное питание (аккумулятор). Рекомендуется для базовых радиостанций с дистанционным выносом ретрансляторов

290

5. Типовые системы радиосвязи, рекомендуемые к применению в подразделениях вневедомственной охраны

5.1. Система радиосвязи с использованием тонового (CTCSS) или кодового (DCS) шумоподавления

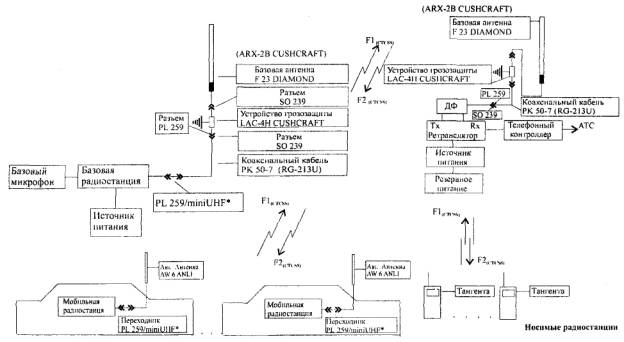
На рисунке 1 представлена схема типовой системы радиосвязи с использованием тонового (CTCSS) или кодового (DCS) шумоподавления, исключающего взаимные помехи при работе нескольких групп абонентов на одном частотном канале. Для подразделений охраны, расположенных территориально близко и работающих на одной частоте, это позволит исключить прием ненужной оперативной информации; каждое подразделение будет слышать только свои группы задержания.

Все современные профессиональные радиостанции имеют функцию CTCSS. Физически эта функция реализуется путем добавления к модулирующему звуковому сигналу один из 38 фиксированных тонов в диапазоне от 67,0 до 250,3 Гц. Эти частоты расположены ниже полосы пропускания приемников радиостанций и поэтому не слышны. При наличии в спектре принимаемого сигнала тоновой посылки, совпадающей с запрограммированным тоном в радиостанции, шумоподавитель открывается и абонент слышит нужную ему информацию. На рисунке 2 представлен пример реализации функции CTCSS.

Функция кодового (DCS) шумоподавления аналогична функции CTCSS. Ее отличие состоит в том, что вместо тона шумоподавителем станции вызываемого абонента управляет цифровой сигнал (передаваемый в полосе 50 ... 250 Гц). Существуют 104 стандартных сигнала DCS.

В таблицах 5, 6, 7 представлены возможные варианты комплектации оборудования для систем радиосвязи подразделений охраны с функцией тонового шумоподавления на 10 мобильных абонентов фирм MOTOROLA, VERTEX, KENWOOD. В носимых, мобильных и базовых радиостанциях указанных фирм функция тонового (кодового) шумоподавления встроена. В радиостанциях других фирм эта функция реализуется, как правило, за счет дополнительной установки специальной платы (стоимость ее составляет 40 ... 65 у.е.).

При использовании функции тонового (кодового) шумоподавления в системе радиосвязи подразделения охраны для оперативной радиосвязи с УВД необходимо устанавливать резервную радиостанцию. Это делается в том случае, когда система радиосвязи территориального УВД построена на базе отечественного оборудования, в котором указанные функции отсутствуют.

 

* Переходник PL 259/miniUHF применяется в системе радиосвязи, построенной на базе оборудования фирмы MOTOROLA.

Рисунок 1 - Схема типовой системы радиосвязи отдела вневедомственной охраны с использованием тонового (CTCSS) или кодового (DCS) шумоподавления

Рисунок 2 - Схема использования функции тонового (CTCSS) шумоподавления для исключения взаимных помех подразделений вневедомственной охраны, работающих на одном частотном канале и расположенных территориально близко

Диспетчерская система радиосвязи подразделения вневедомственной охраны с использованием тонового шумоподавления на 10 мобильных абонентов

1 вариант

Таблица 5 - Оборудование системы с базовой радиостанцией MOTOROLA

Наименование оборудования

Кол-во

Цена за ед. оборуд., у.е.

Сумма, у.е.

GM 300, 8 (16) к, 10 ... 25 Вт, 146 ... 174 МГц

1

465 (500)*

465 (500)*

Базовый микрофон HMN-3000A

1

130

130

Источник питания SL-15R-RA ASTRON

1

250

250

Базовая антенна F 23 DIAMOND, усиление 7,5 дБ

1

190

190

Кабель РК 50-7

30 м

2,5

75

Устройство грозозащиты LAC-4H CUSHCRAFT

1

70

70

Комплект переходников PL 259/miniUHF, разъем SO 239

1

35

35

Абонентские радиостанции (автомобильные)

GM 300, 8 (16) к, 10 ... 25 Вт, 146 ... 174 МГц

10

465 (500)

4650 (5000)

Автомобильная антенна AW 6 ANLI с магнитным основанием

10

73

730

Переходник PL 259/miniUHF

10

15

150

Абонентские радиостанции (портативные)

GP 300, 8 (16) к, 5 Вт, 146 ... 174 МГц с аккумулятором HNN-9628

10

500 (540)

5000 (5400)

HTN 9804 - 10-часовое ЗУ

10

-

-

Микрофон-телефон HMN-9725R

10

68

680

Аккумулятор HNN-9628

10

83

830

*(500) - стоимость радиостанций для диапазона 400 ... 470 МГц.

Общая стоимость оборудования: 13255 у.е.

2 вариант

Таблица 6 - Оборудование системы с базовой радиостанцией VERTEX

Наименование оборудования

Кол-во

Цена за ед. оборуд.

Сумма, у.е.

FTL 2011, 4 (24) к, 40 Вт, 146 ... 174 МГц

1

475

475

Базовый микрофон MD-11A-8J

1

90

90

Источник питания SL-15R-RA ASTRON

1

250

250

Базовая антенна ARX 2B CUSHCRAFT, усиление 7 дБ

1

130

130

Кабель РК 50-7

30 м

2,5

75

Устройство грозозащиты LAC-4H CUSHCRAFT

1

70

70

Комплект разъемов SO 239, PL 259

4

5

20

Абонентские радиостанции (автомобильные)

FTL 2011, 4 (24) к, 40 Вт, 146 ... 174 МГц

10

475

4750

Автомобильная антенна AW 6 ANLI

10

35

350

Магнитное основание к антенне

10

38

380

Абонентские радиостанции (портативные)

VX 500,32 к, 5 Вт, 146 ... 174 МГц с аккумулятором FNB-29

10

545

5450

Зарядное устройство CS-500S

10

35

350

Микрофон-телефон МН-30А-2В

10

75

750

Аккумулятор FNB-29

10

80

800

Общая стоимость оборудования: 13980 у.е.

3 вариант

Таблица 7 - Оборудование системы с базовой радиостанцией KENWOOD

Наименование оборудования

Кол-во

Цена за ед. оборуд.

Сумма, у.е.

ТК 768, 32 к, 25 Вт

1

488

488

Базовый микрофон КМС 9

1

119

119

Источник питания KPS-10A KENWOOD

1

250

250

Базовая антенна КВА 150 KENWOOD

1

130

130

Кабель 10D-2V

30 м

12

360

Устройство грозозащиты LAC-4H CUSHCRAFT

1

70

70

Комплект разъемов SO 239, PL 259

4

5

20

Абонентские радиостанции (автомобильные)

ТК 768, 32 к, 25 Вт

10

488

4880

Автомобильная антенна КМ А 150 KENWOOD

10

58

580

Магнитное основание к антенне КМА- KENWOOD

10

48

480

Абонентские радиостанции (портативные)

ТК 250, 16 к, 5 Вт с аккумулятором KNB-12A

10

569

5690

Зарядное устройство KSC-17

10

35

350

Микрофон-телефон КМС 17

10

86

860

Аккумулятор KNB-12A

10

96

960

Общая стоимость оборудования: 15507 у.е.

5.2. Система радиосвязи с выходом в телефонную сеть

На рисунке 3 представлена схема типовой системы радиосвязи подразделения вневедомственной охраны с выходом в телефонную сеть. По своему составу оборудования указанная система аналогична системе радиосвязи с использованием тонового шумоподавления. В состав оборудования добавляется телефонный интерфейс. Абонентские радиостанции укомплектовывают дополнительно DTMF-клавиатурой с DTMF-кодером (для носимых) и DTMF-тангентой (для мобильных).

Простейший телефонный интерфейс работает в симплексном или полудуплексном режиме. Он достаточно легко стыкуется с базовой радиостанцией через разъем на передней панели или специальный аксессуарный разъем. Пароль доступа и набор необходимого телефонного номера осуществляется DTMF-посылками тональной частоты. Физически DTMF-сигнал представляет собой сигнал несущей частоты, промодулированный двумя тональными частотами.

Наиболее популярные модели телефонных интерфейсов: I 50X MOTOROLA, CS 9800 CSI, CS 900 CSI, Z 30 ZETRON.

Выход в телефонную сеть необходим для руководящего состава подразделения вневедомственной охраны. Для реализации этого выхода желательно иметь специально выделенный канал. Возможны установка дополнительной базовой радиостанции (с телефонным интерфейсом) и разделение каналов радиосвязи (группы задержания и руководящего состава подразделения) с помощью тонового (кодового) шумоподавления.

В таблицах 8, 9, 10 приведены примеры комплектации оборудования системы радиосвязи с выходом в телефонную сеть.

5.3. Система радиосвязи с ретранслятором и выходом в телефонную сеть

На рисунке 4 представлена схема типовой системы радиосвязи подразделения вневедомственной охраны с использованием ретранслятора и телефонного контроллера. Указанная система радиосвязи работает в полудуплексном режиме (прием и передача ведутся на разнесенных частотах).

Использование ретранслятора в системе радиосвязи подразделения охраны позволит увеличить дальность радиосвязи в случае, когда возникает проблема дальности радиосвязи с группами задержания (в условиях многоэтажной городской застройки или сильно пересеченного рельефа местности).

Ретранслятор состоит из функциональных блоков - приемника и передатчика. Повышенные требования предъявляются к приемнику. Чем лучше его параметры (чувствительность, избирательность), тем больше дальность и качество радиосвязи.

Диспетчерская система радиосвязи подразделения вневедомственной охраны с выходом в телефонную сеть на 5 мобильных абонентов

1 вариант

Таблица 8 - Оборудование системы с базовой радиостанцией MOTOROLA

Наименование оборудования

Кол-во

Цена за ед. оборуд., у.е.

Сумма, у.е.

GM 300, 8 (16) к. 10 ... 25 Вт, 146 ... 174 МГц

1

480

480

Базовый микрофон HMN-3000A

1

130

130

Телефонный интерфейс Z 30 ZETRON

1

594

594

Источник питания SL-15R-RA ASTRON

1

250

250

Базовая антенна F 23 DIAMOND, усиление 7,5 дБ

1

190

190

Кабель РК 50-7

30 м

2,5

75

Устройство грозозащиты LAC-4H CUSHCRAFT

1

70

70

Комплект переходников PL 259/miniUHF, разъем SO 239

1

35

35

Абонентские радиостанции (автомобильные)

GM 300, 8 (16) к, 10 ... 25 Вт, 146 ... 174 МГц

5

465

2325

DTMF-тангента HMN-1037

5

150

750

Автомобильная антенна AW 6 ANLI с магнитным основанием

5

73

365

Комплект переходников PL 259/miniUHF

5

15

75

Абонентские радиостанции (портативные)

GP 300, 8 (16) к, 5 Вт, 146 ... 174 МГц с аккумулятором HNN-9628 и DTMF-клавиатурой HLN-3748

5

560

2800

HTN-9804 - 10-часовое ЗУ

5

-

-

Аккумулятор HNN-9628

5

83

415

Общая стоимость оборудования: 8554 у.е.

 

* Переходник PL 259/miniUHF применяется в системе радиосвязи, построенной на базе оборудования фирмы MOTOROLA.

Рисунок 3 - Схема типовой системы радиосвязи подразделения вневедомственной охраны с выходом в телефонную сеть и функцией тонового или кодового шумоподавления

* Переходник PL 259/miniUHF применяется в системе радиосвязи, построенной на базе оборудования фирмы MOTOROLA.

Рисунок 4 - Схема типовой системы радиосвязи подразделения вневедомственной охраны с ретранслятором и выходом в телефонную сеть

2 вариант

Таблица 9 - Оборудование системы с базовой радиостанцией VERTEX

Наименование оборудования

Кол-во

Цена за ед. оборуд.

Сумма, у.е.

FTL 2011, 4 к, 25 Вт

1

475

475

Телефонный интерфейс Z 30 ZETRON

1

594

594

Базовый микрофон MD-11A-8J

1

119

119

Источник питания SL-15R-RA ASTRON

1

250

250

Базовая антенна F 23 DIAMOND, усиление 7,5 дБ

1

190

190

Кабель RG-213U

30 м

2,5

75

Устройство грозозащиты LAC-4H CUSHCRAFT

1

70

70

Комплект разъемов для монтажа

1

20

20

Абонентские радиостанции (автомобильные)

FTL 2011, 4 к, 25 Вт

5

475

2375

DTMF-тангента МН-15Е-8J

5

96

480

Автомобильная антенна AW 6 ANLI

5

35

175

Магнитное основание к антенне

5

38

190

Абонентские радиостанции (портативные)

VX 10, 16 к, 5 Вт с аккумулятором FNB-V47, DTMF-клавиатурой FTT 15 и зарядным устройством CS-10C

5

525

2625

Аккумулятор FNB-V47

5

65

325

Общая стоимость оборудования: 7963 у.е.

3 вариант

Таблица 10 - Оборудование системы с базовой радиостанцией KENWOOD

Наименование оборудования

Кол-во

Цена за ед. оборуд.

Сумма, у.е.

ТК 768, 32 к, 25 Вт с интерфейсным кабелем КСТ 19

1

510

510

Телефонный интерфейс Z 30 ZETRON

1

594

594

Базовый микрофон КМС 9

1

119

119

Источник питания KPS-10A KENWOOD

1

250

250

Базовая антенна KBA 150 KENWOOD

1

130

130

Кабель 10D-2V

30 м

12

360

Устройство грозозащиты LAC-4H CUSHCRAFT

1

70

70

Комплект разъемов SO 239, PL 259

4

5

20

Абонентские радиостанции (автомобильные)

ТК 768, 32 к, 25 Вт с DTMF-тангентой КМС-24

5

488

2440

Автомобильная антенна КМА 150 KENWOOD

5

58

290

Магнитное основание к антенне КМА 1М KENWOOD

5

48

240

Абонентские радиостанции (портативные)

ТК 278, 32 к, 5 Вт с аккумулятором KNB 15A

5

488

2440

Зарядное устройство KSC-15

5

35

175

Аккумулятор KNB-15A

5

53

265

Общая стоимость оборудования: 7903 у.е.

Один из важнейших показателей ретрансляторов - рабочий цикл (отношение времени работы на передачу ко всему расчетному времени работы. Например: 50-процентный рабочий цикл - 30 мин «передача», 30 мин «ожидание»).

В таблице 11 приведены характеристики рекомендуемых моделей ретрансляторов.

Таблица 11

Модуль ретранслятора

Характеристика

Стоимость, у.е.

GR 500 MOTOROLA

Частотные диапазоны: 136 ... 174, 400 ... 512 МГц.

Выполнена на базе радиостанций GM 300 MOTOROLA.

Мощность 40 Вт при 100-процентном цикле (изменяется программно).

Встроенный вентилятор.

Возможно подключение резервного питания.

Чувствительность приемного устройства 0,25 мкВ.

Избирательность по соседнему каналу 70 дБ.

Избирательность по интермодуляции 70 дБ

1800

VXR 5000 VERTEX

Частотные диапазоны: 136 ... 174, 400 ... 512 МГц.

Выпускается с встроенным блоком питания и без него.

Возможно подключение резервного питания (при встроенном источнике).

Выходная мощность 40 Вт при 50-процентном цикле.

Мощность регулируется программно.

Чувствительность приемного устройства 0,35 мкВ.

Избирательность по соседнему каналу 70 дБ.

А (37 дистрибьюторов). Указанная фирма имеет

меет

TKR 720 (TKR 820) KENWOOD

Частотные диапазоны: 136 ... 174, 400 ... 512 МГц.

Выпускается с встроенным блоком питания.

Выходная мощность 50 Вт при 50-процентном цикле, 25 Вт при 100-процентном цикле.

Мощность регулируется аппаратно.

Чувствительность приемного устройства 0,3 мкВ.

Избирательность по соседнему каналу 85 дБ.

Избирательность по интермодуляции 80 дБ

700

Возможны два варианта работы ретранслятора.

Первый вариант - работа ретранслятора на две антенны (одна на «передачу», другая на «прием»). Реально это возможно осуществить при большом разносе приемной и передающей частот ретранслятора (более 20 МГц), так как при меньшем разносе (2 ... 5 МГц) проявляется эффект блокирования приемника ретранслятора собственным передатчиком. При этом реальная чувствительность приемника снижается, что в итоге сказывается на дальности радиосвязи.

Второй вариант - работа ретранслятора через дуплексный фильтр на одну антенну, который обеспечивает развязку приемника и передатчика ретранслятора (примерно 70 ... 100 дБ в зависимости от типа фильтра). Основные фирмы-производители дуплексных фильтров: TELEWAFE, PROCOM, FIPLEX, WACOM. В таблице 12 приведены характеристики дуплексных фильтров различных фирм.

Настройка дуплексных фильтров на необходимые рабочие частоты должна производиться опытными техническими специалистами.

Все модели ретрансляторов, указанных в таблице 11, имеют функцию тонового шумоподавления, использование которой позволит исключить прием ретранслятором чужого сигнала, его дальнейшего усиления и трансляции.

К любому ретранслятору (см. таблицу 11) можно подключать специальное устройство - телефонный контроллер, позволяющий осуществить выход в телефонную сеть. Наиболее известные фирмы, производящие телефонные контроллеры, - ZETRON, CSI. В отличие от телефонного интерфейса телефонный контроллер позволяет организовать индивидуальный вызов радиоабонента при звонке по телефону. Стоимость телефонных контроллеров таких, как: 48jr ZETRON составляет 1049 у.е., ZR 320 ZETRON - 1200 у.е., ТР 154 PLUS CSI - 995 у.е.

В таблице 13 показан пример построения системы радиосвязи с ретранслятором и выходом в телефонную сеть на 5 мобильных абонентов.

Таблица 12

Наименования параметров

Типы дуплексных фильтров

TELEWAFE

WACOM

TPRD 1554

TPRD 4544

TPRD 1544 QE

TPRD 1544 QE2

WP 639

WP 636

Диапазон, МГц

148 ... 174

450 ... 470

136 ... 174

136 ... 174

144 ... 174

144 ... 174

Разнос частот, МГц

0,6

>5,0

1,0

2,0

0,6

3,0

Максимальная мощность, Вт

350

250

350

350

250

250

Потери, дБ

1,5

1,0

1,5

1,0

1,5

1,5

Изоляция приемника, дБ

77

90

>80

>80

90

80

КСВ

1,5

1,2

1,5

1,5

1,5

1,2

Диапазон температуры, °С

От минус 30 до плюс 70

Стоимость, у.е.

1230

1300

1970

1970

1820

2678

Диспетчерская система радиосвязи подразделения охраны с ретранслятором и выходом в телефонную сеть на 5 мобильных абонентов

Таблица 13 - Оборудование системы с базовой радиостанцией VERTEX

Наименование оборудования

Кол-во

Цена за ед. оборуд., у.е.

Сумма, у.е.

VXR 500 VERTEX (146 ... 174 Мгц), ретранслятор 25 Вт

1

1700

1700

FTL 2011, 4 к, 25 Вт

1

475

475

Телефонный контроллер ТР 154 PLUS CSI

1

995

995

Дуплексный фильтр TPRD 1554 (разнос 0,6 МГц)

1

1230

1230

Базовый микрофон КМС-9

1

119

119

Резервный источник питания (для ретранслятора) - аккумулятор А 512/40 Sonnenschein, емкость 40 А · ч

1

90

90

Источник питания SL-15R-RA ASTRON

1

250

250

Базовая антенна ARX-2B CUSHCRAFT, усиление 7 дБ

2

130

260

Кабель RG-213U

100 м

2,5

250

Устройство грозозащиты LAC-4H CUSHCRAFT

2

70

140

Комплект разъемов для монтажа

1

100

100

Абонентские радиостанции (автомобильные)

FTL 2011, 4 к, 25 Вт

5

475

2375

DTMF-тангента МН-15E-8J

5

96

480

Автомобильная антенна 150M-5GW

5

58

290

Магнитное основание к антенне

5

48

240

Абонентские радиостанции (портативные)

VX 10, 16 к, 5 Вт с аккумулятором FNB-V47, DTMF-клавиатурой FTT 15 и зарядным устройством CS-10C

5

525

2625

Аккумулятор FNB-V47

5

65

325

Общая стоимость оборудования: 11944 у.е.

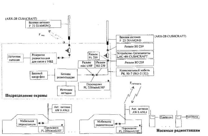
5.4. Система радиосвязи с дистанционным выносом базовой радиостанции подразделения вневедомственной охраны

Применение ретранслятора в системе радиосвязи подразделения вневедомственной охраны требует получения дополнительной частоты, что осуществить на местах не всегда возможно. Для решения этой проблемы можно использовать дистанционный вынос базовой радиостанции, используя контроллеры серии С 100 MOTOROLA. Ha рисунке 5 представлена структурная схема типовой системы радиосвязи подразделения вневедомственной охраны с использованием тонового подавления и контроллера С 100 (тип TONE REMOTE), который управляет режимами базовой радиостанции GM 300 MOTOROLA с помощью тональных сигналов.

Указанную радиостанцию можно вынести на высотное здание, расположенное в непосредственной близости от подразделения вневедомственной охраны, и управлять ей по двухпроводной линии (при этом дальность радиосвязи достигает 1,5 км). В случае использования выделенной телефонной линии радиостанцию можно установить в любой точке города.

Фирма MOTOROLA выпускает следующие модификации контроллеров С 100:

- местное расположение (LOCAL CONTROL);

- дистанционное управление (DC REMOTE CONTROL) по двухпроводной линии; управляющие сигналы кодируются различными уровнями напряжения (дальность управления достигает 1,5 км);

- дистанционное управление (TONE REMOTE CONTROL) по выделенной телефонной линии; управляющие сигналы кодируются различными тональными посылками.

Контроллер С 100 обеспечивает:

- передачу;

- контроль эфира;

- переключение каналов (от 2 до 16);

- внутреннюю связь (при установке от 2 и более контроллеров С 100 в подразделении вневедомственной охраны возможна организация нескольких рабочих мест диспетчеров, работающих на одну базовую радиостанцию. При этом диспетчеры могут устанавливать радиосвязь друг с другом).

Контроллер С 100 конструктивно выполнен в виде телефонного аппарата с внутренним динамиком. Наиболее оптимальным в системе радиосвязи является применение контроллера типа TONE REMOTE. При этом дополнительно к нему необходимо подключать специальный адаптер типа L 1458, который преобразует тональные управляющие сигналы, передаваемые по выделенной (или двухпроводной) телефонной линии, в сигналы: ПЕРЕДАЧА, КОНТРОЛЬ КАНАЛА, ПЕРЕКЛЮЧЕНИЕ КАНАЛОВ и др.

В системе радиосвязи с контроллером С 100 возможно использование функций тонового или кодового подавления.

В таблице 14 приведен пример комплектации базового оборудования для системы радиосвязи с выносом базовой радиостанции.

 

 

* Переходник PL 259/miniUHF применяется в системе радиосвязи, построенной на базе оборудования фирмы MOTOROLA.

Рисунок 5 - Схема типовой системы радиосвязи подразделения вневедомственной охраны с дистанционным выносом базовой радиостанции с использованием тонового или кодового шумоподавления

Диспетчерская система радиосвязи подразделения вневедомственной охраны с выносом базовой радиостанции

Таблица 14 - Оборудование системы с базовой радиостанцией MOTOROLA

Наименование оборудования

Кол-во

Цена за ед. оборуд., у.е.

Сумма, у.е.

Пульт диспетчера С 100 (TONE REMOTE)

1

550

550

Шнур питания HKN-9402

1

12

12

Источник питания С 100

1

54

54

Адаптер L 1458

1

600

600

GM 300, 8 к, 10 ... 25 Вт, 146 ... 174 МГц

1

465

475

Источник питания RM-20M-BB ASTRON с резервным питанием - аккумулятором А 512/40 Sonnenschein, емкость 40 А · ч

1

380

380

Базовая антенна ARX-2B CUSHCRAFT, усиление 7 дБ

1

130

130

Кабель РК 50-7

30 м

2,5

75

Устройство грозозащиты LAC-4H CUSHCRAFT

1

70

70

Комплект разъемов SO 239, PL 259

1

60

60

Всего:

2426

Абонентские радиостанции (автомобильные)

GM 300 MOTOROLA

FTL 2011 VERTEX

ТК 768 KENWOOD

Абонентские радиостанции (портативные)

P 110

GM 300 MOTOROLA

VX 500 VERTEX

ТК 250 KENWOOD

6. Сервисная аппаратура

Для проверки и настройки основных параметров систем радиосвязи подразделений вневедомственной охраны: мощностей базовой, мобильных, носимых радиостанций, а также КСВ линии передачи высокочастотной энергии (коаксиального кабеля) от передающего устройства базовой радиостанции к базовой антенне, рекомендуется использовать анализаторы КСВ и мощности, например:

- YS 500 YAESU, диапазон рабочих частот 140 ... 525 МГц, измеряемый уровень мощности до 200 Вт, ориентировочная стоимость составляет 196 у.е.;

- SX 200 DIAMOND, диапазон рабочих частот 1,8 ... 200,0 МГц, измеряемый уровень мощности до 200 Вт, ориентировочная стоимость составляет 180 у.е.

Допускается применять анализаторы КСВ и мощности других фирм.

Техническим отделам УВО, ОВО при ГУВД, УВД крупных городов и областей Российской Федерации рекомендуется применять специальные приборы (сервисные мониторы, сканирующие приемники) для оценки помеховой обстановки в зоне обслуживания систем радиосвязи, а также для определения зоны устойчивой радиосвязи и загруженности эфира.

Сервисный монитор - сложный измерительный комплекс, включающий в себя:

- анализатор спектра радиосигналов;

- осциллограф;

- сканирующий приемник;

- генератор высокой частоты;

- измеритель частоты и уровня входного радиосигнала;

- измеритель мощности передатчиков и других параметров;

- измеритель КСВ;

- измеритель параметров транковых систем и т.д.

Основные фирмы-производители сервисных мониторов: HEWLETT PACKARD, ROHDE&SCHWARZ, MARCONI. Единственным монитором (из всех предлагаемых на российском рынке), имеющим Сертификат Минсвязи России, является сервисный монитор С 2945 MARCONI. Стоимость базового комплекта составляет 13000 у.е.

Сканирующие приемники выпускают фирмы: AOR, YUPITERU, ICOM и др.

Наиболее популярными моделями указанных приемников являются:

- AR 3000 AOR, диапазон рабочих частот 0,1 ... 2036,0 МГц, 400 каналов памяти, скорость сканирования 50 кан./с, внутренний интерфейс для связи с компьютером, ориентировочная стоимость составляет 1250 у.е.;

- AR 5000 AOR, диапазон рабочих частот 0,01 ... 2600,0 МГц, 1000 каналов памяти, скорость сканирования 50 кан./с, внутренний интерфейс для связи с компьютером, декодер DTMF-посылок, определение CTCSS-тонов, ориентировочная стоимость составляет 1950 у.е.

7. Официальные дистрибьюторы фирм-производителей средств радиосвязи в России

В настоящее время наибольшее количество официальных дистрибьюторов средств радиосвязи на российском рынке имеет фирма MOTOROLA (37 дистрибьюторов). Указанная фирма имеет официальное представительство в нашей стране.

Оборудование средств радиосвязи VERTEX/YAESU поставляется российскому потребителю дилерами, находящимися в Москве. Эти фирмы имеют филиалы в крупных городах Российской Федерации.

Фирма KENWOOD также имеет официальное представительство в России. Средства радиосвязи поставляются дилерами.

При приобретении средств радиосвязи для подразделений вневедомственной охраны необходимо отметить следующее:

- приобретаемое оборудование радиосвязи должно быть сертифицировано испытательными центрами Минсвязи России;

- требуемое оборудование следует приобретать только в указанных выше фирмах-производителях, имеющих развитую сеть дилеров в различных регионах Российской Федерации, что гарантирует техническое обслуживание и ремонт оборудования радиосвязи;

- иметь деловые контакты с фирмами, которые предоставляют 10 ... 15-процентную скидку для подразделений вневедомственной охраны.

Заключение

Настоящие методические указания являются первым документом по выбору импортных средств радиосвязи и построению на их базе систем радиосвязи подразделений вневедомственной охраны. В дальнейшем указания будут периодически дополняться новыми средствами радиосвязи и рекомендациями по их применению.




Rambler's Top100 Яндекс цитирования
  Copyright © 2008-2026, www.docload.ru