Бесплатная библиотека стандартов и нормативов www.docload.ru

Все документы, размещенные на этом сайте, не являются их официальным изданием и предназначены исключительно для ознакомительных целей.
Электронные копии этих документов могут распространяться без всяких ограничений. Вы можете размещать информацию с этого сайта на любом другом сайте.
Это некоммерческий сайт и здесь не продаются документы. Вы можете скачать их абсолютно бесплатно!
Содержимое сайта не нарушает чьих-либо авторских прав! Человек имеет право на информацию!

 

ГОСТ 30643-98

МЕЖГОСУДАРСТВЕННЫЙ СТАНДАРТ

 

КОНСТРУКЦИИ СТРОИТЕЛЬНЫЕ
С ТЕПЛОВОЙ ИЗОЛЯЦИЕЙ

Метод определения
санитарно-химических характеристик

 

 

МЕЖГОСУДАРСТВЕННАЯ НАУЧНО-ТЕХНИЧЕСКАЯ КОМИССИЯ
ПО СТАНДАРТИЗАЦИИ, ТЕХНИЧЕСКОМУ НОРМИРОВАНИЮ
И СЕРТИФИКАЦИИ В СТРОИТЕЛЬСТВЕ (МНТКС)

Москва

 

Предисловие

1 РАЗРАБОТАН Научно-исследовательским центром АО «Теплопроект» Российской Федерации

ВНЕСЕН Госстроем России

2 ПРИНЯТ Межгосударственной научно-технической комиссией по стандартизации, техническому нормированию и сертификации в строительстве (МНТКС) 12 ноября 1998 г.

За принятие проголосовали

Наименование государства

Наименование органа государственного управления строительством

Республика Казахстан

Комитет по делам строительства Министерства энергетики, индустрии и торговли Республики Казахстан

Кыргызская Республика

Государственная инспекция по архитектуре и строительству при Правительстве Кыргызской Республики

Республика Молдова

Министерство развития территорий, строительства и коммунального хозяйства Республики Молдова

Российская Федерация

Госстрой России

Республика Таджикистан

Комитет по делам архитектуры и строительства Республики Таджикистан

Украина

Государственный комитет строительства, архитектуры и жилищной политики Украины

3 ВВЕДЕН ВПЕРВЫЕ

4 ВВЕДЕН В ДЕЙСТВИЕ в качестве государственного стандарта Российской Федерации постановлением Госстроя России от 24 декабря 1999 г. № 90

 

Содержание

1 Область применения

2 Нормативные ссылки

3 Средства испытаний и вспомогательные устройства

4 Подготовка к испытаниям

5 Проведение испытаний

6 Обработка и оформление результатов испытаний

Приложение А

Стенд для санитарно-химических испытаний конструкций с тепловой изоляцией

Приложение Б

Форма паспорта образца изделия (модели конструкции), представляемого на испытание

Приложение В

Форма протокола испытания

Приложение Г

Библиография

 

 

МЕЖГОСУДАРСТВЕННЫЙ СТАНДАРТ

КОНСТРУКЦИИ СТРОИТЕЛЬНЫЕ С ТЕПЛОВОЙ ИЗОЛЯЦИЕЙ

Метод определения санитарно-химических характеристик

BUILDING STRUCTURES WITH THERMAL INSULATION

A method of determining sanitary and chemical charactiristics

Дата введения 2000-04-01

1 Область применения

Настоящий стандарт распространяется на ограждающие конструкции жилых, общественных и производственных зданий с теплоизоляционным слоем из изделий на основе волокнистых минеральных материалов на синтетическом связующем.

Стандарт устанавливает порядок испытания конструкций с теплоизоляционным слоем и теплоизоляционыых изделий (далее - изделий), выделяющих вредные химические летучие вещества (далее - токсичные вещества) в воздух внутри помещений.

2 Нормативные ссылки

В настоящем стандарте использованы ссылки на следующие стандарты:

ГОСТ 427-75 Линейки измерительные металлические. Технические условия

ГОСТ 745-79 Фольга алюминиевая для упаковки. Технические условия

ГОСТ 2156-76 Натрий двууглекислый. Технические условия

ГОСТ 6709-72 Вода дистиллированная. Технические условия

ГОСТ 7995-80 Краны соединительные стеклянные. Технические условия

ГОСТ 17177-94 Материалы и изделия строительные теплоизоляционные. Методы испытаний

ГОСТ 23932-90 Посуда и оборудование лабораторные стеклянные. Общие технические условия

ГОСТ 24104-88 Весы лабораторные общего назначения и образцовые. Общие технические условия

3 Средства испытаний и вспомогательные устройства

Испытательная герметичная камера с объемом рабочего пространства 0,025 м3, облицованная внутри материалом с низкой сорбционной способностью (нержавеющая сталь, стекло, эмаль), для образцов изделий.

Испытательный стенд с испытательной камерой с объемом рабочего пространства не менее 0,5 м3 для конструкций (приложение А). Допускается использование другого испытательного оборудования при условии соблюдения требований настоящего стандарта.

Термостат воздушный для поддержания требуемого температурного режима испытаний: (23±2) или (40±2) °С.

Аспирационное устройство с расходомером (электроаспиратор) типа ЭА-1 для определения объема прокачиваемого воздуха.

Поглотительные сосуды Рихтера с пористой пластинкой.

Хроматографы, спектрофотометры, электрофотоколориметры для определения содержания токсичного вещества в отработанной пробе воздуха (выбирают в зависимости от вида определяемого токсичного вещества).

Весы аналитические по ГОСТ 24104 с погрешностью взвешивания ±0,0005 г.

Весы лабораторные с погрешностью взвешивания ± 0,02 г.

Шкаф сушильный, обеспечивающий температуру нагрева не менее (115±5) °С.

Барометр-анероид по действующему нормативному документу.

Линейка металлическая по ГОСТ 427.

Секундомер с ценой деления секундной шкалы 0,2 с.

Трубки из молибденового стекла по ГОСТ 23932.

Краны соединительные стеклянные по ГОСТ 7995.

Фольга алюминиевая по ГОСТ 745.

Клей силикатный.

Психрометр или другой прибор для контроля за температурой и влажностью воздуха в помещении.

Натрий двууглекислый по ГОСТ 2156.

Вода дистиллированная по ГОСТ 6709.

Поглотительные растворы, приборы, приспособления, инструменты, посуда, химические реактивы для проведения анализа проб воздуха должны соответствовать требованиям, изложенным в соответствующей методике, утвержденной органами санитарно-эпидемиологического надзора и выбранной в каждом конкретном случае для проведения химического анализа (приложение Г).

4 Подготовка к испытаниям

4.1 Испытания проводят в помещении с относительной влажностью воздуха (45±15) % и температурой воздуха (23±2) °С.

4.2 Перед началом каждого испытания определяют фоновую составляющую токсичного вещества в воздухе помещения, где расположена испытательная камера (для изделий) или испытательный стенд (для конструкций).

4.3 Перед каждым испытанием внутреннюю поверхность испытательных камер тщательно моют однопроцентным водным раствором двууглекислого натрия, ополаскивают дистиллированной водой и высушивают.

4.4 Отбор изделий со склада готовой продукции изготовителя

4.4.1 От партии теплоизоляционных изделий, находящейся на складе и принятой отделом технического контроля, отбирают случайным образом пять изделий. Из середины каждого изделия вырезают по одному образцу размером [(500´500) ±5] мм.

4.4.2 Каждый образец упаковывают в полиэтиленовый пакет и направляют в специализированную организацию для проведения испытаний.

Примечание - Из изделий, имеющих декоративное или защитное покрытие, образцы вырезают без нарушения покрытия.

4.4.3 Образцы изделий, представляемые на испытание, должны иметь паспорт, в котором указывают полную характеристику изделия (приложение Б).

4.5 Подготовка образцов изделий

4.5.1 В каждом образце, вырезанном по 4.4.1, определяют содержание связующего по ГОСТ 17177 без учета декоративного или защитного слоя.

Содержание связующего должно соответствовать требованиям нормативного документа на изделие.

4.5.2 Из середины каждого образца размером [(500´500)±5] мм вырезают по одному образцу размером [(100´100)±5] для изделий, предназначенных для производственных зданий (насыщенность тепловой изоляции - 0,4 м23), и размером [(70´70)±5] - для жилых и общественных зданий (насыщенность тепловой изоляции - 0,2 м23).

4.5.3 Образцы с тыльной стороны и торцов с помощью силикатного клея обклеивают алюминиевой фольгой, которую предварительно обезжиривают и сушат при температуре 180-200 °С в течение 1 ч.

4.5.4 Подготовленные к испытанию образцы в неупакованном виде выдерживают на стеллаже в течение суток в помещении при температуре (23±2) °С и относительной влажности воздуха (45±15) %.

4.5.5 Установку для проведения испытаний теплоизоляционных изделий собирают в соответствии со схемой, приведенной на рисунке 1.

1 - воздушный термостат; 2 - образец теплоизоляционного изделия; 3 - герметичная испытательная камера; 4, 5 - вакуумные краны; 6 - поглотительные сосуды; 7 - поглотительная жидкость; 8 - аспиратор

Рисунок 1 - Схема установки для моделирования условий эксплуатации и отбора проб воздуха из объема испытательной камеры

4.6 Подготовка модели конструкции

4.6.1 Модель конструкции изготавливают на основании проекта или принципиальной схемы ограждения (при отсутствии проекта) в соответствии с требованиями приложения А. Модель должна соответствовать размеру проема испытательной камеры и повторять ту часть реальной или проектируемой конструкции, которая обращена внутрь помещения.

4.6.2 Модель конструкции выдерживают до начала испытаний в проветриваемом помещении при температуре испытания (23±2) или (40±2) °С и относительной влажности воздуха (45±15) %.

4.6.3 Модель конструкции устанавливают на испытательном стенде за сутки до начала испытаний.

4.6.4 Насыщенность тепловой изоляции в испытательной камере (отношение площади поверхности теплоизоляционного слоя, обращенной внутрь камеры, к объему камеры) для испытания модели конструкции должна быть не менее, м23:

0,4 - для производственных зданий;

0,2 - для жилых и общественных зданий.

4.6.5 Подготовка стенда для испытания модели конструкции включает:

- герметизацию объема испытательной камеры и ее проверку с помощью У-образного манометра, подсоединяемого к входному патрубку, и электроаспиратора, подключенного к патрубку отбора проб. При выключении электроаспиратора манометр должен фиксировать устойчивое разряжение в камере;

- проверку (после герметизации объема испытательной камеры) работоспособности системы вентиляции, контроля температуры и нагревательных систем.

5 Проведение испытаний

5.1 Проведение испытания образцов изделий

5.1.1 Теплоизоляционные изделия испытывают не ранее двух месяцев с момента их изготовления.

5.1.2 Образец изделия 2 (рисунок 1) помещают в испытательную камеру 3, которую устанавливают в свою очередь в воздушный термостат 1.

При наличии термостатированной испытательной камеры необходимость использования термостата отпадает.

5.1.3 Испытательную камеру выдерживают в термостате в течение суток при температуре (23±2) или (40±2) °С в зависимости от температурного режима эксплуатации конструкции.

5.1.4 По истечении суток испытательную камеру охлаждают до комнатной температуры, открывают краны 4 и 5 и из объема камеры через поглотительные сосуды 6 с поглотительной жидкостью 7 с помощью аспиратора 8 протягивают расчетный объем воздуха, приведенный в соответствующей методике.

5.1.5 Во время протягивания воздуха через поглотительные сосуды измеряют температуру и влажность воздуха в помещении, а также давление атмосферного воздуха.

5.1.6 Концентрацию определяемого токсичного вещества в воздухе испытательной камеры определяют по методикам, приведенным в приложении Г.

5.1.7 Пробы воздуха анализируют в день их отбора.

5.2 Проведение испытания модели конструкции

5.2.1 Испытание модели конструкции проводят два раза: первое испытание - не ранее трех месяцев с момента изготовления теплоизоляционного изделия, повторное - через три месяца с момента изготовления конструкции.

Повторное испытание модели конструкции следует проводить, если при первом испытании был получен отрицательный результат.

5.2.2 Модель конструкции испытывают в тех случаях, когда выделение токсичных веществ из теплоизоляционного изделия превышает ПДК для атмосферного воздуха населенных мест (воздуха жилых помещений).

5.2.3 Первый отбор проб газовоздушной смеси из испытательной камеры проводят через сутки с момента стабилизации параметров воздуха в камере. В дальнейшем отборы проб повторяют через каждые 24 ч до момента установления постоянной концентрации определяемых токсичных веществ в воздухе камеры.

5.2.4 При отборе проб газовоздушной смеси из испытательной камеры измеряют температуру и влажность воздуха в помещении, а также давление атмосферного воздуха.

5.2.5 Испытания при температуре +40 °С проводят аналогично испытаниям при нормальной температуре (+23 °С), при этом температуру воздуха внутри камеры и среднюю температуру теплоизоляционного слоя повышают до указанной величины при помощи нагревателей 9 и 15 (рисунок А.1).

5.2.6 После достижения температуры +40 °С модель конструкции выдерживают на стенде в течение суток.

5.2.7 Отбор проб газовоздушной смеси из испытательной камеры необходимо производить после отключения всех нагревателей и понижения температуры воздуха в камере до +23 °С.

5.2.8 Концентрацию токсичных веществ в пробе газовоздушной смеси определяют по методикам, перечень которых приведен в приложении Г.

5.2.9 По окончании испытания модель снимается со стенда и вновь помещается в проветриваемое помещение.

6 Обработка и оформление результатов испытаний

6.1 За результат определения содержания токсичного вещества в воздухе испытательной камеры принимают среднеарифметическое значение двух параллельных определений.

6.2 Фактическое значение концентрации токсичного вещества, выделяемого в воздух испытательной камеры образцом изделия или моделью конструкции, определяют как разность между концентрацией, определенной в процессе испытаний, и фоновой составляющей.

6.3 Результаты испытаний должны быть оформлены протоколом, форма которого приведена в приложении В.

 

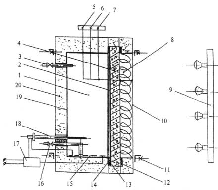
ПРИЛОЖЕНИЕ А

(обязательное)

Стенд для санитарно-химических испытаний конструкций
с тепловой изоляцией

Стенд для санитарно-химических испытаний строительных конструкций с тепловой изоляцией состоит из испытательной камеры, системы стягивающих устройств и системы контроля и поддержания заданного температурного режима и отбора проб газов. Принципиальная схема стенда приведена на рис. А.1.

1 - испытательная камера; 2 - диафрагма; 3 - патрубок (штуцер) для отбора проб; 4 - железобетонная плита; 5 - 17, 18 - датчики температуры; 8 - теплоизоляционный слой модели; 9 - источник инфракрасного излучения; 10 - покрывающий короб; 11 - болтовые стяжки; 12 - фланец и резиновая прокладка покрывающего короба; 13 - резиновый уплотнитель камеры; 14 - фланец испытательной камеры; 15 - плоский электронагреватель; 16 - входной патрубок (штуцер); 17 - блок регулирования нагрева испытательной камеры; 19 - корпус испытательной камеры; 20 - тепловая изоляция камеры;

Рисунок А.1 - Принципиальная схема стенда для санитарно-химических испытаний конструкций с тепловой изоляцией

Испытательная камера 1 представляет собой емкость объемом не менее 0,5 м3, выполненную из химически нейтрального материала (нержавеющая сталь, сталь с эмалевым покрытием), снабженную тепловой изоляцией 20 и электрическим нагревателем 15, позволяющим поддерживать внутри камеры требуемый температурный режим.

В корпусе камеры предусмотрены места ввода датчиков температуры 5-7, 18, электропитания нагревателя и штуцеров для отбора проб воздуха 3, 16.

Лицевая сторона камеры имеет открытый проем со специально предусмотренным фланцем 14. По площади проема камера контактирует с моделью исследуемой конструкции. Объем камеры после установки модели герметизируют при помощи фланца 14, резинового уплотнителя 13 и болтовых стяжек 11.

В качестве испытываемой модели приведена конструкция, состоящая из железобетонной плиты 4 толщиной 50 мм и теплоизоляционного слоя из минеральной плиты 8.

Для избежания контакта минераловатной плиты с окружающей средой и создания нежелательного фона в помещении плиту помещают в металлический короб, имеющий по периметру отбортовку (фланец) и герметизирующую его объем резиновую прокладку 12.

Торцы модели конструкции гидро- и теплоизолируются.

Требуемую температуру минераловатной плиты поддерживают за счет источника инфракрасного излучения 9, расположенного за покрывающим коробом модели и обеспечивающего равномерность теплового потока, плавность регулирования его величины и малую тепловую инерцию источника.

В камерах емкостью менее 1 м3 требуемая насыщенность тепловой изоляции создается за счет применения металлических диафрагм (алюминиевая фольга), приклеиваемых на поверхность модели, обращенную внутрь испытательной камеры (рисунок А.1).

 

ПРИЛОЖЕНИЕ Б

(рекомендуемое)

Форма паспорта образца изделия (модели конструкции),
представляемого на испытание

______________________________________________________________________

(наименование образца изделия (модели конструкции))

Наименование и адрес изготовителя (заказчика) ____________________________

Дата изготовления и номер партии _______________________________________

Наименование нормативного документа на продукцию ______________________

Размер образца (модели конструкции) ____________________________________

Изделия (модель конструкции) изготовлены с применением следующих материалов:

 

Наименование материала

Нормативный документ
на материал

Содержание материала, %

 

 

 

 

 

 

 

Технология изготовления и температура тепловой обработки изделия _________

______________________________________________________________________

 

 

 

 

Руководитель изготовителя (заказчика)

__________________________________

(подпись)

 

 

Ответственное лицо за связь
c испытательной лабораторией

 

__________________________________

(подпись)

 

 

ПРИЛОЖЕНИЕ В

(рекомендуемое)

Форма протокола испытания

Протокол №

______________________________________________________________________

(наименование аккредитованной испытательной лаборатории)

______________________________________________________________________

(вид испытания)

______________________________________________________________________

(наименование испытываемых образцов изделий (модели конструкций))

1. Предприятие-изготовитель ____________________________________________

2 Дата изготовления и отбора образцов ___________________________________

3 Основание для проведения испытания ___________________________________

(номер

______________________________________________________________________

и дата письма (договора) заказчика)

4 Характеристика образцов изделий (модели конструкций) ___________________

______________________________________________________________________

______________________________________________________________________

5 Условия проведения испытания ________________________________________

(температура и относительная

______________________________________________________________________

влажность воздуха в камере, насыщенность, воздухообмен)

 

Определяемое вещество

Концентрация данного вещества в воздухе испытательной камеры, мг/м3

ПДК для атмосферного воздуха населенных мест,
мг/м3

Первое испытание, °С

Второе испытание, °С

23

40

23

40

 

 

 

 

 

 

 

Заключение ___________________________________________________________

______________________________________________________________________

Исполнители __________________________________________________________

(должность, подпись)

 

 

ПРИЛОЖЕНИЕ Г

Библиография

1 Методика определения формальдегида с ацетилацетоновым реактивом: Утв. зам. Гл. гос. санитарного врача СССР 31.05.85 г. № 3900-85

2 Методика определения фенола по реакции с паранитроанилином. Колориметрический метод. Руководство по контролю загрязнения атмосферы: Утв. Гл. гос. санитарным врачом СССР и Госкомитетом по гидрометеорологии и контролю природной среды. - Л.: Гидрометеоиздат, 1979

3 Методические указания на определение вредных веществ в воздухе. - Выпуск XIII. - М.: ЦРИА, Морфлот, 1979

4 Сборник методик по определению концентрации загрязняющих веществ в промышленных выбросах. - Л.: Гидрометеоиздат, 1987

 

 

Ключевые слова: строительная конструкция, теплоизоляционные изделия, испытания, токсичные вещества

 




Rambler's Top100 Яндекс цитирования
  Copyright © 2008-2026, www.docload.ru