|
ГОСТ Р 51330.0-99(МЭК 60079-0-98) ГОСУДАРСТВЕННЫЙ СТАНДАРТ РОССИЙСКОЙ ФЕДЕРАЦИИ ЭЛЕКТРООБОРУДОВАНИЕ ВЗРЫВОЗАЩИЩЕННОЕ Часть 0 Общие требования ГОССТАНДАРТ РОССИИ Москва Предисловие 1 РАЗРАБОТАН
негосударственным фондом «Межотраслевой орган сертификации «Сертиум» (МОС
«Сертиум») ВНЕСЕН Техническим комитетом по
стандартизации ТК 403 «Взрывозащищенное и рудничное электрооборудование» 2 ПРИНЯТ И ВВЕДЕН В ДЕЙСТВИЕ
Постановлением Госстандарта России 9 декабря 1999г.№ 491-ст 3 Настоящий стандарт представляет собой аутентичный текст международного стандарта МЭК 60079-0-98 «Электрооборудование взрывозащищенное. Часть 0. Общие требования» с дополнительными требованиями, отражающими потребности экономики страны 4 ВВЕДЕН ВПЕРВЫЕ СОДЕРЖАНИЕВведение Настоящий стандарт является основополагающим в комплексе государственных стандартов на взрывозащищенное электрооборудование, разрабатываемых на основе применения международных стандартов ТК 31 МЭК «Электрооборудование для взрывоопасных газовых сред». В данном стандарте,
разработанном на основе МЭК 60079-0-98, изложены общие технические требования и
методы испытаний взрывозащищенного электрооборудования независимо от
реализованных в нем видов взрывозащиты, за исключением пунктов, действие
которых ограничено в стандартах на взрывозащиту конкретных видов. ГОСУДАРСТВЕННЫЙ СТАНДАРТ РОССИЙСКОЙ ФЕДЕРАЦИИ
Дата
введения 2001-01-01 1 Область примененияНастоящий стандарт
распространяется на взрывозащищенные изделия, охватываемые деятельностью
Международной электротехнической комиссии: взрывозащищенные изделия
электротехнические и приборостроения, изделия для обеспечения информационных
технологий и другие (далее - взрывозащищенное электрооборудование
(электрооборудование). Стандарт устанавливает общие
требования по конструированию, испытанию и маркировке взрывозащищенного
электрооборудования, Ех-кабельных вводов, Ex-компонентов взрывозащищенного
электрооборудования, предназначенных для использования во взрывоопасных средах
газа, пара или тумана. Настоящий стандарт
устанавливает требования безопасности электрооборудования, непосредственно
связанного с опасностью воспламенения окружающей его взрывоопасной среды. Стандарт дополняется или
изменяется стандартами на взрывозащиту конкретных видов: - взрывонепроницаемая
оболочка («d»); - заполнение или продувка
оболочки под избыточным давлением («р»); - кварцевое заполнение
оболочки («q»); - масляное заполнение
оболочки («о»); - защита вида «е»; - искробезопасная
электрическая цепь («i»); - герметизация компаундом («m»); - защита вида «n»; - специальный вид
взрывозащиты «s». Настоящий стандарт и
стандарты на взрывозащиту электрооборудования конкретных видов не
распространяются на электрические медицинские изделия, взрывные приборы,
приборы для проверки электродетонаторов и взрывных цепей. Требования настоящего
стандарта являются обязательными. Дополнительные требования, а
также требования, отличающиеся от требований МЭК 60079-0-98, отражающие
потребности экономики страны, выделены в тексте курсивом. 2 Нормативные ссылкиВ настоящем стандарте
использованы ссылки на следующие стандарты: ГОСТ
9.030-74 Единая система защиты от коррозии и старения. Резины. Методы
испытаний на стойкость в ненапряженном состоянии к воздействию жидких
агрессивных сред ГОСТ
12.1.018-93 Система стандартов безопасности труда. Пожаровзрывобезопасность
статического электричества. Общие требования ГОСТ
12.1.044-89 Система стандартов безопасности труда. Пожаровзрывобезопасность
веществ и материалов. Номенклатура показателей и методы их определения ГОСТ
12.2.007.0-75 Система стандартов безопасности труда. Изделия
электротехнические. Общие требования безопасности ГОСТ
12.2.007.1-75 Система стандартов безопасности труда. Машины электрические
вращающиеся. Требования безопасности ГОСТ
12.2.007.2-75 Система стандартов безопасности труда. Трансформаторы силовые
и реакторы электрические. Требования безопасности ГОСТ
12.2.007.3-75 Система стандартов безопасности труда. Электротехнические
устройства на напряжение свыше 1000 В. Требования безопасности ГОСТ
12.2.007.4-75 Система стандартов безопасности труда. Шкафы комплектных
распределительных устройств и комплектных трансформаторных подстанций.
Требования безопасности ГОСТ
12.2.007.5-75 Система стандартов безопасности труда. Конденсаторы силовые.
Установки конденсаторные. Требования безопасности ГОСТ
12.2.007.6-75 Система стандартов безопасности труда. Аппараты электрические
коммутационные на напряжение до 1000 В. Требования безопасности ГОСТ
12.2.007.8-75 Система стандартов безопасности труда. Устройства
электросварочные и для плазменной обработки. Требования безопасности ГОСТ
12.2.007.9-93 Система стандартов безопасности труда. Безопасность
электротермического оборудования. Часть 1. Общие требования ГОСТ
12.2.007.9.8-89 (МЭК 60519-8-85) Система стандартов безопасности труда.
Оборудование электротермическое. Печи электрошлакового переплава. Требования
безопасности ГОСТ
12.2.007.10-87 Система стандартов безопасности труда. Установки, генераторы
и нагреватели индукционные для электротермии, установки и генераторы
ультразвуковые. Требования безопасности ГОСТ
12.2.007.11-75 Система стандартов безопасности труда. Преобразователи
электроэнергии полупроводниковые. Требования безопасности ГОСТ
12.2.007.12-88 Система стандартов безопасности труда. Источники тока
химические. Требования безопасности ГОСТ 12.2.007.13-88
Система стандартов безопасности труда. Лампы электрические. Требования
безопасности ГОСТ
12.2.007.14-75 Система стандартов безопасности труда. Кабели и кабельная арматура.
Требования безопасности ГОСТ
1481-84 Винты установочные с шестигранной головкой и цилиндрическим концом
классов точности А и В. Конструкция и размеры ГОСТ 4647-80
Пластмассы. Метод определения ударной вязкости по Шарпи ГОСТ 4648-71
Пластмассы. Метод испытания на статический изгиб ГОСТ 11284-75
Отверстия сквозные под крепежные детали. Размеры ГОСТ
11738-84 (ИСО 4762-77) Винты с цилиндрической головкой и шестигранным
углублением «под ключ» класса точности А. Конструкция и размеры ГОСТ 14254-96
(МЭК 529-89) Степени защиты, обеспечиваемые оболочками (код IP) ГОСТ
15150-69 Машины, приборы и другие технические изделия. Исполнения для
различных климатических районов. Категории, условия эксплуатации, хранения и
транспортирования в части воздействия климатических факторов внешней среды ГОСТ
15543.1-89 Изделия электротехнические. Общие требования в части стойкости к
климатическим внешним воздействующим факторам ГОСТ
16093-2004 (ИСО 965-1:1998, ИСО 965-3:1998) Основные нормы
взаимозаменяемости. Резьба метрическая. Допуски. Посадки с зазором ГОСТ
17494-87 (МЭК 34-5-87) Машины электрические вращающиеся. Классификация
степеней защиты, обеспечиваемых оболочками, вращающихся электрических машин ГОСТ
18311-80 Изделия электротехнические. Термины и определения основных понятий ГОСТ
20403-75 Резина. Метод определения твердости в международных единицах (от
30 до 100 IRHD) ГОСТ
21130-75 Изделия электротехнические. Зажимы заземляющие и знаки заземления.
Конструкция и размеры ГОСТ 21207-81
Пластмассы. Метод определения воспламеняемости ГОСТ
21341-75 Пластмассы и эбонит. Метод определения теплостойкости по Мартенсу ГОСТ
24786-81 Приборы световые рудничные взрывозащищенные. Общие технические
условия ГОСТ
28964-91 (ИСО 4029-93) Винты установочные с шестигранным углублением и
засверленным конусом. Технические условия ГОСТ
Р 51330.2-99 (МЭК 60079.1А-75) Электрооборудование взрывозащищенное. Часть
1. Взрывозащита вида «взрывонепроницаемая оболочка. Дополнение 1. Приложение D.
Метод определения безопасного экспериментального максимального зазора» ГОСТ
Р 51330.5-99 (МЭК 60079-4-75) Электрооборудование взрывозащищенное. Часть 4.
Метод определения температуры самовоспламенения ГОСТ
Р 51330.18-99 (МЭК 60079-19-93) Электрооборудование взрывозащищенное. Часть
19. Ремонт и проверка электрооборудования, используемого во взрывоопасных
газовых средах (кроме подземных выработок или применений, связанных с
переработкой и производством взрывчатых веществ) ГОСТ
Р 51330.19-99 (МЭК 60079-20-96) Электрооборудование взрывозащищенное. Часть
20. Данные по горючим газам и парам, относящиеся к эксплуатации
электрооборудования ГОСТ Р 51330.20-99 Электрооборудование рудничное. Изоляция, пути утечки и электрические зазоры. Технические требования и методы испытаний ГОСТ
5915-70 Гайки шестигранные класса точности В. Конструкция и размеры ГОСТ
5927-70 Гайки шестигранные класса точности А. Конструкция и размеры ГОСТ
7795-70 Болты с шестигранной уменьшенной головкой и направляющим
подголовком класса точности В. Конструкция и размеры ГОСТ
7796-70 Болты с шестигранной уменьшенной головкой класса точности В.
Конструкция и размеры ГОСТ
7798-70 Болты с шестигранной головкой класса точности В. Конструкция и
размеры ГОСТ
7805-70 Болты с шестигранной головкой класса точности А. Конструкция и размеры ГОСТ
8724-2002 (ИСО 261-98) Основные нормы взаимозаменяемости. Резьба
метрическая. Диаметры и шаги ГОСТ
8878-93 (ИСО 4027- 77) Винты установочные с коническим концом и
шестигранным углублением «под ключ» классов точности А и В. Технические условия ГОСТ
11074-93 (ИСО 4026-77) Винты установочные с плоским концом и шестигранным
углублением «под ключ» классов точности Аи В. Технические условия ГОСТ
11075-93 (ИСО 4028-77) Винты установочные с цилиндрическим концом и
шестигранным углублением «под ключ» классов точности А и В. Технические условия ГОСТ 11262-80
Пластмассы. Метод испытания на растяжение ГОСТ
24032-80 Приборы шахтные газоаналитические. Общие технические требования.
Методы испытаний ГОСТ
25347-82 Основные нормы взаимозаменяемости ЕСДП. Поля допусков и
рекомендуемые посадки (Измененная
редакция. Изм.
№ 1) 3 ОпределенияВ настоящем стандарте
применяют следующие термины с соответствующими определениями: 3.1 взрывозащищенное
электрооборудование: По ГОСТ
18311. 3.2 потенциально
взрывоопасная газовая среда (атмосфера): Газовая среда (атмосфера),
способная стать взрывчатой (опасность существует в потенциальном виде). 3.3 взрывоопасная газовая
среда (атмосфера): Смесь с воздухом, при атмосферных условиях, горючих
веществ в виде газа, пара или тумана, горение в которой после начала
воспламенения распространяется на весь объем взрывоопасной смеси. 3.4 взрывоопасная
испытательная смесь: Регламентированная нормативными документами
взрывоопасная смесь, используемая при испытаниях взрывозащищенного
электрооборудования. 3.5 температура
самовоспламенения взрывоопасной газовой среды: Наименьшая температура
нагретой поверхности, которая при предписанных ГОСТ
Р 51330.5 условиях воспламеняет горючие вещества в виде газа или пара в
смеси с воздухом. 3.6 эксплуатационная
температура: Температура, возникающая в частях электрооборудования при
эксплуатации его в нормальном режиме. 3.7 максимальная
эксплуатационная температура: Наибольшее значение эксплуатационной
температуры. Примечание - Электрооборудование в разных частях может иметь различные значения эксплуатационных температур. 3.8 максимальная
температура поверхности: Наибольшая температура, возникающая в процессе
эксплуатации при наиболее неблагоприятных условиях (но в пределах
регламентированных отклонений) на любой части или поверхности
электрооборудования, которая не может привести к воспламенению окружающей
взрывоопасной газовой среды. (Измененная
редакция. Изм.
№ 1) Примечания1 Изготовитель должен указывать в технических условиях на электрооборудование, а также в технической документации на конкретную конструкцию электрооборудования, каким образом учтены: - возможные аварийные режимы, указываемые в стандартах на примененные виды взрывозащиты; - эксплуатационные условия, установленные стандартом, относящимся к данной конструкции электрооборудования, включая условия работы в ненормальном режиме; - особые условия эксплуатации, установленные изготовителем. 2 Соответствующая температура, относящаяся к любой части или поверхности электрооборудования, может быть внутренней или наружной, в зависимости от примененного вида взрывозащиты. 3.9 оболочка:
Совокупность стенок, дверей, крышек, кабельных вводов, тяг, валиков управления,
валов и т. п. частей, которые содействуют обеспечению вида взрывозащиты и (или)
степени защиты IP электрооборудования. 3.10 вид взрывозащиты Специальные меры,
предусмотренные в электрооборудовании с целью предотвращения воспламенения
окружающей взрывоопасной газовой среды; совокупность средств взрывозащиты
электрооборудования, установленная нормативными документами. 3.10.1 средство
взрывозащиты электрооборудования: Конструктивное и (или) схемное решение
для обеспечения взрывозащиты электрооборудования. 3.10.2 уровень
взрывозащиты электрооборудования: Степень взрывозащиты электрооборудования
при установленных нормативными документами условиях. 3.10.3 электрооборудование
повышенной надежности против взрыва: Взрывозащищенное электрооборудование,
в котором взрывозащита обеспечивается только в признанном нормальном режиме его
работы. Примечание - Признанный нормальный режим работы электрооборудования приведен, где это необходимо, в стандартах на виды взрывозащиты электрооборудования. 3.10.4 взрывобезопасное
электрооборудование: Взрывозащищенное электрооборудование, в котором
взрывозащита обеспечивается как при нормальном режиме работы, так и при
признанных вероятных повреждениях, определяемых условиями эксплуатации, кроме
повреждений средств взрывозащиты. Примечание - Признанные вероятные повреждения электрооборудования приведены, где это необходимо, в стандартах на виды взрывозащиты электрооборудования. 3.10.5 особовзрывобезопасное
электрооборудование: Взрывозащищенное электрооборудование, в котором по
отношению к взрывобезопасному электрооборудованию приняты дополнительные
средства взрывозащиты, предусмотренные стандартами на виды взрывозащиты. 3.10.6 рудничное
электрооборудование: По ГОСТ
18311. 3.10.7 рудничное
электрооборудование повышенной надежности против взрыва: По ГОСТ
18311. 3.10.8 рудничное взрывобезопасное
электрооборудование: По ГОСТ
18311. (Измененная
редакция. Изм.
№ 1) 3.10.9 рудничное
особовзрывобезопасное электрооборудование: По ГОСТ
18311. 3.10.10 специальный вид
взрывозащиты электрооборудования: Вид взрывозащиты электрооборудования,
основанный на принципах, признанных достаточными для обеспечения взрывозащиты 3.10.11 трудногорючий
материал: По ГОСТ 12.1.044. 3.11 степень защиты IP: По ГОСТ 14254. Цифровые обозначения после
кода IP в соответствии с ГОСТ 14254 характеризуют: - защиту персонала от
прикосновения или доступа к находящимся под напряжением или движущимся частям
(за исключением гладких вращающихся валов и т. п.), расположенным внутри
оболочки; - защиту электрооборудования
от проникновения в него твердых посторонних тел; - защиту электрооборудования
от вредного проникновения воды. Примечание - Оболочка, обеспечивающая защиту электрооборудования в соответствии с ГОСТ 14254, не обязательно идентична оболочке электрооборудования для видов взрывозащиты, перечисленных в разделе 1. 3.12 номинальный
параметр: По ГОСТ
18311. 3.13 номинальный режим
работы: По ГОСТ
18311. 3.14 кабельный ввод: Устройство, позволяющее ввести в электрооборудование один
или несколько электрических и (или) оптоволоконных кабелей или проводов таким
образом, чтобы обеспечивался соответствующий вид взрывозащиты. (Измененная
редакция. Изм.
№ 1) 3.15 Ех-кабельный ввод:
Ввод, устанавливаемый на оболочке при монтаже электрооборудования. Примечание - Ех-кабельный ввод рассматривают как самостоятельное изделие, его испытания и сертификация на соответствие требованиям по взрывозащите проводят отдельно от электрооборудования, на котором он устанавливается. 3.16 трубный ввод:
Элемент трубопровода, обеспечивающий соответствующий вид взрывозащиты
электрооборудования. 3.17 нажимной элемент
кабельного ввода: Элемент кабельного ввода, воздействующий на
уплотнительное кольцо и обеспечивающий возможность полного выполнения этим
кольцом его функции. 3.18 элемент крепления кабеля
в кабельном вводе: Элемент кабельного ввода, предотвращающий передачу на
жилы и контактные зажимы усилий, возникающих при растягивающих или скручивающих
нагрузках на кабель. (Измененная
редакция. Изм.
№ 1) 3.19 уплотнительное кольцо: Кольцо, используемое в
кабельном или трубном вводе для уплотнения кабеля или трубопровода. 3.20 вводное устройство:
Обособленное устройство в электрооборудовании или единая конструктивная часть
электрооборудования, содержащее(щая) соединительные контактные зажимы для
присоединения внешних кабелей (проводов). 3.21 соединительные
контактные зажимы: Зажимы, винты и другие элементы в электрооборудовании,
используемые для электрического присоединения кабелей (проводников) внешних
цепей. 3.22 проходной изолятор:
Изолирующее устройство, обеспечивающее прохождение одного или нескольких
проводников через внутреннюю или наружную стенку оболочки. 3.23 Ex-компонент:
Часть взрывозащищенного электрооборудования, которую отдельно во взрывоопасной
среде не используют; при встраивании во взрывозащищенное электрооборудование
Ex-компонентов в обязательном порядке требуется подтверждение соответствия их
взрывозащитных свойств требованиям нормативных документов. 3.24 знак X: Знак,
используемый в качестве дополнения к маркировке взрывозащиты для
указания на специальные условия безопасного применения электрооборудования. 3.25 знак U: Знак,
используемый в качестве дополнения к маркировке взрывозащиты для
указания Ex-компонента. Примечание - Знаки Х и U не следует применять вместе. 4 Классификация электрооборудования по группам и температурным классам4.1 Взрывозащищенное
электрооборудование подразделяют на следующие группы: I - рудничное
взрывозащищенное электрооборудование, предназначенное для применения в
подземных выработках шахт, рудников и в их наземных строениях, опасных
по рудничному газу и/или горючей пыли; II - взрывозащищенное
электрооборудование для внутренней и наружной установки, предназначенное
для потенциально взрывоопасных сред, кроме подземных выработок шахт и рудников
и их наземных строений, опасных по рудничному газу и/или пыли. Электрооборудование,
предназначенное для шахт и рудников, атмосфера которых может содержать, в
дополнение к метану, примеси других горючих газов, должно конструироваться и
испытываться по требованиям, установленным для группы I, а также для той
подгруппы группы II, которая соответствует другим горючим газам. Это
электрооборудование должно затем соответствующим образом маркироваться
(например, PВExdI/1ExdIIBT3 или РВExdI/1ExdII(NH3). 4.2 Электрооборудование
группы II может подразделяться на подгруппы в соответствии с категорией
взрывоопасности смеси, для которой оно предназначено. 4.2.1 В случае видов
взрывозащиты «взрывонепроницаемая оболочка d и «искробезопасная
электрическая цепь i» электрооборудование группы
II подразделяют на подгруппы IIА, IIB и IIС, как это предусмотрено в
конкретных стандартах на взрывозащиту упомянутых видов. Примечания1 Это подразделение базируется на безопасном экспериментальном максимальном зазоре (БЭМЗ) оболочек или минимальном токе воспламенения (МТВ) для электрооборудования с искробезопасными цепями (см. приложение А). 2 Электрооборудование, промаркированное как IIВ, пригодно также для применения там, где требуется электрооборудование подгруппы IIА. Подобным образом, электрооборудование, имеющее маркировку IIС, пригодно также для применения там, где требуется электрооборудование подгруппы IIА или IIB. 4.2.2 Для взрывозащиты всех видов
электрооборудование группы II должно иметь маркировку в
зависимости от максимальной температуры поверхности оболочки или элементов (в
зависимости от вида взрывозащиты) в соответствии с 5.1.2. 4.3 Электрооборудование
может быть испытано с целью его использования в конкретной взрывоопасной
газовой среде. В этом случае оно должно быть соответственно промаркировано. 4.4 Взрывозащищенное
электрооборудование групп I и II в зависимости от уровня взрывозащиты
подразделяют на: - электрооборудование
повышенной надежности против взрыва; - взрывобезопасное
электрооборудование; - особовзрывобезопасное
электрооборудование. 4.5 Если в состав
электрооборудования входят элементы с различным уровнем взрывозащиты, то общий
уровень взрывозащиты электрооборудования должен устанавливаться по элементу,
имеющему наиболее низкий уровень. Примечание - Это требование не распространяется на системы, в состав которых могут входить изделия с различными уровнями взрывозащиты. 5 Температуры5.1 Максимальная температура
поверхности 5.1.1 Для электрооборудования
группы I максимальная температура поверхности должна быть четко оговорена в
соответствующей документации согласно 23.2. Эта температура не должна
превышать: 150 °С в случае поверхностей, на которых возможно
отложение угольной пыли в виде слоя; 450 °С, если исключено
отложение угольной пыли в виде слоя (например, благодаря герметизации или
вентиляции), при следующих условиях: a) фактическую максимальную
температуру маркируют на оборудовании, или b) после маркировки
взрывозащиты указывают знак Х для того, чтобы показать необходимость соблюдения
безопасных условий эксплуатации. (Измененная
редакция. Изм.
№ 1) Примечание - Потребитель при выборе электрооборудования группы I должен учесть влияние и температуру тления угольной пыли, если она может отлагаться в виде слоя на поверхностях температурой св. 150 °С. 5.1.2 Электрооборудование группы II
классифицируют и маркируют согласно 27.2f,
при этом оно должно быть: - классифицировано,
предпочтительно, в соответствии с температурными классами согласно таблице 1; Таблица 1 - Максимальная температура
поверхности для электрооборудования группы II
- или снабжено указанием
фактической максимальной температуры поверхности оболочки или элементов (в
зависимости от вида взрывозащиты); - или, если это более
приемлемо, ограничено в области применения конкретным газом, для которого оно
предназначено. (Измененная
редакция. Изм.
№ 1) 5.2 Температура окружающей
среды Номинальные значения
климатических факторов внешней среды по ГОСТ 15150 и ГОСТ 15543.1 - в
соответствии с установленным видом климатического исполнения. В соответствии с МЭК
60079-0-98 в общем случае электрооборудование конструируется для применения при
температуре окружающей среды от минус 20 до плюс 40 °С. Если электрооборудование
сконструировано для применения в другом диапазоне температур, тогда его
рассматривают как специальное, и в технической документации и на табличке
электрооборудования должен указываться этот диапазон температур ta или tamb, где ta, tamb - температура окружающей
среды (см. таблицу 2). Таблица 2 - Температура окружающей
среды в условиях эксплуатации и маркировка
5.3 Температура поверхности и
температура самовоспламенения Максимальная температура
поверхности не должна быть выше значения наименьшей температуры
самовоспламенения данной взрывоопасной среды (атмосферы). Однако для деталей, общая
площадь поверхности которых не превышает 10 см2, температура
поверхности может превышать значения наименьшей температуры самовоспламенения
для данного температурного класса, указанного на электрооборудовании группы II, или
соответствующую максимальную температуру поверхности для группы I, если
отсутствует опасность воспламенения от этих деталей при превышении на: 50 °С для температурных
классов Т1 - Т3; 25 °С для температурных
классов Т4 - Т6 и группы I. Это условие должно быть
подтверждено испытанием аналогичных деталей или самого электрооборудования в
представительных испытательных взрывоопасных смесях. Примечание - При испытаниях может быть использован способ повышения температуры окружающей среды. Более специфические
рекомендации в части температуры поверхности миниатюрных деталей, подобных
деталям, используемым в искробезопасных электрических цепях «i»,
приведены в стандарте на взрывозащиту вида «искробезопасная электрическая
цепь». 6 Требования к электрооборудованию всех видов6.1 Взрывозащищенное
электрооборудование должно отвечать требованиям настоящего стандарта (кроме
скорректированных в стандартах на взрывозащиту конкретных видов) и стандартов
на взрывозащиту видов, перечисленных в разделе 1. Примечание - Если электрооборудование должно выдерживать особо неблагоприятные условия эксплуатации (например, повышенное воздействие влажности, колебания окружающей температуры, воздействие химических агентов, коррозия), эти условия должны сообщаться потребителем изготовителю. 6.2 Оболочки, которые могут
быть открыты быстрее, чем требуется время, необходимое: a) для разряда встроенных
конденсаторов напряжением 200 В и выше до значения остаточной энергии: 0,2 мДж для
электрооборудования группы I и подгруппы IIА; 0,06 мДж для
электрооборудования подгруппы IIB; 0,02 мДж для
электрооборудования подгруппы IIС, включая
электрооборудование, промаркированное только как группа II, или в два раза превышающей
приведенные уровни энергии, если конденсаторы заряжены до напряжения менее 200
В; b) для охлаждения встроенных
в оболочку нагретых элементов до температуры их поверхностей более низкой, чем
температурный класс электрооборудования, должны снабжаться
предупредительной надписью: «Открывать через Y мин после отключения
напряжения»
(где Y - значение требуемой выдержки времени), или в качестве альтернативы
должны иметь предупредительную надпись: «Открывать во взрывоопасной среде
запрещается». 6.3 Оболочки изделий должны
изготовляться из материалов: - негорючих или
трудногорючих, или стойких к действию пламени согласно ГОСТ 12.1.044. (Это
требование не распространяется на стекла смотровых окон, светопропускающие
элементы светильников, прокладки, заглушки и уплотнительные кольца вводных
устройств, телефонные аппараты и оболочки переносных приборов с индивидуальным
искробезопасным источником питания, оболочки стационарных приборов группы II
с питанием от искробезопасной цепи); - устойчивых к механическому
и тепловому воздействию, обусловленному работой электрооборудования в
нормальном режиме и нормальных условиях эксплуатации. 6.4 Заливочные массы и
уплотнения должны сохранять защитные свойства во всем диапазоне температур,
возникающих при нормальных условиях эксплуатации электрооборудования. 6.5 Электроизоляционные
материалы, пути утечки и электрические зазоры электрооборудования группы I
должны удовлетворять требованиям, предъявляемым к изоляции, путям утечки и
электрическим зазорам рудничного электрооборудования. 6.6 Уровни взрывозащиты
электрооборудования 6.6.1 Электрооборудование
повышенной надежности против взрыва может обеспечиваться: - взрывозащитой вида «i»
с уровнем искробезопасной электрической цепи «ic» и выше; - взрывозащитой вида «р»,
имеющей устройство сигнализации о недопустимом снижении давления; - взрывозащитой вида «q»; - защитой вида «е»; - защитой вида «т»; - взрывозащитой вида «d»; - масляным заполнением для
электрооборудования группы II и заполнением негорючей
жидкостью для электрооборудования группы I оболочек, удовлетворяющих
требованиям взрывозащиты вида «о»; - взрывозащитой вида «s». (Измененная
редакция. Изм.
№ 1) 6.6.2 Взрывобезопасное
электрооборудование может обеспечиваться: - взрывозащитой вида «i» с
уровнем искробезопасной электрической цепи не ниже «iв»; - взрывозащитой вида «р» с
устройством сигнализации и автоматического отключения напряжения питания, кроме
искробезопасных цепей уровня «ia», при недопустимом снижении
давления; - взрывозащитой вида «d»; - специальным видом
взрывозащиты «s»; - защитой вида «е»,
заключенной во взрывонепроницаемую оболочку; - заключением в оболочку,
предусмотренную для защиты «р» с устройством сигнализации о снижении давления
ниже допустимого значения электрооборудования группы II
с защитой вида «е»; (Измененная
редакция. Изм.
№ 1) 6.6.3 Особовзрывобезопасное
электрооборудование может обеспечиваться: - взрывозащитой вида «i» с
уровнем искробезопасной электрической цепи «ia»; - специальным видом взрывозащиты
«s»; - взрывобезопасным
электрооборудованием с дополнительными средствами взрывозащиты (например
заключением искроопасных частей, залитых компаундом, во взрывонепроницаемую
оболочку, или продуванием взрывонепроницаемой оболочки чистым воздухом под
избыточным давлением при наличии устройств контроля давления, сигнализации и
автоматического отключения напряжения при недопустимом снижении давления или
при повреждении взрывонепроницаемой оболочки). При этом для отходящих
соединений должен обеспечиваться уровень искробезопасных цепей «ia». (Измененная
редакция. Изм.
№ 1) 6.7 Электрооборудование
должно соответствовать требованиям безопасности по ГОСТ 12.2.007.0 - ГОСТ
12.2.007.6, ГОСТ
12.2.007.8 - ГОСТ
12.2.007.14 и требованиям, изложенным в соответствующих разделах настоящего
стандарта и стандартов на конкретные виды взрывозащиты, а электрооборудование
группы I, кроме того, требованиям стандарта на рудничное
нормальное электрооборудование. 6.8 Электрооборудование
группы II должно иметь элементы для заземления по ГОСТ
12.2.007.0, а электрооборудование группы I, кроме того, по стандарту
на рудничное нормальное электрооборудование. Элементы для заземления должны
выполняться в соответствии с ГОСТ
21130. 6.9 Требования безопасности,
специфичные только для электрооборудования конкретных видов или типов, должны
устанавливаться в стандартах и (или) технических условиях на них. 6.10 (Исключен. Изм.
№ 1) 7 Неметаллические оболочки и неметаллические части оболочек(Измененная
редакция. Изм. № 1) 7.1 Общие положения Неметаллические оболочки и неметаллические части оболочек, от которых зависит
вид взрывозащиты, должны соответствовать приведенным ниже требованиям и
выдерживать испытания по 23.4.7. Однако для уплотнительных
колец (см. 3.19),
от которых зависит вид взрывозащиты, достаточно проведения испытаний согласно В.3.3. (Измененная
редакция. Изм.
№ 1) 7.1.1 В документации согласно 23.2 должны
указываться как материал, так и технология изготовления оболочки или ее части. 7.1.2 Спецификация пластмассовых
материалов должна включать: a) наименование изготовителя
материала; b) точное и полное
обозначение материала, его цвет, а также виды и процентное содержание
наполнителей и других добавок, если их применяют; c) возможную обработку
поверхностей, например покрытие лаком и т. д.; d)
температурный индекс TI, соответствующий точке
20000 ч на графе теплостойкости, отражающей снижение временного сопротивления
при изгибе не более чем на 50 % от начального значения; граф теплостойкости
определяют согласно ГОСТ
21341 с учетом изгибных свойств согласно ГОСТ 4648.
Если материал не разрушился при этом испытании до выдержки в тепле, индекс
должен базироваться на временном сопротивлении к растяжению согласно ГОСТ
11262с испытательными образцами типа 1А или 1В. Данные, с помощью которых
определяют упомянутые характеристики, должны представляться изготовителем. 7.1.3 Испытательная
организация не проводит проверки соответствия материала его спецификации. 7.2 Теплостойкость Пластмассовые материалы
должны иметь температурный индекс TI, соответствующий точке 20000 ч (см. 7.1.2), превышающий
не менее чем на 20 °С температуру в наиболее
горячей точке оболочки или части оболочки (см. 23.4.6.1), учитывая при этом
также и максимальную температуру окружающей среды в эксплуатации (см. 5.2). Стойкость к воздействию
тепла или холода оболочек или их частей из пластмассовых материалов должна
устанавливаться в соответствии с 23.4.7.3 и 23.4.7.4. 7.3 Электростатические заряды
на оболочках из пластических материалов или их частях Нижеследующие требования
распространяются только на пластмассовые оболочки, их части и другие наружные
пластмассовые части электрооборудования для случаев: - передвижного
электрооборудования; - стационарного
электрооборудования с пластмассовыми частями, которые могут подвергаться
протиранию, чистке на месте установки или воздействию вентилируемой струи
воздуха с частицами пыли. 7.3.1 Электрооборудование группы I Пластмассовые оболочки с
площадью поверхности, проектируемой в любом направлении более 100 см2,
должны конструироваться таким образом, чтобы при нормальных условиях
эксплуатации, обслуживания и чистки исключалась опасность воспламенения от
электростатических зарядов. Это требование должно
удовлетворяться путем выбора материала с сопротивлением изоляции, измеренным в
соответствии с методом, приведенным в 23.4.7.8, не более 109 Ом при температуре
(23 ± 2) °С и относительной влажности (50 ± 5) %, или путем выбора фактических
размеров, формы и расположения или других защитных мероприятий таким образом,
чтобы опасные электростатические заряды не возникали. Если опасность воспламенения
непосредственно самой конструкцией не может быть устранена, должна
предусматриваться табличка с информацией в ней о принятии мер безопасности в
условиях эксплуатации. Примечания
1 При выборе электроизоляционных материалов следует обращать внимание на обеспечение минимального значения сопротивления изоляции, позволяющего избежать опасности, связанной с прикосновением к наружным пластмассовым частям, находящимся в контакте с токоведущими частями. 2 Более жесткие ограничения могут предъявляться к пластмассовым оболочкам, предназначенным для применения в зонах, где взрывоопасная газовая среда присутствует постоянно или в течение длительных периодов. 7.3.2 Электрооборудование группы II Оболочки должны
конструироваться таким образом, чтобы при нормальных условиях эксплуатации,
обслуживания и чистки исключалась опасность воспламенения от электростатических
зарядов. Указанное требование должно обеспечиваться одним из следующих
способов: a) путем выбора материала
оболочки с сопротивлением изоляции, измеренным в соответствии с 23.4.7.8,
не более 109 Ом при температуре (23 ± 2) °С и относительной
влажности (50 ± 5) %. b) путем ограничения площади
поверхности пластмассовых оболочек или их частей следующим образом (см. также примечание 2): - для электрооборудования
подгрупп IIА и IIВ - максимум до 100 см2
в общем случае и до 400 см2 в случае, когда наружные пластмассовые
части дополнительно защищены (обрамлены) проводящими заземленными каркасами; - для электрооборудования
подгруппы IIC, включая светопропускающие элементы, - до 20 см2
в общем случае и до 100 см2, если пластмассовые части
дополнительно защищены от опасного накопления электростатических зарядов; c) путем выбора размеров,
формы и расположения или других защитных мер таким образом, чтобы опасные
электростатические заряды не возникали. Если опасность воспламенения
самой конструкцией не может быть устранена, следует предусматривать
предупредительную табличку с указанием мер безопасности, которые должны быть
соблюдены при эксплуатации. Примечания
1 При выборе электроизоляционных материалов следует обращать внимание на поддержание минимального сопротивления изоляции на уровне, исключающем возможность прикосновения к наружным пластмассовым частям, находящимся в контакте с токоведущими частями. 2 Более жесткие ограничения могут приниматься для пластмассовых оболочек, используемых в зонах, где взрывоопасная газовая среда присутствует постоянно или в течение длительных периодов. 7.4 Резьбовые отверстия Резьбовые отверстия под
крепежные детали крышек, открываемых в условиях эксплуатации для регулировок,
проверок и по другим эксплуатационным причинам, могут быть нарезаны
непосредственно в пластмассовом материале только в том случае, если требования, предъявляемые к резьбе, обеспечиваются при
изготовлении и сохраняются при эксплуатации. (Измененная
редакция. Изм.
№ 1) 8 Оболочки, выполненные из материалов, содержащих легкие металлы8.1 Материалы, содержащие легкие металлы, применяемые для изготовления
оболочек электрооборудования групп I и II,
должны обеспечивать фрикционную искробезопасность. Методика испытаний
материалов на фрикционную искробезопасность приведена в приложении Е. Рекомендуется, чтобы материалы, используемые для
изготовления оболочек электрооборудования группы I, не содержали по массе: - более 15 % (в сумме)
алюминия, магния и титана; - более 6 % (в сумме) магния
и титана. Допускается обеспечивать
фрикционную искробезопасность оболочек из легких сплавов с помощью защитных
покрытий. 8.2 Материалы, используемые для
изготовления оболочек электрооборудования группы II, не должны содержать по
массе более 7,5 % магния. 8.3 Резьбовые отверстия под
крепежные детали крышек, открываемых в условиях эксплуатации для регулировок,
проверок и по другим эксплуатационным причинам, могут быть нарезаны
непосредственно в материале оболочки, если форма резьбы совместима с
используемым материалом оболочки. Материалы, обеспечивающие
выполнение указанного требования, должны быть оговорены в технической
документации на изделие. 8.4 Требования 8.1 не
распространяются на переносные приборы диагностики и контроля группы I. (Измененная
редакция. Изм.
№ 1) 9 Крепежные детали9.1 Общие положения Части, обеспечивающие
стандартный вид взрывозащиты или используемые для предотвращения доступа к
неизолированным электрическим частям, находящимся под напряжением, должны
сниматься или освобождаться только с помощью инструмента. Крепежные детали для
оболочек из материалов, содержащих легкие металлы, могут изготовляться из
легких металлов или пластмасс, если материал крепежной детали совместим с
материалом оболочки. 9.2 Специальные крепежные
детали Если стандарт на
взрывозащиту конкретного вида требует применения специального крепежа, то
крепеж должен удовлетворять следующим условиям: - резьба должна быть с
крупным шагом по ГОСТ 8724 с полем допуска 6g/6H в соответствии с ГОСТ
16093; - головка
болта, винта или гайки должна выполняться по ГОСТ
7795, ГОСТ
7796, ГОСТ 7798, ГОСТ 7805, ГОСТ
1481, ГОСТ 5915, ГОСТ 5927 или ГОСТ
11738, а в случае установочных винтов и крепежных болтов - с
шестигранным углублением под ключ в соответствии с ГОСТ 11074, ГОСТ 8878,
ГОСТ 11075, а также ГОСТ
28964; - отверстия в
электрооборудовании должны отвечать требованиям 9.3. (Измененная
редакция. Изм.
№ 1) Примечание - Для электрооборудования группы I головки специальных крепежных деталей, подверженные при нормальной эксплуатации механическим повреждениям, которые могут привести к нарушению вида взрывозащиты, должны быть защищены, например, путем применения охранных колец или углублений. 9.3 Отверстия для специальных
крепежных деталей 9.3.1 Отверстия под
специальные крепежные детали по 9.2 должны иметь длину резьбы, обеспечивающую
ввинчивание крепежной детали на глубину h, равную, по крайней мере,
величине основного диаметра резьбы крепежной детали (см. рисунки 1 и 2).
Допуск резьбы - 6Н по ГОСТ 16093. Размер h должен быть не менее основного диаметра резьбы крепежной детали. Размер С должен быть не более максимального зазора при допуске Н13 по ГОСТ 11284. Рисунок 1 - Допуски и зазор
для резьбовых крепежных деталей
Æ - отверстие со стандартным зазором для прохода резьбы соответствующей формы. Размер h должен быть не менее основного диаметра резьбы крепежной детали. Х - опорный размер крепежной детали с уменьшенным телом; он должен быть
не менее значения опорного размера стандартной головки стандартной крепежной детали
(с полным телом) с резьбой используемого размера по всей длине (Измененная редакция. Изм. № 1) Рисунок 2 - Опорная
поверхность под головкой крепежной детали с уменьшенным телом 9.3.2 Резьба должна иметь поле допуска 6Н в соответствии с ГОСТ
16093, при этом: а) отверстие под крепежную деталь должно допускать зазор, не
превышающий максимальный зазор в соответствии с ИСО 286-2 [1] и ГОСТ
11284 при допуске Н13 по ГОСТ
25347 (см. рисунок 1); или б) отверстие под
крепежную деталь с уменьшенным телом должно снабжаться резьбой, достаточной для
обеспечения нетеряемости крепежной детали. Размеры резьбового отверстия должны
быть такими, чтобы описанная под головкой такой крепежной детали опорная
поверхность была не меньше опорной поверхности такой же крепежной детали с
полным (не уменьшенным) телом, проходящей через отверстие с зазором (см.
рисунок 2). (Измененная
редакция. Изм.
№ 1) 9.3.3 В случае установочных
винтов с шестигранным углублением «под ключ» винт должен иметь допуск зазора 6Н
в соответствии с ГОСТ
16093 и не должен выступать из отверстия под резьбу после
затяжки винта. 9.3.4 Диаметр болтов винтов и
шпилек, предназначенных для крепления деталей оболочек электрооборудования
группы I, должен быть не менее 6 мм. Для крепления деталей
оболочек контрольно-измерительных приборов и устройств автоматики допускается
применение крепежных болтов, винтов и шпилек диаметром не менее 5 мм.
Требования к минимальному диаметру крепежных болтов, винтов и шпилек не
распространяются на оболочки приборов и устройств индивидуального пользования,
если крепежные детали не подлежат отвинчиванию в шахтных условиях, например
установлены на клее или запломбированы. 9.3.5 Болты, винты, гайки и
другие крепежные детали должны быть предохранены от самопроизвольного
ослабления способом, оговариваемым в технической документации. 10 БлокировкиБлокировки, используемые для
сохранения данного вида взрывозащиты, должны конструироваться таким образом,
чтобы их эффективность не могла быть легко нарушена, например, путем применения
отвертки или плоскогубцев. 10.1 Необходимость наличия
блокировки устанавливается в стандартах на отдельные виды взрывозащиты или
электротехнические устройства. 10.2 На крышках оболочек
электрооборудования, не имеющего блокировки и наличие напряжения на котором не
может быть установлено без снятия крышки, съем которой необходим в процессе
эксплуатации для проведения профилактических ремонтов и осмотров, должна быть
нанесена предупредительная надпись «Открывать, отключив от сети», «Открывать во
взрывоопасной среде запрещается», «Открывать в шахте запрещается». 10.3 Электрические цепи управления
блокировкой электрооборудования группы I должны быть
искробезопасными и иметь защиту от потери управляемости. 11 Проходные изоляторыПроходные изоляторы,
используемые в качестве соединительных контактных зажимов, которые могут
подвергаться воздействию крутящего момента при присоединении или отсоединении
проводников, должны устанавливаться таким образом, чтобы исключалось их
проворачивание. Соответствующие испытания
при воздействии крутящих моментов приведены в 23.4.5. 12 Материалы, используемые в качестве герметиков12.1 Документация,
представляемая изготовителем согласно 23.2, должна свидетельствовать, что
использующиеся для предлагаемых условий герметизирующие материалы, от которых
зависит безопасность, обладают термической стабильностью, адекватной наименьшей
и наибольшей температурам, при которых они будут работать в номинальном режиме
работы данного электрооборудования. Термическую стабильность
считают адекватной, если предельные значения температуры для материала ниже или
равны наименьшей рабочей температуре и не менее чем на 20 °С превышают наибольшую температуру. Примечание - Если герметик должен выдерживать другие неблагоприятные эксплуатационные условия, соответствующие меры устанавливаются по согласованию между потребителем и изготовителем (см. 6.1). 12.2 Характеристики,
перечисленные в документации, упомянутой в 12.1, испытательная организация не
проверяет. 13 Ex-компоненты13.1 Ex-компоненты должны
отвечать требованиям, приведенным в приложении С; к ним могут относиться: - пустая оболочка; - детали или сборочные
единицы (узлы), предназначенные для применения в сборе с электрооборудованием,
выполненным в соответствии с требованиями, предъявляемыми к примененному виду
взрывозащиты, из числа перечисленных в разделе 1. 13.2 Ex-компоненты могут
быть установлены: a) полностью внутри оболочки
электрооборудования (например, зажим (клемма), амперметр, нагреватель или
индикатор, выполненные с взрывозащитой вида «е»; выключатель или термостат с
взрывозащитой вида «d»; источник питания с взрывозащитой вида «i»); b)
полностью снаружи оболочки электрооборудования (например, заземляющий зажим с
взрывозащитой вида «е», датчик с взрывозащитой вида «i»); c) частично внутри и
частично снаружи оболочки электрооборудования (например, кнопочный выключатель,
концевой выключатель или индикаторная лампа с взрывозащитой вида «d»; амперметр
с взрывозащитой вида «е»; индикатор с взрывозащитой вида «i»). 13.3 В случае установки
Ex-компонента полностью внутри оболочки испытаниям и оценке подвергают только
те устанавливаемые в электрооборудование части, которые не могут быть испытаны
и/или оценены как отдельные изделия (например, испытания или оценка температуры
поверхности, путей утечки и электрических зазоров, когда изделие смонтировано
полностью). 13.4 В случае монтажа
Ex-компонента снаружи оболочки или частично внутри и частично снаружи оболочки
должны быть проведены испытания и оценка внутреннего монтажа взрывозащищенного
комплектующего изделия по отношению к оболочке на соответствие примененному
виду взрывозащиты, а также проведены испытания на механическую прочность
согласно 23.4.3. 14 Вводные устройства и соединительные контактные зажимы14.1 Электрооборудование,
предназначенное для присоединения к внешним электрическим цепям, должно иметь
соединительные контактные зажимы, за исключением случаев, когда электрооборудование
изготавливается с постоянно присоединенным кабелем. Электрооборудование всех
видов, сконструированное с постоянно присоединенным кабелем, должно
маркироваться знаком X, указывающим на необходимость соответствующего
присоединения свободного конца кабеля. Контактные зажимы должны
иметь маркировку, если отсутствие последней может привести к неправильному
присоединению. Допускается наносить маркировку на зажим вблизи его или на
прикрепленной к нему бирке. Токоведущие части контактных
зажимов должны соединяться таким образом, чтобы электрический контакт в месте
соединения в течение длительного времени эксплуатации не ухудшался от нагрева в
условиях переменного теплового режима, изменения размеров изоляционных деталей
и вибрации. Не допускается передача контактного давления на электрические
соединения через изоляционные материалы, кроме случаев, когда давление
передается через фарфор, стеатит или другие материалы с аналогичными
термическими и механическими свойствами, при этом необходимо учитывать различия
в тепловом расширении изолирующих и токоведущих частей. Токоведущие части контактных
зажимов в электрооборудовании группы I должны быть выполнены из
стойких к коррозии, обладающих высокой проводимостью, материалов (например
медь, латунь). Части зажимов, не являющиеся токоведущими (нажимные винты),
могут быть изготовлены из стали, если предусмотрено соответствующее
антикоррозионное покрытие. Диаметр контактных винтов
(болтов, шпилек) для присоединения внешних проводов и жил кабелей
электрооборудования группы I должен быть не менее 6 мм. В устройствах управления,
контроля и автоматики допускается применение контактных винтов диаметром менее
6 мм. При этом для измерительных приборов минимальный диаметр контактных винтов
не нормируется. В устройствах связи, автоматики и сигнализации диаметр
контактных винтов должен быть не менее 4 мм. 14.2 Вводные устройства и их
монтажные проемы должны иметь такие размеры, чтобы обеспечивалось удобное
присоединение проводников. 14.3 Вводные устройства должны
соответствовать требованиям одного из стандартов на виды взрывозащиты,
перечисленные в разделе
1, и иметь степень защиты от внешних воздействий не ниже IP54
по ГОСТ 14254. 14.4 Вводные устройства
должны конструироваться таким образом, чтобы после правильно выполненного
присоединения проводников пути утечки и электрические зазоры соответствовали
нормам, если таковые установлены стандартом на примененный вид взрывозащиты. 15 Контактные зажимы для заземляющих или нулевых защитных проводников15.1 Соединительный контактный
зажим для присоединения заземляющего или нулевого защитного проводника должен
предусматриваться внутри вводного устройства, рядом с другими контактными
зажимами. 15.2 Электрооборудование с
металлической оболочкой должно иметь дополнительный наружный контактный зажим
для заземляющего или нулевого защитного проводника. Этот наружный контактный
зажим должен быть электрически соединен с зажимом, указанным в 15.1. Наружный
контактный зажим не требуется для электрооборудования, перемещаемого под
напряжением и питающегося с помощью кабеля, содержащего заземляющую или
выравнивающую жилу. Примечание - Выражение «электрически соединен» не означает обязательного применения провода для обеспечения электрической связи. 15.3 В электрооборудовании, в
котором заземление (или нулевой защитный проводник) не требуются, ни
внутренний, ни наружный контактные зажимы могут не предусматриваться. 15.4 Соединительные контактные
зажимы для заземляющих и нулевых защитных проводников должны обеспечивать
надежное подсоединение по крайней мере одного проводника с площадью поперечного
сечения, приведенной в таблице 3. Таблица 3 - Минимальная площадь
поперечного сечения нулевых защитных и заземляющих проводников В миллиметрах в квадрате
В дополнение к этому
требованию, наружные контактные зажимы электрооборудования должны обеспечивать
надежное подсоединение проводника сечением не менее 4 мм2. 15.5 Соединительные контактные
зажимы должны быть надежно защищены от коррозии. Кроме того, зажимы должны
конструироваться таким образом, чтобы предотвращалось расчленение и скручивание
проводников, а также обеспечивалось постоянство контактного давления. Контактное давление в
электрических соединениях не должно ухудшаться вследствие изменений размеров
изоляционных материалов под воздействием температуры или влажности и т. п. Специальные меры
предосторожности должны предусматриваться в том случае, если одна из
контактирующих частей выполнена из материала, содержащего легкий металл. Одним
из примеров средства обеспечения контакта с материалом, содержащим легкий
металл, является использование промежуточной части, выполненной из стали. 16 Кабельные и трубные вводы16.1 В документации,
представляемой в соответствии с 23.2, изготовитель должен специфицировать все кабельные
и трубные вводы с указанием их максимально допустимого количества и мест
расположения на электрооборудовании. 16.2 Кабельные и трубные
вводы должны конструироваться и устанавливаться таким образом, чтобы они не
изменяли специфические параметры вида взрывозащиты электрооборудования, на
котором они монтируются. Это условие должно выполняться для всего диапазона
размеров кабелей, специфицированных изготовителем кабельных вводов в качестве
пригодных для использования с этими вводами. 16.3 Кабельные и трубные
вводы могут быть неотъемлемой частью электрооборудования, т. е. когда какая-то
главная деталь ввода образует с оболочкой электрооборудования неразъемную
конструкцию. В таких случаях вводы должны испытываться и сертифицироваться
вместе с электрооборудованием. Примечание - Кабельные и трубные вводы, изготовленные отдельно, но используемые в конкретном электрооборудовании, как правило, испытывают и сертифицируют отдельно от электрооборудования, но могут быть испытаны и сертифицированы, по просьбе изготовителя, вместе с электрооборудованием. 16.4 Кабельные вводы, как
неотъемлемые, так и изготовленные отдельно, должны удовлетворять
соответствующим требованиям приложения В. 16.5 Если конструкция
кабельного ввода электрооборудования группы I такова, что скручивание
кабеля может привести к передаче усилий на контактные зажимы, должен предусматриваться элемент крепления кабеля в
кабельном вводе, препятствующий проворачиванию кабеля. Для электрооборудования
группы I к устройствам для разгрузки жил кабеля относятся
также приспособления для стационарной прокладки кабелей и проводов, соединяющие
отдельные части оборудования. Для электрооборудования группы II
допускается выполнять кабельный ввод без устройства для разгрузки кабеля, если
разгрузочные устройства предусмотрены в системе прокладки кабеля. (Измененная
редакция. Изм.
№ 1) 16.6 Трубный ввод должен
осуществляться ввинчиванием трубы в отверстие с резьбой или путем закрепления
трубы в обычном отверстии, выполненном: - или в стенке оболочки, - или в промежуточной плате,
смонтированной внутри или на стенке оболочки, - или в соответствующей
вводной коробке, изготовленной совместно с оболочкой или прикрепленной к стенке
оболочки. 16.7 Детали (заглушки),
предназначенные для закрытия отверстий в стенках электрооборудования, когда
какой-либо кабельный или трубный ввод не устанавливается, должны вместе со
стенками оболочки электрооборудования удовлетворять требованиям используемого
вида взрывозащиты. Средства, обеспечивающие выполнение этого требования, должны
быть такими, чтобы деталь (заглушку) можно было снять только с помощью
инструмента. (Измененная
редакция. Изм.
№ 1) 16.8 Если при нормированных
условиях температура превышает 70 °С в месте ввода кабеля или
трубы или 80 °С - в корешке разделки (в месте разветвления кабеля/проводов), то
на наружной стороне оболочки электрооборудования должна быть нанесена
предупредительная надпись с тем, чтобы обратить внимание персонала потребителя
на выбор соответствующего кабеля или проводов в эксплуатации (см. рисунок 3).
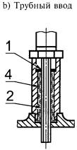
1 - место ввода кабеля; 2 - место разделки жил кабеля; 3 - уплотнительное кольцо; 4 - герметизирующий компаунд Рисунок 3 - Иллюстрация места
ввода корешка и разделки (развода жил) 17 Дополнительные требования к вращающимся электрическим машинамНаружный конец вала с
вентилятором для охлаждения электрической машины должен закрываться кожухом,
который не рассматривают как часть оболочки электрооборудования. Такие вентиляторы
и кожухи должны удовлетворять следующим требованиям. 17.1 Вентиляционные отверстия
для наружных вентиляторов Степень защиты IP
вентиляционных отверстий для наружных вентиляторов вращающихся электрических
машин должна быть не ниже: - IP20 - со стороны поступления
воздуха; - IP10 - со стороны выхода
воздуха в соответствии с ГОСТ
17494. Степень защиты
вентиляционных отверстий наружных вентиляторов должна указываться в стандартах
и технических условиях на вращающиеся электрические машины. Для установленных
вертикально вращающихся машин должны быть предприняты меры, предотвращающие
попадание в вентиляционные отверстия падающих инородных тел. Для вращающихся
электрических машин группы I степень защиты IP10 может
считаться достаточной только в том случае, если отверстия устроены или
расположены таким образом, что инородные тела размером более 12,5 мм не могут
проникнуть к движущимся частям машины ни в результате вертикального падения, ни
вследствие вибрации. 17.2 Конструкция и монтаж
вентиляционных систем Вентиляторы, вентиляционные
кожухи и вентиляционные жалюзи должны конструироваться таким образом, чтобы они
удовлетворяли требованиям по испытаниям на стойкость к удару в соответствии с 23.4.3.1
при оценке результатов испытаний согласно 23.4.3.3. 17.3 Зазоры для вентиляционных
систем В нормальных условиях
работы, учитывая конструктивные допуски, зазор между наружным вентилятором и
его кожухом, вентиляционными жалюзи и элементами их крепления должен быть не
менее 1/100 максимального диаметра вентилятора. Допускается не увеличивать
зазор более 5 мм. Этот зазор может быть уменьшен до 1 мм, если технология
изготовления противостоящих частей гарантирует необходимую точность и
стабильность их размеров. В любом случае упомянутый зазор должен быть не менее
1 мм. Допускается не выдерживать
требования по зазорам между вращающимися и неподвижными элементами, если для
наружных вентиляторов применяются материалы (например, для электрооборудования
группы II латунь, цинковый сплав, а для электрооборудования
группы I - латунь, цинковый сплав или сталь). 17.4 Материалы для наружных
вентиляторов и кожухов 17.4.1 Пластмассовые части
наружных вентиляторов, вентиляторных кожухов, вентиляторных жалюзей и т. п., за
исключением вентиляторов, установленных на вращающихся электрических машинах
группы II и имеющих окружную скорость менее 50 м/с, должны иметь электрическое
сопротивление не более 109 Ом, измеренное в соответствии с 23.4.7.8. 17.4.2 Теплостойкость
пластмассовых материалов может считаться достаточной, если установленная
изготовителем рабочая температура материала превышает максимальную температуру,
воздействующую на материал в предписанных условиях эксплуатации, не менее чем
на 20 °С. 17.4.3 Наружные вентиляторы,
вентиляционные кожухи, вентиляционные жалюзи вращающихся электрических машин,
изготовленные из материалов, содержащих легкие металлы, не должны содержать по
массе: - для электрических машин
группы I - более 15 %, в сумме, алюминия, магния и титана, и более 6 %, в
сумме, магния и титана; - для электрических машин
группы II - более 6 % магния. 18 Дополнительные требования к коммутационным аппаратам18.1 Применение коммутационных
аппаратов с контактами, погруженными в горючий диэлектрик, не допускается. 18.2 Разъединители (которые
по своей конструкции не предназначены для разъединения цепей под нагрузкой),
должны быть: - или электрически, или
механически сблокированы с соответствующим выключателем нагрузки, - или снабжены, только в
случае аппаратов группы II, предупредительной
надписью, располагаемой вблизи привода (рукоятки), «Не отключать под
нагрузкой». 18.3 Если коммутационный
аппарат содержит разъединитель, последний должен выключать все фазы или полюсы
и конструироваться таким образом, чтобы было видно положение разъединяющих
контактов или же было обеспечено надежное обозначение их выключенного
положения. Блокировка между таким разъединителем и крышкой или дверью выключателя
должна позволять открывание крышки (двери) только при полном размыкании
контактов разъединителя. 18.4 Рукоятка разъединителя
коммутационных аппаратов группы I должна обеспечивать в
выключенном положении разъединителя возможность запирания с помощью висячего
замка. 18.5 В коммутационных
аппаратах группы I должны быть предусмотрены устройства (защелки),
фиксирующие срабатывание максимальных реле и реле замыкания на землю (если
таковые применяются). В случае, если коммутационный аппарат имеет деблокирующее
устройство (устройство возврата), установленное снаружи оболочки, крышка,
закрывающая это устройство, должна иметь специальное крепление согласно 9.2. 18.6 Крышки и двери, позволяющие
доступ во внутрь оболочки, в которой содержатся дистанционно управляемые
коммутационные контакты, которые могут быть замкнуты или разомкнуты не вручную,
а с помощью каких-либо воздействий (электрических, механических, магнитных,
электромагнитных, электрооптических, пневматических, гидравлических,
акустических или тепловых), должны быть: a) или сблокированы с
разъединителем таким образом, чтобы предотвращался доступ к внутренним частям,
если разъединителем не отключены незащищенные внутренние цепи, b) или снабжены
предупредительной надписью «Открывать, отключив от сети». В первом случае
(подпункт а) после отключения разъединителя оставшиеся под напряжением части, с
целью минимизации опасности взрыва, должны быть защищены: c) либо одним из видов
взрывозащиты, перечисленных в разделе 1; d) либо
защитой, в которой: - электрические зазоры и
пути утечки между фазами (полюсами) и по отношению к земле принимают в
соответствии с требованиями стандарта на электрооборудование с защитой вида
«е»; - используют дополнительную
внутреннюю оболочку, в которую заключены остающиеся под напряжением части и
которая обеспечивает степень защиты не ниже IP30 по ГОСТ 14254; - на дополнительной
внутренней оболочке наносят предупредительную надпись «Открывать, отключив от
сети». 19 Дополнительные требования к предохранителямОболочка, содержащая плавкие
предохранители, должна: - быть механически или
электрически сблокирована с выключателем так, чтобы установка или снятие
заменяемых элементов были возможны только при отключенном напряжении и чтобы
исключалась возможность подачи напряжения на предохранители до того, как
оболочка будет надлежащим образом закрыта, - или иметь, в качестве
допустимого варианта, вместо блокировки предупредительную надпись «Открывать,
отключив от сети». 20 Дополнительные требования к соединителям, тяговым аккумуляторам и тяговым батареям20.1 Соединители должны: a) или иметь механическую
или электрическую, или какую-либо другую блокировку, выполненную таким образом,
чтобы исключалась возможность их разъединения, если контакты находятся под
напряжением, а также возможность подачи напряжения на контакты, когда
соединитель разъединен, b) или быть сконструированы
таким образом, чтобы крепление вилки с розеткой соединителя осуществлялось
посредством специальных крепежных деталей в соответствии с 9.2, а на
оболочке соединителя выполнялась предупредительная надпись «Разъединять,
отключив от сети». В случае, если с
соединителей с болтовым креплением напряжение до их разъединения не может быть
снято, поскольку они присоединены к аккумуляторной батарее, должна быть
предусмотрена предупредительная надпись «Разъединять только вне взрывоопасной
зоны». 20.2 Соединители на
номинальный ток, не превышающий 10 А, и номинальное напряжение, не превышающее
250 В переменного тока или 60 В постоянного тока, могут не удовлетворять
требованиям 20.1, если соблюдаются следующие условия: - части, остающиеся под
напряжением, выполнены в виде розетки; - вилка и розетка
разъединяют номинальный ток с выдержкой времени, достаточной для прекращения
горения электрической дуги до их разъединения; - соединение вилки с
розеткой обеспечивает взрывонепроницаемость по стандарту на взрывонепроницаемую
оболочку в течение всего времени гашения электрической дуги, возникающей при
разъединении контактов; - контакты, оставшиеся под
напряжением после разъединения, защищены одним из видов взрывозащиты,
перечисленных в разделе
1. 20.3 Вилка и другие детали
не должны оставаться под напряжением, если она не соединена с розеткой. 20.4 Электрическая блокировка
соединителя должна быть выполнена так, чтобы размыкание силовых контактов было
возможно только после дистанционного отключения напряжения с этих контактов. Глубина соединения силовых
контактов должна превышать глубину контактов цепи электрической блокировки не
менее чем на 5 мм. 20.5 Соединитель должен быть
выполнен так, чтобы исключалась возможность неправильного соединения. 20.6 Для соединения заземляющих
жил гибкого кабеля в соединителе должны предусматриваться заземляющие контакты,
глубина соединения которых должна превышать глубину соединения силовых
контактов не менее чем на 5 мм. Заземление металлических
оболочек розетки и вилки должно осуществляться путем их электрического
соединения с заземляющими контактами. 20.7 На соединители
искробезопасных цепей требования 20.1-20.4, 20.6 не распространяются. 20.8 Тяговые аккумуляторы и аккумуляторные батареи, стартерные аккумуляторы и
аккумуляторные батареи (Измененная
редакция. Изм.
№ 1) 20.8.1 Аккумуляторы
должны удовлетворять следующим требованиям: - элементы и отверстия для заливки электролита и
отвода газов, кроме герметичных аккумуляторов, должны быть выполнены так, чтобы
исключалось выплескивание электролита и попадание посторонних предметов внутрь
аккумуляторов и допускался их заряд с закрытой пробкой; - перемычки
для соединения аккумуляторов в батареи должны быть выполнены самотормозящимися
в виде конусных контактов или равноценных им болтовых соединений. Аккумуляторы,
применяемые в электрооборудовании группы 1, должны иметь по два контакта на
каждый полюс. (Измененная
редакция. Изм.
№ 1) 20.8.2 Ящик для батарей, а
также встроенные и электроизоляционные части должны быть стойкими к воздействию
электролита (серной кислоты, калийной щелочи). Материалы должны удовлетворять
требованиям 6.1, 6.3. Не допускается их выполнять из пористых материалов. 20.8.3 Электроизоляционные
материалы для бака и покрытия металлических баков аккумуляторов и внутренней
поверхности батарейных ящиков должны быть стойкими к действию электролита
(серной кислоты, калийной щелочи). Материалы, обеспечивающие выполнение
указанных требований, должны быть оговорены в технических условиях на изделия. Конструкция пластмассовых
баков и полимерной изоляции металлических баков аккумуляторов должны
обеспечивать свободный сток жидкости и движение воздуха вдоль каждой боковой
поверхности бака. (Измененная
редакция. Изм.
№ 1) 20.8.4 Электроизоляционные материалы бака и полимерная изоляция
металлических баков аккумуляторов должны быть стойкими к действию электрических
разрядов по поверхности, смоченной электролитом, на уровне не ниже
трекингостойкости электроизоляционных материалов группы «г» по ГОСТ
Р 51330.20 и должны соответствовать требованиям 6.1, 6.3. (Измененная
редакция. Изм.
№ 1) 20.8.5 Ящики для батарей
необходимо выполнять так, чтобы была обеспечена достаточная вентиляция.
Содержание водорода в атмосфере батарейного ящика не должно превышать 2,5 %. Взрывобезопасные
батарейные ящики с маркировкой РВ ExdI должны иметь на вентиляционных отверстиях пламегасящие
пакеты, а ящики рудничных электровозов должны оснащаться газоанализатором на
водород, обеспечивающим подачу сигнала (звукового или светового) при достижении
концентрации водорода в атмосфере ящика 2,5 %. Наряду с
естественной вентиляцией ящика могут быть применены катализаторы для окисления
водорода. (Измененная
редакция. Изм.
№ 1) 20.8.6 Аккумуляторы должны быть встроены в ящик для батарей или в
поддон блока батареи так, чтобы ослабление их взаимной посадки было
исключено. Между двумя смежными аккумуляторами должна быть исключена
возможность возникновения разрядного напряжения, превышающего 24 В. (Измененная
редакция. Изм.
№ 1) 20.8.7 Путь
утечки между двумя полюсами смежных аккумуляторов и металлическими корпусами
аккумуляторов и металлическим дном батарейного ящика должен быть не менее 35
мм. При разрядных напряжениях выше 24 В необходимо дополнительно увеличить пути
утечки из расчета 1 мм на каждые 2 В. (Измененная
редакция. Изм.
№ 1) 20.8.8 Батарейные ящики рудничных контактно-аккумуляторных
электровозов, аккумуляторы которых можно питать от контактного провода с
помощью питающего устройства, должны иметь вентиляторы с двигателями во
взрывозащищенном исполнении. Двигатель вентилятора должен быть включен как при
работе от батареи, так и во время стоянки электровоза и в течение зарядки
батареи от контактного провода. (Измененная
редакция. Изм.
№ 1) 20.8.9 На батарейных ящиках и металлических поддонах блоков
батарей должен устанавливаться наружный заземляющий зажим по ГОСТ
21130, а в батарейных ящиках, в которых предусмотрена установка блоков
батарей, должны предусматриваться заземляющие зажимы внутри ящика. (Измененная редакция. Изм.
№ 1) 20.8.10 В
конструкции батарейных ящиков рудничных электровозов должна быть предусмотрена
возможность осуществления контроля изоляции аккумуляторных батарей при их
заряде и при работе электровозов на линии. (Измененная
редакция. Изм.
№ 1) 20.8.11 (Исключен. Изм.
№ 1) 21 Световые приборы21.1 Источник света световых
приборов должен быть защищен светопропускающим элементом, который может быть
снабжен дополнительной защитной решеткой с квадратными ячейками размером не
более 50 ´ 50 мм. Если размеры ячейки
более 50 ´ 50 мм, светопропускающий
элемент должен рассматриваться как не имеющий дополнительной защиты. Светопропускающий элемент и
защитная решетка, если она предусмотрена, должны выдерживать соответствующие
испытания согласно 23.4.3.1. Сборка световых приборов не
должна осуществляться одним болтом. Одиночный рым-болт может применяться только
в том случае, если он является неотъемлемой частью светильника, например, если
он выполнен заодно с оболочкой путем отливки или сварки, или (если применяется
установка на резьбе) рым-болт стопорится с помощью отдельных средств,
предотвращающих его от потери при отвинчивании. 21.2 За исключением
искробезопасных световых приборов, крышки, обеспечивающие доступ к ламповому
патрону и другим внутренним частям прибора, должны конструироваться таким
образом, чтобы выполнялось одно из следующих условий: a) крышки должны быть
сблокированы с устройством, автоматически отключающим все полюсы лампового
патрона, как только начинается процедура открывания крышки; b) или на крышках должна
быть предусмотрена предупредительная надпись «Открывать, отключив от сети». В первом случае (подпункт
а), когда некоторые части, кроме лампового патрона, все же остаются под
напряжением после срабатывания отключающего устройства, они, с целью
минимизации опасности взрыва, должны быть защищены: c) либо одним из видов
взрывозащиты, перечисленных в разделе 1; d) либо
защитой, в которой: - отключающее устройство
сконструировано таким образом, что при случайном на него воздействии вручную
исключается возможность непреднамеренной подачи напряжения на незащищенные
части; - электрические зазоры и
пути утечки между фазами (полюсами) и землей приняты в соответствии с требованиями
стандарта на защиту вида «е»; - использована
дополнительная внутренняя оболочка (которая одновременно может служить и
рефлектором для источника света), закрывающая находящиеся под напряжением части
и обеспечивающая степень защиты не ниже IP30 по ГОСТ 14254; - на дополнительной
внутренней оболочке нанесена предупредительная надпись «Открывать, отключив от
сети». 21.3 Лампы, содержащие
свободный металлический натрий (например натриевые лампы низкого давления в
соответствии с МЭК 60192 [2]), к применению не допускаются. Допускаются
натриевые лампы высокого давления. 21.4 Требования 21.1-21.3 не
распространяются на световые приборы группы I. Световые приборы группы I
должны соответствовать требованиям ГОСТ
24786. 22 Дополнительные требования к головным и ручным светильникам22.1 Головные светильники группы
I Головные светильники группы I
должны соответствовать требованиям ГОСТ
24786. 22.2 Ручные и головные
светильники группы II 22.2.1 Утечка электролита должна
исключаться при любом положении световых приборов. Примечание - Материалы, применяемые в ручных и головных светильниках, на которые возможно воздействие электролита, должны быть химически стойкими к воздействию электролита. 22.2.2 Если источник света и
источник питания расположены в отдельных оболочках, которые механически не
связаны друг с другом ничем, кроме электрического кабеля, то кабельные вводы и
соединяющий кабель должны быть испытаны на соответствие требованиям В.3.1 или В.3.2. Электрический
кабель должен быть защищен от токов короткого замыкания плавким
предохранителем. 23 Проверки и испытания23.1 Общие положения Проверки и испытания
предназначены для того, чтобы удостовериться, что прототип или образец
электрооборудования отвечает соответствующим требованиям настоящего стандарта и
стандартов на взрывозащиты конкретных видов. 23.2 Проверка документации Испытательная организация
должна удостовериться в том, что документация, представленная изготовителем, дает
достаточно полное и правильное описание всех аспектов взрывозащищенности
электрооборудования. Она должна также подтвердить, что в рассматриваемой
конструкции электрооборудования выполнены требования настоящего стандарта и
стандартов на взрывозащиту конкретных используемых видов. 23.3 Соответствие прототипа или
образца документации Испытательная организация
должна убедиться в том, что представленный на испытания прототип или образец
электрооборудования соответствует упомянутой выше документации изготовителя. 23.4 Испытания 23.4.1 Общие положения Образец или прототип должен
подвергаться испытаниям в испытательной организации в соответствии с
программой, приведенной в настоящем стандарте и в стандартах на взрывозащиту
конкретных используемых видов. Однако испытательная организация: - может посчитать проведение
определенных испытаний не обязательным. Испытательная организация должна вести
учет всех проведенных испытаний и обоснований причин, по которым те или иные
испытания не проводили; - может не проводить
испытания, которые уже были проведены на Ex-компоненте. Испытания должны проводиться
или в аккредитованной испытательной организации, или, по согласованию с ней, в
другом месте под контролем испытательной организации, например на
предприятии-изготовителе. Испытательная организация, в
случае необходимости, должна потребовать внесения изменений в техническую
документацию, которые она посчитает необходимыми, чтобы привести
электрооборудование в соответствие с настоящим стандартом и стандартами на
взрывозащиту конкретных используемых видов. Примерный перечень проверок
и испытаний приведен в приложении F. 23.4.2 Каждое испытание должно
проводиться на тех образцах изделия, которые определены испытательной организацией
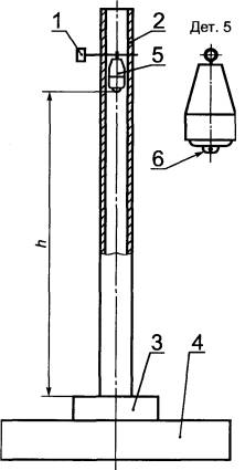
в качестве наиболее представительных. 23.4.3 Механические испытания 23.4.3.1 Испытания на ударостойкость При этом испытании
электрооборудование подвергают воздействию вертикально падающего с высоты h
груза массой 1 кг. Высота h определяется энергией удара
Е, приведенной в таблице 4 в зависимости от назначения
электрооборудования (h = Е/10; h в
метрах, E в джоулях). Груз должен быть снабжен бойком из
закаленной стали в форме полусферы диаметром 25 мм. Таблица 4
- Испытания на ударную прочность
Перед каждым испытанием
следует убедиться, что поверхность бойка находится в хорошем состоянии. Как правило, испытание на
ударостойкость проводят на полностью собранном и готовом к работе оборудовании;
однако если это обеспечить невозможно, (например в случае светопропускающих
частей), испытание проводят на демонтированных частях, установленных в своих
обычных или эквивалентных устройствах. Испытания на пустых оболочках
допускается проводить только в том случае, если предварительно об этом была
достигнута договоренность между изготовителем и испытательной организацией. Испытание светопропускающих
частей из стекла должно проводиться на трех образцах, но каждое стекло
испытывают один раз. Во всех других случаях испытание должно проводиться на
двух образцах, при этом по каждому образцу наносят два удара по разным местам.
Места нанесения удара выбирают там, где, по мнению испытательной организации,
прочность наиболее низкая. Электрооборудование должно устанавливаться на
стальной подставке таким образом, чтобы направление удара было перпендикулярным
к испытуемой поверхности, если она плоская, или перпендикулярным к касательной
к поверхности в точке удара, если поверхность неплоская. Подставка должна иметь
массу не менее 20 кг или же должна быть жестко закреплена, или же заделана в
пол (например надежно залита в бетон). В приложении D приведен пример
соответствующего испытательного устройства. Если электрооборудование
подвергают испытанию, соответствующему низкой опасности механических
повреждений, оно должно быть промаркировано знаком Х в соответствии с 27.2(i). Примечания 1 Степень опасности механических повреждений должна устанавливаться в стандартах или технических условиях на изделия. При этом для электрооборудования группы I низкую степень опасности механических повреждений принимают: - для электрооборудования с уровнем взрывозащиты РП; - для электрооборудования, взрывозащита которого обеспечивается искробезопасными цепями с уровнями взрывозащиты РП, РВ и РО; - для электрооборудования, предохраненного от внешних воздействий
защитным кожухом или конструктивными элементами машины, на которых установлено
электрооборудование, а также для рудничных переносных приборов индивидуального
пользования. Взрывонепроницаемые оболочки и их части передвижного электрооборудования группы 1, предназначенные для работы в очистных и подготовительных забоях (например, бурильные машины общего пользования, электродвигатели забойных конвейеров, электроблоки, устанавливаемые на очистных и проходческих машинах, а также отдельно в очистных и подготовительных забоях, пускатели), должны выдерживать удар с энергией не менее 70 Дж при массе груза (7 ± 0,1) кг. 2 Требования таблицы 4 не распространяются на световые приборы группы I. Требования изложены в ГОСТ 24786. 3 Защитные элементы реакционных камер первичных преобразователей шахтных метанометров должны соответствовать требованиям ГОСТ 24032 и испытываться по изложенным в нем методам. Как правило, испытание
проводят при температуре окружающей среды (20 ± 5) °С, за исключением случаев, когда
характеристики материала показывают, что его ударная прочность при более низких
температурах, в пределах предписанного диапазона окружающей температуры,
снижается; в последнем случае испытание должно быть проведено при самой низкой
температуре предписанного диапазона. Если электрооборудование
имеет оболочку или часть оболочки из пластмассы, включая пластмассовые
вентиляционные кожуха и вентиляционные жалюзи вращающихся электрических машин,
испытание должно проводиться при наибольшей и при наименьшей температурах
согласно 23.4.7.1. Допускается проводить
испытания на удар при окружающей температуре (20 ± 5) °С после выдержки
образцов в камере с фиксированной требуемой температурой. После стабилизации
температуры образца его помещают на установку и удар производят тогда, когда его
температура достигнет требуемого значения. (Измененная
редакция. Изм.
№ 1) 23.4.3.2 Испытания сбрасыванием В дополнение к испытанию на
стойкость к удару в соответствии с 23.4.3.1, ручное электрооборудование или
электрооборудование индивидуального пользования, носимое персоналом, должно
быть сброшено в готовом к работе состоянии четыре раза с высоты 1 м на
горизонтальную бетонную поверхность. Положение образца при испытании
сбрасыванием должно определяться испытательной организацией. Испытание
электрооборудования в оболочках из непластмассовых материалов должно
проводиться при температуре (20 ± 5) °С, за исключением случаев,
когда характеристики материала показывают, что его ударная прочность при более
низких температурах, в пределах предписанного диапазона температуры окружающей
среды, снижается; в последнем случае испытание должно быть проведено при самой
низкой температуре предписанного диапазона. Если электрооборудование
имеет оболочку или часть оболочки из пластмассы, испытание должно проводиться
при самой низкой температуре окружающей среды согласно 23.4.7.1. Допускается проводить
испытания на удар сбрасыванием при окружающей температуре (20 ± 5) °С после
выдержки образцов в камере с фиксированной требуемой температурой. После стабилизации
температуры образца его помещают на установку и сбрасывают, когда его
температура достигнет требуемого значения. (Измененная
редакция. Изм.
№ 1) 23.4.3.3 Необходимые результаты Испытания на ударостойкость
и сбрасыванием не должны приводить к повреждениям, нарушающим вид взрывозащиты
электрооборудования. Поверхностные повреждения,
отслаивание краски, повреждение ребер охлаждения или других подобных частей
электрооборудования, а также незначительные вмятины принимать во внимание не
следует. Защитные кожухи наружных
вентиляторов и вентиляционные жалюзи должны выдерживать испытания без
деформаций или смещений, приводящих к трению подвижных частей. 23.4.3.4 Проверку материалов на
фрикционную искробезопасность проводят для электрооборудования, при
эксплуатации которого возможно возникновение фрикционных искр (например,
переносное электрооборудование, применяемое в местах с опасностью удара
посторонними предметами, и электрооборудование, имеющее подвижные и неподвижные
элементы). Испытания проводят по
методике, приведенной в приложении Е. 23.4.3.5 При испытании
аккумуляторных батарей на расплескивание электролита светильник вместе с
аккумуляторной батареей, заполненной электролитом в количестве, необходимом для
его нормальной работы, подвергают качательным движениям в течение 20 мин на
угол, равный 90° по вертикали, со скоростью 72 цикла в минуту. Испытания
проводят на двух световых приборах. Электрооборудование считают
выдержавшим испытания, если после испытания в течение 20 мин электролит не будет
обнаружен на поверхности аккумулятора. 23.4.4 Проверка степени защиты, обеспечиваемой оболочками Методики испытаний и
критерии оценки результатов должны соответствовать ГОСТ 14254, за
исключением следующего: для вращающихся электрических машин указанные методики
и критерии должны соответствовать ГОСТ
17494. Если изготовитель
устанавливает более жесткие критерии, чем это требуют ГОСТ 14254 или ГОСТ
17494 (например, критерии в соответствующем стандарте на изделие), они
должны применяться, если только не оказывают отрицательного влияния на
взрывозащиту. В случае применения ГОСТ
14254 оболочки следует относить к категории I, как это установлено в
13.4.3 ГОСТ 14254. При испытаниях в
соответствии с ГОСТ 14254 напряжение на электрооборудование не должно
подаваться. Испытание электрической
прочности изоляции по 12.3.2 ГОСТ 14254, если это требуется, должно
проводиться при [(2Uном + 1000) ± 10 %] В,
среднеквадратичное значение, в течение 10-12 с, где Uном - максимальное номинальное
напряжение электрооборудования. Если стандарт на
взрывозащищенное электрооборудование устанавливает критерии оценки результатов
проверки степени защиты, эти критерии и должны применяться вместо установленных
в ГОСТ 14254. Критерии оценки результатов
испытаний, установленные ГОСТ
17494, должны применяться к вращающимся электрическим машинам;
соответствие стандарту на вид взрывозащиты может рассматриваться как
дополнительный способ обеспечения защиты IP. 23.4.5 Испытание крутящим моментом проходных изоляторов Проходные изоляторы,
используемые в соединительных контактных зажимах, подвергающиеся воздействию
крутящего момента при подсоединении или отсоединении проводников, должны быть
испытаны на стойкость к воздействию крутящего момента. Ни шпилька в проходном
изоляторе, ни сам смонтированный в изделии проходной изолятор не должны
проворачиваться при воздействии на шпильку крутящего момента, значение которого
приведено в таблице 5. Крутящий момент, указанный в таблице 5, плавно
прикладывают к гайкам или стержням и выдерживают в течение 10 с. Допустимое
отклонение крутящего момента ± 10 %. Таблица 5 - Крутящий момент,
прикладываемый к шпильке проходного изолятора соединительных контактных зажимов
Примечание - Значение крутящего момента для шпилек других размеров, отличающихся от размеров, приведенных выше, может быть определено по графику, построенному по приведенным в таблице величинам. Кроме того, график можно экстраполировать для определения значений моментов для шпилек проходных изоляторов, больших по размерам, чем указанные в таблице. 23.4.6 Тепловые испытания 23.4.6.1 Измерение температуры. Тепловые испытания должны
проводиться при номинальных условиях работы электрооборудования, за исключением
испытания по определению максимальной температуры поверхности. Последнее
испытание проводят в самых жестких условиях при наиболее неблагоприятных
отклонениях питающего напряжения в пределах от 90 до 110 % номинального
напряжения электрооборудования, если изготовитель не подтвердит, что другие
стандарты предписывают иные отклонения для аналогичного электрооборудования
общего назначения. Измеренная максимальная температура поверхности не должна
превышать: - для электрооборудования
группы I - значений, приведенных в 5.1.1; - для электрооборудования
группы II, каждый изготовленный образец которого подвергают в установленном
порядке тепловому испытанию, - температуру, промаркированную на
электрооборудовании; - для электрооборудования
группы II, которое подвергают контрольному испытанию, - температуру, указанную в
маркировке, или температурный класс, уменьшенные на 5 °С для температурных классов Т6, Т5, Т4 и Т3 и
на 10 °С - для температурных
классов Т2 и Т1. Результат должен
корректироваться с учетом максимальной температуры окружающей среды,
приведенной в технической характеристике. Измерение температур
поверхности, температур кабельных вводов и других частей, когда это
предписывается настоящим стандартом и конкретными стандартами на виды
взрывозащиты, должно проводиться в спокойном состоянии окружающего воздуха, а
само электрооборудование при этом устанавливают в своем нормальном рабочем
положении. Для электрооборудования,
которое в обычных условиях может использоваться в любых положениях, температуру
определяют для каждого положения и в расчет принимают самую высокую
температуру. Если температура измерялась
только для определенных положений, это должно быть указано в протоколе
испытаний, а электрооборудование должно маркироваться знаком Х или иметь
соответствующую табличку. Измерительные приборы
(термометры, термопары и др.) и соединительные провода должны выбираться таким
образом, чтобы они не оказывали заметного влияния на тепловые характеристики
электрооборудования. Конечную температуру считают
установившейся, когда скорость возрастания температуры не превышает 2 °С/ч.
Испытательная организация должна также определить температуру в наиболее
горячей точке оболочки или части оболочки из пластмассы (см. 7.2). (Измененная
редакция. Изм.
№ 1) 23.4.6.1.1 Проверку отсутствия воспламенения от нагретой поверхности определяют в
трех опытах на одном образце электрооборудования. Испытуемый образец помещают
во взрывную камеру. В камере создают взрывоопасную смесь, состав которой
определяется испытательной организацией. Образец нагревают до
установившейся температуры в соответствии с 23.4.6.1, после чего повышают
температуру измеряемой поверхности на величину, указанную в 5.3, одним из следующих
способов: - повышением напряжения или
увеличением нагрузки; - повышением температуры
горючей смеси в камере за счет нагрева оболочки взрывной камеры. Температуру внутри камеры и
на образце измеряют с погрешностью ± 1 °С. Время выдержки - 15 мин. Электрооборудование считают
выдержавшим испытание, если ни в одном из опытов не произошло воспламенения
смеси во взрывной камере. 23.4.6.2 Испытание на тепловой удар Стеклянные части
светильников и смотровых окон электрооборудования должны выдерживать без повреждения
тепловой удар, вызываемый струёй воды диаметром 1 мм под давлением не менее 0,1
МПа при температуре (10 ± 5) °С; струю воды направляют на эти части, когда они
нагреты до максимальной эксплуатационной температуры. Испытания
проводятся в течение не менее 5 мин три светопропускающих элемента. Изделие считают
выдержавшим испытание, если на светопропускающем элементе отсутствуют сквозные
трещины. (Измененная
редакция. Изм.
№ 1) 23.4.7 Испытания неметаллических оболочек и неметаллических частей оболочек (Измененная
редакция. Изм.
№ 1) 23.4.7.1 Температуры окружающей
среды при испытаниях Если, в соответствии с
настоящим стандартом или стандартами на взрывозащиту конкретных видов,
перечисленными в разделе
1, испытания должны проводиться с учетом допустимого диапазона
значений температуры окружающей среды, то эта температура должна быть: - для верхнего предела -
максимальная температура окружающей среды в эксплуатации (см. 5.2), увеличенная
не менее чем на 10 °С, но не более чем на 15 °С; - для нижнего предела -
минимальная температура окружающей среды в эксплуатации (см. 5.2), уменьшенная
не менее чем на 6 °С, но не более чем на 10 °С. 23.4.7.2 Испытания оболочек или
частей оболочек из пластмасс a) Электрооборудование
группы I Испытания должны проводиться
на шести образцах. При этом должны быть представлены: - два образца для испытаний
на теплостойкость (см. 23.4.7.3), затем на холодостойкость (см. 23.4.7.4),
затем для механических испытаний (см. 23.4.7.7) и, наконец, для испытаний,
специфичных для примененного вида взрывозащиты; - два образца для испытаний
на стойкость к воздействию масел и смазочных материалов (см. 23.4.7.6),
затем для механических испытаний (см. 23.4.7.7) и, наконец, для испытаний,
специфичных для примененного вида взрывозащиты; - два образца для испытаний
на стойкость к воздействию гидравлических жидкостей, применяющихся в шахтах
(см. п.
23.4.7.6), затем для механических испытаний (см. 23.4.7.7)
и, наконец, для испытаний, специфичных для примененного вида взрывозащиты. С помощью процедур и
последовательностей испытаний, указанных выше, должна быть доказана способность
пластического материала обеспечить сохранение примененных видов взрывозащиты,
приведенных в разделе
1. По усмотрению испытательной организации количество испытаний
может быть сокращено до минимума, если очевидно, что образец не может быть
поврежден так, чтобы нарушалась взрывозащита данного вида. Подобным же образом
может быть уменьшено число образцов, если возможно совместить испытания по
воздействию среды с испытаниями, подтверждающими взрывозащищенность, на двух
тех же самых образцах. b) Электрооборудование
группы II Испытания должны
проводиться на двух образцах, которые должны быть представлены для испытаний на
теплостойкость (см. 23.4.7.3), затем на холодостойкость (см. 23.4.7.4), затем
для механических испытаний (см. 23.4.7.7)
и, наконец, - для испытаний, специфичных для примененного вида взрывозащиты. (Измененная
редакция. Изм.
№ 1) 23.4.7.3 Теплостойкость Теплостойкость определяют
путем непрерывной выдержки представленных оболочек или частей оболочек из
пластмасс, которые обеспечивают целостность вида взрывозащиты, в течение
четырех недель в атмосфере с относительной влажностью (90 ± 5) % и при
температуре, на (20 ± 2) % превышающей максимальную температуру в эксплуатации,
но не менее 80 °С. В случае
максимальной эксплуатационной температуры свыше 75 °С испытания проводят в
течение двух недель при температуре (95 ± 2) °С и относительной влажности (90 ±
5) %, а затем в течение последующих двух недель - при температуре, на (20 + 2)
°С превышающей температуру в эксплуатации. (Измененная
редакция. Изм.
№ 1) 23.4.7.4 Холодостойкость Холодостойкость определяют
выдержкой представленных оболочек и частей оболочек из пластмасс, от которых
зависит вид взрывозащиты, в течение 24 ч при температуре окружающей среды,
соответствующей минимальной температуре в эксплуатации, уменьшенной в
соответствии с 23.4.7.1. 23.4.7.5 Светостойкость 23.4.7.5.1 Испытание материала на
светостойкость должно проводиться только в том случае, если оболочка или части
оболочки из пластмассы не защищены от воздействия света; в случае
электрооборудования группы I испытание распространяется
только на световые приборы. Испытание должно проводиться
на шести испытательных стержнях стандартного размера 50´16´4 мм. Испытательные стержни должны
быть изготовлены в тех же условиях, что и оболочки; эти условия должны быть
отражены в протоколе испытаний электрооборудования. Испытание должно
проводиться в соответствии с ИСО 4892-1 [3] в экспозиционной камере с
использованием ксеоновой лампы и системы фильтров, моделирующих солнечный свет,
на черной панели с температурой поверхности (55 ± 3) °С. Продолжительность
испытаний должна составлять 1000 ч. Оценочный критерий -
прочность при ударном изгибе в соответствии с ГОСТ 4647.
Прочность при ударном изгибе в случае удара по облученной стороне образца
должна составлять не менее 50 % соответствующей величины, измеренной на
образцах, не подвергшихся облучению. Для материалов, у которых
прочность при ударном изгибе не может быть измерена до облучения, поскольку
никаких разрушений не возникало, допускается разрушение не более трех
подвергшихся облучению образцов. 23.4.7.5.2 Если
электрооборудование при его установке защищено от воздействия света (например
от дневного света или света люминесцентных светильников) и испытания по 23.4.7.5.1
не проводились, то оно должно маркироваться знаком X. 23.4.7.6 Стойкость
электрооборудования группы I к воздействию химических
агентов Пластмассовые оболочки и пластмассовые части оболочек должны быть
представлены для испытания на стойкость к воздействию следующих химических
агентов: - масла и смазочные
материалы; - гидравлические жидкости,
применяющиеся в шахтах. Испытания должны проводиться
на четырех образцах, закрытых таким образом, чтобы исключить попадание
испытательной жидкости во внутрь оболочки. При этом: - два образца должны выдерживаться
(24 ± 2) ч в масле № 2 в соответствии с приложением «Контрольные жидкости
для погружения» ГОСТ
9.030 при температуре (50 ± 2) °С; - два других образца должны
выдерживаться (24 ± 2) ч в негорючей гидравлической жидкости, предназначенной
для работы при температуре от минус 20 до плюс 60 °С, представляющей собой
водный раствор полимера в 35 % воды при температуре (50 ± 2) °С. В конце испытаний упомянутые
образцы оболочек следует вынуть из ванны с жидкостью, тщательно вытереть и
выдержать в течение (24 ± 2) ч в лабораторных условиях. После этого каждый
образец оболочки должен подвергнуться механическим испытаниям согласно
23.4.7.7. Если хотя бы один из
образцов оболочки не выдержал механические испытания, в документации,
прилагаемой к электрооборудованию, должны быть приведены особые условия для
обеспечения безопасности, а маркировка самого электрооборудования должна
включать знак Х согласно 27.2i. 23.4.7.7 Механические испытания Механические испытания
оболочек должны быть выполнены в соответствии с 23.4.3, а в случае пластмассовых
оболочек, кроме того, должны быть проведены испытания по 23.4.7.2.
Следует учесть следующие уточняющие условия. a) Испытание на стойкость к удару Места нанесения удара должны
выбираться на наружных частях, доступных удару. Если оболочка из
неметаллического материала защищена другой оболочкой, испытанию на стойкость к
удару должны подвергаться только наружные части оболочки. Испытание должно проводиться
сначала при наибольшей, а затем при наименьшей температуре согласно 23.4.7.1. b) Испытание сбрасыванием Испытание сбрасыванием
ручного переносного электрооборудования должно проводиться при самой низкой
температуре согласно 23.4.7.1. 23.4.7.8 Испытание по определению
сопротивления изоляции частей оболочек из пластмассы Сопротивление определяют на
частях оболочек, если позволяют их размеры, или на испытательном образце в виде
прямоугольной пластины с размерами в соответствии с рисунком 4; на образце
наносят два параллельных электрода из проводящей краски на растворителе,
который не оказывает существенного влияния на сопротивление изоляции.
Рисунок 4 - Испытательный образец с электродами из проводящей краски Испытательный образец должен
иметь неповрежденную поверхность. Перед испытаниями его нужно промыть
дистиллированной водой, затем изопропиловым спиртом (или другим растворителем,
который может смешиваться с водой и не влияет на испытуемый образец), а затем
еще раз дистиллированной водой и просушить. Не касаясь образца голыми руками,
его помещают в испытательную камеру и выдерживают 24 ч при температуре и
влажности согласно 7.3. Испытания проводят в
нормальных климатических условиях по ГОСТ 15150. Постоянное напряжение,
прикладываемое к электродам в течение 1 мин, должно составлять (500 ± 10) В. Напряжение при испытании
должно быть стабильным, чтобы зарядный ток, возникающий вследствие флуктуации
напряжения, был незначительным по сравнению с током, протекающим по испытуемому
образцу. Сопротивление изоляции - это
частное от деления приложенного к электродам напряжения постоянного тока на
общий ток, протекающий между ними. 23.4.7.9 Проверку на
искробезопасность от электростатических разрядов проводят по ГОСТ 12.1.018. 23.4.7.10 Проверку материалов на
негорючесть и трудногорючесть проводят по ГОСТ 12.1.044. Проверку материала на
стойкость к действию пламени проводят на шести образцах в виде стержня толщиной
(3 ± 0,2) мм. Испытуемый образец поддерживают горизонтально. Пламя высотой 100
мм газовой горелки Бунзена с диаметром верхнего отверстия 9,5 мм подводят к
свободному концу стержня в течение 60 с и регистрируют время, в течение
которого испытуемый образец продолжает гореть после отвода пламени. Материал считают выдержавшим
испытания, если время горения после отвода пламени от образца не превышает 15
с. Аппаратура и подготовка к испытанию - по ГОСТ 21207. 23.4.8 Испытания во взрывоопасных смесях Если требуются испытания во
взрывоопасных смесях, то требования к ним устанавливаются в стандартах на
взрывозащиту конкретного вида. Примечание - Для указанных испытаний достаточной, как правило, является чистота обычных коммерческих газов и паров, но они не должны применяться, если их чистота ниже 95 %. Воздействия обычных колебаний температуры и атмосферного давления в лаборатории, а также колебаний влажности взрывчатой смеси считают приемлемыми, т. к. установлено, что эти колебания не оказывают отрицательного влияния на результаты испытаний. При необходимости требования
к условиям испытаний уточняются в стандартах на взрывозащиту конкретных видов. 24 Контрольные проверки и испытания, выполняемые изготовителемИзготовитель должен
проводить контрольные проверки и испытания, необходимые для того, чтобы
гарантировать обеспечение соответствия изготовленного электрооборудования
документации, представленной в испытательную организацию вместе с прототипом
или образцом. 25 Ответственность изготовителяМаркируя электрооборудование
в соответствии с разделом
27, изготовитель подтверждает под свою ответственность, что: - электрооборудование
сконструировано согласно требований соответствующих примененных стандартов в
части безопасности; - контрольные проверки и
испытания по разделу 24 выполнены в полном объеме и изделие соответствует
документации, представленной в испытательную организацию. 26 Проверки и испытания отремонтированного и модернизированного электрооборудованияИзменения, выполненные в
электрооборудовании и влияющие на обеспечение вида взрывозащиты или температуру
оборудования, допускаются только в том случае, если модернизированное
электрооборудование было проверено и испытано в испытательной организации. Изменения и ремонт
электрооборудования, применяемого во взрывоопасных помещениях и наружных
установках, кроме шахт и производств, связанных с взрывчатыми веществами,
должны выполняться в соответствии с ГОСТ
Р 51330.18. Примечание - После ремонта частей электрооборудования, определяющих вид взрывозащиты, электрооборудование должно быть подвергнуто новым контрольным проверкам и испытаниям. Эти испытания не обязательно должны проводиться изготовителем электрооборудования. 27 МаркировкаПриведенная ниже система маркировки
должна применяться только в электрооборудовании, отвечающем требованиям
стандартов на взрывозащиту конкретных видов, перечисленную в разделе 1. 27.1 Электрооборудование на
основной части корпуса должно быть промаркировано. Маркировка должна быть
разборчивой и долговечной, с учетом возможной химической коррозии. 27.1.1 Маркировка
взрывозащиты электрооборудования должна выполняться рельефными знаками в
удобном месте оболочки электрооборудования или на табличке, прикрепляемой к
оболочке таким образом, чтобы была обеспечена сохранность ее в течение всего
срока службы электрооборудования в условиях, для которых оно предназначено. Все данные маркировки по 27.2 могут быть выполнены на
одной или нескольких табличках. 27.1.2 Маркировка
взрывозащиты электрооборудования группы II должна выполняться в виде
цельного, не разделенного на части обозначения. 27.1.3 Маркировка
взрывозащиты рудничного электрооборудования группы I
должна состоять из двух частей. В первой части указывают уровень взрывозащиты,
во второй части, располагаемой правее или ниже первой, - остальную часть
маркировки. Например, РВ РО
или PB ExdibI, PO Exiasl. ExdibI Exiasl 27.2 Маркировка должна включать: a) наименование изготовителя
или его зарегистрированный товарный знак; b) обозначение типа
электрооборудования. c) знак Ех, указывающий, что
электрооборудование соответствует стандартам на взрывозащиту конкретного вида. Маркировка
электрооборудования группы I в соответствии с 27.1.3
должна содержать обозначение уровня взрывозащиты: РП - для электрооборудования
повышенной надежности против взрыва; РВ - для взрывобезопасного
электрооборудования; РО - для
особовзрывобезопасного электрооборудования. Маркировка взрывозащиты
электрооборудования группы II должна содержать перед
знаком Ех знак уровня взрывозащиты: 2 - для электрооборудования
повышенной надежности против взрыва; 1 - для взрывобезопасного
электрооборудования; 0 - для
особовзрывобезопасного электрооборудования, d)
обозначение вида взрывозащиты: о - масляное заполнение
оболочки; р - заполнение или продувка
оболочки под избыточным давлением; q -
кварцевое заполнение оболочки; d - взрывонепроницаемая
оболочка; е - защита вида «е»; ia -
искробезопасность, уровень «ia» (категория «ia»); ib -
искробезопасность, уровень «ib» (категория «ib»); ic
- искробезопасность, уровень «ic» (категория «ic»); m -
герметизация компаундом; n -
защита вида «n»; s
- специальный вид взрывозащиты; e) обозначение группы
электрооборудования: I - для
электрооборудования, предназначенного для подземных выработок шахт и рудников и
их наземных строений, опасных по рудничному газу или пыли; II или IIА, или
IIB или IIC - для электрооборудования внутренней и наружной
установки, предназначенного для применения в местах с потенциально
взрывоопасной газовой средой, кроме шахт и их наземных строений, опасных
по рудничному газу. Буквы А, В, С должны
использоваться в том случае, если это предписывает стандарт на взрывозащиту
конкретного вида. Если электрооборудование
предназначено для применения только в одном газе, сразу за обозначением «II»
должна следовать химическая формула (или название) газа. Примечание - Электрооборудование, имеющее маркировку IIB, пригодно для применения в местах, где требуется электрооборудование группы IIА. Подобным же образом электрооборудование с маркировкой IIC пригодно для применения в местах, где требуется электрооборудование группы IIА или IIB. f) для электрооборудования
группы II - обозначение температурного класса, или максимальную температуру
поверхности, или же то и другое вместе. Если в маркировке указаны оба этих
данных, температурный класс должен указываться последним, в скобках. На
кабельных вводах температурный класс не маркируют. Пример: Т1 или 350 °С, или 350 °С (TI). Электрооборудование, имеющее
максимальную температуру поверхности выше 450 °С, должно маркироваться лишь
нанесением значения температуры. Пример: 600 °С. Электрооборудование,
предназначенное для применения в определенном газе, не требует указания
значения температуры. В соответствии с 5.2 маркировка
должна включать обозначение - или вместе с диапазоном окружающей температуры; g)
порядковый номер, за исключением: - присоединительной арматуры
(кабельные и трубные вводы, заглушки, промежуточные платы, розетки и вилки
соединителей и проходные изоляторы); - миниатюрного оборудования
с ограниченной поверхностью. (Номер партии может
рассматриваться в качестве альтернативы порядковому номеру); h)
название или знак органа по сертификации и номер сертификата (при выдаче
сертификата); i) специальные условия для обеспечения
безопасности в эксплуатации, если испытательная организация считает необходимым
это указать, после маркировки взрывозащиты должен размещаться знак X.
Испытательная организация может использовать предупредительную надпись вместо
знака X. Примечание - Изготовитель должен обеспечить передачу потребителю требований по специальным условиям безопасного применения вместе с другой необходимой информацией; j) любую
другую дополнительную маркировку, предписываемую стандартами на взрывозащиту
конкретных видов, перечисленных в разделе 1; k) любую
маркировку, требуемую стандартами на электрооборудование конкретного вида.
Указанная маркировка не требует проверки испытательной организацией. 27.3 В случае использования на
различных частях электрооборудования различных видов взрывозащиты, каждая
соответствующая часть должна иметь обозначение принятого в ней вида
взрывозащиты. Если в электрооборудовании
используют взрывозащиту нескольких видов, на первом месте ставят обозначение
основного вида взрывозащиты, а затем других видов. 27.4 Маркировки по перечислениям
с) - f) пункта 27.2
должны размещаться в приведенной последовательности. 27.5 Ex-компоненты по разделу 13
должны иметь маркировку на видном месте. Эта маркировка должна быть
разборчивой, долговечной и содержать: a) наименование или
зарегистрированный товарный знак изготовителя; b) обозначение типа
Ex-компонента; c) обозначение Ех; d)
обозначение каждого примененного вида взрывозащиты; e) обозначение группы
взрывозащищенного комплектующего изделия; f) наименование или знак
органа по сертификации; g) обозначение сертификации
и знак U, нанесенный после маркировки взрывозащиты (знак Х применяться не
должен); h) дополнительную
маркировку, предписываемую стандартами на конкретные примененные виды
взрывозащиты, из числа приведенных в разделе 1 и i) маркировку, требуемую в
общем случае стандартами на комплектующие взрывозащищенные изделия. Указанная
маркировка испытательной организацией не проверяется. 27.6 На малогабаритном
электрооборудовании и на Ex-компонентах с ограниченной поверхностью по решению
испытательной организации маркировка может быть сокращена, но тем не менее в
ней по возможности должно быть отражено следующее: a) наименование или
зарегистрированный товарный знак изготовителя; b) знак Ех и обозначение
уровня и вида взрывозащиты, а на Ex-компонентах - знак Ех и обозначение вида
взрывозащиты; c) наименование или знак
органа по сертификации; d) обозначение типа
электрооборудования или Ex-компонента; e) обозначение сертификата; f) знак Х для
электрооборудования, если он предусмотрен, или знак U для Ex-компонента. Примечание - Маркирование по пунктам а), b), d) и f) является обязательным. 27.7 Примеры маркировки
сертифицированного электрооборудования Примечание - Настоящие примеры не включают маркировку,
которую, как правило, устанавливают стандарты на электрооборудование общего
назначения (см. 27.2k и 27.5i). 27.7.1 Электрооборудование
во взрывонепроницаемой оболочке для применения в шахтах, опасных по рудничному
газу (метану): АО «Логика» Тип КСЛ.1М PBExdl № 325 Сертиум № РОСС RU.AЮ30.B00018 27.7.2 Ex-компонент,
частично во взрывонепроницаемой оболочке и частично с искробезопасными
электрическими цепями, для применения в помещениях и наружных установках с
взрывоопасными средами, кроме шахт, опасных по рудничному газу (метану), а
именно с газом подгруппы С: АО «Интеграл» Тип КВ369 ExdiaIICU № 744 ОС ВРЭ ВостНИИ № РОСС RU.Mг02.A00028 (Измененная
редакция. Изм.
№ 1) 27.7.3 Электрооборудование,
частично с взрывозащитой вида «е» и частично с видом взрывозащиты «заполнение
или продувка оболочки под избыточным давлением», с максимальной температурой
поверхности 125 °С, для применения в
помещениях и наружных установках с взрывоопасными средами, кроме шахт, опасных
по рудничному газу, а именно, с газом и температурой самовоспламенения более
125 °С, при выполнении особых условий
безопасности, приведенных в сертификате: пэмз Тип 250DM1
2ЕхерII
125 °С (Т4) Х № 56732 ЦС СТВ РОСС.RUГБ04.В00093 27.7.4 Электрооборудование,
частично с видом взрывозащиты «взрывонепроницаемая оболочка» и частично с
защитой вида «е», для применения в шахтах, опасных по рудничному газу (метану),
а также в помещениях и наружных установках с взрывоопасными средами, иными, чем
рудничный газ, а именно с газом подгруппы В и температурой самовоспламенения
более 200 °С: Троникс Тип 5 CD PBExdeI/1ExdeIIBT3 № 5634 НАНИО ЦСВЭ № РОСС RU.ГБ05.B00063 (Измененная
редакция. Изм.
№ 1) 27.7.5 Электрооборудование
во взрывонепроницаемой оболочке для применения в помещениях и наружных
установках, кроме шахт, опасных по рудничному газу, с взрывоопасными средами
только на основе аммиака: НЗША Тип NTЗ 1ExdII(NH3) № 6549 Сертиум № РОСС RU.AЮ30.B00054 ПРИЛОЖЕНИЕ А
| |||||||||||||||||||||||||||||||||||||||||||||||||||||||||||||||||||||||||||||||||||||||||||||||||||||||||||||||||||||||||||||||||||||||||||||||||||||||||||||||||||||||||||||||||||||||||||||||||||||||||||||||||||||||||||||||||||||||||||||||||||||||||||||||||||||||||||||||||||||||||||||||||||||||||||||||||||||||||||||||||||||||||||||||||||||||||||||||||||||||||||||||||||||||||||||||||||||||||||||||||||||||||||||||||||||||||||||||||||||||||||||||||||||||||||||||||||||||||||||||||||||||||||||||||||||||||||||||||||||||||||||||||||||||||||||||||||||||||||||||||||||||||||||||||||||||||||||||||||||||||||||||||||||||||||||||||||||||||||||||||||||||||||||||||||||||||||||||||||||||||||||||||||||||||||||||||||||||||||||||||||||||||||||||||||||||||||||||||||||||||||||||||||||||||||||||||||||||||||||||||||||||||||||||||||||||||||||||||||||||||||||||||||||||||||||||||||||||||||||||||||||||||||||||||||||||||||||||||||||||||||||||||||||||
|
Газы и пары |
Химическая формула |
Метод классификации |
|
1 Углеводороды |
|
|
|
Алканы |
|
|
|
Метан |
сн4 |
с |
|
Этан |
С2Н6 |
с |
|
Пропан |
C3H8 |
с |
|
Бутан |
С4Н10 |
с |
|
Пентан |
С5Н12 |
с |
|
Гексан |
С6Н14 |
с |
|
Гептан |
С7Н16 |
с |
|
Октан |
С8Н18 |
а |
|
Нонан |
С9Н20 |
d |
|
Декан |
С10Н22 |
а |
|
Циклопропан |
|
а |
|
Циклобутан |
|
d |
|
Циклопентан |
|
а |
|
Циклогексан |
|
с |
|
Циклогептан |
|
d |
|
Метилциклобутан |
СН3СН(СН2)2СН2 |
d |
|
Метилциклопентан |
СН3СН(СН2)3СН2 |
d |
|
Метилциклогексан |
СН3СН(СН2)4СН2 |
d |
|
Этилциклобутан |
С2Н5СН(СН2)2СН2 |
d |
|
Этилциклопентан |
С2Н5СН(СН2)3СН2 |
d |
|
Этилциклогексан |
|
d |
|
Декагидронафтален (декалин) |
|
d |
|
Алкены |
|
|
|
Пропилен |
СН3СН = СН2 |
а |
|
Ароматические углеводороды |
|
|
|
Стирол |
С6Н5СН = СН2 |
b |
|
Бензольные углеводороды |
|
|
|
Бензол |
с6н6 |
с |
|
Толуол |
С6Н5СН3 |
d |
|
Ксилол |
С6Н4(СН3)2 |
а |
|
Этилбензол |
с6н5с2н5 |
d |
|
Триметилбензол |
С6Н3(СН3)3 |
d |
|
Нафталин |
С10Н8 |
d |
|
Кумол |
С6Н5СН(СН3)2 |
d |
|
Цимол |
(СН3)2СН С6Н4СН3 |
d |
|
Смешанные углеводороды |
|
|
|
Метан (промышленный) |
См. примечание 1 |
а (расчетное) |
|
Терпентин |
|
d |
|
Лигроин нефтяной |
|
d |
|
Лигроин угольный |
|
d |
|
Нефть (включая моторные топлива) |
|
d |
|
Сольвент нефтяной |
|
d |
|
Мазут (топочное масло) |
|
d |
|
Керосин |
|
d |
|
Дизельное топливо |
|
d |
|
Бензин |
|
a |
|
2 Соединения, содержащие кислород |
|
|
|
Спирты и фенолы |
|
|
|
Метиловый спирт |
СН3ОН |
с |
|
Этиловый спирт |
С2Н5ОН |
с |
|
Пропиловый спирт |
С3Н7ОН |
a |
|
Бутиловый спирт |
С4Н9ОН |
a |
|
Амиловый спирт |
С5Н11ОН |
a |
|
Гексиловый спирт |
с6н13он |
a |
|
Гептиловый спирт |
с7н15он |
d |
|
Октиловый спирт |
с8н17он |
d |
|
Нониловый спирт |
с9н19он |
d |
|
Циклогексанол |
|
d |
|
Метилциклогексанол |
|
d |
|
Фенол |
с6н5он |
d |
|
Крезол |
СН3С6Н4ОН |
d |
|
Диацетоновый спирт |
(СН3)2С(ОН) СН2СО СН3 |
d |
|
Альдегиды |
|
|
|
Уксусный альдегид |
СН3СНО |
a |
|
Метальдегид |
(СН3СНО)n |
d |
|
Кетоны |
|
|
|
Ацетон |
(СН3)2СО |
с |
|
Пропилметилкетон |
С3Н7СО СН3 |
a |
|
Бутилметилкетон |
С4Н9СО СН3 |
a |
|
Амилметилкетон |
С5Н11СО СН3 |
d |
|
2,4-Пентандион (ацетилацетон) |
СН3СО СН2СО СН3 |
a |
|
Циклогексанон |
|
a |
|
Эфиры |
|
|
|
Метилформиат |
Н СОО СН3 |
a |
|
Этилформиат |
Н COO С2Н5 |
a |
|
Метилацетат |
СН3СОО СН3 |
с |
|
Этилацетат |
СН3СОО С2Н5 |
a |
|
Пропилацетат |
СН3СОО С3Н7 |
a |
|
Бутилацетат |
СН3СОО С4Н9 |
с |
|
Амилацетат |
СН3СОО С5Н11 |
d |
|
Метилметакрилат |
СН2 = С(СН3) СОО СН3 |
a |
|
Этилметакрилат |
СН2 = С(СН3) СОО С2Н5 |
d |
|
Вицилацетат |
СН3СОО СН = СН2 |
a |
|
Этилацетоацетат |
СН3СО СН2СОО С2Н5 |
a |
|
Кислоты |
|
|
|
Уксусная кислота |
СН3СООН |
b |
|
3 Соединения, содержащие галогены |
|
|
|
Соединения без кислорода |
|
|
|
Метан хлористый |
СН3Сl |
a |
|
Этил хлористый |
С2Н5Сl |
b |
|
Этил бромистый |
С2Н5Вr |
d |
|
Пропил хлористый |
С3Н7Сl |
a |
|
Бутил хлористый |
C4H9Cl |
a |
|
Бутил бромистый |
С4Н9Вr |
d |
|
Дихлорэтан |
С2Н4Сl2 |
a |
|
Дихлорпропан |
С3Н6Сl2 |
d |
|
Хлорбензол |
С6Н5Сl |
d |
|
Бензил хлористый |
с6н5сн2сl |
a |
|
Дихлорбензол |
С6Н4Cl2 |
a |
|
Алил хлористый |
СН2 = СНСН2Сl |
d |
|
Дихлорэтилен |
СНСl = СН Сl |
a |
|
Этилен хлористый |
СН2 = СН Сl |
с |
|
Бензотрифторид |
C6H5CF3 |
a |
|
Дихлорметан |
CH2Cl2 |
d |
|
Соединения, содержащие кислород |
|
|
|
Ацетил хлористый |
СН3СОСl |
d |
|
Хлорэтиловый спирт |
СН3С1СН2ОН |
d |
|
4 Соединения, содержащие серу: |
|
|
|
Этилмеркаптан |
С2Н5SH |
с |
|
Пропилмеркаптан |
С3Н7SH |
a (расчетное) |
|
Тиофен |
|
a |
|
Тетрагидротиофен |
|
a |
|
5 Соединения, содержащие азот |
|
|
|
Аммиак |
NH3 |
a |
|
Ацетонитрил |
CH3CN |
a |
|
Нитрометан |
CH3NO2 |
d |
|
Нитроэтан |
C2H5NO2 |
d |
|
Амины |
|
|
|
Метиламин |
CH3NH2 |
a |
|
Диметиламин |
(CH3)2NH |
a |
|
Триметиламин |
(СН3)3N |
a |
|
Диэтиламин |
(C2H5)2NH |
d |
|
Триэтиламин |
(C2H5)3N |
d |
|
Пропиламин |
C3H7NH2 |
d |
|
Бутиламин |
|
с |
|
Циклогексиламин |
|
d |
|
Моноэтаноламин |
NH2СН2СН2ОН |
d |
|
2-Диэтиламинэтанол |
(C2H5)2NCH2OH |
d |
|
Диаминэтан |
NH2СН2CH2NH2 |
a |
|
Анилин |
С6Н5NН2 |
d |
|
NN-Диметиланилин |
C6H5N(CH3)2 |
d |
|
Фенамин |
C6H5СН2CH(NH2)
CH3 |
d |
|
Толуидин |
CH3C6H4NH2 |
d |
|
Пиридин |
C5H5N |
d |
Таблица А.2 - Категория
взрывоопасности IIВ (подгруппа В)
|
Газы и пары |
Химическая формула |
Метод классификации |
|
1 Углеводороды |
|
|
|
Аллилен (пропен) |
СН3С = СН |
b |
|
Этилен |
С2Н4 |
с |
|
Бутадиен |
СН2 = СН СН = СН2 |
с |
|
Изопропилбензол |
С6Н5С(СН3) = СН2 |
а |
|
2 Соединения, содержащие азот |
|
|
|
Акрилонитрил |
СН2 = CHCN |
с |
|
Изопропилнитрат |
(СН3)2CHONO2 |
b |
|
Цианистый водород (синильная кислота) |
HCN |
а |
|
Нитроэтан |
C2H5NO2 |
а |
|
3 Соединения, содержащие кислород |
|
|
|
Оксид углерода |
СО (см. примечание 2) |
а |
|
Диметиловый эфир |
(СН3)2О |
с |
|
Этилметиловый эфир |
СН3ОС2Н5 |
d |
|
Диэтиловый эфир |
(С2Н5)2О |
с |
|
Дипропиловый эфир |
(С3Н7)2О |
- |
|
Дибутиловый эфир |
(С4Н9)2О |
с |
|
Оксид этилена (эпоксиэтан) |
|
с |
|
Эпоксипропан |
|
с |
|
Пропамал |
С3Н7ОН |
а |
|
Бутанол |
С2Н5СОСН3 |
а |
|
Диоксолан |
|
d |
|
Диоксан |
|
а |
|
Триоксан |
|
b |
|
Бутилыликоль (гликолат) |
НО Н2 СОС С4Н9 |
а |
|
Тетрагидрофурфуриловый спирт |
|
d |
|
Метилакрилат |
СН2 = СНСООСН3 |
а |
|
Этилакрилат |
СН2 = СНСООС2Н5 |
а |
|
Фуран |
|
а |
|
Кретоновый альдегид |
СН3СН = СНСНО |
а |
|
Акролеин |
СН2 = СНСНО |
(расчетное) |
|
Тетрагидрофуран |
|
а |
|
4 Смеси |
|
|
|
Коксовый газ |
|
d |
|
5 Соединения, содержащие галогены |
|
а |
|
Тетрафторэтилен |
С2F4 |
а |
|
Эпихлоргидрин |
|
а |
|
6 Соединения, содержащие серу |
|
|
|
Этилмеркаптан |
C2H5SH |
а |
Таблица А.3 - Категория
взрывоопасности IIC (подгруппа С)
|
Газы и пары |
Химическая формула |
Метод классификации |
|
Водород |
Н2 |
с |
|
Ацетилен |
С2Н2 |
с |
|
Сероуглерод |
CS2 |
с |
B.1 Общие положения
Настоящее приложение
устанавливает общие требования по конструированию, испытанию и маркировке
Ех-кабельных вводов и может быть дополнено или изменено стандартами (см. раздел 1).
Примечание - Максимальный диаметр кабеля, на который рассчитан кабельный ввод, устанавливается изготовителем. Потребитель должен гарантировать, что минимальные размеры выбранного им для использования в уплотнении кабеля, учитывая допуски, равны или превышают установленные изготовителем значения.
В.2 Требования к конструкции
В.2.1 Уплотнение кабеля
Уплотнение кабеля в кабельном
вводе должно обеспечиваться одним из следующих способов (см. рисунок B.1):

1 - уплотнительное кольцо; 2 - корпус ввода; 3 - нажимная деталь; 4 - кабель; 5 - герметизирующий компаунд; 6 - уплотнение; 7 - деталь, фиксирующая компаунд
Рисунок B.1 -
Иллюстрация к терминам, употребляемым для кабельных вводов
- эластомерным уплотнительным
кольцом;
- металлическим или составным
уплотнительным кольцом;
- герметизацией компаундом.
Уплотнение кабеля может быть
выполнено из одного материала или из комбинации материалов и должно
соответствовать форме применяемого кабеля.
1 При выборе материалов для металлических или составных уплотнительных колец следует обратить внимание на примечание к 6.1.
2 Вид взрывозащиты оболочки может зависеть также от внутренней конструкции кабеля.
В.2.2 Материалы
В.2.2.1 Требования к
материалам, изложенные в 7.3 в части электростатических зарядов, применяют
только для наружных частей кабельных вводов.
В.2.2.2 Эластомерное
уплотнителъное кольцо должно выполняться из материалов, которые удовлетворяют
типовым испытаниям на стойкость к старению в соответствии с В.3.3.
В.2.2.3 Материалы,
используемые в качестве герметизирующих компаундов, должны отвечать требованиям
раздела 12
настоящего стандарта.
В.2.3 Приспособления для
закрепления
В.2.3.1 Кабельные вводы
должны обеспечивать закрепление кабеля с целью предотвращения растягивающих
усилий и скручиваний, действующих на кабель в местах присоединения его жил к
присоединительным контактным зажимам. Такое закрепление может обеспечиваться
устройством, уплотнительным кольцом или герметизирующим компаундом. Любой принятый
элемент крепления кабеля в кабельном вводе должен обеспечивать выполнение требований при
соответствующих испытаниях по В.3.
В случае небронированного
кабеля эту функцию может выполнять также или уплотнительное кольцо, или
герметизирующий компаунд.
(Измененная
редакция. Изм.
№ 1)
В.2.3.2 Кабельные вводы
группы II без закрепляющих устройств могут рассматриваться как отвечающие
требованиям настоящего приложения, если они выдерживают испытания на
закрепление кабеля, проводимые с уменьшенными на 25 % нагрузками, указанными в В.3. В
сопроводительной документации должно быть указано, что такие кабельные вводы
могут применяться только в стационарном оборудовании группы II и что
потребитель должен обеспечить адекватное закрепление кабеля. Такие кабельные
вводы должны маркироваться знаком X.
В.2.4 Кабельный ввод
В.2.4.1 Кабельные вводы не
должны иметь острых краев, способных повредить кабель.
В.2.4.2 В случае гибких
кабелей, место ввода должно обеспечиваться скругленными краями на угол не менее
75° с радиусом скругления R, равным не менее 1/4
диаметра максимального допущенного для этого кабельного ввода, но не более 3 мм
(см. рисунок В.2).

Рисунок В.2 - Скругление кромок в месте ввода гибкого кабеля
В.2.5 Кабельные вводы должны
конструироваться таким образом, чтобы после установки они могли быть ослаблены
или демонтированы только с помощью инструмента.
В.2.6 Средства крепления
кабельных вводов к оболочкам электрооборудования должны обеспечивать
сохранность кабельного ввода, когда приспособления для закрепления подвергаются
механическим и на стойкость к удару испытаниям по В.3.
В.2.7 Кабельные вводы в сборе
с оболочкой должны обеспечивать требуемую защиту от внешних воздействий. Метод
испытаний изложен в В.3.
В.3 Испытания
В.3.1 Испытания закрепления небронированных кабелей
и кабелей с оплеткой
В.3.1.1 Кабельные вводы с закреплением посредством уплотнительного кольца
Испытания закрепления кабеля
должны проводиться с использованием для каждого типа кабельного ввода двух
уплотнительных колец:
- одно кольцо - для ввода
кабеля наименьшего допустимого размера;
- другое кольцо - для ввода
кабеля наибольшего допустимого размера.
В случае эластомерных
уплотнительных колец для круглых кабелей, каждое кольцо монтируют на чистой
сухой полированной цилиндрической оправке из мягкой стали, диаметр которой
равен наименьшему диаметру вводимого в кольцо кабеля, указанному изготовителем
кабельного ввода.
Для некруглых кабелей кольцо
должно монтироваться на образце чистого сухого кабеля, размеры которого равны
размерам, установленным изготовителем кабельного ввода.
В случае металлических
уплотнительных колец, каждое кольцо монтируют на образце чистого сухого кабеля
диаметром, равным наименьшему допустимому диаметру кабеля, вводимого в кольцо
по предписаниям изготовителя кабельного ввода.
Уплотнительное кольцо в сборе
с оправкой или кабелем, в зависимости от принятого варианта, устанавливают в
кабельном вводе. Затем к винтам (в случае нажимного фланца с винтами) или к
гайке (в случае нажимной гайки) прикладывают крутящий момент для сжатия
уплотнительного кольца до такой степени, чтобы предотвращалось выскальзывание
оправки или кабеля при приложении к ним усилия в ньютонах, равного:
20-кратному значению (в
миллиметрах) диаметра оправки или кабеля, если кабельный ввод сконструирован
для круглого кабеля,
6-кратному значению (в
миллиметрах) периметра кабеля, когда кабельный ввод сконструирован для
некруглых кабелей.
Условия испытаний и критерии
оценки результатов испытаний приведены в В.3.1.4.
Примечание - Значения упомянутого выше крутящего момента могут быть определены экспериментально до испытаний или сообщены изготовителем кабельного ввода.
В.3.1.2 Кабельные вводы с закреплением посредством герметизирующего компаунда
Испытания закрепления кабеля
должны проводиться с использованием двух образцов чистого сухого кабеля:
- один образец - с размерами,
равными наименьшему размеру допущенного к применению в этом вводе кабеля;
- другой образец - с
размерами, равными наибольшему размеру допущенного к применению кабеля.
Герметизирующий компаунд,
подготовленный в соответствии с предписаниями изготовителя кабельного ввода,
заделывают в имеющееся пространство. Испытания ввода проводят после того, как
компаунд затвердеет.
Герметизирующий компаунд,
должен предотвращать выдергивание кабеля при приложении к нему усилия в
ньютонах, равного:
20-кратному значению диаметра
(в миллиметрах) образца кабеля, если кабельный ввод сконструирован для круглого
кабеля;
6-кратному
значению (в миллиметрах) периметра кабеля, если кабельный ввод сконструирован
для некруглого кабеля.
Условия испытаний и критерии
оценки результатов испытаний см. в В.3.1.4.
B.3.1.3 Кабельные вводы с закреплением посредством элемента крепления кабеля в
кабельном вводе
Испытание закрепления кабеля
должно проводиться с использованием для каждого типа кабельного ввода элементов
крепления кабеля в кабельном вводе допущенных размеров.
Каждый элемент монтируют на
образце чистого сухого кабеля, диаметр которого соответствует данному
устройству и предписан изготовителем кабельного ввода. В случае кабелей
некруглого сечения кольцо должно устанавливаться на оболочке образца сухого
кабеля, размеры которого равны размерам, предписанным для использования с
уплотнительным кольцом.
Элемент
крепления кабеля в кабельном вводе и уплотнительное кольцо, размер которого
равен размеру допущенного кабеля максимального размера, предписанного
изготовителем кабельного ввода, монтируют затем в кабельном вводе; ввод после
этого собирают со сжатием уплотнительного кольца и затяжкой элемента крепления
кабеля. Испытания проводят в соответствии с В.3.1.1.
(Измененная
редакция. Изм.
№ 1)
B.3.1.4 Испытание
на растяжение
Подготовленный образец
монтируют на разрывной испытательной машине и к нему прикладывают постоянное
растягивающее усилие, равное по величине определенному выше, в течение 6 ч.
Испытание проводят при окружающей температуре (20 ± 5) °С.
Закрепление, обеспечиваемое
уплотнительным кольцом, герметизирующим компаундом или элементом
крепления кабеля в кабельном вводе, считают приемлемым, если выскальзывание оправки или
образца кабеля не превышает 6 мм.
(Измененная
редакция. Изм.
№ 1)
B.3.1.5 Механическая прочность
После испытания на растяжение
кабельный ввод снимают с разрывной машины и подвергают последующим испытаниям и
проверкам, приведенным ниже.
B.3.1.5.1
В случае кабельных вводов с закреплением посредством уплотнительного кольца или элемента
крепления кабеля в кабельном вводе, винты или гайки (в зависимости от варианта)
подвергают испытаниям на механическую прочность крутящим моментом, который в
1,5 раза превышает величину момента закручивания, необходимого для
предотвращения выскальзывания кабеля. Кабельный ввод затем разбирают, а его
детали проверяют. Механическую прочность кабельного ввода считают достаточной,
если отсутствуют деформации, нарушающие вид взрывозащиты. Какие-либо деформации
уплотнительных колец не принимают во внимание.
Если кабельные вводы
изготавливают из пластмассовых материалов, а предписанный испытательный
крутящий момент не может быть достигнут из-за пластических деформаций резьбы и
в то же время отсутствуют видимые повреждения, кабельный ввод считают
выдержавшим испытание.
(Измененная
редакция. Изм.
№ 1)
В.3.1.5.2 В случае кабельных
вводов с закреплением герметизирующим компаундом, сальник разбирают, насколько
это возможно, без повреждения герметизирующего компаунда. При проверке не
должно быть обнаружено физических или видимых повреждений в заполняющем
компаунде, которые могли бы нарушить принятый вид взрывозащиты.
В.3.2 Испытания закрепления
бронированных кабелей
В.3.2.1 Испытания закрепления, когда броня закрепляется
устройством, расположенным на самом сальнике
В.3.2.1.1 Испытания должны проводиться
с использованием для каждого размера кабельного ввода образца бронированного
кабеля наименьшего предписанного размера.
Образец бронированного кабеля
монтируют в закрепляющем устройстве кабельного ввода. Затем прикладывают
крутящий момент к болтам (в случае фланцевого нажимного устройства) или к гайке
(в случае резьбовых закрепляющих устройств) с целью зажатия закрепляющего
устройства и предотвращения выскальзывания брони, когда прикладывают усилие в
ньютонах, равное:
80-кратному значению (в
миллиметрах) диаметра кабеля по броне для группы I;
20-кратному значению (в
миллиметрах) диаметра кабеля по броне для группы II.
Примечание - Значения крутящего момента, упомянутые выше, могут быть определены до экспериментальных испытаний, или они могут быть представлены изготовителем кабельного ввода.
В.3.2.1.2 Испытание на растяжение
Подготовленный образец
монтируют на разрывной машине и к нему прикладывают усилие, равное
определенному выше, в течение (120 ± 10) с.
Испытание проводят при
окружающей температуре (20 ± 5) °С.
Закрепление, обеспечиваемое
закрепляющим устройством, считают достаточным, если выскальзывание брони
практически равно нулю.
В.3.2.1.3 Механическая прочность
После монтажа болтов и гаек
они должны быть затянуты крутящим моментом, в 1,5 раза превышающим значения по В.3.2.1.1,
после чего кабельный ввод разбирают. Механическую прочность считают
достаточной, если не обнаружены какие-либо деформации, нарушающие вид
взрывозащиты.
В.3.2.2 Испытания закрепления, когда броня не закрепляется
устройством на самом сальнике
Кабельный ввод должен рассматриваться
как предназначенный для ввода небронированных кабелей по В.3.1.
В.3.3 Испытания на старение
материалов, используемых для эластомерных уплотнительных колец
Материал, применяемый для
изготовления уплотнительных колец, подготавливают в виде испытательных образцов
в соответствии с ГОСТ
20403 и
ИСО 1818 [4]. Твердость образцов определяют в соответствии с теми же
стандартами при окружающей температуре.
Затем испытуемые образцы
помещают в печь, в которой поддерживают температуру (100 ± 5) °С в течение 168 ч без перерывов. После этого
образцы выдерживают 24 ч при окружающей температуре и затем помещают в
холодильник, в котором поддерживают температуру (минус 20 ± 2) °С
в течение 48 ч без перерывов; после чего их выдерживают не менее 24 ч при
окружающей температуре. Затем снова определяют твердость.
В конце испытаний твердость,
в единицах IRHD, указанная в приведенных выше нормативных
документах, не должна отклоняться более чем на 20 % от твердости до старения.
Если кабельный ввод
предназначен для применения при температуре более высокой, чем это оговорено в 16.8, испытания
на старение должны проводиться при температуре, превышающей на (20 ± 5) °С
максимальную заявленную рабочую температуру. Если кабельный ввод предназначен
для применения при температуре ниже минус 20 °С, испытание в холодильнике
должно проводиться при самой низкой заявленной рабочей температуре с
отклонением ±2 °С.
(Измененная
редакция. Изм.
№ 1)
В.3.4 Испытание на стойкость
к удару
Испытание должно проводиться
с учетом соответствующих требований 23.4.3. Кабельный ввод должен испытываться с
введенным кабелем наименьшего предписанного размера.
Для целей испытания кабельный
ввод закрепляют в жестко смонтированной стальной плите или монтируют точно так,
как это предписывает изготовитель кабельного ввода. Крутящий момент,
прикладываемый к резьбовым крепежным элементам кабельного ввода, должен
выбираться в соответствии с В.3.1.5 или В.3.2.1.1.
В.3.5 Испытание степени
защиты кабельных вводов
Испытание должно проводиться
в условиях, оговоренных в ГОСТ 14254, с использованием кабельного ввода каждого
типа с одним уплотнительным кольцом от каждого из ряда допущенных размеров.
При испытаниях на
герметичность каждое уплотнительное кольцо монтируют на образце чистого сухого
кабеля диаметром, равным наименьшему диаметру кабеля, предписанному
изготовителем кабельного ввода для данного ввода. Кабельный ввод с кабелем
испытывают смонтированным на герметизированной оболочке.
В.4 Маркировка
8.4.1 Маркировка кабельных
вводов
Кабельные вводы должны иметь
маркировку по 27.2
и, если ввод резьбовой, в соответствии с типом и размером резьбы. Если
поверхность для маркировки ограничена, может быть применена сокращенная
маркировка согласно требованиям 27.6.
8.4.2 Маркировка кабельных
уплотнительных колец
Уплотнительные кольца
кабельных вводов, позволяющих устанавливать ряд колец, должны нести на себе
обозначения минимального и максимального диаметров (в миллиметрах) допущенных к
вводу в них кабелей.
Если уплотнительное кольцо
скреплено с металлической шайбой, маркировка может быть выполнена на шайбе.
Кабельные уплотнительные кольца должны иметь идентифицирующую маркировку,
позволяющую потребителю определять, соответствует ли кольцо кабельному вводу.
Если ввод и уплотнительное
кольцо предназначены для применения в диапазоне окружающих температур, но вне
диапазона от минус 20 до плюс 80 °С, и соответствующим образом
испытаны согласно В.3.3,
они должны иметь маркировку с указанием этого диапазона фактических температур.
Таблица C.1 - Пункты требований
настоящего стандарта, которым должны соответствовать Ex-компоненты
|
Разделы и пункты настоящего стандарта |
Применяемость (да или нет) |
Примечание |
|
|
Да |
За исключением 4.2.2 |
||
|
Нет |
За исключением того, что должны устанавливаться пределы рабочей температуры |
||
|
Да |
|
||
|
Нет |
|
||
|
Да |
|
||
|
» |
См. примечание 1 |
||
|
» |
Если снаружи (см. примечание 1) |
||
|
» |
То же |
||
|
» |
» |
||
|
» |
» |
||
|
» |
Только при наличии оболочки электрооборудования |
||
|
» |
То же |
||
|
» |
» |
||
|
» |
» |
||
|
» |
» |
||
|
» |
» |
||
|
» |
За исключением того, что не требуется маркировка Х |
||
|
» |
Только при наличии оболочки электрооборудования |
||
|
» |
То же |
||
|
» |
» |
||
|
» |
» |
||
|
» |
» |
||
|
» |
Только при наличии оболочки электрооборудования |
||
|
Нет |
За исключением оболочек машин |
||
|
Да |
» |
||
|
» |
» |
||
|
» |
» |
||
|
» |
» |
||
|
» |
» |
||
|
Нет |
» |
||
|
Да |
» |
||
|
» |
» |
||
|
» |
» |
||
|
» |
» |
||
|
Нет |
» |
||
|
Да |
Только при наличии оболочки электрооборудования |
||
|
» |
» |
||
|
» |
» |
||
|
Нет |
» |
||
|
Да |
Если предписывается максимальная температура |
||
|
» |
То же |
||
|
» |
» |
||
|
» |
» |
||
|
» |
» |
||
|
» |
» |
||
|
» |
См. примечание 2 |
||
|
Нет |
» |
||
|
» |
» |
||
|
» |
» |
||
|
» |
» |
||
|
Да |
» |
||
|
» |
» |
||
|
» |
» |
||
1 Следует учитывать условия, при которых настоящие требования применяют к деталям, размещаемым в другой оболочке.
2 Температурную классификацию к взрывозащищенным комплектующим изделиям не применяют.

1 - регулировочный штифт; 2 - пластмассовая направляющая труба; 3 - испытуемый образец; 4 - стальная основа (масса ³ 20 кг); 5 - стальной груз массой 1 кг; 6 - ударная головка в форме сферы диаметром 25 мм из закаленной стали; h - высота падения
Рисунок D.I
Настоящий стандарт допускает
изготовление оболочек электрооборудования групп I и II
из легких сплавов, которые при определенных условиях могут представлять
опасность с точки зрения фрикционного искрения. В стандарте рекомендуется,
чтобы материалы, используемые для изготовления оболочек электрооборудования
группы I, не содержали по массе:
a) более 15 % (в сумме)
алюминия, магния и титана;
b) более 6 % (в сумме) магния
и титана.
Материалы, используемые для
изготовления оболочек электрооборудования группы II,
не должны содержать по массе более 7,5 % магния.
Наличие указанных
рекомендаций облегчает разработчику выбор исходного материала при
проектировании оболочек, но не исключает необходимость их испытаний на
фрикционную искробезопасность.
В настоящее время в МЭК
отсутствует методика испытаний материалов на фрикционную искробезопасность.
Поэтому ниже приводится методика испытаний, которая была разработана в
Российской Федерации и является обязательной при оценке материалов на
фрикционную искробезопасность.
Е.1 Испытания материалов и
отдельных сборочных единиц электрооборудования на искробезопасность проводят на
установках с падающим грузом, с вращающимся диском или других, позволяющих
воспроизводить (моделировать) реальные процессы искрообразования во
взрывоопасных смесях заданного состава.
Е.2 Моделирование процесса
искрообразования на установке с падающим грузом для заданной пары материалов
обеспечивается формой поверхности груза (цилиндр, конус, сфера), энергией и
относительной скоростью перемещения деталей в момент соударения. Энергия
соударения определяется высотой сбрасывания и массой груза
E = mgh, (E.1)
где т - масса груза, кг;
h
- высота сбрасывания, м.
При испытаниях масса груза и
высота сбрасывания, определяющие относительную скорость перемещения деталей в
момент соударения, должны иметь наибольшие значения, которые имеют место в
реальных условиях.
Моделирование процесса
искрообразования на установке с вращающимся диском для заданной пары материалов
обеспечивается формой трущихся поверхностей деталей, относительной скоростью
скольжения и усилием прижатия трущихся деталей для механизмов с амортизаторами.
Скорость скольжения определяют по формуле
, (Е.2)
где f - частота вращения элемента,
мин-1;
d
- диаметр трущейся вращающейся детали, м.
Е.3 При испытаниях на
фрикционную искробезопасность интенсивно окисляющихся материалов оболочек или
отдельных сборочных единиц электрооборудования применяют следующие
газовоздушные смеси:
- для взрывозащищенного
электрооборудования групп I и IIА
– СН4 (5,5 - 6,5) %;
- для взрывозащищенного
электрооборудования групп IIB и IIС
– Н2 (10 - 13) %.
Е.4 Поджигающую способность
фрикционных искр, образующихся при трении или соударении алюминия и его сплавов
без защитных или с защитными покрытиями со ржавой сталью, а также фрикционных
искр трудно окисляющихся материалов оболочек определяют в горючих смесях:
- для взрывозащищенного
электрооборудования группы I и IIА
– СН4 (6,5 - 7,5) %;
- для электрооборудования
групп IIВ и IIС – Н2(17 - 20) %.
Е.5 Воспламеняющую
способность фрикционных искр определяют статистическим методом. Вероятность
воспламенения определяют как отношение числа поджиганий к числу соударений
, (Е.3)
где т - количество поджиганий;
п - количество сбрасываний
груза.
Число соударений на установке
с вращающимся диском подсчитывают по формуле
. (Е.4)
где f - частота вращения элемента,
мин-1;
k -
число соударяющихся элементов на вращающемся механизме;
St
- общее время работы механизма.
За одно соударение при
непрерывном трении принимают путь скольжения, равный 0,5 м.
Е.6 Безопасность фрикционных
искр оценивают одним из следующих методов.
Оценка фрикционной
искробезопасности деталей электрооборудования, подвергающегося одиночным
ударам, способом добавки кислорода
Метод применяют при оценке
поджигающей способности активно окисляющихся частиц (например, из сталей) при
энергии соударения, скорости скольжения, форме поверхностей деталей,
моделирующих процесс искрообразования.
Проводят 10 опытов в горючих
средах по Е.3 и 32 опыта в этих же средах, обогащенных кислородом
до (25 ± 0,5) %. Фрикционные искры
считают безопасными, если:
- в 10 опытах в горючих
средах по Е.3 не произошло ни одного поджигания;
- в 32 опытах во
взрывоопасных средах по Е.3, обогащенных кислородом до (25 ± 0,5)%, произошло не более
восьми поджиганий.
Материалы, выдержавшие эти
испытания, безопасны для применения в соответствующих частях оболочек
взрывозащищенного оборудования.
Оценка
фрикционной искробезопасности деталей электрооборудования, подвергающегося одиночным
ударам, способом изменения энергии соударения
Метод применяют при испытании
пар материалов, в результате соударения которых не образуются активно
окисляющиеся частицы или в случае соударения которых протекают экзотермические
реакции между их химическими элементами (например, термитная реакция между
алюминием и окислами железа).
Проводят 32 опыта при
максимально допустимой скорости перемещения и увеличенной в два раза энергии
соударения. Фрикционные искры считают безопасными, если во взрывоопасных смесях
по Е.4 не произошло поджиганий.
Материалы, выдержавшие эти
испытания, безопасны для применения в соответствующих частях оболочек
взрывозащищенного оборудования.
Оценка
безопасности фрикционных искр, образующихся в результате трения и быстро
чередующихся ударов деталей электрооборудования, способом добавки кислорода
Проводят 16000 соударений при
максимально допустимой скорости перемещения, усилии прижатия и форме трущихся
поверхностей, моделирующих процесс искрообразования в горючих средах по Е.3 и 16000 соударений в этих
смесях, обогащенных кислородом до (25 ± 0,5) %.
Фрикционные искры считают
безопасными, если при максимально допустимых скорости перемещения и давлении:
- при 16000 соударениях во
взрывоопасных смесях, приведенных в Е.3, не произошло ни одного поджигания;
- при 16000 соударениях во
взрывоопасных смесях по Е.3, обогащенных кислородом до (25 ± 0,5) % произошло не
более восьми поджиганий. Материалы, выдержавшие эти испытания, безопасны для
применения в соответствующих частях оболочек взрывозащищенного
электрооборудования.
Е.7 По усмотрению испытательной
организации опыты в горючих смесях без обогащения кислородом могут не
проводиться.
Если в результате ранее
проведенных испытаний материалов (покрытий) и отдельных сборочных единиц
электрооборудования на фрикционную искробезопасность установлено, что
обеспечивается фрикционная искробезопасность, то повторные испытания могут не
проводиться.
|
Виды испытаний и проверок |
Пункты |
|
|
|
технических требований |
методов испытаний |
|
1 |
2 |
3 |
|
1 Проверка документации |
- |
|
|
2 Проверка соответствия образца документации |
7.4, 8.1, 8.2, 9.3.4, 9.3.5, 11.4, 17.3, 20.4, 20.6, 20.8.7, 21.1, В.2 |
|
|
3 Испытание на стойкость к удару бойком |
||
|
4 Испытание сбрасыванием на бетонное основание |
||
|
5 Проверка материалов на фрикционную искробезопасность |
||
|
6 Испытание аккумуляторов на расплескивание электролита |
||
|
7 Испытание степени защиты от внешней среды |
||
|
8 Испытание крутящим моментом проходных зажимов и изоляторов |
11.1 |
|
|
9 Проверка теплового режима |
||
|
10 Проверка отсутствия воспламенения от нагретой поверхности |
||
|
11 Испытание на тепловой удар |
||
|
12 Испытания неметаллических оболочек или частей оболочек |
||
|
13 Испытания оболочек или частей оболочек из пластмасс |
23.4.7.2-23.4.7.9 |
|
|
14 Проверка материалов на негорючесть, трудногорючесть и стойкость к действию пламени |
||
|
15 Испытания во взрывчатых средах |
||
|
16 Испытания взрывозащищенных кабельных вводов |
||
|
17 Проверка на искробезопасность от электростатических разрядов |
||
Примечания
1 Испытания по пунктам 1 и 2 проводят в соответствии с требованиями стандартов на виды взрывозащиты.
2 Испытания по пунктам 3-5, 8, 11, 14 могут не проводиться, если такие испытания ранее проводились на аналогичных образцах и материалах и соответствующие требования подтверждены протоколами испытаний.
23.4.2 Каждое испытание
должно проводиться на образцах изделий, которые рассматриваются испытательной
организацией в качестве наиболее представительных.
[1] ИСО 286-2-88 Система ИСО допусков
и посадок. Часть 2. Таблицы стандартных классов допусков и предельные
отклонения для отверстий и валов
[2] МЭК 60192-73 Натриевые
лампы низкого давления
[3] ИСО 4892-1-94 Пластмассы.
Методы экспозиции в лабораторных источниках света. Часть 1. Общее руководство
[4] ИСО 1818-75
Резины вулканизированные низкой твердости (от 10 до 35 IRHD). Определение твердости
Ключевые слова: электрооборудование взрывозащищенное, общие требования, классификация, маркировка, испытания, уровень взрывозащиты, вид взрывозащиты, максимальная температура, температура окружающей среды, кабельный ввод, трубный ввод, блокировка, оболочка
|
|
|
|