Бесплатная библиотека стандартов и нормативов www.docload.ru

Все документы, размещенные на этом сайте, не являются их официальным изданием и предназначены исключительно для ознакомительных целей.
Электронные копии этих документов могут распространяться без всяких ограничений. Вы можете размещать информацию с этого сайта на любом другом сайте.
Это некоммерческий сайт и здесь не продаются документы. Вы можете скачать их абсолютно бесплатно!
Содержимое сайта не нарушает чьих-либо авторских прав! Человек имеет право на информацию!

 

ГОСУДАРСТВЕННЫЙ СТАНДАРТ СОЮЗА ССР

ЕДИНАЯ СИСТЕМА ПРОГРАММНОЙ ДОКУМЕНТАЦИИ

СХЕМЫ АЛГОРИТМОВ, ПРОГРАММ, ДАННЫХ И СИСТЕМ

УСЛОВНЫЕ ОБОЗНАЧЕНИЯ И ПРАВИЛА ВЫПОЛНЕНИЯ

ГОСТ 19.701-90
(ИСО 5807-85)

ГОСУДАРСТВЕННЫЙ КОМИТЕТ СССР ПО УПРАВЛЕНИЮ КАЧЕСТВОМ ПРОДУКЦИИ И СТАНДАРТАМ

Москва

ГОСУДАРСТВЕННЫЙ СТАНДАРТ СОЮЗА ССР

Единая система программной документации

СХЕМЫ АЛГОРИТМОВ, ПРОГРАММ ДАННЫХ И СИСТЕМ

Условные обозначения и правила выполнения

Unified system for program documentation. Data, program and system flowcharts, program network charts and system resources charts. Documentation symbols and conventions for flowcharting

 

ГОСТ

19.701-90

(ИСО 5807-85)

Дата введения 01.01.92

Настоящий стандарт распространяется на условные обозначения (символы) в схемах алгоритмов, программ, данных и систем и устанавливает правила выполнения схем, используемых для отображения различных видов задач обработки данных и средств их решения.

Стандарт не распространяется на форму записей и обозначений, помещаемых внутри символов или рядом с ними и служащих для уточнения выполняемых ими функций.

Требования стандарта являются обязательными.

1. ОБЩИЕ ПОЛОЖЕНИЯ

1.1. Схемы алгоритмов, программ, данных и систем (далее – схемы) состоят из имеющих заданное значение символов, краткого пояснительного текста и соединяющих линий.

1.2. Схемы могут использоваться на различных уровнях детализации, причем число уровней зависит от размеров и сложности задачи обработки данных. Уровень детализации должен быть таким, чтобы различные части и взаимосвязь между ними были понятны в целом.

1.3. В настоящем стандарте определены символы, предназначенные для использования в документации по обработке данных, и приведено руководство по условным обозначениям для применения их в:

1) схемах данных;

2) схемах программ;

3) схемах работы системы;

4) схемах взаимодействия программ;

5) схемах ресурсов системы.

1.4. В стандарте используются следующие понятия:

1) основной символ - символ, используемый в тех случаях, когда точный тип (вид) процесса или носителя данных неизвестен или отсутствует необходимость в описании фактического носителя данных;

2) специфический символ - символ, используемый в тех случаях, когда известен точный тип (вид) процесса или носителя данных или когда необходимо описать фактический носитель данных;

3) схема - графическое представление определения, анализа или метода решения задачи, в, котором используются символы для отображения операций, данных, потока, оборудования и т.д.

2. ОПИСАНИЕ СХЕМ

2.1. Схема данных

2.1.1. Схемы данных отображают путь данных при решении задач и определяют этапы обработки, а также различные применяемые носители данных.

2.1.2. Схема данных состоит из:

1) символов данных (символы данных могут также указывать вид носителя данных);

2) символов процесса, который следует выполнить над данными (символы процесса могут также указывать функции, выполняемые вычислительной машиной);

3) символов линий, указывающих потоки данных между процессами и (или) носителями данных;

4) специальных символов, используемых для облегчения написания и чтения схемы.

2.1.3. Символы данных предшествуют и следуют за символами процесса. Схема данных начинается и заканчивается символами данных (за исключением специальных символов, указанных в п. 3.4).

2.2. Схема программы

2.2.1. Схемы программ отображают последовательность операций в программе.

2.2.2. Схема программы состоит из:

1) символов процесса, указывающих фактические операции обработки данных (включая символы, определяющие путь, которого следует придерживаться с учетом логических условий);

2) линейных символов, указывающих поток управления;

3) специальных символов, используемых для облегчения написания и чтения схемы.

2.3. Схема работы системы

2.3.1. Схемы работы системы отображают управление операциями и поток данных в системе.

2.3.2. Схема работы системы состоит из:

1) символов данных, указывающих на наличие данных (символы данных могут также указывать вид носителя данных);

2) символов процесса, указывающих операции, которые следует выполнить над данными, а также определяющих логический путь, которого следует придерживаться;

3) линейных символов, указывающих потоки данных между процессами и (или) носителями данных, а также поток управления между процессами;

4) специальных символов, используемых для облегчения написания и чтения блок-схемы.

2.4. Схема взаимодействия программ

2.4.1. Схемы взаимодействия программ отображают путь активации программ и взаимодействий с соответствующими данными. Каждая программа в схеме взаимодействия программ показывается только один раз (в схеме работы системы программа может изображаться более чем в одном потоке управления).

2.4.2. Схема взаимодействия программ состоит из:

1) символов данных, указывающих на наличие данных;

2) символов процесса, указывающих на операции, которые следует выполнить над данными;

3) линейных символов, отображающих поток между процессами и данными, а также инициации процессов;

4) специальных символов, используемых для облегчения написания и чтения схемы.

2.5. Схема ресурсов системы

2.5.1. Схемы ресурсов системы отображают конфигурацию блоков данных и обрабатывающих блоков, которая требуется для решения задачи или набора задач.

2.5.2. Схема ресурсов системы состоит из:

1) символов данных, отображающих входные, выходные и запоминающие устройства вычислительной машины;

2) символов процесса, отображающих процессоры (центральные процессоры, каналы и т.д.);

3) линейных символов, отображающих передачу данных между устройствами ввода-вывода и процессорами, а также передачу управления между процессорами;

4) специальных символов, используемых для облегчения написания и чтения схемы.

Примеры выполнения схем приведены в приложении.

3. ОПИСАНИЕ СИМВОЛОВ

3.1. Символы данных

3.1.1. Основные символы данных

3.1.1.1. Данные

Символ отображает данные, носитель данных не определен.

3.1.1.2. Запоминаемые данные

Символ отображает хранимые данные в виде, пригодном для обработки, носитель данных не определен.

3.1.2. Специфические символы данных

3.1.2.1. Оперативное запоминающее устройство

Символ отображает данные, хранящиеся в оперативном запоминающем устройстве.

3.1.2.2. Запоминающее устройство с последовательным доступом

Символ отображает данные, хранящиеся в запоминающем устройстве с последовательным доступом (магнитная лента, кассета с магнитной лентой, магнитофонная кассета).

3.1.2.3. Запоминающее устройство с прямым доступом

Символ отображает данные, хранящиеся в запоминающем устройстве с прямым доступом (магнитный диск, магнитный барабан, гибкий магнитный диск).

3.1.2.4. Документ

Символ отображает данные, представленные на носителе в удобочитаемой форме (машинограмма, документ для оптического или магнитного считывания, микрофильм, рулон ленты с итоговыми данными, бланки ввода данных).

3.1.2.5. Ручной ввод

Символ отображает данные, вводимые вручную во время обработки с устройств любого типа (клавиатура, переключатели, кнопки, световое перо, полоски со штриховым кодом).

3.1.2.6. Карта

Символ отображает данные, представленные на носителе в виде карты (перфокарты, магнитные карты, карты со считываемыми метками, карты с отрывным ярлыком, карты со сканируемыми метками).

3.1.2.7. Бумажная лента

Символ отображает данные, представленные на носителе в виде бумажной ленты.

3.1.2.8. Дисплей

Символ отображает данные, представленные в человекочитаемой форме на носителе в виде отображающего устройства (экран для визуального наблюдения, индикаторы ввода информации).

3.2. Символы процесса

3.2.1. Основные символы процесса

3.2.1.1. Процесс

Символ отображает функцию обработки данных любого вида (выполнение определенной операции или группы операций, приводящее к изменению значения, формы или размещения информации или к определению, по которому из нескольких направлений потока следует двигаться).

3.2.2. Специфические символы процесса

3.2.2.1. Предопределенный процесс

Символ отображает предопределенный процесс, состоящий из одной или нескольких операций или шагов программы, которые определены в другом месте (в подпрограмме, модуле).

3.2.2.2. Ручная операция

Символ отображает любой процесс, выполняемый человеком.

3.2.2.3. Подготовка

Символ отображает модификацию команды или группы команд с целью воздействия на некоторую последующую функцию (установка переключателя, модификация индексного регистра или инициализация программы).

3.2.2.4. Решение

Символ отображает решение или функцию переключательного типа, имеющую один вход и ряд альтернативных выходов, один и только один из которых может быть активизирован после вычисления условий, определенных внутри этого символа. Соответствующие результаты вычисления могут быть записаны по соседству с линиями, отображающими эти пути.

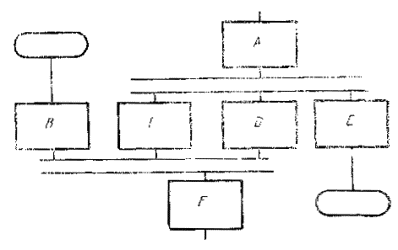
3.2.2.5. Параллельные действия

Символ отображает синхронизацию двух или более параллельных операций.

Пример.

Примечание. Процессы С, D и Е не могут начаться до тех пор, пока не завершится процесс А; аналогично процесс F должен ожидать завершения процессов В, С и D, однако процесс С может начаться и (или) завершиться прежде, чем соответственно начнется и (или) завершится процесс D.

3.2.2.6. Граница цикла

Символ, состоящий из двух частей, отображает начало и конец цикла. Обе части символа имеют один и тот же идентификатор. Условия для инициализации, приращения, завершения и т.д. помещаются внутри символа в начале или в конце в зависимости от расположения операции, проверяющей условие.

Пример.

3.3. Символы линий

3.3.1. Основной символ линий

3.3.1.1. Линия

Символ отображает поток данных или управления.

При необходимости или для повышения удобочитаемости могут быть добавлены стрелки-указатели.

3.3.2. Специфические символы линий

3.3.2.1. Передача управления

Символ отображает непосредственную передачу управления от одного процесса к другому, иногда с возможностью прямого возвращения к инициирующему процессу после того, как инициированный процесс завершит свои функции. Тип передачи управления должен быть назван внутри символа (например, запрос, вызов, событие).

3.3.2.2. Канал связи

Символ отображает передачу данных по каналу связи.

3.3.2.3. Пунктирная линия

Символ отображает альтернативную связь между двумя или более символами. Кроме того, символ используют для обведения аннотированного участка.

Пример 1.

Если один из ряда альтернативных выходов используют в качестве входа в процесс либо когда выход используется в качестве входа в альтернативные процессы, эти символы соединяют пунктирными линиями.

Пример 2.

Выход, используемый в качестве входа в следующий процесс, может быть соединен с этим входом с помощью пунктирной линии.

3.4. Специальные символы

3.4.1. Соединитель

Символ отображает выход в часть схемы и вход из другой части этой схемы и используется для обрыва линии и продолжения ее в другом месте. Соответствующие символы-соединители должны содержать одно и то же уникальное обозначение.

3.4.2. Терминатор

Символ отображает выход во внешнюю среду и вход из внешней среды (начало или конец схемы программы, внешнее использование и источник или пункт назначения данных).

3.4.3. Комментарий

Символ используют для добавления описательных комментариев или пояснительных записей в целях объяснения или примечаний. Пунктирные линии в символе комментария связаны с соответствующим символом или могут обводить группу символов. Текст комментариев или примечаний должен быть помещен около ограничивающей фигуры.

Пример.

3.4.4. Пропуск

Символ (три точки) используют в схемах для отображения пропуска символа или группы символов, в которых не определены ни тип, ни число символов. Символ используют только в символах линии или между ними. Он применяется главным образом в схемах, изображающих общие решения с неизвестным числом повторений.

Пример.

4 ПРАВИЛА ПРИМЕНЕНИЯ СИМВОЛОВ И ВЫПОЛНЕНИЯ СХЕМ

4.1. Правила применения символов

4.1.1. Символ предназначен для графической идентификации функции, которую он отображает, независимо от текста внутри этого символа.

4.1.2. Символы в схеме должны быть расположены равномерно. Следует придерживаться разумной длины соединений и минимального числа длинных линий.

4.1.3. Большинство символов задумано так, чтобы дать возможность включения текста внутри символа. Формы символов, установленные настоящим стандартом, должны служить руководством для фактически используемых символов. Не должны изменяться углы и другие параметры, влияющие на соответствующую форму символов. Символы должны быть, по возможности, одного размера.

Символы могут быть вычерчены в любой ориентации, но, по возможности, предпочтительной является горизонтальная ориентация. Зеркальное изображение формы символа обозначает одну и ту же функцию, но не является предпочтительным.

4.1.4. Минимальное количество текста, необходимого для понимания функции данного символа, следует помещать внутри данного символа. Текст для чтения должен записываться слева направо и сверху вниз независимо от направления потока.

Пример.

Если объем текста, помещаемого внутри символа, превышает его размеры, следует использовать символ комментария.

Если использование символов комментария может запутать или разрушить ход схемы, текст следует помещать на отдельном листе и давать перекрестную ссылку на символ.

4.1.5. В схемах может использоваться идентификатор символов. Это связанный с данным символом идентификатор, который определяет символ для использования в справочных целях в других элементах документации (например, в листинге программы). Идентификатор символа должен располагаться слева над символом.

Пример.

4.1.6. В схемах может использоваться описание символов - любая другая информация, например, для отображения специального применения символа с перекрестной ссылкой, или для улучшения понимания функции как части схемы. Описание символа должно быть расположено справа над символом.

Пример.

4.1.7. В схемах работы системы символы, отображающие носители данных, во многих случаях представляют способы ввода-вывода. Для использования в качестве ссылки на документацию текст на схеме для символов, отображающих способы вывода, должен размещаться справа над символом, а текст для символов, отображающих способы ввода - справа под символом.

Пример.

4.1.8. В схемах может использоваться подробное представление, которое обозначается с помощью символа с полосой для процесса или данных. Символ с полосой указывает, что в этом же комплекте документации в другом месте имеется более подробное представление.

Символ с полосой представляет собой любой символ, внутри которого в верхней части проведена горизонтальная линия. Между этой линией и верхней линией символа помещен идентификатор, указывающий на подробное представление данного символа.

В качестве первого и последнего символа подробного представления должен быть использован символ указателя конца. Первый символ указателя конца должен содержать ссылку, которая имеется также в символе с полосой.

Символ с полосой                                           Подробное представление

                                                

4.2. Правила выполнения соединений

4.2.1. Потоки данных или потоки управления в схемах показываются линиями. Направление потока слева направо и сверху вниз считается стандартным.

В случаях, когда необходимо внести большую ясность в схему (например, при соединениях), на линиях используются стрелки. Если поток имеет направление, отличное от стандартного, стрелки должны указывать это направление.

4.2.2. В схемах следует избегать пересечения линий. Пересекающиеся линии не имеют логической связи между собой, поэтому изменения направления в точках пересечения не допускаются.

Пример.

4.2.3. Две или более входящие линии могут объединяться в одну исходящую линию. Если две или более линии объединяются в одну линию, место объединения должно быть смещено.

Пример.

4.2.4. Линии в схемах должны подходить к символу либо слева, либо сверху, а исходить либо справа, либо снизу. Линии должны быть направлены к центру символа.

4.2.5. При необходимости линии в схемах следует разрывать для избежания излишних пересечений или слишком длинных линий, а также, если схема состоит из нескольких страниц. Соединитель в начале разрыва называется внешним соединителем, а соединитель в конце разрыва - внутренним соединителем.

4.2.6. Ссылки к страницам могут быть приведены совместно с символом комментария для их соединителей.

Пример.

Внешний соединитель                                 Внутренний соединитель

                                    

4.3. Специальные условные обозначения

4.3.1. Несколько выходов

4.3.1.1. Несколько выходов из символа следует показывать:

1) несколькими линиями от данного символа к другим символам;

2) одной линией от данного символа, которая затем разветвляется в соответствующее число линий.

Примеры.

4.3.1.2. Каждый выход из символа должен сопровождаться соответствующими значениями условий, чтобы показать логический путь, который он представляет, с тем, чтобы эти условия и соответствующие ссылки были идентифицированы.

Примеры.

4.3.2. Повторяющееся представление

4.3.2.1. Вместо одного символа с соответствующим текстом могут быть использованы несколько символов с перекрытием изображения, каждый из которых содержит описательный текст (использование или формирование нескольких носителей данных или файлов, производство множества копий печатных отчетов или форматов перфокарт).

4.3.2.2. Когда несколько символов представляют упорядоченное множество, это упорядочение должно располагаться от переднего (первого) к заднему (последнему).

4.3.2.3. Линии могут входить или исходить из любой точки перекрытых символов, однако требования п. 4.2.4 должны соблюдаться. Приоритет или последовательный порядок нескольких символов не изменяется посредством точки, в которой линия входит или из которой исходит.

Пример.

5. ПРИМЕНЕНИЕ СИМВОЛОВ

Си м вол

Наименование символа

Схема данных

Схема программы

Схема работы системы

Схема взаимодействия программ

Схема ресурсов системы

Символы данных

 

 

 

 

 

 

Основные

 

 

 

 

 

 

Данные

+

+

+

+

+

Запоминаемые данные

+

-

+

+

+

Специфические

 

 

 

 

 

 

Оперативное запоминающее устройство

+

-

+

+

+

Запоминающее устройство с последовательной выборкой

+

-

+

+

+

Запоминающее устройство с прямым доступом

+

-

+

+

+

Документ

+

-

+

+

+

Ручной ввод

+

-

+

+

+

Карта

+

-

+

+

+

Бумажная лента

+

-

+

+

+

Дисплей

+

-

+

+

+

Символы процесса

 

 

 

 

 

 

Основные

 

 

 

 

 

 

Процесс

+

+

+

+

+

Специфические

 

 

 

 

 

 

Предопределенный процесс

-

+

+

+

-

Ручная операция

+

-

+

+

-

Подготовка

+

+

+

+

-

Решение

-

+

+

-

-

Параллельные действия

-

+

+

+

-

Граница цикла

-

+

+

-

-

Символы линий

 

 

 

 

 

 

Основные

 

 

 

 

 

 

Линия

+

+

+

+

+

Специфические

 

 

 

 

 

 

Передача управления

-

-

-

+

-

Канал связи

+

-

+

+

+

Пунктирная линия

+

+

+

+

+

Специальные символы

 

 

 

 

 

 

Соединитель

+

+

+

+

+

Терминатор

+

+

+

-

-

Комментарий

+

+

+

+

+

Пропуск

+

+

+

+

+

Примечание. Знак «+» указывает, что символ используют в данной схеме, знак «-» - не используют.

ПРИЛОЖЕНИЕ
Справочное

ПРИМЕРЫ ВЫПОЛНЕНИЯ СХЕМ

1. Схема данных

2. Схемы программы

Пример 1.

Пример 2.

3. Схема работы системы

4. Схема взаимодействия программ

5. Схема ресурсов системы

ИНФОРМАЦИОННЫЕ ДАННЫЕ

1.  РАЗРАБОТАН И ВНЕСЕН Государственным комитетом СССР по вычислительной технике и информатике

РАЗРАБОТЧИКИ

А.А. Мкртумян (руководитель разработки); А.Л. Щерс д-р техн. наук; А.Н. Сироткин, канд. ист. наук; Л.Д. Райков, канд. техн. наук; А.В. Лобова; межведомственная Рабочая группа по разработке стандартов ЕСПД

2. УТВЕРЖДЕН И ВВЕДЕН В ДЕЙСТВИЕ Постановлением Государственного комитета СССР по управлению качеством продукции и стандартам от 26.12.90 №3294

3. Настоящий стандарт разработан методом прямого применения международного стандарта ИСО 5807-85 «Обработка информации. Символы и условные обозначения блок-схем данных, программ и систем, схем программных сетей и системных ресурсов»

4. ВЗАМЕН ГОСТ 19.002-80, ГОСТ 19.003-80

СОДЕРЖАНИЕ

 




Rambler's Top100 Яндекс цитирования
  Copyright © 2008-2026, www.docload.ru