|
|
ВСЕСОЮЗНЫЙ НАУЧНО-ИССЛЕДОВАТЕЛЬСКИЙ ИНСТИТУТ ТРАНСПОРТНОГО СТРОИТЕЛЬСТВА РуководСтво ПО МЕТОДАМ ПОЛЕВЫХ ИСПЫТАНИЙ НЕСУЩЕЙ СПОСОБНОСТИ СВАЙ И ГРУНТОВ Одобрено Главным техническим управлением Минтрансстроя Москва 1979 Предисловие Настоящее Руководство
разработано в отделении Искусственных сооружений Всесоюзного
научно-исследовательского института транспортного строительства на основе
сообщения и анализа опыта проведения многочисленных полевых испытаний несущей
способности свай (в том числе свай-оболочек, свай-столбов) и грунтов оснований
на строительных площадках зданий и сооружений разного назначения. В Руководстве развиты
положения ГОСТа 5686-78 "Сваи.
Методы полевых испытаний" и "Инструкции по испытанию свай и грунтов", выпущенной
Всесоюзным научно-исследовательским институтом транспортного строительства
(ЦНИИС) Минтрансстроя в 1956г. Авторы: докт. техн. наук
А.А. Луга и кандидаты техн. наук Н.М. Глотов, К.С. Завриев, В.П. Рыбчинский,
А.П. Рыженко. 1. оСновнЫЕ положения1.1. Руководство
предназначено для организаций, осуществляющих проектирование и строительство
фундаментов мостов и транспортных зданий. Оно охватывает полевые испытания
свай, свай-оболочек и свай-столбов1) всех видов и типоразмеров,
испытания грунтов штампами в шурфах котлованах, буровых скважинах, в основании
свай-оболочек и свай-столбов. _______________ 1) Здесь и далее имеется в виду: свая - полый или сплошного сечения призматический или цилиндрический элемент с линейный размером поперечного сечения до 0,8 м, погружаемый (до расчетного отказа) в грунт с закрытым или с открытым нижним концом, а также элемент, устанавливаемый в предельно пробуренную скважину и допогружаемый до получения расчетного отказа; свая-оболочка - полный или заполняемый бетонной смесью (после заглубления в грунт) элемент диаметром болев 0,8 м с открытым нижним концом, погружаемый с периодической выемкой грунта из его полости; свая-столб - элемент с размером поперечного сечения 0,8 м и более, сооружаемый путем устройства в грунте (или в скальной породе) скважины с уширенной нижней частью или без нее и последующего заполнения ее бетонной смесью, или элемент, устанавливаемый в скважину без принудительного заглубления. В дальнейшем "свая-оболочка" и "свая-столб" называются соответственно "оболочка" и "столб". Испытания свай, оболочек и
столбов в вечномерзлых и набухающих грунтах, а
также испытания таких грунтов штампами должны производится по
индивидуальным программам, учитывающим особенности грунтов, требования
соответствующих ГОСТов и настоящего Руководства. Руководство не содержит
рекомендаций по анализу результатов испытаний свай, оболочек и столбов
горизонтальной нагрузкой, который в каждом конкретном случае должен проводиться
с учетом особенностей конструкции фундамента и характера действующих на него
нагрузок. 1.2. В зависимости от
поставленной цели полевые испытания производят нагрузками следующих видов: а) динамической нагрузкой -
свай и оболочек; б) статической осевой
вдавливающей нагрузкой - свай, оболочек, столбов и штампов; в) статической горизонтальной
нагрузкой - свай, оболочек и столбов; г) статической осевой
выдергивающей нагрузкой - свай, оболочек и столбов. 1.3. Полевые испытания
динамической или статической нагрузками свай, оболочек и столбов должны
производиться в случае необходимости определения или контроля их несущей
способности по грунту и перемещений (по указанию или с ведома организации,
проектировавшей фундаменты). 1.4. Несущая способность Ф, тс,
сваи, оболочки или столба на вдавливание по результатам их испытаний
динамической или статической нагрузкой должна определяться по формуле где m и кг
- коэффициенты условий работы и безопасности, принимаемые равными единице;
_______________ Далее при ссылках слова "настоящего Руководства" опускаются. Несущая способность Ф, тс, оболочки или столба на вдавливание
по результатам испытаний штампом грунтов в их основании определяется по
формулам: а) при скальной породе,
крупнообломочном грунте с песчаным заполнителем или твердой глине в основании Ф=RF, (2) б) при прочих грунтах Ф=RF+US mf
fi li, (3) где R - расчетное сопротивление грунтового
основания центральному (осевому) сжатию, определенному согласно п. 1.10; F - площадь подошвы оболочки или столба; U - периметр оболочки или столба; mf -
коэффициент условий работа грунта на боковой поверхности оболочки или столба; fi - расчетное сопротивление i-го
слоя грунта на боковой поверхности оболочки или столба; li - толщина i-го слоя грунта, расположенного в
пределах от подошвы оболочки или столба до поверхности грунта (с учетом
возможной срезки или возможности местного размыва дна водотока при расчетном
паводке), Разбивку толщи грунта на
слои и значения mf и fi следует принимать,
руководствуясь указаниями главы СНиП по проектированию свайных фундаментов. 1.5. В
случаях испытаний свай, оболочек или столбов динамической или статической нагрузками нормативное
значение предельного сопротивления на вдавливание 1.6. Несущую способность Фв, тс, сваи, оболочки или
столба на выдергивание по результатам их испытаний следует определять по
формуле
где m - коэффициент условий работы,
принимаемый равным 0,6 при глубине погружения на 4 м и более и 0,4 при меньшей
глубине;
Кг - коэффициент безопасности по грунту, принимаемый равным единице. 1.7. Если вокруг верхней части
погруженных свай, оболочек или столбов будет удален грунт в результате
последующей планировки территории, разработки котлована или местного размыва
дна водотока при расчетном паводке, то необходимо значения несущей способности
свай, оболочек и столбов на вдавливание ф и на выдергивание Фв,
определенные согласно п.п. 1.4 и 1.6
по результатам их испытаний, уменьшить на разность сил трения грунта на их
боковой поверхности, определенных согласно главе СНиП по проектированию свайных
фундаментов для двух уровней
поверхности грунта: при испытании и после срезки грунта или местного размыва
при расчетном паводке. 1.8. Несущую способность на
вдавливание свай, оболочек и столбов, работающих в составе фундамента, следует
считать обеспеченной при выполнении условия где Nmax - наибольшее продольное
усилие в верхнем сечении сваи, оболочки или столба, тс; G - вес сваи, оболочки или столба, тс. Для всех свай а
также оболочек или столбов, опирающихся на глинистые грунты или скальные
породы, вес G следует определять без учета гидростатического
взвешивания, а для оболочек или столбов, опирающихся на песчаные грунты – с
учетом взвешивания; Ф – несущая
способность сваи оболочки или столба на вдавливание, тс, определенная согласно пп. 1.4 и 1.7; Кн и m –
коэффициенты надежности и условий работы. В случае, если элементы
фундамента моста, т.е. сваи, оболочки или столбы, опираются на нескальный грунт
и фундаментная плита расположена над его поверхностью, значение Кн следует принимать в
зависимости от количества элементов в фундаменте: при n=1¸5 Кн=1,60
(1,75); при n=6¸10 Кн=1,5 (1,65); при n=11¸20 Кн=1,45 (1,6); при n>20 Кн=1,25 (1,4). Для фундаментов мостов в остальных
случаях, а так же для всех фундаментов зданий и сооружений следует принимать Кн=1,25 (1,4). Приведенные в
скобках значения коэффициента надежности следует использовать при условии, что
величина Ф определена по результатам
испытаний элементов динамической нагрузкой. Коэффициент условий работы
следует принимать равным 1,0 за исключением приведенных ниже случаев. Если продольное усилие N в элементе фундамента
здания или сооружения (кроме мостов) определено с учетом ветровых и крановых
конструкций допускается принимать m=1,2. Если фундамент моста
опирается на нескальный грунт и продольное усилие N в элементе определено с учетом (раздельном или в сочетании)
нагрузок и воздействий от торможения, горизонтальных поперечных ударов
подвижного состава, давления ветра и льда, навала судов, изменение температуры,
допускается значение m
принимать по табл. 1 в зависимости от наличия на плоской
схеме фундамента наклонных элементов или только вертикальных, от количества nг
групповых элементов на этой схеме (т.е. от числа их рядов, расположенных
перпендикулярно плоскости действия внешней нагрузки) и от степени
неравномерности распределения продольных усилий в элементах фундамента,
характеризуемой отношением nN=Nmin/Nmax наименьшего продольного усилия в верхнем сечении
элемента (положительно при сжатии и отрицательно при растяжении) к наибольшему.
Для случаев, неохваченных табл. 1, надлежит принимать m=1.
Примечание. Плоская схема фундамента представляет собой его проекцию на плоскость действия нагрузки. 1.9. Несущую способность на
выдергивание свай, оболочек или столбов, работающих в составе фундамента,
следует считать обеспеченной при выполнении условия
где Nmin - наименьше продольное усилие в верхнем сечении элемента (сваи
оболочки или столба), тс; G - вес элемента, тс, определенный с учетом
гидростатического взвешивания, независимо от вида грунта, на который элемент
опирается; Фв - несущая способность элемента на выдергивание, тс, определенная
согласно п.п. 1.6 и 1.7; Кн - коэффициент условий работы, принимаемый равным единице; Кн - коэффициент надежности, принимаемый при любых грунтовых
условиях и положении плиты фундамента в зависимости только от числа n элементов в фундаменте согласно п. 1.8. 1.10. Расчетное сопротивление R, тс/м2,
грунтового основания центральному (осевому) сжатию под фундаментом мелкого
заложения, фундаментом из опускного колодца и под нижним кольцом оболочки и
столба следует вычислять по формуле
где Rпр - предельное сопротивление, тс/м2, грунта осевому сжатию
под штампом, принимаемое равным наименьшему предельному сопротивлению,
полученному по результатам испытаний; КГ - коэффициент безопасности по грунту, принимаемые равным единице. 1.11. Несущую способность
грунтового основания под подошвой фундамента мелкого заложения или под
фундаментом из опускного колодца следует считать обеспеченной при выполнении
условий:
где Рср и Рmax - среднее и наибольшее давления, тс/м2, подошвы
фундамента на основание; R - расчетное сопротивление, тс/м2, грунтового
основания осевому сжатию, определяемое по п. 1.10; Кн - коэффициент надежности, принимаемый равный
1,25; m - коэффициент условий работы, принимаемый
равным 1,0, кроме следующих случаев, в которых надлежит принимать т=1,2; фундамент опирается на скальную
породу; фундамент опирается на нескальный грунт и его расчет производится с
учетом одной или нескольких из нагрузок и воздействий от поперечных ударов
подвижного состава, торможения или силы тяги, ветра, льда, навала судов,
колебания температуры, трения в опорных частях, сейсмики. 1.12. Испытанию подлежат
сваи, оболочки и столбы, являющиеся элементами фундамента. Рекомендуется
испытывать сваи или оболочки, погружение которых было прекращено при большем
отказе. Отказом сваи и оболочки
называют величину погружения в грунт (в см) от одного удара молота, а при
вибропогружении - величину ее погружения за одну минуту. 1.13. Динамической нагрузкой
следует испытывать пять свай или две оболочки одного фундамента; статической
вдавливающей, выдергивающей или горизонтальной нагрузками – две сваи, одну
оболочку или один столб. 1.14. При опирании
фундамента на плотные пески, плотные
крупнообломочные грунты и твердые глины достаточно одного испытания грунта
штампом, а при опирании фундамента на прочие грунты – количество испытаний
должно быть не менее двух. 1.15. До начала динамических
или статических испытаний необходимо отогреть замерзший грунт на всю глубину
промерзания в пределах зоны, граница которой удалена от боковой поверхности
элемента (свай, оболочки, столба) или края штампа не менее чем на 1 м при испытании элемента или штампа осевой нагрузкой и не
менее чем на 2 м при испытании элемента горизонтальной нагрузкой. Допускается испытывать
элементы вдавливающей нагрузкой без предварительного оттаивания грунта. На время проведения
испытаний на акваториях в период отрицательных температур воздуха, между
испытываемым горизонтальной нагрузкой элементом и ледяным покровом (по всей
толщине) надлежит сохранять кольцевой зазор шириной не менее 10 см. 1.16. Испытания свай и
оболочек динамической или статической нагрузками допускается проводить по
истечении (после окончания погружения свай и оболочек) сроков, зависящих от
вида прорезаемых грунтов и грунтов под их нижним концом: при песчаных грунтах – 3
суток; при глинистых или
разнородных грунтах – 6 суток. В случаях заглубления низа
свай и оболочек в крупнообломочные грунты, плотные пески и твердые глины
указанные сроки допускается сокращать до 1 суток. 1.17. Забетонированные в
грунте элементы допускается испытывать статическими нагрузками после достижения
бетоном проектной прочности. 1.18. Приборы, применяемые
для измерения перемещений свай, оболочек, и столбов, а также манометры (при
использовании в испытаниях гидравлических домкратов) должны быть проверены
согласно паспортным данным. Цена деления манометров,
применяемых в испытаниях статическими нагрузками, определяется в зависимости от
максимальной нагрузки, которую предполагается передать на испытуемую сваю,
оболочку или столб, количества домкратов и площади их поршня. 1.19. При выполнении всех
видов полевых испытаний свай, оболочек, столбов, а также грунтов штампами
необходимо соблюдать привила техники безопасности в соответствии с главой СНиП
по технике безопасности в строительстве и дополнительные указания раздела 5 настоящего
Руководства. 2. ИСПЫТАНИЯ СВАй И ОБОЛОЧЕК ДИНАМИЧЕСКОЙ нагрУЗКОЙИспытания свай2.1. Испытания динамической
нагрузкой проводят для оценки несущей способности по грунту свай, погруженных
молотами или вибропогружателями. 2.2. Испытания динамической нагрузкой должны, как
правило, проводиться тем же оборудованием, которое использовалось для
погружения свай фундамента. Выбор типа и мощности молота
или вибропогружателя для испытания свай, следует производить согласно
рекомендациям приложения 1. Результаты испытаний свай
должны быть отражены в актах, составляемых согласно приложению
2. 2.3. Несущую способность по
грунту свай, испытываемых с помощью молота или вибропогружателя, вычисляют с использованием величины отказа,
измеренного при испытании. При испытании свай молотами
следует измерять величину погружения сваи в результате 3-5 ударов работавшего
молота и ее отказ получать делением этой величины на количество произведенных
ударов. Величину погружения свай необходимо определить с точностью до 1 мм. 2.4. При определении отказа
необходимо следить за тем, чтобы голова добиваемой сваи была неповрежденной,
высота падения ударной части молота была не менее паспортной для молота данного
типа, удар молота – центральным, а наголовник имел обмятую амортизирующую
прокладку из такого же материала, который использовался при забивке свай
фундамента. 2.5. Если сваи погружены до
проектной отметки и полученный в результате испытаний отказ свай превысит
расчетное значение, организация, запроектировавшая фундамент, должна принять
решение о необходимости дополнительного заглубления в грунт свай с целью
уеличения их несущей способности. Если по каким либо причинам это
нецелесообразно или невозможно, то для уточнения несущей способности свай
необходимо испытать сваи статической нагрузкой. 2.6. Предельное
сопротивление сваи,
где n - коэффициент, тс/м2, принимаемый по
табл. 2; F - площадь, м2 ограниченная
наружным контуром поперечного сечения сплошного или полого ствола сваи (с
закрытым нижним концом или с открытым концом, но погруженной без удаления
грунта из ее полости); М - коэффициент, принимаемый при забивке свай молотами ударного действия
равным 1, а при вибропогружении - по табл. 3 в
зависимости от вида грунта под концом сваи; Эр - расчетная энергия удара, тс.см, принимаемая для дизель-молотов
по приложению
1, а для
молотов подвесных и одиночного действия - равной QH; для вибропогружателей под Эр следует понимать эквивалентную
расчетную энергию удара, принимаемую по табл. 4; Q - вес ударной части молота, тс; Н - фактическая высота падения ударной части молота, см; Qn - полный вес молота или
вибропогружателя, тс; Е - коэффициент восстановления удара, принимаемый при забивке
железобетонных и стальных свай молотом ударного действия с применением
наголовников с деревянном вкладышем q - вес сваи и наголовника, тс; q1 - вес подбабка, тс, при использовании вибропогружателя q1=0.
Примечание. При плотных песках значение коэффициента М следует повышать на 10%, если плотность определена статическим зондированием, и на 60%, если плотность определена другими способами, например, по результатам лабораторных испытаний грунтов.
Испытание оболочек2.7. Испытания динамической
(вибрационной) нагрузкой предназначена для оценки несущей способности оболочек,
погруженных с открытым нижним концом без удаления на последнем этапе из их полости образовавшегося грунтового
ядра. 2.8. Для испытания оболочек должен
использоваться, как правило, тот же вибропогружатель, что и при их погружении. Выбор требуемого
вибропогружателя следует производить согласно рекомендациям приложения
1. 2.9. В процессе испытания оболочек
необходимо фиксировать: а) мощность, напряжение и
силу тока, питающего электродвигатель вибропогружателя; б) Частоту вращения
эксцентриков вибропогружателя; в) величину амплитуды
колебаний оболочки. 2.10. Продолжительность
испытания оболочки должна быть не
менее 1 мин и не более 2 мин. 2.11. Предельное
сопротивление оболочки Фпр,
тс, заглубленной в нескальный грунт вибропогружателем следует вычислять по
формуле
где l - коэффициент,
зависящий от отношения статического сопротивления грунта к динамическому;
определяется для песчаных грунтов по табл. 5 в
зависимости от их вида и степени водонасыщения, а для глинистых – по табл. 6 в зависимости от показателя консистенции; Nn - полная потребляемая
электромотором вибропогружателя активная мощность в конце заглубления в грунт
оболочки, кВт; Nx - потребляемая мощность
холостого хода, принимаемая для низкочастотных вибропогружателей равной 25%
паспортной мощности электродвигателя, кВт, АФ - амплитуда колебаний оболочки в конце испытания, см; nв - частота вращения дебалансов
вибропогружателя, об/мин; Qв - вес вибросистемы, равная суммарному весу оболочки, наголовника
и вибропогружателя, тс. При слоистом напластовании
грунтов значение l следует определять по
формуле
где li - коэффициент для i-го слоя однородного грунта; hi - высота i-го слоя грунта, м.
2.12. Полную потребляемую
электромотором активную мощность Nn рекомендуется определять,
используя показания приборов на пульте управления вибропогружателя. Наиболее просто
мощность Nn определяется с помощью
ваттметра. При отсутствии ваттметра мощность Nn можно определять, используя измеренные амперметром,
вольтметром и фазометром значения силы тока J, напряжения V и cos Y, по формуле Nn=0,00173JVcos Y, (12) где J - сила тока, А; V - напряжение,
В. При отсутствии фазометра
допускается принимать cos Y=0,7. Другой способ определения
мощности основан на использовании показаний счетчика электроэнергии и формулы
где П0 - начальное
показание счетчика, кВт.ч; П1 - конечное
показание счетчика, кВт.ч; t - время установившейся работы вибропогружателя на последнем
залоге, мин. 2.13. Частоту вращения
дебалансов принимают по данным паспорта вибропогружателя, Если испытания производят при меньшей
частоте, то ее рекомендуется определять по показаниям вибрографа, тахометра или
другим способом, например, основываясь на количестве введенных сопротивлений в
цепь ротора электродвигателя. 2.14. Величину амплитуды
колебаний оболочки следует определять вибрографом любого имеющегося типа. При
отсутствии вибрографа амплитуду можно приближенно определить путем быстрого
прочерчивания линии горизонтально перемещаемым карандашом на листке бумаги,
прикрепленной или прижатой к боковой поверхности колеблющейся оболочки. Полученная
таким образом на бумаге кривая колебаний используется для определения величины
амплитуды следующим образом. Все соседние верхние пики кривой соединяют
отрезками прямых линий, то же самое повторяют для нижних пиков кривой. В
результате получается полоса, ширина которой характеризует размахи колебаний,
равные двойной амплитуде. Измерив ширину полосы с точностью до 1 мм в наиболее
широком ее участке, делят замеренную величину пополам и получают искомое
значение амплитуды. 2.15. До начала замера
амплитуды колебаний необходимо убедиться в том, что вибропогружатель жестко
соединен с наголовником, а наголовник – с оболочкой. 2.16. В случае, если несущая
способность оболочки по результатам динамических испытаний окажется ниже
расчетного значения, организация, запроектировавшая фундамент, должна принять
решение о проведении статических испытаний или о дополнительном заглублении
оболочек. 2.17. Результаты испытания
оболочек вибрационной нагрузкой должны быть отражены в акте испытания (приложение
8). 3. ИСПЫТАНИЯ сВай, ОБОлоЧЕк И СТОЛБОВ СТАТИЧЕСКИМИ НагРУзкаМИОбщие положения3.1. Испытания проводятся с
целью определения несущей способности по грунту свай, оболочек и столбов на
действие вдавливавших, горизонтальных выдергивающих нагрузок и выявления
характера зависимости между нагрузкой, воспринимаемой элементом, и его перемещением в направлении
действия испытательной нагрузки. 3.2. При выборе методики
проведения испытаний элементов (свай, оболочек
и столбов), а также оценке получаемых результатов испытаний статическими
нагрузками необходимо учитывать следующее: а) получаемые при этих
испытаниях данные со значительно большей степенью достоверности характеризуют
несущую способность на вдавливание испытанного элемента по сравнению с данными
испытаний динамической нагрузкой или методом зондирования грунтов; б) увеличение времени
действия нагрузки (продолжительности испытаний) на испытуемый элемент приводит
к росту его перемещений, но почти не оказывает влияния на величину предельной нагрузки; в) получаемые данные о
результатах испытаний одиночных элементов, находящихся в кусте, характеризуют с
достаточной степенью приближения значение их предельной сжимающей нагрузки при работе
в составе фундамента, но не могут быть непосредственно использованы при оценке
величин осадки или горизонтального смещения фундамента в целом; г) предельное состояние элемента по условию несущей
способности грунта (предельное сопротивление по грунту) характеризуется началом
значительного приоритета перемещений испытываемого элемента при неизменной
ступени увеличения прикладываемой к нему нагрузки. 3.3. Испытания свай,
оболочек и столбов производят ступенчато-возрастающими нагрузками. Величину
ступени следует принимать в зависимости от грунтовых условий в диапазоне от 1/10 до 1/15 от
предполагаемой придельной нагрузки. В случаях заглубления нижних
концов элементов в крупнообломочные грунты, гравелистые и плотные пески, в
твердые глины, a также для ускорения проведения испытаний элементов в других
грунтах допускается первые три ступени загружения принимать равными 1/5-1/8 от
предполагаемой предельной нагрузки на элемент. 3.4. На каждой ступени
загружения испытываемого элемента необходимо производить отсчеты по всем
приборам: первый отсчет – сразу после приложения нагрузки, затем
последовательно четыре отсчета с интервалом через 15 мин; два отсчета с
интервалами через 30 мин и далее через каждый час до условного затухания
(условной стабилизации) перемещений. 3.5. Перемещение испытываемого
элемента на данной ступени нагрузки условно считается затухшим, если его
величина не превышает 0,1 мм за последние 30 мин - при опирании на
крупнообломочные, песчаные и твердые глинистые грунты и за последний час - при
опирании на полутвердые и тугопластичные глинистые грунты. После условного затухания
перемещения на предыдущей ступени можно прикладывать к испытуемому элементу
нагрузку следующей ступени. Примечание. При соответствующем обосновании допускается проведение испытаний форсированным методом т.е. без достижения условной стабилизации перемещений. В таком испытании интервалы дёйствия нагрузок на разных ступенях должны быть равными и составлять не менее 5 минут. 3.6. Для замера перемещений
испытуемых элементов следует использовать прогибомеры конструкции Максимова или
другие аналогичные приборы, например конструкции Аистова, руководствуясь
рекомендациями приложения 4. 3.7. Разгрузку испытываемых
элементов рекомендуется производить минимум дважды: после достижения расчетной
нагрузки на элемент (согласно проекту фундамента) и максимальной нагрузки,
достигнутой в конце испытания. Ступени при разгрузке
принимается равными удвоенным ступеням при загружении. Если последняя ступень
загрузки была нечетной, то первую ступень разгрузки допускается принимать
равной величине трех последних ступеней загружения. После полной разгрузки (до
нуля) наблюдения ведутся в течение 1 часа за перемещением элементов в связных
грунтах и 30 мин в несвязных грунтах. При этом отсчеты по приборам берутся
через каждые 15 мин. 3.8. Величину перемещения
испытываемого элемента следует определять как среднее арифметическое показаний
двух прогибомеров, установленных симметрично относительно элемента. 3.9. В ходе испытания статическими
нагрузками свай, оболочек и столбов необходимо вести журнал испытаний, в
котором должны быть отражены: а) наименование объекта; б) номера испытываемых
элементов; в) характеристика элементов
(материал, размера поперечного сечения, полная длина, величина заглубления в
грунт); г) дата и способ заглубления
элементов в грунт; д) дата начала и конца
испытаний каждого элемента; е) отметки низа, головы
элемента, поверхности грунта и уровня воды; ж) вид нагрузки
(вдавливающая, выдергивающая, горизонтальная) при испытании элементов; з) нагрузки на каждой
ступени; и) отсчеты по приборам; к) перемещения элемента,
вычисленные согласно п.3.8. 3.10. Результаты испытаний
каждой сваи, оболочки и столба должны быть оформлены в виде графиков
зависимости величины перемещения от нагрузки и изменения величины перемещения
во времени на каждой ступени нагрузки. Графики испытаний элементов
вдавливающей или выдергивающей нагрузкой следует строить, откладывая по
вертикальной оси перемещения, а по горизонтальной - нагрузки или время
выдержки. При этом надлежит пользоваться масштабами: в 1 см - 1 мм перемещения;
в 1 см – 5 тс нагрузки; в 1 мм – 10 мин выдержи нагрузки (приложение 5,
рис. 1). В случаях испытаний
свай, оболочек и столбов большой грузоподъемности допускается пользоваться
масштабами: в 1 мм – 1 мм перемещения; в 1 см – от 5 до 100 тс. Графики испытаний элементов
горизонтальной нагрузкой следует строить, откладывая по горизонтальной оси перемещения,
а по вертикальной – нагрузки или время их выдержки и соблюдая масштабы: в 1 см
– 1 мм перемещения; в 1 см – от 0,5 до 5 тс нагрузки; в 1 мм – 10 мин выдержи
нагрузки (приложение
5, рис. 2). 3.11. После окончания
испытаний элементов и обработки полученных результатов (по журналу испытаний)
должен быть составлен акт по форме, приведенной в приложении 5. К акту должны быть приложены графики
зависимости перемещений от испытательной нагрузки и продолжительности ее
действия, геологический разрез в месте испытания элементов, чертеж (схема)
испытательных устройств. Испытания осевой вдавливающей нагрузкой3.12. При испытаниях
вдавливающей нагрузкой свай, оболочек и столбов рекомендуется учитывать
следующее: а) до испытания статической
вдавливающей нагрузкой торцовую поверхность головы сваи, в случае
необходимости, надо выравнить цементно-песчаным раствором. Сваи с поврежденным
верхним концом могут быть испытаны только при условии усиления его стальной
обоймой; б) после окончания испытания
элементов вдавливающей нагрузкой их можно использовать в составе фундамента; в) анкерные сваи, оболочки и
столбы можно использовать в составе фундамента, если не зафиксированы их
остаточные перемещения, в противном случае сваи необходимо допогрузить и после
этого учитывать в работе фундамента. 3.13. В зависимости от
положения испытуемого элемента относительно вертикали, величины испытательной
нагрузки, наличия или отсутствия анкерных устройств элементы нагружают с
помощью гидравлического домкрата (батареи домкратов) или тарированного груза (приложение 6). Наиболее распространенным
является способ нагружения испытуемых элементов с помощью гидравлического
домкрата или батареи домкратов, упираемых в балочную конструкцию, закрепленную
за анкерные сваи, оболочки или столбы, в плиту фундамента или надфундаментную
конструкцию (приложение 6). 3.14. Анкерную установку,
применяемую для загружения испытуемого элемента с помощью гидравлического
домкрата (батареи домкратов) необходимо проектировать с учетом следующих
требований: а) установка должна быть
рассчитана на усилие, превышающее в 1,5 раза наибольшую испытательную нагрузку,
назначенную при необходимости с учетом возможного понижения несущей способности
элемента из-за удаления грунта вокруг его верхней части, в результате срезки
или размыва грунта (см. п. 1.7); б) мощность домкрата
(батареи домкратов) должна превышать не менее чем в 2 раза наибольшую
испытательную нагрузку; в) балочная конструкция для
упора домкратов должна крепиться с помощью тяг, приваренных к обнаженной
арматуре анкерных элементов. Допускается вместо этого использовать
самозахватывающие анкерные крепления, анкерные пучки или другие аналогичные
конструкции (см. приложение 6); г) максимальный прогиб
балочной конструкции не должен превышать 1/250 ее расчетного пролета; д) количество анкерных свай,
оболочек или столбов должно назначаться в зависимости от величины испытательной
нагрузки, величины предельного сопротивления анкерных элементов по грунту и по
материалу на растяжение; е) расстояние в свету от
испытуемого элемента до каждой из анкерных должно быть не меньше: при испытании сваи –
удвоенного наибольшего размера поперечного сечения сваи; при испытании оболочек и
столбов – 1 м; ж) заглубление в грунт
анкерных элементов не должно превышать заглубления испытуемого элемента; з) если для нагружения
испытуемого элемента используют два гидравлических домкрата или более, они
должны подключаться к одному насосу или одной насосной станции или же к
специальному устройству автоматического поддержания заданного давления; и) конструкция установки
домкратов должна исключать возможность их выброса в (сторону, для чего
необходима постановка над домкратом
и под ним прокладок из фанеры или рубероида. 3.15. Реперная установка
(система), используемая для замера перемещений испытуемого и анкерных
элементов, должна: а) обеспечивать возможность
крепления к ней приборов (например, прогибомеров) для измерения перемещений
испытуемого и анкерных элементов; б) быть надежно
изолированной от случайных толчков в процессе испытаний, а ее конструкция –
исключать возможность искажающего влияния на результаты замеров температурных
ее деформаций, размывов дна водотока и пучения грунтов; в) крепиться к заглубленным
в грунт элементам или к шпунтовому ограждению котлована; г) иметь места крепления удаленные от
испытуемого элемента не менее чем на 2,5 м; от анкерных – на 1,5 м. Удаление от
ограждения котлована – не ограничивается; д) осуществляться в
соответствии со специальным проектом, если испытания проводятся на акваториях.
Допускается в виде исключения в качестве креплений установки использовать грузы
массой 20-30 кг, опускаемые на дно водоема на расстоянии не менее чем на 3 м от
испытуемого элемента(см. приложение 6); е) оснащаться индикаторами
или прогибомерами, согласно рекомендациям, приведенным в
приложениях 6-8. 3.16. Опробование
гидравлической системы не допускается, если при этом возможно нагружение
испытываемого элемента. Нагрузка на испытываемый
элемент должна плавно прикладываться вдоль его оси. 3.17. Испытываемые элементы
рекомендуется нагружать до наступления их предельного сопротивления по грунту. Для фундаментов мостов за
предельное сопротивление сваи, оболочки или столба при вдавливающих нагрузках
должна приниматься нагрузка на одну ступень меньше нагрузки, при которой
приращение осадки за одну ступень загружения, превышает в 5 раз и более
приращение осадки, полученное за предшествующую ступень нагружения или же
осадка не затухает в течение одних суток и более (при общей величине ее более
40 мм). Если указанное приращение
осадки элемента не достигнуто, то за его предельное сопротивление может быть
принята нагрузка, соответствующая такой осадке элемента, при которой осадка
фундамента в целом, определенная при необходимости с учетом кустового эффекта,
равна предельно допускаемой величине. Для фундаментов всех
сооружений, кроме мостов предельное сопротивление элемента по результатам его
испытания следует принимать согласно указаниям главы СНиП по проектированию
свайных фундаментов. 3.18. Во всех случаях
испытания свай, оболочек или столбов наибольшую испытательную нагрузку следует
принимать по указаниям проектной организации, но не менее нагрузки
где величины те же, что и в формуле (5). Примечание. Если вокруг верхней части сваи, оболочки или столба будет удален грунт в результате последующей планировки территории, разработки котлована или местного размыва дна водотока при расчетном паводке, то вычисленное по формуле (14) значение Р следует увеличить на разность сил трения грунта на их боковой поверхности, определенных согласно главы СНиП по проектированию свайных фундаментов для двух уровней поверхности грунта: при испытании и после срезки грунта или местного размыва при расчетном паводке. 3.19. Если через 24 ч в
глинистых грунтах и через 12 ч в песчаных не наблюдается затухания перемещения
испытуемого элемента за одну ступень нагружения, то допускается прекращать
испытания не зависимо от величины достигнутой нагрузки. В этих случаях организация,
проектировавшая сооружение, должна принять решение о допогружении элементов и
повторном испытании или же об уменьшении на них расчетных нагрузок. Испытания статической горизонтальной нагрузкой3.20. Для испытания
горизонтальной нагрузкой допускается использовать элементы, ранее испытанные
вдавливающей или выдергивающей нагрузками. 3.21. Испытания элементов
следует проводить с помощью гидравлического домкрата или полиспаста. 3.22. Наибольшая величина
горизонтальной испытательной нагрузки должна назначаться проектной организацией
с учетом полученных по расчету горизонтальных перемещений в уровне поверхности
грунта элементов, работающих в составе фундамента, а также различия характера
действующей нагрузки на элемент в испытании и при работе в составе фундамента. 3.23. При испытании
элементов горизонтальной нагрузкой необходимо учитывать следующее: а) испытывать рекомендуется
элементы крайнего ряда фундамента на нагрузку, направленную во внешнюю его
сторону; в) мощность домкрата должна
превышать не менее чем в два раза наибольшую величину горизонтальной
испытательной нагрузки (см. п. 3.22); в) домкрат следует
располагать согласно схеме, приведенной в приложении 7; г) элементы рекомендуется
испытывать в распор (приложение 7). Допускается для упора домкрата
использовать стенку шпунтового ограждения котлована или какую-либо другую
конструкцию, рассчитанную на горизонтальную нагрузку, превышающую не менее чем
в 1,5 раза наибольшую испытательную нагрузку (см. п. 3.22); д) нагрузка должна
прикладываться так, чтобы направление ее действия пересекало продольную ось
испытуемого элемента. 3.24. При устройстве реперной
установки, предназначенной для замера горизонтальных перемещений испытуемого
элемента, следует учитывать требования, перечисленные в. п.
3.15. 3.25. Для замера линейных
перемещений испытуемого элемента необходимо установить приборы (прогибомеры):
два вблизи поверхности грунта или воды и два в уровне приложения нагрузки. 3.26. Элементы, которые
после испытаний не будут использованы в составе фундаментов, рекомендуется
загружать до появления горизонтальных перемещений в уровне грунта не менее: 30
мм – для свай и 50 мм – для оболочек
и столбов. 3.27. Элементы надлежит
испытывать, выдерживая нагрузку на каждой ступени до условной стабилизации
перемещений согласно указаниям п. 3.5. Испытания статической осевой выдергивающей нагрузкой3.28. Для испытания
выдергивающей нагрузкой допускается использовать элементы, ранее испытанные
динамической нагрузкой или статической вдавливающей. 3.29. Для загружения
испытываемых элементов выдергивающей нагрузкой следует использовать
гидравлические домкраты. 3.30. Испытательные
установки для загружения элементов выдергивающей нагрузкой (приложение
8)
должны удовлетворять требованиям, перечисленным в п. 3.14
с той разницей, что анкерные (опорные) элементы будут работать на сжатие, а
испытуемый элемент на выдергивание. 3.31. При устройстве
реперной установки, предназначенной для замера перемещений испытуемого
элемента, следует учитывать требования, перечисленные в п.
3.15. 3.32. Элементы, которые
после испытаний выдергивающей нагрузкой не будут использоваться в составе
фундамента, следует загружать до выхода их из грунта не менее чем на 25 мм. Подлежащие использованию в
фундаменте элементы следует испытывать нагрузками, не превышающими проектных
величин. Допускается использовать в
фундаментах сваи и полые оболочки, испытанные нагрузками, превышающими
расчетные, при условии допогружения таких элементов до отказов, обеспечивающих
восприятие расчетных осевых вдавливающих нагрузок. 3.33. Для фундаментов мостов
за предельное сопротивление испытанного элемента следует принимать величину
нагрузки на одну ступень меньше соответствующей нагрузки, при которой: а) приращение выхода
элемента из грунта за одну ступень загружения (при общем выходе элемента более
25 мм) превышает в 5 раз и более приращание выхода, полученное за
предшествующую ступень загружения; б) перемещение элемента
непрерывно возрастает без увеличения нагрузки. 3.34. Элемент следует
испытывать с "условной стабилизацией" перемещений во времени (для
каждой ступени нагрузки), характеризуемой скоростью выхода элементов из грунта
не более 0,1 мм за последний час наблюдений. 4. ИсПыТаНИЯ ГРУНТОВ ШТАМПОМОбщие положения4.1. Испытания штампом
проводятся с целью оценки величины нормативного сопротивления грунтов всех
видов, за исключением вечномерзлых, просадочных, набухающих и связных с
показателем консистенции JL³0,5, в основаниях
фундаментов мелкого и глубокого заложения. 4.2. При испытаниях грунтов
штампом и оценке получаемых результатов необходимо учитывать следующее: а) полученные при этих
испытаниях данные правильно характеризуют величины несущей способности и осадки
основания из слоя однородного грунта, расположенного под штампом на глубину
активной сжимаемой толщи, равной примерно удвоенной ширине подошвы штампа. Использование результатов
штамповых испытаний для определения несущей способности и осадок оснований
фундаментов приводит к погрешностям тем большим, чем выше степень
неоднородности механических свойств грунтов, расположенных по глубине активной
толщи основания фундамента; б) в процессе подготовки и
проведения испытаний должно обеспечиваться сохранение природного сложения
грунтов под штампом, т.е. не допускаться его разуплотнения, изменение
естественной влажности вследствие замачивания, высушивания или промерзания; в) должно обеспечиваться
плотное прилегание штампа к поверхности грунта; г) подошва штампа должна
располагаться на отметке заложения фундамента со сплошной подошвой или низа
столба и оболочки. 4.3. За предельное
сопротивление грунта основания по результатам штамповых испытаний следует
принимать величину давления штампа на грунт на одну ступень меньше давления,
при котором приращение осадки за одну ступень разгружения (при общей осадке
более 40 мм) превышает в 5 раз и более приращение осадки, полученное за
предшествующую ступень нагружения. Испытания несущей способности грунтов, за
исключением крупнообломочных отложений, плотных песков, твердых и полутвердых
глин, рекомендуется доводить до нагрузки, при которой может быть зафиксировано
предельное сопротивление грунта основания. Допускается испытания
прекращать при давлении, принятом согласно указаниям проектной организации, но
не меньшей: а) в случае фундамента
мелкого заложения и фундамента в виде спускного колодца – большего из давлений
б) в случае свайного
фундамента – давления
Величины, входящие в
выражения для Р1, Р2 и Р те же, что и в формулах (1)-(3) и (5). Если при максимальном
давлении в испытании несущей способности грунтов осадка штампа за одну ступень
загружения не превысит в 5 раз и более приращение осадки за предшествующую
ступень и общая осадка окажется меньше 40 мм, допускается условно принимать это
давление за предельное сопротивление Rпр грунта основания. Примечание. В случаях, когда осадки штампа на каждой ступени загружения условно затухают за период менее одних суток и приращение осадки на последней ступени не превышает в 5 раз приращение осадки за предшествующую ступень, но общая осадка штампа получается более 40 мм, решение о величине предельного сопротивления грунта и типе фундамента должно приниматься индивидуально с учетом характерных особенностей грунта основания. 4.4. Испытания грунтов
штампом производят ступенчато-возрастающей вдавливающей нагрузкой. 4.5. Испытания начинают с
предварительного уплотнения грунта нагрузкой, создающей природное давление на грунт
в уровне подошвы штампа, но не менее 0,5 кгс/см2. 4.6. Предварительное
уплотнение грунта и последующее нагружение штампа производят ступенями,
создающими давления в уровне подошвы штампа: для крупнообломочных и
плотных песчаных грунтов – 1 кгс/см2; для песчаных грунтов средней
плотности – 0,5 кгс/см2; для глинистых грунтов в
зависимости от их показателя
консистенции JL и пористости E – согласно табл. 7. Таблица 7
При испытаниях грунтов
дочетвертичного периода ступени нагрузок могут быть приняты соответствующими
давлениям до 2 кгс/см2. 4.7. При назначении величины
первой ступени нагрузки для предварительного уплотнения грунта штампом следует
учитывать вес элементов испытательной установки, передающей давление на штамп. 4.8. В процессе
предварительного уплотнения грунта штампом каждую ступень нагрузки
рекомендуемся выдерживать не менее: при крупнообломочных и
песчаных грунтах – 5 мин; при глинистых грунтах – 30
мин. Последнюю ступень нагрузки
предварительного уплотнения и все последующие ступени следует выдерживать до
условной стабилизации осадки основания. 4.9. За условную
стабилизацию осадки основания на каждой ступени нагрузку принимают приращение
осадки штампа не более 0,1 мм в течение 30 мин при крупнообломочных и песчаных
грунтах и 1 ч при глинистых грунтах. Время выдержки каждой последующей ступени
нагрузки должно быть не менее времени выдержки предыдущей. 4.10. Общее количество
ступеней нагрузки штампа, включая последнюю ступень нагрузки предварительного
уплотнения грунта, должно быть не менее пяти. 4.11. Осадку штампа следует
определять как среднее арифметическое значение из показаний двух прогибомеров,
измеряющих с точностью 0,1 мм осадку двух противоположных сторон штампа. 4.12. Результаты испытаний
грунтов штампом необходимо оформить, пользуясь указаниями пп.
3.9-3.11 применительно к испытанию элементов вдавливающей нагрузкой. Испытания грунтов штампом в котлованах, шурфах и в скважинах4.13. Для испытаний в
котлованах и шурфах следует применять жесткий круглый штамп с плоской подошвой
площадью 2500 см2 при крупнообломочных отложениях, плотных песках и
глинистых грунтах с показателем консистенции JL>0,25. Допускается использовать
центральный штамп площадью 1000 см2 с кольцевым симметрично
расположенным штампом площадью не менее 5000 см2. Кольцевой штамп предназначен
для создания вокруг основного штампа пригрузки с интенсивностью, равной по
величине природному давлению. 4.14. Для испытаний грунтов
в буровых скважинах рекомендуется использовать жесткий круглый штамп с плоской
подошвой площадью не менее 600 см2. 4.15. Форму и размеры
поперечного сечения в плане шурфов назначают исходя из удобства производства
работ по установке штампа, монтажу и демонтажу испытательной и реперных
установок. Минимальный размер шурфа, в плане 1,5´1,5 м. Способы проходки
шурфов, скважин и других выработок должны обеспечить сохранность естественного
состояния грунтов забоя выработки. 4.16. Для испытания следует
использовать скважины диаметром не менее 33 см. Скважины в грунтах надлежит
бурить вертикально с инвентарными обсадными трубами до отметки испытания. При
испытании несущей способности нескальных грунтов в скважинах их следует бурить
станками вращательного действия. При бурении скважин для испытания
водонасыщенных грунтов не допускается понижение уровня грунтовых вод в скважине
по сравнению с природным. Дно скважины должно
располагаться на 0,1-0,2 м выше уровня установки подошвы штампа. Зачистку
оставшегося грунта производят непосредственно перед установкой штампа. 4.17. Загрузку штампов можно
производить с помощью гидравлического домкрата или тарированного груза, усилие
от которых должно прикладываться к центру штампа. 4.18. Испытательные
установки дли загружения штампа с помощью гидравлического домкрата и
загрузочной платформы (приложение 9) должны
удовлетворять следующим требованиям: а) вес загрузочной платформы
должен превышать не менее чем в 1,5 раза величину максимальной испытательной
нагрузки, назначаемой проектной организацией; б) загрузочная платформа
должна опираться на четыре точки, по две с каждой стороны котлована или шурфа (см. приложение
9). 4.19. При устройстве
реперной установки, предназначенной для замера осадок, рекомендуется
пользоваться указаниями п. 3.15. Места крепления реперной
установки долины быть удалены не менее чем на 1 м от краев выработки, в которой
производится испытание, или на 1,5 м от боковой поверхности штампа. 4.20. В сухих или осушенных
котлованах и в шурфах, штамп следует устанавливать на спланированную площадку
основания. В случае затруднений с осуществлением непосредственной зачистки
грунта планировку площадки рекомендуется произвести путем отсыпки маловлажного
песка слоем толщиной до 5 см на поверхность крупнообломочных отложений и до 2
см на поверхность глинистых грунтов. 4.21. Для обеспечения
плотного прилегания штампа к грунту следует его подошву смазать технический
маслом, а после установки на грунт или песчаную подготовку повернуть вокруг
вертикальной оси несколько раз на четверть оборота в противоположных
направлениях. 4.22. Связный грунт в
пределах зоны расположения штампа в период положительных температур воздуха
следует защищать от избыточного увлажнения путем устройства отводов воды, а при
отрицательных температурах воздуха – от промерзания путем устройства
теплоизолирующего покрытия штампа и прилегающей к нему зоны грунтов. Испытания грунтов штампом в оболочках4.23. Для испытания грунтов
в основании оболочек следует применять штамп диаметром не менее 300 мм. В качестве штампа рекомендуется
использовать стальную трубу (приложение 10), в
нижней части которой вваривается днище, являющееся штампом, а в верхней –
площадка для упора гидравлического домкрата. Сама труба является штангой,
передающей давление от домкрата на штамп. Днище-штамп следует приварить на
расстоянии 5 см от низа трубы. Для обеспечения установки
штампа по центру оболочки, к
трубе надо приварить через каждые 3,5-4 м по ее длине центрирующие направляющие
(фонари). 4.24. В качестве
загрузочного устройства для штампа следует использовать гидравлический домкрат,
реактивное давление от которого воспринимается балкой, прикрепляемой болтами к
верху оболочки (см. приложение 10). 4.25. Измерения осадки штампа
производятся двумя прогибомерами, которые рекомендуется крепить к верхней части
трубы штампа. 4.26. Чтобы обеспечить
плотное прилегание штампа к грунту, установленную в оболочку трубу со штампом
необходимо 2-3 раза повернуть на полоборота вокруг продольной оси. 4.27. Для обеспечения
условий подобия работы основания под штампом и под оболочкой рекомендуется
помимо основного штампа применять кольцевой пригрузочный штамп, давление под
которым должно быть равно природному давлению на грунт на отметке заложения
подошвы оболочки. Площадь кольцевого штампа должна превышать площадь основного
штампа не менее чем в 5 раз. Допускается вместо
кольцевого штампа применять засыпку песком (после установки штампа) внутренней
полости оболочки на высоту, равную
где d и D -
диаметры соответственно штампа и оболочки; H - заглубление низа оболочки
от поверхности грунта. 5. ТЕХНИКА БЕЗОПАСНОСТИ5.1. Настоящие правила
техники безопасности распространяется на производство специфических работ по
испытаниям несущей способности свай, оболочек, столбов (элементов) и грунтов.
Имеется в виду работы, связанные с нагружением элементов или штампов и замером
их перемещений. Все строительно-монтажные работы по изготовлению и сборке на
месте испытательных установок, заглубление в грунт испытываемых элементов,
установке штампов должны выполняться с соблюдением действующих правил по
технике безопасности строительных работ. Поэтому приводимые ниже правила
является дополнительными к требованиям главы СНиП III-А.1-70 и "Правил
техники безопасности и производственной санитарии при сооружении мостов и
труб" (М., Оргтрансстрой, 1968). 5.2. Содержащиеся в
настоящем разделе правила обязательны для всех организаций, осуществляющих
работу по динамическим и статическим испытаниям несущей способности элементов и
грунтов. 5.3. Все применяемые при
испытаниях машины, механизмы, оборудование и оснастка, включая разного рода
подмости, должны удовлетворять требованиям действующих правил по технике
безопасности и чертежам производства работ по испытаниям элементов или грунтов. 5.4. Производитель работ и
мастер, ответственные за проведение испытаний, обязаны обеспечить выполнение
всех технических и организационных мероприятий по безопасности работы в
соответствии с требованиями действующих нормативных документов и настоящего
раздела. 5.5. Производитель работ или
мастер, обязаны лично следить за обеспечением безопасности работ по монтажу
испытательных установок, опробованию применяемого оборудования и устройств,
устранению выявленных при этом ненормальностей. 5.6. К работам по испытанию
свай или грунтов разрешается допускать рабочих только после проведения с ними в
установленном порядке инструктажа по технологии работ и безопасному их
выполнению. 5.7. Перед началом испытаний
производитель работ или мастер обязан ознакомить рабочих с характером
предстоящих работ, местом их выполнения и подходами к нему, указать на
возможные опасности и приемы их предотвращения. До начала работ мастер
должен проверить состояние рабочего места, используемого оборудования и
предохранительных устройств. При этом особое внимание должно быть обращено на
рабочие места, расположенные в пределах водотоков. 5.8. Рабочие места (по
испытанию элементов и грунтов) и подходы к ним должны быть обустроены,
ограждены и освещены в ночное время в соответствии с действующими положениями. 5.9. Применяемые для
испытаний домкраты или их батареи должны устанавливаться по оси или симметрично относительно оси элемента
и штампа. 5.10. В местах опирания
домкратов на стальные балки или плиты необходимо ставить прокладки из фанеры,
толя или рубероида. 5.11. Предназначенные для
испытаний элементов и грунтов гидравлические домкраты, насосы, подводящие
трубы, должны быть проверены на давление, превышающее на 25% максимальное
давление, которое может быть достигнуто при испытании. 5.12. Испытания домкратов
рекомендуется производить с применением специально изготовленной стальной рамы,
рассчитанной на усилие, превышающее не менее чем в 1,5 раза максимальное
давление при испытании элементов или грунтов. 5.13. Насос с
электроприводов, предназначенный для гидравлического домкрата или батареи
домкратов, должен обслуживаться лицом, сдавшим экзамен в установленном порядке
и имеющим удостоверение на право выполнения таких работ. 5.14. Электромотор насоса гидравлической
станции должен быть заземлен до начала его работы. 5.15. На площадку, где
проходят испытания элементов или грунтов, не допускаются лица, непосредственно
не связанные с испытанием. 5.16. Масло, используемое
для работы гидравлических домкратов должно соответствовать требованиям
действующего ГОСТа. 5.17. Рабочие,
осуществляющие натяжение тросов при проведении испытаний свай на горизонтальные
нагрузки, должны быть надежно ограждены щитами или специальными защитными
устройствами на случай возможного разрыва троса. 5.18. При динамических
испытания свай не разрешается подходить к ним до прекращения работа молота или
вибропогружателя. 5.19. При испытании свай в
пределах водотоков строительная площадка должна быть оборудована связью с
берегом и иметь дежурные плавучие транспортные средства в течение всего времени
испытания. 5.20. Не разрешается
производить забивку или вибропогружение свай на расстоянии менее 100 м от
испытуемой сваи. Приложение 1
РЕКОМЕНДАЦИИ
| ||||||||||||||||||||||||||||||||||||||||||||||||||||||||||||||||||||||||||||||||||||||||||||||||||||||||||||||||||||||||||||||||||||||||||||||||||||||||||||||||||||||||||||||||||||||||||||||||||||||||||||||||||||||||||||||||||||||||||||||||||||||||||||||||||||||||||||||||||||||||||
|
Наклон сваи |
Коэффициент к1 |
|
5 : 1 |
1,1 |
|
4 : 1 |
1,15 |
|
3 : 1 |
1,25 |
|
2 : 1 |
1,4 |
|
1 : 1 |
1,7 |
Принятый тип молота с
расчетной энергией удара должен удовлетворять дополнительному условию
, (3)
где К - коэффициент,
который не должен превышать значений, приведенных в табл. 2;
QП - полный вес молота, кгс;
q - вес сваи (включая вес
наголовника и подбабка), кгс.
|
Тип молота |
Коэффициент к1, м-1, для свай: |
|
|
Железобетонных |
Деревянных |
|
|
Трубчатые дизель-молоты |
6 |
5 |
|
Штанговые дизель-молоты |
5 |
3,5 |
Для трубчатых дизель-молотов
принимается расчетное значение энергии удара Эр=0,9 ОН; для штанговых Эр=0,4 ОН, где Q – вес ударной части молота, кгс;
Н – высота падения ударной
части молота во время испытания или забивки свай; для трубчатых дизель-молотов
Н=2,8 м, а для штанговых – при весе ударной части 1250, 1800 и 2500 кгс –
соответственно 1,7; 2,0 и 2,8 м.
Тип вибропогружателя следует
выбирать в зависимости от грунтовых условий, способа и глубины погружения сваи
или оболочки, а также величины отношения
, где КО –
момент дебалансов, тс.см; QВ – суммарный вес сваи или оболочки,
наголовника и вибропогружателя, тс. Величины этого отношения для
вибропогружателей с частотой вращения дебалансов 300-500 об/мин должны быть не
менее приведенных в табл. 3.
|
Характеристика прорезаемых грунтов |
Способ погружения |
КО/QВ при глубине погружения, м |
|
|
до 15 |
более 15 |
||
|
Рыхлые пески, илы, мягко и текучепластичные глины и суглинки |
Без подмыва и извлечения грунта из оболочек |
0,8 |
1,0 |
|
Пески средней плотности, тугопластичные глины и суглинки |
С удалением грунта из оболочек до уровня их ножа |
1,1 |
1,3 |
|
Пески гравелистые, твердые или полутвердые глины |
С удалением грунта из оболочек ниже ножа |
1,3 |
1,6 |
|
дата составления акта ______________ 19 г. Организация
__________________ Объект
________________________ Фундамент
_____________________ Характеристика сваи: Характеристика
копра и молота: Свая № __________________ Копер
_________________________ Вид сваи ________________ Молот
(тип) ____________________ Материал сваи ___________ Общая
масса молота ___________ т Дата изготовления Масса
ударной части молота сваи ____________________ ______________________________
т Сечение (диаметр) Паспортная
анергия удара сваи ______________ см молота
___________________ кгс.м Длина сваи (без острия) Паспортное
количество ударов _______________ м в
мин__________________________ Масса сваи ____________ т Масса
наголовника ____________ т Паспорт предприятия- Прокладка
в наголовнике изготовителя ____________ _______________________________ До отметки _______ м свая
забита с использованием подмыва (центрального или бокового), осуществляемого
подмывной трубкой диаметром _______ мм при давлении воды _______ кгс/см2
и расходе воды ________ м3/мин. При отключенном подмыве
свая добита на ______________ м. На последних залогах
погружения подлежащей испытанию сваи получены данные, приведенные в таблице
Способ измерения перемещения
сваи _______________________________________ (отказомером, линейкой и др.) Положение сваи после
забивки: Состояние
головы сваи Абсолютные отметки: после
забивки ___________ а) верха сваи
_____________ м Температура
воздуха ___°С б) поверхности грунта у сваи ____________________ м в) низа сваи _____________ м Глубина забивки сваи _____ м Испытание сваи
Способ измерения
перемещений сваи _________________________________________ (отказомером, линейкой и др.) Температура воздуха __________ °С. Во время погружения и испытания сваи отмечены следующие
ненормальные явления ____________________________________________ Приложения. 1. Журнал
забивки (погружения) свай. 2. Геологическая колонка и
график погружения сваи. Подписи: |
|
Дата
составления акта _________________ 19 г Организация
_________________ Объект
__________________ Фундамент
______________ Условия погружения испытуемой оболочки Железобетонная оболочка № ______ Дата изготовления оболочки
__________ Дата погружения оболочки
____________ Диаметр оболочки ________
см Длина оболочки ___________
м Масса оболочки ___________
т Масса наголовника ________
т Оболочка погружена вблизи
геологической скважины (шурфа.) № ______. Расстояние от оболочки до
геологической скважины (шурфа) _______ м Оболочка погружена с
выемкой грунта из ее полости до отметки _______. Низ оболочки заглублен от
поверхности грунта на _____ м до отметки ______ м. На последних залогах
вибропогружения подлежащей испытанию оболочки, получены данные, приведенные в
таблице
Испытание
оболочки произведено _______ 19 г., т.е. через ____ часов после окончания
погружения. Испытание производили вибропогружателем
типа _______ Результаты испытания
приведены в таблице погружения оболочки. Во время погружения и
испытания отмечены следующие ненормальные явления ______________________________________________________________________ (описать наблюдавшиеся
явления) Приложение.
Журнал вибропогружения оболочек. Подписи: |
1. Прогибомеры предназначены
для измерения вертикальных и горизонтальных перемещений испытываемых свай,
оболочек и столбов (элементов).
2. В практике строительства
в основном используют прогибомеры следующих двух типов: Максимова с ценой
деления 0,1 мм (рисунок) и Аистова с ценой деления 0,01 мм.
Допускается использовать
любые другие приборы, обеспечивающие возможность замера перемещений с точностью
0,1 мм и менее.
3. Прогибомеры, используемые
для измерения перемещений испытываемых элементов, должны быть протарированы
согласно паспортным данным.
4. Для прогибомеров следует
использовать стальную проволоку диаметром 0,2-0,3 мм, которая перед началом
измерений должна бить подвергнута предварительному растяжению в течение двух
дней грузом в 4 кгс. При замерах перемещений испытуемых элементов рекомендуется
пользоваться грузом 1-1,5 кгс.
5. Прогибомеры следует
крепить к реперной системе с помощью специальных струбцин.
6. Для измерения перемещений
рекомендуется использовать минимум два прогибомера, устанавливаемых симметрично
относительно испытуемого элемента.
Величина перемещения
элемента должна определяться как среднее арифметическое значение результатов
показаний всех приборов в измеряемом уровне.
7. Показания закрепленных к
реперной система прогибомеров перед началом измерений, рекомендуется установить
на нулевые отсчеты (путем поворота барабана прогибомеров).
8. Реперная система с
закрепленными прогибомерами должна быть изолирована от случайных толчков в
процессе проведения испытаний, а ее конструкция – исключать возможность
искажающего влияния температурных деформаций системы и деформаций грунтов на
результаты замеров.
Схема прогибомера Максимова
9. В целях уменьшения
влияния изменений температуры воздуха, трения в конструкции прогибомера,
давления ветра и др. факторов на результаты измерения перемещений
рекомендуется:
а) длину проволоки, от
прогибомера до места ее крепления к испытываемому элементу принимать не более
одного метра;
б) обращать особое внимание
на обеспечение надежного закрепления проволоки к испытываемому элементу;
в) проволоку, закрепленную
за испытуемый элемент, следует навить на барабан, сделав на нем не менее 1,5
оборота.
10. Расхождения в показаниях
приборов, используемых для замеров перемещений испытываемого элемента, не
должны превышать:
50 процентов – при
перемещениях менее 1 мм;
30 процентов – при
перемещениях от 1 до 5 мм;
20 процентов – при
перемещениях более 5 мм.
11. Для замера величины
выдергивания из грунта анкерных свай, столбов или оболочек на каждый из этих
элементов достаточно установить один прогибомер.
|
Дата
составления акта _________________ 19 г. Организация
_________________ Объект
_________________________ Фундамент
_____________________ Элемент № ___________________ Дата
погружения или Материал
элемента ____________ окончания
изготовления элемента Сечение
(диаметр) _____________________________ элемента
___________________ см Даты
испытания: Длина
элемента (без острия а)
начала _____________________ или
уширения) _______________ м б)
окончания __________________ Длина
острия или уширения Схема
испытательной установки _____________
м и
расположения приборов Глубина
погружения или для
измерения перемещений заложения
элемента __________ м Ближайшая геологическая скважина (шурф) №
____________, пройденная в
__________________ месяце, 19 года Расстояние
от элемента до геологической скважины (шурфа) __________ м Краткая характеристика грунта
под нижним концом элемента Состояние головы элемента
после погружения _________________ Абсолютные
отметки: а) головы элемента после
погружения ______________________ м б) головы элемента перед
испытанием ______________________ м в) нижнего конца _______________
м г) поверхности грунта у
элемента _______________ м Тип приборов для измерения
перемещений элемента домкрат № ________ грузоподъемностью ______ тс Площадь плунжера домкрата
см2 Манометр № ________ на
________ атм Цена деления нанометра
_________ атм Одной тс соответствует
__________ атм Результаты испытания
элемента заносятся таблицу
Во время
испытания отмечены следующие ненормальные явления Приложения. 1. Журнал испытания
элемента. 2. Геологическая колонка. 3. Графики осадка-нагрузка
и осадка-время (рис. 1, 2, 3). Подписи: |
|||||||||||||||||||||||||||||||||||
График зависимости осадки от нагрузки
График изменения осадки во
времени (по ступеням нагрузки)

Рис. 1 Образец графического
оформления результатов испытания сваи (оболочки), столба статической
вдавливающей нагрузкой
Рис. 2. Образец графического
оформления результатов испытания сваи, оболочки, столба статической
горизонтальной нагрузкой

Рис. 3. Образец графического
оформления результатов испытания сваи, оболочки, столба статической
выдергивающей нагрузкой

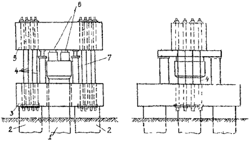
1 - испытываемый элемент; 2 - анкерная свая; 3 - реперная система с прогибомерами; 4 - домкрат; 5 - система упоров балок; 6 - грузовая платформа; 7 - опора; 8 - груз (упор для гидравлического домкрата); 9 - тарированный груз

Установка для испытания
элементов большой несущей способности
1 - анкерный элемент; 2 - анкерные балки; 3 - упорные клетки; 4 - гидравлические домкраты; 5 - наголовник; 6 - испытываемый элемент

Инвентарная установка для
испытания элемента статической вдавливающей нагрузкой
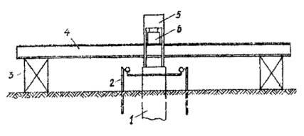
1 - анкерный элемент; 2 - серьга; 3 - тяга; 4 - закладная балка; 5 - домкратная балка; 6 - гидравлический домкрат; 7 - испытываемый элемент

Установка для испытания
наклонного элемента в фундаменте
1 - тело опоры; 2 - испытываемый элемент; 3 - прогибомер; 4 - анкерная тяга; 5 - анкерные балки; 6 - гидравлический домкрат; 7 - наголовник для установки домкрата

Установка для испытания
элементов большой несущей способности
1 - испытываемый элемент; 2 - анкерные элементы; 3 - плита фундамента; 4 - анкерные пучки из высокопрочной проволоки; 5 - анкерная балка; 6 - гидравлические домкраты; 7 - монтажная стойка

Схема использования грузов в
качестве реперных точек
1 - испытываемый элемент; 2 – груз на дне водоема; 3 – проволока диаметром 0,50 мм; 4 – грузик массой 2-3 кг; 5 – прогибомер; 6 – прикрепляемая к свае консоль для установки прогибомеров

1
- испытываемый элемент; 2 – прогибомеры; 3 – гидравлический домкрат; 4 – упор
из дерева; 5 – анкерная свая или специальный упор

Установка для испытания свай
выдергивавшей нагрузкой
1 - испытываемая свая; 2 - реперная система с прогибомерами; 3 – опора балки; 4 - анкерная балка; 5 - верхний упор; 6 - гидравлический домкрат

Установки для испытания
оболочек или столбов большой несущей способности выдергивающей нагрузкой
1 – испытываемые оболочка или столб; 2 – опора балки; 3 – упорные балки; 4 – верхний упор; 5 – анкерные тяги; 6 – гидравлический домкрат
Установка с использованием
пригруза

Установка с использованием
анкерных свай

1 - пригруз; 2 - упорная балка; 3 - гидравлический домкрат; 4 - стойка; 5 - штамп; 6 - анкерная свая

1 – две двутавровые
балки № 55; 2 – гидравлический домкрат г/п 200 тс; 3 – оболочка; 4 – труба
штампа; 5 – фиксирующий фонарь; 6 – нож оболочки; 7 – засыпка оболочки
СОДЕРЖАНИЕ
|
|
|
|