Бесплатная библиотека стандартов и нормативов www.docload.ru

Все документы, размещенные на этом сайте, не являются их официальным изданием и предназначены исключительно для ознакомительных целей.
Электронные копии этих документов могут распространяться без всяких ограничений. Вы можете размещать информацию с этого сайта на любом другом сайте.
Это некоммерческий сайт и здесь не продаются документы. Вы можете скачать их абсолютно бесплатно!
Содержимое сайта не нарушает чьих-либо авторских прав! Человек имеет право на информацию!

 

ГОСТ Р 51287-99

ГОСУДАРСТВЕННЫЙ СТАНДАРТ РОССИЙСКОЙ ФЕДЕРАЦИИ

ТЕХНИКА ТЕЛЕФОННАЯ
АБОНЕНТСКАЯ

Требования безопасности
и методы испытаний

ГОССТАНДАРТ РОССИИ

Москва

Предисловие

1 РАЗРАБОТАН Акционерным обществом Научно-исследовательский институт абонентской телефонной техники (АО НИИАТТ)

ВНЕСЕН Всероссийским научно-исследовательским институтом «Эталон»

2 ПРИНЯТ И ВВЕДЕН В ДЕЙСТВИЕ Постановлением Госстандарта России от 22 июня 1999 г. № 196

3 ВВЕДЕН ВПЕРВЫЕ

СОДЕРЖАНИЕ

1 Область применения. 1

2 Нормативные ссылки. 1

3 Определения. 2

4 Обозначения и сокращения. 3

5 Классификация АТТ. 3

6 Технические требования. 3

7 Методы испытаний. 10

Приложение А Проверка требований безопасности аппаратов различных классов. 16

Приложение Б Информация для потребителя. 17

Приложение В Средства измерений, испытаний и вспомогательные устройства, применяемые при испытаниях на безопасность. 17

Приложение Г Инструменты дня испытаний на безопасность. 18

Приложение Д Методики измерения путей утечки и воздушных зазоров. 20

Приложение Е Схемы для проверки устойчивости к перенапряжениям.. 21

Приложение Ж Схема цепи для измерения силы тока утечки. 22

Приложение И Библиография. 23

ГОСУДАРСТВЕННЫЙ СТАНДАРТ РОССИЙСКОЙ ФЕДЕРАЦИИ

ТЕХНИКА ТЕЛЕФОННАЯ АБОНЕНТСКАЯ

Требования безопасности и методы испытаний

Subscribers telephone equipment.

Safety requirements and test methods

Дата введения 2000-07-01

1 Область применения

Настоящий стандарт устанавливает нормы, правила и методы испытаний, являющиеся общими для всей абонентской телефонной техники (АТТ), соблюдение которых обеспечивает безопасность пользователей.

Требования настоящего стандарта являются обязательными при сертификации АТТ. Стандарт относится только к безопасности АТТ и не распространяется на другие ее свойства.

2 Нормативные ссылки

В настоящем стандарте использованы ссылки на следующие стандарты:

ГОСТ 8.051-81 Государственная система обеспечения единства измерений. Погрешности, допускаемые при измерении линейных размеров до 500 мм

ГОСТ 8.417-81 Государственная система обеспечения единства измерений. Единицы физических величин

ГОСТ 12.1.004-91 Система стандартов безопасности труда. Пожарная безопасность. Общие требования

ГОСТ 12.1.044-89 Система стандартов безопасности труда. Пожаровзрывоопасность веществ и материалов. Номенклатура показателей и методы их определения

ГОСТ 166-89 Штангенциркули. Технические условия

ГОСТ 427-75 Линейки измерительные металлические. Технические условия

ГОСТ 6507-90 Микрометры. Технические условия

ГОСТ 7153-85 Аппараты телефонные общего применения. Общие технические условия

ГОСТ 7328-82 Меры массы общего назначения и образцовые. Технические условия

ГОСТ 7396.1-89 Соединители электрические штепсельные бытового и аналогичного назначения. Основные размеры

ГОСТ 8711-93 Приборы аналоговые показывающие электроизмерительные прямого действия и вспомогательные части к ним. Часть 2. Особые требования к амперметрам и вольтметрам

ГОСТ 8810-81 Розетки и вилки телефонные. Технические условия

ГОСТ 14254-96 Степени защиты, обеспечиваемые оболочками (Код IP)

ГОСТ 15088-83 Пластмассы. Метод определения температуры размягчения термопластов по Вика

ГОСТ 19472-88 Система автоматизированной телефонной связи общегосударственная. Термины и определения

ГОСТ 25874-83 Аппаратура радиоэлектронная, электронная и электротехническая. Условные функциональные обозначения

ГОСТ 28002-88 Аппаратура радиоэлектронная бытовая. Общие требования по защите от электростатических разрядов и методы испытаний

3 Определения

Термины, применяемые в стандарте, - по ГОСТ 19472, ГОСТ 7153.

В настоящем стандарте применены следующие термины:

3.1 номинальное напряжение питания: Напряжение питания или диапазон напряжений питания, на которое рассчитана АТТ при изготовлении.

3.2 источник питания: Устройство, получающее энергию от сети питания и питающее одно или несколько изделий АТТ.

3.3 защитный провод (проводник) заземления: Провод, предусмотренный конструкцией АТТ для соединения с землей частей АТТ, которые должны быть заземлены в целях безопасности.

3.4 соединитель: Узел АТТ, с помощью которого устанавливается соединение с внешними проводниками или другой АТТ и (или) устройствами. Соединитель может иметь несколько контактов.

3.5 опасное напряжение: Напряжение, превышающее 42 В переменного или 60 В постоянного напряжения, которое имеется в цепях, не удовлетворяющих требованиям к цепи ограниченного тока.

3.6 доступная часть: Часть АТТ, которой можно коснуться стандартным испытательным пальцем.

3.7 зазор: Кратчайшее расстояние между токопроводящими деталями в воздухе.

3.8 путь утечки: Кратчайшее расстояние между токопроводящими деталями, измеренное по внешней поверхности изоляционного материала.

3.9 испытание на безопасность: Серия испытаний образцов АТТ одного типа с целью выявления соответствия указанного типа требованиям настоящего стандарта.

3.10 установившийся режим: Условия работы АТТ при функционировании или воздействии окружающей среды после прекращения переходных процессов, связанных с изменением режима работы или внешних воздействий.

3.11 питающий комплект: Совокупность приборов, обеспечивающих подачу энергии для питания АТТ в заданном режиме.

3.12 цепь ограниченного тока: Цепь, изготовленная и защищенная таким образом, чтобы ток, протекающий по ней, в нормальных условиях и в случае неисправности был безопасным.

4 Обозначения и сокращения

АТТ - абонентская телефонная техника

ТУ - технические условия

ЭД - эксплуатационная документация

МТ - микротелефонная трубка

ТА - телефонный аппарат

ЦБ - центральная батарея

АТС - автоматическая телефонная станция

РТС - ручная телефонная станция

УИ - ухо искусственное

КД - конструкторская документация.

5 Классификация АТТ

5.1 По типу защиты от поражения электрическим током АТТ (далее - аппараты) подразделяют на два класса: I и II.

5.1.1 Аппараты класса I - изделия, которые подключают к телефонным станциям с номинальными напряжениями станционных источников питания 60, 48, 24 В постоянного тока, и могут иметь дополнительные источники питания (батареи и т. п.) с номинальным напряжением не более 60 В постоянного тока и не более 42 В переменного тока.

Аппараты класса I подразделяют на две группы: I.1 и I.2.

Аппараты группы I.1 имеют контакт для заземления или защитный провод.

В аппаратах группы I.2 контакт для заземления или защитный провод отсутствует.

5.1.2 Аппараты класса II-изделия, которые (наряду с питанием от телефонной станции) подключают к источникам питания или имеют рабочее напряжение выше 60 В постоянного тока и выше 42 В переменного тока (питающая сеть, вызывной сигнал, индуктор).

Аппараты класса II подразделяют на две группы: II.1 и II.2.

Аппараты группы II.1 имеют контакт для заземления или защитный провод.

В аппаратах группы II.2 контакт для заземления или защитный провод отсутствует.

5.2 Пункты требований безопасности аппаратов различных классов, подлежащие проверке, приведены в приложении А.

6 Технические требования

6.1 Требования к маркировке

6.1.1 Аппарат должен иметь четкую маркировку (7.3), содержащую:

- наименование и (или) товарный знак предприятия-изготовителя;

- торговое наименование модели и номер;

- дату выпуска (месяц, год);

- отметку технического контроля предприятия-изготовителя;

- дополнительные сведения, указанные в ТУ.

6.1.2 Маркировка по безопасности (7.2, 7.3) должна быть:

- однозначно понимаемой и легко различимой на аппарате, готовом к эксплуатации;

- несмываемой и разборчивой.

6.1.3 Маркировка должна быть нанесена (7.3) в легкодоступном месте, преимущественно на внешней поверхности аппарата. Место маркировки должно быть указано в руководстве по эксплуатации.

6.1.4 Буквенные обозначения физических величин и единиц их измерения (7.3) должны соответствовать ГОСТ 8.417.

Графические обозначения должны соответствовать ГОСТ 25874.

6.1.5 (требования, не обязательные для аппаратов класса I) Предупредительные символы и надписи (7.3) должны применяться для указания на:

- включенное состояние аппарата;

- наличие напряжения;

- режим работы изделия;

- запрет доступа внутрь изделия без принятия соответствующих мер;

- аварийный режим;

- действие элементов защиты и т. п.

6.1.6 На аппарате, для обеспечения безопасности (7.3) при эксплуатации которого необходимо соблюдать меры, указанные в инструкции по эксплуатации, должен быть нанесен символ . Символ наносят на переднюю панель или около частей, представляющих опасность.

6.1.7 Вблизи ввода питания должно быть обозначено (7.4):

- вид питания - символом по ГОСТ 25874;

- номинальное напряжение питания или диапазон номинальных напряжений;

- значение напряжения, на которое установлен аппарат;

- номинальная частота сети питания (или диапазон частот);

- напряжение (если оно отличается от напряжения сети питания) и мощность или сила тока, снимаемые с выхода, предназначенного для подачи на другое изделие.

6.1.8 На органах управления и присоединения или рядом с ними должны быть нанесены надписи или символы (7.3), указывающие назначение этих органов.

6.1.9 Соединители должны иметь следующие обозначения (7.3):

- клемма защитного заземления (при наличии) - символ по ГОСТ 25874. Обозначение не наносят, если зажим защитного заземления является частью сетевого приборного разъема (вилки/розетки);

- клемма функционального заземления (при наличии) - символ по ГОСТ 25874;

- соединители, находящиеся под опасным напряжением, превышающим 1 кВ, - символ красного цвета .

6.1.10 На держателе плавких вставок или вблизи него должны быть обозначены номинальная сила тока и типы (замедленного действия - Т, быстродействующие - Б) заменяемых плавких предохранителей (7.4). Если обозначение нельзя указать рядом с держателем, то следует наносить символ в соответствии с требованиями 6.1.6, а номинальные значения и типы указывать в эксплуатационной документации (ЭД) на аппарат.

6.1.11 Маркировка выключателей должна быть четкой и понятной. На выключателе должно быть обозначено (7.3):

- «Включено» («Вкл.») или «Отключено» («Откл.»);

- надпись «Сеть» или «Питание», или может быть условное графическое обозначение:

- состояние включено ;

- состояние выключено ;

эти символы применяют только вместе, отдельно применять не допускается. Для кнопочного переключателя с двумя фиксированными положениями указывают

символ .

6.1.12 Крышки, которые при нормальной эксплуатации снимаются и открывают доступ к частям под опасным напряжением или напряжением выше 1 кВ, должны быть обозначены символом или соответственно (7.3).

6.1.13 Для сменных деталей, например ограничителей температуры, батарей и т. д., должна быть приведена необходимая информация, обеспечивающая правильную их замену (7.1.3).

6.1.14 Допускается указывать дополнительную информацию.

6.1.15 Эксплуатационная документация

Документация, поставляемая с аппаратом, должна содержать информацию и предупреждения, которыми потребитель должен руководствоваться для обеспечения безопасной работы аппарата и сохранения его безопасного состояния (7.5).

Рекомендуемый перечень информации в зависимости от вида и сложности аппаратов приведен в приложении Б.

Если по причинам безопасности какой-либо компонент может быть заменен только компонентом, указанным в данной ЭД, то он должен быть обозначен символом . Указанный символ не должен размещаться на деталях и печатных платах.

Если аппарат, питаемый от сети, может работать и от батарей, то в ЭД должно быть указание о недопустимости воздействия на аппарат капель и брызг при условии, что в аппарате отсутствует специальная защита батарейного отсека.

6.2 Требования к конструкции

6.2.1 Электрическая схема аппарата должна исключить возможность его самопроизвольного включения и отключения (7.6.1).

6.2.2 Конструкция аппарата должна исключать возможность неправильного присоединения его сочленяемых частей, в том числе токоведущих, при установке (монтаже) у потребителя (7.6.2).

6.2.3 Доступные для касания элементы конструкции и детали аппарата не должны находиться под опасным напряжением (7.6.3).

Части аппарата, которые становятся доступными для касания после снятия защищающих крышек или других съемных частей без применения инструмента, не должны находиться под опасным напряжением.

Части аппарата под опасным напряжением должны быть закрыты либо защищены изоляцией.

Части аппарата, находящиеся под опасным напряжением, не должны становиться доступными для касания при замене плавких вставок и встроенных источников питания (батарей), при переключении аппарата на различные номинальные напряжения или источники питания, если такие операции проводят без применения инструмента.

6.2.4 Вентиляционные отверстия над частями аппарата, находящимися под напряжением, должны быть расположены таким образом, чтобы посторонний предмет, если он проник в это отверстие, не мог соприкасаться с частями аппарата, находящимися под опасным напряжением (7.6.4).

6.2.5 Органы регулирования должны быть сконструированы и расположены таким образом, чтобы в процессе регулировки инструмент не мог оказаться под опасным напряжением (7.6.5).

6.2.6 Оси ручек управления и настройки не должны находиться под опасным напряжением (7.6.6).

6.2.7 Кнопки, ручки и т. п., при помощи которых управляют работой деталей, находящихся под опасным напряжением, должны быть изготовлены из изоляционного материала и (или) связаны с этими деталями изолирующими стержнями (7.6.7).

6.2.8 Выключатель сетевого питания должен отключать все части аппарата от всех полюсов сети. При этом не должен отключаться провод защитного заземления (7.6.7).

Элементы подавления помех и предохранители допускается оставлять неотключенными.

Выключатели сетевого питания или основные выключатели должны соответствовать мощности, потребляемой от сети электропитания.

Выключатель сетевого питания не обязателен:

- если аппарат предназначен для непрерывной работы;

- если в системе питания предусмотрены средства отключения;

- для вспомогательных устройств, таких, как устройства подзарядки батарей и т. п., если требуется их непрерывная работа.

6.2.9 Аппараты класса II должны иметь на входе сети питания плавкие предохранители или прерыватели для ограничения входного тока. Срабатывание любого предохранителя не должно нарушать защитного заземления (7.6.7).

6.2.10 Аппараты с встроенными химическими источниками питания (батареями) должны быть сконструированы таким образом, чтобы было исключено растекание электролита и не было опасности накопления воспламеняющихся газов (7.6.7).

6.2.11 Соединения под винт, обеспечивающие контактное давление и винтовой крепеж, которые в течение срока службы неоднократно ослабляются и закрепляются (винты зажимов, винты для закрепления ручек, кнопок, крышек и т. д.), должны быть достаточно прочными и завинчиваться в металлическую гайку или прокладку (7.6.7).

6.2.12 Зажимы, на которые изнутри аппарата подается опасное напряжение, не должны быть доступны для касания (7.6.3, 7.6.7).

6.2.13 Доступные для касания зажимы и гнезда, находящиеся под напряжением, должны быть защищены при помощи крышек соответствующего расположения или монтажа и иметь обозначение по 6.1.9 (7.6.2, 7.6.7).

Зажимы, на которые подается напряжение от внутренних конденсаторов, не должны находиться под опасным напряжением через 10 с после отключения питания.

Доступные для касания зажимы для подсоединения гибких проводов, находящихся под опасным напряжением, не должны допускать случайного контакта между частями под напряжением и другими токопроводящими частями или между частями с разным напряжением. Доступные зажимы должны быть укреплены таким образом, чтобы исключить возможность ослабления при их завинчивании, отвинчивании или присоединении к ним проводов. Конструкция и расположение этих зажимов должны быть такими, чтобы их присоединение к доступным для касания токопроводящим частям либо отсутствие такового было очевидным.

6.2.14 Зажимы заземления, зажимы для микротелефонной трубки (МТ) и головных телефонов не должны находиться под опасным напряжением (7.6.3, 7.6.7).

6.2.15 Вилки шнуров питания аппарата от разных источников не должны подходить к розеткам сети, не предназначенным для их включения (7.6.7).

6.2.16 Сетевые электрические соединители для подключения аппарата к однофазной сети электропитания, а также сетевые розетки, предназначенные для подачи электропитания (7.6.7); должны соответствовать требованиям ГОСТ 7396.1.

6.2.17 Электрические соединители для подключения аппарата к АТС, а также вилки (розетки), предназначенные для подачи соответствующего электросигнала (7.6.7), должны соответствовать ГОСТ 8810.

6.2.18 Изоляция всех проводников шнуров и жгутов внутри аппарата, содержащих проводники, находящиеся под опасным напряжением, и проводников, соединенных с доступными для касания токопроводящими частями, должна быть рассчитана на наибольшее напряжение (7.6.9).

6.2.19 Проводники внешних шнуров в точках подсоединения не должны подвергаться натяжению и перекручиванию. Если повреждение изоляции шнура или проводника приводит к попаданию доступных для касания частей аппарата под опасное напряжение, то элементы конструкции, предотвращающие натяжение и перекручивание шнура, должны быть изготовлены из изолирующего материала. Конструкцией крепления шнура должна быть исключена возможность его введения внутрь аппарата (7.6.9).

6.2.20 При креплении шнуров внутри аппарата проводники должны легко вставляться и подсоединяться без образования перегибов и повреждения шнура при его креплении, а также при дальнейшей эксплуатации (7.6.9).

6.2.21 Электродвигатели, имеющиеся в аппарате, должны соответствовать следующим требованиям:

- конструкция электродвигателей и элементов их крепления должна исключать возможность повреждения изоляции, нарушения контактов и соединений при нагреве и вибрации, вызываемых работой двигателя;

- электродвигатели должны иметь надежный запуск при напряжениях питания от 0,9 до 1,1 Uном;

- конструкция электродвигателей и способ их установки должны исключать возможность попадания на проводку, обмотки, коллекторы, контактные кольца и т. д. смазочного материала и других веществ, разрушающих изоляцию;

- движущиеся детали должны быть закрыты или расположены таким образом, чтобы исключить возможность травмирования;

- защитные ограждения должны быть достаточной прочности и не должны сниматься без помощи инструмента;

- конструкция электродвигателей должна предотвращать перегрев выше допустимого, даже если электродвигатель застопорится в процессе эксплуатации или не запустится. Например, может быть применена защита при помощи реле максимального тока или термореле.

6.3 Требования к защите от поражения электрическим током

6.3.1 Воздушные зазоры и пути утечки (7.7) должны соответствовать значениям, приведенным в таблице 1, между: элементами сетевых цепей и эквивалентных им сетей, с одной стороны, и доступными для касания токопроводящими частями или частями, подсоединенными к ним, или испытательным пальцем, имеющим непосредственный контакт с любым доступным для касания участком токопроводящей части, с другой стороны.

Воздушные зазоры и пути утечки для сетевых цепей должны соответствовать значениям, указанным в таблице 1, после того, как к любой неизолированной детали или проводу будет приложена сила 2 Н.

Воздушные зазоры и пути утечки для элементов изоляции, а также пути утечки и зазоры между элементами цепей сети или эквивалентных им сетей и элементами других цепей аппаратов должны соответствовать приведенным в таблице 1.

Таблица 1

Номинальное напряжение цепи Uном, В

Пути утечки и воздушные зазоры, мм, не менее

Группы аппаратов

Постоянное или синусоидальное переменное (среднее квадратическое значение)

Несинусоидальное или смешанное (пиковое значение)

II.1

II.2 с отсутствием заземления

Воздушный зазор, путь утечки

Воздушный зазор, путь утечки

До 24

Св. 24 до 60

» 60 » 130

» 130 » 250

До 34

Св. 34 до 85

» 85 » 184

» 184 » 354

1,0 (0.5)

2,0 (1,0)

2,5 (1,5)

3,0 (2,0)

2,0 (1,0)

3,0 (2,0)

3.5 (2,5)

4,0 (3,0)

Примечания

1 Значения, указанные в скобках, относятся к миниатюрным компонентам и деталям, для которых конструктивно невозможно обеспечить большие расстояния.

2 Пути утечки и воздушные зазоры указаны для случая, когда разъемы и соединители находятся в рабочем положении.

3 Пути утечки и воздушные зазоры являются минимальными фактическими расстояниями с учетом допусков в компонентах и монтаже.

6.4 Требования к изоляции

6.4.1 Электрическое сопротивление изоляции аппаратов (7.8.1) должно быть не менее:

- в нормальных климатических условиях - 100 МОм;

- в условиях повышенной влажности - 2 МОм.

Для аппаратов специального применения группы II.2 электрическое сопротивление изоляции может быть установлено не менее:

- 200 МОм в нормальных климатических условиях;

- 3 МОм в условиях повышенной влажности.

6.4.2 Изоляция электрических цепей аппарата должна выдерживать без пробоя и поверхностного перекрытия в течение 1 мин действие синусоидального напряжения частотой 50 Гц со средним квадратическим значением (7.8.2):

для линейных выводов

- в нормальных климатических условиях - 500 В,

- при повышенной влажности - 300 В;

для сетевых выводов

- в нормальных климатических условиях - 1500 В,

- при повышенной влажности - 300 В.

6.4.3 Изоляция электрических цепей аппарата должна выдерживать действие грозового импульса с временем фронта 10 мкс, временем полуспада 700 мкс и амплитудой:

- в нормальных климатических условиях - 2 кВ,

- при повышенной влажности - 1 кВ

по одному импульсу при уложенной и при снятой МТ (если она имеется) (7.8.2).

6.4.4 Сила тока утечки (7.8.3) не должна превышать значений, приведенных в таблице 2.

Таблица 2

Вид аппарата класса II

Частота, Гц

Сила тока утечки, мА, не более

Переменный

Постоянный

Стационарные

От 25 до 1000

5

5

От 1000 до 8000

70

Переносные

От 25 до 1000

0,7

2

От 1000 до 8000

70

Примечание - Для переменного тока приведено пиковое значение силы тока утечки.

6.5 Требования к перенапряжениям

6.5.1 Аппараты должны быть устойчивы к воздействию электростатических разрядов (7.9.1) в соответствии с ГОСТ 28002.

6.5.2 Изоляция аппаратов с антенными вводами группы II.1 между доступными частями и частями, находящимися под опасным напряжением, должна выдерживать перенапряжение, обусловленное переходными процессами (7.9.2).

6.5.3 Аппараты должны быть устойчивы к электрическим перенапряжениям по линии связи и выдерживать без нарушения функционирования воздействие импульсов с амплитудой 1 кВ, временем фронта 10 мкс и временем полуспада 700 мкс (7.9.3).

6.6 Требования к защите от перегрева и пожарной безопасности

6.6.1 Требования к защите от перегрева и пожарной безопасности распространяются на аппараты класса II.

6.6.2 Превышение температуры частей аппарата по отношению к их температуре до включения не должно быть больше значений, указанных в таблице 3 (7.10.1, 7.10.2).

Температура размягчения изолирующего материала должна быть не менее 150 °С.

Примечание - К деталям, которые могут рассеивать значительное количество тепла при нормальных условиях работы, можно отнести контакты переключателей, винтовые зажимы и держатели плавких вставок.

Плавкие вставки и ограничители температуры, обеспечивающие безопасность аппарата, не должны срабатывать в течение испытаний при нормальной эксплуатации.

Таблица 3

Наименование детали

Допустимое превышение температуры, °С

Условия нормальной работы

Условия неисправности

1

2

3

1 Доступные части

 

 

1.1 Кнопки, ручки и т. п.;

 

 

- металлические

30

65

- неметаллические (примечание 2)

50

65

1.2 Корпуса:

 

 

- металлические (примечание 1)

40

65

- неметаллические (примечание 1, примечание 2)

60

65

2 Детали, обеспечивающие электрическую изоляцию

 

 

2.1 Шнуры питания и провода с изоляцией из:

 

 

2.1.1 поливинилхлорида или синтетического каучука:

 

 

- без механических напряжений

60

100

- с механическими напряжениями

45

100

2.1.2 натурального каучука

45

100

2.2 Другие изоляционные материалы:

 

 

- термопластичные (примечание 3)

Примечание 4

Примечание 4

- непропитанная бумага

55

70

- непропитанный картон

60

80

- пропитанные хлопчатобумажная ткань, шелк, бумага и текстиль

70

90

- слоистые материалы на основе целлюлозы или текстиля, пропитанные:

 

 

- - фенолформальдегидом, меламиноформальдегидом, фенол-фурфуролом или полиэстром

85

110

- - эпоксидной смолой

120

150

- сплавы из:

 

 

- - фенолформальдегида или фенолфурфурола, меламина и меламинофенольного композитного материала с:

 

 

- - - целлюлозным наполнителем

100

130

- - - минеральным наполнителем

110

150

- - термоустойчивого полиэстра с минеральным наполнителем

95

150

- - алкида с минеральным наполнителем

95

150

- композитные материалы из:

 

 

- - полиэстра, усиленного стекловолокном

95

150

- - эпоксидной смолы, усиленной стекловолокном

100

150

- - силиконового каучука

145

190

3 Части, выполняющие роль опорных или механических изолирующих элементов

 

 

3.1 Дерево и материалы на деревянной основе

60

90

3.2 Термопластические материалы (примечание 3)

Примечание 4

Примечание 4

4 Провода обмоток

 

 

4.1 изолированные:

 

 

- непропитанным шелком, хлопчатобумажной тканью и т. п.

55

75

- пропитанным шелком, хлопчатобумажной тканью и т. п.

70

100

- материалами из олеосмол

70

135

- поливинил-формальдегидными или полиуретановыми смолами

85

150

- полиэстровыми смолами

120

155

- полиэстеримидными смолами

145

180

5 Другие части

 

 

Примечание - Эти превышения температуры применены для деталей, не указанных ранее в пунктах 1 - 4

 

 

5.1 Детали из дерева

60

140

5.2 Все другие детали, за исключением резисторов и деталей из металла, стекла, керамики и т.п.

200

300

Примечания

1 При нормальных условиях работы превышение температуры поверхностей, площадь которых не более 5 см2, и теплоотводов или металлических деталей, непосредственно прикрывающих теплоотводы, габариты которых не ограничены, допускается до 65°С при условии, что прикосновение к ним в процессе эксплуатации маловероятно.

2 Если значения превышения температуры будут выше, чем значения, на которые рассчитан изолирующий материал соответствующего типа, то в этом случае определяющим фактором является тип материала.

3 Натуральный и синтетический каучуки не относятся к термопластическим материалам.

4 Большое разнообразие термопластических материалов не позволяет установить для них допустимое превышение температуры. Временно следует использовать следующий метод.

Температуру размягчения материала определяют на отдельном образце в соответствии с ГОСТ 15088.

Пределами, которые следует учитывать при определении повышенной температуры, являются:

- температура на 10°С ниже температуры размягчения, установленной в пункте 1, - при нормальных условиях работы;

- температура размягчения - при наличии неисправности

Для тропического климата допустимое превышение температуры должно быть на 10°С ниже значений, указанных в таблице 3.

Допустимые значения превышения температуры установлены исходя из максимальной температуры окружающей среды: 36°С - для умеренного климата и 45°С - для тропического климата.

6.6.3 Сопротивление изоляции, пути утечки и воздушные зазоры должны быть не менее значений, приведенных в 6.4.1 и таблице 1, при работе аппарата в условиях повышенной температуры окружающей среды (7.10.1, 7.10.2).

6.6.4 Нагрев аппарата при нормальной эксплуатации не должен вызывать пожара или деформации (7.10.1).

6.6.5 Пожарная безопасность аппарата и его элементов должна обеспечиваться как в нормальном режиме работы, так и в условиях неисправности (7.10.1, 7.10.2). Снижение пожарной опасности достигается:

- исключением использования в конструкции аппарата легковоспламеняющихся материалов по ГОСТ 12.1.044;

- применением конструкции, исключающей проникновение горящих материалов (веществ) извне, а также выброс раскаленных и (или) горящих частиц;

- применением средств защиты, снижающих вероятность возникновения пожара, в соответствии с нормативами по ГОСТ 12.1.004;

- применением средств и (или) элементов, предназначенных для автоматического отключения изделия в аварийном режиме работы (перегрузка, перегрев и т. д.) и исключающих возгорание частей, выполненных из электроизоляционных материалов.

6.7 Требования к защите уха от акустического удара для аппаратов, имеющих МТ, головные телефоны и т. п. (7.11)

6.7.1 Уровень звукового давления, развиваемого телефоном при абсолютном уровне напряжения на входе аппарата 26 дБн, должен быть не более 120 дБ.

6.7.2 Для аппаратов, предназначенных для использования людьми с частичной потерей слуха, уровень звукового давления, развиваемого телефоном при абсолютном уровне напряжения на входе аппарата 26 дБн, не должен превышать отрегулированный пользователем оптимальный уровень более чем на 12 дБ.

6.8 Требования к механической прочности

6.8.1 Аппарат должен иметь достаточную механическую прочность: электрические соединения и изоляция токоведущих частей, а также крепление элементов и частей аппарата не должны разрушаться при механических воздействиях (7.12.1).

6.8.2 Конструкция аппарата должна исключать возможность короткого замыкания изоляции между частями цепи сети питания и доступными металлическими частями из-за случайного ослабления проводов, винтов и т. д. (7.12.2).

6.8.3 Прочность соединения наружных проводов, шнуров, кабелей должна обеспечиваться конструкцией и не зависеть только от пайки (7.12.3).

6.9 Требования к брызгозащищенности для аппаратов, предназначенных для использования вне помещений, например таксофонов, постовых ТА и др. (7.13)

6.9.1 Брызгозащищенный аппарат должен обозначаться степенью защиты IР24 по ГОСТ 14254.

6.9.2 Кожух должен обеспечивать достаточную защиту от брызг.

7 Методы испытаний

7.1 Общие положения

7.1.1 Все испытания на безопасность должны проводиться на одних и тех же образцах. Количество образцов для испытаний, как правило, берется равным числу аппаратов для периодических испытаний серийной продукции, но не менее трех.

Для проверки безопасности партии аппаратов 50 шт. и более испытаниям подвергают не менее трех образцов. Для партии менее 50 шт. количество образцов для испытаний определяется в зависимости от стоимости аппаратов и количества необходимых проверок. В этом случае допускается проведение испытаний на одном образце.

7.1.2 Все испытания, если не оговорено особо, проводят в следующих условиях;

- температура окружающего воздуха (25±10) °С;

- относительная влажность (60±15) %;

- атмосферное давление 86-106 кПа.

7.1.3 Нормальные условия работы

7.1.3.1 Испытания проводят при наиболее неблагоприятных комбинациях следующих условий:

- любое нормальное положение эксплуатации аппарата, беспрепятственная нормальная вентиляция и установка аппарата в соответствии с указаниями изготовителя;

- напряжение питания от 0,9 до 1,1 Uном от любого источника напряжения питания, любая номинальная частота или постоянный ток, любое подсоединение к фазе и нулевому проводу для аппаратов с питанием от сети переменного тока. Для аппаратов с питанием от центральной батареи (ЦБ) АТС или ручной телефонной станции (РТС) напряжение питания от 0,9 до 1,2 от напряжения батареи питания;

- любое положение органов регулирования и управления, доступных без применения инструмента, за исключением переключателей напряжения питания;

- любое положение устройства дистанционного управления - подсоединено или не подсоединено;

- заземлены или не заземлены зажимы рабочего заземления, при этом зажимы защитного заземления должны быть заземлены;

- аппарат обеспечивает номинальную выходную мощность на выходных зажимах при подключенной нагрузке;

- источник, заменяющий батарею, подсоединяют к наиболее неблагоприятной нагрузке, включая короткое замыкание;

- источник, заменяющий батарею, встроенный в аппарат, испытывают внутри аппарата;

- крышка аппарата, открываемая вручную, может быть открыта полностью, приоткрыта или закрыта.

7.1.4 Условия неисправности

При проведении испытаний имитируют последовательно неисправности отдельных деталей и частей аппарата. Возникновение одновременно нескольких неисправностей не имитируют.

Перед испытанием должно быть проведено изучение аппарата и его принципиальной схемы, позволяющее определить неисправности, которые необходимо имитировать:

- короткое замыкание через пути утечки и воздушные зазоры;

- короткое замыкание или обрыв (там, где возможно) комплектующих элементов;

- короткое замыкание через лаковую, эмалевую или тканевую изоляцию;

- ослабление на четверть оборота неармированных винтов или аналогичных устройств, предназначенных для крепления корпуса под деталями, находящимися под опасным напряжением;

- торможение движущихся частей аппарата;

- непрерывная работа элементов, предназначенных для кратковременного или прерывистого режима работы, если такая непрерывная работа может иметь место;

- подключение к наиболее неблагоприятной нагрузке, включая короткое замыкание.

7.2 Проверку на соответствие требованиям к маркировке (6.1) проводят внешним осмотром после протирания маркировки ветошью, смоченной сначала бензином, а затем водой.

7.3 Проверку на соответствие требованиям к символам, товарным знакам, надписям (6.1.1- 6.1.14) проводят внешним осмотром аппарата и сличением с ЭД и КД на конкретный аппарат.

7.4 Проверку на соответствие требованиям по виду питания, номинальной частоте и потребляемой мощности (6.1.7, 6.1.10) проводят при номинальном напряжении питания измерением потребляемого тока или мощности в зависимости от того, что указано.

Допускается проводить измерения при фактическом напряжении питающей сети с дальнейшим пропорциональным пересчетом для номинального напряжения.

Погрешность измерения мощности и силы тока не должна быть более ±10 %.

Результаты измерения не должны превышать значения, указанные на маркировке, более чем на 10 %.

Средства измерений, испытаний и вспомогательные устройства, применяемые при испытаниях на безопасность, приведены в таблице В.1 приложения В.

7.5 Проверку наличия требований безопасности в ЭД (6.1.15) проводят чтением ЭД.

7.6 Проверка соответствия требованиям к конструкции

7.6.1 Возможность самопроизвольного включения и выключения аппарата (6.2.1) проверяют путем изучения и анализа электрической схемы.

7.6.2 Проверку по 6.2.2 проводят внешним осмотром.

7.6.3 Доступные для касания элементы конструкции и детали на соответствие 6.2.3 проверяют с помощью шарнирного или жесткого испытательного пальцев (приложение Г, рисунки Г.1, Г.2) следующим образом:

- при отключенном аппарате определяют доступность токопроводящих частей аппарата по наличию электрического контакта между частями аппарата и испытательным пальцем, который прикладывают с силой 50 Н (на палец устанавливают, придерживая, гирю массой 5 кг) в течение 10 с по оси пальца. Испытанию подвергают все наружные поверхности аппарата, включая нижнюю поверхность, а также части, доступ к которым возможен без применения инструмента.

Для выявления электрического контакта используют омметр (пробник) напряжением до 40 В.

Напряжение аппарата по отношению к земле измеряют при включенном аппарате вольтметром с входным сопротивлением не менее 50 кОм.

Все зажимы, которые могут быть одновременно заземлены в нормальных условиях испытаний, соединяют друг с другом и землей.

Силу тока утечки на землю между доступными для касания частями, напряжение на которых превышает 42 В переменного тока или 60 В постоянного тока, измеряют при включенном аппарате. При этом суммарное сопротивление измерительной цепи (миллиамперметра и последовательно включенного безиндуктивного резистора) должно составлять 2 кОм.

Части аппарата не находятся под опасным напряжением, если напряжение между этими частями я землей (или между двумя доступными частями) не связано с сетью питания и не превышает 42 В переменного тока или 60 В постоянного тока. При напряжении, превышающем эти значения, сила тока утечки на землю не должна быть более значений, указанных в таблице 2.

Погрешность измерения напряжения - не более ±5 %, силы тока - ±10 %.

7.6.4 Вентиляционные отверстия на соответствие требованиям 6.2.4 проверяют введением свободно подвешенного испытательного штыря длиной 100 мм и диаметром 4 мм (рисунок Г.З) или испытательной цепочки (рисунок Г.4). Штырь или цепочка не должны оказаться под опасным напряжением.

7.6.5 Органы регулирования и настройки (6.2.5) проверяют путем проведения регулировки или настройки при помощи соответствующего инструмента, который не должен находиться под опасным напряжением.

7.6.6 Оси ручек управления и настройки (6.2.6) проверяют на наличие опасного напряжения измерениями по 7.6.3 после удаления съемных кнопок и ручек.

7.6.7 Элементы аппарата (6.2.7-6.2.20) проверяют внешним осмотром и сличением с ЭД.

7.6.8 Зажимы на соответствие требованиям 6.2.12-6.2.14 проверяют измерением по 7.6.3.

7.6.9 Шнуры и жгуты (6.2.18-6.2.20) проверяют внешним осмотром и сличением с ЭД.

7.6.10 Электродвигатели (6.2.21) проверяют испытаниями при 50 включениях аппарата при напряжении от 0,9 до 1,1 Uном. При этом должны обеспечиваться;

- надежный запуск двигателя;

- срабатывание термоограничителя при механически застопоренном двигателе.

Примечание - При отсутствии термоограничителя испытание электродвигателя на перегрев проводят при испытании аппарата в условиях неисправности.

7.7 Проверка требований к защите от поражения электрическим током (6.3.1)

Методики измерения путей утечки и воздушных зазоров приведены в приложении Д.

Воздушные зазоры и пути утечки измеряют с погрешностями, соответствующими ГОСТ 8.051. Выбор универсальных средств измерений линейных размеров проводят в соответствии с [2].

Для воздействия силой 2 Н используют гирю массой 200 г.

Аппарат удовлетворяет требованиям 6.3.1, если воздушные зазоры и пути утечки соответствуют значениям, приведенным в таблице 1.

7.8 Проверка требований к изоляции

7.8.1 Электрическое сопротивление изоляции

Электрическое сопротивление изоляции (6.4.1) измеряют между:

- соединенными накоротко линейными выводами аппарата и металлическими деталями, выходящими на внешнюю поверхность аппарата;

- соединенными накоротко сетевыми выводами аппарата и металлическими деталями, выходящими на внешнюю поверхность аппарата.

Испытания проводят при уложенной и снятой МТ, если таковая имеется.

Измерение изоляции проводят с помощью мегаомметра с измерительным постоянным напряжением по таблице 4, отсчет значения сопротивления изоляции проводят по истечении 1 мин от подачи измерительного напряжения или через меньшее время, если мегаомметр показывает, что сопротивление изоляции остается постоянным.

Погрешность измерения - не более ±20 %.

Таблица 4

В вольтах

Максимальное рабочее напряжение (среднее квадратическое значение)

Измерительное напряжение

От 30 до 100

100-250

Св. 100 » 250

250-500

Таблица 5

Масса аппарата, кг

Время выдержки, ч

До 10

6

От 10

10

Испытание на воздействие повышенной влажности проводят следующим образом.

Аппараты помещают в камеру влаги. Температуру в камере повышают до 25°С и аппараты выдерживают при этой температуре от 1,5 до 2 ч, после чего в течение 1 ч относительную влажность повышают до 90 % и поддерживают этот режим в течение 96 ч.

В конце выдержки или непосредственно после извлечения аппаратов из камеры в течение не более 5 мин измеряют электрическое сопротивление и прочность изоляции, затем проверяют параметры и (или) выполняемые функции, указанные в ТУ на аппараты. Общее время измерений должно быть не более 15 мин.

После изъятия аппаратов из камеры и выдержки их в нормальных климатических условиях в течение времени, указанного в таблице 5, проводят внешний осмотр, измеряют электрическое сопротивление изоляции (6.4.1) и проверяют работоспособность.

При проверке электрического сопротивления изоляции аппарата, у которого отсутствуют наружные металлические части, к доступным частям корпуса аппарата плотно прижимают фольгу.

7.8.2 Электрическая прочность изоляции

Электрическую прочность изоляции (6.4.2) проверяют путем подачи (плавно или ступенями) испытательного напряжения переменного тока частотой 50 Гц от высоковольтной установки в течение 1 мин со средним квадратическим напряжением:

в нормальных климатических условиях

- между соединенными накоротко линейными выводами и металлическими частями, выходящими на внешнюю поверхность аппарата, - 500 В;

- между соединенными накоротко сетевыми выводами и металлическими частями, выходящими на внешнюю поверхность аппарата, - 1500 В;

при повышенной влажности

- между соединенными накоротко линейными выводами, а также соединенными накоротко сетевыми выводами, с одной стороны, и металлическими частями, выходящими на внешнюю поверхность аппарата, с другой стороны, - 300 В.

Изоляцию (6.4.3) на воздействие грозового импульса проверяют при включении аппарата в схему (приложение Е, рисунок Е.1) между теми же точками, что и при проверке электрической прочности изоляции, при воздействии импульсов амплитудой:

- в нормальных климатических условиях - 2 кВ;

- при повышенной влажности - 1 кВ.

Форма импульса должна соответствовать рисунку Е.2.

Погрешность установки испытательного напряжения не должна быть более ±20 %.

Допускается при воздействии испытательного переменного напряжения 500 В сокращать время испытания до 1 с при одновременном повышении испытательного напряжения на 25 %.

Испытание на воздействие повышенной влажности проводят следующим образом.

Аппараты помещают в камеру влаги. Температуру в камере повышают до 25°С и аппараты выдерживают при этой температуре от 1,5 до 2 ч, после чего в течение 1 ч относительную влажность повышают до 90 % и поддерживают этот режим в течение 96 ч.

В конце выдержки или непосредственно после извлечения аппаратов из камеры в течение не более 5 мин измеряют параметры изоляции (6.4.2, 6.4.3) и проверяют работоспособность аппарата. Общее время измерений должно быть не более 15 мин.

После изъятия аппаратов из камеры и выдержки их в нормальных климатических условиях в течение времени, указанного в таблице 5, проводят внешний осмотр, измерение по 6.4.2, 6.4.3 и проверяют параметры, указанные в ТУ на аппарат.

При испытании на электрическую прочность изоляции аппарата, у которого отсутствуют наружные металлические части, к доступным частям корпуса аппарата плотно прижимают фольгу.

7.8.3 Силу тока утечки цепей питания (6.4.4) проверяют для аппаратов группы II.1 по схеме, представленной на рисунке Ж.1, а для аппаратов группы II.2 - по схеме, представленной на рисунке Ж.2 приложения Ж.

Силу тока утечки измеряют между любым полюсом источника питания и доступными металлическими частями или металлической фольгой* размерами не более 20´10 см, соприкасающейся с доступными поверхностями изоляционного материала; если площадь металлической фольги меньше, чем испытуемая поверхность, то фольгу перемещают так, чтобы испытать все части поверхности.

* фольга только для тех аппаратов, у которых нет выступающих металлических частей.

Испытания проводят на переменном токе, за исключением аппаратов, предназначенных для работы только на постоянном токе, которые испытывают на постоянном токе.

При отсутствии миллиамперметра пикового значения допускается измерять среднее квадратическое значение с последующим пересчетом.

7.9 Проверка требований к перенапряжениям

7.9.1 Устойчивость аппаратов к электростатическим разрядам (6.5.1) проверяют по методике ГОСТ 28002.

7.9.2 Устойчивость к переходным процессам (6.5.2) проверяют следующим образом: изоляцию между антенными вводами и сетевыми клеммами, если в аппарате имеется разделительный силовой трансформатор, или между антенными вводами и любыми клеммами, изолированными от частей, находящихся под опасным напряжением, подвергают испытанию 50 разрядами с максимальной скоростью 12 разрядов в минуту от конденсатора емкостью 1 нФ, заряженного до напряжения 10 кВ. Схема испытаний приведена на рисунке Е.3.

После окончания испытаний сопротивление изоляции, измеренное при напряжении 500 В постоянного тока, должно быть не менее 2 МОм.

7.9.3 Устойчивость аппаратов к импульсным перенапряжениям (6.5.3) проверяют по схеме, приведенной на рисунке Е.1.

Испытания проводят путем подачи на линейные клеммы аппарата 10 импульсов с амплитудой 1 кВ, временем фронта 10 мкс и временем полуспада 700 мкс. Форма импульса приведена на рисунке Е.2. Перерыв между импульсами должен быть не менее 1 мин.

При наличии в аппарате МТ на него подают импульсы следующим образом:

- при уложенной МТ - шесть импульсов (три импульса в одной полярности и три в другой);

- при снятой МТ - четыре импульса (два импульса в одной полярности и два - в другой).

После испытаний на воздействие импульсного перенапряжения проверяют работоспособность аппарата.

Устойчивость к импульсному перенапряжению проводят два раза: во время испытаний аппарата в нормальных климатических условиях и в конце климатических, механических и ресурсных испытаний. Число импульсов при каждом испытании должно быть не более 10.

7.10 Проверка защиты от перегрева (6.6.1, 6.6.2, 6.6.3)

7.10.1 Защиту от перегрева при нормальных условиях работы проверяют после выдержки аппарата во включенном состоянии в течение 4 ч. При этом перегрев медных проводов и обмоток Dt, °С, определяют методом измерения сопротивления и вычисляют по формуле

,

где R2 - сопротивление через 4 ч после включения питания аппарата, Ом;

R1 - сопротивление до включения питания аппарата, Ом;

t0 - температура внутри аппарата до включения питания, °С;

t1 - температура внутри аппарата через 4 ч после включения питания, °С.

Если две группы проводников, установленных на изолирующих деталях, должны быть жестко соединены или присоединены вместе (например с помощью вилки или розетки), то только одну из этих изолирующих деталей необходимо подвергнуть испытаниям. Когда одна из этих деталей не является съемной, то именно эта деталь должна быть подвергнута испытаниям.

Перегрев других элементов измеряют любым способом, обеспечивающим погрешность измерения не более ±4 °С. Температуру следует измерять не позднее чем через 2 мин после отключения питания аппарата.

Если нагрев отдельных частей аппарата приближается к максимально допустимому, приведенному в таблице 3, то дополнительно проводят измерение сопротивления изоляции, воздушных зазоров и путей утечки сразу после выдержки аппаратов в камере тепла при повышенной рабочей температуре в течение 4 ч.

7.10.2 Измерение перегрева в условиях неисправности

В аппарат вводят неисправность, включают питание. Превышение температуры измеряют через 4 ч после включения питания.

Если неисправность приводит к разрыву цепи ранее достижения установившегося режима, то температуру измеряют сразу же после разрыва цепи.

Во время испытаний не должно появляться пламя, а также пайки не должны размягчаться или разрушаться за исключением тех, разрушение которых обеспечивает безопасность.

7.11 Уровень звукового давления, развиваемого телефоном аппарата (6.7), измеряют в соответствии со структурной схемой, приведенной на рисунке Е.4.

Уровень звукового давления L в дБ, развиваемого телефоном в камере искусственного уха (УИ), по отношению к значению звукового давления 2×10-5 Па определяют на частоте 1000 Гц при переменном напряжении на входе аппарата 15,5 В и вычисляют по формуле

,

где U - напряжение на выходе усилителя УИ, В;

a - чувствительность УИ на частоте f=1000 Гц, В/Па. Погрешность измерения не должна быть более ±2 дБ.

В аппаратах для людей с частичной потерей слуха уровень звукового давления измеряют при положении регулятора, соответствующем максимальной громкости. За оптимальный уровень принимают уровень, измеренный при напряжении на входе аппарата, равном 0,25 В, и положении регулятора, соответствующем максимальной громкости.

7.12 Проверка соответствия механической прочности

7.12.1 Проверку по 6.8.1 проводят испытаниями:

- на механическую прочность при падении;

- на воздействие вибрации;

- на воздействие ударов.

7.12.1.1 При испытании на механическую прочность при падении (6.8.1) аппарат устанавливают на горизонтальной деревянной подставке, которую сбрасывают без начального ускорения 50 раз с высоты 50 мм на деревянный стол.

После испытаний проверяют защиту от поражения электрическим током (6.3), параметры изоляции (6.4), а также работоспособность аппарата.

7.12.1.2 Испытание на воздействие вибрации (6.8.1) проводят в течение 30 мин на частоте 25 Гц с амплитудой виброускорения 19,6 м/с2. После испытания проверяют защиту от поражения электрическим током (6.3), параметры изоляции (6.4), а также работоспособность аппарата.

7.12.1.3 Испытание на воздействие механических ударов (6.8.1) при транспортировании

Аппарат в упаковке для транспортирования устанавливают на ударном стенде и подвергают воздействию ударов в соответствии с таблицей 6.

Таблица 6

Пиковое ударное ускорение, м/с2

Длительность действия ударного ускорения, мс

Число ударов по каждому из трех направлений

147

5-10

1100

98

5-10

3900

Испытания проводят в трех взаимно перпендикулярных направлениях с числом ударов в каждом направлении, указанном в таблице 6. Частота повторения ударов - не более 2 c-1 (120 ударов в минуту).

После испытания проверяют защиту от поражения электрическим током (6.3), параметры изоляции (6.4) и работоспособность аппарата.

7.12.1.4 Испытание ударом (6.8.1) проводят следующим образом.

Аппарат прочно закрепляют на жесткой опоре и наносят по три удара молотком пружинного действия (рисунок Г.5) с энергией удара (0,50±0,05) Дж по каждой внешней поверхности, которая защищает части, находящиеся под опасным напряжением, включая ручки, кнопки, переключатели и т. д.

Молоток прижимают к поверхности аппарата под прямым углом.

Этим испытаниям подвергают также сигнальные лампочки, индикаторы, экраны и подобные элементы, если они выступают над поверхностью более чем на 5 мм и если их площадь превышает 1 см2. После испытания проверяют защиту от поражения электрическим током (6.3), параметры изоляции (6.4) и работоспособность аппарата.

7.12.2 Возможность короткого замыкания изоляции между частями цепи сети питания и доступными металлическими частями по 6.8.2 проверяют следующим образом.

Крепежные винты или болты, если таковые имеются, завинченные до упора, ослабляют на 1/4 оборота. После этого к вращательным органам управления в течение 60 с прикладывают по окружности вращательный момент силы, равный 1 Н×м, а также в течение 60 с - осевую растягивающую силу, равную 100 Н. Если масса аппарата m<10 кг, то значение вращательной и растягивающей силы должно быть равно т, но не менее 25 Н.

К кнопкам и аналогичным органам управления прикладывают силу 50 Н, а для аналогов рычажных переключателей - 150 Н.

После испытания проверяют защиту от поражения электрическим током, параметры изоляции (6.4.1) и работоспособность аппарата.

7.12.3 Соединения наружных проводов, шнуров, кабелей по 6.8.3 проверяют для наружных гибких шнуров, содержащих один или более проводников под опасным напряжением.

Соответствие требованиям 6.8.3 проверяют внешним осмотром.

7.13 Соответствие брызгозащищенности (6.9) проверяют внешним осмотром, а также испытанием аппарата для второй цифры 4-й степени защиты по ГОСТ 14254.

Сразу же после испытаний аппарат проверяют на соответствие требованиям 6.4. Кроме того, аппарат соответствует требованиям по защите от брызг, если вода, которая могла попасть внутрь аппарата, не попадает на изоляцию, в отношении которой установлены требования к путям утечки и воздушным зазорам.

ПРИЛОЖЕНИЕ А
(рекомендуемое).

Проверка требований безопасности аппаратов различных классов

Таблица А.1

Наименование требований

Класс

I

II

I.1

I.2

II.1

II.2

Пункт требований

1

2

3

4

5

Маркировка

6.1.1-6.1.4, 6.1.8, 6.1.9, 6.1.13-6.1.15

6.1.1-6.1.4, 6.1.8, 6.1.13-6.1.15

6.1.1-6.1.15

6.1.1-6.1.8, 6.1.10-6.1.15

Конструкция

6.2.1, 6.2.2, 6.2.11, 6.2.13, 6.2.17, 6.2.19, 6.2.20

6.2.1, 6.2.2, 6.2.10, 6.2.11, 6.2.13, 6.2.17, 6.2.19, 6.2.20

6.2.1-6.2.2

Защита от поражения электрическим током

-

6.3.1

Изоляция

6.4.1-6.4.3

6.4.1-6.4.4

Перенапряжения

6.5.3*

6.5.1-6.5.3

Защита от перегрева и пожарная безопасность

-

6.6.1-6.6.5

Защита уха от акустического удара

6.7

6.7

Механическая прочность

6.8.1, 6.8.3, 6.9

6.8, 6.9

* Требование обязательно для оконечных абонентских устройств, с которыми непосредственно взаимодействует пользователь. Для остальных аппаратов требование рекомендуется.

ПРИЛОЖЕНИЕ Б
(рекомендуемое)

Информация для потребителя

В зависимости от вида аппарата и его сложности инструкция по эксплуатации содержит всю или часть следующей информации.

1 Класс защиты аппарата:

- условия эксплуатации, транспортирования и хранения;

- напряжение или диапазон напряжений питания;

- частота или диапазон частот сети питания;

- потребляемая сила тока или потребляемая мощность;

- номиналы и характеристики плавких вставок;

- пояснение символов на аппарате;

- идентификация органов управления и их использование во всех рабочих режимах;

- инструкция по присоединению принадлежностей и другой аппаратуры, установке съемных частей и т. д.

2 Инструкция по установке аппарата:

- указание по сборке, размещению и монтажу;

- инструкция по подключению защитного заземления;

- требования к подводке сети питания, выключателям сети и внешним устройствам защиты от перегрузки по току;

- требования к вентиляции.

3 Инструкция по профилактическому обслуживанию и ремонту аппарата в части обеспечения безопасности

Если после отключения аппарата от всех источников напряжения конденсаторы внутри аппарата остаются заряженными, то должны оговариваться части аппарата, которые необходимо разрядить.

Если обслуживание и ремонт необходимо провести при открытом приборе, находящемся под напряжением, то инструкция должна быть рассчитана на обслуживающий персонал, прошедший специальную подготовку по техническому использованию и обслуживанию аппарата.

4 Для приборов класса II.1

Внимание!

Любой разрыв защитного проводника внутри или вне аппарата или отсоединение зажима защитного заземления может сделать аппарат опасным. Любое отсоединение заземления запрещено.

5 Если эксплуатация аппарата предусматривает использование специальных приспособлений, расходных материалов и т. п., должны быть указания по их правильному применению и технике безопасности.

ПРИЛОЖЕНИЕ В
(рекомендуемое)

Средства измерений, испытаний и вспомогательные устройства, применяемые при испытаниях на безопасность

Таблица В.1

Наименование

Метрологические характеристики, не хуже

1

2

1 Ухо искусственное

Камера связи по [3]. Частота 1000 Гц. Уровень измеряемого давления до 130 дБ. Основная погрешность не более ±0,5 дБ

2 Генератор сигналов низкочастотный

Частота 1000 Гц. Выходное напряжение не менее 50 В на нагрузке 600 Ом при коэффициенте гармоник не более 2 %. Основная погрешность установки частоты не более ±(1+50/f) %

3 Электронный вольтметр для измерения синусоидальных сигналов

Диапазон частот 45-8000 Гц. Диапазон измерений 0,01-300 В. Класс 1/0,5 в диапазоне частот до 200 Гц и 0,2/0,1 - св. 200 Гц

4 Мегаомметр (тераомметр)

Диапазон измерений 1-1000 МОм. Основная погрешность ±4 % от длины шкалы. Измерительное напряжение от 100 до 500 В

5 Высоковольтная установка переменного напряжения

Форма сигнала синусоидальная. Выходное напряжение до 2 кВ среднего квадратического значения частотой 50 Гц. Максимальная допустимая сила тока 100 мА. Погрешность установки испытательного напряжения не более ±20%

6 Высоковольтная установка постоянного напряжения

Напряжение от 1 до 10 кВ. Основная погрешность установки напряжения ±6%

7 Формирователь импульса совместно с высоковольтной установкой

Высота импульса от 1 до 2 кВ. Время фронта импульса 10 мкс. Время полуспада импульса 700 мкс. Погрешность временных параметров и высоты импульса ±10 % в рабочих условиях

8 Омметр

Класс точности 4. Диапазон измерений 1-50 Ом

9 Миллиамперметр постоянного тока

По ГОСТ 8711. Класс точности 1. Конечные значения диапазона показаний 1,5; 6; 15; 60 мА

10 Миллиамперметр переменного тока

Диапазон частот 25-8000 Гц. Класс точности 2/0,4. Конечные значения диапазонов показаний кратны 10

11 Вольтметр постоянного напряжения

По ГОСТ 8711. Класс точности 1,5. Конечные значения диапазона показаний 3; 7,5; 15; 30; 60 В. Входное сопротивление не менее 120 кОм

12 Термометр цифровой

Диапазон измерений 15-350 °С. Основная погрешность ±3°С

13 Мост питания

По ГОСТ 7153

14 Источник постоянного напряжения

Устанавливаемое напряжение 60 В. Максимальная сила тока до 100 мА

15 Разделительный трансформатор

Рабочее напряжение 250 В, сила тока до 1 А

16 Линейка

По ГОСТ 427

17 Штангенциркуль

По ГОСТ 166

18 Микрометр

По ГОСТ 6507

19 Секундомер

Диапазон измерений от 1 с до 30 мин. Основная погрешность ±0,4 с

20 Молоток пружинный испытательный

Энергия удара (0,5±0,05) Дж. Масса ударного элемента (250±1) г

21 Наборы гирь

По ГОСТ 7328. Масса от 0,2 до 25 кг. Класс точности 5

22 Шарнирный испытательный палец

По рисунку Г. 1 приложения Г

23 Жесткий испытательный

палец

По рисунку Г.2 приложения Г

24 Испытательный штырь (цепочка)

По рисунку Г.3 (Г. 4) приложения Г

25 Вибростенд

Частота вибрации 25 Гц. Виброускорение 19,6 м/с2. Погрешность по частоте ±2 Гц, по виброускорению ±20 %

26 Ударный стенд

Ударное ускорение до 147 м/с. Погрешность по пиковому ударному ускорению ±20 %

27 Камера тепла и влаги

Погрешность установки температуры не более ±3°С, относительной влажности ±3 %. Диапазон устанавливаемых температур 20-40 °С, относительной влажности до 100 %

28 Термокамера

Устанавливаемая температура от 25 до 70 °С. Погрешность установки температуры не более ±3°С

ПРИЛОЖЕНИЕ Г
(обязательное)

Инструменты дня испытаний на безопасность

1 - ограничительные изоляционные бортики; 2 – ручка

Предельные отклонения размеров:

- линейных:

до 25 мм           ± 0,05 мм

св.25 мм           ± 0,2 мм

- угловых      ±5¢

Рисунок Г.1 - Шарнирный испытательный палец

1 - изолирующий материал; 2 - рукоятка; 3 – ограничитель

Примечания

1 Остальные размеры и допуски на размеры см. рисунок Г.1.

2 Материал пальца: например, закаленная сталь

Рисунок Г.2 - Жесткий испытательный палец

Рисунок Г.3 - Стандартный испытательный штырь

Рисунок Г.4 - Испытательная цепочка

1 - выходной конус; 2 - стержень спускового механизма; 3 - пружина спускового механизма; 4- спусковой кулачок; 5- головка молотка; 6- пружина молотка; 7- шток; 8- ручка для взвода пружины

Рисунок Г. 5 - Испытательный молоток

ПРИЛОЖЕНИЕ Д
(обязательное)

Методики измерения путей утечки и воздушных зазоров

На рисунках Д.1 -Д.10 приведены способы измерения путей утечки и воздушных зазоров, которыми следует пользоваться при проверке соответствия устройств требованиям настоящего стандарта.

Рисунок Д.1

Если соответствующий путь включает в себя паз с параллельными или сходящимися стенками любой глубины шириной менее 1 мм, пути утечки и воздушные зазоры измеряют поперек паза.

Рисунок Д.2

Если соответствующий путь включает в себя паз с параллельными стенками любой глубины шириной 1 мм или более, воздушным зазором считают длину наименьшего расстояния. Путь утечки совпадает с контуром паза.

Рисунок Д.3

Если соответствующий путь включает в себя U-образный паз с внутренним углом менее 80° и шириной более 1 мм, воздушным зазором является длина наименьшего расстояния. Путь утечки совпадает с контуром паза, однако дно паза шунтировано площадкой длиной 1 мм (0,25 мм в случаях защищенности от осаждений грязи).

Рисунок Д.4

Если соответствующий путь включает в себя выступ (ребро), воздушным зазором считают наиболее короткое прямое расстояние через вершину выступа (ребра). Путь утечки совпадает с контуром выступа (ребра).

Рисунок Д.5

Если соответствующий путь включает в себя не склеенное соединение с пазами шириной менее 1 мм (0,25 мм) с каждой стороны, путем утечки и воздушным зазором является кратчайшее расстояние, как показано на рисунке Д.5.

Рисунок Д.6

Если соответствующий путь включает в себя не склеенное соединение с пазами шириной 1 мм или более на каждой стороне, воздушным зазором является кратчайшее расстояние. Путь утечки совпадает с контуром пазов.

Рисунок Д.7

Если соответствующий путь включает в себя не склеенное соединение с пазами на одной стороне менее 1 мм и с пазом на другой стороне шириной 1 мм или более, воздушные зазоры и пути утечки должны соответствовать указанным на рисунке Д.7.

Рисунок Д.8

Если соответствующий путь включает в себя паз с расходящимися стенками глубиной 1,5 мм или более, шириной в самом узком месте 0,25 мм и шириной около 1 мм, воздушным зазором является кратчайшее расстояние. Путь утечки совпадает с контуром паза. Если внутренние углы менее 80°, то может быть применен способ согласно рисунку Д.3.

Рисунок Д.9

Щель между головкой винта и стенкой впадины слишком узка и не принимается во внимание.

Рисунок Д.10

Щель между головкой винта и стенкой впадины достаточно широка и принимается во внимание.

ПРИЛОЖЕНИЕ Е
(обязательное)

Схемы для проверки устойчивости к перенапряжениям

1 - испытуемый аппарат; 2 - формирователь импульса; 3 - высоковольтная установка постоянного напряжения

Рисунок Е.1 - Схема для испытания импульсным перенапряжением

T1 - время фронта; T2 - время полуспада

Рисунок Е.2 - Форма грозового импульса и импульса перенапряжения по линии связи

X- испытуемый аппарат; R1 - резистор с сопротивлением 1 кОм; R2 - резистор с сопротивлением 4 кОм; R3 - резистор с сопротивлением 100 МОм; R4 - резистор с сопротивлением 0,3 МОм; R5 - резистор с сопротивлением 15 МОм; С1 - конденсатор емкостью 1 нф; V - вольтметр постоянного напряжения; С, D - клеммы для подключения испытуемого аппарата; S - переключатель

Рисунок Е.3 - Схема для испытания перенапряжением

1, 6 - электронный вольтметр переменного напряжения; 2 - ухо искусственное; 3 - испытуемый аппарат; 4 - питающий комплект; 5 - генератор сигналов низкочастотный; ВF - телефон испытуемого аппарата; ВМ - микрофон испытуемого аппарата; R - резистор сопротивлением (600±б) Ом, мощностью не менее 2 Вт

Рисунок Е.4 - Схема для измерения уровня звукового давления

ПРИЛОЖЕНИЕ Ж
(обязательное)

Схема цепи для измерения силы тока утечки

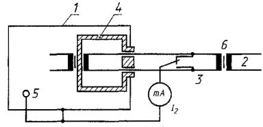
1 - доступные для прикасания токопроводящие части; 2 - сеть электропитания; 3 - переключатель измерений; 4 - разделительный трансформатор; тА - миллиамперметр переменного тока; R - резистор, сопротивление которого в сумме с внутренним сопротивлением миллиамперметра составляет 2 кОм

Рисунок Ж.1 - Схема для измерения силы тока утечки аппаратов группы II.1

1 - доступные для прикасания токопроводящие части или металлическая фольга, в которую обернут аппарат; 2 - сеть электропитания; 3 - переключатель измерений; 4 - дополнительная (защитная) изоляция, если она есть; 5 - зажимы измерительного заземления; тА - миллиамперметр переменного тока; 6 - разделительный трансформатор

Рисунок Ж.2 - Схема для измерения силы тока утечки аппаратов группы II.2

ПРИЛОЖЕНИЕ И
(справочное)

Библиография

[1] Публикация МЭК 60-2-73 Техника испытаний высоким напряжением. Часть 2. Методы испытаний

[2] РД 50-98-86 Методические указания. Выбор универсальных средств измерений линейных размеров до 500 мм. (По применению ГОСТ 8.051)

[3] Публикация МЭК 303-70 Временная образцовая камера малого объема МЭК для градуировки телефонов, используемых в аудиометрии

Ключевые слова: абонентская телефонная техника, требования безопасности, методы испытаний




Rambler's Top100 Яндекс цитирования
  Copyright © 2008-2026, www.docload.ru