|
|
Российское акционерное общество "Газпром"
БОРЬБА С ВОДНОЙ ЭРОЗИЕЙ ГРУНТОВ ИНСТРУКЦИЯ РД 51-2.4-007-97 Москва 1998 Настоящая Инструкция
предназначена для инженерно-технических работников, занимающихся
проектированием и проведением ремонта размытых, подверженных водной эрозии
участков трубопроводов при их эксплуатации и строительстве. Инструкция разработана ДП
"Баштрансгаз", кафедрой "Сооружение и ремонт газонефтепроводов,
газохранилищ и нефтебаз" Уфимского государственного нефтяного технического
университета, ЗАО "Стройтрансгаз", ДП ВНИИгаз, Управлением по
транспортировке газа и газового конденсата, Газнадзором и предприятием
"Пермтрансгаз" РАО "Газпром". Разработчики: Уфимский государственный нефтяной технический университет Рафиков С.К. (канд. техн.
наук), Бабин Л.А. (д-р техн. наук). ЗАО "Стройтрансгаз" Лаврентьев А.Е. (канд. техн. наук). ДП "Баштрансгаз" Тухбатуллин Ф.Г. (канд.
техн. наук), Мухаметшин А.М. (канд. техн. наук), Аскаров Р.М. (канд. техн.
наук), Файзуллин С.М. (канд. техн. наук), Хайруллин Ф.Г. (канд. техн. наук),
Аверин Н.М. ДП ВНИИгаз Галиуллин З.Т. (д-р техн.
наук), Исмаилов И.А. (канд. техн. наук), Дубин П.А..Трегуб И.В. Управление по транспортировке газа и газового конденсата РАО
"Газпром" Дедешко В.Н., Салюков В.В.,
Нагорнов К.М., Парфенов А.И. Газнадзор РАО "Газпром" Эристов В.И. Предприятие "Пермтрансгаз" Хасанов Р.Н. Инструкция подготовлена к
утверждению Управлением по транспортировке газа и газового конденсата РАО
"Газпром". Руководящий документ 51-2.4-007-97 ИНСТРУКЦИЯ БОРЬБА С ВОДНОЙ ЭРОЗИЕЙ ГРУНТОВ Вводится
впервые Срок введения: с 01 июля 1997 г. Срок действия: до 30 июня 2002 г. 1. ОБЩИЕ ПОЛОЖЕНИЯ1.1. Настоящая Инструкция
обосновывает меры по защите от водной эрозии, размыва и оголения трубопроводов
и сопутствующих им инженерных сооружений при проектировании и эксплуатации
трубопроводов. Распространяется на участки трубопроводов, пересекающие
следующие природные объекты и формы земного ландшафта в зоне распространения
талых грунтов: малые и средние водотоки
(площадь водосброса менее 20000 м2, длина водотока 500 км,
среднегодовой расход воды менее 100 м3/с); временные водотоки (сток
осуществляется только в период весеннего половодья или во время дождевого
паводка); природные или искусственные
водоемы (озера, пруды и т.п.) с объемом менее 15 млн. м3 и глубиной
менее 15 м; старицы, рукава, протоки,
заливы и лагуны водотоков (водоемов); береговые участки; склоны положительных и
отрицательных форм рельефа; ложбины, лощины и балки; овраги (береговые, донные,
склоновые и вершинные). Такие участки в дальнейшем
будут именоваться "потенциально эрозионно-опасные участки". 1.1.1. Инструкция не
распространяется на участки трубопроводов и сооружений, расположенных на
следующих природных объектах и формах ландшафта: берегах внутренних и внешних
морей; крупных водотоках; природных и искусственных
водоемах с объемом более 15 млн. м3 и с максимальной глубиной более
15 м; искусственных временных и
постоянных водотоках с неустойчивым зарегулированным водным режимом; устьевых участках водотоков
в приливно-отливной зоне и зоне искусственного регулирования; селе- и лавиноопасных
участках; склонах искусственных форм
рельефа, связанных с масштабными горно-вскрышными работами (терриконы, отвалы,
карьеры и т.п.); всех формах рельефа,
сформированных карстовыми и тектоническими явлениями, а также мерзлотными
явлениями на талых грунтах; зонах подвижных ледников. 1.1.2. Настоящая Инструкция
может быть использована при: разработке проектов ремонта
существующих трубопроводов или сопутствующих сооружений, подверженных
эрозионным воздействиям или размыву; проектировании новых
трубопроводов или сопутствующих сооружений; предпроектных и сервисных
обследованиях линейной части трубопроводов и прогноза потенциальной эрозионной
опасности; организации работ
строительных подразделений при строительстве противоэрозионных сооружений и при
осуществлении мероприятий; организации работы
линейно-эксплуатационных служб и авторского надзора проектных организаций; обеспечении безопасного
ведения противоэрозионных работ. 1.2.
Инструкция разработана в дополнение следующих нормативных документов: СНиП
2.05.06-85 "Магистральные трубопроводы"; СНиП
III-42-80 "Магистральные трубопроводы. Правила производства и
приемки работ"; СНиП 1.02.07-87
"Инженерные изыскания для строительства"; "Правила эксплуатации
магистральных газопроводов"; "Правила эксплуатации
магистральных нефтепроводов"; "Правила эксплуатации
магистральных нефтепродуктопроводов"; ВСН 2-112-79 "Правила
производства капитального ремонта линейной части магистральных
газопроводов", (Миннефтегазстрой); ВСН 51-1-80 "Инструкция
по производству строительных работ в охранных зонах магистральных газопроводов
Министерства газовой промышленности"; ВСН
163-83 "Учет деформаций речных русел и берегов водоемов в зоне
подводных переходов магистральных трубопроводов (нефтегазопроводов)",
(Миннефтегазстрой, 1985); ВСН
014-89 "Строительство магистральных и промысловых
трубопроводов. Охрана окружающей среды", (Миннефтегазстрой). 1.3. Противоэрозионные
мероприятия на трассах трубопроводов, предусматриваемые при проектировании,
строительстве и эксплуатации, являются составной частью всего комплекса работ
по сохранению почвенно-растительного покрова, рельефа местности, охране
окружающей среды и обеспечению эксплуатационной надежности линейной части
трубопроводов. 1.4. Активизация водной
эрозии, процессов нарушения почвенно-растительного покрова и рельефа местности
происходит при прокладке трубопроводов на длинных и крутых склонах, в местах
пересечений с реками, временными и постоянными водотоками, балками и ранее
стабилизировавшимися оврагами. 1.5. Противоэрозионные
мероприятия при эксплуатации линейной части газопроводов выполняются в три
этапа: 1) обследование состояния
эрозионноопасного участка; 2) анализ эрозионного
состояния участка, напряженно-деформированного состояния трубопровода (при
необходимости), разработка противоэрозионных конструкций и мер, технического
проекта; 3) выполнение работ и
авторский надзор. 2. ОБСЛЕДОВАНИЕ СОСТОЯНИЯ ЭРОЗИОННООПАСНЫХ УЧАСТКОВ ТРУБОПРОВОДОВ2.1. Состав работСостав и масштабы работ по
обследованию состояния эрозионноопасных участков трубопроводов зависят от
стадии и целевых назначений данной работы и особенностей природного объекта. Обследование включает в
себя, в общем случае, следующие виды работ: работы подготовительного
периода; техническое обследование; инженерно-геодезические
изыскания; инженерно-геологические
изыскания; инженерно-гидрометеорологические
изыскания. При проектировании нового
трубопровода или сопутствующего сооружения, "техническое
обследование" из состава подготовительных работ исключается или сводится к
установлению и привязке других сооружений в полосе изысканий (при выполнении
инженерно-геодезических изысканий). Состав, сложность и
трудоемкость различных работ могут изменяться или уточняться в техническом
задании в зависимости от характера участка и других факторов. Обследование и анализ
эрозионного состояния переходов через крупные реки и водоемы производится в
соответствии с ВСН
163-83 [1]. 2.2. Подготовительные работыЦелью подготовительных работ
является установление характеристик природного объекта и данного участка
трубопровода, динамики состояния системы "трубопровод - окружающая
среда" на основе ранее выполненных исследований. Подготовительные работы
заключаются в предварительном ознакомлении с имеющейся технической
документацией на данный участок трубопровода и сбор всех имеющихся справочных
данных по климатическим, инженерно-геологическим и гидрологическим условиям
прохождения трассы. Анализируются материалы предшествующих периодических и
специальных обследований, собираются сведения о проведенных ранее
профилактических, средних и капитальных ремонтах. Уточняются и утверждаются
программы, цели и сроки обследования, состав работ и участников. Обязательными результирующими
документами подготовительного периода являются: схема трассы трубопровода с
указанием обследуемых участков; конструктивная и
технологическая характеристики участка трубопровода; сведения по отказам на
обследуемых участках; сведения по предыдущим обследованиям
линейной части; сведения по капитальному
ремонту линейной части; сведения о генеральном
проектировщике и организациях, проводивших изыскания трассы при проектировании,
и выполнявших строительство и ремонт участка. 2.3. Техническое обследованиеВключает в себя следующие
основные виды работ: определение планового и
высотного положения оси трубопровода с закреплением на местности и оформлением
журналов съемок, планов и профилей; контроль состояния
изоляционного покрытия и, в случае неудовлетворительного состояния, анализ
коррозионной защищенности трубопровода в соответствии с ГОСТ
25812-83 и действующими нормативными документами; при наличии значительных
коррозионных и любых механических повреждений; в случае заметного изменения
положения трубопровода из-за действия неблагоприятных факторов и неучтенных
эксплуатационных нагрузок, необходимо выполнить диагностику участка
техническими средствами контроля. В русловой части подводных
переходов одновременно определяют положение оси трубопровода по вертикали и в
плане, выполняют промеры дна русла с применением реек, лотов или эхолотов. При недостаточной
коррозионной защищенности трубопровода делают прогноз срока службы
изоляционного покрытия и перспектив работоспособности средств активной защиты,
как оснований для выбора метода стабилизации положения трубопровода и
выполнения ремонтных работ без повреждения изоляции. 2.4. Инженерно-геодезические изысканияСостав и качество
геодезических работ должны соответствовать положениям п.2 СНиП 1.02.07.87 [2] в части изысканий для рабочего проекта и рабочей
документации. Изыскания проводят для
привязки положения трубопроводов к устойчивым элементам рельефа, изменения
высотных отметок положения неустойчивых и нестабильных элементов рельефа
местности (склоны, откосы, овраги и т.д.), установления размеров и тенденции
плановых и глубинных переформирований русла рек и водотоков в соответствии с [2]. Для привязки возможных
изменений рельефа и положения оси трубы в плане и по высоте, необходимо
убедиться в наличии и сохранности километровых знаков, элементов опорной
геодезической сети и реперов» в случае отсутствия, при необходимости,
восстановить. Привязку, по возможности,
производить к пунктам плановой и высотной сети изысканий прошлых лет, чтобы
обеспечить сравнимость результатов изысканий по высотным отметкам и плановой
привязке. В результате изысканий
должны быть построены план участка перехода в масштабе 1:500 и профиль трассы с
указанием положения оси трубопровода. 2.5. Инженерно-геологические изысканияВыполняются в объеме и
составе, предусмотренных программой работ для конкретного участка трубопровода,
имеют целью выявить инженерно-геологические процессы, протекающие в данный
период и влияние на них строительства и эксплуатации газопровода, а также
сельскохозяйственных работ на прилегающих территориях. Изучаются также состав и
свойства почв, грунтов и горных пород, подверженных инженерному воздействию в
ходе строительства и эксплуатации. Состав и объем полевых и
лабораторных исследований грунтов зависят от состава грунтов и целей и
определяются в соответствии с п. 3 [2]. 2.6. Инженерно-гидрометеорологические изысканияВыполняются в соответствии с
требованиями п. 1 и п.3 СНиП 1.02.07-87,
СНиП
2.01.14-83 и рекомендациями Гидрометслужбы. В зависимости от степени
гидрологической изученности территории и вида природного объекта, на которых
расположен участок трубопровода, назначаются состав и объемы работ. Целью изысканий является
получение гидрологических характеристик как исходных данных для расчетов при
проектировании. Поскольку гидрологические характеристики могут значительно
изменяться по сезонам, по данному конкретному участку необходимы длительные
наблюдения, как минимум - в течение одного весеннего паводка. В случае отсутствия данных
по многолетней редукции потребуется корректировка в следующий паводок. Поэтому
сроки выполнения гидрометеорологических изысканий могут быть значительно больше
сроков других изысканий. 3. ПРОЕКТИРОВАНИЕ ПРОТИВОЭРОЗИОННЫХ СООРУЖЕНИЙ НА ТРАССАХ ТРУБОПРОВОДОВ3.1. Выбор противоэрозионных мероприятийВид противоэрозионного мероприятия,
необходимого для защиты трубопровода от размыва, определяется, прежде всего,
видом эрозионного нарушения. Кроме того, следует учитывать такие факторы, как
наличие строительных материалов, техники, транспортную схему, грунтовые и
климатические условия и т.п. Противоэрозионные
мероприятия и сооружения подразделяются по следующим признакам: по месту
расположения: расположенные на водосборной
территории; расположенные на поверхности
склона (в т.ч. дренажные); расположенные в траншее; вершинные; расположенные в ложе
временных и малых водотоков; берегоукрепительные; подводные; по функции: водопропускные (лотки,
быстротоки); водоотводные и дренажные; водозадерживающие; экранирующие; многофункциональные; по материалу: грунтовые; каменные; из закрепленного грунта; с использованием растений; из искусственных материалов
(металлические, бетонные, резинотканевые, полимерные, нетканые синтетические и
др.); комбинированные (габионные и
др.). В зависимости от вида
эрозионного нарушения, в соответствии с классификацией, представленной на рис. 1, следует выбирать противоэрозионные мероприятия
согласно табл. 1. В табл. 1
выделены пять основных видов эрозионных нарушений, характерных для трасс
трубопроводов, проложенных в обычных условиях. Основные мероприятия,
приведенные во втором столбце таблицы, являются наиболее предпочтительными.
Альтернативные и дополнительные мероприятия следует назначать при невозможности
выполнения основных или в дополнение к основным с учетом наличия материалов,
грунтовых условий и других факторов.
Рис. 1. Классификация видов эрозии грунта на трассах
подземных трубопроводов Схема выбора
противоэрозионных мероприятий
Вопросы проектирования и
расчета основных мероприятий для первых трех видов эрозионных нарушений из пяти
выделенных в табл. 1 будут рассмотрены ниже Вопросы защиты от эрозии на
переходах трубопроводов через крупные реки (4 и 5 виды) в настоящей Инструкции
не рассматриваются. 3.2. Предотвращение поверхностного смыва и вымывания грунта засыпки на склонах3.2.1. Прогнозный расчет размыва грунта засыпки на склонеРасчетная схема участка
трубопровода, проложенного на участке склона с постоянным уклоном, приведена на
рис. 2. Способность грунта
противостоять размывающему действию потока характеризуется величиной донной
допускаемой неразмывающей скорости течения воды VDH. Размыв не происходит при
выполнении условия, когда, фактическая донная скорость потока VDx ниже
донной допускаемой неразмывающей скорости. Донная (т.е. на высоте
выступа шероховатости D) допускаемая неразмывающая скорость для связных
(глинистых) грунтов определяется по формуле: VDH=1,096 Для несвязных грунтов
(песков) донная допускаемая неразмывающая скорость равна: VDH=2,655 где g - ускорение свободного
падения, g=9,81 м/с2; gн - удельный вес воды, Н/м3; g - удельный вес частиц грунта: для песков и
супесей g=26500 Н/м3, для
суглинков и глин g= 27000 Н/м3; d - средний диаметр отрывающихся агрегатов грунта: для
песков, супесей, суглинков и глин и d =
0,001; 0,0031; 0,004 и 0,0043 м соответственно; График для определения интенсивности впитывания
влаги в грунт К расчету размываемого
склона с постоянным уклоном: а) расчетная схема: 1 -
трубопровод; 2 - промоина; б) график для определения
интенсивности впитывания влаги в грунт п -
коэффициент перегрузки, учитывающий влияние пульсации скоростей потока на его
размывающую способность, при отсутствии данных специальных исследований п определяется по формуле: п= т -
коэффициент условий размыва, определяемый по формуле: m=m2×m3×m4 m2 - коэффициент, учитывающий наличие на склоне растительности, при
отсутствии растительности m2
= 1, при наличии неокрепшего (однолетнего) травяного покрова m2=1,5, при наличии
постоянного сенокоса или пастбища m2
= 9; m3 - коэффициент, учитывающий присутствие в потоке наносов, при наличии
наносов в коллоидном состоянии m3=
1,4; при отсутствии наносов (чистый поток) т=
1, при наличии донных коррелирующих наносов m3=0,85; m4 - коэффициент, учитывающий исходную влажность грунта, для грунта в водонасыщенном состоянии m4=1, для пересекшего грунта m4 =0,25; Сш - сцепление
грунта, определенное по методу шарового штампа (метод Цытовича) при полном
водонасыщении, для супесей, суглинков и глин Сш составляет соответственно 20-103, 30-103 и
40-103 Н/м2; Кнар - коэффициент, учитывающий уменьшение сил сцепления в грунте нарушенной
структуры и восстановление их с течением времени, определяется по формуле: Кнар = где Кр
- коэффициент разупрочнения, для песка, супеси и суглинка Кр = 3,2; 4,4
и 5,7 соответственно; пuc. - коэффициент интенсивности
самоупрочнения, для песка и суглинка пuc =
0,08, для супеси - 0,15; t-
время, прошедшее с момента нарушения структуры грунта; Код- коэффициент однородности грунта, при отсутствии экспериментальных
данных Код принимается
равным 0,5. Для грунтов естественного
сложения Кнар принимается
равным единице. При отсутствии достаточных
данных для расчета донной допускаемой неразмывающей скорости допускается
принимать ее значения по табл. 2. Таблица 2 Примерные
значения донной допускаемой неразмывающей скорости, м/с
Фактическая донная скорость
потока в точке, отстоящей от водораздела (верха склона) на Х м (см. рис. 2) определяется по формуле: VDH=22,2(J-Jo)0.3×x0.3×i0.35×no0.30×mI0.7 (3) где J - интенсивность осадков, м/с. Максимальная
интенсивность дождя продолжительностью Т (с), повторяющегося в среднем 1 раз в
N лет, определяется по данным работы [3]; Jo -
интенсивность впитывания влаги в грунт, определяется по графику (см. рис. 2б) в зависимости от
интенсивности осадков и класса грунта по водопроницаемости, м/с. Классы грунтов
по водопроницаемости приведены в табл. 3; i - уклон склона; n0 - коэффициент шероховатости
русла потока, для грунта засыпки без растительности n0=0,025, при наличии
однолетнего травяного покрова - 0,04; mI -
коэффициент, учитывающий отклонение характера движения склонового стока от
движения ровного слоя воды, для склона, изрезанного промоинами, mI = 1,5, для выровненного склона - 1. Классы
грунтов по водопроницаемости
По формуле (3) рассчитывают фактическую донную скорость потока в
нижней точке склона VDн при этом в качестве х принимают длину склона L.
Если полученное значение VDl меньше VDн, размыв склона не
происходит. Если VDl >VDн рассчитывают длину участка,
не подверженного эрозии, по формуле: Lнеразм= Глубину размыва грунта Dh за время Dt потоком, имеющим скорость VDx, а
также глубину размыва в нижней точке склона Dh определяют из выражения: Dh=6,4×10d( При определении Dhc в качестве VDx У
принимается VDl. Прогноз расчета размыва
дождевым стоком склона можно проводить с использованием программы "SKLON".
В Приложении 1 дан контрольный пример расчета по этой
программе. 3.2.2. Конструкция противоэрозионных сооружений на склоновых участках трубопроводовОсновными мероприятиями,
предотвращающими поверхностный смыв и вымывание грунта засыпки на склоновых
участках газопроводов, являются устройства открытого или закрытого дренажа и
поверхностное или объемное закрепление грунта. Примеры конструкций,
обеспечивающих открытый дренаж стока, приведены на рис. 3,
4. Основными элементами этих конструкций являются
траншейные перемычки и водоотводящие валики. Траншейные перемычки следует
устраивать из гидрофобизированного грунта, либо другого водонепроницаемого
материала, заглубляя их в стенки и дно траншеи на 0,3-0,5 м для образования
"замков", препятствующих течению воды по траншее. Водоотводящие валики следует
устраивать из местного грунта с укреплением верхнего откоса (камнем, дерном или
укладкой геотекстиля), из гидрофобизированного грунта, либо из мешков с
грунтом. Валики должны быть треугольного или трапецеидального сечения с
заложением откосов не круче 1:1,5, высотой не менее 0,7 м. Уклон валиков
необходимо определять расчетом из условия их неразмываемости, при отсутствии
расчетного обоснования допускается назначать уклон не круче 0,005. Отвод стока следует
осуществлять за пределы полосы газопровода в водосбросный лоток, либо на
участки поверхностного закрепления грунта (задернением, устройством покрытия из
закрепленного грунта, каменной наброски или другого материала). Параметры водосбросного
лотка (поперечное сечение и материал покрытия) следует назначать из условия
неразмываемости. Значения неразмывающей скорости для возможных материалов
покрытия лотка приведены в табл. 4. Вода из лотка должна
отводиться в пониженные места рельефа. При этом не должно возникать опасности
размывов. Допускаемая
неразмывающая скорость для покрытий водосбросных лотков и каналов
Рис. 3. Варианты расположения
открытого дренажа на продольном склоне (план) a) с отводом стока за пределы
полосы трубопровода; б) с отводом стока в водосбросный лоток; в) с отводом стока на
участки поверхностного закрепления грунта 1 - валик засыпки
трубопровода; 2 - граница строительной полосы трубопровода; 3 - верх склона; 4 - низ
склона; 5 - водоотводящие валики; 6 - траншейные перемычки; 7 - участки поверхностного
закрепления грунта; 8 - водосбросный лоток; 9 - направление уклона
местности
Рис 4. Расположение открытого дренажа на косогоре и на
поперечном склоне (план): а) на косогоре; б) на поперечном
склоне; 1 - валик засыпки
трубопровода; 2 - границы строительной полосы газопровода; 3 - верх склона; 4 - низ
склона; 5 - водоотводящие валики; 6 - траншейные перемычки; 7 - участки поверхностного
закрепления грунта; 8 - надтраншейные водопропуски; 9 - направление уклона
местности Водоотводящие русла, валы и
лотки при необходимости могут также укрепляться синтетическими и другими
искусственными рулонными материалами, перечень и характеристики которых
приведены в Приложении 2. Расстояния между
водоотводящими валиками следует определять по формуле (4). В зарубежной практике борьбы
с эрозией грунта на склонах хорошо зарекомендовали себя технология и
синтетические материалы, разработанные фирмами "Акzo Nobel Geosyntetices GmbH" и "Huesker Syntetices GmbH & Co"
(Германия). Ими предлагается широкий ассортимент рулонных материалов из
полиэстера, полиэтилена, полипропилена и поливинилхлорида: сетки "Наtе-Gewebe"
с различными размерами ячеек - плоские и объемные, сборные крупноячеистые
ребристые покрытия "Агmater", нетканые
синтетические материалы для изготовления бентонитовых матов "Nabento",
рулонный ячеистый материал "Еnkamat" и многое другое. Основные характеристики
некоторых синтетических рулонных материалов фирмы Контроль качества
синтетических материалов зарубежных и отечественных фирм следует производить в
соответствии с утвержденным "Порядком контроля качества нетканых
синтетических материалов, применяемых на объектах строительства РАО "Газпром", утв.
24.12.1994 г. Зам. Председ. Правления РАО "Газпром" В.В. Шереметом. На рис.5
показан один из вариантов комбинированного противоэрозионного покрытия с
водоотводящими валами. В зависимости от интенсивности осадков, крутизны склона
и эстетических запросов поверхность может быть засыпана гравием с закреплением
битумной эмульсией, а крупноячеистое ребристое покрытие "Аrmater"
может быть засыпано почвогрунтом с посевом трав под слой рулонного ячеистого
материала "Enkamat". Пример
конструкции, обеспечивающей полузакрытый дренаж стока, приведен на рис. 6. Конструкция представляет собой засыпку траншеи,
состоящую из двух слоев. Первый слой, расположенный под трубопроводом и вокруг
него в нижней части траншеи, выполняется из гидрофобизированного грунта и несет
функцию защиты трубопровода от проникновения к нему влаги, кроме того,
предотвращает течение воды вдоль траншеи и играет роль балласта, закрепляющего
газопровод на проектной отметке. Верхний слой выполняется из крупнообломочного
дренирующего материала и служит дренажным каналом для стока. В качестве
дренирующего материала следует использовать гравий, щебень, шлаковые отходы
различных производств или другие материалы, обладающие коэффициентом фильтрации
2-10 см/с.
Рис. 5. Противоэрозионное покрытие
склона с водоотводящими валами
Рис. 6. Траншейный дренаж на продольном склоне: 1 - трубопровод; 2 - обсыпка
из гидрофобизированного грунта; 3 - дренажная каменная
наброска; 4 - перемычка из гидрофобизированного грунта; 5 - опорные водопроницаемые
щиты; 6 - слой плодородного грунта с семенами трав У подножья склона в траншее расположена водонепроницаемая перемычка из гидрофобизированного грунта, предотвращающая течение потока воды дальше по траншее. Перед водонепроницаемой перемычкой расположен водоотводный лоток. Кроме того, конструкция включает ряд водопроницаемых щитов, препятствующих оползанию дренажного материала. Каждый щит представляет собой раму, имеющую форму поперечного сечения слоя дренирующего материала. На раме укреплена нерастяжимая сетка или решетка. Щит опирается на вертикальные стойки, установленные на дно траншеи (или заглубленные в дно), и на поперечный брус, заделанный концами в стенки траншеи. Поперечный брус может быть изготовлен из древесных порубочных остатков, некондиционных труб малого диаметра или других подручных материалов. Щиты расположены с наклоном, противоположным уклону местности. Поверхностное закрепление
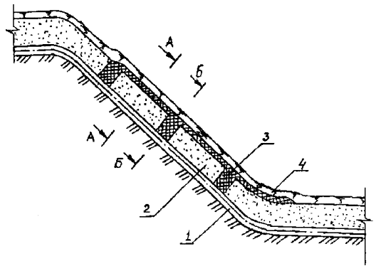
грунта следует выполнять органическими вяжущими типа ВМТ-Л, поставляемыми по ТУ
38.101960-83 или другими, близкими по свойствам вяжущими, либо вяжущими на
основе карбамидных смол. Покрытия из закрепленного грунта следует устраивать на
эрозионноопасных участках склонов в виде плоской полосы над траншеей либо в
виде покрытия-лотка, показанного на рис. 7. 3.2.3. Дополнительные мероприятия на склоновых участках трубопроводовБиологическую рекультивацию
следует выполнять на всей ширине полосы трубопровода независимо от вида
основного мероприятия. Работы по биологической рекультивации включают
восстановление плодородного слоя, внесение удобрений, посев многолетних трав с
мощной корневой системой, посадку защитных полос кустарника и уход за
растениями. Рекомендуемые виды трав: костер безостый, овсяница луговая,
овсяница красная, тимофеевка луговая, клевер белый, щучник дернистый, ежа
сборная. Рекомендуемые виды кустарника: малина, ежевика обыкновенная, шиповник,
кизил, боярышник. В качестве дополнительного
мероприятия по защите склоновых участков от размыва следует организовать
задержание стока на водосборной территории и отвод его в безопасное место.
Частным случаем таких мероприятий является устройство водоотводных нагорных
канав, валов и валов-канав. Наиболее эффективным следует считать применение
нагорных валов-канав на участках прокладки газопроводов по косогорам и
поперечным склонам. Поперечный профиль такого вала следует выполнять
трапециевидной или треугольной формы с выемкой (канавой) треугольного сечения.
Заложение откосов следует назначать:
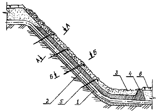
Рис. 7. Покрытие-лоток с перемычками на продольном склоне: 1 - трубопровод; 2 - грунт
обратной засыпки; 3 - гидрофобизированный грунт; 4 - плодородный слой с
семенами трав сухого откоса вала - 1:1,5; мокрого откоса вала и
нижнего откоса канавы - 1,5:2,0; верхнего откоса канавы -
2:5, ширину вала по гребню - 2,5 м. Отметки гребня вала следует
проектировать не менее, чем на 0,2 м выше расчетного уровня воды при расходах
воды до 1 м/с и не менее 0,4-0,5 м при расходах 1-10 м/с. Водоотводящие
валы-канавы следует рассчитывать на пропуск максимальных расходов 10 %-ной
обеспеченности. Уклон канав следует принимать таким, чтобы скорость отекания
воды вдоль вала была не выше допускаемой неразмывающей и не ниже допускаемой
незаиляющей для наносов мелкозема. При отсутствии расчетного обоснования, уклон
канавы следует назначать 0,005-0,003. Нижние концы водоотводных канав следует
приурочить к водоприемнику - специальному сооружению или задернованной ложбине.
При пересечении глубоких ложбин в теле вала предусматривают дренажные
устройства, обеспечивающие безопасный сброс воды из образующихся в ложбинах
прудков. 3.3. Борьба с растущими оврагами3.3.1. Прогнозный расчет роста оврагаРасчетная схема продольного
профиля оврага приведена на рис. 8.
Максимальную длину оврага следует определять по формуле: Lов= где H -
глубина базиса эрозии, м; Ix - уклон естественного
откоса, для песчаных грунтов Ix = 0,32; для глины, мергеля,
известняка Ix = 0,35-0,4. I0 - уклон русла на устьевом
участке оврага, определяется по формуле: I0= где VDн -
донная допускаемая неразмывающая скорость, м/с, определяемая по формулам (1), (2); n0 - коэффициент шероховатости, n0 = 0,03 для песчаных и глинистых грунтов, 0,05 - для
скальных грунтов, мергеля, известняка; А -
принятое соотношение между шириной и глубиной потока; Q0 - максимальный расход жидкого стока заданной обеспеченности в замыкающем створе овражного
водосброса, мс, определяется по данным работы [4]. Рис. 8. Расчетная схема продольного профиля оврага: 1 - профиль склона; 2 -
продольный профиль оврага; 3 - створ трубопровода Если профиль склона, на
котором развивается овраг, имеет постоянный уклон от водораздела до устья, то
от полученной расчетом длины следует вычесть величину L'
равную: L' = где L - длина склона, м; Ij - уклон склона; Lов - рассчитанная по формуле (5) длина оврага. Предельную глубину оврага в
створе газопровода следует определять по формуле: hг=H-I0×xг-(Lов- xг )tgb (7) где xг - расстояние от устья
оврага до створа трубопровода, м; b - угол наклона профиля склона
в створе трубопровода. Предельную ширину оврага в
створе газопровода следует определять из выражения: Bпр=2,8 где j -
угол естественного откоса грунта. 3.3.2. Закрепление вершин оврагов
Тип гидротехнического
сооружения в вершине оврага зависит от рельефа местности, глубины оврага,
площади водосбора, долговечности сооружения, наличия строительных материалов и
других факторов. Основным типом вершинных
гидротехнических сооружений являются сопрягающие сооружения: быстротоки,
перепады, консольные сбросы, трубчатые закрытые сооружения и т.д. В нижнем
бьефе они могут дополняться отбрасывающими устройствами: трамплинами, уступом
или устройствами для гашения энергии потока. Быстротоком называется
вершинное сопрягающее сооружение в виде лотка, обеспечивающего безопасный сброс
потока на дно оврага. Размеры и уклон быстротока определяют допускаемой
неразмывающей скоростью для материала покрытия быстротока. Упрощенной
конструкцией быстротока являются фашинные или деревянные лотки, устраиваемые в
вершинах оврагов. Наиболее надежными
сооружениями являются бетонные и железобетонные быстротоки. Половину бетонного
быстротока устраивают в виде плиты толщиной 0,3-0,7 м. По длине быстротока лоток
разрезают поперечными температурными швами. Толщину флютбета рассчитывают.
Боковые бетонные стенки принимают толщиной 0,3 м и высотой на 0,2 м выше
глубины потока. Бетонные быстротоки можно устраивать сборной конструкции из
отдельных секций. Основной причиной аварии
быстротоков является вымывание грунта из-под лотков, особенно, если сооружение
врезано в грунт и размещено в вершине оврага. Кроме того, определенную роль
играет и давление на быстроток грунта при его замораживании и оттаивании. Отмеченных недостатков
лишены быстротоки из грунта, закрепленного органическими вяжущими (ВМТ-Л и
подобными) или вяжущими на основе карбамидных смол. Преимуществом быстротоков
из закрепленного грунта является, также, возможность последующего задернения,
весьма желательного с точки зрения восстановления ландшафта. Основным
требованием, предъявляемым к противоэрозионным конструкциям из закрепленного
грунта, является достаточно большая сопротивляемость материала (закрепленного
грунта) размыву. Одна из возможных конструкций быстротока из закрепленного
грунта приведена на рис. 9.
Рис. 9. Конструкция быстротока из закрепленного грунта в
вершине оврага: 1 - закрепленный грунт; 2 -
насыпной незакрепленный грунт; 3 - каменная наброска Основными элементами
быстротока из закрепленного грунта являются: 1) собственно
быстроток-лоток из закрепленного грунта; поперечное сечение может быть
трапециевидным (см. рис. 9), треугольным или полукруглым; 2) покрытие привершинного участка, предотвращающее возникновение размывов на входе потока в лоток; 3) покрытие на выходе из
лотка (устраивается по дну оврага); 4) водобойный барьер можно
устраивать из каменной наброски или закрепленного грунта; 5) основание быстротока -
насыпной минеральный грунт, послойно уплотненный; 6) рекультивационное
покрытие - слой плодородного грунта с семенами быстрорастущих трав, отсыпаемый
поверх закрепленного грунта (на рис. 9 условно не
показан). Расчет быстротока из
закрепленного грунта ведут в следующей последовательности. Задают предполагаемое
значение глубины потока h' = 0,7hmax, где hmax - максимально возможная (по
принятому поперечному профилю лотка) глубина потока, м. Вычисляют допускаемую
среднюю скорость потока по формуле: Vср = 0,8 VDдоп(lg где VDдоп - допускаемая неразмывающая скорость, м/с; D - высота выступа эквивалентной
шероховатости, м. Принимают для: растительного слоя грунта, глины, суглинка,
супеси и песка пылеватого 1 мм, для песка с размерами частиц от мелкого до
крупного 5 мм, для песка гравилистого, гравия и дресвяного грунта 20 мм, для
гальки и щебня - 50 мм. Вычисляют площадь живого
сечения потока по формуле: w=Qp%/Vср, (10) где Qp% - расчетное значение расхода
воды заданной обеспеченности р %, мс,
определяется по [4]. Вычисляют глубину потока.
Если форма поперечного сечения - равнобедренная трапеция, то глубину потока
определяют по формуле: h= где b - ширина по дну; т -
заложение откосов. Проверяют совпадение h' и
h.
Значение h должно находиться в
интервале от h' до
1,2 h'. Если это условие не
выполняется, изменяют h' и повторяют расчет h. После того как условие совпадения значений будет
выполнено, проверяют приемлемость данной формы сечения из условия непревышения
максимально возможной глубины: h £0,9hmax. В случае невыполнения
данного условия изменяют форму поперечного сечения увеличивают hma . После выполнения этого
условия определяют допускаемый уклон быстротока, используя зависимости: iд= w= z = 0,37 +2,5 R=w /c, (15) где iд - допускаемый уклон быстротока; w - скоростная характеристика,
м/с; n0 - коэффициент шероховатости; R -
гидравлических радиус, м; c - смоченный периметр, м. Для равнобедренной трапеции
смоченный периметр определяют по формуле: c=b+2h На заключительной стадии
проектирования назначают уклон быстротока, который должен быть не более
допускаемого, определяют длину лотка по формуле: Lб=Dh/i, (17) где Dh - разность высот между
началом и концом лотка, м; i - назначенный уклон. Размеры покрытия на
привершинном участке задают исходя из состояния привершинного участка и его
конфигурации. Конструкция покрытия на привершинном участке должна обеспечивать
поступление всего стока на лоток и исключать возможность подмыва. Длину
покрытия на выходе из лотка назначают из соотношения: Ln =0,3 Lб, (18) где Lб - длина лотка. Уклон покрытия на выходе
равен уклону дна оврага. Высоту водобойного барьера принимают равной половине
глубины потока. Толщину покрытия из
закрепленного грунта назначают из технологических соображений (в зависимости от
глубины перемешивания плугом или фрезой), но не менее 0,3 м, а в нижней трети
лотка - не менее 0,5 м. На рис. 10
представлены варианты вершинного сооружения, называемого дренажной подушкой. В
качестве материала засыпки дренажной подушки следует использовать
крупнообломочный грунт, шлак, битый кирпич, пустую породу террикоников или
любой дренирующий материал с коэффициентом фильтрации 2-10 м/с. Задернованная дренажная
подушка (рис. 10а) представляет собой насыпь из дренирующего
материала в вершине оврага, покрытую сверху слоем растительного грунта с
семенами трав и удобрениями (или слоем дерна), при этом на входе и на выходе
потока насыпь из дренирующего материала оставлена открытой. Кроме того, для
обеспечения безразмываемого истекания потока из слоя материала, на выходе
устроен водобойный колодец. В случае заиления, через несколько лет после
строительства, входного слоя дренирующего материала, поток будет стекать по
сформировавшемуся дерновому покрову, который будет противостоять размыву. Такая
конструкция применима в вершинах оврагов с максимальным расходом стока не более
0,5 мз/с. Преимуществом
задернованной дренажной подушки является улучшение эстетических свойств
ландшафта.
Рис. 10. Варианты конструкций
вершинных дренажных подушек: 1 - дренажный материал; 2 -
слой дерна; 3 - водобойный колодец; 4 - направление движения
потока; 5 - металлическая сетка Общую длину задернованной
дренажной подушки следует определять по формуле: Lздп=ctga(1+i)[2te+ где a -
угол естественного откоса дренажного материала; i - средний уклон дна оврага; t -
толщина слоя засыпки в узком сечении, t = 0,5-0,7 м; e - пористость дренажного
материала; d -
толщина слоя дерна, d= 0,3-0,5 м; Hв -
высота вершинного перепада. Пропускную способность
задернованной дренажной подушки следует определять по формуле: Qздп =kф×t S× где kф
- коэффициент фильтрации дренажного материала; S -
средняя ширина потока воды, м;
Объем дренажного материала,
необходимый для устройства задернованной дренажной подушки, следует определять
из выражения: Vздп=1/2HвSLздп (22) Габионная дренажная подушка
(см. рис. 10 б) является вариантом традиционной открытой
дренажной подушки. Дренажный материал здесь удерживается от сноса металлической
или другой прочной сеткой (в других вариантах можно устанавливать сетку в виде
стенки, опирающейся на колья или устраивать плетень). На выходе потока из
объема дренажного материала в дно оврага втрамбовывают щебень для
предотвращения подмыва конструкции (может быть использована подстилка из
геотекстиля, защемленная засыпкой). Длину дренажной подушки открытого типа
следует определять по формуле: Lдп=300 где k0 - параметр, характеризующий
дружность половодья (для лесной и лесостепной зон Европейской части РСФСР k0 =
0,030-0,012) [4]; h0 - слой суммарного весеннего
стока вероятностью превышения 10 %, мм; F -
площадь водосбора, км2; Hn -
глубина потока при подходе к вершине оврага; Hв,e, kф -
то же, что в формулах (19, 20); п -
показатель степени редукции, принимаемой по [4]. 3.3.3. Дополнительные мероприятия по предотвращению роста овраговК дополнительным и альтернативным
мероприятиям по предотвращению роста оврагов относятся следующие: отвод стока от вершины или
его задержание; уменьшение стока на
водосборной территории; выполаживание и засыпка
оврага, биоинженерные мероприятия. Отвод стока от вершины или его задержание
обеспечивают созданием систем водозадерживающих и водоотводящих земляных валов,
канав или валов-канав. Конструкция водоотводного вала-канавы описана в п.3.2.3. Несмотря на широкое
распространение таких конструкций, при их проектировании следует учитывать ряд
их недостатков. Во-первых, их
создание требует больших капитальных вложений, валы занимают площади, которые
могли бы быть использованы в сельском хозяйстве. Во-вторых, такие валы имеют малую надежность и, в результате их
размыва, эрозия резко усиливается. В-третьих,
эрозия может начаться в местах сброса стока. Из конструкций этого типа
целесообразно использовать валы небольших размеров (валы-распылители) для
защиты вершин оврагов только склонового типа. При этом грунт, из которого будет
сооружаться вал, должен быть укреплен, например, добавками вяжущих. К
мероприятиям, обеспечивающим отвод и задержание стока, относится, также,
создание лесополос. Эта мера весьма эффективна, но требует больших затрат и
применима лишь для защиты от оврагов, вершины которых расположены достаточно
далеко от трубопровода. Уменьшение стока на
водосборной территории достигается увеличением инфильтрации воды в почву. Для
этого применяют специальные агротехнические приемы на пашне, сооружают
дренажные системы (кротование, лункование, поделка щелей и т.д.), а также
высаживают лесопосадки на водосборной территории. Все мероприятия на
водосборной территории затрагивают интересы землепользователя и подразумевают
его активное участие, поэтому применять такие мероприятия для защиты
трубопроводов следует лишь в особых случаях. Однако следует осуществлять
контроль за состоянием водосборных территорий вдоль трасс трубопроводов и
своевременно устранять причины возникновения нежелательных изменений стока
(ненадежные запруды, которые могут быть размыты и т.п.). Выполаживание и засыпку
оврага выполняют следующим образом. Вершину оврага планируют в наклонную
площадку крутизной до 5°. Крутизну и ширину водосброса определяют расчетом по
методике, аналогичной расчету быстротока из закрепленного грунта. Глубину
водосброса обычно принимают равной 0,2-0,3 м с заложением откосов 1:2-1:3,
ширина - 5-12 м. Дно водосброса разрыхляют и разрыхленный слой смешивают с
компостом из расчета 10-15 кг на 1 м2 или вносят минеральные
удобрения. После чего дно засевают смесью многолетних трав. Максимальная
скорость в задернованном водотоке допустима не более 1 м/с. 3.4. Защита размытых участков трубопроводов на пересечениях с временными и малыми водотоками3.4.1. Прогнозирование переформирования русел временных и малых водотоковВертикальная эрозия
временных и малых водотоков может развиваться по типу овражной эрозии либо по
типу речного руслового процесса. В первом случае по дну водотока движется один
или несколько донных врезов. В этом случае расчет максимальной глубины размыва
следует выполнять по формуле (7). Во втором случае следует
определять линию предельного размыва дна водотока по методике [I]. При выполнении прогноза следует
учитывать максимальное количество факторов, которые могут повлиять на
переформирование русла. Особое внимание следует уделять антропогенным
воздействиям на ландшафт как на водосборной площади (см. п.
3.3.3.), так и ниже створа трубопровода по уклону местности, где
вмешательство в природную среду может спровоцировать понижение местного базиса
эрозии. 3.4.2. Конструкции, обеспечивающие механическую защиту размытых участков газопроводовРешение о применении
конструкции, обеспечивающей механическую защиту размытого участка газопровода
от внешних воздействий, следует принимать в случае, если нет возможности
перевести участок в категорию воздушного перехода (например, на криволинейном
участке трассы) и после технико-экономического и экологического сравнения с
вариантами переноса русла водотока, переукладки или подсадки участка
трубопровода. К конструкциям,
обеспечивающим механическую защиту размытых
участков газопроводов, предъявляются следующие требования: защита участка газопровода
от механических воздействий (повреждений при наезде техники и др.),
гидродинамических воздействий и от солнечной радиации; обеспечение фиксированного
положения участка газопровода и целостности грунтового основания; работоспособность конструкции
при частичных повреждениях или непредвиденных изменениях стокового режима; минимальное вмешательство в
природную среду (сохранение естественного режима стока и исключение ущерба
водной фауне); обеспечение возможности
демонтажа конструкции и участка газопровода. В зависимости от положения
размытого участка относительно дна водотока и величины стока следует
проектировать защитную конструкцию одного из трех типов: с пропуском стока над
трубой; с пропуском паводкового
стока над, а меженного - под трубой (с устройством дренажного приямка); с пропуском всего стока под
трубой (с устройством трубного водопропуска). Защитные конструкции с
пропуском стока над трубой, как правило, следует применять в том случае, когда
отсутствует подмыв трубопровода снизу, при этом выполняется одно из следующих
условий: водоток в летний период
полностью пересыхает; водоток постоянный, но
конструкция не будет перекрывать более одной трети живого сечения (в межень). Варианты конструкций с
пропуском стока над трубой представлены на рис. 11. Конструкция (а) на рис. 11 состоит из футеровки, грунтовой обсыпки, обратного
фильтра из геотекстиля и защитного покрытия из каменной наброски. Преимуществом
этой конструкции являются низкая стоимость и простота. Конструкция применима на
водотоках со скоростями течения воды не более 2-3 м/с. Минимально допустимый
диаметр камня, из условия устойчивости в потоке воды, следует определять по
формуле: Dk= где Vmax - максимальная скорость
потока, м/с; g - ускорение свободного
падения, g = 9,81 м/с2; gн. - удельный вес воды Н/м3; gк - удельный вес камня, Н/м3. Конструкция (б) отличается от (а) тем, что
защитное покрытие из каменной наброски заменено матом из ж/б блоков,
скрепленных между собой. Такую конструкцию можно применять при больших
скоростях течения воды. Конструкция (в) состоит из
футеровки, грунтовой обсыпки, обратного фильтра из геотекстиля, слоя
металлической или иной, достаточно прочной, сетки и удерживающих матов из
скрепленных ж/б блоков по обеим сторонам от трубопровода. При отсутствии сетки
может быть использован геотекстиль в 4-6 слоев. Преимуществом такой конструкции
является малая высота, что позволяет использовать конструкцию на водотоках
малой глубины. Конструкции (г) и (д) состоят из футеровки,
грунтовой обсыпки и защитных габионных конструкций. В конструкции (г) габионы представляют собой замкнутые емкости из
металлической сетки, наполняемые камнем на берегу и укладываемые на место
краном. В конструкции (д) габион представляет из себя
мат, состоящий из верхнего и нижнего слоев сетки, скрепленных между собой
проволочными стяжками, и слоя камня между ними толщиной 0,3-0,5 м. Такой
габионный мат монтируют на месте. Преимуществами конструкций (г) и (д)
являются высокая степень надежности конструкции и отсутствие необходимости
устройства обратного фильтра. Конструкция (е) состоит из грунтовой обсыпки трубопровода, обратного
фильтра из геотекстиля и использованных автопокрышек, скрепленных между собой
проволокой и заполненных грунтом. Закрепление мата осуществляется анкерами. Конструкция (ж) состоит из грунтовой обсыпки и мата, представляющего
собой замкнутые емкости из геотекстиля, заполненные грунтом, скрепленные между
собой дополнительными слоями геотекстиля. Преимуществами конструкций (е) и (ж) является отсутствие
необходимости футеровки. Рис. 11. Варианты конструкций для защиты размытых участков трубопроводов на пересечениях с временными и малыми водотоками, (с пропуском воды поверху): 1 - трубопровод; 2 -
футеровка; 3 - грунтовая засыпка; 4 - геотекстиль; 5 - камень; 6 - ж/б блоки; 7
- сетка 1
- трубопровод; 2 - футеровка; 3 - грунтовая засыпка; 4 - геотекстиль; 5
- сетка; 6 - камень; 7 - проволочные стяжки; 8 - автопокрышки; 9 - анкеры 1 - трубопровод; 2 -
футеровка; 3 - грунтовая засыпка; 4 - геотекстиль; 5 - полуфутляр; 6 - консоли; 7 - анкеры; 8 - решетчатые ж/б плиты Конструкция (з) состоит из футеровки, грунтовой обсыпки, обратного
фильтра из геотекстиля и защитного полуфутляра из трубы большего, чем
трубопровод, диаметра. К защитному полуфутляру приваривают консоли, к которым
крепят оголовки анкеров, удерживающих всю конструкцию. Преимуществом
конструкции (з) является малая высота. Конструкция (и) состоит из футеровки, грунтовой обсыпки, обратного
фильтра из геотекстиля и защитного покрытия из решетчатых железобетонных плит,
скрепленных между собой. Использование сплошных плит недопустимо, так как они
будут подмываться и опрокидываться при больших скоростях потока. Преимуществом
конструкций (ж), (з), (и) является возможность индустриализации их
изготовления. Защитные конструкции с
пропуском паводкового стока над, а меженного под трубой следует применять в том
случае, когда газопровод оголен более, чем на половину диаметра, подмыв под
трубой небольшой или отсутствует. В этом случае, если не организовать дренаж
под трубой, в межень вода будет накапливаться перед трубопроводом, образуя пруд.
В то же время, чтобы пропустить весь (и паводковый) сток под трубой,
потребовалось бы значительное нарушение рельефа. Конструкции, применяемые в
этом случае, аналогичны рассмотренным выше (см. рис. 11),
отличие заключается в том, что под трубой отрывают приямок расчетного сечения и
заполняют дренирующим материалом. Варианты конструкций с устройством дренажного
приямка, аналогичные конструкциям (д) и (е), представлены на рис. 12.
Особое внимание при сооружении таких конструкций следует уделять формированию
лоткообразной верхней части конструкции таким образом, чтобы борта лотка
поднимались бы над максимально ожидаемым уровнем потока и, тем самым,
исключался бы боковой подмыв конструкции. 3.4.3. Расчет защитной конструкции с дренажным водопропускомРасчет
защитной конструкции с дренажным приямком следует вести следующим образом:
назначают геометрические размеры конструкции (см. рис. 12),
определяют пропускную способность и сравнивают с фактическим или предполагаемым
(расчетным) расходом воды. Кроме того, сравнивают скорость потока воды над
верхом лотка с допускаемой.
Рис. 12.
Защита размываемого участка трубопровода на пересечении с малым водотоком: а) вид размываемого участка;
б), в) конструкции защитных сооружений 4 - дренажная обсыпка; 5 -
габионный мат; 6 - мат из автопокрышек Пропускную способность
дренажного приямка определяют по формуле: Qд=kфw где kф -
коэффициент фильтрации, м/с; w - поперечное сечение
канала, м2; w = hb, где h -
глубина приямка (вертикальный размер сечения приямка), м; b -
ширина приямка, м;
где DН - перепад высот (по дну), м; Lдр - продольный размер (путь
воды от места входа в наброску до места выхода из нее), м. Пропускную способность лотка
в период весеннего паводка определяют по формуле: Q=Qд+Qф+Qв (26) где Qф - фильтрационный расход через
наброску над трубой, мс, определяют аналогично Qд по формуле (25); Qв -
расход воды, перетекающей через верх лотка, м/с, определяют из выражения: Qв =mpbл где mp -
коэффициент расхода, mp= 0,46 (Z/H0)1/5 bл - ширина водопропускного лотка, м; Н0 - допускаемая глубина потока над верхом лотка, м; Z -
перепад уровня воды, м. Скорость потока над гребнем
лотка следует определять по формуле: Vв= где DZ/Н - параметр, определяемый по графику, представленному на рис. 13 в зависимости от (DZ/Н). Рис. 13. Расчетная схема защитной конструкции с дренажным приямком и график
для определения параметра DZ/Н 3.4.4. Защитные конструкции с трубными водопропускамиЗащитные конструкции с
пропуском стока под трубопроводом (с устройством трубного водопропуска)
применяют в том случае, когда просвет над размытым участком достигает
значительных размеров, а перевод участка в категорию воздушного перехода, по
какой-либо причине, невозможен. Один из вариантов защитной конструкции с
трубным водопропуском показан на рис. 14. При проектировании
водопропусков следует определять диаметр и количество водопропускных труб при
заданном уклоне либо определять минимальный уклон при известных диаметре и
количестве труб. Кроме того, следует проверять, не будет ли заиливаться
водопропускная труба. Для этого средняя в сечении скорость потока не должна
быть меньше: для труб диаметром до 500 мм - 0,7 м/с; для труб диаметром более
500 мм - 0,8 м/с. Диаметр водопропускных труб
следует определять следующим образом: Задаются коэффициентом
наполнения труб: a= где hn - глубина потока в трубе, м; Dвн - внутренний диаметр трубы, м. При отсутствии особых
условий следует назначать а = 0,75. Определяют требуемую
расходную характеристику Кn при заданном наполнении по
формуле: Кn= где Q - расход заданной
обеспеченности, приходящейся на одну трубу, м/с, определяется согласно [4]; i - уклон трубы. По графику рис. 15, при заданном а,
находят значение отношения Кn/Кр.
Рис. 14. Вариант конструкции для защиты размытого участка
трубопровода на пересечении с временным или малым водотоками (с устройством
трубного водопропуска) 1 - трубопровод; 2 - трубный
водопропуск; 3 - каменная наброска; 4 - металлическая сетка; 5 - футеровка; 6 - защитная
решетка; 7 - ограждение; 8 - сливные окна Рис.
15. Графики для расчета трубного водопропуска Определяют расходную
характеристику при заполнении всего сечения по формуле: Kp= Определяют требуемый диаметр
водопропускных труб по графику (см. рис. 15) в
зависимости от Кp При расчете уклона по
известному диаметру порядок расчета обратный, уклон определяют из выражения: i = Кроме того, при расчетах
следует учитывать гидравлические сопротивления устройств на входе и выходе
водопропуска. Длину водопропускных труб
необходимо ограничивать, так как длинные оголенные концы труб в зимний период
способны обмерзать по всему сечению. Это особенно важно в многониточных коридорах,
когда между нитками трубопроводов скапливается вода от таяния снега. Эффективное применение
водопропускных труб под действующим трубопроводом в северных районах возможно
только при положительной температуре транспортируемого продукта. При этом, с
целью предотвращения обмерзания оголовков, отметки верхних концов
водопропускных труб должны располагаться выше центральной их части, находящейся
под осью действующего трубопровода. "Севернипигаз"
совместно с ДП "Севергазпром" предложили вариант комбинированного
водопропуска для северных условий, представленный на рис. 16.
Конструкция позволяет одновременно обеспечить отвод и унос тепла потоком
пропускаемой воды. В корпусе водопропускного канала 1, выполненного из эластичного материала, устанавливают с двух сторон газопровода
жесткие фильтрующие оголовки 2, обеспечивающие заданный расход воды и
одновременно воспринимающие нагрузку от обвалования 7 через мембрану 5 из
нетканого синтетического материала. Оголовки могут быть изготовлены из
сегментов труб, обрезков труб малых диаметров и стальных пластин. Такая
конструкция в меньшей степени подвержена обмерзанию, сохраняет мерзлоту в
основании трубопровода, изоляцию и стенку трубопровода при подвижках трубы и
может, несмотря на достаточную их сложность, с успехом использоваться в
северных условиях.
Рис. 16. Водопропускное сооружение: 1 - эластичный канал; 2 -
жесткие оголовки; 3 - русло ручья; 4 - труба; 5 - полотнище НСМ; 6 - грунт; 7 -
валик 3.5. Сбор и пропуск воды по водопропускным сооружениямВ случае технической
невозможности или чрезмерной дороговизны защиты трубопровода, размытого малыми
и временными водотоками, с помощью рассмотренных конструкций, рекомендуется при
удобном рельефе местности сбор и пропуск воды над трубопроводом по специальным
водопропускным сооружениям. Конструкция водоприемного
устройства и донного слива представлена на рис. 17. В этом случае выше створа
трубопровода устраивают грунтовую плотину для перехвата и сбора воды с
водоприемным устройством 1, отводными трубами 2 для пропуска воды над
защищаемым трубопроводом и донной сливной трубой 5 с задвижкой 4 для слива
пруда осенью или при очистке дна. Высоту плотины, количество и
диаметр отводных труб определяют расчетом по расходу паводковой воды 5 %
обеспеченности [4]. Для пропуска воды над защищаемым
трубопроводом можно использовать трубы, лотки из металла, железобетона и
бетона. При проектировании сооружения необходимо рассчитать отводящие трубы и
размеры водоприемного устройства. Расход воды через водоотводящую трубу
определяют по формуле: Q=mnwp где mn - коэффициент расхода; wp - полное живое сечение
водоотводящих труб; g -
ускорение свободного падения; z -
перепад столба воды в водоприемном устройстве. Коэффициент расхода находят
из выражения: mn = Sxвх=xвх+xреш+xзатв где xвх = 0,65 - коэффициент
сопротивления на входе; xреш,= 1,5 (d/d1) - коэффициент сопротивления входной решетки; d -
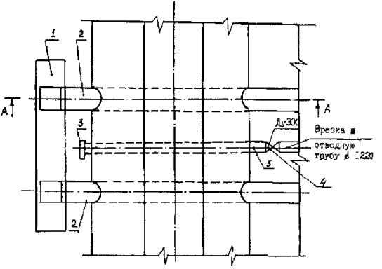
диаметр отводной трубы; d1 - диаметр входной камеры; Рис. 17. Конструкция водоприемного устройства и донного слива: 1 - водоприемник; 2 - отводная труба; 3 - оголовок с
решеткой, Дн=350 мм; 4 - задвижка, Ду 300; 5 -
донная сливная труба xзатв = 02 - коэффициент, учитывающий
форму затвора; xпов - коэффициент сопротивления
на повороте, при отсутствии водоприемной башни xпов=0; l = 0,025-0,030 - гидравлический коэффициент; l - длина водоотводящей
трубы. Полное живое сечение
водоотводящей трубы определяют по формуле:
где d -
внутренний диаметр отводящей трубы. Перепад столба воды в
водоприемном устройстве определяют из выражения: Z=Н-0,5d, (36) где Н - высота столба воды в пруду относительно нижней образующей конца
водоотводящей трубы (см. рис. 17); с1 -
диаметр водоотводящей трубы. Необходимое количество
водоотводящих труб определяют по формуле:
где Qсб5% - сбросовый расход при
паводке с 5 % вероятностью превышения (ВП): Qсб5%=ja5%× Q5%, где Q5% - расход паводковых вод с 5
% ВП, определяют по данным работы [4]; ja5% - коэффициент аккумуляции пруда, определяют из
выражения: ja5%=1-Wак / Wсб5% , где Wак - аккумулирующая
способность (вместимость) пруда, определяемая как геометрический объем по
планам, размерам плотины и максимальному горизонту воды; Wсб5% - сбросовый объем для паводкового расхода с 5 % ВП, Wсб5%=W5%-Wак, где W5% - максимальный
объем стока весеннего паводка с 5 % ВП, определяется по данным работы [4]. Полученное дробное число
отводящих труб округляют до большего целого. Расчет размеров в плане
водоприемного устройства производится по формуле: Qсб5% = mLпер где т -
коэффициент расхода, зависящий от величины напора Н и геометрических размеров
устройства в плане (по данным экспериментов т
=0,46); . Lпер - длина периметра кромки
водоприемного устройства; DН -
напор воды на верхней кромке водоприемного устройства (максимальное экономически
целесообразное значение DН = 0,35 м); Qсб5% -
сбросовый расход при паводке с 5 % ВП. Из формулы (38) определяют длину периметра верхней кромки
водоприемного устройства. 4. Организация и технология выполнения работ4.1. Организация и технология сооружения противоэрозионных
| |||||||||||||||||||||||||||||||||||||||||||||||||||||||||||||||||||||||||||||||||||||||||||||||||||||||||||||||||||||||||||||||||||||||||||||||||||||||||||||||||||||||||||||||||||||||||||||||||||||||||||||||||||||||||||||||||||||||||||||||||||||||||||||||||||||||||||||||||||||||||||||||||||||||||||||||||||||||||||||||||||||||||||||||||||||||||||||||||||||||||||||||||||||||||||||||||||||||||||||||||||||||||||||||||||||||||||||||||||||||||||||||||||||||||||||||||||||||||||||||||||||||||||||||||||||||||||||||||||||||||||||||||||||||||||||||||||||||||||||||||||||||||||||||||||||||||||||||||||||||||||||||||||||||||||||||||||||||||||||||||||||||||||||||||||||||||||||||||||||||||||||||||||||||||||||||||||||||||||||||||||||||||||||||||||||||||||||||||||||||||||||||||||||||||||||||||||||||||||||||||||||||||||||||||||||||||||||||||||||||||||||||||||||||||||||||||||||||||||||||||||||||||||||||||||||||||||||||||||||||||||||||||||||||||||||||||||||||||||||||||||||||||||||||||||||||||||
|
1.
Отсыпка грунта, послойное уплотнение и планировка |
2.
Подготовка поверхности грунта |
3.
Внесение вяжущего |
4.
Перемешивание вяжущего с грунтом |
5.
Уплотнение покрытия |
6.
Рекультивация |
|
|
|
|
|
|
|
1 - автосамосвал; 2 -
бульдозер; 3 - трактор; 4 - плуг навесной трех- или четырехкорпусной;
5 - автогудронатор или
машина для внесения органических удобрений.
Примечание.
1. Вместо бульдозера в операциях 1 и 6 допускается применение
экскаватора-планировщика.
2. Вместо автосамосвала в операции 5 допускается применение пневмоколесного
катка.
|
1.
Отсыпка грунта, послойное уплотнение и планировка |
2.
Устройство грунтового лотка |
3.
Внесение вяжущего и перемешивание его с грунтом |
4.
Перевозка и укладка вяжуще-грунтовой смеси |
5.
Уплотнение покрытия |
6.
Рекультивация |
|
|
|
|
|
|
|
1 - автосамосвал; 2 -
бульдозер; 3 - одноковшовый экскаватор; 4 - автогудронатор или машина для
внесения органических удобрений
Примечания. 1. Вместо
бульдозера и одноковшового экскаватора во всех операциях допускается применение
экскаватора-планировщика.
2. Вместо автосамосвала в
операции 5 допускается применение пневмоколесного катка.
возможность использования,
для последующего внесения вяжущего в грунт, недорогих, маневренных, простых по
конструкции и удобных в работе механизмов, предназначенных для внесения в грунт
органических удобрений (Приложение 6, табл. 2).
Схема транспортировки без
промежуточного складирования позволяет сократить число механизмов и оборудования,
исключить дополнительные операции и сократить сроки работ. Эту схему
рекомендуется использовать в том случае, если плечо возки вяжущего не превышает
100 км, и есть возможность совместить по времени транспортировку вяжущего и
последующие работы. В остальных случаях рекомендуется использовать схему с
промежуточным складированием.
4.1.8. При наличии
плодородного слоя в месте устройства противоэрозионного покрытия или в месте
срезки грунта, следует снять плодородный слой бульдозером или экскаватором-планировщиком
(см. Приложение 6, табл. 3) и складировать во
временный отвал.
4.1.9. Отсыпку грунта под
устраиваемое покрытие производят привозным грунтом, транспортируемым
автосамосвалами или путем срезки грунта с прилегающих участков бульдозером или
экскаватором-планировщиком, если срезка грунта предусмотрена в проекте
производства работ. После выгрузки каждого автосамосвала выполняют планировку
грунта бульдозером или экскаватором-планировщиком, затем следующий автосамосвал
до разгрузки производит уплотнение слоя спланированного грунта двумя-тремя
проездами (см. рис. 18 операция 1).
4.1.10. Работы по устройству
собственно покрытия из закрепленного грунта могут быть выполнены по двум схемам:
внесением вяжущего в грунт на месте будущего покрытия (см. рис.
18, схема I, операции 2-4) или приготовлением вяжуще-грунтовой смеси в
карьере или другом удобном месте с ее последующей транспортировкой и укладкой
(см. рис. 18, схема II, операции 2-4). Работы
выполняют по схеме II в том случае, если нет
возможности доставлять вяжущее к месту устройства покрытия или перемешивать
грунт с вяжущим на месте (например, при большой крутизне склона). Если
отсутствуют механизмы для работы по схеме I (навесной
плуг), работы выполняются по схеме II, но грунтовый лоток устраивают на месте
будущего покрытия или в непосредственной близости от него.
4.1.11. При выполнении работ
по схеме I последовательность операций по устройству
собственно покрытия следующая:
1) подготовка поверхности
грунта под внесение вяжущего путем вспашки;
2) внесение вяжущего в
объеме, соответствующем проектной дозировке;
3) перемешивание вяжущего с
грунтом путем многократной вспашки.
Вспашку следует производить
плугом навесным трех- или четырехкорпусным
(см, Приложение 6, табл. 4), агрегатируемым с соответствующим
трактором
(см. Приложение 6, табл. 5). На плуг следует
устанавливать отвалы и лемехи с полувинтовой или винтовой формой рабочей
поверхности.
4.1.12. При выполнении работ
по схеме II последовательность операций по устройству
собственно покрытия следующая:
1) устройство грунтового
лотка объемом 20-30 м3;
2) внесение вяжущего в
объеме, соответствующем проектной дозировке;
3) перемешивание вяжущего с
грунтом одноковшовым экскаватором с обратной лопатой или
экскаватором-планировщиком (см. Приложение 6, табл. 3);
4) укладка и планировка
вяжуще-грунтовой смеси бульдозером или экскаватором-планировщиком.
4.1.13. Внесение вяжущего
следует производить автогудронатором или машиной для внесения органических
удобрений (см. Приложение 6, табл. 1 и 2). При их отсутствии допускается использовать для
внесения вяжущего в грунт автобитумовозы (см. Приложение
6, табл. 1). Перемешивание следует производить до полной однородности
смеси, определяемой визуально.
4.1.14. Уплотнение покрытия
(см. рис. 18, операция 5) следует производить
многократными проходами груженого автосамосвала или пневмоколесного дорожного
катка. В труднодоступных местах допускается уплотнять покрытие ковшом
одноковшового экскаватора или ручными трамбовками. Уплотнение производят до
достижения плотности закрепленного грунта не ниже 1800 кг/м3.
4.1.15. Рекультивацию (см. рис.
18, операция 6)
следует производить бульдозером или экскаватором-планировщиком. В процессе
рекультивации, все участки с поверхностью, нарушенной земляными работами, в том
числе, всю поверхность противоэрозинного покрытия, следует покрывать
плодородным слоем толщиной не менее 0,2 м. В процессе укладки плодородного слоя
следует вносить семена быстрорастущих трав при норме высева не менее 4 г/м2
(40 кг/га). Уложенный плодородный слой следует уплотнить одним проходом
порожнего автосамосвала.
Разнообразие конструкций
противоэрозионных сооружений и используемых материалов определяет разнообразие
технологических схем и приемов выполнения работ.
При выполнении работ следует
руководствоваться общими положениями ВСН
004-88 "Технология и организация строительства",
(Миннефтегазстрой) [5] и указаниями ведомственных правил [5, 6, 7, 8, 9].
1. РАСКЛАДКА НИЖНЕГО СЛОЯ СЕТКИ

2. УСТАНОВКА ПРОВОЛОЧНЫХ СТЯЖЕК

3. ПОСЛЕДОВАТЕЛЬНАЯ ОТСЫПКА КАМНЯ

4. РАСКЛАДКА И ЗАКРЕПЛЕНИЕ ВЕРХНЕГО СЛОЯ
СЕТКИ

Рис. 19. Технология устройства габионного мата
Технология устройства
габионных покрытий, являющихся составной частью многих видов защитных
конструкций, представлена на рис. 19. Габионное покрытие
представляет собой слой камня, заключенный между двумя слоями металлической
сетки. Раскладку сетки, установку проволочных стяжек и закрепление верхнего
слоя производят вручную, отсыпку камня - одноковшовым экскаватором или из
самосвалов. Планировку - бульдозером или экскаватором-планировщиком (Приложение 6, табл. 3).
Контроль качества приемки
работ, оформление приемо-сдаточных документов производят в соответствии с [10, 11].
5.1. При производстве работ
по устройству покрытий из закрепленного грунта на трассах вновь строящихся
газопроводов следует руководствоваться требованиями безопасности и санитарии,
изложенными в нормативных документах - СНиП
III-4-80 и "Правилах техники безопасности при строительстве
трубопроводов", а на трассах действующих и ремонтируемых трубопроводов -
изложенными в СНиП
III-4-80 и "Правилах".
5.2. К выполнению работ по
устройству покрытий из закрепленного грунта могут быть допущены рабочие,
достигшие 18 лет, прошедшие медицинское освидетельствование и инструктаж по
технике безопасности согласно ГОСТ 12.0.004-79 "Система стандартов
безопасности труда. Организация обучения работающих безопасности труда. Общие
положения".
5.3. Следует не допускать
разлива вяжущего. При случайном разливе вяжущего необходимо перемешать его с
грунтом и использовать для устройства покрытия.
5.4. Работающим с нефтяным
вяжущим должны выдаваться комбинезон хлопчатобумажный, ботинки кожаные, рукавицы
комбинированные, согласно типовым отраслевым нормам.
5.5. Хранить нефтяное
вяжущее следует в закрытых емкостях. При использовании, для внесения в грунт
вяжущего, машин для внесения органических удобрений, эти машины должны быть
оборудованы согласно требованиям, предъявляемым к битумовозам. Все механизмы на
участке производства работ должны быть оснащены огнетушителями.
5.6. Перед началом работ
должно быть установлено точное положение трубопроводов (при необходимости,
путем шурфовки) и выставлены опознавательные знаки. Места переезда техники
через газопровод должны быть оборудованы согласно требованиям
"Правил" [6, 7, 8].
5.7. Если покрытие
устраивается непосредственно над действующим газопроводом, работы должны
выполняться в присутствии представителя организации, эксплуатирующей
газопровод.
5.8. При укладке и
разравнивании камня не допускается свободное падение камней с любой высоты. На
газопроводах работы ведут при давлении не более 70 % от рабочего, на
нефтепроводах - при давлении не более 2,5 МПа.
5.9. Не допускается
применение машин, механизмов и тяжелого механизированного инструмента на
расстоянии ближе 0,3 м от стенки трубы, при работе под давлением. Рабочие, допущенные
к выполнению работ по изоляции, футеровке и засыпке трубопровода, должны пройти
специальный инструктаж на рабочем месте.
5.10. При выполнении
изоляционных работ, кроме требований СНиП
III-4-80 и "Правил эксплуатации", необходимо выполнение ГОСТ
12.3.016-87.
1. ВСН
163-83 / Миннефтегазстрой. Учет деформаций речных русел и берегов
водоемов в зоне подводных переходов магистральных трубопроводов
(нефтегазопровод). - Л.: Гидрометеоиздат, 1985. - 144 с.
2. СНиП 1.02.07.87.
Инженерные изыскания для строительства/Госстрой СССР. - М.: ЦИТП Госстроя СССР,
1988.- 104 с.
3. Справочник по климату СССР.
Часть 1У. Влажность воздуха, атмосферные осадки, снежный покров. - Л.:
Гидрометеоиздат, 1968.
4. СНиП
2.01.14-83. Определение расчетных гидрологических характеристик /
Госстрой СССР. - М.: Стройиздат, 1985. - 36 с.
5. ВСН
004-88 / Миннефтегазстрой. Строительство магистральных
трубопроводов. Технология и организация.
- М.: ВНИИСТ, 1990. - 93 с.
6. Правила технической
эксплуатации магистральных газопроводов.
- М.:
Недра, 1989.-142с.
7. Правила технической
эксплуатации магистральных нефтепроводов. - М.:
Недра, 1979.-159с.
8. Правила технической
эксплуатации магистральных нефтепродуктопроводов. - М.: Недра, 1989. - 152 с.
9. ВСН 51-1-80 / Мингазпром.
Инструкция по производству строительных работ в охранных зонах магистральных
газопроводов Министерства газовой промышленности. - М.: ВНИИЭгазпром, 1982. -
23 с.
10. ВСН
012-88 / Миннефтегазстрой. Строительство магистральных и промысловых
трубопроводов. Контроль качества и приемки работ, части I и II. - М.:
ВНИИСТ, 1989.
11. СНиП
1.06.05-85. Положение об авторском надзоре проектных организаций за
строительством предприятий, зданий и сооружений / Госстрой СССР. - ЦИТП
Госстроя СССР, 1985. - 8 с.
Программа
"SKLON" предназначена для
расчета параметров размыва дождевым стоком склона, разбитого на участки с
постоянным (для каждого участка) уклоном. Программа позволяет определять
допускаемую неразмывающую скорость, интенсивность впитывания воды, координату
точки начала размыва, скорость потока и глубину размыва, причем два последних показателя
определяются для границ участков склона и для задаваемого числа промежуточных
точек на каждом участке.
Ниже приведены обозначения
переменных, использованных в программе.
Таблица идентификаторов
|
Наименование
величины, единица измерения |
Обозначение
в методике |
Обозначение
в программе |
|
Константа выбора режима
вывода |
- |
- |
|
Число участков склона |
- |
Z |
|
Число промежуточных точек
на участке |
- |
N |
|
Продолжительность осадков,
ч |
- |
Т |
|
Интенсивность осадков, мм/
мин |
- |
01 |
|
Интенсивность осадков, м/с |
J |
0 |
|
Класс почвогрунта по
водопроницаемости |
- |
S |
|
Интенсивность впитывания,
мм/мин |
- |
02 |
|
Интенсивность впитывания,
м/с |
Jо |
03 |
|
Коэффициент шероховатости |
n0 |
NÆ |
|
Коэффициент
изборожденности склона |
m1 |
М1 |
|
Коэффициент условий
размыва |
т |
М2 |
|
Сцепление грунта, кН/м2 |
- |
01 |
|
Сцепление грунта, Н/м2, |
С |
с |
|
Средний диаметр агрегата
грунта, мм |
- |
01 |
|
Средний диаметр агрегата
грунта, м |
d |
0 |
|
Удельный вес частиц
грунта, кН/м3 |
- |
G1 |
|
Удельный вес частиц
грунта, Н/м3 |
g |
G |
|
Допускаемая неразмывающая
скорость, м/с |
VDдоп |
vg |
|
Номер участка склона |
j |
р |
|
Длина участка, м |
- |
L(p) |
|
Расстояние
до водораздела (фактическое или мнимое), м |
X,Xмн |
X |
|
|
Константа
А=22,2(1-к)озn0озm1 |
- |
А |
|
|
Действительная
донная скорость в конце j участка, м/с |
VDxj |
V(j) |
|
|
Длина
неразмываемого участка, м |
Lнеразм |
L1 |
|
|
Расстояние
между промежуточными точками, м |
- |
L(j) |
|
|
Номер
промежуточной точки |
- |
j |
|
|
Расстояние
от начала участка до точки, м |
- |
Y(j) |
|
|
Действительная
донная скорость в промежуточной точке, м/с |
VDx |
W(j) |
|
|
Глубина
размыва в промежуточной точке, м |
Dhx |
H(j) |
|
|
Конвертированные
константы и переменные: |
|
|
|
|
водопоглощение
почвогрунта, мм/мин |
- |
02# |
|
|
допускаемая
неразмывающая скорость, м/с |
VDдоп |
VY# |
|
|
действительная
донная скорость в конце участка |
VDx |
V# |
|
|
длина
неразмываемого участка, м |
Lнеразм |
L# |
|
|
номер
промежуточной точки |
- |
J# |
|
|
расстояние
от начала участка до точки, м |
- |
l# |
|
|
действительная
донная скорость в промежуточной точке, м/с |
- |
W# |
|
|
глубина
размыва в промежуточной точке, м |
Dhx |
H(j)# |
|
Порядок расчета по программе следующий:
1) производят загрузку в ЭВМ
языка "Бейсик" и программы "SKLON";
2) после запуска программы
выбирают режим вывода - на экран или на АЦПУ;
3) вводят запрашиваемые
программой следующие исходные данные:
число участков;
число промежуточных точек на
участке;
продолжительность осадков
(час.);
интенсивность осадков
(мм/мин);
класс грунта по
водопроницаемости;
коэффициент шероховатости;
коэффициент изборожденности
склонов;
коэффициент условий размыва;
сцепление грунта (кН/м2);
средний диаметр агрегата
грунта, мм;
удельный вес частиц грунта
(кН/м3);
4) выводят на экран или на
печать введенные исходные данные, а также данные, заложенные в программе:
удельный вес воды, коэффициент однородности грунта и частота пульсационных
скоростей потока;
5) рассчитывают и выводят на
экран или на печать значения допускаемой неразмывающей скорости и интенсивности
впитывания влаги в грунт;
6) вводят, запрашиваемые
программой, значения длины и уклона первого участка;
7) рассчитывают и выдают на
экран или на печать значения скорости и глубины размыва в конце участка и в
промежуточных точках, а также расстояние от начала участка до каждой
промежуточной точки;
8) вводят данные и
производят аналогичный расчет для второго, затем для последующих участков
склона.
Таким образом, перед тем,
как производить расчет по программе, следует подготовить необходимые исходные
данные в тех размерностях, в которых они будут вводиться в машину. Коэффициент
условий размыва определяют по формуле
т = тг тз ли, класс грунта по
водопроницаемости - по табл.
3.
Ниже приведен пример расчета
по программе "SKLON".
"КОНТРОЛЬНЫЙ
ПРИМЕР"
Исходные данные
Продолжительность осадков
(ч) 1
Интенсивность осадков
(мм/мин) 1
Класс грунта (почвы) по
водопроницаемости 2
Коэффициент шероховатости 0,03
Коэффициент изборожденности
склона 1
Коэффициент условий размыва 1
Сцепление грунта (кН/м2) 30
Средний диаметр агрегата
грунта (мм) 3
Удельный вес частиц грунта
(кН/м3) 26
Удельный вес воды (кН/м3) 11
Коэффициент однородности
грунта 0,5
Частота пульсационных
скоростей потока (1/с) 10
Результаты расчета
Допускаемая неразмывающая
скорость (м/с) 0,424
Интенсивность впитывания
влаги в грунт(почву) (мм/мин) 0,35
Участок номер 1
Длина участки (м) 20
Уклон участка 0,1
Скорость в конце участка
(м/с) 0,275
Размыв на участке
отсутствует
Участок номер 2
Длина участка (м) 58
Уклон участка 0,25
Скорость в конце участка
(м/с) 0,528
Размыв начинается в (м) от
начала участка 023,2
Y -
расстояние от начала участка до j точки (м)
W -
действительная донная скорость в j точке (м/с)
Н - глубина размыва в j
точке (м)
j=01 Y=00029,95 W=0,457
Н=0,0001
j=02 Y=00036,63 W=0,480
Н=0,0001
j=03 Y=00043,31 W=0;501
Н=0,0002
j=04 Y=00050,00 W=0,520
Н=0,0003
Участок номер 3
Длина участка
(м) 30
Уклон участка
0,15
Скорость в
конце участка (м/с) 0,566
Y -
расстояние от начала участка до j точки (м)
W - действительная
донная скорость в j точке (м/с)
Н - глубина размыва в j точке
(м)
J=01 Y=00007,50 W=0,537
Н=0,0004
J=02 Y=00015,00
W=0,547 Н=0,0004
J=03 Y=00022,50
W=0,557 Н=0,0004
J=04 Y=00030,00
W=0,566 Н=0,0005
Таблица
1
Ткани
|
Наименование,
марка |
Химическая
основа волокон |
Поверхн.
плотн., г/м2 |
Разрывная
нагрузка 50х200 мм, кгс/см |
Разрывное
удлинение, % |
ТУ,
завод-изготовитель |
|||
|
Основа |
Уток |
Основа |
Уток |
|||||
|
Ткань капроновая техническая для балластировки
газопроводов ТБГ-360 |
Капрон-6 (187т.) |
355±10 |
360 |
360 |
30 |
30 |
ТУ 6-06-6-67-87 |
|
|
Ткань полиамидная для изготовления контейнеров
ТПК-360 |
-"- |
360+30 |
360 |
360 |
30 |
30 |
ТУ 6-13-576356--73-90 ТУ
13-0204024-34-89 |
|
|
Ткань полиамидная техническая ТП-110 |
-"- |
380±30 |
400 |
- |
30 |
- |
Заводы «Химволокно»
(Тверь, Щекино и др.) |
|
|
Ткань техническая полиэфирная ТБК-4А (ТТБК-4А) |
Лавсан (345 т.) |
800 |
900-1000 |
650-750 |
16-18 |
21-24 |
ТУ 17 УССР 2 (проект. Киевская фабрика
технических тканей) |
|
|
Ткань техническая полиэфирная ТБК-4Б |
Лавсан (227т.) |
550 |
600 |
390 |
20-21 |
19 |
-"- |
|
|
Ткань лавсановая ТЛ-60 - РО |
Лавсан (111т.) |
<300±20 |
324 |
324 |
21 |
21 |
ТУ РСФСР 18-11670-88 |
|
|
Лента техническая марки ЛТСП-200 (трехслойная для
силовых элементов анкерных устройств) |
Высокомодульная нить из ароматических полиамидов
("Аромос") СП-167 т. (основа) НПэф-Шт. х 2 (уток) |
780 (15бг/п.м.) |
3800 (14,0-16,5 т/ширину) |
- |
11-12 |
- |
ТУ 6-12-31-706-89 |
|
Таблица 2
Нетканые иглопробивные
материалы
|
Наименование,
марка |
Химическая
основа волокон |
Поверхн.
плотность, г/м2 |
Разрывная
нагрузка 50х200 мм, кгс/см |
Разрывное
удлинение, % |
ТУ,
завод-изготовитель |
||
|
Основа |
Уток |
Основа |
Уток |
||||
|
Терфил-100%, полиэфир |
Полиэфир |
450 |
85 |
150 |
105 |
85 |
фирма "Термо-форг"(Венгрия) |
|
Biddim - 7 |
Полиэфир |
340 |
105 |
95 |
70 |
70 |
фирма "Поли-фельт" (Австрия) (завод во
Франции) |
|
Основа иглопробивная теплошумоизоляционная для
искусственной кожи |
Полиакрилонитрит +
полиэфир, 50: 50 (отходы пряжи) |
600+80 |
50-100 |
60-100 |
75-85 |
60-80 |
ТУ 17-21-570-86 Одесский
завод кож. заменителей |
|
Тип
рулонного материала |
С 00.
520 |
Д 00.
530 |
Д 00.
006 |
23.142 |
30.
143 |
43.
144 |
50.145 |
|
Полимер |
Полиэтилен |
Полиэтилен / пропилен |
Полиэстер /
поливинилхлорид |
||||
|
Прочность в продольном направлении, кН/м |
30 |
60 |
25 |
15 |
20 |
30 |
35 |
|
Прочность в поперечном направлении, кН/м |
30 |
35 |
30 |
14 |
20 |
29 |
32 |
|
Относительное удлинение по длине, % |
15 |
25 |
25 |
15 |
15 |
15 |
15 |
|
Относительное удлинение по ширине, % |
20 |
20 |
18 |
18 |
20 |
18 |
18 |
|
Размер ячейки, мм |
0,69 |
0,46 |
0,66 |
3,5 |
2,0 |
1,5 |
1,2 |
|
Масса единицы площади, г/м2 |
120 |
200 |
130 |
130 |
265 |
220 |
225 |
|
Стандартная ширина, м |
1,7 |
3,8 |
3,8 |
3,8 |
3,8 |
1,7 |
1,7 |
|
|
2,0 |
|
|
|
|
2,0 |
2,0 |
|
|
5,1 |
|
|
|
|
3,7 |
3,7 |
|
|
|
|
|
|
|
|
5,0 |
|
Стандартная длина в одном |
|
|
|
|
|
|
|
|
рулоне, м |
100 |
100 |
100 |
200 |
200 |
100 |
100 |
|
Масса одного рулона, кг |
1,7 |
67 |
52 |
66 |
155 |
37 |
42 |
|
|
2.0 |
|
|
|
|
43 |
48 |
|
|
5,1 |
|
|
|
|
77 |
86 |
|
|
|
|
|
|
|
|
115 |
|
Вид
вяжущего |
Преимущества |
Ограничения |
Область
применения |
|
вмт-л |
Высокая сопротивляемость закрепленного грунта
размыву |
Необходимость точной дозировки. Отсутствие
промышленных установок для выпуска вяжущего |
Элементы конструкций, испытывающие повышенные
гидродинамические нагрузки (быстротоки, покрытия на склонах и откосах,
берегоукрепления, перемычки) |
|
Универсин-В |
Высокая прочность закрепленного грунта на сжатие |
Необходимость увлажнения сухого грунта перед
вскрытием. Выполнение работ в теплое время года |
То же, и дополнительно-водоотводные валы и
валы-распылители |
|
Универсин - Л |
Возможность использования при пониженных
температурах. Легкость перемешивания |
Малая прочность на сжатие. Необходимость точной
дозировки |
Покрытия, пологих склонов, быстротоки, конструкции
с незначительными механическими нагрузками |
|
ВМТ- экран |
Высокая прочность закрепленного грунта на сжатие.
Легкость перемешивания. Возможность приготовления в полевых условиях |
Низкая сопротивляемость размыву. Отсутствие опыта
промышленного использования |
Гидрофобизация обсыпок, траншейные перемычки,
склоны, откосы |
|
Вид
вяжущего, температура застывания |
Оптимальная
дозировка вяжущего, % |
Оптимальная
исходная влажность грунта, % |
Примерные
значения показателей при 30 °С |
Устойчивость
свойств |
||
|
После
2-х суточного водонасыщения |
При
изменении дозировки вяжущего (Д) |
При
изменении исходной влажности грунта Wн |
||||
|
допускаемая
неразмывающая скорость (Vдн), м/с |
Прочность
расжатия (R), МПа |
|||||
|
Грунт без вяжущего |
- |
24 |
0,40 |
15 |
- |
- |
|
вмт-л t = - 6 °С |
4-6 |
18-22 |
0,90 |
35 |
Передозировка
нежелательна, при Д=10% Vдн уменьшается до 0,55,
м/с |
При Wн³26% положительный эффект
по Vдн слабо выражен. Значения R стабильны (20-45 МПа) Wн =
16-26% |
|
Универсин-В t=+10°С |
6-8 |
22-26 |
0,85 |
50 |
Допускается передозировка
до 10%, при Д=12% Vдн уменьшается до 0,60 м/с |
По Vдн
менее других вяжущих чувствителен к колебаниям, Wн по R.
оптимально при Wн³ 22% |
|
Универсин-Л t=- 15 °С |
4-6 |
18-22 |
0,85 |
20 |
Передозировка
нежелательна, при Д= 10% Vдн уменьшается до 0,50 м/с |
При Wн³26% положительный эффект
по Vдн слабо выражен. по К оптимально Wн >22% |
|
BMT-экран t = - 8 °С |
6-Ю |
18-22 |
0,65 |
45 |
Допускается передозировка
до 12 %, при этом Vдн уменьшается до 0,60 м/с |
При Wн³22% положительный эффект
по Vдн слабо выражен, значения R стабильно высокие при Wн =
18-26% |
Техническая характеристика
автогудронаторов и автобитумовозов
|
Модель
машины |
База
машины |
Вместимость
цистерны, м3 |
Максимальная
скорость с грузом, км/ч |
Масса
без груза, кг |
Ширина
распределения вяжущего, м |
Изготовитель |
|
Автогудронаторы |
||||||
|
ДС-142 . |
КамАЗ-53213 |
7,0 . |
80 |
10725 |
2-4 |
- |
|
ДС-39Б |
Зил-130-80 |
4,0 |
90 |
5780 |
2-4 |
- |
|
ДС-53А |
полуприцеп, тягач
Зил-130В1 |
6,0 |
60 |
8780 |
2-4 |
- |
|
Автобитумовозы |
||||||
|
ДС-138 |
КамАЗ-53213 |
10,0 |
85 |
9610 |
|
Курганский завод дорожных
машин |
|
ДС-41А |
полуприцеп, тягач Зил-1
ЗОВ 1 |
7,0 |
80 |
7515 |
- |
тоже |
|
ДС-10 |
полуприцеп, ЧМЗАП-5524П ,
тягач КраАЗ-258 |
14,5, |
40 |
; 18930., |
|
тоже |
Техническая характеристика
машин для внесения органических удобрений
|
Марка
машины |
База
машины |
Вместимость
цистерны, м3 |
Ширина
разлива жидкости, м |
Тип
насоса |
Глубина
забора , м |
Масса,
кг |
Разработчик |
Изготовитель |
|
РЖУ-3,6 |
ГАЗ-53А |
3,6 |
до 8 |
вакуумный РВЧ-40/350 |
5 |
3960 |
ГСПКТБ по комплекту машин для
внесения органических удобрений г.Бобруйск |
ПО Бобруйск-ферммаш |
|
МЖТ-6 |
двухосный прицеп |
6 |
6-12 |
вакуумный |
2,5 |
3100 |
тоже |
Трактороремонтный завод,
г. Орша |
|
РЖТ-4 |
одноосный прицеп |
5 |
7-12 |
вакуумный УВБ-02.000 |
2,5 |
2470 |
тоже |
то же |
|
РЖТ-4М |
двухосный прицеп |
5,5 |
6-12 |
то же |
2,5 |
2200 |
Трактороремонтный завод,
г.Орша |
то же |
Примечания. 1. Все машины оборудованы внутренними мешалками.
2. Машины МЖТ-б, РЖТ-4 и
РЖТ-4М агрегатируются с тракторами МТЗ-80, МТЗ-82 и их модификациями, привод
рабочих органов машин осуществляется от ВОМ трактора.
Техническая характеристика пневмоколесных
экскаваторов-планировщиков
|
Показатель |
ЭО-3332 |
Э-4010
(на базе КрАЗ-257) |
|
Вместимость ковша обратной лопаты, м3 |
0,25; 0,4; 0,65 |
0,25; 0,4 |
|
Наибольшая глубина копания, м |
5,9 |
4,05 |
|
Мощность двигателя, кВт |
55,0 |
55; 58 (базового
автомобиля) |
|
Максимальная скорость, км/ч |
20,0 |
47 |
|
Максимальная производительность, м / ч |
68,5 |
63 |
|
Рабочая масса с оборудованием обратной лопаты, кг |
14520 |
19200 |
Техническая характеристика плугов навесных
|
Модель
плуга |
Число
корпусов |
Ширина
захвата, м |
С
какими тракторами агрегатируется |
Глубина
пахоты ,м |
Масса,
кг |
Максимальное
удельное сопротивление грунта, кПа |
|
ПЛН-4-35 |
4 |
1,4 |
ДТ-75,75М; Т-150,153 |
0,30 |
710 |
88,3 |
|
ПЛН-3-35 |
3 |
1,05 |
МТЗ-80,82; ЮМЗ-6Л |
0,30 |
522 |
88,3 |
|
ПКУ-4-35 |
4 |
1,4 |
ДТ-75,75М; Т-150,153 |
0,27 |
815 |
98 |
|
ПКУ-3-35 |
3 |
1,05 |
МТЗ-80,82; ЮМЗ-6Л |
0,27 |
610 |
98 |
|
ПН-4-40 |
4 |
1,6 |
Т-150,153; 150К |
0,35 |
843 |
88,3 |
|
ПНД-4-30 |
4 |
1,2 |
ДТ-75.75М; Т-4А |
0,30 |
770 |
127,5 |
Техническая характеристика тракторов
|
Модель
трактора |
Номинальная
мощность двигателя, кВт(л/с) |
Номинальное
тяговое усилие, кН |
Масса
конструктивная (эксплуатационная), кг |
Удельное
давление на грунт. МПа \ |
Колесная
формула |
Назначение
и особенности |
|
Гусеничные |
||||||
|
Т-180 |
128,7(175) |
150 |
(14950) |
0,044 |
- |
промышленный |
|
Т-130.1.Г-1 |
117,7(160) |
100 |
(15030) |
0,060 |
- |
промышленный |
|
Т-130 |
117,7(160) |
60 |
14320 |
0,050 |
- |
общего назначения |
|
Т-4А |
95,6(130) |
40 |
8145 |
0,040 |
|
общего назначения |
|
Т-153 |
115,0(156,5) |
30 |
7500 |
0,050 |
|
общего назначения |
|
ДТ-75С |
125,0(170) |
30 |
7450 |
0,055 |
|
общего назначения |
|
ДТ-75 |
58,8(80) |
30 |
6440 |
0,049 |
- |
общего назначения |
|
ДТ-75 |
58,8 (80) |
30 |
7730 |
0,042 |
- |
крутосклонный (склоны до
20°) |
|
ДТ-75 |
66,2 (90) |
30 |
6550 |
0,051 |
- |
общего назначения |
|
Колесные |
||||||
|
К-701М |
246,0(335) |
50 |
13900 |
« |
4х4 |
общего назначения |
|
Т-151М |
121,1(165) |
30 |
9400 |
|
4х4 |
общего назначения |
|
МТЗ-82 |
55,16(75) |
14 |
3160 |
- |
4х2 |
универсальный |
|
МТЗ-82 |
55,16(75) |
14 |
3370 |
- |
4х4 |
универсальный |
|
МТЗ-82К |
55,16(75) |
14 |
4460 |
- |
4х4 |
крутосклонный (склоны до
20°) |
|
ЮТЗ-6АЛ |
44,13(60) |
14 |
3147 |
- |
4х2 |
универсальный |
|
Механизм
или оборудование |
Модель |
Схема
производства работ |
|||
|
с
промежуточным складированием вяжущего |
без
промежуточного складирования вяжущего |
||||
|
приготовление
смеси "на
месте" (схема Iа) |
приготовление
смеси "в
карьере" (схема II) |
приготовление
смеси "на
месте" (схема I6) : |
приготовление
смеси "в
карьере" (схема IIб) |
||
|
Автобитумовоз |
ДС-138 |
1 |
1 |
- |
|
|
Автогудронатор |
ДС-142 |
- |
- |
1 |
1 |
|
Емкость для вяжущего |
|
1 |
1 |
- |
- |
|
Машина для внесения орг. удобрений |
РЖУ-3,6 |
1 |
1 |
- |
1 |
|
Автосамосвал |
КамАЗ-5511 |
2 |
2 |
2 |
2 |
|
Экскаватор-Планировщик |
ЭО-3332 |
1 |
- |
1 |
- |
|
Одноковшовый экскаватор |
ЭО-4321 |
- |
1 |
- |
1 |
|
Бульдозер |
ДС-110А |
- |
1 |
- |
1 |
|
Навесной плуг |
ПКУ-4-35 |
1 |
- |
1 |
- |
|
Трактор |
ДТ-75К |
1 |
- |
1 |
- |
СОДЕРЖАНИЕ
|
|
|
|