|
|
Открытое акционерное общество «Газпром» Информационно-рекламный
центр газовой промышленности (ООО «ИРЦ Газпром») ГИДРОГЕОЭКОЛОГИЧЕСКИЙ (Методическое руководство) РД
51-31323949-48-2000 (Под редакцией доктора
геолого-минералогических наук В. П.
Ильченко) Москва 2000 Руководящий документ
содержит обширный материал правового, нормативно-методического и
научно-технологического характера по реализации технологии захоронения
промышленных сточных вод на предприятиях ОАО «Газпром». Главной составляющей
документа являются отраслевые правила, определяющие особенности и
последовательность выполнения работ по научно-техническому обоснованию,
проектированию, строительству и эксплуатации систем подземного захоронения
сточных вод. Настоящее методическое
руководство по гидрогеоэкологическому контролю на полигонах закачки
промышленных сточных вод разработано в отрасли впервые. Разработан во ВНИИгазе при участии
ВолгоУралнипигаза, Севкавнипигаза, Тюменниигипрогаза. Прошел апробацию на предприятиях ОАО «Газпром». Согласован генеральным директором ООО «ВНИИгаз» А.И. Гриценко (03.02.2000 г.), начальником Управления науки, новой
техники и экологии ОАО «Газпром» А.Д. Седых (07.02.2000 г.), зам.
министра топлива и энергетики РФ Г.С. Устюжаниным (№ УГ-1906 от
13.03.2000 г.), первым заместителем министра природных ресурсов РФ В.А.
Пак (№ 11-2-15/143 от 28.03.2000 г.), статс-секретарем - первым
заместителем начальника Госгортехнадзора РФ
Е.А. Ивановым (№ 02/267 от
08.06.2000 г.). Утвержден зам. Председателя Правления ОАО «Газпром» В.В. Ремизовым
(10.02.2000 г.). Вводится в действие со дня опубликования сроком на пять лет для практического применения
на предприятиях ОАО «Газпром». Разработчики: канд. техн. наук
Е.В. Дедиков (ОАО «Газпром»), д-р
геол.-минер. наук В.П. Ильченко (ВНИИгаз), канд. геол.-минер. наук О.М.
Севастьянов (ВолгоУралнипигаз), д-р техн. наук Э.Б. Бухгалтер
(ВНИИгаз), канд. геол.-минер. наук .B.C. Гончаров (ВНИИгаз),
канд. геол.-минер. наук Т.В. Левшенко (ВНИИгаз), канд.
геол.-минер. наук Б.П. Акулинчев (Севкавнипигаз), Н.М. Петухова
(Севкавнипигаз), А. П. Каменев (Тюменниигипрогаз), О. Г. Бешенцева
(Государственный комитет по охране окружающей среды Ямало-Ненецкого автономного
округа), А.В. Струевич (ОАО «Газпром»). Рецензенты: Всероссийский
научно-исследовательский институт охраны природы, д-р геол.-минер. наук В.
А. Грабовников (Госцентр «Геомониторинг»), д-р юр. наук, проф. Б. В.
Ерофеев (Московская государственная юридическая академия). СОДЕРЖАНИЕ ВВЕДЕНИЕ
Настоящее методическое
руководство содержит обширный материал правового, нормативно-методического,
научно-технологического характера по реализации технологии подземного
захоронения сточных вод (ПЗС). Главной составляющей документа являются
отраслевые правила, определяющие особенности и последовательность выполнения
работ по научно-техническому обоснованию, проектированию, согласованию,
строительству и эксплуатации систем ПЗС. Документ предназначен для
использования при подземном захоронении сточных вод газовой промышленности в
условиях, существенно отличающихся от условий функционирования объектов других
отраслей экономики. Специфику этих условий определяет следующее: промышленные сточные воды
(жидкие отходы) нефтегазового комплекса в значительной части представляют воду,
добытую вместе с газом, нефтью, углеводородным конденсатом и поэтому подлежащую
возврату в недра; в результате отбора
углеводородов в недрах образуются обширные области с пониженным пластовым
давлением; закачка сточных вод позволяет частично восстановить нарушенное
природное гидродинамическое равновесие; газовая промышленность
располагает необходимой геолого-промысловой информацией, технологиями,
скважинами, оборудованием; на ее предприятиях в течение десятилетий успешно
практикуется захоронение сточных вод в глубокозалегающие поглощающие горизонты; объемы сточных вод
предприятий газовой промышленности сравнительно невелики. Методическое руководство
базируется на многолетнем опыте теоретических разработок, лабораторных
экспериментов, проектирования, строительства и эксплуатации систем подземного
захоронения сточных вод в различных отраслях экономики, и прежде всего в
газовой промышленности. Документ создан на основе законодательных и нормативных
актов Российской Федерации. По мере изменения законодательства он подлежит
корректировке для приведения его в соответствие с правовой базой. Руководство подготовлено
авторским коллективом высококвалифицированных специалистов в области
газопромысловой гидрогеологии, охраны окружающей среды и гидрогеоэкологии. Работа отмечена в качестве
приоритетной в ежегодном (1999 г.) выпуске отчета ОАО «Газпром» в области
охраны окружающей среды. В процессе работы над
документом авторы учли замечания и пожелания рецензентов и согласовывающих
сторон. Наиболее ценные замечания были получены от специалистов Всероссийского
научно-исследовательского института охраны природы (документ был представлен
для рассмотрения б. Госкомэкологии РФ). Методическое руководство в
установленном порядке согласовано с Министерством топлива и энергетики РФ, Министерством
природных ресурсов РФ, Госгортехнадзором РФ, Управлением науки, новой техники и
экологии ОАО «Газпром», утверждено заместителем Председателя Правления ОАО
«Газпром» В. В. Ремизовым и вводится в действие со дня опубликования сроком на
пять лет для практического применения на предприятиях газовой отрасли. 1.
ПРАВОВАЯ БАЗА ПОДЗЕМНОГО ЗАХОРОНЕНИЯ СТОЧНЫХ ВОД*
*Раздел подготовлен с участием Е.В. Ивановой (Ямбурггаздобыча) и А.Н.
Ильченко (Севкавнипигаз). Вода является важнейшим компонентом
окружающей природной среды, возобновляемым, ограниченным и уязвимым природным
ресурсом. Она используется и охраняется в Российской Федерации как основа жизни
и деятельности народов, проживающих на ее территории, обеспечивает
экономическое, социальное, экологическое благополучие населения, существование
животного и растительного мира. Отношения в сфере
водопользования регулируются Водным кодексом Российской Федерации (1995) путем
установления правовых основ использования и охраны водных объектов. Подземное захоронение
сточных вод является одним из видов пользования недрами, имеющим целью
предотвращение загрязнения земной поверхности, открытых водоемов и пресных
подземных вод жидкими промышленными, сельскохозяйственными и
коммунально-бытовыми отходами. Правовые аспекты подземного
захоронения изложены в Положении об охране подземных вод (1985), в законах РФ
«Об охране окружающей природной среды» (1991), «О недрах» (1992, 1995), «О
плате за пользование водными объектами» (1998), в Положении о порядке лицензирования
пользования недрами (1992), Положении о системе управления природопользованием
в ОАО «Газпром» (1999) и других документах. В Положении об охране
подземных вод (статья 47-1) говорится, что подземное захоронение промышленных
сточных вод наиболее целесообразно для удаления небольших количеств сильно
загрязненных и токсичных сточных вод, не поддающихся очистке существующими
методами. Кроме того, отмечается, что подземное захоронение промышленных
сточных вод запрещается во всех случаях, когда они могут явиться источником
загрязнения водоносного горизонта, используемого для хозяйственно-питьевого
водоснабжения, бальнеологических и промышленных целей. Статья 54 Закона РФ «Об
охране окружающей природной среды» запрещает сброс производственных и бытовых
отходов в водоемы общего пользования и подземные водоносные горизонты.
Поскольку толкование этой статьи очень широко, законодатель выпустил
Постатейный комментарий к Закону, из которого следует, что эти требования
направлены в первую очередь на охрану подземных водоносных горизонтов, воды
которых уже используются для питьевого и хозяйственно-бытового водоснабжения, а
также водоносных горизонтов, содержащих бальнеологические и используемые для
промышленных целей воды. Запрет не распространяется на захоронение промышленных
сточных вод в глубокозалегающие пласты-коллекторы. В последующем Комментарии к
статье 54 «Охрана окружающей среды от производственных и бытовых отходов»
Закона РФ «Об охране окружающей природной среды» при решении вопроса подземного
захоронения сточных вод указывается на необходимость руководствоваться
Положением о порядке лицензирования пользования недрами. Законом Российской Федерации
«О недрах» (статья 6) к разновидностям пользования недрами отнесены
строительство и эксплуатация подземных сооружений, не связанных с добычей
полезных ископаемых. При этом недра предоставляются в пользование в виде
горного отвода (статья 7) специальным государственным решением в виде лицензии
(статья 11). В соответствии со статьями
13, 14 Положения о порядке лицензирования пользования недрами предоставление
недр для захоронения вредных веществ и отходов производства, сброса сточных вод
допускается только в особых случаях и при соблюдении специальных требований и
условий. Пользование недрами осуществляется по специальным проектам,
дополнительно предусматривающим: регламентацию максимальных объемов сточных вод
и концентрации вредных веществ в них, создание и ведение мониторинга в пределах
горного отвода и на прилегающей к нему территории. Статья 144 Водного кодекса
РФ устанавливает требования к использованию водных объектов для сброса сточных
вод. Требования к сбросу сточных
промысловых вод до начала опытно-промышленной эксплуатации месторождения
содержатся также в Правилах разработки газовых и газоконденсатных месторождений. Необходимость разработки
нормативных правовых актов, регулирующих порядок размещения промышленных
отходов в недрах, а также порядок консервации и ликвидации объектов размещения
промышленных отходов в недрах с учетом требований экологической безопасности,
организации государственного контроля за работой объектов захоронения, создания
и ведения мониторинга на полигонах, разработки комплекса природоохранных
мероприятий по защите населения и природной среды от воздействия системы
закачки сточных вод нашли отражение в рекомендациях участников парламентских
слушаний «Экологические проблемы подземного захоронения промышленных отходов в
глубинные горизонты» (1997). При дальнейшей конкретизации
предоставления недр для подземного захоронения сточных вод некоторыми
субъектами Российской Федерации, на территориях которых осуществляется
захоронение, действуют местные нормативные акты. Министерством природных
ресурсов РФ подготовлены Методические указания по лицензированию пользования
недрами для целей, не связанных с добычей полезных ископаемых. В них
рассмотрены особенности лицензирования пользования недрами, предоставляемыми
для систем закачки сточных вод, захоронения твердых и жидких отходов (в том
числе радиоактивных), закачки в недра использованных или попутно извлеченных
подземных вод. При этом указывается, что при оформлении лицензий на пользование
недрами для целей, не связанных с добычей полезных ископаемых, необходимо
руководствоваться требованиями законодательства Российской Федерации, субъектов
Российской Федерации, нормативными актами в области охраны природы и
рационального использования недр. Таким образом, в настоящее
время создан блок основных необходимых правовых, нормативных и руководящих
документов для разработки, создания и эксплуатации систем (полигонов)
подземного захоронения сточных вод в газовой отрасли. Ниже дается правовое
разъяснение по содержанию некоторых положений законодательных и нормативных
актов. 1.1.
Условия захоронения (сброса) сточных вод в глубокие водоносные горизонты
1.1.1. Захоронение сточных
вод в глубокие горизонты может быть осуществлено при наличии обоснованной
технической невозможности или экологической и экономической нецелесообразности
обезвреживания сточных вод на поверхности земли, с учетом их совместимости с
пластовыми водами и вмещающими породами пласта-коллектора (оба указанных
условия должны быть отражены в заключении специализированной
научно-исследовательской организации). 1.1.2. На закачку сточных
вод должно быть получено разрешение природоохранных органов. 1.2.
Порядок пользования недрами для захоронения (сброса) сточных вод
1.2.1. На каждый участок
недр, предоставляемый в пользование для захоронения сточных вод, выдается
отдельная лицензия. Допускается выдача одной лицензии на несколько участков
недр, если действующие и (или) проектируемые объекты расположены в границах
горного отвода, принадлежащего одному предприятию, и находятся на его балансе. 1.2.2. Лицензия на
пользование недрами предоставляется только на те участки недр, геологическая
информация о которых получила положительную оценку государственной экспертизы. В тех случаях, когда
имеющаяся геолого-гидрогеологическая изученность не позволяет выделить участок
недр и определить возможные горизонты, перспективные для захоронения, должны
быть проведены соответствующие геологические и гидрогеологические исследования,
на проведение которых должна быть получена лицензия. В случаях, когда
геолого-гидрогеологическая изученность достаточна для пользования недрами в
намеченных целях, работы по геологическому изучению не проводятся, а
составляется соответствующее заключение (обоснование), которое также
представляется на государственную экспертизу в установленном порядке. В простых
гидрогеологических условиях при небольших объемах захоронения сточных вод государственная
экспертиза может быть выполнена в процессе лицензирования пользования недрами
для строительства и эксплуатации системы захоронения. 1.2.3. В соответствии с
Положением о порядке лицензирования пользования недрами в лицензии
предусматривается двухэтапный порядок пользования недрами для захоронения
сточных вод. На первом этапе в установленные лицензией сроки ее владелец
проводит необходимые детальные геолого-гидрогеологические исследования,
необходимые для составления технического проекта (технологической схемы)
строительства и эксплуатации полигона захоронения. Подготовленный технический
проект или технологическая схема должны быть согласованы с соответствующими
органами: Госсанэпиднадзора Минздрава
России - по границам санитарно-защитных зон и регламенту хозяйственной
деятельности в этих зонах; Госгортехнадзора России - по
вопросам охраны недр. Технический проект или
технологическая схема должны получить положительное заключение государственной
экологической экспертизы и экспертизы промышленной безопасности или быть
согласованы в функциональном управлении ОАО «Газпром». До окончания первого этапа
(утверждения в установленном порядке технического проекта) строительство и
эксплуатация полигонов по захоронению сточных вод запрещаются. На втором этапе владелец
лицензии осуществляет реализацию утвержденного проекта. В тех случаях, когда имеется
согласованный и утвержденный в установленном порядке проект системы захоронения
сточных вод, первый этап пользования недрами исключается. 1.2.4. В сложных гидрогеологических
условиях может быть выдана лицензия на пользование недрами для
опытно-промышленной эксплуатации. В этих случаях в лицензии устанавливаются
соответствующие требования к проекту опытно-промышленной эксплуатации. После
окончания опытно-промышленной эксплуатации ее результаты предоставляются на
государственную (гидрогеоэкологическую) экспертизу. 1.2.5. Лицензирование
пользования недрами для эксплуатации объектов захоронения действующими
предприятиями проводится непосредственно в процессе их эксплуатации. В этих
случаях в лицензии устанавливается срок, в течение которого предприятия обязаны
осуществить все мероприятия для обеспечения рациональной эксплуатации объектов:
создание или расширение сети мониторинга геологической среды, уточнение проекта
эксплуатации и проведение необходимых согласований, в том числе проведение
государственной экологической экспертизы и экспертизы промышленной
безопасности. 1.3.
Границы горного отвода
В соответствии с Законом РФ
«О недрах» при выдаче лицензии на пользование недрами для захоронения сточных
вод устанавливаются границы горного отвода, соответствующие контуру
распространения сточных вод в пласте-коллекторе и смежных («буферных»)
водоносных горизонтах на конец расчетного срока эксплуатации. И в
пласте-коллекторе, и в «буферных» горизонтах границами горного отвода в плане
является прогнозируемый контур распространения сточных вод в пласте-коллекторе
на конец расчетного срока эксплуатации. Границы горного отвода
утверждаются органами Госгортехнадзора горноотводным актом. При закачке сточных вод в
системы для поддержания пластового давления горный отвод устанавливается в
границах основного горного отвода, выданного на разработку месторождения. 1.4.
Сроки пользования недрами
Лицензия на пользование
недрами для захоронения сточных вод в соответствии с Законом РФ «О недрах»
может выдаваться на срок, не превышающий 20 лет. По инициативе
недропользователя органы, выдающие лицензию, могут продлить срок ее действия,
если это связано с более длительными сроками эксплуатации систем сброса. При невыполнении
пользователем указанных в лицензии требований в установленные сроки действие
лицензии прекращается. 1.5.
Платежи за право пользования недрами
Платежи за право пользования
недрами для захоронения сточных вод определяются в соответствии с Положением о
порядке лицензирования и условиях взимания платежей за право пользования
недрами, акваториями и участками морского дна. Эти платежи могут взиматься в
форме разовых взносов и (или) регулярных платежей и могут составлять от 1 до 3
% сметной стоимости объекта захоронения сточных вод и предоставляемых услуг при
его эксплуатации в зависимости от размеров участка недр, полезных свойств недр
и степени экологической безопасности при их использовании. Конкретные размеры платежей
определяются органами, выдающими лицензию на недропользование. 1.6.
Требования к условиям недропользования, к консервации или ликвидации
поглощающих скважин
Обязательной частью
лицензионных материалов являются требования к условиям недропользования,
обеспечивающие безопасность проведения работ, экологическую безопасность
территории, охрану недр и окружающей природной среды, сохранность инженерных
сооружений в зоне влияния недропользования. При оформлении лицензии для захоронения
сточных вод в лицензионном соглашении устанавливаются: приемистость
пласта-коллектора и максимальный объем закачки сточных вод в недра; требования к их качеству и
водоподготовке в целях обеспечения совместимости сбрасываемых вод с подземными
водами и пластом-коллектором; требования к системе
расположения и качеству нагнетательных скважин и их конструкциям; интервалы закачки сточных
вод; максимально допустимое
давление на устье нагнетательных скважин; максимально допустимое
повышение пластового давления в пласте-коллекторе и смежных пластах; требования к мониторингу
геологической среды в границах горного отвода, включающие обоснование объектов
мониторинга (пласт-коллектор, выше- и нижезалегающие
«буферные» горизонты); требования к системе
размещения наблюдательных скважин и их конструкции; методы и методика
наблюдений за расходом и приемистостью нагнетательных скважин, устьевым и
пластовым давлением в них, качеством сбрасываемых вод, контуром продвижения
этих вод; требования к оборудованию скважин приборами для замеров расходов
нагнетания и давления; требования к форме отчетности о наблюдениях, составу,
форме и срокам передачи информации в систему государственного мониторинга
геологической среды; требования к
санитарно-защитной зоне. Санитарно-защитная зона - территория, включающая
систему закачки сточных вод и область распространения захороняемых вод в
пласте-коллекторе и «буферных» горизонтах, в пределах которой устанавливается
определенный режим хозяйственной деятельности в целях предотвращения отрицательного
влияния захоронения сточных вод на сферу
жизнедеятельности людей; требования к контролю
технического состояния нагнетательных скважин (состояние затрубного цементажа и
герметичности эксплуатационной колонны и кондуктора); требования к отчетным
материалам по выполнению условий эксплуатации системы захоронения и мониторинга
геологической среды; требования к консервации или
ликвидации нагнетательных скважин. Указанные условия
пользования недрами устанавливаются в соответствии с утвержденным техническим
проектом, а при их отсутствии - как требования к техническому проекту. Лицензия на пользование
недрами выдается по единой типовой форме. Неотъемлемой частью лицензии является
лицензионное соглашение. 2.
МИРОВОЙ И ОТЕЧЕСТВЕННЫЙ ОПЫТ ПОДЗЕМНОГО ЗАХОРОНЕНИЯ СТОЧНЫХ ВОД
Подземное захоронение
сточных вод зародилось на нефтепромыслах США и России в начале нынешнего века.
Высокоминерализованную пластовую воду, добытую вместе с нефтью, закачивали в
непродуктивные и обводнившиеся скважины в Пенсильвании, в Бакинском районе, на
Северном Кавказе. В тридцатые годы в США и
СССР возникла и быстро прогрессировала технология заводнения нефтеносных
пластов для поддержания пластового давления (ППД) в целях повышения
нефтеотдачи. Для этого использовались легкодоступные пресные поверхностные
воды. По мере роста добычи нефти возрастали и объемы попутных (подтоварных)
пластовых вод. Из-за ущерба окружающей среде их стало невозможно сбрасывать в
открытые водоемы или хранить в прудах-накопителях. Одновременно было установлено,
что минерализованные воды обладают лучшими по сравнению с пресными водами
нефтевымывающими свойствами. Это обусловило широкое использование попутных
пластовых вод нефтепромыслов в системах подземного заводнения. С 50-х годов
темп их использования для ППД нарастал очень быстро. В настоящее время в старых
нефтедобывающих районах бывшей территории СССР закачивается обратно в
нефтеносные пласты до 93-95 % подтоварной воды и только В середине двадцатых годов в
Германии был организован сброс рассолов калийной промышленности через скважины
глубиной 5-160 м в карбонатные породы пермских отложений. Данное мероприятие в
этой отрасли успешно развивалось как в ФРГ, так и на бывшей территории ГДР и
продолжает осуществляться в настоящее время. Подземное захоронение
сточных вод в глубокозалегающие водоносные (поглощающие) горизонты
технологически близко к широко применяемому при добыче нефти методу подземного
заводнения продуктивных горизонтов для поддержания пластового давления. Поэтому
в 50-60-е годы некоторые отрасли промышленности в развитых странах стали
перенимать опыт нефтяников для удаления жидких отходов, количество которых в
связи с интенсивным развитием производства чрезвычайно возросло. Во многих странах
загрязнение открытых водоемов, пресных подземных вод, почв и грунтов сточными
водами к тому времени превратилось в настоящее бедствие. В этой ситуации
подземное захоронение сточных вод в глубокозалегающие горизонты, воды которых
из-за высокой минерализации или токсичности не находят практического
применения, явилось своевременным мероприятием, позволившим резко снизить темп
роста загрязнения окружающей среды. За рубежом подземное
захоронение сточных вод получило наибольшее распространение в США. В 1959 г.
там, кроме нескольких десятков тысяч нагнетательных скважин нефтяной
промышленности, было всего шесть полигонов подземного захоронения сточных вод
других отраслей. В 1963 г. их стало 35, в 1967 г. - 110, в 1970 г. - 175, в
1973 г. - 278, в 1986 г. - 680, в 1997 - 705. Из общего числа поглощающих
скважин в США 55 % используется для захоронения сточных вод химической,
нефтехимической и фармацевтической промышленности; 20 - газовой; 7 -
металлургической и 18 % приходится на прочие отрасли. Коллекторами для
захоронения этих вод служат в основном осадочные породы: пески - 33, песчаники
- 41, известняки и доломиты - 22 %. В магматические и метаморфические породы
воды захороняются в редких случаях. По глубине поглощающие скважины
распределяются так: до 305 м - 6 %, от 305 до 710 м - 19; от 710 до 1420 м -
26, от 1420 до 2130 м - 34, от 2130 до 4260 м - 14, свыше 4260 м - 1 %. По
объемам закачки сточных вод скважины распределяются следующим образом (м/сут):
до 300 - 28 %; от 300 до 600 - 14; от 600 до 1200 - 30; от 1200 до 2400 - 23;
от 2400 до 4800 - 3; более 4800 - 2 %. Давление нагнетания на устье скважин,
как правило, не превышает 4,0 МПа (77 % скважин); с давлением от 4,0 до 10,0
МПа работает 20 %, выше 10 МПа - 3 % скважин. Подземное захоронение
сточных вод широко распространено в Германии, Великобритании, Франции, Канаде,
Японии. В Германии насчитывается
несколько десятков полигонов подземного захоронения сточных вод предприятий
калийной, химической, нефтяной и газовой промышленности. Закачка сточных вод
производится в карбонатные и терригенные породы «цехштейна» (пермь) и «мальма»
(юра) на глубину до 1100 м и более. Объем закачки составляет от 120 до 4800 м3/сут
на скважину с устьевым давлением В Великобритании в районе
Уитчарча промышленные сточные воды закачиваются уже в течение 60 лет в
отложения мелового возраста, для чего используются 19 скважин. Во Франции первая
поглощающая скважина пробурена в 1970 г. в 60 км от Парижа на заводе
«Грандпюи». Воды объемом 1100 м3/сут при устьевом давлением 1,0 МПа
закачиваются в юрские известняки в интервал 1950-1980 м. В Канаде имеется несколько
десятков поглощающих скважин для подземной закачки промышленных сточных вод.
Только в провинции Онтарио насчитывается 16 таких скважин. В провинции Альберта
ежесуточно захороняется более 30 тыс. м3 сточных вод
нефтеперерабатывающих заводов. В Японии осуществляется
подземное захоронение многих разновидностей промышленных и хозяйственно-бытовых
сточных вод. Так, на одном из медных рудников в течение многих лет производится
закачка кислых дренажных вод в 150 скважин глубиной 35-60 м, пробуренных из
шахты в толще андезитов, подстилающихся песчаниками. Объем закачки 13 тыс.м3/сут. Противники глубинного
захоронения пытаются безосновательно ссылаться на мировой опыт, утверждая, что
развитые страны в последние годы якобы отказываются от этого способа обращения с
жидкими отходами. Однако это не соответствует действительности. Так, в
издаваемом Международной ассоциацией гидрогеологов «Гидрогеологическом журнале»
(т. 6, № 24, 1998) опубликована большая статья «Гидрогеологические условия
захоронения жидких отходов на юго-западе Флориды» (США), в которой подробно
охарактеризованы условия и опыт функционирования девяти полигонов (11
нагнетательных скважин) подземного захоронения коммунальных сточных вод в
трещиноватые доломиты раннего эоцена, содержащие подземные воды с
минерализацией 35 г/дм3. Нагнетательные скважины имеют глубину от
750 до 1050 м, приемистость одной скважины достигает 16 тыс. м3/сут.
Полигоны эксплуатируются с 1988 г. Проведенные наблюдения зафиксировали
локализацию закачиваемых вод ниже водоупорной кровли пласта-коллектора и
отсутствие их проникновения в вышележащие водоносные горизонты, содержащие воды
питьевого качества. Применение подземного захоронения на юго-западе Флориды
признано эффективным как с экологической позиции, так и по экономическим показателям. Подводя итог изложенному
ознакомлению с зарубежным опытом ПЗС, можно констатировать неуклонное
расширение масштабов захоронения и его несомненную положительную роль в охране
наземной окружающей природной среды от загрязнения. Что касается нашей страны,
то она в данном вопросе шла тем же путем,
что и другие развитые страны. Это еще раз подтверждает общность мировых
экологических проблем, вызванных бурным развитием промышленности и
технологических приемов их решения. В СССР исследования по
выяснению возможности подземного захоронения сточных вод предприятий, не
относящихся к нефтедобыче, начались в 50-е годы. Первоначально они были
направлены на обезвреживание наиболее вредных жидких промышленных отходов -
радиоактивных сточных вод атомной промышленности и токсичных вод химических
производств. Проблема изучалась комплексно и всесторонне ведущими научными
учреждениями страны в самых разных аспектах - геологическом,
гидрогеологическом, химическом, санитарном. На основе разработок и
предложений ученых и специалистов Правительством СССР были приняты
постановления о проведении проектно-изыскательских работ на конкретных
объектах. Геологоразведочные работы по обеспечению захоронения выполнялись
специализированной организацией Мингео - бывшим Вторым гидрогеологическим
управлением (ныне ГГП «Гидроспецгеология») и территориальными геологическими
управлениями. Технологические вопросы решались многими проектными научными
организациями, среди которых наиболее значительную роль играли Промниипроект
(ныне ВНИПИ-промтехнологии), ИФХАН, НИОПИК, ВНИПИЭТ, ВНИИВОДГЕО, ВНИИгалургии,
ВСЕГИНГЕО, МГУ и др. В результате длительной
кропотливой работы научных, проектных и производственных организаций в
шестидесятые годы были построены и начали эксплуатироваться полигоны ПЗС Сибирского
химического комбината (1963), Научно-исследовательского института атомных
реакторов (1966), горнохимического комбината «Красноярск-26» (1967), Уфимского
НПЗ (1967), ТПО «Пигмент» (1968), Троицкого йодного завода (1968) и др. Сибирский химический комбинат
(г. Томск-7) находится в зоне сочленения Западно-Сибирской плиты и
Саяно-Алтайской складчатой области. Для захоронения радиоактивных вод
используются два песчаных пласта позднемелового возраста мощностью 30-40 м и
37-94 м, залегающие в интервале глубин, соответственно, 350-400 м и 280-350 м.
Воды, насыщающие пласты-коллекторы, пресные с минерализацией 0,3-0,4 г/дм3.
Выше залегает толща переслаивающихся песчаных и глинистых пластов
палеогенового, неогенового и четвертичного возраста. Два полигона захоронения
сточных вод расположены в 3-5 км от производственного комплекса. На полигонах
осуществляется подземное захоронение 4500 м3/сут сточных вод при
давлении нагнетания 1,2-2,0 МПа. Некоторые виды концентрированных
технологических жидких отходов закачиваются в скважины периодически порциями по
5-10 тыс.м3 несколько раз в год. Научно-исследовательский
институт атомных реакторов (НИИАР) захороняет радиоактивные воды на
расположенном в 10 км от него полигоне. В качестве поглощающих горизонтов
используются яснополянский горизонт и окско-башкирский комплекс (оба
каменноугольного возраста). Первый залегает на глубине 1410-1467 м и сложен
песчаниками и алевролитами, второй -
на глубине 1138-1194 м представлен
трещиноватыми и кавернозными известняками и доломитами. Пластовые воды имеют
минерализацию 230-250 г/дм3. В 1966-1973 гг. закачка стоков
производилась в яснополянский горизонт объемом от 244 до 340 м3/сут
, а с 1973 г. и по настоящее время - в окско-башкирский комплекс объемом от 320
до 960 м3/сут при устьевом давлении нагнетания не выше 5 МПа. Горно-химический комбинат
«Красноярск-26» захороняет жидкие радиоактивные отходы на полигоне «Северный» в
12 км от основного производства. Закачка отходов производится в два песчаных
пласта юрского возраста мощностью 55-85 м и 25-45 м, залегающих на глубине
355-500 м (I горизонт) и 180-280 м (II горизонт). К ним приурочены пресные
подземные воды с минерализацией 0,3 г/дм3. Над поглощающими
горизонтами развита песчано-глинистая толща юрского возраста. На I и II
горизонты пробурены, соответственно, 7 и 4 нагнетательные скважины. В I
горизонт с 1967 г. закачивается около 300 м3/сут сточных вод при
устьевом давлении на скважинах - 1,2-5,0 МПа. Во II горизонт с 1968 г.
захороняется до 600 м3/сут сточных вод при устьевом давлении до 2,0
МПа.; На Уфимском
нефтеперерабатывающем заводе сточные воды закачиваются в скважину глубиной 2230
м в карбонатные породы каменноугольного возраста (окский надгоризонт и
башкирский ярус) в интервал 1355-1720 м. Объем закачки составляет от 350 до 400
м3/сут при устьевом давлении от 0,6 до 0,8 МПа. Тамбовским производственным
объединением «Пигмент» захороняются сточные воды анилино-красильной
промышленности в песчаники среднего девона (старооскольский горизонт),
залегающие на глубине 715-735 м (нижний рабочий горизонт) и 690-710 м (верхний
рабочий горизонт). Оба горизонта содержат пластовые воды с минерализацией 70-80
г/дм3. Выше, до глубины 80 м от поверхности земли, разрез представлен
девонскими отложениями разнообразного литологического состава: глинами,
песчаниками, известняками, доломитами, гипсами, ангидритами. Над ними лежит
песчано-глинистая толща юрских, меловых и четвертичных отложений. На полигоне
пробурено девять глубоких скважин; закачка вод ведется попеременно в две-три
скважины общим объемом от 2,5 до 3,0 тыс. м3/сут. На Троицком йодном заводе,
находящемся в 65 км западнее г. Краснодара, захороняются отработанные
промышленные воды после извлечения из них полезных компонентов. Закачка ведется
в III горизонт понтических отложений и в VII и VIII пласты мэотиса,
сложенные песчаниками и алевролитами. Глубина нагнетательных скважин от 1700 м
(на III горизонт) до 2275 м (на VIII горизонт). Всего пробурено около 20
нагнетательных скважин, в которые закачивается около 7000 м3/сут
вод. В 70-80-е годы развернулись
геологоразведочные изыскания, научно-исследовательские и проектные работы на
нескольких десятках объектов различных отраслей промышленности для обоснования
подземного захоронения сточных вод. На нескольких из них были сооружены
полигоны и начата их эксплуатация. На Первомайском химическом
заводе в Харьковской области с 1974 г. ведется ПЗС хлорорганического
производства в нижнетриасовые песчаники, залегающие на глубине
1650-1780 м, содержащие пластовые воды с минерализацией 140 г/дм3.
Поглощающий горизонт перекрывается толщей переслаивания глинистых и песчаных
пластов юрского, мелового, палеогенового возраста и подстилается глинами
верхней перми. При общем числе
нагнетательных скважин, равном пяти, закачка вод объемом 1537-1834 м3/сут
на скважину ведется в две-три скважины при устьевом давлении от 1,6 до 2,1 МПа.
Ежегодно на полигоне захороняется 1,2-1,4 млн.м3 сточных вод. Сточные воды
производственного объединения «Оргстекло» (г. Дзержинск Нижегородской области)
захороняются с 1976г. в пашийско-живетский поглощающий горизонт верхнего
девона, залегающий на глубине 1090-1260 м, сложенный песчаниками с прослоями
алевролитов и глин и содержащий пластовые воды с минерализацией 220 г/дм3.
На полигоне, состоящем из трех нагнетательных скважин, ежесуточно закачивается
500 м3 жидких отходов производства сельскохозяйственных
ядохимикатов. Устьевое давление закачки не превышает 5 МПа. На заводе по производству
соды в Башкирии сточные воды с 1976 г. захороняются в окско-башкирский
поглощающий комплекс (нижний-средний карбон), сложенный карбонатными породами и
содержащий пластовые воды с минерализацией от 262,4 до 302,5 г/дм3.
Нагнетательные скважины имеют открытый ствол в интервале 1709-1997 м (скв. Н-1)
и 1771-2256 м (скв. Н-2). Непосредственно над поглощающим горизонтом залегает
карбонатно-глинистый верейско-каширский относительный водоупор. Над ним развита
мощная карбонатная толща среднего-верхнего карбона и нижней перми по артинский
ярус включительно, перекрытая региональным водоупором, представленным каменной
солью и ангидритами кунгурского яруса нижней перми, мощностью 450-480 м. Над
кунгурским водоупором залегают верхнепермские и мезозойско-кайнозойские
терригенные и карбонатные породы. В поглощающих скважинах в целях увеличения
приемистости были проведены ядерные взрывы. Закачка стоков ведется в две
скважины с суммарным расходом 6000 м3/сут. Ежегодно захороняется от
1,1 до 2,0 млн.м3 сточных вод. Сточные воды Надеждинского
металлургического завода, входящего в состав Норильского горно-обогатительного
комбината, в опытном порядке с 1977-1978 гг. начали захоронять в тектонически
нарушенную зону девонских отложений на глубину 300-350 м. Минерализация
подземных вод поглощающего горизонта - от 3 до 8 г/дм3. Водоупорная
покрышка представлена толщей многолетнемерзлых пород (ММП) мощностью до 220 м.
Средний объем закачки вод на полигоне - от 2 до 4 тыс.м3/сут. Новомосковским
производственным объединением «Оргсинтез» в 1975-1976 гг. были пробурены и
испытаны нагнетательные скважины для закачки сточных вод в песчаники и
алевролиты живетского яруса среднего девона в интервале глубин 718-770 м. После
многолетних исследований и опытных закачек в 1986 г началось промышленное
захоронение сточных вод объемом до 2500 м3/сут. На Заволжском химическом
заводе нагнетательные скважины были пробурены в 1972-1978 гг. Под закачку вод
выбрана окско-серпуховская известняково-доломитовая трещиновато-кавернозная
толща нижнего карбона, вскрытая в скважинах открытым стволом в интервале глубин
от 902-935 м до 1021-1031 м, содержащая пластовую воду с минерализацией 140-150
г/дм3. На полигоне завода в опытном порядке захоронялись сточные
воды различного состава. Особый интерес представляет положительный опыт закачки
в карбонатный коллектор сточных вод с высоким (15-50 г/дм3) содержанием
серной кислоты. На Кирово-Чепецком
химическом комбинате с 1987 г. производится ПЗС вод в окско-серпуховский
поглощающий горизонт нижнего карбона, представленный доломитами с прослоями
известняков, залегающий в интервале глубин 1257-1438 м и содержащий пластовые
воды с минерализацией 250-270 г/дм3. Поглощающий горизонт перекрыт
надежным водоупором верейских глин, являющимся покрышкой для залежей
углеводородов в данном регионе. На полигоне оборудованы шесть нагнетательных
скважин. Объем закачки сточных вод - 2000 м3/сут при давлении на
устье скважин от 2 до 3 МПа. На алмазных месторождениях
Якутии, разрабатываемых глубокими карьерами, существует проблема обезвреживания
дренажных (карьерных) рассолов. Обычно их накапливают на поверхности земли, что
крайне отрицательно влияет на окружающую среду из-за больших утечек вплоть до
полного опорожнения рассолохранилищ. Частично практикуется также
непосредственный сброс избытка рассолов в реки. Для нормализации экологической
обстановки на ключевом отечественном месторождении была разработана технология
захоронения рассолов в коллекторы ММП, развитые на 30-50 м ниже уровня вреза
речных долин, т.е. на глубине около 180-260 м от поверхности земли на
водораздельных пространствах. Подземное захоронение дренажных рассолов здесь
осуществляется с 1986 г. через 3-6 (в разные годы) скважин при суммарном объеме
захоронения в среднем 367,5 тыс.м3 в год. Приемистость поглощающих
скважин составляет в среднем от 1200 до 1440 м3/сут. В калийной промышленности
большой проблемой является обезвреживание так называемых избыточных рассолов.
Обычно их хранят в прудах-накопителях, что отрицательно воздействует на
природу, а иногда приводит к настоящим экологическим бедствиям, когда
содержимое прудов-накопителей аварийно уносится в реку. В 1983 г. подобная
катастрофа произошла на Украине на р. Днестр. В Белоруссии с 1988 г. в
промышленных масштабах осуществляется подземное захоронение избыточных рассолов
одного из рудоуправлений производственного объединения «Белорускалий». Закачка
рассолов производится в песчаники и алевролиты верхнего протерозоя через две
скважины глубиной 2104-2140 м. Ежегодно захороняется около 300 тыс.м3
рассолов при объеме закачки 1200 м3/сут и устьевом давлении на
скважинах до 2,0-2,5 МПа. В г. Волжском Волгоградской
области с 1991 г. проводится захоронение сточных вод Волжского
производственного объединения «Оргсинтез» в поглощающий горизонт песчаников
байосского яруса средней юры на глубину около 800 м. В г. Ставрополе на заводе
«Люминофор» сточные воды захороняются с 1992 г. в песчаники свиты горячего
ключа (палеоцен) через скв. № 1 в интервале глубин 1466-1573 м со средним
объемом 1800 м3/сут. Как видно из
вышеизложенного, подземное захоронение сточных вод осуществляется предприятиями
разных отраслей промышленности в различных регионах бывшей территории СССР и
России. ПЗС как способ защиты окружающей среды от загрязнения получило
признание также в газовой промышленности, хотя и не сразу после ее выделения в
самостоятельную отрасль из нефтяной промышленности в середине пятидесятых
годов. Дело в том, что при добыче газа не применяется заводнение залежей в
целях поддержания пластового давления и, следовательно, опыта закачки воды в
пласты-коллекторы у газовиков не было. Сравнительно небольшие объемы сточных
вод, относительно невысокая токсичность их состава и возможность использования
газа для собственных нужд предопределили на первых порах конкурентоспособность
метода сжигания промышленных сточных вод. Однако по мере открытия все более
крупных месторождений, а также месторождений с высокими концентрациями кислых
(агрессивных) компонентов в составе газов и вод, создания газохимических
комплексов, увеличения объемов и ужесточения экологических требований к составу
промышленных сточных вод с неизбежностью возник вопрос о их обезвреживании
путем подземного захоронения. Для этого газовая промышленность располагала всем
необходимым: детальной геологической изученностью недр на большую глубину,
наличием глубоких разведочных скважин, пригодных для переоборудования под
закачку вод, оснащенностью мощной буровой техникой и материалами, необходимыми
для строительства нагнетательных скважин. Метод ПЗС в газовой
промышленности стал особенно актуальным при создании Оренбургского
газохимического комплекса по добыче и переработке сероводородсодержащего газа.
Уже в ходе проектирования первой очереди этого комплекса стала очевидной
высокая токсичность его сточных вод, обусловленная большим солесодержанием,
присутствием сероводорода, метанола, ингибиторов и других загрязнителей, не
поддающихся очистке существующими методами. Решение о разведке поглощающих горизонтов для целей подземного захоронения этих вод было принято постановлением Совета Министров СССР от 23.03.71 г. № 184 «О дополнительных мерах по обеспечению освоения Оренбургского газоконденсатного месторождения». В связи с этим бывшим Вторым гидрогеологическим управлением Мингео СССР в районе Оренбургского месторождения были проведены разведочные работы по выявлению в карбонатной толще каменноугольного возраста поглощающих горизонтов, изучению их гидродинамических параметров и фильтрационно-емкостных свойств. По результатам разведочных работ в качестве поглощающего горизонта был выбран визейско-башкирский комплекс, залегающий на глубине 2634-3042 м. На двух из четырех разведанных участках в период с 1975 по 1981 гг. были созданы два полигона подземного захоронения промышленных сточных вод. Первоначально они закачивались в разведочные скважины, а по мере строительства полигонов - в специально пробуренные эксплуатационные нагнетательные скважины. Со временем система подземного захоронения сточных вод расширялась и совершенствовалась. В 1980 г. стали захоронять рассолы на полигоне гелиевого завода. С 1982 г. началась закачка вод непосредственно на площадках установок комплексной подготовки газа в пробуренные для этой цели нагнетательные скважины. Это было вызвано прогрессирующим обводнением газовых скважин и появлением все более значительных объемов попутной пластовой воды, которую стало очень
сложно собирать со всего месторождения и подавать на полигон закачки. На Оренбургском
газохимическом комплексе ПЗС осуществляется в наиболее крупных масштабах по
сравнению с другими предприятиями газовой промышленности. Здесь пробурено более
30 нагнетательных скважин, в которые закачано около 50 млн.м3
сточных вод. В последние время на комплексе ежегодно захороняется до 2,5 млн.м3
вод (О.М. Севастьянов, 1995). На Шебелинском месторождении
(Украина) с 1978 г. периодически ведется закачка сточных вод в нижнетриасовый
поглощающий горизонт на глубину 880-1000 м. В 1979-1980 гг. на
Шатлыкском месторождении (Туркмения) началось захоронение сточных вод в
бухарские отложения через скважины глубиной 1500-1600 м (объемом от 115 до 528
м3/сут при устьевом давлении от 2,5 до 6,5 МПа). Высокотоксичные
сероводородсодержащие сточные воды Астраханского газохимического комплекса
захороняются с момента его ввода в эксплуатацию в 1987 г. Закачка ведется на
полигоне в поглощающие горизонты верхней юры и нижнего мела на глубину
1450-1577 м. Объем закачки - от 215 до 410 м3/сут, или в среднем 70
тыс. м3/год. Всего на полигоне захоронено более 1 млн. м3 сточных вод. На Карачаганакском НГКМ
(Казахстан) попытки захоронения промышленных сточных вод в верхнепермские
отложения на глубину 1808-1870 м начались с 1989 г. Регулярная закачка ведется
с 1992 г. в небольших объемах - от 30 до 50 м3/сут. На Вуктыльском ГКМ ПЗС
производится с 1990 г. на глубину 3727-3923 м в серпуховский поглощающий
горизонт нижнего карбона в объеме до 500 м3/сут. На
Западно-Соплесском ГКМ, расположенном в 60 км от Вуктыльского ГКМ, воды в
объеме до 60 м3/сут закачиваются в верхнефаменский поглощающий
горизонт верхнего девона на глубину 1000-1300 м. На Прибрежном ГКМ,
расположенном в Краснодарском крае на берегу Азовского моря, закачка производится
с 1995 г. в понтические отложения (плиоцен), залегающие на глубине 1500-1600 м. Сточные воды небольших
объемов закачиваются в поглощающие горизонты на многих подземных хранилищах
газа, расположенных не только в традиционных нефтегазодобывающих регионах, но и
далеко за их пределами в районах крупных потребителей газа, которыми являются
большие города и промышленно развитые территории. Подземное захоронение
промышленных сточных вод широко практикуется на севере Тюменской области,
являющемся основным газодобывающим регионом страны. Для этого имеются
исключительно благоприятные геолого-гидрогеологические условия, которые состоят
в следующем. Основным объектом освоения являются газовые залежи, залегающие на
глубине 850-1300 м в массивном резервуаре песчаных сеноманских отложений. Они
подстилаются мощной водонапорной системой песчаных отложений сеномана, альба и
апта, в которую и производится ПЗС на глубину 990-1600 м (чаще 1100-1400 м).
Высокие коллекторские свойства песчаных пород (пористость 25-30 %, проницаемость
не менее 0,5 пм2) обеспечивают высокую приемистость скважин,
составляющую при опытных нагнетаниях от 600 до 2400 м3/сут
технической воды при устьевом давлении от 0,2 до 0,6 МПа. Особо благоприятным
фактором захоронения сточных вод под сеноманскую газовую залежь является
снижение пластового давления в водонапорной системе и подъем газоводяного
контакта в результате добычи газа (B.C. Гончаров, 1995, 1998). На севере Тюменской области
ПЗС в наиболее широком масштабе осуществляется на Уренгойском месторождении
начиная в 1979 г.: на всех УКПГ, на заводе по переработке газового конденсата и
других объектах. Для этой цели пробурено более 40 нагнетательных скважин. В
последние годы на месторождении в пласт-приемник ежегодно закачивается около
900 тыс. м3 вод. В целом на Уренгойском месторождении захоронено
более 13 млн. м3 сточных вод. На Вынгапуровском газовом
месторождении воды в объеме 30-40 м3/сут закачиваются в
депрессионную воронку с 1982 г. На Ямбургском месторождении
по две-три скважины для закачки вод пробурены на всех восьми действующих УКПГ и
четыре скважины в промзоне пос. Ямбург. Всего пробурено 25 скважин. Захоронение
вод объемом до 450 мУсут ведется на УКПГ-1В и до 120 м3/сут на
УКПГ-6. В последние годы началась
закачка стоков на Юбилейном, Комсомольском, Западно-Таркосалинском
месторождениях. Проектируется ПЗС на Заполярном месторождении, а также
месторождениях п-ова Ямал. В научном обосновании,
проектировании, контроле и анализе эксплуатации полигонов ПЗС предприятий
газовой промышленности, гидрогеоэкологическом мониторинге на них большая
заслуга принадлежит специалистам отраслевых научно-исследовательских и
проектных институтов: ВНИИгаз, ВНИПИгаздо-быча, Южниигипрогаз,
ВолгоУралнипигаз, Тюменниигипрогаз, Астраханьнипи-газ, Севкавнипигаз (О.М. Севастьянов, Е.В. Захарова, Б.П.
Акулинчев, Ю.В. Терновой, В.П. Ильченко, Н.М. Петухова, Ю.Г. Гирин, А.А.
Темиров, А.П. Каменев, В.Т. Цацульников, В.Г. Козлов, Т.В. Левшенко, B.C.
Гончаров, О.И. Серебряков, М.Я. Малыхин, А.С. Тердовидов, С.Д. Павлов, Ю.М. Кондачков,
И.И. Твердохлебов, А.Р. Шакиров, В.М. Кирьяшкин, А.Ф. Соколов, И.Л. Осадчая, С.
К. Яровая и др.). Производственными предприятиями накоплен богатый опыт
разведки, строительства и эксплуатации полигонов ПЗС. Поэтому в отрасли давно
назрела необходимость разработки нормативно-методического документа,
регламентирующего различные стороны решения этой во многом непростой проблемы.
Настоящее методическое руководство призвано восполнить этот пробел. 3.
ОБЩИЕ СВЕДЕНИЯ О СТОЧНЫХ ВОДАХ ПРЕДПРИЯТИЙ ГАЗОВОЙ ПРОМЫШЛЕННОСТИ
Сточные воды предприятий
газовой промышленности - жидкие отходы, образующиеся в процессе
производственной деятельности и хозяйственно-бытового функционирования
предприятий. Они представляют собой воду
с примесью (иногда довольно значительной по объему) растворенных и
нерастворенных (взвешенных) жидких, твердых и газообразных веществ. По условиям
образования сточные воды подразделяются на: хозяйственно-бытовые; ливневые (дождевые) стоки; производственные; попутные (подтоварные) воды; строительные рассолы. Хозяйственно-бытовые сточные воды образуются на всех предприятиях и в
населенных пунктах в процессе жизнеобеспечения людей. Они характеризуются
стабильностью объемов, относительной выдержанностью химического состава и физических
свойств. В основе своей они представляют маломинерализованную воду,
использующуюся для хозяйственно-питьевого водоснабжения и загрязненную
преимущественно органическими веществами. Хозяйственно-бытовые воды поддаются
очистке на биологических очистных сооружениях, после чего могут сбрасываться на
поля фильтрации, в поверхностные водоемы, использоваться для полива
сельскохозяйственных культур, либо для других
хозяйственных и производственных нужд. Ливневые (дождевые) стоки имеют сезонный характер образования, большую
неравномерность объемов во времени, в основе своей представляют
маломинерализованную воду атмосферного происхождения, загрязненную твердыми
взвешенными частицами почв и грунтов, органическими и минеральными веществами,
смываемыми с поверхности земли. Эти стоки поддаются очистке на биологических
очистных сооружениях, после которой они могут сбрасываться на поверхность
земли, в поверхностные водоемы, либо найти полезное хозяйственное
использование. Последнее затруднено неравномерностью поступления и
невыдержанностью объемов стоков. Объем и состав ливневых (дождевых) стоков
всецело обусловлены физико-географическими и климатическими особенностями
местности, в которой находится предприятие, и размерами занимаемой им площади. Производственные сточные воды образуются на всех предприятиях в процессе
технологического цикла их эксплуатации и характеризуются относительной
стабильностью объемов во времени, большим разнообразием химического состава,
зачастую повышенной и высокой общей минерализацией, высокой загрязненностью
нефтепродуктами и химреагентами. Повышенное солесодержание и большое
разнообразие компонентов-загрязнителей делает невозможным очистку значительной
части производственных сточных вод до такой степени, чтобы их можно было
использовать в оборотном водоснабжении либо сбрасывать на рельеф и в открытые
водоемы. В данном случае речь может идти не об очистке, а о селективном
извлечении для последующей утилизации отдельных компонентов-загрязнителей
(углеводородного конденсата, метанола, диэтиленгликоля и др.), что в целом не
оказывает существенного влияния на общую токсичность сточных вод. В связи с
этим наиболее рациональным и радикальным методом обезвреживания таких вод в
газовой промышленности является подземное захоронение их в глубокие поглощающие
горизонты. Утилизация производственных
сточных вод довольно ограничена. Часть из них, поддающаяся эффективным и
рациональным методам очистки, может быть задействована в оборотных системах
технического водоснабжения. Остальные воды после необходимой водоподготовки
могут использоваться в системах поддержания пластового давления при разработке
нефтяных залежей либо в качестве технической воды для размыва подземных
емкостей в толще каменной соли. Попутные воды образуются на газодобывающих предприятиях и являются водной частью
жидкостной фазы продукции эксплуатационных скважин, поступающей вместе с газом,
углеводородным конденсатом и нефтью и отделяющейся от них в процессе сепарации.
Попутные воды представляют собой сложную смесь, в состав которой входит в
различных объемных соотношениях большинство следующих составляющих: конденсационная вода,
содержащаяся в пластовых условиях газовой залежи в парообразном состоянии и
выпадающая в жидкую фазу при добыче газа; остаточная
порово-капиллярная вода, присутствующая в порах продуктивного
пласта-коллектора; фильтрат бурового раствора; технические жидкости,
закачиваемые в скважины в процессе их эксплуатации, ремонта и интенсификации
притока газа (метанол, диэтиленгликоль, растворы хлористого кальция и природные
рассолы (рапа), ингибиторы коррозии, соляная и другие кислоты,
поверхностно-активные вещества и т.д.); пластовая подошвенная,
контурная и законтурная вода водонапорной системы, подстилающей и
оконтуривающей разрабатываемую залежь, изредка пластовая вода из выше- или
нижележащих по отношению к разрабатываемой залежи водоносных пластов. Попутные воды
характеризуются большим разнообразием объемов и химического состава как на
разных месторождениях, так и на одном месторождении в различные периоды его
разработки. Объем их возрастает с увеличением добычи газа и времени освоения
месторождения, по мере роста обводнения разрабатываемой залежи и
эксплуатационных скважин пластовой водой. Аналогичным образом увеличивается
общая минерализация попутных вод: от малой солености (менее 1 г/дм3)
для периода, когда в их составе преобладает конденсационная вода, до высокой,
когда в их составе присутствует большая доля пластовой воды. Попутные воды
содержат в повышенном количестве широкий спектр токсичных природных и
привнесенных компонентов, что делает невозможным их очистку до концентраций,
позволяющих сбрасывать их на поверхность или в открытые водоемы. Для попутных, как и для
большинства сточных вод, следует говорить не об очистке, а о селективном
извлечении и утилизации отдельных примесей (углеводородного конденсата,
метанола, диэтиленгликоля, сероводорода, некоторых микроэлементов). После этого
воды продолжают оставаться токсичными для окружающей природной среды и подлежат
обезвреживанию предпочтительно методом подземного захоронения. Утилизация
попутных вод весьма ограничена. После соответствующей подготовки они могут
применяться в системах поддержания пластового давления при разработке нефтяных
залежей либо в качестве водоисточника для размыва подземных емкостей в соляных
толщах. Строительные рассолы образуются в результате размыва технической водой
подземных емкостей в толще каменной соли при строительстве подземных хранилищ
для жидких и сжиженных продуктов. География их ограничена районами развития
соляных толщ. В качестве технической воды для размыва как правило используются
прошедшие предварительную подготовку хозяйственно-бытовые, ливневые и
производственные сточные воды. Объемы строительных рассолов
бывают довольно значительные, поскольку создание подземной емкости требует
7-10-кратного объема технической воды. Поступление рассолов неравномерное из-за
перерывов в строительстве как различных емкостей, так и одной и той же емкости. Химический состав
строительных рассолов однотипный (преимущественно хлоридный натриевый с
примесью хлористого калия, сульфатов кальция и магния и некоторых других
соединений). Общая минерализация строительных рассолов, изменяется в пределах
от 80-100 г/дм3 в начале строительства до 200-250 г/дм3 и
более в основной период создания емкости. Возможности утилизации
строительных рассолов ограничены. Получение
из них товарной поваренной соли не рентабельно из-за неравномерности
поступления рассола, недостаточного его количества, нестабильной концентрации и
т.д. Часть рассолов можно использовать для приготовления буровых растворов, для
глушения газовых скважин при ремонте, для регенерации натрий-катионитовых
фильтров котельных и на некоторые другие нужды. В основном же строительные
рассолы требуют обезвреживания, которое наиболее рационально осуществлять
преимущественно путем подземного захоронения в поглощающие горизонты. По объему образования
сточных вод на предприятиях газовой промышленности принята следующая
классификация: малое - до 50 м3/сут
(до 15-20 тыс. м3/год); среднее - от 50 до 300 м3/сут
(от 15-20 до 100 тыс. м3/год); значительное - от 300 до
1000 м3/сут (от 100 до 365 тыс. м3/год); большое - от 1000 до 4000 м3/сут
(от 365 тыс. м3/год до 1,5 млн. м3/год); очень большое - от 4,0 до
10,0 тыс. м3/сут (от 1,5 до 3,5-4 млн. м3/год). Для отдельных предприятий
характерны в основном малые и средние, редко значительные количества сточных
вод. Крупные газовые комплексы с большим числом предприятий, расположенных
довольно далеко друг от друга, характеризуются большим и очень большим
суммарным количеством сточных вод. На газодобывающих
предприятиях сточные воды не поддаются современным методам очистки по причине
высокого солесодержания, частично имеющего пластовое, природное происхождение,
большого разнообразия минеральных и органических веществ. Особая токсичность
свойственна сточным водам на месторождениях сероводородсодержащего газа,
которые в большом количестве содержат растворенный сероводород, гидросульфид- и
сульфид-ионы. Обезвреживание таких вод должно осуществляться путем подземного
захоронения. Газоперерабатывающие заводы
характеризуются большим разнообразием химического состава и физических свойств
производственных сточных вод. Наибольшей токсичностью обладают воды заводов по
переработке сероводородсодержащих газов. Вместе с газом и углеводородным
конденсатом на заводы поступает определенная часть минерализованной пластовой
воды, не удаленная из продукции на газопромыслах. В результате заводские воды
обладают повышенным солесодержанием и дополнительно загрязнены широким спектром
минеральных и органических реагентов, применяемых в технологии переработки
газа. Такие воды также не поддаются эффективной очистке и подлежат подземному
захоронению. На станциях подземного
хранения газа (ПХГ) режим и состав вод имеет циклический характер и обусловлен
цикличностью работы ПХГ. Во время закачки газа образуется минимальный объем
вод, загрязненных преимущественно горюче-смазочными материалами и
нефтепродуктами. Они могут быть очищены на биологических очистных сооружениях
до кондиций, позволяющих использовать их в системе оборотного водоснабжения
либо сбрасывать на рельеф и в поверхностные водоемы, но на практике этого
обычно не происходит. В период отбора газа из
подземного хранилища помимо обычных сточных вод на ПХГ появляется попутная
вода, добываемая из скважин вместе с газом. В связи с этим увеличивается объем
вод, возрастает их солесодержание, они становятся не поддающимися эффективной
очистке и требуют обезвреживания путем подземного захоронения. На подземных хранилищах жидких
и сжиженных продуктов в толще каменной соли основные объемы сточных вод
образуются во время создания подземных емкостей методом размыва технической
водой. Это строительные рассолы, требующие подземного захоронения. В процессе
последующей эксплуатации таких хранилищ в них образуются небольшие объемы
аналогичных рассолов, которые периодически также должны захороняться в глубокие
поглощающие горизонты. На компрессорных станциях
образуются производственные сточные воды, в большинстве своем поддающиеся очистке
на биологических очистных сооружениях, после которых они могут использоваться в
системах оборотного технического водоснабжения либо сбрасываться на рельеф и в
поверхностные водоемы. На головных компрессорных станциях при продувке
пылеуловителей в сточные воды могут попадать такие вредные компоненты, как
метанол, диэтиленгликоль и конденсат. Подобные воды также требуют подземного
захоронения. Подсобно-вспомогательные
предприятия из-за большого разнообразия технологической направленности
характеризуются разнообразием количественных и качественных характеристик
сточных вод. Часть из них поддается очистке на биологических очистных
сооружениях, после чего их можно использовать в системах оборотного
технического водоснабжения либо сбрасывать на рельеф и в поверхностные водоемы.
Другая часть вод, с повышенным солесодержанием либо загрязненная различными
химреагентами, кислотами, органическими и минеральными веществами, не поддается
эффективной очистке и подлежит подземному захоронению. Это воды повышенной
минерализации котельных и теплоэлектроцентралей, токсичные воды баз по
снабжению нефтепродуктами и ингибиторами, производственных баз предприятий по
повышению нефтеоотдачи пластов и капитальному ремонту скважин. Из всего многообразия и
количества сточных вод в газовой отрасли биологической очистке подвергается
лишь незначительная часть их. 4.
КРИТЕРИИ ВЫБОРА СПОСОБА НЕЙТРАЛИЗАЦИИ
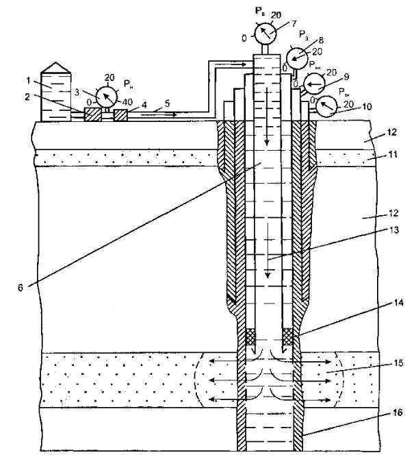
| |||||||||||||||||||||||||||||||||||||||||||||||||||||||||||||||||||||||||||||||||||||||||||||||||||||||||||||||||||||||||||||||||||||||||||||||||||||||||||||||||||||||||||||||||||||||||||||||||||||||||||||||||||||||||||||||||||||||||||||||||||||||||||||||||||||||||||||||||||||||||||||||||||||||||||||||||||||||||||||||||||||||||||||||||||||||||||||||||||||||||||||||||||||||||||||||||||||||||||||||||||||||||||||||||||||||||||||||||||||||||||||||||||||||||||||||||||||||||||||||||||||||||||||||||||||||||||||||||||||||||||||||||||||||||||||||||||||||||||||||||||||||||||||||||||||||||||||||||||||||||||||||||||||||||||||||||||||||||||||||||||||||||||||||||||||||||||||||||
|
|
-
серия контрольных водоносных горизонтов от опресненных до крепких рассолов,
идентичных ловушке; |
|
|
-
синклинальная ловушка, заполненная опасными сточными водами (на профиле); |
|
|
-
то же (в плане); |
|
|
-
подошва синклинальной ловушки, сложенная плотными породами, лишенными
проводящих трещин; |
|
|
- наблюдательные и контрольные
скважины в плане (А) и в профиль (Б); |
|
|
-
изогибсы синклинальной ловушки (в плане); |
|
|
-
подошвенная зона ловушки |
Таким образом, речь идет о модели практически вечной синклинальной ловушки. Годность последней при этом проверяется самой природой. Только ее «авторитет» для нас незыблем. Все остальные гарантии, основанные на технологических принципах, не внушают доверия. Слишком велика ставка.
* Раздел
подготовлен с участием А.Ф. Соколова (ВНИИгаз).
Оценка совместимости сточных
вод с пластовыми водами и породами основывается на проведении расчетов,
лабораторных и опытно-промысловых исследований Севкавнипигаза, ВНИИгаза,
ВолгоУралнипигаза.
Эксплуатация
глубокопогруженных горизонтов в рассматриваемых целях должна быть рассчитана на
продолжительное время и предусматривать независимо от режима закачки
(постоянного или периодического) заполнение фильтрующего пространства пород
сточными водами и оттеснение пластовой воды по пласту. При этом формируются
гидрогеохимические системы: «сточные воды - пластовая вода», «сточные воды -
пластовая вода - порода», «сточные воды -порода», в которых протекают
физико-химические процессы между жидкой и твердой фазами (растворение и
выщелачивание, окислительно-восстановительные реакции, катионный обмен,
сорбция, десорбция, деятельность бактерий в анаэробных условиях, набухание).
Все это ведет к изменению фильтрационно-емкостных свойств пород: растворение и
выщелачивание способствуют их улучшению, осадкообразование - ухудшению, влияние
ионного обмена зависит от состава сточных вод, пластовой воды и поглощенных
катионов породы.
Основными источниками
кольматации являются:
механические примеси,
присутствующие в сточных водах, а также образующиеся в результате
нестабильности поступления СВ в пласт;
твердые и жидкие продукты
взаимодействия системы «сточные воды - пластовая вода - порода», кольматация
пород газами, органическими жидкостями;
набухаемость.
Условием полного отсутствия
кольматации является химическая и физико-химическая совместимость СВ с
пластовой средой. Для проверки в лаборатории проводят предварительный тест на
совместимость СВ с подземными водами и породами. В пластовых условиях,
процессы, происходящие в результате смешения, могут отличаться от лабораторных,
поэтому рекомендуется проводить программное моделирование процессов для
реальных условий с использованием программы GIBBS, реализованной Ю.В.
Шваровым, Д.В. Гричуком с учетом теоретических основ геохимии природных вод (Т.
В. Левшенко, А.Ю. Бычков, 1999).
При отсутствии совместимости
продукты разнообразных реакций могут накапливаться и приводить к полной
кольматации порового пространства пласта-коллектора. Последствия кольматации
наиболее быстро проявляются в призабойной зоне пласта, причем радиус влияния
зависит от ряда факторов:
скорости и объема
поступающих СВ, объема продуктов, выделяющихся в твердой фазе, кинетики их
выделения, пористости и т.д.
На основе исследования
состава СВ, пластовых вод, пород и продуктов их взаимодействия формируются
требования к составу сточных вод. При их выполнении источники кольматации могут
быть исключены или максимально сокращены.
Требования к составу СВ в
системе «сточные воды - пластовая вода -порода» должны выполняться в течение
всего периода закачки.
Процессы взаимодействия
закачиваемых СВ с пластом-коллектором зависят от термобарических условий в
пласте, литологической характеристики, минералогического состава,
фильтрационно-емкостных свойств, состава обменных катионов и величины емкости
поглощения породы, слагающей пласт.
Для последовательного заполнения
пор пласта предпочтительно равномерное распространение сточных вод по всему
сечению поверхности фильтрации. Одним из условий, способствующих этому,
является наличие в СВ минимального количества взвесей (для пористых сред не
более 20-30 мг/дм3) при размере частиц в 4-6 раз меньше размера пор.
Согласно литературным
данным, размеры пор в продуктивных горизонтах составляют 10-60 мкм, трещин в
трещиноватых породах 0,2-0,3 см. Для беспрепятственного заполнения пластов СВ
размеры частиц взвесей не должны превышать 1,6 мкм. При величине частиц 1,6-10
мкм фильтрация будет сопровождаться частичной потерей приемистости, при более
крупных частицах возможно образование кольматирующего слоя. Этому способствует
также гелеобразная природа частиц взвеси, приводящая к их слипанию в более
крупные конгломераты в зонах замедленного движения сточных вод. Последнее
относится к нестабильным компонентам СВ (железо и другие тяжелые металлы),
которые в зависимости от условий в пласте могут осаждаться в виде комплексных
соединений.
Наличие плавающей и
эмульгированной нефти и конденсата в СВ, накопление их на поверхности
фильтрации и в пористой среде происходит во всех случаях, когда размеры их
частиц и глобул близки размерам пор и трещин коллектора.
При захоронении СВ в глубокопогруженные
горизонты широко используется опыт по закачке вод для заводнения пластов при
нефтедобыче. Изданный на основании этого ОСТ 39-225 формирует основные
требования, предъявляемые к СВ в зависимости от фильтрационно-емкостных свойств
пласта.
При снижении коэффициента
приемистости нагнетательных скважин с начала закачки воды на 20 % следует
проводить работы по восстановлению фильтрационной характеристики призабойной
зоны и, при необходимости, улучшать качество закачиваемой воды.
В пластовых условиях система
«пластовая вода-порода» находится в состоянии химического равновесия. В
процессе закачки сточных вод при существенной разнице в концентрациях
компонентов СВ и пластовой воды происходит смещение равновесия между твердой и
жидкой фазами с возможным химическим взаимодействием между ними.
При этом наибольшим
изменениям подвержены глинистые и карбонатные породы, наименьшим - песчаные
разности.
При рН<7 происходит частичное вымывание алюмосиликатов глинистых минералов и растворение карбонатов и сульфатов. Наличие в СВ свободной щелочи (рН>8) ведет к переотложению химических образований в системе «вода-порода». В обоих случаях в породе, формирующей ловушку, могут возникать зоны фильтрации, отличные от первоначальной. В связи с этим наиболее приемлемым для закачки считается нейтральный характер стоков с рН, равным 7-8.
Уменьшение минерализации
подземной воды под влиянием более пресных СВ может вызвать увеличение
набухаемости глинистых минералов, снижение фильтрационных свойств. Это
характерно для пород, содержащих большое количество глинистых образований при
низких концентрациях двухвалентных катионов (Са2+, Mg2+) в закачиваемых сточных
водах.
Вода с низкой минерализацией
не вызывает набухания и, соответственно, не уменьшает проницаемость пласта,
если 10 % и более из общей суммы катионов СВ принадлежат кальцию и магнию:
100
([Са2+] + [Mg2+])/ ([Na+] + [К+ [Са2+]+ [Mg2+]) > 10 %, (1)
где [Са2+], [Mg2+], [Na+],[К+] - концентрации катионов, мг/дм3.
Загипсованность нефтеносных
пород известна на многих месторождениях. Пластовые воды содержат ионы
и Са2+ в
количестве, обеспечивающем их равновесие с гипсом. Закачка посторонних, прежде
всего пресных, вод нарушает это равновесие, а при недостатке одного из ионов происходит
растворение гипса, вода обогащается
и Са2+
Возможность насыщения закачиваемых вод сульфатами за счет пластовых пород
детально изучена. При обычной кратности промывки 3-5 вода будет полностью
насыщена сульфатами, даже при очень небольшом (менее 0,1 %) содержании гипса в
породе (В.П. Зверев, 1967).
Карбонатные породы,
являющиеся коллекторами для многих залежей нефти и газа, растворяются в воде,
содержащей СО. При этом в воде повышаются концентрации НСО3, Са2+
Mg2+. Разгазирование воды и повышение величины рН
приводит к выпадению в осадок карбонатов кальция, магния (и стронция), при этом
концентрация соответствующих ионов в воде снижается.
На некоторых месторождениях
происходит интенсивное выщелачивание из пород коллекторов кремнезема, который
после снижения температуры и давления может образовывать осадки SiO2.
Опытно-методические
лабораторные и промысловые эксперименты на Касимовском ПХГ (А.Ф. Соколов, А.В.
Дахнов, Т.В.Левшенко 2000) показали, что вмещающие породы пласта-коллектора
обладают хорошими сорбционными свойствами. Чем выше содержание глинистых
образований, тем выше общая поглощающая способность породы. Наличие
органических составляющих в составе закачиваемых СВ (нефтепродукты,
диэтиленгликоль, метанол) повышает способность породы к поглощению.
При определении состава
пластовой воды выполняется химический анализ содержания макро- и
микрокомпонентов, включая растворенные газы (СО2агр, H2S),
тяжелые металлы, органическую составляющую (бензол, фенолы). Проводится расчет
солевой формы состава, определяется химический тип воды.
С помощью математического
моделирования рекомендуется рассчитать состав основных комплексных соединений в
составе воды, а затем привести исследуемые характеристики состава воды к
пластовым условиям (А.Ю Бычков, Т.В. Левшенко, 1999). На основании этих данных
формируется заключение о характере воды, токсичности, возможности использования
ее в качестве полезного ископаемого.
Расчетную величину
токсичности А (ед. ПДК/дм3) определяют как сумму значений
токсичности каждого компонента по формуле
А = С1,/ПДК1, + С2,/ПДК2, + ... + Сi/ПДКi, (2)
где Сi - массовая концентрация
компонента, мг/дм3;
ПДКi - предельно допустимая
концентрация компонента в воде хозяйственно-питьевого назначения, мг/дм3.
В то же время следует иметь
в виду, что формула (2) не отражает синергизма при
взаимодействии разных токсикантов. Так, металлоорганические соединения ряда
тяжелых металлов на порядок токсичнее их свободных ионов, и расчет токсичности
по вышеуказанной формуле дает заведомо более низкую токсичность, чем реальная.
Для получения
физико-химической характеристики СВ выполняется их анализ, на основании
которого формируется заключение о соответствии сточных вод ОСТ 39-225 и
обоснование целесообразности обезвреживания их в поверхностных условиях в
экологическом и экономическом аспектах. Стоимость одного полного анализа
определения компонентного состава пластовых и сточных вод в
химико-аналитических лабораториях газовой отрасли составляет около 100 долл.
США.
Распространенными СВ в
газовой отрасли являются попутные воды. Как указывалось выше, они представляют
собой сложную смесь, в состав которой в различных соотношениях могут входить:
пластовая вода, в том числе подошвенная и законтурная, разрабатываемой залежи;
конденсационная вода; остаточная порово-капиллярная вода; фильтрат бурового
раствора; иногда вода из выше или нижележащих горизонтов; различные
технологические примеси, закачиваемые в скважины в процессе их эксплуатации,
ремонта и интенсификации и др.
В связи с этим СВ
характеризуются многообразием химического состава, часто загрязнены
нефтепродуктами и химреагентами (диэтиленгликоль, метанол, ингибиторы). Даже
при самой совершенной технологии очистки в СВ остаются токсичные компоненты,
поэтому захоронение в глубокопогруженные горизонты является самым
распространенным и оптимальным вариантом их обезвреживания. Использование
установок биологической очистки сточных вод от органических компонентов
технологически и экономически не оправдано и малоэффективно.
Захоронение сточных вод
газодобывающих объектов как правило производится в депрессионную воронку
разрабатываемой залежи. В связи с этим существует ошибочное представление о
том, что возврат попутных вод в залежь не вызовет никаких осложнений при
закачке. Между тем наблюдается значительное изменение химического состава
попутных вод в результате нарушения равновесий при поступлении флюида на земную
поверхность.
Кроме этого, в пласт
закачиваются также хозбытовые сточные воды и отработанная технологическая вода.
При их закачке в глубокий горизонт в пласте-приемнике искусственно создаются
условия, свойственные поверхностной зоне гипергенеза: изменяется температура,
рН воды, окислительно-восстановительные свойства, привносятся растворенные газы
(из них наиболее значимые 02 СО2, H2S). Все
это стимулирует развитие процессов, свойственных зоне гипергенеза:
выщелачивание пород, катионный обмен, окисление минералов и углеводородов и др.
Одним из следствии закачки
СВ является взаимодействие сульфатов вод с органическими компонентами, в
результате чего происходят восстановление сульфатов до сероводорода и окисление
углеводородов до диоксида углерода по реакциям
CaSO, +CH4, = CaCO3 + Н20 + H2S
;
7CaSO4, + С9Н20
- 7CaCO3 + 2СО2 + 3Н2О + 7H2S.
При этом легкие парафиновые
углеводороды окисляются до диоксида углерода и воды, тяжелые, начиная с С10Н22
, превращаются в полинафтены. Во всех случаях происходит потеря легких фракций
нефти, удаление сульфатов из воды, обогащение жидкой фазы сероводородом и
углекислым газом, которые снижают ее рН.
Восстановление сульфатов до
сероводорода происходит биогенным путем в результате жизнедеятельности
сульфатвосстанавливающих бактерий в анаэробных условиях. Большинство природных
вод, а также техногенные, до температуры стерилизации (800 °С) в изобилии
содержат бактерии. При возникновении благоприятных условий они становятся
активными (Н.М. Петухова, 1995).
Показательными в этом плане
были сточные воды, закачиваемые в скважину Прибрежная 4 (Краснодарский край).
Доставленные в лабораторию при температуре 7-8 °С в большой емкости, они
представляли собой прозрачную жидкость желто-бурого цвета. Пробу разлили в
полиэтиленовые бутылки, наполнив их под пробку, плотно закрыли. При комнатной
температуре они оказались под давлением. Через 5-7 дней в пробах без доступа
воздуха появились интенсивные черные хлопья FeS, в составе воды снизилось
содержание сульфатов, появился сероводород, углекислота, снизился рН.
Практика показывает, что
такие же процессы наблюдаются во всех пробах, доставляемых с ПХГ. Попадающий
при отборе проб воздух на какое-то время ингибирует деятельность анаэробных
бактерий, затем при отсутствии доступа воздуха их деятельность снова
возобновляется.
Аналогичные процессы
протекают при закачивании сточных вод в подземные ловушки и
резервуары-накопители.
При закачке СВ вследствие
образования H2S и CO2 агрессивная среда вызывает
коррозию наземного и подземного оборудования нагнетательной скважины. Скорость
коррозии составляет 0,6 мм /год.
На забое скважин за счет
перепада давлений происходит интенсивное осаждение частиц, в пространстве пор
активизируется деятельность сульфатвосстанавливающих бактерий. Сероводородное
заражение пласта - одно из основных последствий процесса сульфатредукции;
сероводород - индикатор его протекания. Сероводород реагирует с металлом труб,
соединяясь с растворенным в воде железом. Образующийся сульфид железа
кольматирует призабойную зону.
Потеря приемистости
нагнетательных скважин и повышение давления могут привести к разрыву труб и
проникновению токсичных СВ в вышележащие горизонты.
Факторами, влияющими на
процесс сульфатредукции, являются температура ниже 80°С и низкая минерализация
закачиваемых вод. Более высокие температуры и высокая минерализация вод (более
100 г/дм3) подавляют жизнедеятельность сульфатвосстанавливающих
бактерий.
Основными показателями
качества закачиваемых СВ являются:
содержание механических
примесей не более 300 мг/дм3;
содержание нефтепродуктов не
выше 150 мг/дм3;
содержание сероводорода не
более 15 мг/дм3;
содержание диэтиленгликоля
не выше 1 г/дм3;
содержание метанола не более
40 г/дм3;
содержание окисного железа
не выше 3 мг/дм3;
неагрессивность сточных вод.
При коррозионной активности сточных вод >0,2 мм/год необходимо предусмотреть
мероприятия по антикоррозионной защите трубопроводов и оборудования;
содержание растворенного
кислорода не более 0,5 мг/дм3;
набухаемость глин в СВ не
должна превышать ее значения в пластовой воде;
совместимость СВ с пластовой
водой и породой по основным осадкообразователям (CaCO3, CaSO4). В результате их
образования допускается снижение фильтрационной характеристики пласта не более
чем на 20 %.
Кроме того, необходимо
учитывать роль сульфатвосстанавливающих бактерий. В связи с этим СВ перед
закачкой следует проверять на присутствие в них ионов сульфидов (тестовое
определение). Образование ионов сульфидов из имеющихся в СВ сульфатов в
результате сульфатредукции может привести к локальному развитию процессов
биокоррозии.
Основными
осадкообразователями при закачке сточных вод являются карбонаты и сульфаты
кальция.
Возможность образования
твердого осадка карбоната кальция и его количество контролируются карбонатным
равновесием, отражающим соотношение между СО2 НСО3, СО
в растворе. Карбонатное равновесие определяется
концентрацией ионов водорода (величиной рН), которая характеризует условия
равновесия между жидкой фазой, с одной стороны, и твердой и газообразной - с
другой. На этом основан прогноз возможности осаждения карбоната кальция по
методике Стиффа-Девиса путем сравнения фактического рН воды с расчетным
значением рН„ при насыщении данной воды карбонатом кальция. За показатель
солеотложения принимают индекс насыщения IS и индекс стабильности ISt.
Индекс насыщения определяют по выражению
IS =
рН - pHs. Он
позволяет оценить способность воды отлагать или растворять карбонат кальция.
При IS > 0 (обычно 0,5-0,7) из
воды выпадает осадок карбоната кальция;
при IS = 0 вода находится в
состоянии равновесного насыщения карбонатом кальция; при IS<0
вода способна растворять дополнительное количество твердого СаСО3.
Индекс стабильности,
определяемый по выражению ISt = 2 pHs - рН, дает возможность
качественно оценить солеотложение. Индекс стабильности принимает следующие
значения:
ISt > 8,7 - вода очень
агрессивная, осадок СаСО3 не образуется;
8,7>ISt >
6,9 - вода среднеагрессивная, осадок не образуется;
6,9>ISt >
6,4 - вода стабильная;
6,4>ISt >
3,7 - вода выделяет осадок СаСО3
ISt <
3,7 - вода сильно перенасыщена СаСО3, образуется осадок.
При определении рН„
используют выражение рН = рСа + рЩ + К,
где рСа, рЩ - отрицательные
логарифмы концентраций Са2+ и НСО3 определяемые по
графику (рис. 2);
К - коэффициент, зависящий
от ионной силы раствора m:
m = k1,b1, + k2,b2 + ... + kn,bn / 2.1000, (3)
где b - концентрация ионов, мг/дм3;
k - эквивалентные массы ионов, поделенные на их валентности,
соответствующие данному иону: Са2+ - 0,1; Mg2+ - 0,17; Na+ -
0,043; K+ - 0,026; CI-
-0,028; SO
- 0,042; HCO3 - 0,016.
Рис. 2. График для определения рСа
и рЩ по концентрации ионов Са и НСО3:
1, 2 - концентрации ионов Са2+ и НСО3
Коэффициент К можно
определить графически (рис. 3). При расчетах по
прогнозированию солеотложений состав смесей вод определяют по диаграмме
смешения (график произвольного масштаба). По оси абсцисс откладывают долю
каждой из смешиваемых вод в составе смеси, начиная от 100 %-ного содержания
первой воды до 100 % второй воды; на осях ординат, восстановленных из крайних
точек, - массовую концентрацию компонентов. Точки одноименных компонентов соединяют
прямыми, которые показывают содержание данного компонента во всем диапазоне
смешения.

Рис. 3. Зависимость значения К от
ионной силы раствора при температурах (°С):
1 - 0; 2 - 10; 3 - 20; 4 -
25; 5 - 30; 6 - 40; 7 - 50; 8 - 60; 9 - 70; 10 - 80; 11 - 90
Положительные значения IS и
величина ISt в интервале 6,4-3,7 и ниже свидетельствуют
о способности данной смеси к выделению осадка карбоната кальция. Количество его
А определяют по предложенному А.Ю. Намиотом и Г.Ф. Губкиной уравнению
, (4)
где х1 - доля одной воды в смеси;
m1 и m2 - молярность,
соответственно, для Са2+ и НСО3, для первой и второй
смешивающихся вод;
а - число молей СаСО3,
выпадающего в осадок при смешивании вод;
- молярная концентрация СО2, в растворе.
Величину А можно определить
по уравнению
A = LKI/KII
(5)
где L - произведение
растворимости СаСО3;
K1 и КII
- константы диссоциации кислоты HСО3 первой и
второй ступени;
kнсо3 и kCa2+ активности ионов.
После пересчета компонентного
состава вод в молярные концентрации и определения произведения растворимости и
коэффициентов активности рассчитывается эффект смешения вод.
Условия и причины осаждения
карбонатных солей многообразны и зависят от большого числа разнонаправленных
факторов: содержания водорастворимых поверхностно-активных веществ, нафтеновых
и карбоновых кислот, обладающих эффективностью осаждения кальция и магния на
90-100 %; разбавления пластовой воды пресной (гидролиз).
Наибольшее распространение в
природных условиях имеют соли гипса (CaSO4, x 2H2О) и ангидрита (CaSO4.).
В простейшем варианте содержание сульфата кальция в смеси «сточная вода -
пластовая вода» оценивается по минимальному содержанию одного из компонентов (Са2+
или SO42-). Определяющими факторами, влияющими на содержание
сульфатных солей кальция в растворе являются минерализация и состав самих
растворов. Причем в растворе хлористого магния, например, растворимость гипса в
10 раз больше, чем в растворе хлористого кальция такой же концентрации.
Изменения температуры и давления влияют на растворимость сульфатов кальция
незначительно.
Прогноз выпадения сульфатных
солей из раствора выполняют по следующей схеме: по данным химического анализа вычисляют
произведения миллиграмм-эквивалентных концентраций [Ca2+]×[SO42-] и сумму произведений
концентраций других присутствующих в растворе ионов на их валентности:
S[Xi]×Zi-2([Ca2+]+[SO42-])=[Na+]+2[Mg2+]+[HCO3]+[CI]+[K+]
мг-экв/дм3. (6)
По номограмме (рис. 4) определенному значению S[Xi]×Zi-2([Ca2+]+[SO42-]) соответствует
произведение [Ca2+]×[SO42-] [мг-экв]2 в
насыщенном гипсом растворе. Если в исследуемом растворе произведение [Ca2+]×[SO42-] [мг-экв]2 равно
или больше произведения, найденного по номограмме, то исследуемая проба
насыщена сульфатом кальция, если меньше, то не насыщена. По кривой ON
определяют концентрации CaSO4, соответствующие
вычисленному для насыщенного раствора и фактическому произведениям миллиграмм-эквивалентных
концентраций Са2+ и SO42-. По разности концентраций CaSO4 определяют дефицит
насыщения воды гипсом.
При существенном различии
концентраций кальция- и сульфат-ионов степень насыщенности вод CaSO4 рассчитывают по уравнению
(В. П. Зверев):
(7)
где ХCaSO4 - дефицит насыщения гипсом
исследуемого водного раствора, мг/дм3;
[Са2+] и [SO24] - концентрации ионов по
результатам химического анализа, мг-экв/дм3;
[Са2+]×[SO24] - произведение
концентраций ионов Са2+ и SO42 (мг-экв.)2 в
насыщенном растворе, определяемое по номограмме (рис.4)
для соответствующей температуры в зависимости от величины S[Xi]×Zi.- 2([Ca2+]+[S042]),
которая вычисляется по предыдущему варианту.

Рис. 4. Номограммы для определения дефицита насыщения природных вод сульфатом кальция
Следует отметить, что в
последние годы появилось много методик расчета термодинамических равновесий в
природных водах, основанных на разных принципах (МГУ, ВСЕГИНГЕО, Гидроспецгеология
и др.). Составлен ряд программ расчетов на ЭВМ систем из многих уравнений (Ю.В.
Шваров, Г. А. Соломин, И. К. Карпов и др.), позволяющих определять области
устойчивости различных компонентов в растворах в зависимости от концентраций,
рН, Eh, Т °С, ионной силы, давления. Методы физико-химической гидродинамики,
гидрогеохимического моделирования позволяют прогнозировать осадкообразование в
пластовых условиях значительно точнее, чем расчеты по формулам твердых фаз.
Для определения
совместимости СВ с пластовыми водами и породами проводят серию
экспериментальных тестов. Для этого готовят смеси «сточные воды - пластовая
вода» в отношениях 5:95; 10:90, 20:80, 50:50, энергично встряхивают и дают
отстояться. Через 1-3 сут. проводят анализ образовавшейся жидкой фазы на
содержание следующих компонентов: HCO3, CO32+, Cl, SO42, Са2+, Mg2+, Na+(K+), а также рН. Рассчитывают
теоретическое содержание искомых ионов в смесях и сравнивают с фактическим.
Понижение содержания
компонентов относительно расчетных указывает на участие компонента в процессе
солеотложения.
Взаимодействие СВ с породой
также может быть проверено на серии опытов (Н.М. Петухова, 1995). Смеси готовят
из расчета 150 г измельченной просеянной через сито породы и 850 г СВ. По
изменению концентраций макро- и микрокомпонентов в жидкой фазе по результатам
химического и атомно-абсорбционного анализов во времени и в зависимости от
температуры можно судить о динамике и направленности процессов, происходящих
при взаимодействии в системе «сточные воды - порода». При необходимости
применяют микроскопические исследования осадка.
Следует иметь в виду, что
результаты при проведении лабораторных экспериментов могут быть искажены за
счет небольших объемов смешиваемых жидкостей и влияния контакта с воздухом,
которые ускоряют процесс изменения карбонатного равновесия. К тому же в
условиях пласта существенное влияние оказывает агрессивная углекислота.
Полученные расчетные и
экспериментальные данные используются при проведении опытно-промышленных
закачек, что позволяет корректировать подготовку сточных вод. Кроме того, они
являются базовыми для разработки технологического регламента.
Технологические приемы
подготовки СВ в зависимости от
показателей качества включают следующие операции: отстаивание, применение
ингибиторов коррозии и солеотложения, деаэрирование, осаждение нестабильных
компонентов и т.д., которые устанавливают путем проведения серии исследований и
выбора оптимального варианта регламента, обоснованного экономически и технологически.
Оценка совместимости
промышленных сточных вод при закачке выполнена на примере Краснодарского ПХГ.
Закачка осуществляется в скв. 14, 86, 163, в свиту Горячего ключа (табл.1).
Отложения свиты Горячего
ключа (1100-1150 м) палеоцена сложены бескарбонатными аргиллитами (30-35 м),
переходящими в алевролиты, а затем в тонкозернистые глинистые песчаники (45-50
м). Выше залегает пачка (10-12м) грубослоистых песчано-алевролитовых пород,
чередующихся с прослоями относительно уплотненных тонкозернистых песчаников и
глинистых мягких алевролитов.
Коллекторы этой свиты
относятся к III и IV классам (А.А. Ханин), эффективная пористость их составляет
25-26 %, проницаемость 0,133 мкм2, пластовое давление 9,7-10,2 МПа,
температура 75-86 °С.
Гидрохимическая характеристика сточных вод нагнетательных скважин
Краснодарского ПХГ
|
СКВ. №№ |
Дата,
глубина отбора, м |
d420 pH |
Массовая
концентрация, мг/д |
Минерализация, г/дм3 |
|||||
|
H2S+HS |
СО2агр |
Fe3+ |
Fe2+ |
SО42+ |
Фенолы,
л |
||||
|
14 |
9.04.95 1000 |
1,012 6,2 |
13,43 |
74,80 |
27,93 |
251,33 |
13 |
4,56 |
18,52 |
|
-"- |
5.10.96 1000 |
1,014 5,6 |
47,54 |
118,80 |
5,03 |
3,70 |
13 |
5,01 |
22,85 |
|
-"- |
10.04.97 1000 |
1,013 6,7 |
Н.о. |
57,20 |
13,96 |
122,87 |
49 |
12,60 |
21,06 |
|
-"- |
27.04.98 1142 |
1,005 7,0 |
21,12 |
Н.о. |
Н.о. |
335,10 |
15 |
5,86 |
8,91 |
|
|
|
|
|
|
|
|
|
|
|
|
86 |
24.10.93 1000 |
1,012 7,3 |
6,62 |
26,40 |
8,38 |
55,85 |
576 |
3,50 |
19,20 |
|
-"- |
19.04.94 1000 |
1,009 6,4 |
6,44 |
110,0 |
55,85 |
161,97 |
Н.о. |
4,25 |
15,54 |
|
-"- |
7.04.95 1000 |
1,013 5.7 |
21,49 |
83,60 |
2,79 |
415,52 |
29 |
4,78 |
20,66 |
|
-"- |
6.10.96 1000 |
1,013 6,3 |
153,62 |
96,80 |
2,23 |
424,46 |
38 |
4,96 |
20,57 |
|
|
|
|
|
|
|
|
|
|
|
|
163 |
9.04.95 1000 |
1,011 6,4 |
11,86 |
79,20 |
11,17 |
396,54 |
774 |
4,89 |
17,51 |
|
-"- |
14.04.97 1000 |
0,999 5,6 |
5,19 |
83,60 |
15,08 |
173,14 |
88 |
6,00 |
3,14 |
|
-"- |
29.04.98 1095 |
0,999 7,3 |
5,80 |
Н.о. |
Н.о. |
156,38 |
498 |
0,58 |
2,03 |
Примечание. Н.о. - не обнаружено.
В рассматриваемом варианте
при проницаемости коллектора 0,133 мкм2 содержание механических
примесей в закачиваемых стоках не должно превышать 5 мг/дм3. ,
Химический состав пластовой воды
свиты Горячий ключ представлен в табл.2.
Химический состав
пластовой воды свиты Горячий ключ
|
Показатели |
Скв.15 (01.09.81) |
Скв.41 (03.09.81) |
|
Глубина отбора, м |
970 |
1000 |
|
РН |
7,5 |
7,6 |
|
d420 |
1,020 |
1,022 |
|
Массовая концентрация,
мг/дм3: K++Na+ |
11508 |
12953 |
|
Са2+ |
140 |
140 |
|
Mg
2+ |
24 |
24 |
|
CI- |
17122 |
19320 |
|
SО42 |
113 |
56 |
|
СО32+ |
Отсутствуют |
|
|
НСО3 |
1464 |
1586 |
|
S |
30371 |
34079 |
|
I |
20,10 |
14,80 |
|
Вг- |
87,25 |
73,26 |
|
NH4+ |
92,00 |
58,80 |
|
В3+ |
96,60 |
103,50 |
|
Тип воды по (В.А. Сулину) |
ГКН |
ГКН |
За январь - май 1999 г.
общее количество сточных вод (табл. 3, 4)
составило 12,7 тыс. м3, из них - 40 % - хозяйственно-бытовые.
Состав и степень
токсичности промышленных сточных вод (фазовый разделитель)
|
Показатели |
Массовая
концентрация, мг/дм3 |
ПДК
для рыбохозяйственных водоемов, мг/дм3 |
Токсичность, ед.
ПДК/дм3 |
|
|
РН |
6,7 |
|
|
|
|
d420 |
1,017 |
|
|
|
|
K++Na+ |
9759 |
120,00 |
81,32 |
|
|
NH4+ |
8 |
0,50 |
16,00 |
|
|
Са2+ |
140 |
180,00 |
0,78 |
|
|
Mg2+ |
24 |
40,00 |
0,6 |
|
|
CI |
14690 |
300,00 |
48,97 |
|
|
SО42 |
145 |
500,00 |
0,29 |
|
|
СО32+ |
Отсутствуют |
|
|
|
|
НСО3- |
976 |
|
|
|
|
S |
25742 |
|
|
|
|
H2S + HS+ |
|
Отсутствует |
|
|
|
СО2агр |
25,0 |
|
|
|
|
Feобщ |
18,0 |
0,3 |
60,00 |
|
|
СПАВ |
0,33 |
0,30 |
1,1 |
|
|
Нефтепродукты (раств.) |
77,56 |
0,05 |
1551,20 |
|
|
ДЭГ |
223,50 |
1,00 |
223,50 |
|
|
Метанол |
12,00 |
0,10 |
120,0 |
|
|
Фенолы (л) |
9,2 |
0,001 |
9200 |
|
|
Sr |
Не обнаруж. |
2,00 |
|
|
|
Ni |
Не обнаруж. |
0,01 |
|
|
|
Zn |
0,4 |
0,01 |
40,0 |
|
|
В |
1,8 |
0,10 |
18,0 |
|
|
Sb |
0,02 |
0,003 |
6,66 |
|
|
Cd |
Не обнаруж. |
|
|
|
|
Сu |
0,07 |
0,001 |
|
|
|
Ba |
0,03 |
0,20 |
70,0 |
|
|
Si |
4,80 |
|
|
|
|
Р |
2,40 |
|
|
|
|
Мех.примеси |
247,00 |
|
|
|
|
Общая токсичность стоков |
11438,42 |
|||
Состав хозяйственно-бытовых стоков
|
№ п/п |
Показатели |
Данные
за 19.03.98 |
|
1. |
d420 |
1,0024 |
|
2. |
рН |
5,2 |
|
3. |
Массовая концентрация,
мг/дм3 : К++Na+ |
1636 |
|
4. |
NH4+ |
8 |
|
5. |
Са2+ |
281 |
|
6. |
Mg2+ |
85 |
|
7. |
CI |
2567 |
|
8. |
SО42 |
563 |
|
9. |
СО32 |
Отсутствуют |
|
10. |
НСО3- |
512 |
|
11. |
S |
5652 |
|
12. |
H2S+HS+ |
0,35 - консервация в
лаборатории |
|
13. |
Фенолы (л) |
2,64 |
Минерализация промышленных
вод составляет 5-26 г/дм3, токсичность 11438,42 ед. ПДК/дм3.
Более 99,9 % ее приходится на долю нефтепродуктов, фенолов, ДЭГа, метанола и
др. (см. табл. 3, 4).
Обезвреживание таких вод
путем захоронения в глубокопогруженные горизонты является оптимальным вариантом,
так как даже при самой совершенной технологии очистки в них остаются токсичные
компоненты.
Прогнозирование отложений карбоната кальция
Рассмотрен вариант
«промышленные сточные воды (фазовый разделитель) - пластовая вода», 1:1. График
смешения дан на рис. 5.
Согласно
графику смешения, состав смеси характеризуется следующими данными (мг/дм3):
CI SO42 HCO3 Са2+ Mg2+ Na++K+
17000 100 1280 140 24 11300
pH - 7,4
(определен опытным путем); Относительная плотность воды при t= 20 °С
составила 1,020.
Ионная сила раствора K(m) составила 0,502, данному
значению m по рис. 3
при t = 250 °С соответствует K(m) = 3,2;
Концентрации ионов Са2+
и НСО3 переводят из размерности масса/объем (мг/дм3) в
размерность масса/масса (мг/кг) по пересчетному коэффициенту 1/r, где r - плотность исходного
раствора.
Для Са2+-140/1,020-
137,3 мг/кг; НСО3 - 1280/1,020 = 1254,9 мг/кг
- соответственно этим
значениям по графику (см. рис. 1) рСа=2,5; рЩ=1,8.
Индекс насыщения IS = 7,4
- (2,5 + 1,8 + 3,2) = -0,1;
Индекс стабильности ISt = 2 7,5 -
7,4 = 7,6.
При таких значениях IS, ISt вода
относится к среднеагрессивной, осадок СаСО3 не образуется.
Прогнозирование
образования гипса
Проведем
пересчет предыдущего примера в размерность мг-экв/дм3:
CI SO42 HCO3 Са2+ Mg2+ Na++K+
479,55 2,08 20,98 6,99 1,97 491,30
[Са2+]× [SO42]
= 6.99×2.08 = 14.54 [мг-экв/дм3]2
S[Xi]-Zi, - 2([Ca2+] + [SO42]) = 491,30 + 2×1,97 + 20,98 + 479,55 =
995,77 [мг-экв/дм3], этому значению по номограмме (см. рис. 4) соответствует [Са2+]× [SO42] = 5300 [мг-экв/дм3]2,
что значительно больше расчетного (14,54 [мг-экв/дм3]2).
Дефицит насыщения смеси гипсом - 5000 мг/дм3.
По расчетным
данным образование неорганических солей не прогнозируется, что также
подтверждено лабораторными исследованиями на совместимость.

Рис. 5. График смешения
«промышленные сточные воды (ПСВ) - пластовая вода»
Оценка способности сточных вод вызывать набухаемость пород
В результате расчета доли
(%) Са2+ и Mg2+ от общего количества
катионов по формуле (1) получены следующие данные: для
пластовой воды скв.15 1,41 % (см. табл. 1) и промышленных сточных вод (фазовый разделитель)
1,65 % (см. табл. 2).
В этом случае закачиваемые
сточные воды не вызовут набухания глинистой составляющей пласта, так как
содержание двухвалентных катионов в них выше, чем в пластовой воде.
Выводы и рекомендации:
промышленные сточные воды
совместимы с пластовыми водами по составу макрокомпонентов. Образование
карбонатных и сульфатных осадков не прогнозируется;
сточные воды агрессивны.
Необходимы гидрохимический контроль за коррозионными процессами и применение
ингибиторов;
сточные воды не
соответствуют нормативам требований по содержанию механических примесей,
образуемых сульфидами железа в анаэробных условиях в наземных хранилищах и
пласте в процессе реакций сульфат-редукции. Пласт кольматируется;
необходима подготовка
сточных вод к захоронению.
Особенностью
геолого-гидрогеологических исследований на объектах подземного захоронения сточных
вод предприятий газовой промышленности является хорошая геологическая
изученность недр. Это обусловлено тем, что к моменту начала работ по
захоронению сточных вод месторождение углеводородов открыто и разведано, а
нередко в значительной степени и разбурено эксплуатационными скважинами. В
процессе поиска и разведки месторождения на обширной площади выполнен широкий
комплекс исследований методами полевой геофизики; пробурены параметрические,
поисковые и разведочные скважины, в которых произведены промыслово-геофизические
исследования, отобран керн, вещественный состав; коллекторские свойства залежи
изучены в лаборатории; выделены покрышки и пласты-коллекторы, которые
опробованы газогидродинамическими, гидрохимическими и термобарическими
методами. По материалам поиска и разведки построены различные карты
(тектонические, структурные, карты мощностей, коллекторских свойств и др.),
геологические профили, корреляционные схемы и т.д. Таким образом, о
продуктивных частях геологического разреза, а также непосредственно примыкающих
к ним сверху и снизу толщах имеется довольно подробная геологическая и
гидрогеологическая информация.
С разной степенью
детальности изучена в геолого-гидрогеологическом отношении и самая верхняя
часть разреза до глубины нескольких десятков -первых сотен метров от земной
поверхности. Информация о ней имеется по данным государственной геологической и
гидрогеологической съемок различного масштаба, бурения скважин для
водоснабжения и бальнеологических целей, поиска строительных материалов и
других общераспространенных полезных ископаемых, инженерно-геологических
изысканий и т.д.
Средняя часть геологического
разреза, не являющаяся объектом поиска и разведки месторождений углеводородов и
слишком глубокая для практических нужд иных отраслей хозяйства, в
геолого-гидрогеологическом отношении остается неизученной. Даже на
разрабатываемых месторождениях углеводородного сырья, где через нее пройдено
множество разведочных и эксплуатационных скважин, она слабо изучена не только
гидрогеологически из-за отсутствия опробований водоносных горизонтов, но и
геологически, поскольку керн из этой части разреза, как правило, не отбирается,
шлам не изучается, а материалы промысловой геофизики и особенности проводки
скважин не анализируются.
На глубокозалегающих месторождениях
(Вуктыльское, Астраханское, Карачаганакское
и др.) к началу разработки большая часть надпродуктивного разреза, исчисляемая
несколькими тысячами метров, осталась практически неизученной. Вместе с тем,
как оказалось впоследствии, на большинстве таких месторождений (Астраханском,
Карачаганакском, Тенгизском, Западно-Соплесском) для целей подземного
захоронения сточных вод пригодны исключительно надпродуктивные отложения. Для
установления этого, а также для выбора поглощающих горизонтов под закачку
сточных вод, для проектирования и строительства полигонов ПЗС потребовалось
проведение значительных по объему и разнообразных по характеру
геолого-гидрогеологических исследований.
На месторождениях, где
закачка сточных вод может осуществляться только под разрабатываемую залежь и
невозможна в надпродуктивные отложения (Оренбургское, Вуктыльское, Уренгойское,
Ямбургское, Заполярное и др.), для доказательства этого и получения необходимых
параметров для проектирования полигонов также были проведены специализированные
геолого-гидрогеологические работы.
Таким образом, в любом
случае организация подземного захоронения сточных вод требует проведения
специализированных исследований, включающих разнообразные методы геологии,
гидрогеологии, геофизики, гидрохимии, включая гелиевую съемку, и других
геологических дисциплин.
Для целей подземного
захоронения вод предприятий газовой промышленности нет необходимости в
проведении работ по определению структурно-тектонических условий территории и
выделению водоносных бассейнов. Поэтому, как правило, не требуется проведение
таких видов исследований, как геологическая и гидрогеологическая съемка и
методы полевой геофизики (сейсмические, гравиметрические, электрические). Все
эти исследования выполнены при поиске и разведке месторождений углеводородов, и
максимум, что может потребоваться, это некоторая их адаптация (или
переинтерпретация) применительно к задачам ПЗС. Это достигается сбором и
камеральной обработкой всей имеющейся геолого-геофизической информации, включая
полученную по скважинам. Основными задачами камеральных работ являются
расчленение разреза на пласты-коллекторы и экраны, прослеживание их по площади,
оценка качества насыщающих их подземных вод. Конечной целью камерального этапа
является выбор геолого-гидрогеологического интервала разреза для постановки
разведочного бурения.
Скважинный метод
исследования является главным для целей подземного захоронения сточных вод.
Этот метод универсален: он применяется как при разведке, так и при эксплуатации
полигонов ПЗС. Только с помощью скважин можно получить необходимые параметры
поглощающих горизонтов и разделяющих их экранов. Это, в свою очередь, дает
возможность обоснованного выбора рабочего горизонта для закачки сточных вод,
резервных и буферных горизонтов, а также получения исходных данных для
прогнозных гидродинамических расчетов, лабораторного моделирования
физико-химических процессов, проектирования полигонов ПЗС, разработки
регламентов их эксплуатации и контроля за подземным захоронением вод.
В процессе эксплуатации полигонов
ПЗС скважины являются основными сооружениями полигонов по осуществлению закачки
сточных вод в поглощающий горизонт и главным средством контроля за технологией
и безопасностью данного мероприятия для окружающей среды.
Разведку поглощающих
горизонтов можно осуществлять либо путем бурения скважин, либо посредством
переоборудования существующих скважин, пробуренных в ходе разведки или
эксплуатации газового месторождения. При бурении новых скважин специально для
разведки полигонов ПЗС следует иметь в виду, что они могут быть впоследствии
переведены либо в эксплуатационные для закачки вод, либо в наблюдательные по
контролю за поглощающими или буферными горизонтами. С учетом этого
обстоятельства должны предусматриваться соответствующие конструкции скважин, сами
же скважины при этом являются фактически разведочно-эксплуатационными.
Строительство глубоких
разведочно-эксплуатационных, эксплуатационных и наблюдательных скважин для
целей ПЗС осуществляется по той же технологии и теми же техническими
средствами, что и строительство нефтяных и газовых скважин. Соответственно на
всех стадиях проектирования, строительства, испытания, эксплуатации и
ликвидации скважин для целей ПЗС обязательным является соблюдение всех норм и
правил, принятых для нефтяных и газовых скважин.
Контроль за чистотой
подземных вод верхних водоносных горизонтов в районе действующих полигонов
подземного захоронения сточных вод осуществляется с помощью специально
пробуренных для этой цели неглубоких (от 10-20 м до 100-200 м)
гидрогеологических наблюдательных скважин.
Проектирование, бурение,
испытание и ликвидация неглубоких наблюдательных скважин осуществляется по
технологии и с помощью буровой техники, принятой для сооружения
гидрогеологических скважин. В отличие от эксплуатационных скважин на воду
(водозаборных скважин) эти наблюдательные скважины имеют меньший диаметр,
поскольку в них обычно производятся замеры уровня воды, забоя, отбираются пробы
воды на химический анализ, иногда выполняются отдельные виды каротажа. Однако
уменьшение диаметра не должно препятствовать проведению в скважинах откачки
воды эрлифтом для обеспечения притока «свежей» воды из пласта.
Мелкие гидрогеологические
наблюдательные скважины оборудуются обычно двумя способами. Первый - без спуска
в скважину какого-либо забойного оборудования, второй - со спуском
насосно-компрессорных труб (НКТ) и герметизацией устья.
В первом случае имеется
возможность производить замеры уровня воды и забоя, отбирать пробы воды
глубинными пробоотборниками, желонками и другими приспособлениями. Для
периодической прокачки скважины в целях очистки забоя (фильтра), смены воды в
стволе скважины и вызова притока «свежей» воды из пласта в такие скважины
приходится опускать насосно-компрессорные трубы, а потом их извлекать.
Скважины с НКТ и
загерметизированным устьем пригодны только для отбора проб воды, который
проводится с помощью продувки компрессором от большегрузного автомобиля.
Применение такого способа оборудования гидронаблюдательных скважин предполагает
возможность их прокачки перед отбором и таким образом получения наиболее
представительных проб пластовой воды. На практике же получается, что во многих
скважинах, оборудованных таким способом, из-за зашламления призабойной зоны
прекращается связь трубного и затрубного пространства, что не позволяет
выдувать автомобильным компрессором воду из скважины. Отобрать пробу воды
желонкой или пробоотборником так же, как и замерить уровень воды и забой, в
таких скважинах невозможно. Для очистки этих скважин предварительно необходимо
извлечь зашламованное забойное оборудование и, в лучшем случае, очистить забой
с помощью спуска новых НКТ и продувки через них скважины более мощным
передвижным компрессором. В худшем случае предварительно промыть скважины через
буровой инструмент, возможно, даже с вращением, для чего необходимо привлечение
самоходной буровой установки, и затем провести прокачку компрессором.
Таким образом, из
многолетнего опыта работы с гидрогеологическими наблюдательными скважинами
обоих типов конструкции следует, что более информативными являются скважины, не
оборудованные стационарными НКТ. Единственным условием для нормального
функционирования таких скважин является оборудование устья надежным съемным
запорным приспособлением, препятствующим попаданию в скважины посторонних
предметов.
В информативном отношении
бурящиеся для целей ПЗС глубокие разведочно-эксплуатационные скважины имеют
существенное преимущество перед существующими скважинами иного назначения
(разведочными и эксплуатационными нефтяными и газовыми). Оно заключается в
возможности целенаправленного геологического, гидродинамического,
гидрохимического и термобарического изучения разреза. Такие скважины следует
бурить для поиска и разведки поглощающих горизонтов в интервалах разреза,
оставшихся практически не изученными при разведке месторождений нефти и газа.
Таковыми были к началу работ по захоронению сточных вод надпродуктивные
мезозойские отложения на глубокозалегающих Астраханском и Карачаганакском
месторождениях и развитые глубоко под залежью мало изученные бурением
нижнесредне-каменноугольные отложения Оренбургского месторождения.
Геологическая и
гидрогеологическая информация о «промежуточной» толще между двумя
нефтегазоносными комплексами, полученная в процессе разведки месторождений
углеводородов, нередко бывает достаточной для выбора рабочего поглощающего
горизонта, особенно если он представляет собой подошвенную водонасыщенную
толщу, подстилающую верхнюю газовую залежь. Примером этого является
апт-альб-сеноманский поглощающий горизонт нефтегазоконденсатных месторождений
Тюменского Севера (Уренгойского, Ямбургского, Вынгапуровского, Комсомольского,
Заполярного и др.). На этих месторождениях не потребовалось предварительного
бурения разведочно-эксплуатационных скважин специально для целей поиска и
разведки поглощающих горизонтов. Полигоны ПЗС были запроектированы и созданы по
материалам опробования разведочных и эксплуатационных газовых и
пьезометрических скважин, контролирующих разработку сеноманской газовой залежи.
В
разведочно-эксплуатационных скважинах геологический разрез изучается двумя
методами: с помощью отбора, визуального описания и лабораторного анализа керна
и шлама и посредством комплекса промыслово-геофизических исследований.
Отбирать керн следует
начиная с глубины залегания геологических формаций, представляющих
непосредственный интерес для подземного захоронения вод. Идеальным вариантом
является сплошной отбор керна по всему разрезу этих формаций, включая как
пласты-коллекторы, так и разделяющие их экраны. Однако, руководствуясь инструкциями
и методическими указаниями по проводке и документации параметрических,
поисковых и разведочных скважин на
нефть и газ, можно рекомендовать проходку с отбором керна 30-40 % мощности
комплекса пород, подлежащих изучению. Линейный выход керна должен быть не менее
40 % суммы интервалов проходки с отбором керна.
Для выполнения комплекса
лабораторных исследований оптимальный диаметр керна должен быть равен 80-100
мм, что достигается применением керноприемных устройств типов СКУ 203/100,
СКУ-2 172/100 «Кембрий», КД ИМ 190/80 «Недра».
По всему стволу скважины
следует отбирать шлам через 5 м проходки.
Первичное описание керна
производится геологом сразу же после его извлечения. Описание шлама
осуществляется посменно коллектором и проверяется геологом. Керн и шлам
описываются и укладываются в ящики. Образцы, предназначенные для лабораторных
исследований коллекторских свойств и физико-механических характеристик,
консервируются в соответствии с действующей инструкцией по проводке опорных
скважин.
Лабораторные исследования
керна преследуют цель всестороннего изучения вещественного состава,
коллекторских и физико-механических свойств пород, а в некоторых случаях и
определения их стратиграфической принадлежности.
Основным видом исследований
пород-коллекторов является определение пористости и проницаемости. Последняя
фиксируется как в параллельном, так и в перпендикулярном напластованию
направлениям. Для слабосцементированных песчаников и алевролитов желательно
определять механический (гранулометрический) состав. Для пород-экранов
целесообразно, по возможности, устанавливать давление прорыва по воде и по газу
на установке типа УИПК-1М.
Для всех типов пород следует
определять объемную и минералогическую плотность и вещественный состав с
помощью рентгеноминералогического, рентгеноструктурного, иммерсионного,
электронно-микроскопического, силикатного анализов. Для пород-коллекторов
рекомендуется проводить химический анализ водных, соляно-кислотных,
хлораммонийных вытяжек.
При необходимости следует
проводить микрофаунистический и палинологический анализ для уточнения
геологического возраста отложений.
Часть образцов керна
пластов-коллекторов используется для лабораторных экспериментов по
взаимодействию сточных вод (или их моделей) с горными породами поглощающих
горизонтов. Оставшийся после лабораторных анализов и экспериментов керн
подлежит длительному хранению для возможных уточняющих исследований.
В
разведочно-эксплуатационных скважинах промыслово-геофизические исследования
проводятся, главным образом, для изучения геологического разреза. В скважинах,
заполненных глинистым раствором и не обсаженных трубами, выполняется комплекс
геофизических исследований (преимущественно электрометрических, в меньшей
степени радиометрических). К электрометрическим методам относятся: метод кажущегося
сопротивления, метод собственной (самопроизвольной) поляризации, боковое
каротажное зондирование, боковой каротаж, микрозондирование, метод бокового
микрокаротажа, индукционный каротаж. Наиболее распространенными методами
радиоактивного каротажа являются: гамма-каротаж, нейтронный гамма-каротаж и
гамма-гамма-каротаж. Радиоактивные методы применяются как в открытом стволе,
так и в обсаженной трубами скважине.
В таких же условиях
осуществляется и термометрия, входящая в комплекс геофизических исследований.
Она имеет важное значение для изучения температурного поля вскрытого
геологического разреза, что особенно актуально для районов развития
многолетнемерзлых пород. Термометрия дает материал о температуре поглощающих
горизонтов, что учитывается в лабораторных экспериментах по изучению
взаимодействия (совместимости) захороняемых вод с пластовыми водами и горными
породами поглощающих горизонтов. Получение температурной характеристики недр до
начала закачки сточных вод имеет большое значение для последующего контроля за
интервалами поглощения захороняемых вод. Основную роль термометрия играет при
выяснении технического состояния скважин, интервалов поглощения жидкости при
нагнетании, интервалов притока пластовой воды в процессе откачки, различных
внутри-скважинных перетоков жидкостей (пластовых и сточных вод).
В открытом стволе скважины
выполняется также кавернометрия, дающая дополнительный материал для
литологического расчленения разреза (в том числе для выделения песчаных
пластов-коллекторов). Основным назначением кавернометрии является контроль
состояния ствола скважины перед спуском и цементированием обсадных колонн.
Комплексная интерпретация
материалов промыслово-геофизических исследований скважин в совокупности с
изучением керна и шлама, а также результатами наблюдений за проводкой скважин
являются основой для выделения проницаемых пластов-коллекторов и экранирующих
толщ. Это позволяет наметить объекты для вскрытия и опробования проницаемых
интервалов разреза.
Определенное значение в
данном процессе имеют наблюдения за проводкой скважины: поглощением промывочной
жидкости, водопроявлениями, скоростью проходки, обвалами, прихватами
инструмента и т.д. В ряде случаев такие наблюдения позволяют выявить
поглощающие горизонты уже в ходе бурения скважины.
Опытные гидрогеологические
работы для целей обоснования подземного захоронения сточных вод выполняются в
обсаженной трубами скважине. Поэтому методика их одинакова как для вновь
бурящихся разведочно-эксплуатационных и эксплуатационных поглощающих
(нагнетательных) скважин, так и для переоборудованных в поглощающие ранее
пробуренных скважин иного назначения (разведочных и эксплуатационных газовых и
нефтяных). Как правило, в разведочно-эксплуатационной скважине испытывается
несколько водоносных объектов, а в эксплуатационной - один объект. Испытания
водоносных объектов проводятся последовательно снизу вверх с последующей
изоляцией каждого испытанного объекта установкой над ним цементного моста.
Последний (верхний) испытанный объект может быть использован впоследствии либо
для закачки сточных вод, и тогда скважина будет переведена в категорию
эксплуатационных нагнетательных (поглощающих), либо он будет оставлен для
наблюдений за режимом водоносного горизонта, и тогда скважина станет
наблюдательной.
Прежде чем приступить к
испытанию объекта необходимо произвести его освоение, т.е. очистку от шлама,
глинистой корки, фильтрата бурового раствора. Освоение обычно представляет
собой многоэтапный процесс, состоящий из чередования этапов (циклов) освоения
(включая интенсификацию водопритока и поглощения) и испытания
(компрессирования, откачки, нагнетания). Поэтому следует выделить такое
понятие, как «предварительное освоение объекта (скважины)». Оно заключается в
проведении мероприятий по воздействию на вскрытый объект, предшествующих
первому этапу (циклу) собственно испытания - определению дебита и депрессии
водопритока, объема и репрессии нагнетания, пластового давления и пластовой
температуры, пьезометрического (статического) уровня пластовой воды, ее
химического состава, газонасыщенности, фильтрационных параметров пласта и т.д.
Первый (нижний) объект
опробования (испытания) может не быть обсажен трубами, если геологический
разрез представлен устойчивыми отложениями (известняками, крепкими песчаниками
и др.). В случае, если коллектор представлен неустойчивыми породами (песками,
слабосцементированными песчаниками), в скважины спускаются фильтры различных
конструкций (проволочные, сетчатые и др.). Фильтры обычно спускаются в виде
«хвостовика» («впотай») на сальнике без вывода надфильтровых труб на
поверхность земли.
В скважине, полностью
обсаженной трубами, сообщение ствола с испытываемым интервалом водоносного
горизонта достигается перфорацией обсадной колонны. Она производится
скважинными перфораторами различных типов, выбор которых обусловлен в основном
числом, диаметром и толщиной стенок обсадных колонн против вскрываемого
интервала. Кумулятивные перфораторы типа ПКС-105 обеспечивают надежное вскрытие
пласта, перекрытого двумя зацементированными обсадными колоннами диаметром 244,5
и 177,8 мм. Рекомендуемая плотность перфорации до 40 отверстий на 1 м.
Подготовка вскрытого тем или
иным способом объекта к испытаниям (предварительное освоение объекта)
заключается в замене бурового раствора на техническую воду, промывке скважины
технической водой через бурильные трубы, спущенные до подошвы вскрытого
объекта, и компрессировании скважины для вызова притока пластовой воды. Для
этого в скважину спускаются НКТ с пусковыми отверстиями, расположенными на
разной глубине. Освоенность объекта определяется отобранными на устье при
компрессировании химическими анализами проб воды, которые должны показать
поступление из скважины пластовой воды без существенной примеси технических
жидкостей. После этого ведется прослеживание восстановления уровня пластовой
воды до статического, что является начальным циклом испытания скважины.
После восстановления уровня
пластовой воды до статического (или близкого к нему на отрезке времени
медленного восстановления) проводится отбор проб воды на химический анализ по стволу
скважины глубинным пробоотборником или желонкой. Пробы воды отбираются сверху
вниз во избежание ее перемешивания.
Первая проба отбирается со статического уровня и далее до забоя через
определенный интервал глубины. При глубине скважины 2000-3000 м пробы воды по
стволу рекомендуется отбирать через 500 м (статический уровень, 500 м, 1000 м,
1500 м и т.д.). В скважинах глубиной до 1000-1500 м интервал отбора проб можно
уменьшить. Из интервала вскрытого объекта желательно отобрать пробу воды с
растворенным газом глубинным пробоотборником. Наилучший вариант - одновременный
спуск двух пробоотборников для получения двух проб в целях страховки от
непредставительности одной из них. После отбора проб воды глубинным манометром
замеряется пластовое давление. Остановки для замера давления желательно делать
на тех же глубинах, что и отбор проб воды, для сопоставления значений давления,
полученных прямыми замерами и расчетами по плотности воды отобранных проб.
В результате
компрессирования скважин (после предварительного освоения объекта) можно получить наиболее достоверные сведения о
химическом составе пластовой воды, ее газонасыщенности и составе
водорастворенного газа, о статическом (пьезометрическом) уровне воды и значении
пластового давления. По данным прослеживания восстановления уровня воды (кривой
восстановления давления - КВД) определяются дебит воды и основные параметры
пласта-коллектора (гидропроводность, проницаемость, пьезопроводность).
Сравнительно кратковременное
компрессирование является наиболее распространенным методом исследований
объектов на водоприток для целей ПЗС. Значительно реже применяется метод
откачки воды с поддержанием постоянного понижения уровня (постоянной
депрессии). Но даже в случае применения этого метода откачка проводится из
одиночных скважин. Не целесообразно проведение кустовой откачки с
использованием одной или нескольких наблюдательных скважин, оборудованных на
тот же водоносный горизонт. Неприменение кустовых опытов по откачке воды помимо
высоких затрат на разбуривание кустов глубоких скважин объясняется еще и тем,
что основным методом гидродинамических исследований для целей ПЗС является
нагнетание воды в скважину.
После компрессирования,
следующих за ним глубинных замеров и отбора проб воды производится испытание
интервала пробным нагнетанием технической воды. Для этого обычно применяются
агрегаты типа ЦА-320, АН-500 и др., способные создавать высокое давление и
обеспечивать значительный расход закачиваемой жидкости. Пробная кратковременная
закачка воды сначала ведется последовательно на 3-4 режимах (скоростях), на
каждом из которых в течение нескольких минут закачивается сравнительно
небольшое количество воды, исчисляемое обычно несколькими кубическими метрами.
Это необходимо для выбора оптимального режима, на котором осуществляется более
продолжительная закачка, длящаяся уже часами, в ходе которой могут закачиваться
десятки и сотни кубических метров воды.
В случае невысокой
приемистости, после проведения пробного нагнетания (пробной закачки)
технической воды, вновь ведется освоение объекта испытаний в целях повышения
его поглощающей способности. Для этого применяются различные методы
интенсификации. В карбонатных коллекторах, а также в терригенных коллекторах с
карбонатным цементом наиболее распространены соляно-кислотные ванны, соляно-кислотные
и спирто-соляно-кислотные обработки. В терригенных коллекторах с примесью
глинистого материала могут применяться глинокислотные обработки (смесь соляной
и плавиковой кислот). В коллекторах любого литологического состава можно
применять гидравлический разрыв пласта, разрыв пласта давлением пороховых
газов, микроторпедирование так называемыми шнуровыми торпедами. В редких
случаях после исчерпания возможностей других способов интенсификации
допускается применение торпедирования малыми и большими зарядами. Оно возможно
в твердых породах и главным образом в открытых (не обсаженных трубами)
интервалах ствола скважин.
После применения любого из
методов интенсификации скважина должна быть промыта и, желательно,
откомпрессирована, затем вновь проводится пробное нагнетание воды. Все эти
процедуры могут повторяться по несколько раз, пока не будет достигнута
необходимая приемистость либо станет ясной невозможность ее увеличения.
Результаты пробных
нагнетаний позволяют рассчитать фильтрационные параметры пласта-коллектора, но
что еще более важно - они показывают фактическую приемистость интервала и
давления, при которых она достигается. Эти данные позволят определить
необходимое число эксплуатационных поглощающих скважин для закачки всех
подлежащих захоронению сточных вод, разработать технологический режим закачки.
Переход на вышележащий
объект может быть осуществлен путем «дострела» новых интервалов. Это можно
делать при безводности и весьма низкой приемистости испытанного интервала. Но
чаще после испытаний нижний объект изолируется установкой над ним цементного
моста, после проверки которого на герметичность снижением уровня жидкости в
скважине или опрессовкой водой приступают к вскрытию следующего объекта.
Кустовые опытные нагнетания технической
или сточной воды целесообразно проводить на строящемся (или уже построенном)
полигоне ПЗС, на котором две и более скважин оборудованы на один и тот же
горизонт. Тогда одна из них служит нагнетательной, а другие - наблюдательными.
Кустовые нагнетания обеспечивают более высокую точность определения
фильтрационных параметров пласта-коллектора, что, в свою очередь, повышает
надежность гидродинамических прогнозных расчетов подземного хранилища сточных
вод.
В ходе гидрогеологических
испытаний (опробований) поглощающих горизонтов при их разведке и эксплуатации
рекомендуется проведение промыслово-геофизических исследований, целью которых
является определение интервалов поглощения и контроль технического состояния
скважины.
Поглощающие интервалы
определяются с помощью термометрии, расходометрии и резистивиметрии. Эти
исследования проводятся как в возмущающей скважине (в которой проводится
откачка пластовой воды или нагнетание технической либо сточной воды), так и в
наблюдательных скважинах.
Детально методика проведения
скважинных работ изложена в работе «Технология глубинных нефтегазопоисковых
гидрогеологических исследований». - М.: Недра, 1992 (В.П.Ильченко,
Б.П.Акулинчев, Ю.Г.Гирин и др.).
Значительный вклад в решение
проблемы изучения гидродинамики на полигонах захоронения сточных вод внесли
исследования В.М.Гольдберга, Н.П.Скворцова, Л.Г.Лукьянчиковой, В.М.Шестакова,
И.С.Пашковского, С.П.Позднякова, Б.П.Акулинчева, О.М.Севастьянова,
Ю.М.Кондачкова, В.М.Кирьяшкина и др. Поэтому настоящая глава построена с учетом
их опыта и многолетней практики, а также рекомендаций В.М. Шестакова, обнародованных
на Толстихинских чтениях (Санкт-Петербург, 1999).
При закачке сточных вод в
водоносные пласты-коллекторы должны решаться три вида задач:
обеспечение подачи
требуемого объема закачиваемых сточных вод (приемистость скважин) в
пласт-коллектор;
оценка изолированности
пласта-коллектора при возможном перетекании сточных вод в соседние (особенно,
вышележащие) водоносные горизонты;
оценка распространения
сточных вод в пласте-коллекторе для обоснования управляемого загрязнения
подземных вод.
Применительно к решению этих
задач должны устанавливаться необходимые гидрогеодинамические параметры, для
определения которых проводятся опытно-фильтрационные и опытно-миграционные
работы.
Опытно-фильтрационные работы (ОФР) проводятся для установления
геофильтрационных параметров водоносных пластов-коллекторов, обусловливающих
приемистость скважин, а также разделяющих (покрывающих) пластов, определяющих
степень изолированности коллекторов от соседних (главным образом,
вышерасположенных) водоносных пластов.
При выборе участка
опробования следует исходить из того, что он должен быть:
представительным для
объекта;
по возможности расположенным
в районе с однородными в плане геофильтрационными свойствами, поскольку
плановая неоднородность приводит к осложнению в интерпретации результатов
эксперимента;
находящимся в районе с
наибольшей проводимостью, обеспечивающей наилучшую приемистость скважин, а
также с наименьшей проницаемостью покрывающих отложений.
Специфика глубокозалегающих
водоносных горизонтов заключается в их относительно большой однородности по
сравнению с вышезалегающими горизонтами, что предпочтительнее для постановки
промысловых экспериментов.
При гидрогеологическом
обосновании объектов закачки сточных вод в горизонты подземных вод необходимо
определять параметры водоносных пластов: проводимость Т, упругую емкость m* и расчетный радиус скважины гс,
характеризующий величину «скин-эффекта». Эти параметры используются в
дальнейшем для прогнозирования приемистости скважин и размеров воронки
репрессии.
Как известно, для
определения этих параметров наиболее достоверные данные дают кустовые опытные
опробования (откачки или нагнетания), которые рекомендуются как опорные при
разведке на полигонах сточных вод. Однако, учитывая высокую стоимость
строительства гидрогеологических скважин в глубоких водоносных пластах,
целесообразно тщательно оценить возможности использования для этой цели
одиночных опробований с интерпретацией данных нестационарного режима.
При опробовании одиночных
скважин в глубоких водоносных горизонтах наиболее приемлемыми для обработки
являются данные восстановления напоров после предварительного опробования
(откачки или налива) с постоянным объемом Q. При этом обычно
используется схема изолированного напорного пласта, применительно к которой
удобно проводить обработку данных восстановления напора S* в центральной
скважине, исходя из следующего уравнения, справедливого за пределами влияния
емкости скважины (С. Р. Крайнев и др.,1988)
S*=
(8)
где t и t0 - значения времени
восстановления напора и первоначального опробования.
Обработка данных опробования
по уравнению (8) проводится способом «прямой линии» с построением
диагностического графика в координатах S*, lgt*, и таким образом находятся
значения Т, m*,
. Как показала практика расчетов, несколько удобнее
обрабатывать именно данные восстановления напора S*, измеряемого относительно
напора, достигнутого в конце опробования, а не значения понижений относительно
статического уровня, как это рекомендуется по известному способу Хорнера,
поскольку в предполагаемом расчете меньше проявляются ошибки задания
статического напора.
Упругую емкость m* рекомендуется определять по эмпирической
формуле
m* = Am/zn , (9)
где m - мощность водоносного пласта;
zn- глубина залегания пласта;
А - параметр, изменяющийся в
пределах 5-10-3 - 9-10-3. При обработке данных откачки в
режиме самоизлива необходимо учитывать изменение расхода излива во времени,
обрабатывая опытные данные по прямолинейной зависимости относительного
понижения S*/Q от lgt*, для чего в процессе
опробования должны быть замерены изменения расхода излива во времени.
При определении
геофильтрационных параметров коллектора следует исходить из того, что
принимаемый одиночной скважиной объем закачки (налива) Q0 диктуется допустимым
избыточным напором (относительно статического) Н0, который может
быть представлен выражением
, (10)
где Т - проводимость пласта;
R -
расчетный радиус питания;
r0 - радиус рабочей части
скважины;
- потери напора в прискважинной
зоне («скин-эффект»).
Для определения проводимости
пласта Т разработан ряд приемов, использующих разные способы обработки данных
опытных опробований скважин (откачки, наливы, закачки). Наиболее достоверные
данные дают кустовые опытные откачки (закачек), однако для опробования глубоких
водоносных пластов они вряд ли могут рассматриваться как основные из-за высокой
стоимости.
При интерпретации одиночных
откачек (закачек) наиболее полную информацию дают данные нестационарного режима
при прецизионных замерах уровней и расходов. Следует подчеркнуть особую
значимость требования уникальной прецизионности проведения таких опытных
опробований, проводимых на опытной скважине, оборудованной расходомерами,
водомерами и измерителями уровней с автоматической фиксацией замеряемых
характеристик.
Расчетный радиус питания R
определяется геофильтрационной обстановкой (В.М. Шестаков, 1994). В частности,
для изолированного однородного пласта
R=1,5 V at, a=T/m*, (11)
где t - время закачки. С учетом
перетекания через разделяющий пласт («покрышку») с коэффициентом перетока c = kp / mp (kp , mp - коэффициент фильтрации и
мощность покрышки) и постоянным напором в подпитывающем пласте
R=l,5
. (12)
Следует иметь в виду, что
при откачке и закачке значения упругой емкости могут отличаться за счет
нелинейности деформирования пород, причем значения m* при закачке в принципе должны быть больше,
чем при откачке.
Особое значение имеет оценка
величины ДН °, связь которой с расходом закачки устанавливается по данным
специальных опробований. Характер этой связи обусловливается двумя процессами.
С одной стороны, при увеличении давления воды в пласте происходят деформации в
виде разуплотнения вплоть до формирования гидроразрыва пласта, при котором
резко увеличивается приемистость скважин. С другой стороны, при закачке
«чужеродной» жидкости, нередко содержащей гелеобразные и механические взвеси,
может происходить процесс кольматации прискважинной зоны, приводящий к
значительному сокращению ее проницаемости.
При анализе стабильности
происходящих изменений прискважинной зоны целесообразно при каждой закачке
проводить кратковременные опыты по восстановлению уровня в скважине. Такие
опыты дадут информацию о том, в какой мере изменения приемистости скважины
связаны с изменениями проводимости пласта или прискважинной зоны.
Опытные данные показывают,
что при закачке могут происходить необратимые изменения прискважинной зоны,
существенно влияющей на приемистость нагнетательной скважины. Для оценки этих
процессов следует проводить повторные опытные закачки, сначала с увеличением
ступеней расхода, а затем с возвращением на ступени с меньшим расходом.
Совпадение (или несовпадение) данных при таких повторных опытах будет
свидетельствовать об обратимости (или необратимости) деформаций прискважинной
зоны.
При интерпретации одиночных
опытных откачек полезную информацию о значениях упругой емкости водоносных
пластов можно получить, используя характеристику барометрической эффективности,
получаемую по данным параллельных изменений микроколебаний уровней. Учитывая
простоту таких наблюдений, их целесообразно проводить совместно с
гидрогеодинамическими опробованиями.
Для оценки распределения
статических напоров и проницаемости в пределах опробуемой части пласта
осуществляются интервальные фильтрационные опробования скважин либо с
поинтервальной пакеровкой скважин, либо для всей открытой (фильтровой) части
ствола скважины.
Опыты с поинтервальной
пакеровкой проводятся с одиночным или двойным пакером. В любом варианте этого
опыта в пределах пакеруемой зоны определяются статические уровни (напоры) и
проводятся опытные опробования (откачки или закачки).
Для всего ствола
интервальные опробования ведутся путем расходометрии, осуществляемой в
естественных условиях и при различных объемах откачки или закачки. Следует
подчеркнуть необходимость обеспечения повышенной достоверности такого опыта,
для чего требуются предельная аккуратность и многократные повторения для
выявления и исключения технических погрешностей.
Проницаемость относительно
водоупорных покрывающих пластов в значительной мере обусловливает возможную
интенсивность перетекания закачиваемой жидкости в залегающий выше водоносный
горизонт, поэтому ее оценка является одной из существенных гидрогеодинамических
задач для объектов закачки СВ. Рассмотрим возможные приемы решения этой задачи.
Определение перетекания по
распределению температуры и минерализации в разделяющем пласте представлено в
ряде работ (И.Т.Гаврилов, В.М. Семенова, 1969; В.М. Шестаков, И.П. Кравченко,
Р.Ф. Штенгелов, 1987). В них предлагается определять скорость фильтрации в
разделяющем пласте по данным естественного распределения температуры по его
глубине, которое использовалось для оценки степени изолированности «покрышек»
на объектах захоронения сточных вод. Дальнейший анализ этого метода показал (А.
А. Куваев, 1984), что он имеет существенные ограничения. Во-первых, достаточно
уверенная интерпретация таких данных может осуществляться только при
сравнительно высоких скоростях фильтрации в разделяющем пласте (не ниже, 103
м/сут), которые характерны для условий слабой изолированности залегающих под
ними водоносных горизонтов. Во-вторых, эти данные характеризуют лишь весьма локальную
зону вокруг термометрической скважины размерами порядка мощности пласта и могут
оказаться не представительными для условий перетекания на всей интересующей
площади объекта. Особенно нежелательной является вероятность искажения данных
термометрии в наблюдательных скважинах за счет неконтролируемого затрубного и
внутритрубного перетекания.
Эти ограничения свойственны
и аналогичному методу определения скорости перетекания по данным распределения
минерализации.
Таким образом, названые
методы не могут рассматриваться как опорные для оценки изолированности
используемых для закачки водоносных пластов и их применение целесообразно
только для предварительных и качественных оценок.
Определение коэффициента
фильтрации разделяющего пласта по данным опытных откачек является наиболее
надежным.
Куст опытной откачки
(закачки) должен включать две-три наблюдательные скважины, располагаемые на
различных расстояниях (ориентировочно 200-1000 м от центральной).
Такая откачка должна быть
достаточно длительной, чтобы в характере временного прослеживания понижения
уровней воды достаточно отчетливо проявилось влияние перетекания. Для оценки
требуемого для этого времени t можно пользоваться
соотношением -
tn=.
(13)
При реальном времени откачки
около 10 сут и характерных значениях m* = 10-4 - 10-6
можно рассчитывать на определение c=
10-4 - 10-6 сут-1, что соответствует порядку
значений коэффициента фильтрации разделяющего пласта 10-3 - 10-5
м/сут.
Следует иметь в виду, что на
ход процесса в таких условиях существенное влияние может оказывать профильная и
плановая неоднородность, в связи с чем постановка таких откачек требует в
каждом случае особого обоснования с проведением разведочного моделирования.
Теоретически можно проводить
оценку коэффициента перетока с использованием только данных опробования в
одиночной скважине. Однако при этом может возникать существенная
неоднозначность интерпретации опытных данных, обусловленная трудно
диагностируемым влиянием плановой неоднородности и внутренней гетерогенности водоносного
пласта.
Давая рекомендации по
проведению опытных откачек из глубоких водоносных горизонтов, содержащих
высокоминерализованные воды, следует иметь в виду возможные осложнения со
сбросом откачиваемой воды, имеющей обычно некондиционный состав. В тех случаях,
когда такие осложнения оказываются трудно преодолимыми, целесообразно
переходить от откачки к наливу, условия проведения которого остаются такими же,
как это сформулировано для откачки.
При наливе в глубокие
водоносные горизонты, содержащие воду высокой минерализации, наливаемая вода
может иметь значительно меньшую плотность по сравнению с пластовой. Если такая
вода распространяется до наблюдательных скважин, то для определения расчетных
значений давления необходимо пользоваться глубинными манометрами либо
корректировать замеряемые в скважинах уровни воды, вводя поправки на изменение
плотности воды.
Следует отметить
ограниченность возможностей изложенных методов опробований для оценки
изолированности водоносных горизонтов, в связи с чем решение этих вопросов
требует в каждом случае экспертного геолого-гидрогеологического анализа. Для
этого, наряду с общими представлениями об условиях формирования глубоких
подземных вод, используются различные гидрогеохимические показатели.
На сравнительно небольших
объектах закачки СВ по данным опытно-фильтрационных работ дается главным
образом обоснование приемистости скважины на основе опробования одиночных
разведочных скважин. Такие опробования проводятся при постоянном расходе налива
или откачки с прецензионными замерами нестационарного режима напоров воды в
скважине.
Особые опробования
проводятся для выявления зависимости приемистости скважин от объема налива,
причем такие опробования следует по возможности проводить с водным раствором,
близким по составу к сточным водам.
Для выделения рабочих
интервалов закачки и оценки их относительной проницаемости следует проводить
динамическую расходометрию скважин, а при существенно различных напорах в
отдельных пластах желательно проводить опробование в каждом из выделенных
пластов с пакерной изоляцией их.
На крупных объектах закачки
СВ, где предполагается устройство группы взаимодействующих скважин,
целесообразно проводить кустовые опробования (наливы или откачки), используя
эксплуатационные скважины. Задачей таких опробований является уточнение
определения проводимости коллектора и сопротивления прискважинной зоны с учетом
неоднородности и гетерогенности пласта, включая характеристики зон
тектонических нарушений.
Опытно-миграционные работы включают полевые гидрогеодинамические опробования,
направленные на определение геомиграционых параметров. Для полигонов
захоронения сточных вод эти параметры необходимы для обоснования режима закачки
и прогнозирования продвижения их по пласту.
На объектах закачки к
основным геомиграционым параметрам, используемым для прогноза распространения
"сточных вод в пласте-коллекторе, относятся вместимость, пористость,
проницаемость и т.д.
Эти параметры могут
определяться двумя альтернативными способами - по керну (в лабораторных
условиях) или трассерными опытами. В первом случае определяется емкость матрицы
пород (емкость блоков при гетерогенно-блоковом строении), во втором существует
возможность определения также и трещиноватости, которая в ряде случаев играет значимую
роль в формировании суммарных фильтрационно-емкостных свойств пласта.
Гетерогенность пород
(слоистая, блоковая или лизновидная) обусловливает процессы дисперсии, влияние
которой может быть весьма значимым при опытных работах, но обычно существенно уменьшается
при длительных закачках. Соответственно, параметры дисперсии с позиций
прогнозирования требуют оценки только для правильной интерпретации опытного
опробования.
При определении
геомиграционных параметров на их величину будут оказывать влияние процессы
массообмена.
Применительно к условиям
опытно-миграционных работ в качестве основной теоретической модели для
определения геомиграционных параметров целесообразно рассматривать модель
переноса в квазиоднородной среде, предполагающей наличие системы двух емкостей
(каналов и блоков), причем массообмен между этими системами может
осуществляться по схемам неограниченной и сосредоточенной емкости.
Естественно, наиболее
существенными для прогноза распространения СВ в пласте являются
фильтрационно-емкостные свойства. Также существенным для прогнозных
геомиграционных расчетов является профиль проницаемости в пласте-коллекторе,
который определяет дисперсию скоростей фильтрации.
Остальные параметры играют
подчиненную роль при решении прогнозных задач, но определение их значений
необходимо для интерпретации данных эксперимента.
Основным методом изучения
вертикальной фильтрационной неоднородности пласта является динамическая
расходометрия скважин.
Для определения
геомиграционных параметров используются трассерные опробования. Обоснование
такого опробования требует решения следующих вопросов: выбора участка
проведения опыта, интервала опробования, параметров опыта, включая вид
трассера, реализацию его входного сигнала и способов регистрации.
Планирование опытов должно
проводиться на основе проведения модельных экспериментов путем подбора
оптимальных параметров (времени, объемов закачки, откачки). Концентрация
трассера, подаваемого в центральную скважину (входной сигнал), может
поддерживаться постоянной в течение всего времени опыта или промежутка времени
(режим «пакет»).
Способ поддержания
постоянной концентрации на входе в скважину является наиболее информативным,
однако требует приготовления больших объемов трассерного раствора, которые
можно уменьшить, если использовать схему смешивания, при которой
приготавливается трассер с гораздо большей минерализацией, чем необходимо для
опыта, а при подаче приготовленный раствор смешивается с пресной водой,
подаваемой из водотоков, водоемов или вышележащих водоносных горизонтов.
Проблема приготовления трассера снимается, если в качестве его используются
воды смежных водоносных горизонтов.
Пакетный запуск является
экономически и практически более разумным при длительных опытах, когда
возникают проблемы поддержания постоянной концентрации во входном сечении.
Трассерные исследования
нашли широкое применение при гидродинамических исследованиях на Совхозном,
Степновском и Северо-Ставропольском подземных хранилищах газа (С.А.Варягов,
1999).
Закачка сточных вод в
поглощающие горизонты базируется (как показано выше) на полевых и лабораторных
исследованиях, выполняемых в значительном объеме. Вместе с тем получение
необходимой исходной информации зачастую крайне затруднено (особенно в обжитых
районах) требованиями экологической защиты. В качестве примера можно привести
откачку пластовых вод. Действительно, в ряде мест сброс большого количества
высокоминерализованных вод, содержащих токсичные компоненты, невозможен.
Альтернативой откачкам служат наливы и закачки. Вместе с тем и они могут привести
к кольматации пласта. Известны случаи, например, когда пласт «не принимал»
обратно собственные воды после охлаждения и выделения растворенного газа.
Единственным выходом из создавшегося положения является изучение процессов,
протекающих в недрах при закачке (откачке), методами математического
моделирования. Путем многовариантного математического моделирования
представляется возможным определение геофильтрационных параметров с
максимальным приближением к пластовым условиям.
Гидродинамические расчеты
при подземном захоронении сточных вод направлены на прогнозирование двух
основных показателей:
распространения (растекания)
захороняемых вод в недрах;
увеличения пластового
давления в поглощающем горизонте вследствие закачки сточных вод.
Первый показатель определяет
границы горного отвода, размеры и конфигурацию подземного хранилища сточных
вод. Второй дает представление о том, насколько может увеличиться пластовое
давление в поглощающем горизонте от закачки
в него сточных вод, что позволит сопоставить эти значения с удерживающей
способностью покрышки и герметичностью конструкции скважины.
Кроме того, для
прогнозирования режима работы нагнетательных скважин могут выполняться
гидродинамические расчеты в целях определения возможных объемов и давления
закачки. Однако в большинстве случаев режим закачки определяется по результатам
опытных нагнетаний, а не теоретических прогнозных расчетов.
Прогноз растекания
захороняемых вод в недрах и увеличения пластового давления в поглощающем
горизонте целесообразно проводить по методикам, приведенным в работе
«Гидрогеологические исследования для захоронения промышленных сточных вод в
глубокие водоносные горизонты» (1978). Они были положены в основу гидродинамических
прогнозов при проектировании большинства полигонов подземного захоронения СВ,
как на объектах газовой промышленности, так и других промышленных отраслей. Эти
методики относительно просты и несколько схематичны, но вполне достаточны,
принимая во внимание трудность учета всех нюансов фильтрационной неоднородности
поглощающего горизонта, которая к тому же постоянно изменяется в результате
влияния захороняемых вод и мероприятий по воздействию на пласт в целях
восстановления и повышения его приемистости. Надежность расчетных методик,
приведенных в вышеназванной работе, подтверждена результатами анализа
эксплуатации длительно функционирующих полигонов ПЗС. Вместе с тем не
исключается использование более детальных методик аналитических расчетов, а
также математического моделирования (В.М. Шестаков, 1994).
Для осуществления
гидродинамических прогнозных расчетов необходимо прежде всего определиться с
граничными условиями поглощающего горизонта. В практике подземного захоронения
вод поглощающий горизонт принимается однородным неограниченным (бесконечным) в
плане, поскольку для целей ПЗС выбираются выдержанные по литологии, мощности и
простиранию пласты-коллекторы.
В гидродинамическом
отношении поглощающие горизонты всегда залегают в зоне затрудненного
водообмена, для которой характерны низкие скорости движения подземных вод,
которыми при расчете можно пренебречь. Исключение составляют поглощающие
горизонты, гидродинамически взаимосвязанные с активно обводняющимися разрабатываемыми
залежами углеводородов. В таких поглощающих горизонтах скорость движения
пластовых вод должна учитываться.
Таким образом, для расчета
радиусов растекания захороняемых вод на объектах
газовой промышленности применяются два варианта, в зависимости от
гидродинамических условий поглощающего горизонта: в поглощающем горизонте
отсутствует движение пластовых вод; движение пластовых вод в поглощающем
горизонте имеется. Первый вариант характерен для поглощающих горизонтов, не
связанных гидродинамически с разрабатываемыми углеводородными залежами. Это
преимущественно поглощающие горизонты надпродуктивных отложений, в которые
захороняются СВ на глубокозалегающих месторождениях (Астраханском,
Карачаганакском, Тенгизском и др.). Второй вариант относится к поглощающим
горизонтам, подстилающим разрабатываемые залежи и гидродинамически с ними
взаимосвязанным. Такие условия имеют место при захоронении вод под газовые
залежи на месторождениях Тюменского Севера, Оренбургском НГКМ, Вуктыльском ГКМ
и др.
Вариант 1. Движение сточных вод в
однородном неограниченном пласте без учета скорости движения пластовых вод
(закачка в условиях бассейна) представляет собой равномерное растекание по
поглощающему горизонту во все стороны от нагнетательной скважины. Фронт
распространения закачиваемых вод имеет в плане форму окружности. Расчет радиуса
этой окружности, т.е. контура продвижения сточных вод в поглощающем горизонте,
производится по формуле
, (14)
r=
, (15)
где г - радиус контура распространения закачиваемых
сточных вод, м;
Т - время движения сточных
вод от нагнетательных скважин, сут;
Q -
объем закачки сточных вод, м3/сут;
m -
эффективная мощность поглощающего горизонта, м;
n -
коэффициент пористости коллекторов поглощающего горизонта, доли единицы.
Для создания «запаса
прочности» прогнозных расчетов в знаменатель формулы (15)
вводится коэффициент вытеснения Кв пластовой воды, численное
значение которого из практики соответствует около 0,7. Тогда окончательная
расчетная формула радиуса распространения сточных вод в поглощающем горизонте
имеет вид
R=
, (16)
В целях повышения надежности
гидродинамических прогнозов рекомендуется принимать жесткие условия расчетных
показателей посредством понижающих коэффициентов к значениям пористости и
эффективной мощности пород. Значения этих коэффициентов могут колебаться от 0,9
до 0,7 для средней пористости и от 0,9 до 0,5 для эффективной мощности.
Вариант 2. В поглощающем горизонте,
гидродинамически взаимосвязанном с разрабатываемой газовой залежью,
образовалась депрессионная воронка. Движение пластовых вод в пределах
депрессионной воронки направлено к ее центру, где отмечается минимальное
пластовое давление. В этом же направлении будут двигаться захороняемые сточные
воды. Скорость движения пластовых вод в поглощающем горизонте определяются по
формуле Дарси:
V=Kф J, (17)
где V - скорость фильтрации подземных вод, м/сут;
Кф - коэффициент
фильтрации пород, м/сут;
J -
гидравлический уклон потока.
При закачке СВ в поглощающий
горизонт в случае наличия движения подземных вод (т.е. в условиях потока)
образуется структура фильтрационного течения, резко отличающаяся от структуры
движения жидкости, закачиваемой в условиях бассейна (когда V = 0). В условиях
потока плоскорадиальное движение нагнетаемой жидкости, которое имеет место в
бассейне, вследствие наложения на него плоскопараллельного движения
деформируется и становится плоскокриволинейным (рис. 6).
По В.А.Боревской, И.Т.
Гаврилову, В.М. Гольдбергу и др. (1978), поле фильтрационного течения делится
на две области: внутреннюю и внешнюю. Во внутренней области, примыкающей к
скважине, все линии тока заканчиваются на скважине. Во внешней области линии
тока обтекают внутреннюю область и минуют скважину. С удалением от внутренней
области (вверх и вниз по оси Y) искривления линий тока
уменьшаются, и они приближаются к прямым линиям естественного
плоскопараллельного течения подземных вод. Внутренняя область отделена от
внешней нейтральной линией тока MAN. Закачиваемая жидкость
распространяется только во внутренней области, называемой областью растекания.
Таким образом, при наличии естественного движения подземных вод сточные воды
распространяются не равномерно во все стороны, как в условиях бассейна, а в
пределах области растекания. Следовательно, для того чтобы оценить масштабы
распространения сточных вод в пласте, следует определить размеры области
растекания. Вверх по потоку границей этой области является лежащая на оси Х так
называемая водораздельная точка А, в которой противоположно направленная
скорость естественного течения и скорость, обусловленная действием скважины,
взаимно уравновешиваются, а скорость фильтрации в этой точке равна нулю. Вниз
по потоку область питания распространяется неограниченно.
Размеры области растекания
стоков определяются по формулам
XA =
; (18)
Y0=
; (19)
Y¥ =
; (20)
где ХA - расстояние от скважины до
водораздельной точки, м;
Y0- ширина области растекания
по линии скважины (X = 0), м;
Y¥- ширина области растекания
в удалении от скважины вниз по потоку (Х=¥), м;
m -
эффективная мощность поглощающего горизонта, м;
V - скорость
фильтрации подземных вод, м/сут.
Расчет расстояний
продвижения закачиваемых вод производится методом подбора, исходя из формул:
для главной линии тока
T0=
(21)

Линии тока в
неограниченном пласте в условиях бассейна

Линии тока в
неограниченном потоке:
Г0
- область квазирадиального течения (Rг0<0,2XА)

Перемещение фронта закачиваемой жидкости в
неограниченном потоке
Рис. 6. Динамика движения жидкости
в условиях бассейна и потока в однородном неограниченном пласте
для других линий тока
T=
, (22)
X=
, (23)
Y=
, (24)
Т0 - время
перемещения закачиваемых вод от скважины до какой-либо фиксированной точки по
главной линии тока, сут;
Т - то же, по другим линиям тока,
сут;
n -
коэффициент пористости поглощающего горизонта, доли ед.;
ХA
- расстояние от скважины до водораздельной точки, м;
V - скорость фильтрации
подземных вод потока, м/сут,
X, Y - координаты точки, до которой
рассчитывается время перемещения закачиваемых вод, м.
Продвижение СВ определяется
по главной линии тока и по ширине потока на линии скважин, с помощью чего
графически устанавливается весь контур распространения вод. По главной линии
тока прогноз перемещения стоков производится вверх и вниз по формуле (21). Продвижение СВ по ширине потока на линии скважин
определяется исходя из формулы (22), которая после
соответствующих преобразований имеет вид
, (25)
где Т - время перемещения сточных вод по ширине
потока на линии скважины, м. Остальные обозначения те же, что и в предыдущих
формулах.
При закачке вод в отдельно
стоящую скважину или несколько близко расположенных друг от друга скважин,
которые могут быть заменены одной укрупненной скважиной, увеличение давления в
любой точке неограниченного в плане поглощающего горизонта рассчитывается по
формуле
S=
, (26)
Так как DР=Sg, то
, (27)
где DР - изменение давления, МПа;
S -
изменение уровня воды, м;
km -
водопроводимость пласта, м2/сут;
а - пьезопроводность пласта,
м2/сут ;
t -
продолжительность закачки, сут;
r -
расстояние от скважины до точки, в которой определяется АР, м;
g - плотность закачиваемых сточных вод, кг/м3.
Круговая система
расположения поглощающих скважин для расчетов может быть представлена «большим колодцем».
Прирост пластового давления в центре такой обобщенной системы определяется по
формуле Ф.М. Бочевера:
S=
, (28)
которая при условии
упрощается и
представляется в следующем виде:
, (29)
что соответствует
, (30)
где R0 - радиус обобщенной системы,
м.
Остальные обозначения те же,
что и в формуле (27).
Параметр R0 находим по формуле
R0=
, (31)
где L - периметр площади
расположения нагнетательных скважин, м.
Прирост пластового давления
за пределами системы на расстоянии от центра
r > l,5R0 рассчитывается по формуле (27).
Таким образом, теоретические
разработки и опыт отбора вод в больших количествах на водозаборах, а также еще
более важный опыт закачки сточных вод на
многочисленных ПЗС нефтегазового комплекса позволяют надежно и
квалифицированно решать задачи по закачке сточных вод при самых разнообразных
сочетаниях геологических (гидрогеологических) и промышленных условий.
Закачка промышленных сточных
вод в глубокие водоносные горизонты, как любое техногенное явление, оказывает
воздействие на окружающую природную среду. Это влияние будет сказываться как
при строительстве сооружений, так и при их эксплуатации. И в том, и в другом
случае это могут быть процессы, возникающие как при нормальной эксплуатации,
так и при воздействии различных аварийных ситуаций. Последствия воздействия
могут быть как обратимыми, так и необратимыми.
Для того чтобы оценить
влияние любого воздействия, нужно знать исходное состояние объекта. Выбор ПЗС
как метода нейтрализации основан на анализе
недостатков и негативного воздействия на
природную среду других физико-химических способов обезвреживания.
Применение электродиализного
метода для очистки сточных вод, по данным ВНИИХТ, при концентрации солей 20-30
г/дм3 в аппаратах типа ЭДК требует большого расхода электроэнергии
(5-7 кВт-ч/кг переносимой соли), составляющей 180-250 кВт-ч/м3 вод.
Учитывая, что доля электроэнергии составляет в себестоимости около 30 %, для
этого метода она более 100 руб./м3. Кроме того, получаемый при этом
концентрат необходимо упаривать и затем подвергать захоронению. При упаривании
неизбежны выбросы вредных веществ в атмосферу, а при хранении концентрата не
исключено попадание водорастворимых солей в поверхностные и грунтовые воды.
Применение обратного осмоса
для очистки сточных вод пока сдерживается малой производительностью серийных
установок, стойких к агрессивной среде. Например, мембранная установка типа МР
100/63 ЗТ для очистки слабоконцентрированных промывных вод имеет производительность
всего 18 м3/сут. Но и в этом случае получаемый концентрат также
подлежит упариванию.
Применение термических
методов, основанных на упаривании сточных вод после их нейтрализации и
длительного отстоя в аппаратах погружного горения или сжигания в циклонных
печах с обязательной доочисткой выходящих газов, требует огромного количества
газа (75-125 м3 газа/м3 СВ). При этом отмечается
значительный выброс вредных веществ в атмосферу и образование сухих остатков
солей, захоронение которых потребует строительства бетонированных могильников,
что экологически небезопасно, особенно в условиях высокого уровня грунтовых
вод.
Как отмечено выше, по своей
экономичности и экологической безопасности способ подземного захоронения СВ в
глубокие водоносные горизонты явно предпочтительнее. Прежде всего следует
отметить достаточно хорошую изученность геологического строения, получаемую при
разведке и эксплуатации месторождений. Опыт использования ПЗС показывает, что
при качественном строительстве и оборудовании скважин, соблюдении режимов и
технологий закачки возможно обеспечение экологической безопасности даже при
использовании вышележащих водоносных комплексов для водоснабжения (например, в
Тамбове) и бальнеологии (например, в Пензе).
Подземное захоронение
промышленных сточных вод, как всякое техногенное явление, конечно, оказывает
воздействие на окружающую природную среду. Однако последствия этого воздействия
(табл. 5) несомненно меньше, чем при других способах
обезвреживания.
Для функционирования
поглощающих скважин необходимо создание определенной репрессии на пласт,
зависящей от гидродинамических параметров и приемистости скважины. За время
эксплуатации она будет расти как за счет
увеличения зоны влияния, так и из-за кольматации пласта.
Повышение давления может
происходить на значительной площади, определяемой радиусом закачки
Rь»1,5×
, (32)
где Rь
- радиус влияния, м;
c - пьезопроводность пласта, м2/сут,
t -
продолжительность закачки, сут.
Принимая среднее значение
пьезопроводности 5×105 м2/сут
и срок эксплуатации полигона 25 лет (104сут), площадь влияния, на
которой может произойти увеличение пластового давления, достигнет 35 тыс. км2.
Изменение гидродинамических
условий может вызвать усиление перетекания подземных вод в соседние коллекторы
через слабопроницаемые пропластки и уменьшение поступления из других, а также
изменение дебитов родников и эксплуатационных скважин.
Значение допустимой
репрессии ограничивается прочностью эксплуатационных колонн, цементного камня и
устьевого оборудования. Во время закачки необходим ежедневный контроль за буферным, затрубным и межколонным
давлением с регистрацией в журнале. Рост буферного или затрубного давления при
постоянном или уменьшающемся расходе свидетельствует о кольматации пласта.
Резкое уменьшение давления может быть при прорыве эксплуатационной колонны выше
интервала перфорации. В этих случаях необходимы контрольные замеры забойного
давления, положения забоя и работы по определению целостности колонн
(термометрия, АКЦ и др.). Появление избыточного давления в заколонном и
межколонном пространстве возможно при разрушении цементного камня и заколонных
перетоках. В этом случае закачка должна немедленно прекращаться и проводиться
геофизические работы по контролю состояния цементажа и, возможно, ремонтные
работы.
Закачка СВ, имеющих
температуру ниже пластовой, вызывает некоторое охлаждение недр. Учитывая, что
охлаждению подвергается в основном коллектор, это явление следует использовать
для контроля за местонахождением поглощающего интервала. Нижняя его граница
определяется резким увеличением градиента на термограмме работающей скважины, а
верхняя - отрицательной аномалией на термограмме после остановки закачки.
Температура недр, хотя и медленно, но восстанавливается, и это после прекращения
работы полигона может вызвать необратимые явления в пласте.
Характеристика воздействия процессов глубинного захоронения сточных вод на геологическую среду
|
Основные
процессы, сопровождающие закачку |
Последствия
процессов |
Параметры,
определяющие протекание процессов |
Математические
модели и методы их исследования |
Масштабы
проявления |
|
1. Изменение
гидродинамического поля в пласте-коллекторе |
Формирование вокруг
поглощающей скважины купола репрессии |
Коэффициенты проницаемости,
гидропроводности и пьезопроводности, режимы и объемы закачки, граничные
условия пласта |
Уравнение фильтрации, его
аналитические и конечноразностные решения. Формулы |
Изменение напоров
пластовых вод в пластах-коллекторах в период закачки. После прекращения
закачки обстановка восстановится |
|
2. Заполнение
пластов-коллекторов сточными водами |
Вытеснение пластовых вод
сточными водами из порового пространства, частичное смешение с ними |
Поле напоров, удельная
емкость (эффективная толщина и пористость) |
Уравнения фильтрации и
массопереноса, их аналитические и конечно-разностные решения. Формулы. |
Распространение сточных
вод в пласте-коллекторе с учетом частичного смешивания (до 30 %) и фильтрационной
неоднородности произойдет на площади в соответствии с расчетами |
|
3. Изменения
геостатического поля |
Изменения горного давления
и распределения напряжений в геологической среде |
Гидродинамическое поле,
горное давление, физико-механические свойства пород |
Системы уравнений
напряженного состояния |
Практически не сказывается
на распределении напряжений |
|
4. Изменения
геотермического поля |
Формирование вокруг
поглощающих скважин областей охлаждения пласта-коллектора |
Режим закачки, температура
сточных вод, теплоемкость и теплопроводность пород |
Уравнения
теплопроводности, построения геотерм |
Формирование областей
охлаждения пласта против интервалов поглощения на площади 200-300 м2.
Восстанавливается после прекращения закачки, используется как контрольный
метод |
Физико-химические процессы,
происходящие при этом, могут вызвать широкий круг изменений как в подземных
водах, так и в водовмещающих породах и покрышках. Например, если минерализация сточных
вод ниже минерализации пластовых вод, то возможно уменьшение проницаемости за
счет набухания глинистых песчаников. Наоборот, проницаемость коллекторов может
улучшиться при закачке минерализованных или кислых вод.
Все физико-химические
процессы, происходящие в пласте (растворение, выщелачивание, выпадение осадка,
сорбция, ионный обмен, биохимические явления) должны изучаться как в
лабораторных условиях на стадии проектирования, так и в условиях работающих
полигонов.
Флюиды многих месторождений
и подземных хранилищ газа содержат анаэробные бактерии. Попадая в благоприятную
обстановку, они вызывают вторичные образования в пластах, коррозию
оборудования, кольматацию коллектора и трубопроводов. В комплекс подготовки
сточных вод к закачке должна включаться не только их очистка, но и
обеззараживание.
Если в состав СВ входят ионы
кальция и сульфатов, то из-за быстрого охлаждения пласта при закачке
образование гипса исключено. Однако на границе прогрева зона захоронения
сточных вод может оказаться запечатанной гипсовой оторочкой. При этом эффект
запечатывания, вероятно, будет увеличен из-за гидроксидов, которые также будут
выпадать в этих условиях.
Исходя из изложенного
следует, что в процессе закачки не желательны длительные остановки, которые
могут привести к восстановлению температуры в пласте. Хотя после окончания
захоронения СВ это явление станет благоприятным фактором, сдерживающим скорость
сноса «загрязненного пятна» вплоть до полного его запечатывания. Поэтому в
процессе промышленной закачки и после ее завершения необходимо вести наблюдения
за восстановлением геотермального поля на участке и изменениями
гидродинамической связи «пятна» с законтурной областью во времени.
Кроме закономерного
воздействия подземного захоронения СВ, необходимо дать анализ гипотетических
осложнений, вплоть до аварийных ситуаций, которые могут возникнуть с разной
степенью вероятности.
Гипотетические аварийные
ситуации по характеру вызвавших их причин можно подразделить на следующие типы:
связанные с ошибками в оценке
исходных параметров, использованных в расчетах и моделях;
обусловленные изменением
геологических условий эксплуатации вследствие естественных преобразований
геологической среды;
являющиеся следствием
развития в водоносных горизонтах и перекрывающих их покрышках процессов,
обусловленных захоронением;
инициированные повреждением
или ухудшением технического состояния скважин и поверхностного оборудования;
вызванные ошибками персонала
при эксплуатации;
возникшие в связи с активным
воздействием антропогенного фактора;
связанные со стихийными
бедствиями и другими сверхредкими явлениями.
Как указывалось выше,
регион, где предполагается организация подземного захоронения сточных вод, как
правило, достаточно полно изучен в геологическом отношении. Однако не исключены
отклонения в определении гидродинамических параметров пласта, поэтому расчеты
продвижения сточных вод должны выполняться с запасом, а отклонения учитываться
на стадии их опытно-промышленной закачки.
Собственно аварийная
ситуация и не возникнет, так как сточные воды во всех случаях останутся в
пределах выделенного пласта - разной будет только площадь их распространения.
Естественные изменения
геологической среды, которые подразделяются на экзогенные и эндогенные,
малозначимы и не вызовут аварийных ситуаций на полигоне захоронения. Обычно в
широких масштабах развиты такие экзогенные геологические процессы, как оползни
и оврагообразование. Но они затрагивают верхнюю часть геологической среды
(первые десятки метров) и для коллекторских горизонтов, залегающих на глубине
1000-1500 м малозначимы. Эндогенные процессы являются основной причиной
формирования тектонических структур. Усиление тектонической активности не
бывает внезапным, ей предшествует длительный период усиления сейсмичности,
измеряемый десятками и сотнями тысяч лет. Как показывает опыт, даже
землетрясения практически не оказывают влияния на горизонты, залегающие на этих
глубинах, в худшем случае может разрушиться устьевое оборудование скважин.
Некоторые оппоненты высказывают опасения, что не исключена эрозия
пластов-коллекторов при подъеме их на поверхность, забывая что эти процессы
длительные и находятся за пределами времени разумного прогнозирования и
сопоставимы с временем существования человечества.
В ряде районов может
вызывать опасения формирование очагов «вызванных» землетрясений, так как одним
из основных факторов их формирования служат изменения давления воды,
заключенной в порово-трещинном пространстве пород. Теоретически «вызванное»
землетрясение может произойти, если давление жидкости будет приближаться к
геостатическому. Неблагоприятными факторами являются высокая естественная
сейсмичность района, присутствие в составе вод поверхностно-активных веществ и
ионов электролитов. Несмотря на сложность этого явления, опасность «вызванных» землетрясений
явно преувеличена. Например, длительная эксплуатация Северо-Ставропольского ПХГ
на базе выработанного месторождения, несмотря на циклический характер работы,
не вызвала усиления сейсмичности.
Учитывая, что закачка
ведется только в случае удовлетворительной совместимости сточных вод с
пластовыми водами и породой водоносных горизонтов, негативных последствий,
связанных с разрушением покрышек (растворение кислотами, выщелачивание и т.п.),
как правило, не ожидается. Расчеты диффузии через покрышки толщиной более 50 м
практического интереса не представляют.
Аварийные ситуации могут
возникнуть при внезапном разрушении оголовка поглощающих скважин или подающих
трубопроводов в результате различных природных катаклизмов или диверсий и т.п.
В результате разлива сточных вод возможно загрязнение грунта. Время разлива
оценивается несколькими часами до его выявления операторами, и загрязнение
поверхности будет ограничено первым поясом санитарно-защитной зоны.
Незначительные масштабы загрязнений обусловлены низким давлением закачки,
вплоть до свободного налива.
Аварийные ситуации и
осложнения, связанные с попаданием сточных вод в неглубокозалегающие горизонты
могут возникнуть при ухудшении технического состояния скважин, в частности, в
результате нарушения герметичности обсадных колонн и образования «свищей» при
совпадении мест негерметичности с интервалами отсутствия цемента или низкого
качества цементирования. Эти нарушения могут стать причиной попадания СВ и
пластовых вод в вышележащие комплексы. Загрязнения будут иметь ограниченные
масштабы в связи с относительно высоким гидравлическим сопротивлением мест
утечек и низкими коллекторскими свойствами пласта, кроме того, они будут
находиться в пределах горного отвода недр и будут быстро выявлены в
наблюдательных скважинах.
Для предупреждения и
своевременного обнаружения подобных явлений предусматриваются специальные
мероприятия, рассмотренные ниже.
Контролю за подземным
захоронением СВ придается особое значение, так как этот способ нейтрализации
применяется в исключительных случаях, когда неприменимы традиционные методы
очистки и обезвреживания при соблюдении целого ряда специальных требований и
условий.
Глубокие водоносные
горизонты, в которые осуществляется сброс сточных вод, перекрывающие их
флюидоупоры, вышележащие водоносные горизонты, воды которых могут
использоваться в хозяйстве или просто иметь связь с поверхностью, представляют
собой часть природной системы, практически недоступной для непосредственного
обследования и наблюдения. Исходные данные о геологической среде и
гидрогеологической обстановке могут быть известны только с некоторой долей
неопределенности, их моделирование производится также с целым рядом допущений и
упрощений.
Кроме объективных
трудностей, существует ряд субъективных, заставляющих предъявлять к контролю
повышенные требования. Подземное захоронение является весьма редким и необычным
способом обращения со сточными водами, практически незнакомым административным
и контролирующим органам и даже специалистам, не имеющим опыта гидрогеологических
исследований глубоких водоносных комплексов.
Промышленные сточные воды,
находящиеся в недрах, нельзя непосредственно осмотреть, удостовериться, что они
находятся именно в пласте-коллекторе и в пределах заранее установленных границ,
что время движения «загрязненного пятна» измеряется сотнями и тысячами лет. Это
вызывает недоверие к данной технологии и сомнения в ее безопасности и
надежности.
Только проведение
комплексного контроля глубинного захоронения СВ, информирование общественности и населения о его результатах,
сравнение состояния окружающей природной среды при использовании традиционных
методов (сжигание, упаривание и т.п.) и при подземном захоронении позволяет
ликвидировать возникающее недоверие (Б. П. Акулинчев, 1995).
Первым и весьма важным
этапом контроля еще до начала подземного захоронения должно быть изучение
состояния окружающей среды, включая геологическую. При регистрации фона
необходимо собрать данные о состоянии поверхности водоемов и водотоков,
грунтовых и подземных вод, включая как горизонты, в которые будет вестись сброс
сточных вод, так и буферные, и контролируемые. На основе этих данных
производится оценка состояния окружающей природной среды, возможного влияния на
нее подземного захоронения, разрабатывается система мониторинга, уточняются
способы и технология контроля.
Первым этапом контроля
состояния недр является контроль за закачкой СВ. При этом регистрируют
параметры нагнетания и состав вод, их соответствие регламенту. Основными
параметрами контроля являются давление и объем закачки, которые не должны
превышать установленных пределов, а также химический состав СВ и их физические
характеристики.
Давление и объем должны
фиксироваться непрерывно, как на подающих насосах, так и на устье поглощающих
скважин, чтобы исключить порывы и нарушения в подающих трубопроводах.
Периодический контроль
должен вестись за такими показателями сточных вод, от которых прежде всего
зависит устойчивость эксплуатации. В первую очередь необходим контроль за
содержанием мелкодисперсных взвешенных твердых веществ и нефтепродуктов,
вызывающих в основном кольматацию пласта.
Результаты закачки СВ должны
фиксироваться показывающими и самопишущими приборами, заноситься в журнал
закачки или компьютер. Кроме того, должна быть предусмотрена сигнализация о
приближении или достижении критических значений контролируемых параметров.
Контроль состояния
геологической среды подразделяется на следующие основные виды:
гидродинамический контроль -
оценка состояния полей напоров в поглощающих пластах и контролируемых
горизонтах;
гидрогеохимический -
определение изменений состава пластовых вод, компонентов сточных вод и
физико-химических показателей коллекторов;
геофизический контроль -
оценка изменений физических полей в недрах, включая температурное поле, электросопротивлений
жидкостей, сейсмических эффектов.
Гидродинамический контроль, основывающийся на наблюдениях за изменениями
напоров пластовых жидкостей в скважинах, позволяет моделировать структуру
фильтрационного потока на полигоне захоронения. Прогноз изменения уровней на
разных расстояниях от поглощающих (нагнетательных) скважин базируется на их
замерах в наблюдательных скважинах. С этой целью последние оборудуются
электроуровнемерами. По результатам гидропрослушивания в наблюдательных
скважинах строят графики приращения уровней или давления от логарифма времени.
При близких гидродинамических параметрах пласта графики будут параллельны.
Максимальные размеры зоны, в
которой произойдут изменения пластового давления за счет репрессии на пласт,
оценивают исходя из зависимости (15).
Если в зоне влияния закачки
не происходит смены гидродинамических параметров, литологического или
стратиграфического замещения, нет проводящих или непроводящих тектонических
нарушений, то графики приращений прямолинейны и пласт считают гидродинамически
неограниченным. Резкое, в два-три раза повышение уклона свидетельствует о
влиянии непроницаемой границы. Снижение уклона указывает на перетекание в
другие водоносные пласты или горизонты.
Таким образом, методы
гидродинамического контроля позволяют не только уточнить фильтрационные
параметры пласта-коллектора, но и подтвердить изолированность водоносных
горизонтов, расположенных над пластом-коллектором или обнаружить их
взаимосвязь. Очень важно, что тенденцию распространения сточных вод или
межпластовые перетоки можно выявить этими методами задолго до их появления в
наблюдательных скважинах. Благодаря значительно более высокой скорости
изменений гидродинамического поля по сравнению с продвижением вод могут быть
своевременно намечены мероприятия по изменению режимов закачки, ремонту скважин
или их ликвидации.
Гидрогеохимический контроль - метод наблюдений за составом жидкостей, выносимых
флюидальным потоком из эксплуатационных скважин. Он осуществляется посредством
выполнения химических анализов проб воды через определенные промежутки времени.
В аналитической практике принято определять следующие компоненты состава: СI, HCO3, CO32, SO42, Ca2+, Mg2+, Na+, K+, Br, J, а также рН и общую
минерализацию.
Метод обеспечивает контроль
за процессом поступления пластовой воды в скважину (процесс обводнения) на
ранней стадии обводнения месторождения в процессе разработки. Кроме того, он
позволяет выявить возможное продвижение промышленных сточных вод в пласте, если
закачка СВ проводится в нижнюю водоносную часть эксплуатируемого горизонта.
Очень высокие требования предъявляются к качеству разобщения
водоносных горизонтов. Оценку качества цементирования проводят геофизическими методами в соответствии с
временной инструкцией, разработанной специалистами институтов
«Гидроспецгеология» и «ВНИПИпромтехнология». Качество цементирования затрубного
пространства обсадных колонн против водоносных и водоупорных комплексов
(горизонтов) определяется двумя категориями - удовлетворительное и плохое. К
первой относятся интервалы жесткого контакта и (или) чередования участков
жесткого контакта и отсутствия его. Ко второй категории относят интервалы
скользящего контакта или его отсутствия при зазорах между колонной и цементом
более 35 мк, а также интервалы отсутствия или пониженной плотности цементного
камня за колонной.
Интервал чередования должен
иметь не менее трех участков жесткого контакта, каждый толщиной не менее 5 м,
их доля должна составлять не менее 30
% общей толщины интервала. Интервал скользящего или плохого (отсутствия)
контакта между двумя жесткими не должен превышать 20 м.
По данным геофизических
исследований (АКЦ) по каждому водоносному комплексу (горизонту) определяют
коэффициенты качества цементирования, представляющие собой отношение суммы
толщины интервалов удовлетворительного качества цементного камня к общей
толщине оцениваемого интервала. Предельные минимальные значения коэффициентов
качества составляют для водоупоров толщиной:
более 50 м - не менее 0,5;
30-50 м - не менее 0,6;
менее 30 м - не менее 0,7.
Если полученные значения
коэффициентов качества не удовлетворяют указанным выше требованиям, проводят
специальные исследования по оценке состояния цемента за колонной под давлением,
близким к давлению нагнетания.

Рис. 7. Геотермический метод
контроля за закачкой СВ (скв.1 - Люминофор):
1 - распределение температуры до закачки; 2, 3, 4 - распределение
температуры после прекращения закачки через 19 сут (зима), 95 сут (лето), 125
сут (зима); 5 - распределение температуры во время закачки (Q - 2000
м3/сут)

Рис. 8. Принципиальная схема
обустройства нагнетательной системы:
1 - емкость для подготовки СВ; 2 - нагнетательные
насосы; 3, 7, 8, 9, 10 - контрольные манометры; 4 - расходомеры; 5 -
нагнетательный трубопровод; 6 - поглощающая скважина; 11 - контролируемые
водоносные горизонты; 12 - водоупоры; 13 - поток СВ в НКТ; 14 - пакер; 15 -
поглощающий пласт; 16 - цементное кольцо;
Рн, Р6,
Рз, Рмк, Рэк - давление в насосе, буфере,
затрубном, межколонном и заколонном пространстве
Типичные состояния закачки сточных вод
|
№ п/п |
Сопоставление
текущих и начальных параметров закачки на насосах и трубопроводе |
Сопоставление
текущего и начального давления на устье поглощающей скважины |
Сопоставление
текущих и начальных кривых термометрии и дебитометрии |
Категория
состояния закачки |
||||||||||
|
давление
на насосе |
объем
закачки |
трубное
(буферное) |
затрубное |
межколонное |
заколонное |
термометрия |
дебирометрия |
|||||||
|
1. |
Рнi=Ро |
Унi=Уо |
Рб=Ро |
Рз=Р3=0 |
Рмк=Рмк=0 |
Рзк=Рзк=0 |
Тi=Т0 |
Дi=До |
Нормальное состояние
закачки |
|||||
|
2. |
Рнi»Ро |
Унi»Уо |
Рб<Ро |
Рз>Р3=0 |
Рмк=Рмк=0 |
Рзк=Рзк=0 |
Тi=Т0 |
Дi=До |
Нарушение герметичности пакера
или НКТ, состояние нормальное, но негерметичность лучше устранить |
|||||
|
3. |
Рнi>>Ро |
Унi<<Уо |
Рб>>Ро |
Pз=Pз=0 |
Рмк=Рмк=0 |
Рзк=Рзк=0 |
Тi=Т0 |
Дi=До |
Предаварийное состояние закачки,
нагнетательная система герметична, приемистость снизилась - началась
кольматация пласта |
|||||
|
4. |
Рнi>> Ро® Рнi»Ро |
Унi<<<Уо Унi»Уо |
Рб>>>Ро
Рб»Ро |
Pз=Pз=0 |
Рмк=Рмк=0 |
Рзк=Рзк=0 |
Тi=Т0 |
Дi=До |
Предаварийное состояние, нагнетательная
система герметична кратковременная кольматация пласта и возможность его
гидроразрыва |
|||||
|
5. |
Рнi>Ро |
Унi>Уо |
Рб>Ро |
Pз=Pз=0 |
Рмк=Рмк=0 |
Рзк=Рзк=0 |
Тi¹Т0 |
Дi¹До |
Аварийное состояние, нарушение
межколонного пространства, требуется капремонт |
|||||
|
6. |
Рнi>Ро |
Унi>Уо |
Рб>Ро |
Рз=Рз=0 |
Рмк=Рмк=0 |
Рзк>Рзк>0 |
Тi¹Т0 |
Дi¹До |
Аварийное состояние,
нарушение цементажа за колонной, требуется капремонт |
|||||
|
7. |
Рнi>Ро |
Унi>Уо |
Рб>Ро |
Рз=Рз=0 |
Рмк>Рмк>0 |
Рзк>Рзк>0 |
Тi¹Т0 |
Дi¹До |
Аварийное состояние,
нарушение заколонного и межколонного пространства, возможно и обсадной
колонны, требуется капремонт |
|||||
|
8. |
Рнi>Ро |
Унi>Уо |
Рб>Ро |
Рз>Рз>0 |
Рмк>Рмк>0 |
Рзк>Рзк>0 |
Тi¹Т0 |
Дi¹До |
Аварийное состояние,
нарушена герметичность скважины, требуется кап. ремонт |
|||||
|
9. |
Рнi>>>Ро |
Унi<<Уо |
Рб>>>Ро |
Pз=Pз=0 |
Рмк=Рмк=0 |
Рзк=Рзк=0 |
Тi¹Т0 |
Дi¹До |
Аварийное состояние,
скважина герметична, признаки полной кольматации, требуются работы по
восстановлению приемистости |
|||||
|
10. |
Рнi>>>Ро |
Унi<<Уо |
Рб>>>Ро |
Рз=Рз=0 |
Рмк=Рмк=0 |
Рзк=Рзк=0 |
Тi¹Т0 |
Дi=До |
Аварийное состояние, нарушена
герметичность нагнетательного трубопровода, требуется переход на запасной
трубопровод |
|||||
По результатам этих
исследований решается вопрос о ремонте или ликвидации скважины. Заключение о
качестве разобщения водоносных горизонтов затрубным цементированием выдается организацией,
проводящей геофизические исследования скважин (ГИС). Такие заключения с
положительной оценкой качества тампонажа на скважины участка должны быть
приведены в проекте полигона.
Другим важным видом ГИС
является термометрия благодаря высокой разрешающей способности. Она базируется
на фиксировании процессов кондуктивно-конвективного теплопереноса. До начала
работ по опытной или промышленной закачке в условиях стационарного режима во
всех скважинах должны быть зарегистрированы термограммы. По распределению
геотермической ступени или градиента могут быть уточнены и выделены
пласты-коллекторы и покрышки. В процессе закачки уже через 20-90 мин
температура в стволе скважины приближается к температуре сточных вод. Нижняя
граница изменений соответствует подошве интервала поглощения. При остановке
закачки в стволе скважины начинается восстановление термобарического поля. В
пределах разделяющего коллекторы слоя перенос теплоты осуществляется за счет
теплопроводности пород, а в смежных с ним водоносных горизонтах - путем
конвективного теплопереноса. В интервалах поглощения естественная температура
не восстанавливается в течение длительного времени (рис.7),
превышающего время воздействия в десятки раз, за счет чего в пределах разделяющего
слоя фиксируется значительный перепад температур. При вертикальных перетоках
температура в смежных водоносных горизонтах должна быть близкой по величине.
Следует иметь в виду, что скорость восстановления температуры в коллекторах и
водоупорах различна, поэтому длительное время фиксируется на термограммах.
Термометрический метод так
же, как и гидродинамический, позволяет устанавливать перетоки сточных вод
задолго до их появления в наблюдательных скважинах, а выделение интервалов
поглощения намного надежнее, чем при использовании методов глубинной
дебитометрии. В связи с этим термометрический способ принят как основной.
В целях упрощения процесса
контроля за захоронением СВ и повышения его оперативности в Укрниигазе
разработан способ контроля захоронения промышленных стоков, признанный в СССР
изобретением. Для его осуществления устье нагнетательной скважины оборудуют как
показано на рис.8. На этом рисунке представлены различные
состояния эксплуатационных скважин. На основе регистрации параметров авторами
изобретения выделено 10 наиболее характерных ситуаций (табл.
6). Использование этой технологии позволяет вести контроль более оперативно
и надежно.
Таким образом, современные
методы контроля позволяют обеспечить надежность и безопасность подземного
захоронения сточных вод в благоприятных гидрогеологических условиях, а при
возникновении аварийных ситуаций своевременно принимать меры по их локализации
и устранению.
В течение периода
необходимой (гарантируемой) консервации сточных вод в недрах должно быть
обеспечено отсутствие или сохранение в допустимых пределах всех видов
возможного вредного воздействия сброса (захоронения) на окружающую природную
среду и используемые или потенциально пригодные для хозяйственного
использования элементы и участки недр:
СВ не должны
распространяться в пласте-коллекторе и перекрывающих буферных горизонтах за
пределы, определенные горным отводом;
вытесняемые по
пласту-коллектору при захоронении СВ высокоминерализованные пластовые воды не
должны поступать в содержащие пресные воды водоносные горизонты верхней
гидродинамической зоны или поверхностные водотоки и водоемы в количестве,
которое приводит к превышению ПДК каких-либо компонентов в этих водных
объектах;
в процессе подземного
захоронения не должно создаваться предпосылок для гидравлического разрыва
перекрывающей пласт-коллектор водоупорной кровли и неконтролируемой вертикальной
миграции СВ.
Нормативами предельно
допустимых сбросов вредных веществ в подземные водные объекты, по В. А.
Грабовникову (1999), являются:
необходимая
(гарантированная) длительность консервации СВ в подземном хранилище;
объем сбрасываемых вод;
давление на устье
нагнетательных скважин;
продолжительность
эксплуатации полигона подземного захоронения сточных вод;
концентрация вредных веществ
и/или других специфических компонентов в отходах.
Необходимая длительность
консервации сточных вод в подземном хранилище (пласте-коллекторе) является
основным исходным нормативом предельно допустимых сбросов вредных веществ в
подземные водные объекты. Согласно рекомендациям Министерства природных
ресурсов РФ, она определяется головной научно-исследовательской организацией
соответствующей отрасли исходя из класса опасности, начальной концентрации
вредных веществ в сточных водах и известных или обоснованно прогнозируемых
параметров деградации вредных компонентов сточных вод в геохимических и
термодинамических условиях пласта-коллектора.
Объем сбрасываемых СВ,
давление на устье нагнетательных скважин и продолжительность эксплуатации
полигона подземного захоронения являются взаимосвязанными показателями,
определяющими распространение СВ в пласте-коллекторе, вытеснение ими пластовых
вод, эволюцию напорной поверхности пласта-коллектора и буферных водоносных
горизонтов, в том числе взаимодействие пласта-коллектора с вышележащими
горизонтами через естественные каналы фильтрации и возникновение предпосылок
для гидравлического разрыва водоупорной кровли. Значения этих показателей
определяются по результатам прогнозных расчетов соответствующих процессов,
осуществляемых известными методами - аналитическими расчетами, аналоговым или
численным моделированием, экстраполяцией опытных данных (В.А. Грабовников,
1993; В.А.Мироненко, В.Г.Румынин,1986).
Взаимоувязанность этих
показателей определяет возможность и/или необходимость изменения значений одних
из них в зависимости от требуемого или допустимого значения других. Так, объем
сбрасываемых вод может быть увеличен за счет уменьшения длительности
эксплуатации полигона подземного захоронения, и наоборот. Допустимое повышение
давления на устье нагнетательных скважин, обеспечивающее отсутствие предпосылок
для гидравлического разрыва кровли, лимитирует объем и схему захоронения
(количество и/или расположение нагнетательных скважин).
В свою очередь, величина
допустимого повышения давления увеличивается с увеличением глубины залегания
пласта-коллектора.
Все прогнозные расчеты по
определению предельно допустимых нормативов объема, давления и
продолжительности эксплуатации полигонов захоронения осуществляются исходя из
назначенной величины необходимой длительности консервации жидких отходов в
недрах.
Важно подчеркнуть, что в соответствии с методическими указаниями Министерства природных ресурсов РФ предельно допустимая концентрация вредных веществ и/или других специфических компонентов в СВ назначается головной научно-исследовательской организацией отрасли с учетом физико-химических свойств сточных вод и термодинамических и геохимических условий пласта-коллектора, исходя из необходимости предупреждения опасных и неконтролируемых последствий их взаимодействия (газотепловыделение и др.).
Работы, связанные с
подземным захоронением сточных вод, выполняются в следующей последовательности:
предпроектные исследования и
проработки;
проектирование ПЗС;
пробная (опытная) закачка
сточных вод;
строительство,
опытно-промышленная и промышленная эксплуатация установок ПЗС;
контроль и анализ
эксплуатации систем ПЗС.
Согласование ПЗС и получение
разрешения на его осуществление от контролирующих органов проводятся на всех
вышеперечисленных этапах работ, если подземное захоронение ведется в
поглощающие горизонты, развитые за пределами фактической или прогнозной
(расчетной) депрессионной воронки, обусловленной разработкой месторождения
углеводородов.
Если же попутные пластовые,
производственные, хозяйственно-бытовые и другие воды закачиваются в зону
депрессионной воронки разрабатываемой углеводородной залежи, то ПЗС является
одновременно составной частью технологического процесса разработки
месторождения, направленной на выравнивание нарушенного природного
гидродинамического равновесия. В данном случае отдельного согласования и
разрешения на ПЗС от контролирующих органов не требуется.
Горный отвод на участок
недр, в который осуществляется захоронение сточных вод, включая рабочий и
резервные поглощающие горизонты, а также «буферный» горизонт, оформляется в том
случае, если данный участок недр не входит в горный отвод разрабатываемого
месторождения углеводородов или подземного хранилища газа.
Самостоятельная лицензия на
пользование недрами для ПЗС должна оформляться в случае закачки сточных вод за
пределами депрессионной воронки разрабатываемого месторождения. Если же они
закачиваются, как отмечалось, в зону фактической либо прогнозной депрессионной
воронки, то это следует рассматривать как составную часть эксплуатации
месторождения, направленную на одновременное удаление сточных вод и
выравнивание нарушенного природного гидродинамического равновесия, и должно
оформляться комплексной лицензией на несколько видов недропользования (добычу
полезного ископаемого, захоронение вод и др.).
Исследования для целей
подземного захоронения сточных вод должны вестись еще на стадии разведки
газового, газоконденсатного или нефтяного месторождения. На это указывает
Инструкция о содержании, оформлении и порядке представления в ГКЗ СССР
материалов по подсчету запасов нефти и горючих газов, в которой отмечено, что в
случае необходимости закачки попутно извлекаемых подземных вод в другие
водоносные горизонты приводятся данные исследований, обосновывающие возможность
закачки.
Учитывая тенденцию открытия
залежей углеводородов на все более значительной глубине, возрастает мощность
верхней части разреза, которая в силу своей бесперспективности геологически и
гидрогеологически слабо изучена. На ряде крупнейших месторождений перед вводом
их в опытно-промышленную эксплуатацию (ОПЭ) эта мощность исчисляется
несколькими тысячами метров. Изученный интервал разреза ниже разведанных
залежей обычно также невелик из-за большой глубины залегания. Если он при этом
по коллекторским свойствам оказывается не пригодным для ПЗС, то недостаток
информации о надпродуктивном и межпродуктивном разрезах крайне затрудняет
принятие решения даже о выборе объектов для разведки поглощающих горизонтов, не
говоря уже о проектировании ПЗС на стадии ОПЭ месторождения.
В связи с этим
газодобывающее предприятие должно поддерживать деловой контакт с геологическими
структурами не только в плане будущей добычи сырья, но и для решения вопросов
ПЗС. В этом направлении газодобывающие предприятия должны ставить перед
разведочными организациями задачи по получению следующей информации по
надпродуктивному разрезу и толще пород, развитой между нефтегазоносными
этажами:
установление проницаемых
пластов и экранов, протяженности, форм залегания, литологического и
вещественного состава, физико-коллекторских и экранирующих характеристик,
тектонической целостности или нарушенности;
данные о пластовых водах,
насыщающих пласты-коллекторы (химический и газовый состав, пьезометрический уровень,
дебиты при определенных депрессиях, коэффициенты фильтрации, водопроводимости,
пьезопроводности);
определение поглощающей
способности (приемистости) наиболее значительных пластов-коллекторов.
Получение такой информации
возможно с помощью проведения следующих мероприятий:
расширенного комплекса
промыслово-геофизических исследований в отдельных разведочных скважинах;
отбора и лабораторного
анализа пластовой воды и керна из этих скважин;
использование аварийных
скважин для гидродинамических испытаний в обсаженной колоннами пригодной части
ствола.
Водонасыщенные интервалы
разреза, находящиеся глубже разведываемых залежей, необходимо в отдельных
скважинах после испытаний на водоприток исследовать на приемистость.
Помимо проведения
вышеперечисленных исследований должна быть подвергнута обработке и анализу вся
геолого-техническая и промыслово-геофизическая информация по разведочным
скважинам с позиции ее использования для целей подземного захоронения сточных
вод. Необходимо привлечь к анализу материалы полевой геофизики, материалы
дистанционных аэрокосмических исследований, гелиевой съемки, опыт подземного
захоронения сточных вод на аналогичных газовых и нефтяных месторождениях, а
также на предприятиях других отраслей промышленности, закачка СВ на которых осуществляется
в сходных геолого-гидрогеологических условиях, данные по эксплуатации систем
поддержания пластового давления, региональные геологические и
гидрогеологические материалы.
К проведению исследований
для целей ПЗС целесообразно привлекать специализированные
научно-исследовательские подразделения. При подсчете запасов газа (нефти) по
перспективным поглощающим и «буферным» горизонтам, по экранирующим толщам
должны быть учтены следующие геолого-гидрогеологические материалы, необходимые
для проектирования закачки СВ:
крупномасштабные структурные
карты кровли поглощающих горизонтов и экранов;
литолого-фациальные карты
пластов-коллекторов и перекрывающих их экранов;
карты общих толщин
поглощающих горизонтов и эффективных толщин коллекторов; общих толщин экранов
(покрышек) и эффективных толщин расслаивающих их проницаемых пластов;
схемы
геолого-гидрогеологических разрезов (сводные, профильные, по отдельным
скважинам) с нанесенными на них промыслово-геофизическими характеристиками
пород разреза, данными о коэффициентах пористости, проницаемости, фильтрации,
водопроводимости, пьезопроводности;
характеристика
литологического, химического и минералогического состава пород, слагающих
поглощающие горизонты и экраны;
карты гидроизопьез,
водопроводимости, проницаемости, пьезопроводности и эффективной емкости пород
поглощающих горизонтов;
химический и газовый состав
подземных вод поглощающих горизонтов и верхних водоносных горизонтов с пресной
водой.
Имея эти материалы, или хотя
бы часть из них, в отчете по подсчету запасов нефти и газа, можно принимать
принципиальные решения по организации подземного захоронения сточных вод на
период ОПЭ и разработки месторождения.
Для дальнейшего изучения
вопросов, связанных с охраной окружающей среды, данные о пластовых водах должны
быть отражены в технической документации и характеризовать как первоначальный
фон, так и изменения его в процессе закачки сточных вод.
Для целей подземного
захоронения СВ разрабатываются два типа проектной документации:
геолого-гидрогеологическое
обоснование и технологическая схема ПЗС;
проект обустройства системы
(полигона) ПЗС.
Они соответствуют проектам
разработки (ОПЭ) и обустройства газовых месторождений, в которые должны входить
в виде дополнительного раздела либо отдельного тома (книги).
Целесообразна также
подготовка проектной документации ПЗС совместно с проектами
газоперерабатывающих заводов, станций подземного хранения газа, подземных
хранилищ жидких и сжиженных продуктов добычи и переработки в соляных толщах,
заводов по ремонту технологического оборудования, баз по снабжению
нефтепродуктами, ингибиторами, химреагентами, баз производственного
обслуживания буровых предприятий, предприятий по повышению нефтеотдачи пластов
и капитальному ремонту скважин и др.
Для действующих предприятий
необходима разработка самостоятельной проектной документации по подземному
захоронению сточных вод.
Если проектная документация
по ПЗС составляется одновременно с проектом опытно-промышленной эксплуатации
месторождения, то документы могут называться «Геолого-гидрогеологическое
обоснование и технологическая схема опытно-промышленной закачки сточных вод» и
«Проект обустройства системы (полигона) ПЗС на период опытно-промышленной
эксплуатации».
Геолого-гидрогеологическое
обоснование и технологическая схема ПЗС должны содержать:
общие сведения о
месторождении, предприятии или группе предприятий, сточные воды которых
планируется захоронять, с указанием типов и объемов подлежащих захоронению вод;
материалы о
физико-географических условиях района;
описание геологического
строения района (включая литолого-стратиграфическую характеристику разреза,
материалы по тектонике, нефтегазоносности и физико-коллекторским свойствам
пород);
сведения о геокриологических
условиях - для районов залегания многолетнемерзлых пород;
анализ гидрогеологических
условий в связи с подземным захоронением сточных вод;
характеристику водоснабжения
и водоотведения для действующего предприятия;
результаты подземного
захоронения вод на территории близлежащих предприятий, если оно там
практикуется, а также пробной закачки вод на проектируемом предприятии, если
она осуществлялась;
обоснование выбора рабочего
и резервных поглощающих горизонтов, «буферного» горизонта, надежности покрышки;
характеристику подлежащих
захоронению СВ (источники, объем, химический состав и физические свойства);
оценку совместимости
захороняемых СВ с пластовой водой и горной породой поглощающего горизонта,
требования к качеству и рекомендации по подготовке вод к закачке (выполняется
по результатам лабораторных экспериментов, для которых используют реальную
пластовую воду поглощающего горизонта, образцы керна скважин, реальные СВ или
их модели, при этом полученные результаты обязательно должны проверяться в промысловых
условиях пробной (опытной) или опытно-промышленной закачкой);
прогноз продвижения
захороняемых вод и динамики изменения пластового давления в поглощающем
горизонте, который должен даваться по результатам гидродинамического
моделирования;
технологическую схему ПЗС
(система сбора сточных вод; подготовка их к закачке; число, местоположение и
конструкции нагнетательных и наблюдательных скважин);
рекомендации по эксплуатации
системы (полигона) ПЗС (режим подачи
и подготовки вод, закачки их,
возможные осложнения, способы восстановления приемистости нагнетательных
скважин, перевод скважин на резервные поглощающие горизонты);
план контроля экологической
безопасности ПЗС (объемы контроля - рабочий поглощающий горизонт, резервные и
буферный горизонты, верхние водоносные горизонты с пресной питьевой водой,
средства контроля - сами нагнетательные (поглощающие) скважины, глубокие
наблюдательные и пьезометрические, мелкие наблюдательные и водозаборные
скважины;
обоснование организации
поясов санитарной охраны вокруг сооружений ПЗС.
В технологической схеме ПЗС
должны быть увязаны требования экологической безопасности и надежности,
быстроты сооружения, технологической простоты и удобства эксплуатации,
экономической рациональности.
Наилучшим вариантом является
минимальное расстояние нагнетательных (поглощающих) скважин от источников СВ.
При этом сводятся к минимуму возможности разрыва трубопроводов и аварийной
утечки сточных вод.
Вместе с тем по соображениям
экономического порядка и быстроты ввода в эксплуатацию системы ПЗС необходимо
максимально использовать в качестве нагнетательных (поглощающих) и
наблюдательных переоборудованные разведочные скважины, а также аварийные либо
вышедшие из строя эксплуатационные нефтегазодобывающие скважины,
пьезометрические скважины, контролирующие водонапорную систему: Эта схема может
иметь временный характер, до сооружения специальных нагнетательных скважин, и в
дальнейшем оставаться в резерве с одновременным использованием скважин в
качестве наблюдательных.
При наличии в разрезе
нескольких поглощающих горизонтов начинать закачку вод следует в самый нижний
из них, даже если по коллекторским свойствам он уступает вышележащим
горизонтам. Это обусловлено тем, что на начальном этапе захоронения вод
количество их сравнительно небольшое, а степень подготовки перед закачкой, как
правило, некачественная. Поэтому весьма вероятен скорый выход из строя данного
горизонта из-за кольматации в призабойной зоне скважины. За это время степень
подготовки сточных вод будет усовершенствована, объемы их возрастут и скважины
могут быть переведены на вышележащий более приемистый горизонт, который будет
эксплуатироваться длительное время.
Для захоронения СВ одного
объекта (УКПГ, завода и т.д.) необходимо иметь хотя бы одну, а лучше две
нагнетательные скважины (рабочую и резервную), одну наблюдательную скважину на
поглощающий горизонт, одну наблюдательную скважину на буферный горизонт (она не
требуется, если закачка вод ведется под углеводородную залежь в контуре ее либо
за контуром, но в пределах развития депрессионной воронки), одну-две мелкие
наблюдательные скважины на верхний водоносный горизонт.
Возможно и большее число
нагнетательных и наблюдательных скважин. В зависимости от гидрогеологических
особенностей участка могут быть задействованы несколько наблюдательных скважин
для контроля за несколькими водоносными горизонтами, как по разрезу, так и по
площади. Число наблюдательных скважин может быть сокращено (либо при одинаковом
их числе повышена информативность) путем организации наблюдений в одной
скважине за двумя водоносными
горизонтами с применением системы пакеров.
При сравнительно небольшом
расстоянии между объектами и незначительных объемах СВ каждого из них (УКПГ
одного месторождения, несколько мелких месторождений, расположенных недалеко
друг от друга, заводы, базы производственного обслуживания и т.д.) можно
организовывать ПЗС всех этих объектов на одном из них. Возможен вариант
расположения нагнетательных скважин также между несколькими объектами. В этих
случаях составляется укрупненная технологическая схема и соответственно
укрупненный проект обустройства системы ПЗС.
Система контрольных скважин
для наблюдений за поглощающим и буферным горизонтами должна функционировать в
комплексе с системой пьезометрических скважин, предназначенных для контроля
реакции водонапорной системы на отбор углеводородов из залежей.
Завершающей стадией работ по
геолого-гидрогеологическому обоснованию и технологической схеме
опытно-промышленной закачки СВ системы (полигона) ПЗС должна быть
Гидрогеоэкологическая экспертиза предпроектных и проектных решений:
ведомственная в системе ОАО «Газпром» и государственная в Госэкоэкспертизе.
При подготовке указанных
выше документов к экологической экспертизе должны быть учтены требования
Руководства по экологической экспертизе предпроектной и проектной документации
(1994) и Указаний к экологическому обоснованию хозяйственной и иной
деятельности в предпроектной и проектной документации (1994), которые
предназначены для органов государственной, ведомственной и вневедомственной
экспертизы проектов, заказчиков (инвесторов) хозяйственной деятельности и
разработчиков предпроектной и проектной документации, а также органов,
принимающих решение о реализации намеченной хозяйственной деятельности.
Собственно экологическое
обоснование хозяйственной деятельности в проектных материалах должно содержать:
информацию о природной среде
- природных условиях и хозяйственном использовании территорий, природоохранных
объектах, количественном использовании территорий, количественных показателях
состояния компонентов экосистемы (воздуха, поверхностных и подземных вод,
почвы, растительного и животного мира);
оценку экологического
состояния территории в районе размещения объекта;
данные о характере
планируемой деятельности и видах воздействия;
ограничения по пользованию
природной средой;
прогноз изменений состояния
окружающей природной среды при реализации проектных решений;
сведения о социальной среде
и здоровье населения;
оценку последствий воздействия
объекта на окружающую природную среду и население;
характеристику
природоохранных мероприятий;
оценку техники и технологий;
оценку методов по снижению
воздействия на природную среду;
оценку эффективности и
достаточности природоохранных мероприятий и других мер по предупреждению и
снижению негативного воздействия объекта.
Положительное заключение
отраслевой экологической экспертизы является основанием для представления
материалов на государственную экспертизу. Положительное заключение последней
является обязательным документом для выдачи разрешения на комплексное
природопользование.
В случае отрицательного
заключения экологической экспертизы материалы ТЭО должны быть доработаны и
представлены на повторную экологическую экспертизу.
В системе подземного
захоронения сточных вод скважины по назначению подразделяются на нагнетательные
(поглощающие) и наблюдательные.
Нагнетательные скважины
служат для закачки (подземного захоронения) сточных вод в поглощающие
горизонты.
Наблюдательные скважины
предназначены для контроля за гидродинамическим и гидрохимическим режимом
подземных вод на участке подземного захоронения вод. С этой целью в
наблюдательных скважинах систематически осуществляется комплекс
гидродинамических, гидрохимических и промыслово-геофизических исследований.
Требования к нагнетательным
скважинам подробно изложены в Правилах разработки нефтяных и газонефтяных
месторождений и Правилах безопасности в нефтяной и газовой промышленности.
Основными из них являются следующие.
Конструкция нагнетательных
скважин (диаметр обсадных колонн,
высота подъема цемента и др.) должна
обеспечивать:
возможность закачки
предусмотренных объемов сточных вод и проведение геолого-технических мероприятий
при заданных значениях рабочего давления;
проведение всех видов
ремонтов и исследований с использованием соответствующего оборудования,
аппаратуры, приборов и инструмента;
надежное разобщение
поглощающих и буферных горизонтов, вышележащих продуктивных пластов и залежей,
верхних водоносных горизонтов.
Для обеспечения
запроектированных показателей приемистости и охвата закачкой вскрытого
поглощающего горизонта конструкция забоя нагнетательной скважины должна быть
такой, чтобы фильтрующая поверхность пласта была максимально открытой и чтобы
одновременно с этим забой скважины и забойное оборудование подвергались
минимальному засорению выносимыми из пласта частицами пород.
Конструкция арматуры устья
нагнетательной скважины должна выдерживать максимальное ожидаемое давление
закачки.
Нагнетательные скважины
должны оборудоваться колонной насосно-компрессорных труб и при необходимости
пакерным устройством, обеспечивающим защиту и изоляцию эксплуатационной колонны
от воздействия на нее закачиваемых вод.
Для исключения замерзания
сточных вод в арматуре скважины и системе нагнетания необходимо предусматривать
обогрев, а при длительных остановках - полное удаление вод из арматуры и
системы их подачи.
Для наблюдательных скважин,
контролирующих поглощающие и буферные горизонты, целесообразно предусматривать
такую же конструкцию, как и для нагнетательных скважин, чтобы при необходимости
использовать их для закачки вод.
Наблюдательные скважины на
верхние водоносные горизонты должны быть упрощенной конструкции: обсадные
колонны меньшего диаметра, отсутствие НКТ, пакерующих устройств, запорной
арматуры на устье. Контролируемый водоносный горизонт должен быть надежно
изолирован от вышележащих водоносных горизонтов и от проникновения загрязнений
с поверхности земли непосредственно через устье и ствол скважины.
Консервация и ликвидация
нагнетательных и наблюдательных скважин осуществляются в соответствии с
требованиями Инструкции о порядке ликвидации, консервации скважин и
оборудовании их устьев и стволов.
Пробная закачка СВ является
элементом разведки и исследований характеристик поглощающего горизонта с
одновременным обезвреживанием небольших объемов вод. Для ее проведения не нужны
согласованное и утвержденное геолого-гидрогеологическое обоснование,
технологическая схема и проект обустройства. Достаточно плана проведения работ.
Обязательным условием является согласование с Госгортехнадзором технической
пригодности скважины для целей закачки сточных вод. Полученные результаты
пробной закачки используются в дальнейшем при составлении проектной
документации по ПЗС.
В качестве нагнетательных
скважин при пробной закачке сточных вод используются, как правило,
переоборудованные для этой цели разведочные
и не пригодные для добычи газа и нефти эксплуатационные скважины.
Для проведения пробной
закачки не требуется строительства трубопровода, сложной системы сбора и
подготовки СВ и наблюдений, проводимых в контрольных и пьезометрических
скважинах. Закачка вод в испытуемую нагнетательную скважину может производиться
периодически или разово с помощью цементировочных агрегатов типа ЦА-320, АН-700
и др.
Используемые для пробной
закачки сточные воды должны пройти минимальную подготовку (хотя бы отстаивание)
во избежание быстрой кольматации призабойной зоны и вывода из строя испытуемого
интервала скважины. Необходимо проведение химического анализа СВ, закачиваемых
при каждом пробном нагнетании.
В процессе проведения
пробной закачки должны фиксироваться объем закачки, давление нагнетания, время
закачки, общий объем закачанной жидкости, динамика давления на устье скважин.
Целесообразно проведение
промыслово-геофизических исследований в скважине для определения интервалов
поглощения закачиваемых вод.
При наличии в радиусе
влияния испытуемой скважины других скважин на исследуемый горизонт в них
целесообразно проводить наблюдения за уровнем пластовой воды, устьевым
избыточным давлением, за интервалами прохождения СВ (геофизическими методами),
проводить отбор и химический анализ устьевых и глубинных проб жидкости
поинтервально в стволе скважин.
Результаты
каждой пробной закачки, выполненных исследований и наблюдений, химических
анализов оформляются в виде актов или заключений.

Рис. 9.
График изменения забойного давления и дебитов пробных наливов
на скв. 1 Люминофор: 1 - давление; 2 - дебит

Рис. 10. Индикаторные кривые
пробных наливов в скв. 1 Люминофор:
1, 2 - при снижении и
увеличении дебита
При этом нельзя
ограничиваться замерами уровня и устьевого давления в скважинах, так как за
счет изменений минерализации и температуры флюидов в пласте может наблюдаться
их снижение при росте пластового давления и напора. Например, после пробной
закачки сточных вод в скв. 1 Люминофор (Ставропольская) статический уровень снизился
на 15,5 м (с 546 до 561,5 м) при росте забойного давления на 0,19 МПа, что
объясняется как большей плотностью СВ (1,029) по сравнению с пластовой водой,
так и снижением забойной температуры с 92 до 52 °С (рис.9).
Поэтому гидродинамические поля должны оцениваться только по данным приведенных
значений напора или давления (Б.П. Акулинчев, 1997).
Погрешность применяемых
глубинных манометров должна быть хотя бы в два-три раза ниже ожидаемых
изменений давления. Замеры желательно проводить одним и тем же манометром, на
одной и той же лебедке. При незначительных перепадах пластового давления запись
его значений во всех наблюдательных скважинах предпочтительнее вести на одну и
ту же диаграмму без перезарядки. Этого же правила необходимо придерживаться при
исследованиях методом пробных наливов (выпусков), когда изменения репрессии
(депрессии) сопоставимы с погрешностью замеров. Снижению погрешностей замеров
способствует также выбор глубины регистрации. Она должна находиться в зоне постоянной
температуры, на глубине нижней границы интервала поглощения.
При обработке результатов
гидродинамических исследований методом установившихся наливов при закачке вод (рис.10) индикаторная кривая, как правило, не проходит через
начало координат. Уравнение поглощения полнее всего описывается зависимостями
типа
DР = A×Q2 + B×Q + С (33)
или
DР = B×Q + С, (34)
где DР - репрессия на пласт, МПа;
Q -
дебит закачки, м3/сут;
А, В, С - коэффициенты
управления.
Строительство полигонов ПЗС
ведется по утвержденным проектам обустройства, эксплуатация осуществляется в
соответствии с утвержденным регламентом.
Строительство и ввод в
опытно-промышленную и промышленную эксплуатацию систем ПЗС производятся
поэтапно, очередями. Достаточно иметь хотя бы одну пригодную для закачки СВ
скважину, временную схему сбора и простейшей подготовки вод (отстаивание),
чтобы начать опытно-промышленную эксплуатацию. Предварительно должна быть
освоена и исследована скважина на водоприток (откачка воды с помощью
компрессора). В ней должно быть проведено прослеживание восстановления уровня
воды до статического; отобраны пробы воды с обязательным отбором пробы воды и
водорастворенного газа из интервала фильтра (или открытого ствола); выполнен в
лаборатории химический анализ проб воды и водорастворенного газа, определена
газонасыщенность (газосодержание) воды; замерено глубинным манометром пластовое
давление и пластовая температура; произведено определение приемистости
посредством пробного (опытного) нагнетания технической воды и затем сточных
вод.
Закачку слабо подготовленных
сточных вод, количество которых незначительно, целесообразно проводить в самый
нижний поглощающий горизонт. На нем будут отработаны и усовершенствованы
технологии подготовки сточных вод перед закачкой и восстановления приемистости
скважин. Если за это время призабойная часть скважины окажется
закольматированной, закачка будет переведена на вышележащий поглощающий
горизонт.
Главная цель подземного
захоронения сточных вод - удаление с земной поверхности максимально возможного
количества загрязнителей. Некоторые из них практически не влияют на поглощающую
способность пластов-коллекторов и даже улучшают ее (соляная кислота,
диэтиленгликоль, метанол). Другие же вещества ухудшают фильтрационно-емкостные
свойства пород, кольматируют поры, образуют «пробки» в скважинах (твердые
взвешенные частицы, битумы, вязкие ингибиторы, нефтепродукты).
Подготовка сточных вод перед закачкой преследует единственную цель - обеспечение стабильного приема поглощающим горизонтом необходимых объемов вод в течение длительного времени при оптимальных значениях давления нагнетания. Поэтому степень подготовки (очистки) вод перед закачкой диктуется поглощающей способностью пласта-коллектора.
Опыт работы полигонов
закачки сточных вод на Тюменском Севере показывает, что повышенные концентрации
в них вредных веществ (нефтепродуктов до 150 мг/дм3, диэтиленгликоля
до 1 г/дм3, метанола до 40 г/дм3) не снижают приемистости
нагнетательных скважин.
Известно, что в процессе
эксплуатации нагнетательных скважин происходит постепенное засорение
(кольматация) призабойной зоны, что естественно приводит к снижению приемистости
и росту устьевого давления нагнетания. При достижении ими предельных значений,
установленных регламентом, в скважинах необходимо произвести работы по
восстановлению приемистости. В карбонатных коллекторах приемистость
восстанавливается довольно просто с помощью солянокислотных и
спирто-солянокислотных обработок, промывки скважины технической водой. В
терригенных породах для восстановления приемистости применяют промывку
скважины, обработку различными кислотами (соляной, фтористо-водородной,
уксусной), гидравлический разрыв пласта, разрыв пласта давлением пороховых
газов, повторную перфорацию, торпедирование и некоторые другие методы.
На стадии
опытно-промышленной эксплуатации системы ПЗС проверяется правильность прогнозов
о совместимости захороняемых СВ с пластовой водой и горной породой поглощающего
горизонта. Независимо от результатов лабораторных экспериментов окончательный
ответ может дать только промысловая практика.
Захороняемые сточные воды
как правило характеризуются агрессивностью, поэтому емкости для их сбора и
трубопроводы целесообразно выполнять из антикоррозийных марок стали либо с
антикоррозийным покрытием. В скважинах целесообразно применять эксплуатационные
обсадные колонны, насосно-компрессорные трубы, запорную арматуру в
антикоррозийном исполнении. Эксплуатационную колонну следует защищать пакером в
антикоррозийном исполнении, установленным над интервалом фильтра или открытого
забоя, через который воды закачиваются в пласт. Пространство между
эксплуатационной колонной и НКТ должно быть заполнено нейтральной жидкостью
(пресной водой, дизельным топливом, бессернистой нефтью). В нагнетательные
скважины и трубопроводы по перекачке сточных вод необходимо подавать ингибиторы
коррозии.
В ходе опытно-промышленной и
промышленной эксплуатации полигонов ПЗС должен осуществляться контроль данного
мероприятия, предусмотренный проектами и регламентом. По результатам контроля
периодически выполняется анализ эксплуатации полигонов ПЗС, который служит
основой для принятия решений о продолжении захоронения сточных вод по
действующей схеме либо о внесении корректив в технологию ПЗС.
Подземное захоронение
сточных вод, являясь природоохранным мероприятием, само может нанести ущерб
окружающей среде и недрам при несоблюдении норм проектирования, строительства и
эксплуатации полигонов ПЗС.
Особого внимания в этой
связи требуют нагнетательные и наблюдательные скважины, сооружения по сбору и
транспортировке СВ. При их проектировании, строительстве и эксплуатации
необходимо неукоснительно соблюдать требования к охране недр и окружающей
среды, изложенные в Правилах разработки газовых и газоконденсатных
месторождений, Правилах разработки нефтяных и газонефтяных месторождений,
Правилах создания и эксплуатации подземных хранилищ газа в пористых пластах.
Охрана недр и окружающей
среды при подземном захоронении сточных вод предусматривает проведение
комплекса мероприятий, направленных на предотвращение разливов и утечек СВ в
системе их сбора, подготовки и транспортировки, приводящих к поверхностному
загрязнению почвогрунтов, открытых водоемов и подземных вод верхних водоносных
горизонтов (загрязнение «сверху»), а также вертикальных перетоков сточных вод
внутри скважины и за обсадными колоннами, что может инициировать попадание
сточных вод или вытесненных ими пластовых вод в верхние водоносные горизонты
(загрязнение «снизу»). Исключение любых путей загрязнения окружающей среды
захороняемыми сточными водами достигается посредством выбора под закачки
надежно изолированных поглощающих горизонтов, применения совершенных
технологических решений для всей цепочки сбора, подготовки, транспортировки и
закачки вод (включая скважины), использования коррозионно-стойких материалов,
специальных покрытий, ингибиторной защиты и т.д., качественной реализации
проектов строительства, соблюдения технологических норм и регламентов
эксплуатации, создания оптимальной системы контроля, оперативного устранения
негативных проявлений на ранней стадии их возникновения. Необходимой мерой охраны
окружающей среды является организация зон санитарной охраны вокруг сооружений
по подземному захоронению сточных вод.
Работы, связанные с
контролем подземного захоронения сточных вод, должны осуществляться еще до
начала закачки, во время строительства нагнетательных и наблюдательных скважин
либо переоборудования для этой цели разведочных скважин. После освоения,
исследований и испытаний (в том числе, откачкой пластовой воды и опытным
нагнетанием технической воды) возможен, довольно длительный перерыв до начала
закачки вод. В этот период не реже одного раза в год в скважинах производятся
замеры уровня подземной воды и забоя, отбор и химический анализ проб воды по
стволу, замер пластового давления глубинным манометром и пластовой температуры
в интервале фильтра или открытого забоя. Целью этих наблюдений является
получение фоновых гидрогеологических характеристик до начала закачки сточных
вод.
С началом закачки СВ задачей
контроля становится проверка соответствия фактических технологических
параметров эксплуатации и технического состояния наземных сооружений, скважин,
гидродинамического и гидрохимического режимов подземного хранилища сточных вод
принятым проектным показателям. .
Ежесуточно ведется учет
закачиваемых объемов сточных вод: объем закачки в каждую скважину и в целом по
полигону. Фиксируется время закачки, давление на насосах и на устье
нагнетательных скважин (на головке НКТ, между НКТ и эксплуатационной колонной,
в межтрубье других обсадных колонн).
Систематически (частота
оговаривается регламентом) определяются физические свойства и химический состав
СВ, подлежащих закачке (после установок по подготовке), для определения
соответствия их качества принятому в проекте и регламенте. Периодически
выполняются те же определения в пробах сточных вод перед установкой подготовки,
что необходимо для оценки технологической эффективности ее работы.
Регулярно проводится осмотр
всех коммуникаций по сбору и транспортировке сточных вод для выявления
возможных утечек в целях скорейшего их устранения.
В эксплуатационных
нагнетательных скважинах один раз в год выполняется комплекс
промыслово-геофизических исследований для определения интервалов поглощения СВ
и технического состояния скважин (возможной негерметичности НКТ). Регулярно по
показаниям манометров на устье проверяется герметичность НКТ, пакера, обсадных
труб.
В случае выявления
негерметичности НКТ ее необходимо немедленно устранить. При подъеме НКТ проводится
их ревизия на предмет обнаружения коррозионных проявлений. В простаивающей
скважине с извлеченными НКТ выполняется комплекс промыслово-геофизических
исследований для оценки технического состояния эксплуатационной колонны.
В глубоких наблюдательных
скважинах, контролирующих поглощающий и «буферный» горизонты (включая ближайшие
пьезометрические скважины по контролю за разработкой месторождения и
нагнетательные скважины, не введенные в эксплуатацию) не реже одного раза в
год, осуществляются замеры уровня жидкости (или избыточного устьевого давления)
и забоя, отбор проб жидкости по стволу до забоя (при отсутствии давления на
устье или слабом переливе) и их химический анализ. Не реже одного раза в год
глубинным манометром измеряются пластовое давление и пластовая температура.
Один раз в год выполняется комплекс промыслово-геофизических исследований для
определения движения флюидов в зоне скважины.
Если закачка сточных вод
ведется под разрабатываемую газовую залежь внутри ее контура (или в
приконтурной области), для контроля за буферным горизонтом используются
наблюдательные газовые скважины, геофизические наблюдательные скважины
(контролирующие продвижение ГВК) и скважины, пробуренные на глубокозалегающие
продуктивные горизонты.
В гидронаблюдательных скважинах,
контролирующих верхний водоносный горизонт (включая скважины ближайших
водозаборов), не реже одного раза в квартал проводятся замеры статического
уровня воды, отбор и химический анализ проб воды. Примерный перечень видов и
периодичность контроля за режимом поглощающего, «буферного» горизонтов и
верхнего водоносного горизонта приведен в табл.7.
Во время проведения
ремонтных работ в скважинах (в том числе по восстановлению приемистости,
переводу закачки на вышележащий поглощающий горизонт, замене НКТ и др.) частота
контрольных замеров увеличивается, расширяется комплекс
промыслово-геофизических исследований, могут выполняться различные
специализированные исследования (гидропрослушивание, запуск и прослеживание
индикаторов и др.).
Все виды работ по контролю
за ПЗС и полученные результаты заносятся в журналы текущей документации,
оформляются актами и отражаются в отчетности соответствующих производственных
служб и функциональных подразделений предприятий.
Контроль ПЗС проводится под
методическим руководством организации, осуществляющей авторский надзор за
подземным захоронением СВ.
Регулярно, с периодичностью
от одного года до трех-пяти лет (в зависимости от сроков действия разрешений на
закачку вод), должен выполняться анализ эксплуатации полигона ПЗС за прошедший
период. В нем должны быть изложены:
краткие сведения о геологическом строении и
гидрогеологических условиях участка в связи с ПЗС;
основные положения технологической
схемы и проекта обустройства системы ПЗС, оценка их реализации при
строительстве полигона;
анализ работы всей
технологической цепочки по сбору, подготовке и закачке сточных вод;
режим работы нагнетательных
скважин (время закачки вод в каждую скважину, объемы закачки, давление
нагнетания, общее количество закачанных вод в каждую скважину и в целом по
полигону);
работы по восстановлению
приемистости скважин и их технологическая эффективность;
результаты контроля по
нагнетательным и наблюдательным скважинам за интервалами поглощения сточных
вод, распространением их в недрах, динамикой пластового давления в поглощающем
и буферном горизонтах;
Перечень видов контроля за режимом определяющих горизонтов при закачке
сточных вод
|
Объект контроля |
Средства контроля |
Способы контроля |
Частота контроля |
|
Рабочий
поглощающий горизонт |
Действующие нагнетательные скважины |
Учет расхода закачиваемых СВ |
Ежесуточно |
|
Замер манометрами давления нагнетания на устье скважин
и давления в межтрубном пространстве |
Ежесуточно |
||
|
Определение интервалов поглощения сточных вод и
герметичности НКТ промыслово-геофизическими методами |
1 раз в год |
||
|
Глубокие наблюдательные, пьезометрические,
простаивающие нагнетательные скважины |
Замер уровня воды или избыточного устьевого
давления |
Не
реже 1 раза в год |
|
|
Отбор и химический анализ проб воды по стволу до
забоя с замером его |
Не
реже 1 раза в год |
||
|
Замер пластового давления глубинным манометром и пластовой
температуры |
Не
реже 1 раза в год |
||
|
Комплекс промыслово-геофизических исследований для
определения движения флюидов в зоне скважины |
1
раз в год |
||
|
Буферный горизонт |
Глубокие наблюдательные скважины |
Замер уровня или избыточного устьевого давления |
Не
реже 1 раза в год |
|
Отбор и химический анализ проб воды по стволу до
забоя с замером его |
Не
реже 1 раза в год |
||
|
Замер пластового давления глубинным манометром и
пластовой температуры |
Не
реже 1 раза в год |
||
|
Комплекс промыслово-геофизических исследований для
определения движения флюидов в зоне скважины |
1
раз в год |
||
|
Верхний водоносный
горизонт с питьевой водой |
Мелкие гидронаблюдательные и водозаборные скважины |
Замер статического уровня воды и забоя |
Не
реже 1 раза в квартал |
|
Отбор и химический анализ воды |
Не
реже 1 раза в квартал |
определение контура
растекания сточных вод в поглощающем горизонте;
оценка их возможных
межпластовых перетоков;
физические свойства и
химический состав захороняемых вод;
оценка эффективности работы
очистных сооружений по подготовке вод к закачке;
коррозионное воздействие вод
на трубопроводы и оборудование;
случаи утечек и разливов
сточных вод на поверхности земли;
характеристика
гидродинамического и гидрохимического режима, санитарного состояния верхнего
водоносного горизонта по результатам контроля по мелким гидронаблюдательным и
водозаборным скважинам;
оценка технического
состояния нагнетательных, глубоких наблюдательных и мелких гидронаблюдательных
скважин, рекомендации по их ремонту;
общие выводы о степени
экологической безопасности и технологической эффективности эксплуатации системы
(полигона) ПЗС, рекомендации по ее совершенствованию.
Анализ эксплуатации систем
ПЗС выполняется организацией, осуществляющей авторский контроль за этим
процессом на предприятии.
По результатам анализа
эксплуатации систем ПЗС контролирующими органами
принимаются решения о продлении сроков захоронения вод.
Требования по выполнению
основ гидрогеоэкологического мониторинга должны быть изложены в соответствующих
разделах технологического проекта или технологической схемы.
Обеспечение рационального
природопользования требует обязательного проведения экологического мониторинга.
Одним из компонентов природной среды является геологическая среда - часть
земной коры (недр), включающая горные породы, циркулирующие в них флюиды и
связанные с горными породами и флюидами геологические процессы. Российским
законодательством о недрах установлена необходимость проведения мониторинга
геологической среды. Основным флюидом, циркулирующим в горных породах и
представляющим поэтому главный объект мониторинга, являются подземные воды.
Мониторинг геологической
среды должен охватывать смежные природные компоненты, прежде всего
поверхностные воды открытых водоемов, тесно связанные с подземными водами
верхних водоносных горизонтов. Такой комплексный мониторинг называется
гидрогеоэкологическим.
Основным принципом организации
гидрогеоэкологического мониторинга на объектах подземного захоронения сточных
вод должно быть его выполнение одновременно с контролем за разработкой
месторождений и наблюдениями за
техногенным воздействием других объектов газового комплекса.
На разрабатываемых газовых и
газоконденсатных месторождениях систематические наблюдения за отдельными
компонентами геологической среды ведутся с давних пор. Изначально они были
направлены на достижение не экологических, а только технологических целей
контроля за разработкой углеводородных залежей. Объектами контроля являются
разрабатываемые залежи и связанные с ними водонапорные системы, ответственные
за обводнение эксплуатационных скважин и залежей. Для этого на месторождениях
создается сеть скважин, включающая пьезометрические (контролирующие режим
водонапорной системы), наблюдательные за перемещением ГВК и за динамикой
пластового давления в залежи. Проводится гидрохимическое опробование
эксплуатационных скважин для выявления ранней стадии обводнения залежи пластовой
водой. Очевидно, что ряд скважин, предназначенных для контроля за разработкой
залежи, целесообразно одновременно использовать для контроля за ПЗС для
наблюдений за поглощающим и буферным горизонтами в случае, когда захоронение СВ
проводится под разрабатываемые углеводородные залежи. При этом не исключается
бурение дополнительных скважин для контроля за ПЗС. Преимущественно это могут
быть неглубокие скважины на верхний водоносный горизонт, а также скважины на
поглощающий горизонт, которые в дальнейшем можно использовать для закачки СВ.
Что касается верхних водоносных горизонтов, то обычно на них бурятся скважины
для хозяйственно-питьевого и технического водоснабжения УКПГ, дожимных
компрессорных станций, вахтовых поселков и других объектов обустройства месторождений.
Некоторые из водозаборных скважин могут служить и для контроля за чистотой
неглубоко залегающих подземных вод в связи с ПЗС.
В случае захоронения сточных
вод в поглощающие горизонты надпродуктивных отложений нецелесообразно
использовать пьезометрические и наблюдательные скважины системы контроля за
разработкой месторождения. В этом случае в систему гидрогеоэкологического
мониторинга должны включаться скважины, пробуренные на надпродуктивные
водоносные горизонты. В частности, это могут быть контрольно-разгрузочные
скважины на участках техногенной загазованности надпродуктивных отложений.
Следует также переоборудовать на надпродуктивные горизонты подлежащие
ликвидации глубокие разведочные скважины, а также эксплуатационные скважины на
газ и нефть.
При любой системе подземного
захоронения СВ в непосредственной близости от нагнетательных скважин должны
быть расположены неглубокие гидронаблюдательные скважины на верхние водоносные
горизонты. В ближайших к объектам ПЗС населенных пунктах следует организовать
систематическое гидрохимическое опробование водозаборных скважин,
обеспечивающих хозяйственно-питьевое водоснабжение.
Поверхностные воды открытых
водоемов подлежат регулярному гидрохимическому опробованию в пунктах,
находящихся как в пределах горного отвода полигонов ПЗС, так и за пределами.
Вместе с тем при близком расположении полигонов ПЗС к открытым водоемам
необходим контроль возможного негативного воздействия этих водоемов на
сооружения систем подземного захоронения стоков (затопление, подтопление,
речная эрозия берегов и т.д.).
На газовых и
газоконденсатных месторождениях Тюменского Севера объектом наблюдений являются
воды сезонно-талого слоя, а также подземные подмерзлотные воды.
Режимные скважины вскрывают
всю мощность сезонно-талых горных пород и заглубляются в мерзлые породы на
глубину не менее 5-7 м. Начальный диаметр скважин составляет до 150 мм, диаметр
фильтровой колонны, оставляемой в скважине, 89-121 мм, длина фильтра 2 м.
Для контроля изменений
ионно-солевого комплекса верхнего слоя горных пород и их миграционных
параметров бурятся неглубокие скважины. Бурение их проводится без обсадки на
глубину 2-5 м (до мерзлых горных пород). Начальный диаметр - до 150 мм.
На ключевых участках
полигона закачки сточных вод создается локальная специализированная сеть
режимных скважин, совмещенная с пунктами опробования атмосферного воздуха, почв
и снежного покрова.
Число скважин вышеуказанного
назначения определяется из расчета одна скважина на 10 км2, причем
из них 30-40 % скважин в общей наблюдательной сети - режимные.
Комплексное
гидрогеохимическое опробование общей сети проводится один раз в год, на
ключевых участках - два раза в год. Определение химического состава верхнего
слоя горных пород предусмотрено один раз в два года, на ключевых участках -
один раз в год. Техногенно-ландшафтная съемка проводится ежегодно в теплый
период года.
Комплексное
гидрогеохимическое опробование включает:
измерение уровня и
температуры надмерзлотных вод;
определение степени
засоленности и состава растворимого комплекса водовмещающих пород;
определение
окислительно-восстановительного потенциала горных пород и их кислотно-щелочного
показателя;
установление степени
загипсованности;
определение содержания
оксидов железа и алюминия;
изучение состава обменных
катионов и емкости обмена;
определение содержания в
породах поверхностно-активных веществ, нефтепродуктов, фенолов и других
выявленных специфических органических загрязнителей;
изучение состава поровых
растворов;
определение фильтрационных и
миграционных характеристик горных пород.
В перечень наблюдаемых
химических показателей следует включить:
показатели качества воды (по
ГОСТ
2874);
показатели из списка
наиболее значимых в инженерном отношении веществ, загрязняющих воду;
содержание специфических
компонентов, характерных для потенциальных источников загрязнения (ДЭГ,
метанол, ингибиторы, нефтепродукты).
В настоящее время в газовой
отрасли сложилось несколько обособленных систем контроля: за разработкой
залежей, захоронением сточных вод и твердых отходов, техногенной
загазованностью, режимом и качеством поверхностных и грунтовых вод, состоянием
толщи многолетнемерзлых пород (на Крайнем Севере) и т.д. Все они должны быть
объединены в единую систему гидрогеоэкологического мониторинга, основными
принципами которого следует считать универсальность и комплексность
исследований, тесную связь их с технологическими особенностями производства,
направленность не только на выявление воздействия последнего на природу, но и
влияние природных факторов на функционирование объектов отрасли. Мониторинг
подземного захоронения сточных вод является составной частью (причем довольно
значительной) общей системы гидрогеоэкологического мониторинга объектов
нефтегазового комплекса.
Как отмечено выше,
геолого-гидрогеологическое обоснование и технологическая схема подземного
захоронения сточных вод должны входить составной частью в проекты
опытнопромышленной эксплуатации и разработки месторождения, а проект
обустройства системы (полигона) подземного захоронения сточных вод - в проект
обустройства месторождения (в ТЭО или рабочий проект).
При таких условиях
согласование геолого-гидрогеологического обоснования, технологической схемы и
проекта обустройства полигонов подземного захоронения вод решается ведомством,
осуществляющим разработку месторождений и эксплуатацию газовых комплексов,
одновременно с рассмотрением и утверждением проектной документации по
месторождению или газовому комплексу.
В органах Госгортехнадзора
оформляется единый горный отвод на участок недр для добычи полезных ископаемых
(газа, конденсата, нефти) и связанного с ней подземного захоронения сточных
вод.
В Комитете по геологии и
использованию недр оформляется комплексная лицензия на несколько видов
недропользования, включая разработку основного полезного ископаемого (газа,
конденсата, нефти), извлечение при этом подземных вод, закачку сточных вод в
недра и др.
Другой порядок согласования
предусматривается, если для захоронения вод используются поглощающие горизонты,
не входящие в зону дренирующего воздействия разрабатываемых углеводородных
залежей (в надпродуктивный разрез, в продуктивные пласты на значительном
удалении от контура залежи, вне депрессионной воронки, в глубокие горизонты под
разрабатываемыми залежами, изолированные от залежей надежными экранами,
препятствующими развитию депрессионной воронки в глубину). В этом случае для
осуществления подземного захоронения сточных вод необходимо получить:
горный отвод;
лицензию на пользование
недрами.
Горный отвод участка недр
для захоронения сточных вод выдается органами Госгортехнадзора.
Территориальными органами
Министерства природных ресурсов и местной администрацией выдается лицензия на
право пользования недрами для подземного захоронения СВ в соответствии с
Положением о порядке лицензирования пользования недрами.
При условии, если для
захоронения сточных вод используются поглощающие горизонты, не входящие в зону
дренирующего воздействия разрабатываемых углеводородных залежей, необходимо
проектную документацию (геолого-гидрогеологическое обоснование, технологическую
схему, проект обустройства систем (полигонов) подземного захоронения сточных
вод) согласовать с органами Госгортехнадзора России.
В целях выработки мер по
обеспечению качественного выполнения условий лицензионного соглашения и
требований при ведении хозяйственной деятельности проводится
гидрогеоэкологическое аудирование, которое представляет собой независимую
объективную проверку деятельности предприятий и организаций в области охраны
геологической и окружающей среды и предотвращения сверхнормативного воздействия
на нее.
Заказчиком аудита является
орган, выдавший лицензию на указанный вид деятельности. Содержание
гидрогеоэкологического аудита определяется целями, которые ставятся заказчиком.
План проверки разрабатывается руководителем группы аудита при консультациях с заказчиком,
согласовывается в ОАО «Газпром» и доводится до сведения проверяемого перед
выполнением гидрогеоэкологического аудита.
Объективность аудита, его
выводов и заключений обеспечивается независимостью аудиторов от проверяемого
предприятия, отсутствием у них непосредственных финансовых интересов в
деятельности проверяемого предприятия, их личной объективностью, свободой от
предубеждений, конфликта интересов, компетентностью.
Аудиторы не должны раскрывать
информацию или документы, получаемые в процессе проверки какой-либо третьей
стороне, не получив предварительного разрешения на это со стороны проверяемого
предприятия или заказчика.
Подготовка и порядок
проведения гидрогеоэкологического аудита должны соответствовать Положению о
системе управления природопользованием в ОАО «Газпром» (1999).
В основу построения системы
управления природопользованием ОАО «Газпром» положены следующие основные
принципы:
принцип профилактики - на основе постоянно проводимого анализа
экологической обстановки выполняется комплекс соответствующих мероприятий по
предотвращению экологической опасности или ущерба;
принцип ответственности - источники нарушения экологической обстановки и
возникновения экологического ущерба должны выявляться, учитываться и
локализовываться, а виновные в нарушениях должны нести ответственность;
принцип кооперации - максимально широкое участие и привлечение к
сотрудничеству в рамках природопользования заинтересованных организаций и
общественных групп;
принцип мотивации - административное и экономическое стимулирование эффективного
природопользования и профилактики экологического ущерба.
В настоящее время на
территории Российской Федерации действуют следующие виды платежей за
загрязнение окружающей среды:
за выброс загрязняющих
веществ в атмосферный воздух стационарными источниками загрязнения
(промышленными предприятиями);
за выброс загрязняющих
веществ в атмосферный воздух от передвижных источников выброса (транспорт);
за сброс загрязняющих
веществ в водные объекты;
за перемещение и
складирование отходов.
Платежи за выбросы
загрязняющих веществ в атмосферу и сбросы в водные объекты подразделяются на
платежи в предельно допустимых нормативах, в пределах лимитов (нормативов) и
платежи за выбросы/сбросы сверх установленных лимитов.
Платежи за загрязнение
окружающей среды рассчитываются в соответствии с Инструкцией по взиманию платы
за загрязнение окружающей природной среды и Методикой исчисления размера ущерба
от загрязнения подземных вод.
В настоящее время идет
работа над проектом Закона РФ «О плате за природные ресурсы», который должен
определить основные принципиальные положения для взимания платы за
использование природных ресурсов.
Плата за сброс загрязняющих веществ в
поверхностные и подземные водные объекты
Плата за сброс загрязняющих веществ в размерах, не превышающих
установленные природополъзователю предельно допустимые нормативы сбросов, определяется путем
умножения ставок платы (определяются по таблицам) на величину загрязнения и
суммирования полученных результатов:
Пнвод=
при Miвод<Miвод, (35)
где i - вид загрязняющего
вещества;
Пнiвод
- плата за сбросы загрязняющих веществ в размерах, не превышающих предельно
допустимые нормативы сбросов, руб.;
Снiвод
- ставка платы за сброс 1 т i-го загрязняющего вещества в пределах допустимых
нормативов сбросов, руб.;
Мiвод
- фактический сброс i-го загрязняющего вещества, т;
Мнiвод
. - предельно допустимый сброс i-го загрязняющего вещества, т. Ставка платы за
сброс 1 т i-го загрязняющего вещества рассчитывается по выражению
Снiвод=НбнiводхКэвод,
(36)
где Нбнiвод - базовый норматив платы за
сброс 1 т i-го загрязняющего вещества в размерах, не
превышающих предельно допустимые нормативы сбросов, руб.;
Кэвод -
коэффициент экологической ситуации и экологической значимости водного объекта.
Предельно допустимые сбросы
(ПДС) веществ, поступающих в водные объекты-водотоки, водохранилища, озера,
прибрежные зоны морей, рассчитываются по универсальной методике, на единой
правовой основе, при этом виды использования водного объекта в пределах
субъекта Российской Федерации устанавливаются органами управления субъекта по
согласованию с местными природоохранными органами (или другими, специально
узаконенными органами).
Плата за сброс загрязняющих веществ в пределах установленных лимитов определяется путем умножения
соответствующих ставок платы на разницу между лимитными и предельно допустимыми
сбросами загрязняющих веществ и суммирования полученных произведений по видам
загрязняющих веществ:
Плвод=
при Mнiвод <Miвод<
Mлiвод (37)
где Плвод - плата за сброс загрязняющих
веществ в пределах установленных лимитов, руб.;
Слвод - ставка
платы за сброс 1 т i-го загрязняющего вещества в пределах установленных
лимитов, руб.;
Млвод - сброс i-го загрязняющего вещества в
пределах установленного лимита, т.
Ставка платы за сброс 1 т
1-го загрязняющего вещества в пределах установленных лимитов вычисляется по
уравнению
Слвод=Нбнiвод х
Кэвод, (38)
где Н - базовый норматив платы за сброс 1 т i-го
загрязняющего вещества в пределах установленного лимита, руб.
Плата за сверхлимитный сброс загрязняющих веществ определяется путем
умножения соответствующих ставок платы за загрязнение в пределах установленных
лимитов на величину превышения фактической массы сброса над установленными
лимитами и суммирования полученных произведений по видам загрязняющих веществ:
П
=5 х
при
Miвод<Mлiвод, (39)
где П - плата за сверхлимитный сброс 1 т i-го
загрязняющего вещества в пределах установленных лимитов, руб.;
Слвод - ставка
платы за сброс 1 т i-го загрязняющего вещества в пределах установленных
лимитов, руб.
Общая плата за загрязнение
поверхностных и подземных водных объектов составляет
Пвод=Пнвод+Плвод+Пслвод.
(40)
В пункте 3.8 упомянутой
инструкции указано, что подземная закачка сточных вод добывающими предприятиями
нефтегазового комплекса в продуктивные и поглощающие глубокозалегающие
горизонты подлежит оплате в части загрязняющих веществ, не содержащихся в
извлекаемых пластовых водах.
При наличии гидравлической
связи закачиваемых промышленных сточных вод с водными объектами, подтвержденной
результатами наблюдений, плата рассчитывается как за сверхлимитный сброс
загрязняющих веществ в водные объекты.
В целях стимулирования
предприятий к более активному осуществлению природоохранных программ и увеличению
капиталовложений в охрану природы платежи за загрязнение геологической и
окружающей среды могут уменьшаться на величину средств, израсходованных
предприятием на выполнение природоохранных мероприятий. Размеры платежей могут
корректировать территориальные природоохранные органы.
Введение современной системы
платежей за использование природных ресурсов, несомненно, сыграло большую
положительную роль, так как доказало необходимость платного использования
природно-ресурсного потенциала и стимулировало предприятия к более
рациональному использованию недр, охране геологической и окружающей среды. В то
же время необходимо отметить, что действующий на сегодня экономический механизм
природопользования имеет ряд недостатков и противоречий, что сдерживает использование
современных экологических технологий. Например, на Тюменском Севере оказывается
с экономической точки зрения дешевле сжигать промышленные сточные воды, чем
закачивать их в недра.
Сжигание промышленных
сточных вод - экологически небезущербно для окружающей среды, так как
сопровождается образованием углекислоты, выкристаллизацией растворенных в
пластовой воде солей, выбрасываемых в атмосферу и затем осаждающихся на
поверхности земли. При этом происходит также выжигание кислорода, содержание
которого в атмосфере севера Тюменской области понижено. И с этой точки зрения
технология закачивания промышленных сточных вод в недра оказывается
предпочтительнее.
Механизм взимания платы за
пользование недрами для подземного захоронения сточных вод определяется
постановлением Правительства РФ № 632 от 28.08.92 «Об утверждении порядка
определения платы и ее предельных размеров за загрязнение окружающей природной среды,
размещение отходов, другие виды вредного воздействия».
Максимальная ставка платежей
за пользование недрами для ПЗС предусматривается в случае закачки сточных вод в
поглощающие горизонты, расположенные выше разрабатываемых на месторождении
углеводородных залежей. Она устанавливается в размере 1 % суммы сметной
стоимости сооружений, непосредственно относящихся к закачке вод в пласт
(нагнетательные скважины, насосные станции, подводящий коллектор), и стоимости
эксплуатационных расходов по закачке.
При закачке сточных вод в
законтурную зону продуктивного пласта либо ниже разрабатываемой залежи, но в
обоих случаях за пределы депрессионной воронки, размер платежей составляет 0,5
%.
При захоронении СВ в
разрабатываемую либо выработанную углеводородную залежь, а также в поглощающие
горизонты подстилающей и оконтуривающей водонапорной системы в пределах зоны
снижения пластового давления (в депрессионную воронку) платежи за пользование
недрами для целей ПЗС не взимаются.
Платежи за пользование
недрами для ПЗС взимаются в форме разовых взносов и (или) регулярных платежей.
На действующих объектах
захоронения сточных вод взимаются регулярные платежи, исчисляемые из
эксплуатационных расходов по закачке.
На построенных до октября
1992 г., но еще не эксплуатирующихся объектах, регулярные платежи взимаются с
момента начала закачки сточных вод.
При вводе в эксплуатацию
вновь запроектированных объектов взимается разовый взнос, исходя из сметной
стоимости сооружений по закачке, а в дальнейшем осуществляются регулярные платежи,
исходя из эксплуатационных расходов на подземное захоронение.
1. Газпром» и современная
экополитика. Под редакцией д.т.н. В.В. Ремизова. - М.: ИРЦ Газпром, 1999.
2. Бирюкова С.М. Система
платного природопользования в газовой промышленности. - М.: ВИИЭгазпром, 1992.
3. Вода для заводнения
нефтяных пластов. Требования к качеству. ОСТ 39-225-88.
4. Водный кодекс Российской
Федерации. - М.: 1995.
5. Временные рекомендации по
изучению поглощающих горизонтов и проектированию закачки промстоков
газодобывающих предприятий. Составители: А.В. Буераков, К.Б. Ильковский, А.А.
Шпак. ВНИПИгаздобыча. - Саратов, 1976.
6. Временный порядок
пользования недрами, предоставляемый для захоронения жидких вредных веществ и
сброса в недра сточных вод на территории Ямало-Ненецкого автономного округа. -
Салехард, 1995.
7. Гаев А.Я. Подземное
захоронение сточных вод на предприятиях газовой промышленности. - Л.: Недра,
1981.
8. Гидрогеологические
исследования для захоронения промышленных сточных вод в глубокие водоносные
горизонты (методические указания). Под редакцией К.И. Антоненко и Е.Г.
Чаповского. Авт.: В.А. Боревская, И.Т. Гаврилов, В.М. Гольдберг, В.П.
Кривошеев, Н.В. Тарасова, Н.А. Титов. - М.: Недра, 1978.
9. Гидрогеологические
исследования для обоснования подземного захоронения промышленных стоков. Под
редакцией В.А. Грабовникова. - М.: Недра, 1993.
10. Глубинное захоронение
жидких радиоактивных отходов. АИ.
Рыбальченко, М.К. Пименов, П.П. Костин и др. - М.: Изд. AT,
1994.
11. Гриценко А.И., Акопова
Г.С., Максимов В.М. Экология. Нефть и газ. - М.: Наука, 1997.
12. Гольдберг В.М., Скворцов
Н.П., Лукьянчикова Л. Г. Подземное захоронение промышленных сточных вод. - М.:
Недра, 1994.
13. Грабовников В.А.,
Татарчук Ю.С., Шипулин Ю.К. Условия обеспечения экологической безопасности
подземного захоронения токсичных отходов //Разведка и охрана недр, № 4, 1999.
14. Ерофеев Б.В.
Экологическое право. - М.: Юриспруденция, 1999.
15. Закон Российской
Федерации «О недрах». - М., 1992, 1995.
16. Закон Российской Федерации
«О плате за пользование водными объектами». - М., 1998.
17. Закон Российской
Федерации «Об отходах производства и потребления». - М., 1998.
18. Закон Российской
Федерации «Об охране окружающей среды». - М., 1991.
19. Закон Российской
Федерации «Об экологической экспертизе». -
М., 1995.
20. Зверев В. П..
Гидрогеохимические исследования системы гипсы - подземные воды. - М.: Наука,
1967.
21. Инструкция о порядке
ликвидации, консервации скважин и оборудования их устьев и стволов.
Госгортехнадзор России. - М., 1994.
22. Инструкция по взиманию
платы за загрязнение окружающей природной среды. - М., 1997.
23. Каменев А. П.
Методические рекомендации по обоснованию выбора поглощающих горизонтов и
проектированию закачки промстоков на газовых предприятиях Западной Сибири.
Тюменниигипрогаз. - Тюмень, 1995.
24. Кащавцев В.Е.,
Гаттенбергер Ю.П., Люшин С.Ф. Предупреждение солеобразования при добыче нефти.
- М.: Недра, 1985.
25. Концепция
Государственного мониторинга подземных вод Российской Федерации. - М., 1992.
26. Корценштейн В.Н. К
вопросу о создании подземных хранилищ особоопасных жидких промстоков на период
хранения, исчисляющийся веками. В сб.: Новые материалы по водонапорным системам
крупнейших газовых и газоконденсатных месторождений. - М., 1991.
27. Крайнов С. Р. и др.
Методы геохимического моделирования и прогнозирования в гидрогеологии. - М.:
Недра. 1988. , ,
28. Маликова О. И.
Экономический механизм эффективного природопользования. - М., 1998.
29. Малыхин М.Я., Тердовидов
А.С., Павлов С. Д. Современные методы контроля захоронения промстоков. - М.:
ВНИИЭгазпром, 1986. .
30. Методика исчисления
размера ущерба от загрязнения подземных вод. -М., 1998.
31. Методические указания по
лицензированию пользования недрами для целей, не связанных с добычей полезных ископаемых.
- М., 1998.
32. Мироненко В.А., Румынии
В.Г. Опытно-миграционные работы в водоносных пластах. - М.: Недра, 1986.
33. Миронов Е.А. Закачка
сточных вод нефтяных месторождений в продуктивные и поглощающие горизонты. -
М.: Недра, 1976.
34. Опытно-фильтрационные
работы. /Под ред. В.М. Шестакова, Д.Н. Башкетова. - М.: Недра. 1974.
35. Очистка и удаление
пластовых вод / Материалы семинара, март - апрель 1995. - М.: Минтопэнерго РФ,
1995.
36. Перечень нормативных
документов, рекомендуемых к использованию при проведении государственной
экологической экспертизы, а также при составлении экологического обоснования
хозяйственной и иной деятельности. - М., 1997.
37. Перечень нормативных
правовых документов, рекомендуемых к использованию при оценке и возмещении вреда,
нанесенного окружающей природной среде в результате экологических
правонарушений. - М., 1998.
38. Положение о порядке и
условиях взимания платежей за право на пользование недрами, акваторией и
участками морского дна. - М., 1992.
39. Положение о порядке
лицензирования пользования недрами для закачки вод с целью поддержания
пластового давления при разработке месторождений углеводородов и для сброса
сточных и подтоварных вод в глубокие водоносные горизонты на территории
Ханты-Мансийского автономного округа. - Ханты-Мансийск, 1998.
40. Положение о порядке
лицензирования пользования недрами. - М., 1992
41. Положение о системе
управления природопользованием в ОАО «Газпром». - М., 1999.
42. Положение об оценке
воздействия на окружающую среду в Российской Федерации. - М., 1994.
43. Положения о ведении
государственного мониторинга водных объектов. - М., 1997.
44. Положения об
осуществлении государственного контроля за использованием и охраной водных
объектов. - М., 1997.
45. Постатейный комментарий к
Закону РФ «Об охране окружающей природной среды» Законодательство и экономика,
№ 16,17,1992.
46. Правила безопасности в
нефтяной и газовой промышленности. Госгортехнадзор России. - М., 1992.
47 Правила охраны
поверхностных вод (типовые положения) -
М . 1991г.
48. Правила разработки
газовых и газоконденсатных месторождений. - М.: Недра, 1971.
49. Правила создания и
эксплуатации подземных хранилищ газа в пористых пластах. - М.: ВНИИгаз, 1986.
50. Регламент составления
проектных документов по разработке газовых и газоконденсатных месторождений. -
М.: ВНИИгаз, 1999.
51. Рекомендации участников
парламентских слушаний «Экологические проблемы подземного захоронения
промышленных отходов в глубинные горизонты»//Экологический вестник России, № 4,
1999.
52. Севастьянов О.М.,
Захарова Е.Е. Геоэкологические условия эксплуатации Оренбургского
газохимического комплекса. - М.: ИРЦ Газпром, 1995.
53. Севастьянов О.М.,
Захарова Е.Е. Опыт подземного захоронения промстоков на Уренгойском
месторождении. - М.: ИРЦ Газпром, 1993.
54. Технология
газопромысловых гидрогеологических исследований. Авт.:
В.П. Ильченко, Б.П.
Акулинчев, Ю.Г. Гирин и др. - М.: Недра, 1997.
55. Технология глубинных
нефтегазопоисковых гидрогеологических исследований. Авт.: Ильченко В. П.,
Акулинчев Б. П., Гирин Ю.Г. и др. - М.:
Недра,1992.
56. Шестаков В.М.
Гидрогеодинамика. - М.: Изд-во МГУ, 1994.
57. Эконедра.
/Природоохранные стандарты. - М.: Геология, 1994.
|
|
|
|