Бесплатная библиотека стандартов и нормативов www.docload.ru

Все документы, размещенные на этом сайте, не являются их официальным изданием и предназначены исключительно для ознакомительных целей.
Электронные копии этих документов могут распространяться без всяких ограничений. Вы можете размещать информацию с этого сайта на любом другом сайте.
Это некоммерческий сайт и здесь не продаются документы. Вы можете скачать их абсолютно бесплатно!
Содержимое сайта не нарушает чьих-либо авторских прав! Человек имеет право на информацию!

 

РОССИЙСКОЕ АКЦИОНЕРНОЕ ОБЩЕСТВО «ГАЗПРОМ»

МЕТОДИКА
ОПРЕДЕЛЕНИЯ ЗАБОЙНОГО ДАВЛЕНИЯ В НАКЛОННЫХ ГОРИЗОНТАЛЬНЫХ СКВАЖИНАХ

Москва 1997

Российское акционерное общество «Газпром»
Информационно-рекламный центр газовой промышленности
(ИРЦ Газпром)

Б.А. Никитин, К.С. Басниев, З.С. Алиев, В.Г. Грон, Ж.Г. Карагаев

ВВЕДЕНИЕ

В предлагаемой методике предложены аналитические методы определения забойного давления в наклонных и горизонтальных газовых и газоконденсатных скважинах.

Приведены расчетные формулы для определения забойного давления в затрубном пространстве, у башмака фонтанных труб и торца горизонтальной скважины с большим, средним и малым радиусом кривизны.

Проведены для наиболее часто встречаемых на практике конструкций горизонтальных скважин с большим радиусом кривизны расчеты при различных дебитах.

Разработанные методы и полученные результаты рекомендованы для практического использования.

Большинство скважин, пробуренных на крупнейших месторождениях севера Тюменской области, - наклонные, что обусловлено кустовым размещением. На рис. 1 показана типовая схема наклонных скважин куста. При освоении месторождений наклонными и горизонтальными скважинами необходимы забойные (устьевые) давления и его распределения по стволу определяются соответствующими аналитическими методами.

В настоящее время в действующих нормативных документах и инструкциях отсутствуют аналитические методы определения забойных давлений в наклонных и горизонтальных скважинах. Для этой цели ниже предложены аналитические методы определения забойного давления в наклонных и горизонтальных скважинах.

1. Определение забойного давления в наклонной скважине

Из формулы для определения забойного давления, полученной для вертикальной скважины:

                                                   (1)

следует, что на величину забойного давления влияют две силы: сила тяжести, создаваемая столбом газа и выражаемая через , и скоростной напор, связанный с движением газа по стволу скважины и выражаемый через . Давление, создаваемое столбом газа, зависит от состава газа и глубины забоя, независимо от того, что эта глубина достигнута путем вертикального бурения или наклонным профилем ствола.

Рис. 1. Схема наклонных скважин, использованных при освоении сеноманских залежей газа севера Тюменской области

Давление, связанное со скоростным напором, зависит от протяженности участка, по которому движется газ. Следовательно, при наклонном стволе увеличивается по сравнению с вертикальным профилем длина пути, и поэтому растут потери давления от забоя до устья.

С учетом выше изложенного забойное давление в наклонной скважине, конструкция которой показана на рис. 1, будет определяться по формуле

.                                                   (2)

где

,                                                 (3)

,                                        (4)

где Н - вертикальная глубина наклонной скважины, определяемая по формуле

Н = Нв. + Нис. + Н1,                                                           (5)

где Нв., Нис. и H1 - вертикальные глубины вертикальной, искривленной и наклонной частей скважины (см. рис. 1); Тср. - средняя температура газа по стволу скважины Тср. = у + Тз)/2; Zср. - средний по стволу скважины коэффициент сверхсжимаемости газа, определяемый для условий Тср. и Рср = (Ру + Рз.)/2; l - коэффициент гидравлического сопротивления труб; SL - показатель степени для общей длины, определяемый по формуле

,                                                (6)

где L - общая длина ствола, определяемая как сумма длин трех участков,

L = Lв. + L2 + L3,                                                             (7)

где Lв. - длина вертикальной части ствола, равная Lв. = Нв.; L2 - длина искривленного участка.

При искривлении ствола под определенным радиусом кривизны, L2 определяется по формуле:

,                                                       (8)

где R - радиус кривизны; a - угол охвата заданного отклонения ствола от вертикали, величиной которого предопределяется максимальное отклонение забоя от вертикали при заданной глубине залегания пласта, в градусах; L3 - длина наклонного участка ствола, определяется по формуле

L3 = Н1/cosa.                                                             (9)

Величину Нис. можно определить по известным параметрам (угол a и радиус кривизны R):

.                                                         (10)

Радиус кривизны следует определить по формуле:

,                            (11)

где H1 + Hис. = H - Нв.; А - задаваемое проектировщиком расстояние забоя от вертикали. Величина А была принята ВНИИГазом в проекте Уренгойских скважин равной 150 м.

В зависимости от выбранной конструкции наклонной скважины значения Нв., Нис. и H1 и соответственно Lв., L2 и L3 могут быть равными нулю или весьма незначительными. В этих случаях формулы (2)-(11) должны быть упрощены.

2. Определение забойного давления в горизонтальных скважинах

Определение забойного давления с достаточно высокой точностью имеет более существенное значение при проектировании разработки, чем забойное давление в вертикальных скважинах. Оно связано с тем, что, как правило, длина фильтра в горизонтальной скважине намного больше, чем в вертикальной. Распределение забойного давления по длине горизонтального ствола имеет принципиально важное значение с позиции:

регулирования дренирования залежи равномерно путем подбора соответствующей конструкции;

выбора необходимого значения забойного давления по стволу, позволяющего качественно обработать результаты исследования;

избежания преждевременного обводнения скважины подошвенной или краевой водой.

В настоящее время пока еще не разработаны методы достаточно точного аналитического определения забойного давления в горизонтальных газовых и газоконденсатных скважинах. Принципиально важное значение для определения забойного давления с приемлемой точностью имеет профиль горизонтального ствола. Для избежания возможного накопления остатков бурового раствора, влаги и конденсата желательно иметь не абсолютно горизонтальный профиль, а наклонный профиль от подошвы газоносного пласта к кровле, начиная от перехода с вертикального положения ствола к горизонтальному.

Выбранная конструкция горизонтального ствола, то есть соотношение длин и диаметров обсадной колонны и фонтанных труб позволяет обеспечить уменьшение или увеличение забойного давления по горизонтальному стволу от места перехода с вертикального положения к горизонтальному до торца горизонтального ствола. Диапазон изменения забойного давления вдоль горизонтального ствола зависит от длины и диаметра труб и от дебита скважины. Существенное изменение забойного давления по стволу на отдельных режимах создает определенные методические трудности при обработке результатов исследования. Поэтому проектировщик должен провести большой объем расчетов забойных давлений для различных конструкций горизонтальных скважин и дебитов с целью определения оптимального варианта по конструкции и по потерям давления в горизонтальной части ствола. Кроме того, в проекте разработки проектировщик обязан оценить возможность обводнения скважин при выбранных конструкциях и соответствующих изменениях забойного давления по горизонтальному стволу.

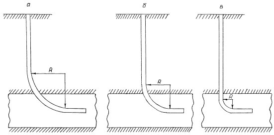
Методика определения забойного давления в горизонтальных скважинах зависит от ее конструкции. Общий вид встречаемых на практике конструкций горизонтальных скважин показан на рис. 2. Отличительной чертой профилей стволов, показанных на рис. 2, является величина радиуса кривизны ствола. В частности, варианты конструкций а, б и в соответствуют большому, среднему и малому радиусу кривизны. На рис. 3 показаны конструкции горизонтальных скважин с позиции глубины спуска фонтанных труб. Варианты а, б и в на этом рисунке соответствуют глубине (длине) спуска фонтанных труб до начала горизонтальной части ствола, до произвольного расстояния по горизонтальному стволу и практически до торца горизонтального ствола.

На методику определения забойного давления влияют как профиль ствола, так и оборудование ствола фонтанными трубами. Ниже предложены расчетные формулы для определения забойного давления горизонтальных газовых скважин.

Рис. 2. Схема горизонтальных скважин

а, б, в - соответственно с большим, со средним и с малым радиусом кривизны

Рис. 3. Схема конструкции горизонтальных скважин

а, б, в - соответственно без фонтанных труб в горизонтальном стволе, трубы спущены частично и до конца горизонтального ствола

3. Определение забойного давления при конструкции горизонтального ствола без фонтанных труб в горизонтальной части и с большим радиусом кривизны

Забойное давление у торца горизонтальной скважины с большим радиусом кривизны и без фонтанных труб в горизонтальной части ствола определяется по формуле

,                                         (12)

где Рз.д. - забойное давление у дна (торца) горизонтальной скважины

,                                               (13)

Н - вертикальная глубина горизонтальной скважины; Zср. - средний коэффициент сверхсжимаемости, определяемый для условий Тср. = (Ту + Тз.п.)/2 и Pсp. = у + Рз.п.)/2; Тз.п., Pз.п. - соответственно средние по вертикальной и искривленной частям ствола значения температуры и давления; Тз.н., Рз.п. - соответственно значения температуры и давления у сечения от искривленного участка к горизонтальному

,                                      (14)

где l - коэффициент гидравлического сопротивления; Zср., Тср. - идентичные значениям этих параметров в формуле (13) коэффициент сверхсжимаемости и средняя температура.

,                                            (15)

где L - общая длина вертикальной и искривленной части ствола скважины, определяемая формулой:

L = Lв. +L2,                                                            (16)

где Lв. - длина вертикальной части ствола Lв. = Нв.; L2 - длина искривленной части ствола, определяемая по формуле

,                                                  (17)

Параметр qг. по горизонтальной части ствола определяется по формуле:

,                                        (18)

где lг. - коэффициент гидравлического сопротивления горизонтальной части ствола.

Так как в рассматриваемом варианте фонтанные трубы спущены только в вертикальную и искривленную части ствола, величина lг. должна соответствовать сопротивлению обсадных колонн.

Средняя температура по горизонтальной части ствола и определяется по формуле:

,                                                (19)

где Тз.п. и Тз.д. - соответственно температуры газа у перехода горизонтального участка к искривленному и у дна (торца) горизонтального ствола; Zср.г. - средний коэффициент сверхсжимаемости газа при условии Тср.г. и Рср.г., где Рср.г. = (Рз.п. + Рз.д.)/2; Рз.п. и Рз.д. - забойные давления у сечения от искривленного участка к горизонтальному и у дна скважины; Lг. - длина горизонтальной части ствола.

4. Определение забойного давления при конструкции горизонтального ствола скважины с большим радиусом кривизны и частично оборудованной фонтанными трубами

При такой конструкции скважины забойное давление определяется у башмака фонтанных труб, у торца горизонтального ствола и в затрубном пространстве у сечения, соответствующего входу ствола в продуктивный пласт.

4.1. Забойное давление у башмака фонтанных труб определяется по формуле

,                                        (20)

где S и qn. - параметры, определяемые по формулам (13) и (14):

,                                    (21)

где lф. - коэффициент гидравлического сопротивления фонтанных труб.

,                                                  (22)

где Тз.п., Тз.б. - температуры газа у перехода от искривленного участка к горизонтальному, и у башмака фонтанных труб; Zср.ф. - средний коэффициент сверхсжимаемости, определяемый для условий Тср.ф. и Рср.ф., где Рср.ф. - среднее давление на участке L1, определяемое по формуле Рср.ф. = (Рз.п. + Рз.б.)/2; Рз.п., Рз.б. забойные давления у перехода от искривленного участка к горизонтальному и у башмака фонтанных труб; L1 - длина горизонтальной части ствола, оборудованной фонтанными трубами; dф. - внутренний диаметр фонтанных труб.

4.2. Определение забойного давления в затрубном пространстве горизонтальной скважины

При спуске фонтанных труб до некоторой длины горизонтальной части ствола L1 приток газа к забою скважины поступает из двух участков: из участка длиной L1 в затрубное пространство (D - dн) и из участка L - L1 в ствол с обсадной колонной.

При определении забойного давления у башмака фонтанных труб по формуле (19) практически отсутствовала возможность допущения грубых ошибок в определении величин забойного давления, так как, начиная от башмака фонтанных труб до устья скважины, дебит скважины оставался постоянным. В рассматриваемом же варианте дебит газа делится на две части:

,                                                         (23)

где  - дебит газа из участка L1, который суммируется из притока, начиная от входа ствола в продуктивный пласт до сечения, где кончаются фонтанные трубы.

Следовательно, дебит  становится переменной величиной от входа ствола в пласт до башмака фонтанных труб. Поэтому забойное давление в затрубном пространстве должно быть рассчитано для переменного дебита. Характер изменения дебита по длине L1 определяется характером распределения давления в затрубном пространстве. Истинный характер распределения дебита на участке L1 может быть установлен только путем совместного решения уравнений притока газа к скважине и движения газа по затрубному пространству.

Проектировщик должен учесть то, что длина у фонтанных труб в горизонтальной части ствола существенно влияет на суммарный дебит скважины Qсум. вследствие периферийных дебитов на участках L1 и (L - L1).

С приемлемой точностью для определения распределения забойного давления и дебита на участках L1 и (L - L1) следует в проекте разработки по предполагаемым конструкциям численно решить следующие дифференциальные уравнения (с помощью современных персональных компьютеров, даже имеющих не очень высокую разрешительную способность такие уравнения решаются без затруднений).

При отсутствии в горизонтальном стволе фонтанных труб

,                                         (24)

,                    (25)

где уравнение (24) описывает движение газа по стволу, а (25) - нелинейный приток газа из однородного пласта к стволу; Р - произвольное давление на стенке горизонтального ствола в интервале О £ l £ L; r - плотность газа в условиях Р и Т и определяется из уравнения состояния газа:

,                                              (26)

где Т - температура газа в горизонтальной части ствола; Z - коэффициент сверхсжимаемости газа при Р и Т; l - коэффициент гидравлического сопротивления обсадных труб (в рассматриваемом варианте фонтанные трубы отсутствуют).

Учитывая, что речь идет о переменном по длине ствола скважины дебите, а l является функцией скорости потока, желательно в формулу (24) заложить переменный от числа Рейнольдса коэффициент гидравлического сопротивления (для заданной величины шероховатости).

Площадь поперечного сечения горизонтального ствола (F) равна

,                                                           (27)

где D - внутренний диаметр обсадных труб; h1 = h/2 - Rc; h - толщина газоносного пласта. Если ввести обозначение:

,                                        (28)

то вместо (24) можно получить

,                                  (29)

где dQ/dl - приращение дебита на элементе dl горизонтального ствола, показанного на рис. 4.Обозначив через

,                              (30)

,                           (31)

получим формулу для определения dQ/dl в виде:

,                             (32)

После нахождения распределения дебита по длине горизонтального ствола определение Р3(L) не представляет особой трудности как численно из уравнения (29), так и приближенно путем разделения всей длины ствола L на элемент DL = L/n, где п - число участков. Чем больше число участков, тем точнее будут значения забойного давления на рассматриваемом элементе.

Рис. 4. Схема горизонтального ствола для расчета дебита и потерь давления

Еще раз отметим, что для правильного прогнозирования изменения устьевого давления в процессе разработки (этим давлением связаны условия сепарации и сроки ввода ДКС) правильное определение забойного давления приобретает особое значение.

При спущенных фонтанных трубах в горизонтальный ствол

Необходимо решить следующие уравнения:

На участке, где отсутствуют фонтанные трубы (L - L1)

,                         (33)

                                (34)

где Р1 - давление на участке L - L1 и

,                                         (35)

Z1 - коэффициент сверхсжимаемости газа на участке L - L1.

Граничные условия для решения этой системы следующие:

при l = L;  = 0 и l = L1 Р1 = Рб,                                        (36)

где Рб - давление у башмака фонтанных труб.

Одним из сравнительно простых методов решения этой системы является метод Рунге-Кутта.

На участке перекрытой фонтанными трубами уравнения притока газа и его движения по кольцевому (затрубному) пространству имеют вид

,                              (37)

,                                (38)

где ,                                                                                                                                                 (39)

dн. - наружный диаметр фонтанных труб; D - внутренний диаметр обсадной колонны; l2 - коэффициент гидравлического сопротивления кольцевого пространства, определяемый по формуле:

,                        (40)

где l0 - коэффициент сопротивления труб с эквивалентным диаметром Dэф. При движении газа по затрубному пространству Dэф. определяют по формуле

,                                                      (41)

где Dм. - наружный диаметр муфты; l - длина одной трубы; 0,05 - потери давления при сужении потока газа в местах расположения муфт, между муфтами и обсадной колонной.

Следует подчеркнуть, что при сравнительно низких дебитах и больших сечениях для движения газа потери давления как при отсутствии, так и при наличии фонтанных труб в горизонтальном стволе невелики и поэтому расчеты определения забойного давления упрощаются.

5. Определение забойных давлений при конструкции горизонтальной скважины со средним радиусом кривизны

Отличительной чертой этого варианта конструкции горизонтальной скважины от предыдущих заключается только в величине радиуса кривизны и следовательно в величинах Нис. и L2. Вся истинная технология расчета забойного давления идентична вариантам конструкции, рассчитанной в пунктах 3 и 4. Поэтому расчетные формулы во избежание повтора не приводятся.

6. Определение забойного давления для конструкции горизонтальной скважины с малым радиусом кривизны

Под обобщенными понятиями большого, среднего и малого радиуса кривизны [2], принято понимать: большой - радиус - в несколько сот метров, средний - несколько десятков метров и малый - несколько метров. Учитывая, что при малом радиусе кривизны на протяжении нескольких метров существенное изменение давления при практически любой конструкции не происходит, забойное давление можно определить по формуле при отсутствии фонтанных труб:

,                                         (42)

,                                             (43)

,                                   (44)

,                                      (45)

где Н - глубина скважины по вертикали; L - длина горизонтальной части ствола; Zср.в., Zср.г. - соответственно коэффициенты сверхсжимаемости газа при средних давлении и температуре в вертикальной и горизонтальной частях ствола.

,                              (46)

,                              (47)

где Рз.п., Тз.п. - давление и температура у сечения перехода от вертикального к горизонтальному положению; Рз.д., Тз.д. - давление и температура у дна (торца) скважины; lв., lг. - коэффициенты гидравлического сопротивления труб в вертикальной и горизонтальной частях ствола (очень часто они равны lв. = lг.)

При наличии фонтанных труб частично перекрывающих ствол скважины (на рис. 3б) для вертикальной части ствола должна быть использована формула для определения забойного давления полученной для вертикальной скважины. Далее для определения давления у башмака фонтанных труб нужно использовать формулу:

,                                                   (48)

где

,                                     (49)

Параметры lф., Zср.ф., Тср.ф., входящие в формулу (49), определяются так, как при использовании формулы (21).

При определении давления в затрубном пространстве и в зоне L - L1, где фонтанные трубы отсутствуют, порядок расчета такой же, как и при конструкции, соответствующей схеме, показанной на рис. 3б. При этом необходимо пользоваться формулами (33) и (34), и (37) и (38).

Отметим, что в ряде случаев, при комбинированном варианте конструкции фонтанных труб на горизонтальном участке ствола носит, (ступенчатая конструкция), расчеты забойного давления должны быть проведены:

от устьевой к переходной зоне;

от переходной зоны к концу первой ступени в горизонтальной части ствола;

от конца первой ступени, как правило, имеющей большой внутренний диаметр, к меньшим по диаметру ступеням фонтанных труб;

от башмака к торцу горизонтального ствола с учетом изменения дебита газа;

от башмака к началу (в обратном направлении) первой ступени по затрубному пространству с учетом изменчивости дебита;

от начала в обратном направлении к концу, где устанавливается пакер по затрубному пространству давления, соответствующему участку входа в продуктивный пласт горизонтального ствола.

В проекте разработки следует очень внимательно относиться к вопросу определения забойного давления на сечении перехода от вертикального к горизонтальному положению ствола, у башмака фонтанных труб, у торца горизонтального ствола, так как от точности определения этих давлений зависит возможность разрушения призабойной зоны, образование песчаных или жидкостных пробок, обводнение скважин у проходящих выше узловых точек горизонтального ствола.

ИСХОДНЫЕ ДАННЫЕ И ПРИМЕРЫ РАСЧЕТА ИЗМЕНЕНИЯ ЗАБОЙНОГО ДАВЛЕНИЯ В ГОРИЗОНТАЛЬНОЙ СКВАЖИНЕ

Для определения изменения забойного давления по длине горизонтального ствола были использованы следующие параметры горизонтальных скважин оборудованных фонтанными трубами:

величина устьевого давления скважины Ру = 10,0 МПа;

глубина вертикальной части ствола Нв = 1500 м;

радиус кривизны скважины R = 200 м;

угол охвата заданного отклонения от вертикали a = 18°;

длина горизонтальной части ствола L = 1000 м;

диаметр обсадной колонны D = 152,4 мм;

длина фонтанных труб горизонтальной части ствола L1 = 500 м;

диаметр фонтанных труб dф. = 76,2; 88,9; 101,6 и 114,3 мм;

дебит горизонтальной скважины Q = 200; 500; 750; 1000 и 2000 тыс. куб. м./сут.

При этих исходных данных рассчитаны забойные давления на глубине Нв - Pз.в., у начала горизонтального ствола - Рз.п., у башмака фонтанных труб - Рз.баш., у конца горизонтального ствола - Pз.L. (у дна скважины) и затрубное давление у входа горизонтального ствола в продуктивный пласт (под пакером) - Рз.з., а также разности давлений:

DР1 = Рз.п. - Pз.в.,                                                       (50)

где Рз.п. и - забойное давление у конца искривленного участка или у начала горизонтального ствола.

DР2 = Рз.баш. - Рз.п.,                                                    (51)

где Рз.баш. - забойное давление у башмака фонтанных труб.

DР3 = Pз.L. - Pз.бaш.,                                                    (52)

где Рз.L. - забойное давление у дна горизонтального ствола на расстоянии L.

DР4 = Рз.з. - Рз.баш.,                                                     (53)

где Рз.з. - забойное давление затрубного пространства у входа горизонтального ствола в продуктивный пласт.

Результаты расчетов представлены в виде таблицы и графических зависимостей. Для определения потерь давления по стволу горизонтальной скважины было принято несколько видов распределения дебита.

Рис. 5. Распределение дебита по горизонтальному стволу скважины:

1, 2 - соответственно линейное и нелинейное распределение дебита

На рис. 5 показаны два вида распределения дебита по горизонтальному стволу. В обоих вариантах было принято, что на затрубное пространство приходится 62,5 % всего дебита скважины и соответственно 37,5 % - на пространство, не оборудованное фонтанными трубами (от башмака фонтанных труб до дна скважины).

На рис. 6 показано изменение забойного давления по длине горизонтальной части ствола при наличии в ней фонтанной трубы dф. = 76,2 мм и различных дебитов. Как видно из рис. 6 разница в давлениях между Рз.з. и Рз.баш. составляет при различных дебитах от DР4 = 0,02 ата до DР4 = 0,08 ата.

На рис. 7 показано распределение забойного давления по длине горизонтального ствола при наличии в нем фонтанных труб различного диаметра. С увеличением диаметра фонтанных труб потери давления в затрубном пространстве увеличиваются. При диаметре фонтанных труб dф. = 88,9 мм разница между затрубным давлением и давлением у башмака фонтанных труб составляет от DР4 = 1,8 ата. Увеличение диаметра до dф. = 114,3 мм приводит к увеличению потерь в кольцевом пространстве до от DР4 = 16,6 ата, что связано с площадью сечения затрубного пространства. Давление на участке от башмака фонтанных труб до дна скважины практически не изменяется. Из зависимости видно, что потери давления в затрубном пространстве весьма существенны и могут ограничить получение желаемого дебита.

На рис. 8 показана зависимость забойного давления вдоль горизонтального ствола скважины при линейном и нелинейном распределении дебита и наличии фонтанной трубы dф. = 101,6 мм. Как видно из рис. 8, при дебите скважине 200 £ Q £ 1000 тыс. куб. м./сут. давление в затрубном пространстве и давление у торца скважины совпадают при обоих вариантах распределения дебита вдоль ствола скважины. При дебите Q = 2000 тыс. куб. м./сут. разница между давлениями в затрубном пространстве при линейном и квадратичном распределении дебита составляет 1,9 ата.

Более практичными по сравнению с графическими зависимостями между забойными давлениями, дебитом горизонтальной скважины, их конструкциями являются данные, приведенные в табл. 1, 2.

В целом эти таблицы можно разделить на две группы.

Первая группа включает в себя результаты расчетов Рз.п,. Рз.баш., Рз.L. и Рз.з., а также DР1, DР2, DР3 и DР4 при линейном распределении дебита по стволу скважины.

Вторая группа отличается от первой только тем, что включает в себя такие же расчеты при нелинейном распределении дебита вдоль горизонтального ствола.

Рис. 6. Распределение давления в стволе скважины при наличии в ней фонтанной трубы диаметром Dф.т. = 76,2 мм:

1-5 - соответственно при дебите 200; 500; 750; 1000 и 2000 тыс. куб. м./сут.

Рис. 7. Распределение давления в горизонтальном стволе скважины при дебите 2000 тыс. куб. м./сут.:

1-4 - соответственно при диаметре фонтанных труб Dф.т. = 76,2; 88,9; 101,6 и 114,3 мм

Рис. 8. Зависимость забойного давления вдоль горизонтального ствола скважины при наличии в ней фонтанной трубы Dф.т. = 101,6 мм:

1-5 - линейное, 1¢-5¢ - нелинейное распределение соответственно при дебите Q = 200; 500; 750; 1000 и 2000 тыс. куб. м./сут.

Таблица 1

Q, тыс. куб. м./сут.

Рз.в., ата

Рз.п., ата

Рз.баш., ата

Рз.L., ата

Рз.з., ата

дел. Р1, ата

дел. P2, ата

дел. Р3, ата

дел. Р4, ата

200

115,4335

116,115

116,9497

116,9501

116,9689

0,6815

0,8327

0,0010

0,0198

500

129,3056

130,529

135,0646

135,0700

135,1706

1,2238

4,5273

0,0054

0,106

750

147,3960

149,263

158,0297

158,0401

158,2324

1,8667

8,7498

0,0104

0,2027

1000

169,3432

171,929

185,3276

185,3276

185,6351

2,5855

13,3719

0,0157

0,3075

2000

276,1375

281,929

316,4718

316,4718

317,2635

5,7919

34,4900

0,0406

0,7917

 

 

 

 

 

 

 

 

 

 

200

113,8601

114,476

114,8538

114,8549

114,8894

0,6163

0,3772

0,0010

0,0356

500

120,3373

121,217

123,4204

123,4264

123,6260

0,8794

2,1995

0,0060

0,2055

750

129,3311

130,556

135,0979

135,1102

135,5178

1,2248

4,5336

0,0122

0,4199

1000

140,8951

142,537

149,8405

149,8600

150,5101

1,6423

7,2896

0,0195

0,6696

2000

202,5168

206,121

226,0702

226,1227

227,8710

3,6040

19,9094

0,0525

1,8008

 

 

 

 

 

 

 

 

 

 

200

113,2172

113,807

113,9957

113,9968

114,0728

0,5895

0,1885

0,0010

0,0770

500

116,4984

117,224

118,3621

118,3683

118,8237

0,7251

1,1361

0,0062

0,4616

750

121,2035

122,117

124,5547

124,5681

125,5361

0,9136

2,4333

0,0133

0,9814

1000

127,4765

128,632

132,7075

132,7297

134,3351

1,1552

4,0681

0,0221

1,6275

2000

163,7927

166,201

178,5280

178,5280

183,2402

2,4083

12,2373

0,0654

4,7776

 

 

 

 

 

 

 

 

 

 

200

112,9240

113,501

113,6030

113,6041

113,8407

0,5771

0,1019

0,0010

0,2376

500

114,7096

115,361

115,9863

115,9927

117,4305

0,6516

0,6223

0,0064

1,4442

750

117,3122

118,070

119,4377

119,4517

122,5637

0,7582

1,3654

0,0139

3,1259

1000

120,8540

121,754

124,0974

124,1212

129,3865

0,8998

2,3393

0,0237

5,2891

2000

142,6321

144,335

152,0348

152,0348

168,6001

1,7029

7,6852

0,0768

16,5652

Таблица 2

Q, тыс. куб. м./сут.

Рз.в., ата

Рз.п., ата

Рз.баш., ата

Рз.L., ата

Рз.з., ата

дел. Р1, ата

дел. P2, ата

дел. Р3, ата

дел. Р4, ата

200

115,4335

116,115

116,9491

116,9497

116,9611

0,6815

0,8327

0,0006

0,012

500

129,3056

130,529

135,0646

135,0679

135,1289

1,2238

4,5273

0,0033

0,064

750

147,3960

149,263

158,0297

158,0297

158,1526

1,8667

8,7498

0,0063

0,1229

1000

169,3432

171,929

185,3276

185,3371

185,5141

2,5855

13,3719

0,0096

0,1865

2000

276,1375

281,929

316,4718

316,4964

316,9519

5,7919

34,4900

0,0246

0,4801

 

 

 

 

 

 

 

 

 

 

200

113,8601

114,476

114,8538

114,8544

114,8754

0,6163

0,3772

0,0006

0,0216

500

120,3373

121,217

123,4204

123,4240

123,5451

0,8794

2,1995

0,00036

0,1247

750

129,3311

130,556

135,0980

135,1053

135,3527

1,2248

4,5336

0,0074

0,2548

1000

140,8951

142,537

149,8405

149,8522

150,2468

1,6423

7,2896

0,0118

0,4063

2000

202,5168

206,121

226,0702

226,1020

227,1635

3,6040

19,9094

0,03183

1,0934

 

 

 

 

 

 

 

 

 

 

200

113,2172

113,807

113,9958

113,9964

114,0425

0,5895

0,1885

0,0006

0,0467

500

116,4984

117,224

118,3620

118,3659

118,6422

0,7251

1,1361

0,0038

0,2801

750

121,2035

122,117

124,5547

124,5628

125,1507

0,9136

2,4333

0,0081

0,5960

1000

127,4765

128,632

132,7075

132,7209

133,6968

1,1552

4,0681

0,0134

0,9893

2000

163,7927

166,201

178,4626

178,5022

178,4626

2,4083

12,2373

0,0397

2,9113

 

 

 

 

 

 

 

 

 

 

200

112,9240

113,501

113,6031

113,6037

113,7472

0,5771

0,1019

0,0006

0,1441

500

114,7096

115,361

115,9863

115,9902

116,8642

0,6516

0,6223

0,0039

0,8779

750

117,3122

118,070

119,4378

119,4462

121,3433

0,7582

1,3654

0,0085

1,9055

1000

120,8540

121,754

124,0974

124,1118

127,3321

0,8998

2,3393

0,0144

3,2347

2000

142,6321

144,335

152,0348

152,0814

162,2829

1,7029

7,6852

0,0466

10,2481

Прежде всего отметим, что диаметры фонтанных труб во всех расчетах идентичны и равны dф. = 76,2; 88,9; 101,6 и 114,3 мм.

Анализы результатов расчетов, приведенных в табл. 1 и 2 показывают, что в значительном числе вариантов расчетов забойное давление в горизонтальной части ствола изменяется существенно и поэтому не может быть принято постоянным по длине горизонтальной скважины.

Если исходить из величины изменения забойного давления по длине, Рз.баш., Рз.L и Рз.з. то нельзя считать при:

диаметре фонтанных труб dф. = 76,2 мм и в интервале изменения дебита 200 £ Q £ 2000 тыс. куб. м./сут. постоянными значения Рз.баш., постоянными можно считать Рз.L.. и Рз.з. при dф. = 76,2 мм, а также при dф. = 88,9 мм, Рз.з. но в диапазоне изменения дебита 0 < Q £ 750 тыс. куб. м./сут.;

диаметре фонтанных труб dф. = 101,6 мм и в интервале 200 < Q £ 2000 тыс. куб. м./сут. постоянным значения Рз.баш.;

диаметре фонтанных труб dф. = 114,3 мм в интервале 500 < Q < 2000 тыс. куб. м./сут. постоянным значения Рз.баш. и Рз.з. в интервале изменения дебита 200 < Q £ 2000 тыс. куб. м./сут.;

диаметрах фонтанных труб dф. = 76,2; 88,9; 101,6; 114,3 мм постоянным по всей длине ствола скважины во всем диапазоне изменения дебита можно считать Рз.L..

При нелинейном изменении дебита по стволу скважины потери давления оказываются чуть ниже, чем при линейном характере изменения дебита.

При диаметре фонтанных труб dф. = 76,2 мм постоянными можно считать Рз.L., а также Рз.з. в диапазоне изменения дебита 0 < Q < 2000 тыс. куб. м./сут. Потери давления в фонтанных трубах с конца искривленного участка до башмака фонтанных труб составляют DР2 = 0,83 ama при дебите Q = 200 тыс. куб. м./сут. и доходят до DР2 = 34,5 ата при дебите Q = 2000 тыс. куб. м./сут. Это может создать определенные трудности при эксплуатации горизонтальных скважин с такой конструкцией. Максимальные потери в затрубном пространстве достигаются, когда в скважину спущены фонтанные трубы диаметром dф. = 114,3 мм, DР4 = 10,25 ama.

Приведенные результаты позволяют установить диапазоны изменения дебита, при котором забойное давление по длине горизонтального ствола может быть принято постоянным и использовано при обработке результатов исследования методом установившихся отборов.

Список использованной литературы

1. Гриценко А.И., Алиев З.С., Ермилов О.М. и др. Руководство по исследованию скважин. - М., Наука, 1995. - С. 523.

2. Алиев З.С., Шеремет В.В. Определение производительности горизонтальных скважин, вскрывших газовые и газонефтяные пласты. - М., Недра, 1995. - С. 132.

СОДЕРЖАНИЕ

Введение. 1

1. Определение забойного давления в наклонной скважине. 1

2. Определение забойного давления в горизонтальных скважинах. 3

3. Определение забойного давления при конструкции горизонтального ствола без фонтанных труб в горизонтальной части и с большим радиусом кривизны.. 4

4. Определение забойного давления при конструкции горизонтального ствола скважины с большим радиусом кривизны и частично оборудованной фонтанными трубами. 5

5. Определение забойных давлений при конструкции горизонтальной скважины со средним радиусом кривизны.. 8

6. Определение забойного давления для конструкции горизонтальной скважины с малым радиусом кривизны.. 8

Исходные данные и примеры расчета изменения забойного давления в горизонтальной скважине. 9

Список использованной литературы.. 13

 




Rambler's Top100 Яндекс цитирования
  Copyright © 2008-2026, www.docload.ru