Бесплатная библиотека стандартов и нормативов www.docload.ru

Все документы, размещенные на этом сайте, не являются их официальным изданием и предназначены исключительно для ознакомительных целей.
Электронные копии этих документов могут распространяться без всяких ограничений. Вы можете размещать информацию с этого сайта на любом другом сайте.
Это некоммерческий сайт и здесь не продаются документы. Вы можете скачать их абсолютно бесплатно!
Содержимое сайта не нарушает чьих-либо авторских прав! Человек имеет право на информацию!

 

Общероссийский общественный Фонд
«ЦЕНТР КАЧЕСТВА СТРОИТЕЛЬСТВА»
Санкт-Петербургское отделение

 

В.Т. Гроздов

ТЕХНИЧЕСКОЕ ОБСЛЕДОВАНИЕ
СТРОИТЕЛЬНЫХ КОНСТРУКЦИЙ,
ЗДАНИЙ И СООРУЖЕНИЙ

Санкт-Петербург
1998

Общероссийский общественный Фонд
«ЦЕНТР КАЧЕСТВА СТРОИТЕЛЬСТВА»
Санкт-Петербургское отделение

Гроздов Вячеслав Тихонович

Техническое обследование строительных конструкций зданий и сооружений. - Санкт-Петербург, «Центр качества строительства», 1998.

Редакционная коллегия:

Берников Д.В., Летчфорд А.Н., Платонов С.А., Яковенко И.П.

Рассмотрены задачи и методы технического обследования зданий и сооружений, даны рекомендации по выполнению поверочных расчетов строительных конструкций (с учетом наличия выявленных при обследовании дефектов конструкций) и составлению заключения по результатам технического обследования.

Книга рассчитана на инженерно-технических работников проектных, ремонтно-строительных и эксплуатационных организаций.

Рецензенты: кандидат технических наук, доцент А.П. Овсянников кандидат технических наук Ю.П. Стриганов.

ВВЕДЕНИЕ

Понятия, связанные с техническим обследованием зданий и сооружений, в литературных источниках имеют различные толкования и обозначаются различными терминами. А.И. Суббето /71/ под понятием «обследование» понимает процесс контроля, испытаний, анализа и оценки: «возрастной структуры» пассивной и активной части основных фондов; характера и объема разрушений в послеаварийной ситуациях; возможностей восстановления, реконструкции, модернизации, расширение объектов; возможных стратегий научно-технического обновления; состояния внешней и внутренней «экономической среды»; уровня загрязненности производства; степени агрессивности загрязнений; возможности утилизации отходов и т.п. А.И. Суббетто рассматривает техническое и инженерно-геологическое обследования как две самостоятельные «системы блоков», из семи обследований: № 1 экономического, № 2 - экологического, № 3 - социального, № 4 - эргомического, № 5 - научно-технического, № 6 - технического (архитектурно-строительного), № 7 - инженерно-геологического. Наличие или отсутствие тех или иных блоков по А.И. Суббето формирует представление о полноте «комплексного обследования».

Среди терминов, связанных с процессом технического обследования, наиболее часто встречается понятие «диагностика» /71, 74/. Диагностика по А.И. Суббето выступает, с одной стороны, как часть «обследования», а с другой - как достаточно самостоятельный предмет теории.

В справочнике /74/ вообще отсутствует понятие «обследование» а рассматривается «техническая диагностика». Она определяется как отрасль научно-технических знаний, сущность которых составляют теория, методы и средства обнаружения, а также поиск дефектов объектов технической природы. Под дефектом при этом подразумевается любое несоответствие свойств объекта заданным, требуемым или ожидаемым его свойствами. Обнаружение и поиск дефектов - это процессы определения технического состояния объекта, объединяющиеся под общим термином «диагностирование». Результатом последнего является «диагноз».

В справочном пособии /73/ техническая диагностика определяется как научная дисциплина, изучающая технические системы (в том числе здания и сооружения, а также их элементы), устанавливающая причины возникновения отказов и повреждений, разрабатывающая методы их обнаружения и оценки. Главной задачей диагностики как науки является разработка методов и средств получения всеобъемлющей информации о техническом состоянии объектов. Конечная цель диагностики зданий и сооружений состоит в мотивированном заключении о техническом состоянии отдельных инструкций и зданий в целом, их эксплуатационной пригодности, в получении сведений о том, какие отклонения от нормы имеются и где. Такое толкование технической диагностики совпадает с источником /74/.

У некоторых авторов /3, 38/ употребляется термин «техническая экспертиза», который по своей сути близок к понятию «техническая диагностика». Во многих литературных источниках применяются термины «обследование», «техническое обследование» /28, 32, 40, 69, 73 и д.р./. В технической литературе, посвященной эксплуатации зданий /27, 57/, используется термин «осмотр конструкции», который близок к понятию «диагностирование». Непосредственно к технической диагностике относится понятие «контроль качества конструкций».

В справочнике /74/ рассматривается три типа задач определения технического состояния объектов. Первый тип составляют задачи определения технического состояния, в котором находится объект в настоящий момент. Это задача диагностирования. Задача второго типа - предсказание технического состояния, в котором окажется объект в некоторый будущий момент времени. Это задача прогнозирования. К третьему типу принадлежат задачи определения технического состояния, состояния, в котором находился объект в некоторый момент времени в прошлом. Это задачи генеза. Авторы /74/ задачи первого типа относят к технической, диагностике, второго - к технической прогностике, а третьего - к технической генетике.

В то же время все эти задачи имеют отношения к техническому обследованию, поскольку в зависимости от цели обследования могут решаться задачи или всех типов одновременно, или только одного либо двух типов. Так, например, при аварии зданий и сооружений определяется эксплуатационное состояние сохранившихся конструкций (техническая диагностика), выявляет состояние конструкций перед аварией (техническая генетика), даются предложения о возможности использования зданий после восстановительных работ (техническая прогностика).

Таким образом, в настоящее время окончательно не сложилась терминология понятий, связанных с определением эксплуатационных качеств зданий и сооружений в период их осмотра, а также в моменты времени в прошлом и будущем.

В предлагаемой книге принято следующее толкование понятий.

Техническое обследование - процесс, который включает в себя контроль, испытания, анализ и оценку конструкций зданий и сооружений в целях выяснения эксплуатационных качеств конструкций, целесообразности ремонта и реконструкции зданий и сооружений, выяснение причин аварий, прогнозирование поведения конструкций в будущем.

Техническое диагностирование - процесс определения технического состояния строительных конструкций. Одна из основных задач диагностирования - выявления дефектов конструкций, выяснения причин их появления и установление влияния дефектов на эксплуатационные качества конструкций.

Техническое прогнозирование - предсказание на основе диагностирования того технического состояния, в котором окажется здание или сооружение в некоторый будущий момент времени.

Техническая генетика - определение на основе диагностирования того технического состояния, в котором находилось здание или сооружение в некоторый момент в прошлом.

Таким образом, в данной книге понятие, «техническое обследование зданий и сооружений» является наиболее общим и включает в себя в качестве составных частей понятия «техническая диагностика», «техническое прогнозирование» и «техническая генетика».

Техническое обследование зданий и сооружений производится в связи с предполагаемой их реконструкцией, обнаружением дефектов строительных конструкций, вызывающих сомнение в их эксплуатационных качествах, после аварий зданий или сооружений, при возобновлении строительства после длительного перерыва в строительно-монтажных работах.

Основанием к проведению технического обследования служит Задание, в котором указываются: мотивы для производства обследования, цель реконструкции, ориентировочно планируемые полезные нагрузки после реконструкции, существующие полезные нагрузки, планировочные решения и условия эксплуатации после реконструкции. В Задании на техническое обследование желательно приводить также донные о возможностях строительных организаций, которое предполагается привлечь к работе по реконструкции и ремонту здания или сооружения, об имеющихся у них строительных материалах, механизмах и др. (см. приложение 1).

До начала обследования следует изучить опыт проектирования и строительства, применявшиеся конструктивные решения, строительные материалы за исторический период, охватывающий время строительства и эксплуатации подлежащих обследованию зданий и сооружений. Обычно работы по обследованию выполняются в два этапа, т.е. проводится 1) предварительное или общее обследование; 2) детальное обследование. Иногда обследование ведется в один этап. Зависит это от задачи, состояния строительных конструкций и квалификации лиц, производящих обследование. Детальное обследование отнимает много времени и обходится дорого, поэтому необходимость в нем должна быть обоснована при предварительном или общем обследовании.

Предварительное или общее визуальное обследование может включать в себя:

- рекогносцировочный осмотр объекта;

- ознакомление с проектной и исполнительной документацией;

- визуальное обследование конструкций;

- выполнение обморочных чертежей;

- выполнение прикидочных поверочных расчетов некоторых конструкций;

- ориентировочную оценку состояния конструкций и объекта в целом;

- разработку плана дальнейших работ по обследованию;

- составление Заключения по результатам предварительного или общего обследования.

Предварительное или общее обследование начинается с осмотра конструкций здания или сооружения, ознакомления с технической документацией и другими материалами, помогающими составить представление об изучаемом объекте.

Изучение проектно-технической документации производится в целях определения периода строительства, времени проведения ремонтов, изменения условий эксплуатации, конструктивного решения здания или сооружения, расчетных нагрузок и воздействий, размещения оборудования, инженерно-геологических условий строительства и эксплуатации.

Помимо проектной документации должны быть изучены акты на скрытые работы, акты передачи в эксплуатацию, паспорта-сертификаты на материалы и сборные элементы, журнал производства работ, паспорт на объект документы о проведенных ремонтах, реконструкциях и др. В период предварительного обследования должны быть установлены отступления от проектных данных по объемно-планировочным, конструктивным решениям, по виду и характеру нагрузок. К сожалению, во многих случаях при обследованиях получить весь перечень необходимых документов не удается. Ценные сведения можно выявить из бесед с рабочими и инженерно-техническим персоналом, обеспечивающими эксплуатацию и технологический процесс обследуемого объекта.

При отсутствии проектно-технической документации или ее некомплектности производят обмеры конструкций и по ним выполняют обмерочные чертежи здания или сооружения. В процессе обморочных работ определяют размеры сечений и положение конструкций в пространстве (привязку к координатным осям и отметкам), условия опирания, конструкцию и качество сопряжении и стыков элементов, деформации конструкций, нарушение сплошности (отверстия, околы, раковины и др.), участки расслоения, увлажнения материалов конструкций и другие дефекты.

По результатам предварительного или общих обследований дают ориентировочную оценку технического состояния строительных конструкций и намечают программу дальнейшего детального обследования. При незначительных дефектах конструкций здания или сооружения и высокой квалификации производящего обследование специалиста на основе результатов общего обследования может быть сделана окончательная оценка технического состояния строительных конструкций.

Детальное визуально-инструментальное обследование объекта в наиболее общем виде включает в себя:

- изучение проектной и исполнительной документации;

- геологические и гидрогеологические изыскания;

- геодезические работы;

- взятие проб материала и их испытания;

- проведение неразрушающих испытаний обследуемых конструкций;

- выполнение поверочных расчетов конструкций;

- оценку состояния строительных конструкций и обследуемого объекта в целом;

- составление Заключения по результатам детального обследования.

Детальное обследование производится с целью сбора окончательных обоснованных сведений для оценки технического состояния строительных конструкций. На основании этого обследования делается выбор конструктивного решения при реконструкции зданий и сооружений, а также усиления дефектных конструкций.

При детальных обследованиях:

- ставится задача получить уточненные данные о положении в плане и по высоте, сечении конструкций, значениях физико-механических характеристик материалов, дефектах конструкций, эксплуатационной среде, полезных нагрузках;

- принимается расчетная схема несущих конструкций;

- производятся поверочные расчеты элементов конструкций и сооружений в целом;

Инженерно-геологические изыскания выполняются при отсутствии рабочих чертежей фундаментов, исполнительных документов по их возведению и материалов об инженерно-геологических условиях площадки строительства обследуемого объекта, а также при расположении объекта на грунтовом основании, сложном в инженерно-геологическом отношении.

Детальное обследование конструкций бывает сплошным или выборочным.

Сплошное обследование производится в случаях, когда:

- отсутствует проектная документация;

- имеются дефекты конструкций, снижающие их несущую способность;

- в однотипных конструкциях неодинаковы свойства материалов, условия погружения, действие агрессивной среды.

Если в процессе сплошного обследования обнаруживается, что не менее 20% однотипных конструкций при общем их количестве более 20 находится в удовлетворительном состоянии, то допускается оставшиеся непроверенными конструкции обследовать выборочно. Объем выборочно обследуемых элементов должен определяться из конкретных условий (не менее 10% однотипных конструкций, но не менее трех) /50/.

После выполнения основных этапов обследования производится оценки технического состояния строительных конструкций, которая включает анализ результатов испытаний материалов и конструкций, окончательное определение нагрузок и воздействий, проведение поверочных расчетов несущих конструкций с учетом выявленных в них дефектов.

Итогом проведенного технического обследования является Заключение по результатам обследования здания или сооружения, в котором дается общая оценка эксплуатационного состояния объекта, приводятся рекомендации по дальнейшему его использованию и наблюдению за строительными конструкциями, а также предложения по усилению конструкций.

При выполнении работ по обследованию строительных конструкции необходимо вести строгий учет полученных данных в специальных журналах, оформлять акты обследований на различные виды работ, проводить фотофиксацию дефектов.

Глава 1. МЕТОДЫ ТЕХНИЧЕСКОГО ОБСЛЕДОВАНИЯ ЗДАНИЙ И СООРУЖЕНИЙ

При обследовании применяют визуальные и визуально-инструментальные методы. В случае визуального обследования используют простейшие инструменты: рулетки, отвесы, уровни, молотки, скарпели, дрели. При обследовании высоких зданий полезным является бинокль.

Для визуально-инструментального обследования кроме простейших приборов и инструментов применяют нивелиры, теодолиты, оборудование для проходки скважин, приборы и приспособления для разрушающих методов контроля материалов и др.

Предварительное или общее обследование выполняют с помощью визуальных и, частично, визуально-инструментальных методов. В случае детального обследования наряду с визуальными обязательно применение визуально-инструментальных методов.

Поскольку одной из основных целей технического обследования является выявление дефектов строительных конструкций и установление причин их возникновения, то лица, производящие обследование, должны быть хорошо знакомы с возможными дефектами обследуемых конструкций. Имеется достаточно обширная литература, посвященная описанию дефектов строительных конструкций и причин их появления, а также оценке влияния дефектов на эксплуатационные свойства конструкций /2...10, 12...23, 27, 28, 30, 34, 38, 40, 44, 46, 53, 67, 73, 77, 78 и др./.

1.1. Визуальные методы технического обследования

В основе визуального обследования лежит осмотр здания или сооружения и отдельных конструкций с применением простейших приборов, не требующих специальных знаний для обращения с ними. При визуальном обследовании обнаруживаются видимые дефекты, производятся обмеры, зарисовки и фотографии дефектных мест, выявляются места, которые нужно обследовать более подробно с помощью диагностических инструментов.

Визуальное обследование, выполненное квалифицированными специалистами, позволяет получить значительный объем информации о состоянии конструкций и сооружений.

Основными инструментами визуального обследования являются: мерные ленты, рулетки, линейки, штангенциркули, отвесы, уровни, градуированные лупы и мерные микроскопы для выявления и измерения трещин, фотоаппараты со вспышкой, бинокли, дрели, перфораторы, молотки, топоры.

1.1.1. Визуальное обследование территории, прилегающей к обследуемому зданию или сооружению

При осмотре территории оценивают благоустройство участка, его вертикальную планировку, организацию отвода поверхностных вод, состояние подъездов, тротуаров, отмосток. Выявляют: недостаточные уклоны отмосток, тротуаров, проездов, не обеспечивающие отвод воды от стен зданий и с прилегающей территории; разрушение или просадка отмосток, тротуаров; выбоины на проезжей части; щели в местах примыкания отмосток, тротуаров; наличие подсыпки грунта у стен здания выше уровня гидроизоляции стен и т.п. Изучают возможность проникновения подземных вод под фундаменты здания или сооружения.

1.1.2. Визуальное обследование фундаментов зданий и сооружений

Признаками деформации грунтов основания или неисправности фундаментов являются: крен какой-либо стены или всего здания в целом; вертикальные или наклонные трещины в стенах; распространяющиеся, как правило, не менее чем на 2/3 высоты здания; трещины в перемычках, перемычечных блоках или стеновых панелях; отрыв наружных стен от внутренних; искривление рядов кладки, карнизов; трещины в швах крупнопанельных и крупноблочных зданий; сколы сопрягающих граней плит перекрытий и покрытия здания; трещины в полах и плитах перекрытий, распространяющиеся по всей толщине перекрытия и расположенные на всех этажах по одной вертикали; перекосы и смещения с опор лестничных площадок и маршей; заклинивание дверей и ворот вследствие перекоса проемов; наклоны и перекосы ферм, колонн, подкрановых балок и других конструкций каркаса; трещины, разрывы и другие повреждения в узлах соединения элементов несущих конструкций; раскрытие и сужение деформационных швов, меняющиеся по высоте здания; отрыв от стен отмостки, тротуара или примыкающего дорожного покрытия.

Для визуального обследования фундамента требуется его частичное вскрытие. С этой целью рядом с фундаментом устраиваются шурфы. Шурф делается такого сечения, чтобы были обеспечены нормальные условия для его отрывки на требуемую глубину. По возможности следует заглублять дно шурфа на 10 см ниже подошвы фундаментов. Однако при значительном притоке подземных вод добиться этого обычно не удается. Открытый водоотлив из шурфа допустим только на очень короткое время. В противном случае вместе с водой из-под подошвы фундаментов будут удаляться частички грунта, что может привести к неравномерной их осадке. Поэтому шурф должен докапываться на намеченную глубину непосредственно перед обследованием фундамента специалистом.

При глубине шурфа более 1,5 м необходимо устанавливать крепление его стенок.

Количество шурфов определяется конструкцией здания, наличием следов деформации его надземной части, грунтовыми условиями. Шурфы обычно предусматриваются у трещин в стенах и фундаментах здания, у наружных и внутренних стен. Устройство шурфов у наружных стен изнутри здания и у внутренних стен при отсутствии подвала часто затруднено, так как нарушает нормальную эксплуатацию помещений первого этажа.

В шурфах производится осмотр поверхности фундаментов, оценка качества кладки, состояние растворных швов; выявляется наличие раковин в бетоне; замеряются трещины в фундаменте, геометрические размеры фундаментов; производится фотофиксация состояния фундаментов; берется проба грунта ниже подошвы фундаментов. После окончательного осмотра фундамента шурф должен быть быстро засыпан с послойным трамбованием грунта, а отмостка или полы в подвале - восстановлены.

Следует иметь в виду, что пред отрывкой шурфов и бурением разведочных скважин необходимо получить разрешение соответствующих организаций на производство этих работ. В противном случае возможно нарушение целостности электрических и телефонных кабелей и сетей водоснабжения и канализации.

1.1.3. Визуальное обследование кирпичных стен и столбов жилых, общественных и промышленных зданий

Основной задачей осмотра кирпичных стен является выявление в них дефектов и выяснение причин их образования.

При изучении проекта можно определить такие дефекты, как применение в пределах одного этажа различных марок кирпича и раствора, что дает большую вероятность появления участков кладки с недостаточной прочностью /2, 10/.

По проекту также можно выяснить степень пространственной жесткости здания (наличие в достаточном количестве поперечных стен). Следует обратить внимание на проектное армирование стен, узлы опирания балок, прогонов и плит на стены, анкеровку перекрытий в стенах, места расположения и конструктивное решение температурных швов. Например, если несущий кирпичный столб частично перерезывается железобетонным (рис. 1.1.), то это приводит к эксцентриситету передачи усилия в столбе, когда вместо всего поперечного сечения столба работает только одна часть, соприкасающаяся с железобетонной конструкцией /2, 10/.

В зданиях с влажными условиями эксплуатации (банях, прачечных) должно быть рассмотрено проектное решение по пароизоляции стен.

При осмотре кирпичных стен должны быть выявлены и зафиксированы все трещины и участки с повышенной влажностью, толщина растворных швов, качество перевязки швов, отвестность и прямолинейность углов кладки и откосов проемов, выпучивания и искривление стен, армированные швы, участки стен с расслоением по вертикали, выкрашивания кирпича и раствора, разрушение из-за вымораживания нижней части цоколя, а также штукатурки и облицовки.

Большой объем информации о состоянии кирпичной кладки дают трещины. Все трещины в кладке можно разделить на три вида: 1) трещины, вызванные перегрузкой стен; 2) трещины, образовавшиеся из-за неравномерной осадки фундамента; 3) трещины, вызванные температурными деформациями. Все они по разному влияют на несущую способность каменных конструкций.

Трещины от перегрузки участков кладки стен могут вызвать обрушение этих участков и расположенной выше кладки.

Рис. 1.1. Неудачное опирание кирпичного столба:

часть сечения столба 1 опирается на железобетонную конструкцию 2, часть - на менее жесткую кирпичную кладку 3

Трещины от неравномерной осадки фундаментов ослабляют места сопряжения отдельных элементов, нарушают пространственную жесткость здания, увеличивают воздухопроницаемость стен.

Трещины температурного происхождения ослабляют участки стен под опорами балок и перемычек, а в торцевых участках здания они по отрицательным последствиям аналогичны трещинам от неравномерной осадки фундаментов.

Важно уметь определить причину появления трещин и с точки зрения оценки их влияния на эксплуатационные качества стен, и с точки зрения правильного выбора метода устранения отрицательных последствий.

Трещины, вызванные перегрузкой участка стен, как правило, вертикальные, имеют малое раскрытие, расположены на небольшом расстоянии друг от друга (рис. 1.2,а). Эти трещины часто сопровождаются выпучиванием версты и вертикальным расслоением кладки.

Трещины, образовавшиеся от неравномерной осадки, фундамента, чаще имеют наклонное направление, значительное раскрытие, расположены на большом расстоянии друг от друга (рис. 1.2,б). Вертикальное расслоение кладки при этом обычно не встречается.

При деформации здания в виде прогиба или перегиба (выгиба) осадочные трещины, как правило, не проходят по всей высоте здания. Трещин не бывает в сжатой зоне кладки (вверху при прогибе и внизу при перегибе). В случае перекоса трещины проходят по всей высоте стены (рис. 1.2,в).

При различной осадке фундаментов под противоположными стенами здания возникает деформация кручения. При этом трещины на противоположных стенах получают наклон в разных направлениях. Следует иметь в виду, что при неравномерной осадке фундаментов могут возникать и трещины от перегрузки стен в результате перераспределения усилий между участками стен.

Трещины, температурного происхождения обычно бывают у торцов здания и у торцов перемычек и заходят по наклонным направлениям в простенок и в перемычечный пояс кладки (рис. 1.2,г). В результате многократного повторения температурного воздействия температурные трещины, расположенные у торцевых стен, могут получить значительное (до нескольких сантиметров) раскрытие.

Рис. 1.2. Схемы трещин, вызванных:

а - перегрузкой; б - неравномерной осадкой фундаментов; в - деформацией перекоса; г - температурным воздействием: 1 - трещины; 2 - перемычки

Осмотр трещин в стенах, возникших вследствие перегрузки, дает полную информацию о состоянии кладки. Первичный осмотр трещин, вызванных неравномерной осадкой фундамента и перепадом температуры, позволяет определить их происхождение и раскрытие, но не дает возможность выяснить, произошла или нет стабилизация деформации. Для получения представления о динамике развития трещин и их стабилизации на стены устанавливают маяки. На каждую трещину ставят не менее двух маяков; один - в месте максимального развития трещины, другой - в месте начала ее развития. Маяки чаще всего изготавливают из гипса (алебастра). На наружных поверхностях стен иногда делают цементные маяки. Маяки могут быть также стеклянными и металлическими.

Гипсовые (цементные) маяки устанавливают на очищенную от штукатурки поверхность стены. Маяки должны иметь уширения на концах (типа восьмерки) (рис. 1.3,а). Толщина гипсового маяка у трещины должна быть минимальной (6...8 мм).

Стеклянные маяки также имеют уширения на концах и по периметру скреплены с поверхностью стены гипсовым раствором (рис. 1.3,б).

Рис. 1.3. Схемы, маяков на трещинах:

а - гипсовый (цементный); б - стеклянный; в, г - металлические: 1 - трещина; 2 - штукатурка; 3 - стена; 4 - гипсовый, раствор

Металлические маяки изготавливают из двух полосок кровельной стали (рис. 1.3, в) и наклеивают на очищенную поверхность стены синтетическим клеем или прибивают гвоздями. Узкая полоска должна иметь нахлестку на широкую полоску. Маяк из оцинкованной стали окрашивают масляной краской. На более широкой полоске наносят риски через 1 мм.

На рис. 1.3,г показан вариант металлического маяка из кровельной стали. Прямоугольную пластину первоначально окрашивают в красный цвет. После установки второй (П - образной) пластины весь маяк окрашивают белой краской так, что красная краска сохраняется только под П-образной пластиной. Взаимное смещение пластинок обнаруживают по следу разных красок и измеряют металлической линейкой со скошенным краем.

Точность измерения 0,2...0,3 мм. На маяках ставят номер и дату. Данные заносят в специальный журнал наблюдений за маяками.

С помощью гипсовых (цементных) маяков можно установить только факт продолжения развития деформаций (образование трещины на маяке) и замерить раскрытие трещины.

Металлические маяки с рисками позволяют выявить значения как раскрытия, так и закрытия трещин.

Деформации раскрытия и сдвиги вдоль трещины можно определить индикатором мессурой с ценой деления 0,1 мм, используя стальные штыри с центрирующим устройством (высверленных или выбитых керном углублений). Штыри заделывают по обе стороны трещины на расстоянии 60...100 мм от нее. Если металлический маяк установлен в трудно доступном месте, то показания его шкалы можно снимать на расстоянии с помощью бинокля, теодолита или зрительной трубы.

Необходимо следить не только за раскрытием трещин, но и за их удлинением. С этой целью, после того как произошло удлинение трещины, на ее конец ставят новый маяк.

При анализе поведения маяков следует иметь в виду, что трещина в кладке становится естественным температурным швом. Установленный на ней маяк будет регистрировать не только деформации от неравномерной осадки фундамента, но и температурные. Поэтому при перепадах температуры даже при отсутствии неравномерной осадки фундаментов в маяке практически всегда будут возникать волосные трещины.

Необходимо постоянно проверять, не произошел ли отрыв маяка от поверхности стены. В случае отрыва устанавливают новый маяк.

Ширину раскрытия трещин измеряют следующим образом: при раскрытии более 2 мм - масштабной линейкой (точность измерения 0,3 мм); при раскрытии менее 2 мм - целлулоидными или бумажными трафаретами с нанесенными на них линиями толщиной 0,05....2 мм. Краями трещину совмещают с соответствующей линией на трафарете.

Более точно ширину раскрытия трещин (но не для каменных конструкций это редко требуется) можно определить с помощью градуированной лупы или мерного микроскопа (МИР - 2; МПБ - 2) с 2,5...24-кратным увеличением.

Глубину несквозных трещин в кладке находят по следу на поверхности керна, высверленного из тела конструкции, и с помощью стальных комбинированных щупов.

Качество перевязки швов кладки, прямолинейность ее и вертикальность стен позволяет судить о квалификации каменщиков, что важно для оценки прочности кладки.

Вертикальность углов и участков стен устанавливают при визуальном обследовании с помощью отвесов и вертикальных уровней.

Соосность участков стен, разделенных перекрытием, можно найти, используя два отвеса (рис. 1.4). Несоосность осей стен при этом вычисляют по формуле:

е=алв1 - aлн2 + (h1 - h2)/2                                                       (1.1)

Выпучивание и искривление стен определяют с помощью стальной проволоки, натянутой вдоль стены горизонтально и вертикально, или деревянной рейкой. От проволоки или рейки измеряют расстояние до поверхности стены.

Толщину стены при отсутствии доступа к ее другой стороне можно найти, просверлив в ней сквозное отверстие (зондирование).

С помощью зондирования определяют состояние отдельных слоев кладки по глубине стены.

Рис. 1.4 Схема измерения соосности и отклонения от вертикали стен и столбов, разделенных перекрытиями:

1 - стена (столб) нижнего этажа; 2 - стена (столб) второго этажа; 3 - точки подвески отвесов; 4 - отверстия в перекрытии; 5 - отвесы; 6 - сосуд с водой

Расслоение кладки по высоте легко определяется простукиванием стены с поверхности. Если звук удара глухой, то в толще стены имеется или вертикальное расслоение, или пустота (канал). При наличии пустоты (канала) глухой звук получается только в пределах этой пустоты. У краев пустоты звук будет звонкий. При вертикальном расслоении кладки глухой звук прослушивается по всему участку стены (например, по всей поверхности простенка или столба). Строители говорят, что при вертикальном расслоении кладки она «бухтит».

Если арматура кладки не выходит на ее поверхность, то характер армирования можно определить только путем частичной расчистки швов.

Прочность кладки при визуальном обследовании находят взятием образцов кирпича и раствора.

Опытный специалист может ориентировочно установить прочность кирпича путем его раскалывания молотком, а прочность раствора - царапаньем гвоздем. Ошибки в определении прочности кирпича и раствора при этом незначительно скажутся на определении прочности кладки (при изменении прочности кирпича в 3 раза прочность кладки меняется приблизительно в 1,7 раза, а при изменении прочности раствора в 4 раза, прочность кладки изменяется в 1,2 раза /10/.

1.1.4. Визуальные методы обследования стен крупнопанельных и крупноблочных жилых, общественных и промышленных зданий

При визуальном обследовании стен крупнопанельных и крупноблочных зданий выявляются: смещение и перекосы стеновых панелей (блоков) в плоскости и из плоскости стен; трещины в панелях (блоках) от силовых, температурных и влажностных воздействий и от неравномерной осадки фундаментов; разрушение наружных слоев панелей вследствие попеременного замораживания и оттаивания; коррозия закладных и накладных крепежей деталей в стыках и арматуры панелей; толщина, прочность и однородность горизонтальных растворных швов; протекание и высокая воздухопроницаемость вертикальных швов в результате разрушения элементов заделки стыков (изоляционного слоя, цементного раствора, уплотняющих прокладок и герметизирующих мастик).

Трещины в панелях и блоках имеют тот же характер, что и трещины в кирпичных стенах. Силовые трещины расположены вертикально на близком расстоянии друг от друга и часто сопровождаются внутренними трещинами - расслоением материала по вертикали. Температурные трещины обычно располагаются у перемычек оконных и дверных проемов. Трещины от неравномерной осадки фундаментов являются, как правило, сквозными, проходят по углам проемов и их подъем направлен в сторону больших осадок фундамента (рис. 1.5).

При неравномерной осадке фундаментов происходит, кроме того, значительное раскрытие вертикальных швов стен. Для наблюдения за развитием трещин ставятся маяки. Делается это так же, как и на кирпичных стенах.

Рис. 1.5. Схема трещин в стене крупнопанельного здания от неравномерной осадки фундаментов:

1 - поперечный фундамент, давший осадку большую, чем примыкающие фундаменты; 2 - насыпной грунт; 3 - трещины

Состояние закладных деталей и связей определяется выборочным вскрытием узлов сопряжения панелей друг с другом и с перекрытиями.

О неблагополучии с закладными деталями можно судить и без вскрытия узлов по внешним признакам интенсивной коррозии (ржавчина на внутренней и наружной поверхности стен; разрушение защитного слоя бетона; деформации, сопровождающиеся выходом из плоскости стен отдельных наружных панелей; трещины с раскрытием более 1,5 см).

Прочность раствора швов определяется так же, как и в кирпичных стенах.

Поскольку современные Нормы /41/ требуют, чтобы крупнопанельное здание было устойчиво к прогрессирующему (цепному) разрушению в случае локального воздействия (взрыва газа или других взрывоопасных веществ, пожара и т.п.), то при обследовании крупнопанельных зданий необходимо выявить наличие конструктивных элементов, стремящихся не допустить такого разрушения.

Препятствием к прогрессирующему разрушению крупнопанельных здания является наличие связей, перемычек и швов специальных конструкций. Связи должны разрушаться пластически, т.е. при больших абсолютных деформациях. Чтобы не допустить выкалывания бетона и разрушения сварных швов при больших деформациях связей, анкеровка закладных деталей и сварных соединений рассчитывается на усилие в 1,6 раза больше, чем сама связь. Швы должны иметь шпонки, прочность которых на срез в 1,5 раза больше, чем их прочность на сжатие. Предусматриваются специальные металлические связи, работающие в плоскости перекрытия на растяжение и сдвиг, а также междуэтажные связи, обеспечивающие работу горизонтальных стыков между перекрытиями и стенами на растяжение и сдвиг.

При визуальном обследовании крупнопанельных и крупноблочных стен применяются те же инструменты, что и при обследовании кирпичных стен.

1.1.5. Визуальные методы обследования железобетонных конструкций в жилых, общественных и промышленных зданиях

До визуального обследования железобетонных конструкций желательно изучить проект здания или сооружения в целях установления их конструктивной схемы, конструкций узлов сопряжении, места и конструкции температурных и осадочных швов, а также вертикальных и горизонтальных связей.

При визуальном обследовании железобетонных конструкций выявляют: отклонение вертикальных элементов от вертикали и горизонтальных от горизонтали (наклоны, прогибы): смещение отдельных элементов в плане; геометрические размеры сечений; дефекты бетонирования (раковины и скопление инертных, слабо связанных между собой); наличие трещин, механических повреждений, смещений в местах сопряжения элементов друг с другом и с другими конструкциями; растрескивания и отслоение защитного слоя бетона; коррозию арматуры; нарушение сцепления бетона с арматурой; увлажненные участки; карбонизацию бетона.

При осмотре подкрановых конструкций проверяют: зоны крепления подкрановых балок к колоннам и тормозных балок к подкрановым; узлы крепления рельсов к балкам; соосность рельсов и подкрановых балок; исправность подкрановых путей (отсутствие недопустимых сужений или расширений колеи, перекосов и дефектов профиля); наличие всех элементов решетчатых конструкций балок (ферм) и связей.

Определяя причины недопустимых прогибов изгибаемых элементов следует иметь в виду, что трещины при недостаточной несущей способности обычно сильно раскрыты на внешней стороне кривой прогиба. Наличие слабо раскрытых трещин и недопустимого прогиба свидетельствует о малой изгибной жесткости элемента при его достаточной несущей способности. Наличие же недопустимого прогиба при отсутствии трещин скорее всего говорит об изначальном искривлении элемента, полученном в процессе его формования.

Трещины, в бетоне выявляют путем визуального осмотра поверхности конструкций с выборочным снятием защитных покрытий (шпаклевки, окраски, штукатурки, облицовки). Фиксируют характер и расположение трещин, а также ширину и глубину их раскрытия. Ширину раскрытия трещин определяют градуированной лупой или мерным микроскопом. Глубину трещины, как и в кирпичных конструкциях, устанавливают по следу на поверхности керна, высверленного из тела конструкции. Измерение глубины трещин с помощью стальных комбинированных щупов дает заниженное значение глубины трещины.

Трещины в железобетонных конструкциях могут быть вызваны: воздействием нагрузки, усадки, температуры; неравномерной осадкой фундаментов; влиянием арматуры.

Раскрытие трещин в растянутой зоне элементов, вызванных воздействием нагрузки, регламентируется Нормами /63/. Если нормальные трещины в изгибаемых элементах раскрыты выше допустимых нормами пределов для элементов без предварительного напряжения арматуры более 0,3...0,5 м), то это говорит о перегрузке конструкции. Раскрытие трещин в изгибаемых элементах до 0,5...1 мм свидетельствует об образовании пластических деформаций в арматуре вследствие их перегрузки. Раскрытие трещин более 1 мм является признаком аварийного состояния конструкции.

Наклонные трещины на приопорных участках изгибаемых элементов, скрытые свыше допустимых нормами пределов (для элементов без предварительного напряжения арматуры более 0,5 мм), свидетельствуют о недостаточной несущей способности по поперечной силе или о недостаточной анкеровке продольных стержней на опоре.

Наличие на приопорном участке изгибаемого предварительно напряженного элемента наклонной трещины, выходящей на нижнюю грань края опоры, означает потерю анкеровки предварительно напрягаемой арматуры. О том же говорят и трещины у торца конструкции, идущие вдоль предварительно напряженной арматуры иногда со скалыванием лещадок по бокам. Некоррозионные и неусадочные трещины, расположенные в сжатой зоне, направленные вдоль действующего усилия и сопровождающиеся выколом лещадок, свидетельствуют о большой перегрузке конструкции и ее аварийном состоянии.

Усадочные трещины в отдельных железобетонных элементах обычно располагаются на их поверхности, не проникая на большую глубину. Образовываются они в период твердения и набора прочности бетона при плохом уходе за железобетонной конструкцией в этот период. Края этих трещин часто имеют округлую форму. В протяженных монолитных железобетонных сооружениях и в статически неопределимых конструкциях, в результате усадки бетона могут возникнуть сквозные трещины, пересекающие все сооружение или проходящие по границе стыка одного элемента сооружения с другим.

Температурные трещины образуются в железобетонных конструкциях при значительной их протяженности, большом перепаде температуры и отсутствии или редком расположении температурно-усадочных швов. Эти трещины пересекают все сечение конструкции. Они могут иметь значительное раскрытие.

При недопустимой по значению неравномерности осадки фундаментов в статически неопределимых конструкциях возникают трещины, аналогичные трещинам от воздействия нагрузки.

Если сжатая продольная арматура закреплена поперечной арматурой в точках, удаленных друг от друга больше, чем это допускают Нормы /63/, то может произойти потеря устойчивости сжатых стержней с выколом защитного слоя бетона. При этом образуются трещины, расположенные вдоль сжатых стержней.

Аналогичные трещины появляются вдоль арматуры, подвергшейся коррозии с увеличением объема.

При близком расположении арматурных стержней к поверхности конструкции часто возникают усадочные трещины вдоль этих стержней.

Следует иметь в виду, что поперечные трещины в железобетонных конструкциях могут образовываться при распалубке и в результате неправильного складирования и перевозки.

В элементах, имеющих рабочую арматуру с одной стороны (если эта арматура попала при складировании в сжатую зону сечения), могут образовываться сильно раскрытые трещины почти по всей высоте поперечного сечения элемента. Трещины, возникшие в период распалубки сборного элемента в результате нарушения технологии распалубки или дефекта опалубочной формы, обычно располагаются в углах элемента и у отверстий в нем. Эти трещины всегда снижают жесткость элемента, а иногда и уменьшают его несущую способность.

Трещины от воздействия нагрузки (от перегрузки элемента), усадки и температуры дают полную информацию о состоянии элемента при разовом осмотре конструкции.

Трещины от неравномерной осадки фундаментов требуют длительного наблюдения, поэтому на них следует устанавливать маяки по типу, приведенному в п. 1.1.3. Маяки нужно ставить на трещину в случае появления сомнений в правильности определения причины ее возникновения.

Размеры сечения балок получают с помощью их измерения линейками или рулетками. Толщину плит определяют путем устройства сквозного отверстия сверлением или вырубанием.

Количество арматурных стержней, их диаметр и предполагаемый класс стали устанавливают путем пробивки борозд глубиной до половины диаметра арматурных стержней. В балках и ребрах плит борозды пробивают перпендикулярно к оси балок или ребер в середине пролета и у опор. Для осмотра поперечной арматуры борозды делают вдоль оси балки или ребра снизу или сбоку у опор.

Определить класс арматурной стали можно по внешнему виду с достаточной точностью, если сталь не является высокопрочной периодического профиля.

До 50-х годов употреблялась арматурная сталь круглого профиля. Прочностные ее показатели соответствовали показателям стали марок Ст0, Ст1, Ст2, Ст3 и Ст5. Сопротивление арматурной стали можно принимать по нормам, применявшимся во время возведения конструкции. С 50-х годов начали использовать арматурную сталь класса A-II, а затем и А-III. Арматурная сталь класса A-II, как известно, имеет ребра в виде трехзаходной винтовой линии, а класса A-III - в виде «елочки».

В предварительно наряженных элементах стержневую арматуру классов А-1У...А-У1 по внешнему виду различить нельзя. Высокопрочную арматуру классов B-II, Вр-II и К-7 определить по внешнему виду не представляет сложности.

Работу по пробивке борозд нужно производить осторожно, предварительно максимально разгрузив осматриваемую конструкцию. После осмотра конструкции пробитые борозды следует тщательно зашпаклевать цементным раствором. Желательно применять шпаклевку на эпоксидной основе.

Глубину карбонизации бетона защитных слоев железобетонных конструкций устанавливают по изменениям величины рН. Для этого вырубают образец бетона на глубину от поверхности элемента конструкции до арматуры, смачивают поверхность скола чистой водопроводной водой, удаляют излишек воды фильтровальной бумагой, а затем наносят с помощью пипетки 0,1%-ный раствор фенолфталеина в этиловом спирте. Бетон в карбонизированной зоне остается серым, а в некарбонизированной приобретет ярко-малиновую окраску. Через минуту после нанесения фенолфталеина измеряют линейкой с точностью до 0,5 мм расстояние от поверхности образца до грани ярко окрашенной зоны в направлении, перпендикулярном к поверхности элемента конструкции. Измеренная величина является глубиной карбонизации бетона.

При визуальном обследовании железобетонных конструкций применяют те же инструменты, что и при обследовании каменных конструкций.

1.1.6. Визуальные методы обследования металлических конструкций промышленных, жилых и общественных зданий

При визуальном осмотре металлических конструкций выявляют: деформации отдельных элементов или конструкции в целом; смещения из проектного положения отдельных элементов и конструкций в целом; отсутствие отдельных элементов в конструкции; искажение формы или нарушение геометрических размеров сечения или профиля элементов; механические и температурные повреждения металла; наличие трещин в металле; дефекты и разрушение стыковых и узловых соединений; смещения в узлах сопряженных конструкций; разрушения антикоррозионных защитных покрытий и коррозионные повреждения металла.

При осмотре конструкций, выполненных из разнородных металле (например стали и алюминия), необходимо выявить участки с отсутствующими или нарушенными прокладками или пленками из диэлектриков в сопряжениях разнородных металлов.

До измерения величины коррозионных повреждений элементы металлических конструкций предварительно очищают в нескольких местах от загрязнений и продуктов коррозии. Затем с помощью микрометра или штангенциркуля измеряют толщину элемента. Минимальную из измеренных толщин элемента принимают за расчетную.

Толщину замкнутого профиля при визуальном осмотре определить удается не всегда, ток как высверливание отверстий в элементах несущих конструкций обычно недопустимо.

Ширину раскрытия трещин определяют так же, как и в конструкциях из других материалов, - с помощью градуированной лупы или мерного микроскопа. Места, где возможно появление трещин, должны быть очищены от грязи и пыли и в необходимых случаях отполированы.

Внешние дефекты и повреждения сварных швов металлических конструкций выявляют при визуальном осмотре с предварительной очисткой шва и прилегающего к нему металла от шлака и металлических брызг. При этом может использоваться лупа.

В результате визуального осмотра можно выявить следующие дефекты и повреждения сварных швов: неполномерность шва, резкие переходы от основного металла к наплавленному, наплывы и натеки наплавленного металла, неравномерную ширину и перерывы шва, кратеры, поры и неметаллические включения на поверхности шва, трещины в шве и околошовной зоне, подрезы и прожоги основного металла.

В болтовых и заклепочных соединениях при визуальном осмотре выявляют: уменьшенное по сравнению с проектом количество и диаметр болтов и заклепок; отсутствие гаек; смещение осей болтов или заклепок от проектного положения; отрыв и маломерность головок заклепок; избыток или недостаток по высоте потайных заклепок; косые заклепки, трещиноватость или рябину на поверхности головки заклепок; зарубки металла обжимкой, a также трещины, идущие от заклепочных отверстий.

Для выявления этих дефектов применяют линейки, рулетки, штангенциркули, шаблоны и т.д.

Неплотную затяжку болтов, дрожание и подвижность заклепок, неплотное заполнение отверстий телом заклепки устанавливают путем простукивания молотком весом 300...400 г; прикладывая при этом с противоположной стороны палец, который должен одновременно касаться головки болта, гайки или головки заклепки и соединяемого элемента.

Неплотность прилегания головок заклепок к склепываемому пакету определяют с помощью щупа толщиной 0,2 мм.

1.1.7. Визуальное обследование перекрытий каменных зданий

Во многих старых зданиях еще сохранились деревянные перекрытия, а также перекрытия по деревянными или стальным балкам с заполнением между ними в виде кирпичных или бетонных сводиков. Над подвалами и первыми этажами в старых зданиях устраивались перекрытия по каменным и бетонным сводам. В зданиях, построенных после середины 50-х годов текущего столетия, перекрытия, как правило, выполнены из сборных железобетонных плит. В промышленных зданиях Перекрытия могут быть из монолитного и сборного железобетона.

Путем вскрытия участков перекрытия определяется его конструкция и состояние полов (чистых и черных), стяжки, подготовки под полы, гидроизоляции, утеплителя или звукоизоляционной засыпки, наката, подшивки, штукатурки.

Количество мест вскрытия перекрытий зависит от площади обследуемых помещений и принимается по табл. 1.1 /53/.

Таблица 1.1

Количество мест вскрытия при обследовании перекрытий

Тип перекрытий

Обследуемая площадь, м2

до 100

свыше 100

По деревянным балкам

3

5

По металлическим балкам с деревянным заполнением

2

4

Монолитные железобетонные

3

6

Своды и сборные железобетонные плиты по металлическим балкам

4

4

В перекрытиях с деревянными балками особое внимание следует уделить состоянию концов балок, опирающихся на стены, в местах санузлов и протечек кровель.

До начала обследования деревянных перекрытий по деревянным балкам вскрывают полы и удаляют засыпку перекрытий вдоль стен в полосе шириной около 0,5 м. При обследовании замеряют шаг балок и их сечение, устанавливают состояние древесины балок и других элементов деревянных перекрытий. Отмечают естественные и искусственные пороки древесины, механические повреждения, увлажнение, поражение древесины грибами и насекомыми, трещины, коробление.

Основными инструментами при визуальном обследовании деревянных перекрытий являются рулетка, мерная линейка, топор, сверло.

Стеской древесины устанавливают глубину ее поражения грибами. Вид гриба можно определить по внешнему виду пораженной древесины или рассмотрев ее на срез под микроскопом.

По внешним признакам различают два основных типа гнили, вызванной жизнедеятельностью грибов: коррозионную (сетевидную) и деструктивную (трухлявую) /40/.

В начальной стадии коррозионные гнили имеют бледно-желтую окраску или проявляются в виде бледно-коричневых полосок и пятен на заболони. Во второй стадии пятна увеличиваются и на них просматриваются штрихи, направленные вдоль волокон. В конечной стадии в местах белых выцветов образуются углубления, древесина постепенно становится мягкой, легко расщепляется на отдельные волокна, но не крошится. Грибы, вызывающие коррозионную гниль, разрушают главным образом лигнин клеточных стенок.

При деструктивной гнили, которая разрушает целлюлозу, древесина в начальной стадии приобретает желтоватый цвет или коричневый оттенок. В конечной стадии гниения она становится темно-коричневой, покрывается трещинами вдоль и поперек волокон.

Кроме коррозионной и деструктивной гнилей встречается группа грибов, которые практически не влияют на технические свойства древесины, но изменяют ее цвет. Называют эти грибы плесневыми и деревоокрашивающими или грибами синевы и плесени.

Самым надежным доказательством начала поражения древесины грибами служит присутствие в ней гифов гриба. Гифы можно увидеть под микроскопом на срезах пораженной древесины, обработанных специальными реактивами. Но это уже не будет визуальным обследованием, поскольку требует специальных приборов и знаний. При визуальном осмотре берут образцы древесины и направляют в специальные лаборатории на анализ.

Приводя визуальное обследование, нужно постараться выяснить причину появления гнили, так как в нормальных условиях эксплуатации при влажности древесины менее 20% гниль не развивается. Причинами ее образования могут быть: протечки кровли; течи систем водоснабжения, отопления и канализации; палубный способ мытья полов при плохом проветривании конструкций перекрытия и др.

При деревянных перекрытиях по стальным балкам, кроме состояния деревянных элементов перекрытия (пола, лаг, наката, подшивок), проверяют состояние стальных балок. Для этой цели балки в тех же местах, что и деревянные, обнажают путем вскрытия полов. Замеряют шаги балок и определяют их профиль.

Чаще всего в перекрытия укладывались двутавровые стальные балки, реже - рельсы.

Сортамент стального проката много раз изменялся. В приложении /13/ даны сортаменты двутавровых балок разных годов выпуска и старых рельсов. Определить сортамент балок помогает знание не только их основных размеров (высота сечения, ширина полок), но и времени постройки и ремонта здания.

У стальных балок замеряют толщину коррозии, механические повреждения. Полезно хотя бы выборочно определить глубину заделки балок в стены. Толщину слоя коррозии можно установить удалив его с помощью скребка, стальной щетки или молотка и замерив оставшуюся толщину металла микрометром или штангенциркулем (предварительно замеряют толщину элементов профиля до удаления слоя коррозии).

Состояние кирпичных и бетонных сводиков между стальными балками и кирпичных сводов определяют по состоянию кирпича, раствора и поверхности бетона. Выявляют и фиксируют трещины в сводах. Толщину сводов в пятах и замке находят, просверлив перфоратором или электродрелью сквозное отверстие.

Прогибы плоских перекрытий определяют с помощью натянутой горизонтально стальной проволоки, измерив расстояние до этой проволоки от нижней поверхности перекрытия у стен и в середине пролета балок (рис. 1.6).

Прогиб в точке i вычисляют по формуле:

fi=hi+(h0-hn)li/l.                                                         (1.2)

hi - расстояние от проволоки до перекрытия в точке i;

h0 и hn - расстояние от проволоки до перекрытия у концов проволоки;

li - расстояние от точки 0 до точки по горизонтали;

l - длина проволоки.

Для измерения прогибов перекрытий возможно применение специально оборудованных водяных уровней и штанг /50/ (рис. 1.7. и 1.8).

При визуальном обследовании перекрытий кроме прогибов следует обращать внимание на зыбкость (физиологическое ощущение колебания конструкций перекрытия во время передвижения по нему). Если при подпрыгивании на середине изгибаемого элемента ощущается его колебание, то такой элемент является зыбким. Зыбкими могут быть дощатые полы при редком расположении лаг, недостаточном поперечном сечении лаг и балок перекрытий.

Рис. 1.6. Схема измерения прогибов перекрытий с помощью горизонтально натянутой проволоки:

1 - перекрытие; 2 - горизонтально натянутая проволока

Рис. 1.7. Схема измерения прогибов перекрытий с помощью водяного уровня:

1 - точка, измерения; 2 - градуированная трубка; 3 - сосуд с водой; 4 - резиновый шланг; 5 - краник; 6 -телескопическая стойка

Рис. 1.8. Схема измерения с помощью специальной штанги:

1 - фиксатор штанги; 2 -телескопическая штанга; 3 - репер с хомутиком для навески марки; 4 - круглый уровень; 5 - навесная шкаловая марка

1.1.8. Визуальные методы обследования стропильной системы и кровли каменных зданий

При обследовании деревянных стропил фиксируется их конструктивная схема: наслонные или висячие; определяется шаг и сечение стропильных ног, стоек, подкосов, мауэрлатных брусьев; производится осмотр древесины на предмет выявления гнили (особенно тщательно должны быть осмотрены стропила в местах протечек кровли); отмечаются нарушения в стыках элементов стропил, трещины и повреждения. Следует обратить внимание на наличие всех элементов стропильной системы. Для старых зданий характерна утрата отдельных элементов стропил: стоек, подкосов, затяжек.

В висячих системах подробно осматриваются стыки нижнего и верхнего пояса по их длине, а такие сопряжения поясов друг с другом и со стойками и раскосами; проверяется вертикальность плоскости висячих стропил.

В стыках с накладками (с нагелями и гвоздями) особое внимание обращается на наличие трещин вдоль нагелей и гвоздей, сильно снижающих несущую способность стыков.

Определяются прогибы (провисания) поясов (затяжек) и наслонных стропил. Фиксируется конструкция и состояние обрешетки и кровли. Отмечаются места протечек и выясняются причины их появления.

Для кровель из штучных материалов определяются: величины продольных и поперечных нахлесток и напуска за карнизную доску на свесах; соответствие количества и размещения креплений нормам и проекту; наличие и состояние фартуков и воротников из оцинкованной стали в местах примыкания к вертикальным поверхностям; качество заделки зазоров в местах примыкания к обделкам ендов и разжелобков; состояние фасонных элементов, перекрывающих коньки и ребра; плотность примыкания элементов кровли к обрешетке; наличие и состояние рабочих ходов по кровле.

При осмотре металлических кровель особое внимание должно уделяться плотности лежачих и стоявших фальцев, а также состоянию: крепления свесов к костылям; слуховых окон; проходов дымовых и вентиляционных труб; примыканий к брандмауэрным стенам; лотков, водосточных труб, ограждений на кровле.

При визуальном осмотре стропил и кровли применяются те же инструменты, что и при осмотре деревянных перекрытий. В процессе визуального обследования чердачных помещений следует обратить внимание на их тепловой режим. Последний зависит от степени теплоизоляции чердачного перекрытия, труб отопления и вытяжкой вентиляции, проходящих через чердак от плотности закрытия дверей и люков входов на чердак, вентиляции помещений чердака через слуховые окна. Нарушение теплового режима часто является причиной протечек кровли /10/.

1.1.9. Визуальное обследование бесчердачных кровель

При осмотре бесчердачных кровель выявляют: состояние плит покрытия (трещины, прогибы, мокрые пятна, отслоения защитного слоя бетона, признаки коррозии металла); дефекты мест опирания плит на стропильные конструкции; наличие и состояние пароизоляции, теплоизоляционного слоя, стяжки, рулонного ковра; места застоя воды; выколы, потеки, конденсат скопления пыли; состояние карнизов, свесов, водоприемных воронок; примыкание кровли к трубам и брандмауэрам, фонарным надстройкам.

В процессе обследования кровли из рулонных материалов устанавливают: соответствие направления приклейки слоев уклону кровли, наличие и состояние защитного слоя; наличие трещин, разрывов, вмятин, воздушных мешков, потеков мастик в швах; величину подъема кровельного ковра на примыкающие вертикальные поверхности; надежность заделки и защиту ковра в местах примыканий.

1.1.10. Визуальное обследование лестниц и полов

При осмотре лестниц выявляют:

- их конструкцию, материал и размеры сечений (маршевые плиты, стальные и железобетонные косоуры, каменные, бетонные и стальные ступени, тетивы, проступи и подступенки деревянных лестниц, лестничные площадки):

- состояние примыканий маршевой плиты, косоуров и ступеней к площадке, а также маршей, площадок и ступеней к стене;

- повреждения защитного слоя в железобетонных элементах лестницы;

- наличие коррозии в металлических элементах лестниц;

- состояние сварных швов;

- состояние маршей и косоуров (прогибы, трещины в местах опирания и в середине пролетов и др.);

- перекашивания маршей;

- излом ступеней, выбоины на поверхности и выкрашивание отдельных участков ступеней и площадок;

- ослабления ограждений (расшатывание стоек, отсутствие отдельных элементов перил);

- наличие гнили в элементах деревянных лестниц.

При осмотре наружных пожарных и аварийных лестниц должно быть проверено:

- состояние крепления лестниц в стене здания;

- наличие всех предусмотренных проектом элементов маршей и площадок (ступеней, перил);

- состояние соединений элементов лестницы друг с другом и соответствие их проектному решению;

- отсутствие коррозионных повреждений металла.

При осмотре полов выявляют:

- неровности и ямы полов, отсутствие необходимых уклонов;

- разрушения одежды полов, вызываемые механическими, температурным и или химическими воздействиями (выбоины, выколы, волны, трещины в монолитных полах, размягчение асфальтовых и ксилолитовых полов, повреждения кромок или трещины и просадки отдельных панелей, плит, плиток в полах из штучных изделий);

- отслаивание плиток от основания пола;

- разрушения швов между штучными элементами пола;

- неисправности лотков, каналов, тралов, сточных труб и перекрытий каналов;

- жировые пятна на поверхности полов;

- образование щелей и загнивание полов из древесины;

- неисправности вентиляционных устройств, решеток, щелевых плинтусов в дощатых полах.

1.2 Визуально-инструментальные методы технического обследования

При визуально-инструментальных обследованиях наряду с описанными выше методами визуального обследования применяются различные приборы, требующие специальных знаний по обращению с ними.

Простейшие приборы используют как при предварительных или общих, так и при детальных обследованиях, сложные приборы - как правило, при детальных обследованиях.

При визуально-инструментальных обследованиях применяют: инженерно-геологические методы - для выяснения свойств грунтового основания; геодезические методы - для получения данных о пространственном положении конструкций и их геометрических размерах; разрушающие и неразрушающие методы - для выяснения физико-механических свойств материалов конструкций.

1.2.1 Методы инженерно-геологических обследований

Работы по обследованию грунтов основания эксплуатируемого здания можно разделить на два вида: 1) инженерно-геологические и гидрогеологические исследования площадки застройки; 2) инженерно-геологическое обследование грунтов непосредственно под подошвой фундаментов. Первые работы производятся путем бурения скважин на площадке эксплуатируемого здания, а вторые - путем отрывки шурфов непосредственно у фундаментов.

В результате инженерно-геологических обследований площадки застройки устанавливается характер напластования грунтов, наличие линз, выклинивание пластов и распространение их на участке. При бурении скважин выявляются горизонт подземных вод, водовмещающие породы и водоупоры; определяются характеристики проходимых геологических слоев; особое внимание обращается на сильно сжимаемые грунты.

Количество и глубина скважин определяется в зависимости от сложности участка, площади застройки, высоты здания и т.д. При наличии воды и подвале количество скважин увеличивается, так как при этом требуется установить направление потока подземных вод, их дебет и т.д. Следует иметь в виду, что на участках с суглинистыми и глинистыми грунтами здания находятся как бы в невидимых котлованах. Атмосферные и поверхностные воды, дренируя через насыпной слой пазух по стенам бывшего котлована здания, попадают под фундаменты и собираются в наиболее пониженных местах.

Для бурения скважин глубиной 10...20 м и диаметром 80...127 мм применяют механические буровые установки, а скважин глубиной до 10 м и диаметром 37 мм - механические установки УИВ-25. Возможно использование комплектов ручного бурения диаметром 89 и 127 мм для скважин в стесненных условиях.

В шурфах отбирают пробы грунта для лабораторного исследования. Образцы грунта берут тонкостенным режущим кольцом. Внутренний диаметр кольца не менее 80 мм, а высота не более одного диаметра кольца и не менее половины его диаметра. Толщина стенок кольца должна быть не более 0,02 диаметра кольца.

Образцы грунта, отобранные режущим кольцом, направляют в этом кольце на испытания; при этом открытые грани закрывают жесткими крышками с резиновыми прокладками или заливают парафином.

В лабораторных условиях по отобранным образцам определяют физико-механические свойства грунта.

Гранулометрический состав песчаных и крупноблочных грунтов определяют путем просева через набор стандартных сит, а глинистых - путем отмучивания.

Плотность грунта r рассматривают как отношение массы грунта т к его объему в естественном состоянии n, а плотность твердых частиц rs -как отношение массы твердых частиц к их объему в абсолютно плотном состоянии us.

Влажность грунта w рассматривают как отношение массы воды mw к массе минеральной части грунта тs. По этим трем последним основным характеристикам, полученным экспериментально, определяют расчетным путем остальные физические свойства грунта.

Плотность сухого грунта rd вычисляют по формуле

rd=r(1+w).                                                           (1.3)

Удельный вес грунта

g=rg,                                                                   (1.4)

где g=9,81 м/с2 - ускорение свободного падения.

Удельный вес твердых частиц грунта

gs=rsg.                                                                 (1.5)

Удельный вес сухого грунта

gd=rdg.                                                                (1.6)

Коэффициент пористости грунта е определяют как отношение объема пор к объему минеральных частиц грунта:

e=ps/pd-1.                                                            (1.7)

По коэффициенту пористости рассчитывают плотность сложения песчаных грунтов.

Пористость грунта

n=e/(1+e). ,                                                         (1.8)

Объем минеральных частиц в единице объема грунта

us=1/(1+е).                                                         (1.9)

Полная влагоемкость грунта wsat представляет собой влажность при полном заполнении пор водой:

wsat=egw/gs,                                                         (1.10)

где gw - удельный вес воды.

Степень влажности грунта sr. определяют как степень заполнение пор водой:

sr=wgs/egw.                                                          (1.11)

Степень влажности sr является характеристикой песчаных и крупнообломочных грунтов.

Удельный вес грунта при учете взвешивающего действия воды gsw находят по формуле

gsw=gs-gw/(1+e)                                                    (1.12)

Показатель текучести для глинистого грунта

JL=(w-wr)/(wL-wr).                                            (1.13)

где wr - влажность на границе раскатывания;

wL - влажность на границе текучести.

Значения wr и wL определяют опытным путем в лабораторных условиях.

Показатель текучести JL позволяет разделить пылевато-глинистые грунты на их разновидности и получить их консистенцию.

Число пластичности

JL=wL-wr.                                                           (1.14)

По числу пластичности находят тип глинистого грунта.

Плотность песков можно установить также путем сравнения коэффициента пористости природного сложения с коэффициентом пористости в рыхлом еmax и плотном еmin состояниях и определения на этой основе показателя плотности сложения:

Jd=(emax-e)/(emax-emin)                                        (1.15)

Сыпучие грунты считают плотными при 0£Jd£0,33 средней плотности при 0,33<Jd£0,67 и рыхлыми при 0,67<Jd£1. Основными характеристиками сжимаемости грунтов являются модуль общей деформации Е, коэффициент относительной сжимаемости тu коэффициент поперечного расширения v (коэффициент Пуассона) и коэффициент бокового давления x.

Модуль общей деформации грунтов Е определяют в лабораторных и полевых условиях.

В лабораторных условиях Е устанавливают с помощью компрессиональных испытаний, а также на приборах трехосного сжатия. По компрессионной кривой находят коэффициент сжимаемости тu используя формулу

тu=(e1-e2)/(p2-p1),                                              (1.16)

где e1 и е2 - коэф. пористости, соответствующие давлениям p1 и р2;

p1 - удельное давление на образец, соответствующее давлению от собственного веса грунта, МПа;

p2 - удельное давление, соответствующее давлению под подошвой фундамента, МПа.

По значению тu определяют модуль общей деформации

E=(l+e)b/ тu,                                                      (1.17)

где е - коэффициент пористости в природном состоянии;

b - коэффициент, определяемый в зависимости от коэффициента поперечного расширения v или коэффициента бокового давления x:

b=1-2v2/(l-v);                                                     (1.18)

b=(1-x)(1.+2x)/(1+x).                                        (1.19)

В полевых условиях модуль общей деформации определяют по результатам испытания грунтов статическими нагрузками. Опыты проводят в шурфах жесткими штампами площадью A=2500...50000 см2 или в скважинах площадью А=600 см2.

По результатам испытания строят график зависимости осадки штампа S от действующего давления р (рис. 1.9). Модуль деформации при этом вычисляют по формуле

E=(1-v2)wbDp/Ds,                                              (1.20)

где w - коэффициент, зависящий от жесткости штампа и формы его подошвы;

b - диаметр или ширина штампа;

Dр - приращение давления по подошве штампа в пределах прямолинейного участка графика s=f(p);

Ds - приращение осадки на осредненной прямой, соответствующее Dр.

Рис. 1.9 График зависимости осадки штанги s от давления р

При выборе Dр за границу прямолинейного участка графика s=f(p) принимают степень нагрузки, при которой приращение осадки в два раза больше, чем за предыдущую ступень (ГОСТ 20276-85).

Для определения расчетного сопротивления грунта необходимо знать значения угла внутреннего трения j и удельного сцепления с. В лабораторных условиях эти характеристики определяют на сдвиговых приборах и приборах трехосного сжатия, в полевых - путем испытания крылчаткой, методом раздавливания призмы грунта, сдвигом целика грунта в заданной плоскости, обрушиванием и выпиранием грунта.

Результаты лабораторных испытаний оформляют в виде графиков в координатных осях «сдвигающее усилие tu вертикальное давление р» (рис. 1.10).

Рис. 1.10 График зависимости сдвигающего усилия tu от давления р

а - для песчаных грунтов; б - для глинистых грунтов

Предельное сопротивление песчаных грунтов сдвигу выражается зависимостью

tiuitgj.                                                            (1.21)

Опытом установлено, что экспериментальные точки в пределах обычных вертикальных давлений (0,3...0,5 МПа) оказываются на прямой, выходящей из начала координат (рис. 1.10,а) /37/.

Для связных грунтов в диапазоне давлений 0,05...0,5 МПа предельное сопротивление грунтов сдвигу описывается уравнением прямой, не проходящей через начало координат (рис. 1.10,б):

tiu=c+рitgj.                                                        (1.22)

Полевые испытания грунтов на сдвиг более громоздки, чем лабораторные, но достоверность их результатов выше.

Метод сдвига целика грунта по заданной плоскости в виде свободной призмы, заключенной в обойму, применяют для определения прочностных характеристик всех грунтов любой влажности и консистенции (рис. 1.31,а).

Значения j и с находят по результатам менее двух испытаний с различной вертикальной нагрузкой в соответствии с ГОСТ 23741-70 «Грунты. Методы полевых испытаний на срез в горных выработках».

Способ раздавливания призмы грунта, открытой с четырех сторон, используют для упрощенного определения tu суглинков и глин твердой консистенции. Значение tu принимают равным половине прочности на сжатие.

Рис. 1.11 Схема испытания грунтов методами:

а - сдвига; б - выпирания; в - обрушения; 1 - груз; 2 - упорная балка; 3 - тележка; 4 - динамометр; 5 - домкрат; 6 - штамп; 7 - целик грунта; 8 - поверхность сдвига; 9 - упор

Методы выпирания (рис. 1.11,б) и обрушения (1.11,в) массива грунта применяют для грунтов, обуславливающих возможность сохранения вертикального откоса. Значения j и с определяют из условия предельного равновесия выпираемого и обрушаемого клина.

Испытание грунтов на сдвиг в скважинах производится путем вращения наконечника с лопастями (крылчаткой). Сопротивление сдвигу определяется по значению сдвигающего момента в соответствии и ГОСТ 21719-80 «Грунты. Метод полевого испытания вращательным срезом».

При инженерно-геологических изысканиях применяются также и другие полевые методы испытания грунтов, такие как испытания пробной нагрузкой в шурфах и скважинах, пенатрационные испытания методами статического и динамического зондирования, испытание с помощью сейсморазведочной аппаратуры, испытание прессометрами.

При статическом зондировании в грунт вдавливают штангу с наконечником, обычно конической формы. При динамическом зондировании зонд погружают ударом молотка. По трудности погружения судят о прочности и плотности исследуемых грунтов.

При испытании прессометрами в грунт погружают зонд, окруженный эластичной резиновой оболочкой. В зонде создают давление водой за счет газа (азота). Измерение радиальных перемещений резиновой оболочки зонда производят с помощью водомерного устройства.

Коэффициент фильтрации к, характеризующий водопроницаемость грунтов, зависит от гранулометрического состава, плотности и свойств фильтрующей жидкости. Коэффициент фильтрации определяют в лабораторных, полевых условиях и расчетным путем с помощью приближенных формул.

В лабораторных условиях коэффициент фильтрации песчаных и глинистых грунтов находят с помощью приборов Г.Н. Каменского, Г. Тиме, трубки Г.Н. Каменского, трубки «Спецгео» и компрессионнофильтрационных приборов.

В полевых условиях коэффициент фильтрации определяют методами откачки, налива и нагнетания.

Для приближенного расчета коэффициента фильтрации, к м/сут, песчаных грунтов можно использовать формулу /37/

к=1000 .                                                       (1.23)

где d10 - действующий диаметр, мм, соответствующий тому диаметру частиц, мельче которых в песке содержится 10% от его общей массы.

Итоговыми документами инженерно-геологического обследования являются:

- табличные материалы по результатам определения физико-механических свойств грунтов;

- геологические и гидрогеологические карты;

- геолого-литологические разрезы толщи грунтов (приложение 2);

- инженерно-геологические колонки скважин (приложение 3).

1.2.2. Геодезические методы обследования

Для выявления деформаций здания, вызванных неравномерной осадкой фундаментов (крена, прогиба, выгиба, перекоса), отклонений от проектного положения конструкций из-за ошибок при их возведении (смещения в плане и по высоте, наклон и др.) и составления исполнительных планов здания применяют геодезические методы обследования.

Основными инструментами при этом являются высокоточные или точные нивелиры, теодолиты высокой и средней точности, фототеодолиты, нивелирные рейки, мерные ленты.

Для определения осадок фундаментов и вертикальных деформаций стен, колонн и перекрытий производят периодическое повторное нивелирование марок, установленных на зданиях или сооружениях, по отношению к практически неподвижным реперам.

В качестве опорных реперов чаще всего используют городскую геодезическую сеть.

При отсутствии вблизи здания реперов геодезической сети устанавливают специальные реперы. Репер состоит из трех элементов: головки, базы и защитного устройства (рис. 1.12).

Рис. 1.12 Схема, репера:

1 - полу сферическая головка; 2 - стальная труба; 3 - свал; 4 - бетонный колодец; 5 - уровень промерзания грунта; 6 - засыпка опилками или шпаком; 7 - деревянная крышка; 8 - чугунная крышка

Реперная головка изготавливается из бронзы или нержавеющей стали в виде полусферической поверхности радиусом 40 мм.

Базой репера служат металлический штырь, труба, зацементированная в бетонном основании, металлическая забивная или железобетонная (набивная, буроинъекционная) свая. Выбор базы зависит от инженерно-геологических условий застроенной площадки.

Защитное устройство может быть разной конструкции. Для свайных реперов устраивают бетонный или кирпичный колодец глубиной па 0,5 м ниже границы промерзания грунта. Над колодцем располагают чугунный люк с наружной чугунной крышкой и внутренней деревянной, обитой теплоизоляционным материалом. Реперная головка должна находится в центре колодца на 0,5 м ниже чугунной крышки. Колодец засыпают до уровня реперной головки сухими опилками, шлаком или торфом.

Реперы, предназначенные для наблюдения за осадкой фундаментов, нельзя закладывать на участках, подверженных оползням, карстовым явлениям. Реперы располагают вне мест проездов, складских территорий и как можно дальше от агрегатов, создающих вибрации. Одновременно стараются разместить их возможно ближе к маркам, чтобы повысить точность определения превышения между ними. Чтобы осадка фундамента не влияла на репер, минимальное расстояние от него до края подошвы фундамента должно быть не менее половины разности глубины заложения репера и подошвы фундамента. У наблюдаемого здания нужно закладывать не менее двух реперов.

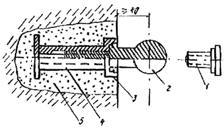
Нивелирные осадочные марки размещают в здании так, чтобы по результатам наблюдений можно было узнать о деформации здания (осадке, крене, перекосе) и его основания. Осадочные марки бывают разной конструкции. Они могут изготовляться из круглой стали (рис. 1.13). Горизонтальная часть марки делается из круглой стали диаметром 25 мм, а вертикальная - из круглой стали диаметром 20 мм. Вертикальная часть заканчивается полусферической головкой.

Марка заделывается на цементном растворе в скважину, высверленную в стене или фундаменте. Расстояние от сферической головки до плоскости стены - около 40 мм.

Осадочные марки изготавливают также из обрезков уголка длиной 160 мм и сечением не менее 50х50х5 с заделкой в гнездо на глубину 100 мм ребром вверх. К стальным колоннам приваривают отрезки уголка длиной 60 мм.

Открытые осадочные марки могут повреждаться, поэтому надежнее поставить закрытые марки (рис. 1.14). Закрытую марку закладывают заподлицо со стеной и закрывают крышкой, которую во время наблюдения снимают; вместо нее ввинчивают болт с шаровой головкой. После ввинчивания болта расстояние от центра головки до плоскости стены должно быть 40...50 мм. Хвостовик скрытой марки представляет собой трубу с внутренней нарезкой и внешними анкерами для заделки в гнезде.

В жилых и общественных зданиях осадочные марки размещают по периметру через 10...12 м (на углах здания, в местах примыкания поперечных и продольных стен, по обеим сторонам осадочных швов). При ширине здания более 15 м марки закладывают также в лестничных клетках и на внутренней продольной оси здания.

Для определения крена и стрелы прогиба фундамента устанавливают от трех до семи марок вдоль продольной и поперечной осей сооружения.

Рис. 1.13 Открытая осадочная марка из круглой стали:

1 - сферическая головка; 2 - вертикальная часть; 3 - горизонтальная часть (хвостик); 4 - поверхность стены

Рис. 1.14 Закрытая осадочная марка:

1 - крышка; 2 - болт с шаровой головкой; 3 - головка хвостовика; 4 - хвостовик из трубы с анкерами; 5 - раствор омоноличивания

В сборных конструкциях осадочные марки закладывают на несущих колоннах каркаса по периметру и внутри здания, на углах торцевых стен, у осадочных швов и в местах примыкания к существующим зданиям. Расстояние между марками в этих зданиях должно быть в пределах 10...15 м.

При определении деформации сооружения нивелированием предельное расстояние от нивелира до рейки должно быть не менее 3 м и не более 25 м. Оптимальная длина визирного луча находится в пределах 10...15 м.

Нивелирование целесообразно производить одной рейкой. При повторном нивелировании прибор следует устанавливать на одних и тех же точках, соблюдая по возможности постоянство направления ходов при одинаковом количестве станций в них. Должна быть составлена схема расположения и нивелирования осадочных марок с привязкой стоянок нивелира к зданию (приложение 4).

На основе результатов систематического нивелирования определяют скорость осадок марок во времени.

Среднюю скорость осадки марки вычисляют по формуле

u=(s2-s1)/(t2-t1),                                                 (1.24)

где s1 и s2 - осадки одной и той же марки в моменты времени t2 и t1.

Как отмечалось выше, минимальное расстояние от нивелира до рейки у обычных нивелиров равно 3 м. Однако при производстве нивелирных работ внутри здания появляется необходимость в более близком расположении нивелира от рейки. В этом случае на нивелире устанавливается насадка, в которую вмонтированы оптические стекла с разной диоптрией. В комплект насадки входит измерительная рейка, состоящая из штока, по которому перемешается подсвечиваемая рейка. Длина рейки 1000 мм. Насадка, в зависимости от расположенной против объектива нивелира линзы, позволяет производить отсчеты по рейке, установленной на расстоянии от 0,5 до 3 м.

Наклон здания, отклонения плоскости стен и углов от вертикали измеряют теодолитами высокой и средней точности. Теодолит центрируют над постоянным знаком, заделанным в грунт; в верхней части здания и сооружения выбирают какую-нибудь заметную точку и проектируют ее по вертикальной нити теодолита на цокольную часть здания при двух положениях трубы теодолита. Периодически снося точку вниз и отмечая на цоколе ее проекции штрихами, определяют крен за какой-то промежуток времени.

Крены зданий измеряют с двух взаимно перпендикулярных сторон (рис. 1.15) для того, чтобы, определив частное приращение крена со станции 1-q1, и частное приращение крена со станции 2 - q2, получить полное приращение крена по формуле

                                                  (1.25)

Для характеристики направления крена по отношению к сторонам света на плане вектора крена обычно указывают направление меридиана.

Рис. 1.15 Схема определения крена здания теодолитом:

1- вертикаль; 2 - линейка

Наиболее надежно определяют крен с помощью измерения горизонтальных углов (рис. 1.16). Теодолит устанавливают над центром хорошо закрепленного знака А (на расстоянии 20...50 м по направлению продолжения одной стены), измеряют угол b между маркой В, находящейся на верхнем обрезе стены, и каким-нибудь удаленным постоянным предметом С на местности. Затем прибор переносят на линию продолжения другой стены в точку A1 и измеряют угол b1 между маркой В и тем же или новым удаленным пунктом местности С1. Периодически измеряя углы b и b1, получают приращение значений кренов здания в градусах. Для перехода от градусов к линейным размерам используют зависимость

q=Db"Lr"                                                           (1.26)

где q и Db" - частичное приращение крена соответственно в мм и с;

L - горизонтальное расстояние от станции А до проекции точки В, мм;

r" - радиан, с.

Рис. 1.16 Схема определения крена здания с помощью измерения горизонтальных углов

Полное приращение крена определяют по формуле (1.25). Чтобы вычислить не только полное приращение крена, но и его абсолютное значение, на вертикальной грани, проходящей через точку В, нужно установить на фундаменте вторую марку B1 (штырь в виде крюка), удаленную от угла или плоскости стены на такое же расстояние, что и верхняя марка В. Из тех же точек стоянок теодолита А и А1 измеряют горизонтальные углы между В и В1.

Вначале вычисляют абсолютные значения частных кренов грани стены между точками В и В1, а затем - полный крен. Формула (1.25) пригодна только в том случае, если станции наблюдения располагаются во взаимно перпендикулярных направлениях. Если это условие не соблюдается, то полный крен определяют графически по правилу перпендикуляров (рис. 1.17).

Технический отчет о геодезическом обследовании зданий и сооружений включает в себя следующую информацию: цель обследования; краткую топографическую характеристику площадки застройки; описание наблюдаемого объекта; планы фундаментов и первого этажа; продольные и поперечные разрезы основных несущих конструкций; план расположения знаков высотной основы (реперов) и осадочных марок на сооружении (приложение 4); ведомости осадок и отметок марок по всем циклам измерений (приложение 5); таблицы среднемесячных и среднегодовых скоростей осадок для наиболее показательных точек сооружения (приложения 6, 7); план фундаментов с нанесенными линиями равных осадок за весь период измерений (приложение 8); график осадок нивелирных марок во времени (приложение 9); развернутый график осадок в виде последовательных линий деформаций фундаментов (приложение 10).

Рис. 1.17 Схема определения крена здания по правилу перпендикуляров

По характеру линий равных осадок в пределах контура фундаментов определяют местонахождение очага осадков и направление кренов различных участков здания.

1.2.3 Методы обследования строительных конструкций, связанные с нарушением их целостности

Определить механические свойства материалов строительных конструкций можно путем испытания образцов, взятых из этих конструкций. Это приводит к нарушению целостности конструкций разной степени.

Прочность бетона на сжатие можно установить испытанием на прессе (образцов, взятых из бетонных и железобетонных конструкций. Образцы имеют вид кубов или цилиндров. Кубы выпиливают непосредственно из конструкции или из предварительно высверленного по периметру массива бетона. Размеры ребра кубов бетона обычно делают не менее 100 мм. Из массива вырезают вначале большой блок, а затем его распиливают на кубы. Для отделения блока от массива обычно применяют сплошное перфораторное бурение. Блоки должны быть значительно больше будущих образцов. Это делается для того, чтобы при распиловке периферийные участки блока, в которых имеется вероятность возникновения трещин при бурении, не использовались при испытаниях.

Распиловка блока на кубы производится с помощью обычной камнепильной машины, работающей по принципу дисковой пилы. Окружная скорость абразивных дисков для распиловки бетона должна составлять около 30 м/с /60/.

Так как результаты испытания кубов зависят от их размеров, то среднее значение кубиковой прочности Rm, полученное при испытании, умножают на масштабный коэффициент a1, который можно определить по специальной таблице или вычислить по формуле

a1=1,2-0,75d1                                                     (1.27)

где d1 - отношение периметра опорной грани, см, к ее площади, см2 /11/. Образцы в виде кубов возможно взять только из массивных бетонных и железобетонных конструкций (плит, покрытий дорог и т.п.). В образец не должна попасть арматура.

Более щадящей процедурой является взятие образцов в виде кернов (цилиндров). Для получения кернов используют колонковое бурение. Колонковое бурение ведется специальными станками, при помощи которых вращаются и опускаются колонны полых буровых штанг. Одновременно с бурением в забой по штангам под давлением подается вода для удаления измельченных частиц бетона.

Следует иметь в виду, что при бурении бетонов низких марок трудно получить керны достаточной высоты (не менее диаметра керна) вследствие их частичного раздробления. В бетоне на гравии зерна заполнителя часто выкрашиваются из керна.

Перед испытанием кернов их торцевые поверхности выравнивают цементным раствором. По предложению ВНИИГ неровные торцы керна помещают в бездонные стаканы, заполненные песком. Однако в этом случае образцы показывают меньшую прочность и результаты испытаний следует умножить на коэффициент 1,85...1,98 /60/. Среднее значение прочности цилиндра умножают на масштабный коэффициент a2, учитывающий также переход к прочности стандартного куба 150х150х150 (табл. 1.2).

Таблица 1.2

Масштабный коэффициент a2

Диаметр цилиндра d и его высота h=d, мм

Коэффициент a2

150

1,07

100

1,07

70

1,03

40...50

0.93

Обычно цилиндр высверливают диаметром d = 100 мм. При высоте цилиндра h, большей его диаметра, прочность цилиндра умножают на поправочный коэффициент a3 определяемый по табл. 1.3.

Таблица. 1.3

Поправочный коэффициент a3 для цилиндров h>d

h/d

2

1,9

1,8

1,7

1,6

1,5

1,4

1,3

1,2

1,1

a3

1,12

1,11

1,10

1,09

1,07

1,06

1,04

1,03

1,03

1,01

Раздавливая цилиндр линейной нагрузкой F, приложенной вдоль цилиндра, получают значение прочности бетона на растяжение по формуле

Rbt:=2F/(phd).                                                    (1.28)

Прочность бетона в образце неправильной формы, имеющем две параллельные грани, можно определить методом штампа. Образец помещают между двумя стальными цилиндрами диаметром 100 мм строго сцентрированными по вертикали. Расстояние от края образца до цилиндров должно быть не менее 100 мм. Предел прочности бетона определяют как частное от деления разрушающей нагрузки на площадь штампа. Результаты испытаний зависят от толщины образца, поэтому необходимо учитывать масштабный фактор. На основании результатов испытаний, проведенных П.Ф. Шубенкиным, значение масштабного коэффициента a4 можно принять по табл. 1.4.

Таблица 1.4

Масштабный коэффициент

Толщина образца, мм

Масштабный коэффициент a4 при диаметре штампа 100 мм

80

0,83

100

0,97

150

1,05

Прочность образца неправильной формы с двумя параллельными гранями можно определить также по методу раскалывания, используя формулу

Rbt=2F/(pA),                                                      (1.29)

где А - площадь поверхности раскола образца.

Количество образцов принимают обычно не менее пяти. При расчетах железобетонных конструкций необходимо знать значение начального модуля упругости бетона Eb. Это значение можно определить по Нормам /63/ если известно среднее значение кубиковой прочности бетона Rm. Более точно значение Eb определяется экспериментальным путем. При испытании бетонной призмы строится график зависимости sb от eb. Отношение напряжений sb=0,2Rb к соответствующей деформации и будет начальным модулем упругости испытываемого бетона.

Eb=0,2Rb/eb                                                        (1.30)

Значение Eb можно получить и неразрушающим методом через динамический модуль упругости бетона Eb, определяемый акустическими методами.

Переход от динамического модуля упругости бетона Ed к статическому Eb, осуществляется путем умножения значения Ed на коэффициент b1, определяемый по табл. 1.5.

Таблица 1.5

Коэффициент перехода от динамического к статическому модулю упругости бетона b1

Класс бетона

Коэффициент b1

В12,5...В20

0,87

В20...В30

0,91

В30

0,95

Определение прочности бетона по отобранным образцам обладает недостатком - по результатам испытаний незначительного количества образцов судят о прочности всей конструкции. Рассмотренные методы нельзя применять в густоармированных конструкциях.

При возможности производят отбор образцов арматурной стали. Для этого участок арматуры освобождают от защитного слоя бетона и с помощью газорезки отрезают кусок арматуры длиной равной 20 диаметрам арматурного стрежня. При большом диаметре арматурного стержня (более 20 мм) можно вырезать кусок арматуры меньшей длины и выточить на токарном станке из него образец диаметром 10 мм длиной 100 мм с головками для захватов на разрывной машине. Отобранные образцы испытывают на растяжение до разрыва. При этом фиксируют предел текучести стали, ее временное сопротивление и удлинение при разрыве. В необходимых случаях производят химический анализ стали. На месте вырезаемого куска арматуры вваривают новый.

Если имеются документальные данные о классе арматурной стали и вскрытие ее показало соответствие внешнего вида арматуры документальным данным, отбор проб арматуры производить нецелесообразно.

Иногда требуется определить напряжение в предварительно напряженной арматуре. Осуществить это очень сложно. Однако в большинстве случаев о достаточности предварительного напряжения можно судить по деформациям конструкции и раскрытию трещин. Короткие конструкции (до 9 м) обычно делают предварительно напряженными из условия экономии арматурной стали, и в большинстве случаев к трещиностойкости эти конструкции предъявляется третья категория требований. Если в них прогибы и раскрытия трещин находятся в допустимых пределах можно напряжения в арматуре не проверять.

В длинных (12 м и более) элементах и в конструкциях, к трещиностойкости предъявляются требования первой и второй категорий, сечение напрягаемой арматуры определяется обычно из расчета по второй группе предельных состояний. В этих конструкциях, если прогибы не превышают допустимых, а трещиностойкость оказывается достаточной, нет необходимости выяснять количество арматуры для расчета прочности, если не намечается увеличение нагрузки. При обследовании стальных конструкций взятие пробы металла производят только в ответственных конструкциях и в местах, где изъятие образца не вызывает снижение несущей способности конструкции. В большинстве случаев о механических свойствах металла можно судить по его профилю и времени изготовления конструкции.

При обследовании каменных конструкций прочность кладки устанавливают после определения прочности камня и раствора по таблицам Норм /64/.

Прочность (марка) полнотелого и пустотелого глиняного обыкновенного силикатного и трепельного кирпича получают как средний результат испытаний при сжатии пяти образцов «двоек» из двух цельных кирпичей или их половинок, умноженный на коэффициент 1,2 и пяти образцов на изгиб. Для испытания на сжатие керамических, силикатных, бетонных и природных камней правильной формы опытные образцы изготавливают из одного камня или одной его половинки. Коэффициент 1,2 при этом не применяют.

Прочность (марка) природных камней правильной или неправильной формы, а также мелких и крупных блоков из тяжелого, силикатного, ячеистого бетона и бетона на пористых заполнителях может быть определена испытанием на сжатие образцов-кубов или цилиндров (кернов), выпиленных или высверленных из камня.

Предел прочности природных камней, мелких и крупных блоков в этом случае находят умножением результатов испытаний образцов или цилиндров на масштабный коэффициент as приведенный в табл. 1.6.

Камни из кладки берут в тех местах, где их изъятие не снижает несущую способность каменных конструкций, например в подоконных частях стены, в стенах с редким расположением проемов.

Таблица 1.6

Масштабный коэффициент as для определения предела, прочности по данным испытания образцов

Размер ребра куба или диаметр цилиндра d и его высота h=d, мм

Коэффициент a5

кубов

цилиндров

1

2

3

200

1,05

-

150

1,0

1,05

100

0,95

1,02

70

0,85

0,91

40-50

0,75

0,81

Прочность на сжатие кирпича обыкновенного, полнотелого, глиняного и силикатного можно определить также с помощью взятия керна, высверленного со стороны боковой поверхности кладки. Диаметр керна при этом составляет 40...60 мм.

Для получения прочности кирпича на растяжение, необходимой для определения марки кирпича, керны раздавливают приложением нагрузки вдоль образующей цилиндра. При этом используется формула (1.28).

Прочность (марка) раствора кладки при сжатии, взятого из швов, устанавливают путем испытания на сжатие кубиков с ребрами 20...40 мм. Кубики изготавливают из двух пластинок раствора, взятого из горизонтальных швов кладки, склеенных и выровненных (по контактным поверхностям) гипсовым раствором толщиной 1...2 мм. Кубики испытывают через сутки после изготовления.

Марку раствора определяют как средний результат пяти испытании, умноженный на поправочный коэффициент a6, приведенный в табл. 1.7.

Таблица 1.7.

Поправочный коэффициент a6 при определении кубиковой прочности раствора

Вид раствора

Коэффициент a6 при размере куба, см

2

3

4

Летний

0,56

0,68

0,80

Зимний, отвердевший после оттаивания

0,46

0,65

0,75

При определении условий выполнения кладки следует иметь в виду, что в прошлые века и в начале текущего столетия кладка на известковых растворах велась, как правило, только в летних условиях. Кладка в зимних условиях на цементно-известковых или цементных растворах начала производиться в 30-х годах нашего века.

Если неизвестны условия возведения кладки, а раствор цементно-известковый или цементный, то следует учитывать поправочный коэффициент (см. табл. 1.7) для зимних условий работ.

Прочность древесины можно определить путем испытания вырезанных из конструкций образцов. Необходимость в этом может возникнуть при поражении древесины гнилью; так как при эксплуатации деревянных конструкций в нормальных условиях прочность древесины не изменяется. При обследовании деревянных, не пораженных гнилью конструкций нужно лишь установить породу древесины.

1.2.4 Неразрушающие методы обследования конструкций

К неразрушающим методам обследования конструкций относятся те, которые не нарушают целостность элементов конструкций или приводят к небольшим местным повреждениям поверхности конструкции, не снижающим ее несущей способности.

Неразрушающие методы обследования конструкций получили наибольшее развитие для определения механических свойств бетона. Неразрушающие методы испытания бетона в строительных конструкциях подразделяются на механические и физические, хотя такое деление недостаточно строго, так как механика является разделом физики.

Механические методы, испытания прочности бетона

Механические методы испытания прочности бетона основаны на связи между твердостью бетона или его прочностью на растяжение и прочностью бетона на сжатие.

Твердость бетона определяют путем вдавливания в него ударника. Прочность бетона на растяжение получают при испытании на отрыв.

Имеется много приборов, позволяющих определить твердость бетона. Среди них можно выделить группу приборов, делающих отпечаток только на поверхности бетона.

Образовать вмятины на поверхности бетона можно следующим образом:

- ручным ударом (шариковый молоток И.А. Физделя);

- ударом бойка под действием пружины (приборы МЗ, ЛИСИ, М.А. Новгородского, Оргсовхозстроя, П.И. Звонарева);

- ударом стрельбой или взрывом (метод Б.В. Скромтаева, метод ВИА, строительно-монтажный пистолет);

- ударом бойка под действием силы тяжести - свободного падения (дисковой прибор ДПГ-4, маятниковый молоток);

- статическим вдавливанием штампа в бетон (способ Г.К. Хайдукова А.К. Годера и Р.К. Рачевского).

Одновременное образование вмятин на поверхности бетона и на эталоне можно получить:

- ручным ударом (эталонный молоток К.П. Кашкарова, прибор ДорНИИ., СД-2);

- ударом бойка под действием пружины (приборы Польди-Вайцмана, И.А. Васильева).

В приборах, дающих только отпечатки на бетоне, кроме дискового прибора ДПГ-4 и прибора, основанного на статическом вдавливании, предложенного Г.К. Хайдуковым, А.И. Годером и P.M. Рачевским, размер отпечатков зависит от силы удара, жесткости пружины, давления пороховых газов. В связи с этим точность определения прочности бетона этими приборами невысокая.

Приборы, основанные на одновременном получении отпечатков на бетоне и эталоне, дают большую точность, так как соотношение диаметров отпечатков на бетоне и эталоне не зависит от силы удара.

Рис. 1.18 Тарировочная кривая для определения прочности бетона молотком К.П. Кашкарова

Наибольшее распространение для определения прочности бетона получили эталонный молоток К.П. Кашкарова и дисковый прибор ДПГ-4. Достаточно надежным является и прибор, основанный на статическом вдавливании штампа в бетон, разработанный Г.К. Хайдуковым, А.И. Годером и P.M. Рачевским.

При ударе эталонным молотком Кашкарова получаются одновременно два отпечатка - на эталоне и бетоне. Рабочим органом молотка является шарик подшипника диаметром 15 мм. Эталоном служит стальной стержень диаметром 10 мм и длиной 160 мм с одним заостренным концом из арматурной стали класса А-1. Поверхность эталонного стержня для лучшей видимости отпечатков не должна быть шлифованной и иметь естественный цвет побежалости. Отношение диаметров отпечатков бетона и эталона db/dg не зависит от силы улара. По среднему значению этих отношений при пяти ударах и тарировочной кривой (рис. 1.18) определяют прочность бетона на сжатие. Точность измерения отпечатков, на бетоне и эталоне должна быть 0,1 мм. Расстояние между соседними отпечатками на эталоне должно быть не менее 10 мм, а на бетоне - не менее 30 мм.

Тарировочные кривые, полученные с помощью молотка Кашкарова, составлены для бетона влажностью 2...6%. При отклонении влажности от этих пределов прочность бетона, полученная по графику, умножается на поправочный коэффициент kw, определяемый по табл. 1.8.

Таблица 1.8

Поправочный коэффициент kw

Влажность бетона, %

1

6

8

12

Мокрая поверхность

Коэффициент kw

0,96

1,0

1,1

1,2

1,4

Точность измерения прочности молотком К.П. Кашкарова ±15% /60/.

Дисковый прибор ДПГ-4 был разработан A.M. Губером во ВНИИГ. Прибор состоит из диска, стержня, подножки и угломерной шкалы. Диск изготавливается из стали, его диаметр 160 мм, а толщина 10 мм. Стержень соединяет диск с подножкой и обеспечивает его свободное падение. Подножка служит для опирания прибора на бетонной поверхности в трех точках. Угломерная шкала позволяет вычислять высоту падения диска на бетонную поверхность.

На исследуемом участке бетонной поверхности наносят 12 оттисков и измеряют их с точностью до 0,5 мм. Среднее значение, размеров оттисков аm рассчитывают следующим образом /60/. Результаты измерений записывают по возрастающим значениям размеров отпечатков. Два больших результата отбрасывают, а среднее арифметическое из трех последующих наибольших результатов принимают как аm Прочность бетона на сжатие вычисляют по формуле

R=0,103CH/(аml),                                              (1.32)

где С - коэффициент дискового прибора, МПа, определяемый по табл. 1.9;

Н - высота падения диска, м;

l - длина стержня прибора, м.

Таблица 1.9

Зависимость коэффициента С от вида бетона, МПа

Бетон

При нанесении оттисков на поверхности

верхние неопалубные

боковые распалубные

На щебне

6,28

5,40

На гравии

5,44

4,76

Табл. 1.9 составлена для приборов, основные параметры которых удовлетворяют равенству

[Pд+1/(3Pс)]/d=1,54 кН/м,                                 (1.33)

Рд - вес диска, кН;

Рс - стержня прибора, кН;

d - толщина ударной кромки диска, м.

Размеры отпечатков зависят от влажности бетона. А.К. Губер предложил испытывать бетон в состоянии максимального увлажнения.

Результаты определения прочности бетона на сжатие прибором ДПГ-4 отличаются от результатов испытания стандартных образцов на 10...15% /60/.

В приборе ОП-1, разработанном на основе предложений Г.К. Хайдукова, А.И. Годера и Р.К. Рачевского, оттиски на вертикальной поверхности бетонного изделия ограниченной толщины получают путем вдавливания сферического штампа с помощью ручного масляного насоса. Давление в насосе контролируется манометром.

Более сложны приборы с гидравлическими штампами типа ОРМ-2-250 и ОРП-4-300. С их помощью можно наносить оттиски на поверхности железобетонных изделий толщиной от 30 до 250 мм. В приборы закладывается кассета с двумя лентами из белой и копировальной бумаги. По мере проведения испытаний кассету проворачивают, нумеруя оттиски.

Твердость бетона можно определить также путем измерения упругого отскока ударника. Определение прочности бетона методом упругого отскока осуществляется с помощью молотка Шмидта, прибора Центральной экспериментальной базы ЦНИИСК и маятникового прибора В.В. Царицына, И.Е. Карниловича и Я.Э. Осадчука.

Молоток Шмидта является прибором, наиболее распространённым за рубежом. Прибор состоит из алюминиевого корпуса, в котором по штоку перемешается молоток. Молоток наносит удар по ударнику с помощью пружины. После удара молоток отскакивает на расстояние, фиксируемое при помощи стрелки на шкале прибора. Шкала градуирована в процентах к пути, пройденному молотком при ударе. С учетом угла наклона бетонной поверхности с использованием тарировочной кривой по величине отскока определяется прочность бетона на сжатие. Прибор не рекомендуется для испытания бетона в возрасте менее 7 и больше 90 суток (при естественном твердении) /60/. Такие рекомендации практически исключают применение молотка Шмидта для испытания старых конструкций.

Прибор КИСИ по принципу действия похож на молоток Шмидта, но имеет несколько отличное от последнего устройство. Шкала прибора, фиксирующая отскок молотка, градуирована в миллиметрах. Прибор позволяет производить испытания на наклонных, вертикальных и горизонтальных поверхностях.

Пружинный прибор Центральной экспериментальной базы ЦНИИСК имеет шкалу с градуировкой в кг/см2, что упрощает пользование им по сравнению с молотком Шмидта.

Маятниковый прибор В.В. Царицына, Ю.Е. Карниловича и Э.Я. Осадчука состоит из маятника, свободно качающегося на оси, и шкалы для фиксирования его отскока в кг/см2 . Прибор предназначен для испытания вертикальных поверхностей. По данным авторов прибора /60/ точность определения прочности бетона не ниже ±20%.

Определение прочности бетона на растяжение производится испытанием на отрыв. Б.Г. Скрамтаев предложил /60/ просверлить в бетоне скважину, в которую закладывают стальной вырывной стержень и зачеканивают цементным раствором с В/Ц = 0,15...0,18. Перед установкой вырывного стержня отверстие смачивают водой и протирают тампоном. При выдергивании стержня разрыв происходит по бетону конструкции.

И.В. Вольф предложил закладывать в скважину разжимной конус. Разжимной конус состоит из стержня с конической головкой с одной стороны и нарезкой с другой, трех сегментных щек с рифлеными наружными поверхностями, прижимной гайки и спиральной пружины. Разжимной корпус выдергивают так же, как и вырывной стержень, с помощью специального насоса-пресса. Под действием вырывного усилия сегментные щеки вырывают бетон в виде конуса. Развиваемое усилие фиксируют манометром. В зависимости от усилия вырыва по тарировочной кривой определяют прочность бетона на сжатие.

Заделка вырывных стержней и разжимных конусов должна быть не ближе 80 мм от грани конструкции и не ближе 30 мм от арматурных стержней /60/.

При расстоянии между арматурными стержнями менее 100 мм значение прочности бетона, полученное по тарировочной кривой, умножается на коэффициент менее единицы, зависящий от расстояния между арматурными стержнями и прочности бетона /60/.

Прочность бетона на сжатие можно определить также методом местного разрушения путем скалывания «выступающего» ребра испытываемого элемента. Прибор, действие которого основано на этом принципе, получил название ГПНВ-5 /29/.

Преимущество этого метода перед методом вырыва стержней состоит в том, что он не требует сверления скважин в бетоне.

Методы получения прочности бетона путем его скалывания учитывают не только прочностные свойства растворной составляющей бетона, но и влияние крупного заполнителя на его сцепление с раствором.

Следует иметь в виду, что при использовании методов, основанных на испытании на отрыв, на поверхности железобетонных изделий остаются более или менее значительные следы повреждения конструкции. Так что эти методы полностью неразрушающими назвать нельзя.

При наличии растворных кусков бетона размером не менее 10 мм прочность бетона можно определить методом измельчения /60/.

Метод измельчения основан на энергетическом законе разрушения хрупких тел, в соответствии с которым работа А, затрачиваемая на разрушение хрупкого тела, пропорциональна увеличению его поверхности DS:

A=HDS                                                               (1.34)

где Н - коэффициент пропорциональности.

Если работа А при испытании остается постоянной, то величина поверхности материала, образуемая при дроблении, может характеризовать его прочность.

Метод определения прочности бетона путем толчения заключается в следующем. От конструкции отбивают куски раствора размером не менее 10 мм. Попавшие куски крупного заполнителя удаляют. Проба состоит из пяти порций, каждая весом 30...80 г. Порцию кладут в копер, в котором гиря весом 2,4 кг падает на пробу с высоты 60 см пять раз.

Раздробленные в копре навески растворной составляющей бетона смешивают и просеивают через сито с ячейками размером 0,5х0,5 мм. Полученную после просеивания пробу высыпают в трубку объемометра и уплотняют легким постукиванием. Определяют высоту столбика пробы lm мм. При каждом испытании производят 10 определений и вычисляют среднее арифметическое значение высоты столбика lm. Чем выше прочность растворной части бетона, тем меньше значение lm. Прочность бетона на сжатие, МПа вычисляют по формуле, предложенной авторами метода /60/:

Rm=10 lm,                                                            (1.35)

Среднее значение прочности бетона в конструкции можно получить методами, основанными на определении статического модуля упругости по измеренным деформациям. Автором одного из таких методов является Ю.Л. Нилендер.

Исследуемую железобетонную конструкцию загружают нагрузкой, которая не должна вызвать образование трещин в растянутой зоне бетона. С помощью специальных приборов (индикаторов, тензометров, прогибомеров) измеряют значение суммарных деформаций в виде прогибов, углов поворота и перемещений. При испытании изгибаемых элементов определяют тангенсы углов поворота на опорах и прогиб в какой-нибудь точке в пролете. После этого решают уравнения

EbJredtgI=P¢A;                                                      (1.36)

EbJredtgb=P¢B;                                                     (1.37)

EbJredуi =M¢i;                                                      (1.38)

где P¢A и P¢B опорные реакции от фиктивной нагрузки - площади эпюры моментов;

M¢i - момент от той же нагрузки в точке i, для которой измерялся прогиб;

уi - прогиб в точке и i;

Jred - момент инерции приведенного сечения относительно оси, проходящей через центр тяжести сечения.

По формулам (1.36)...(1.38) вычисляют значения жесткости EbJred и определяют ее среднее значение. По геометрическим размерам сечения элемента конструкции и сечению арматуры вычисляют значение момента инерции приведенного сечения Jred и по среднему значению EbJred - начальные модуль упругости Eb. Затем, используя таблицу Норм /63/ или известную формулу, определяют прочность бетона на сжатие:

Rm=21Еь/(55000-Еb).                                      (1.39)

Для бетонов, подвергшихся тепловой обработке при изготовлении конструкции, значение Rm, вычисляют по формуле:

Rm =27Еь/(49500-Еb).                                     (1.40)

Наибольшую погрешность вносит определение прочности бетона по его начальному модулю упругости. Экспериментальные данные показывают, что в этом случае отклонения опытных значений от расчетных могут составлять ±50% /60/.

Недостатком этого метода является и сложность выполнения испытаний. Однако это единственный метод, позволяющий приближенно оценить среднюю прочность бетона во всей конструкции, а не в отдельных точках.

Физические методы испытания прочности бетона

Физические методы обследования конструкций основаны на законах распространения упругих волн в реальных средах, взаимодействия различного рода излучений с испытываемым материалом, металла с электромагнитным полем и т.д.

Физические методы испытания прочности бетона могут быть подразделены на резонансные, импульсные ультразвуковые и ударные. Кроме того для определения плотности бетона и дефектов в нем применяются методы, основанные на измерении степени поглощения и рассеивания рентгеновских и гамма-лучей.

Резонансный метод. При помощи резонансного метода определяют частоту собственных колебаний образца с последующим расчетом по этой характеристике динамических модулей упругости первого рода (модуля Юнга) Ed и второго рода (модуля сдвига) Gd и логарифмического декремента затухания d. Качество бетона можно оценить непосредственно по указанным характеристикам или путем определения прочности из зависимостей, связывающих Rm с Ed; Gd и d.

Резонансный метод при обследовании зданий можно применять только для испытаний лабораторных образцов и некоторых изделий небольшого объема с точными размерами, поэтому этот метод нельзя отнести к неразрушающим методам испытания реальных конструкций.

Импульсный ультразвуковой метод. Он нашел широкое применение для неразрушающих испытаний железобетонных конструкций. Этот метод основан на измерении скорости распространения в бетоне продольных ультразвуковых волн и степени их затухания.

Скорость продольных ультразвуковых волн u определяют по формуле

u=S/(t-t0),                                                           (1.41)

где s - длина пути распространения ультразвука (база измерения), мм;

t - время распространения ультразвука, мкс;

t0 - постоянная поправка ультразвукового прибора, определяемая при сомкнутых щупах.

Для возбуждения ультразвуковых волн и измерения времени их прохождения через бетон служит специальная электронно-акустическая аппаратура - импульсные ультразвуковые приборы. Из многих известных ультразвуковых приборов для определения прочности бетона наиболее подходят прибор УКБ-1М (ультразвуковой контроль бетона) и прибор «Бетон-ЗМ-Транзистор». Последний собран полностью на полупроводниках и в два раза легче первого.

Ультразвуковые приборы состоят из источника электрических импульсов, излучателя, преобразующего электрические импульсы в ультразвуковые механические волны, щупа - приемника, преобразующего ультразвуковые волны, прошедшие через бетон, в электрические импульсы, усилителя электрических импульсов и индикатора - электронно-лучевой трубки.

Имеющееся в приборе электронное устройство, называемое «ждущей задержанной развертки», включается одновременно с пуском импульсного генератора. Развертка смещает электронный луч по экрану индикатора слева направо. При этом в левой части экрана индикатора возникает вертикальная отметина, соответствующая моменту посылки импульса, а в правой - изображение прошедших через бетон ультразвуковых импульсов. Электронный генератор создает на экране индикатора электронную школу меток времени в виде вертикальных отметок с определенными интервалами, по числу которых находят время прохождения ультразвукового импульса через бетон.

Скорость ультразвука связана функциональной зависимостью с динамическим модулем упругости бетона первого рода Еd. Значение Еd можно вычислить по формулам, если известны длина ультразвуковой волны в бетоне, поперечные размеры тела и измеренная в опыте скорость ультразвука u. Длина ультразвуковой волны и бетоне определяется по формуле

l=u/f0,                                                                (1.42)

где f0 - собственная частота продольных колебаний образца, измеряемая при опыте.

При неограниченной среде, когда размеры изделия значительно больше длины ультразвуковой волны l (l для бетона колеблется в пределах 15...25 см), значение Еd можно рассчитать по формуле

Еd=u2r(1+m)(1-2r)/(1-m),                                 (1.43)

где r - плотность бетона;

m - коэффициент Пуассона, принимаемый для бетона равным 0,16...0,2 или более точно вычисляемый по формуле

[u/(2f0l)]2=(1-m)/[(1-2m)(1+m)],                       (1.44)

здесь l - длина образца.

Для среды, ограниченной одним измерением, т.е. для плит, прозвучиваемых с торцов (l больше толщины плиты), значение Еd определяется из формулы

Еd=u2r(1-m2).                                                     (1.45)

Для среды, ограниченной двумя измерениями, т.е. для стержней, прозвучиваемых с торцов (l больше поперечных размеров стержня), значение Еd находится из выражения

Еd=u2r.                                                               (1.46)

Прочность бетона на сжатие устанавливается по вычисленным значениям Еd с помощью заранее установленных экспериментальным путем зависимостей для бетонов определенного состава. Эти зависимости обычно выражают в виде тарировочного графика «прочность бетона-динамический модуль упругости».

Такая зависимость может быть представлена в виде формулы

                                                     (1.47)

где b2 - эмпирический коэффициент, зависящий от состава бетона.

Значение b2 принимается по табл. 1.10 /60/.

Таблица 1.10

Коэффициент b2 в зависимости от прочности бетона Rm

Среднее значение кубиковой прочности Rm, МПа

Коэффициент b2

30-50

6010

20-30

6650

Менее 20

7590

Исследователями установлена непосредственная статистическая зависимость между прочностью бетона на сжатие и скоростью распространения ультразвуковых волн, представленная ими в виде тарировочных графиков.

Точность определения прочности бетона импульсным методой с применением тарировочных кривых составляет 8...15% /60/.

Следует иметь в виду, что тарировочные зависимости между Rm и u, a также между Rm и Еd можно использовать с достаточной точностью только для определения Rm бетонов, для которых строились эти зависимости. Расчет прочности по тарировочным графикам, формулам и таблицам, полученным для бетонов других составов, может привести к значительным ошибкам. Впрочем, это замечание касается всех неразрушающих методов контроля прочности бетона.

При испытании конструкции, изготовленных из бетона неизвестного состава, значения u и Rm определяют на вырезанных кубах или кернах. При этом прочность бетона в конструкциях рассчитывают по формуле

Rm= Rmc(us/uc)4(gs/gc)2, .                                    (1.48)

где Rm - средняя прочность бетона в кубах (кернах);

u - скорость ультразвука на исследуемом участке конструкции;

uc - средняя скорость ультразвука в кубах (кернах);

gs - объемный вес бетона в конструкции;

gc - объемный вес бетона в кубах (кернах). При расчете по формуле (1.48) точность определения прочности бетона составляет ±20% /60/.

При испытании бетона ультразвуковым импульсным методом нужно

соблюдать ряд условий:

1) все измерения баз прозвучивания должны быть выполнены с точностью до 1 мм;

2) направление прозвучивания должно быть перпендикулярно к укладываемым слоям бетона;

3) точки приложения щупов не должны совпадать с арматурными стержнями. Следует избегать пересечения направления прозвучивания с арматурой, особенно при диаметре стержней более 8 мм /60/.

Если содержание арматуры в конструкции более 50 кг/м3, влияние армирования на скорость ультразвука учитывается формулой

u=s(1-a/100)/t,                                                   (1.49)

где а - величина поправки, которая вычисляется по результатам ранее проведенных опытов при построении тарировочной кривой, %:

a=(us-ub)100/us,                                                 (1.50)

здесь us - скорость ультразвука в бетоне с арматурой;

ub - скорость звука в бетоне без арматуры.

А.К. Третьяков и A.M. Филонидов /60/ предложили кривые для вычисления поправки а.

Следует иметь в виду, что при напряжениях в бетоне, превышающих 30% предела прочности на сжатие, за счет образования микротрещин скорость ультразвука уменьшается. В случае приближения напряжения к пределу прочности снижение скорости ультразвука достигает 30...35%.

С целью повышения достоверности ультразвукового импульсного метода Ю.С. Уржумцев /60/ предложил оценивать прочность по двум и трем ультразвуковым характеристикам. В качестве упругой характеристики бетона принята скорость распространения ультразвука u или динамический модуль упругости Еd, а вязкопластические свойства бетона характеризуются коэффициентом затухания звука a. Для определения a измеряют амплитуду прошедших через бетон импульсов и время их затухания. В приборе ИМ-4 имеется устройство, упрощающее определение коэффициента затухания a.

Применение ультразвукового импульсного метода предусматривает использование достаточно сложной аппаратуры и квалифицированных специалистов.

С помощью ультразвукового импульсного метода можно выявить внутренние дефекты конструкции (пустоты, каверны, участки с пониженной плотностью) и определить глубину трещин.

Ударный метод. Мощность ультразвуковых колебаний при использовании импульсного метода недостаточна для испытания конструкций большой длины, например дорожных и аэродромных покрытий, и некоторых других массивных сооружений. В этих случаях применяется ударный акустический метод.

Оценка качества бетона при испытании ударным методом основывается на измерении скорости распространения в нем продольных волн, вызванных механическим ударом. По физической сущности определение Rm ударным методом аналогично импульсному и базируется на использовании зависимости предела прочности бетона на сжатие от скорости распространения звуковых волн в конструкции.

Ударный метод состоит в том, что по исследуемой конструкции наносится удар или серия ударов ручным либо электрические молотком. На поверхности испытываемой конструкции устанавливают последовательно на заданном расстоянии (базе измерения) два звукоприемника. Звукоприемники располагают таким образом, чтобы база измерения была не менее четырех толщин конструкции, а расстояние от первого звукоприемника до места удара не превышало трех ее толщин.

Принятый первым приемником звуковой импульс превращается в нем в электрический сигнал, который после усиления включает специальное счетное устройство. Дойдя до второго звукоприемника, звуковая волна превращается в электрический сигнал, который выключает счетное устройство, фиксирующее время прохождения звукового импульса между двумя звукоприемниками.

Прочность бетона определяют на основании зависимости по тарировочной кривой или по специальным таблицам. Поскольку в ударном методе применяются низкие звуковые частоты, точность измерения невысока.

Радиометрический метод испытания бетона. Он применяется для определения плотности бетона и выявления его дефектов. Измерение плотности бетона осуществляется гамма-лучами, рентгеновскими лучами, а выявление дефектов - гамма-лучами.

Источником гамма-лучей являются естественные или искусственные радиоактивные вещества. В технике наибольшее применение нашли искусственные радиоактивные вещества - радиоактивные изотопы, полученные в результате ядерных реакций: Cs-137 и Со-60.

Интенсивность гамма-лучей, проникающих через исследуемый материал, уменьшается вследствие процессов фотоэлектрического поглощения, рассеяния и образования позитрон-электронных пар. Ослабление излучения при взаимодействии его с веществом происходит по экспотенциальному закону:

Jl=J0e-ml                                                               (1.51)

где Jl - интенсивность пучка гамма-лучей после прохождения слоя материала толщиной l;

J0 - начальная интенсивность гамма-лучей;

m - коэффициент линейного поглощения,

m=m¢/r                                                                (1.52)

здесь m¢- массовый коэффициент ослабления;

r - плотность материала.

Плотность строительных материалов можно найти методом сквозного просвечивания или методом рассеяния.

При методе сквозного просвечивания с одной стороны исследуемого элемента устанавливают источник гамма-лучей, а с другой - счетчик с прибором для регистрации числа импульсов, прошедших через образец. При испытании измеряют интенсивность гамма-лучей и толщину l слоя бетона.

Если к конструкции возможно подойти только с одной стороны, для определения плотности применяют метод рассеяния, при котором источник излучения и счетчик импульсов находятся у одной и той же поверхности конструкции. Плотность материала находят по тарировочной кривой J=f(r), которая строится по результатам испытания серии образцов размером 500х500х250 мм.

Для выявления внутренних дефектов бетона применяют радиографический метод дефектоскопии. С одной стороны конструкции устанавливают источник гамма-лучей, а с другой - кассету с рентгеновской пленкой. За кассетой помещают защитный свинцовый экран. Степень ослабления лучей в различных частях конструкции фиксируется на пленке. Таким способом можно обнаружить пустоты, каверны, места с пониженной плотностью. Совместная съемка конструкции с так называемыми дефектами позволяет оценить влияние изменения толщины на плотность бетона. При радиографическом методе дефектоскопии бетона аппаратуру размещают таким образом, чтобы фокусное расстояние было равно (или менее) 4,5 толщинам образца, но не меньше диагонали пленки. Для дефектоскопии можно применять также рентгеновские лучи. Однако такое исследование возможно лишь при использовании переносных рентгеновских приборов.

Неразрушающие методы исследования арматуры в железобетоне

С помощью магнитометрического метода можно определить расположение и сечение арматуры, размер защитного слоя бетона.

Магнитометрический метод обследования основан на взаимодействии магнитного поля с введенным в него ферромагнетиком (металлом).

Дли измерения толщины защитного слоя бетона, определения диаметра арматурного стержня применяют измеритель защитного слоя ИЗС-2 или ИЗС-3. Прибор собран на полупроводниках, имеет выносной щуп. Щуп представляет собой преобразователь трансформаторного типа, состоящий из двух частей, в каждой из которых вмонтированы две индукционные катушки. Индикатором прибора служит микроамперметр М-24. Питание прибора батарейное. При перемещении щупа по поверхности конструкции наличие металла фиксируется по минимальному отклонению стрелки амперметра. Для определения точного месторасположения арматурного стержня щупом совершают возвратно-поступательные движения до тех пор, пока стрелка не покажет максимальное значение отклонения. Это положение на поверхности конструкции отмечают риской. Далее щуп устанавливают на риску и по показателям индикатора записывают толщину защитного слоя бетона для арматуры всех диаметров, указанных на его шкале. Затем под щуп подкладывают прокладку толщиной 10 мм и снова определяют толщину защитного слоя для всех диаметров арматуры. Искомый диаметр находят по той шкале, на которой положение стрелки индикатора (при подкладке) будет соответствовать толщине защитного слоя бетона с учетом толщины прокладки.

Неразрушающие методы испытания каменной кладки

Прочность каменной кладки зависит от прочности камня и раствора. Для определения прочности кирпича из механических приборов, применяемых для контроля прочности бетона, можно использовать те, которые основаны на измерении упругого отскока ударника, в частности прибор Центральной экспериментальной базы ЦНИИСК. Приборы, основанные на получении отпечатков на поверхности испытываемого образца (в том числе эталонный молоток К.П. Кашкарова), для кирпича непригодны, так как его поверхность при ударе разрушается и размер отпечатка нельзя зафиксировать.

Прочность раствора в швах можно определить склерометром СД-2. Принцип его действия такой же, как и молотка К.П. Кашкарова, но вместо стального шарика в нем встроен стальной диск диметром 20 мм и толщиной 1 мм. По соотношению размеров отпечатка на растворе и на эталоне с использованием тарировочной кривой (рис. 1.19) находят прочность раствора.

В книге /28/ указывается на возможность определения прочности каменных кладок с помощью импульсивного ультразвукового метода. Однако это представляется спорным. Даже в кладке из полнотелого кирпича при отсутствии каналов имеются вертикальные швы, плохо заполненные раствором. Влияние степени заполнения вертикальных швов раствором на прочность кладки незначительное, в то время как для ультразвуковых волн вертикальные швы являются большим препятствием. Наличие каналов в стенах, разных видов кирпича (полнотелого, пустотного со сквозными и несквозными пустотами) приводит к сложной картине распространения ультразвуковых волн, что ставит под сомнение возможность определения прочности кладок ультразвуковым импульсным методом.

Этим методом можно выявить наличие каналов и пустот в кладке, найти глубину трещин, оценить прочность отдельных камней.

Рис. 1.19 Тарировочная кривая для определения прочности, раствора склерометром СД-2:

1 - известковый раствор; 2 - цементно-известковый раствор; 3 - цементный раствор

Измерение расположения и сечения скрытых стальных конструкций

Для определения мест расположения скрытых стальных конструкций и их сечения применяют магнитометрические методы исследования. Для этой цели служат приборы ИСМ (измеритель сечения металла) МИ-1 (металлоискатель).

Прибор ИСМ состоит из двух генераторов высокой частоты, усилителя-ограничителя, второго ограничительного каскада, дифференцирующего контура и индикатора. С первым генератором соединен выносной щуп. Второй генератор является эталонным. Индикатором служит микроамперметр М-24. При поиске скрытого металла щуп перемещают в двух взаимно перпендикулярных направлениях на расстоянии 5...7 см от поверхности конструкции. Наличие металла обнаруживается по отклонению стрелки индикатора. Для определения точного места нахождения металла щупом совершают возвратно-поступательные движения до максимального отклонения стрелки микроамперметра. Положение металла отмечают риской на поверхности конструкции. Прямая соединяющая риски на концах конструкции, представляет собой проекцию оси стальной балки на плоскость конструкции. Для определения сечения стальной балки и расстояния от балки до поверхности конструкции на подвижную планку щупа устанавливают эталонный брусок толщиной 2,5 см. Полученные показатели (без толщины эталонного бруска) записывают в журнал, по таблице, расположенной на внутренней стороне крышки прибора, находят номер профиля балки. Расстояние от поверхности конструкции до балки вычисляют по формуле

а=1-b                                                                  (1.53)

где l - эталонное расстояние, мм, определяемое по таблице;

b - показания по шкале подвижной системы, мм.

Для грубого определения наличия и расположения в конструкциях стальных элементов применяют металлоискатель МИ-1. Индикатором МИ-1 служит динамик. Схема собрана на полупроводниках. В основу МИ-1 положена схема прибора ИСМ. При приближении МИ-1 к металлу звук в динамике меняет тональность, при максимальном приближении звук срывается. Рамку прибора ведут на расстоянии 10...15 см от поверхности конструкции.

Определение прочности древесины

Взятие образцов древесины для испытаний, как правило, невозможно без нанесения значительного ущерба деревянным конструкциям.

Описанные в технической литературе неразрушающие способы испытания древесины (огнестрельный, по проценту поздней древесины и с помощью специального прибора ЦПИС) трудноисполнимы и малонадежны.

В литературных источниках нет данных об изменении прочностных свойств древесины с ее возрастом при различных условиях эксплуатации. При обследовании деревянных конструкций прочность древесины обычно не определяют, а основное внимание уделяют выявлению дефектов конструкций.

Определение влажности материала строительных конструкций

Влажность, %, по массе бетона и других камневидных материалов находят по формуле

w=(mh-md)100/md                                             (1.54)

где mh - масса образца во влажном состоянии;

тd - масса образца, высушенного до постоянного веса.

Влажность бетона и камня можно определить нейтронным методом. Нейтронный метод исследования влажности материала основан на замедлении быстрых нейтронов на легких ядрах, в первую очередь на ядрах водорода. Характеристикой степени замедления нейтронов является логарифмический декремент затухания анергии. Наибольшим: декрементом затухания при минимальном числе столкновений обладает водород и соответственно вода. Число замедленных нейтронов после прохода быстрых нейтронов через материал есть функция влажности материала (в том случае, когда водород не входит в химический состав материала).

В комплект аппаратуры для нейтронного метода измерения влажности входят датчик и счетно-запоминающее устройство.

Датчик в зависимости от цели исследования и условий испытания может работать по схеме рассеяния или по схеме сквозного просвечивания.

Для измерения влажности древесины применяют электронный влагомер ЭВ-2м. Принцип действия прибора ЭВ-2м основан на зависимости электропроводности древесины от ее влажности. Прибор состоит из щупа и преобразователя. На поддиапазоне 7...22% влажности прибор представляет собой ламповый омметр, на поддиапазоне 20...60% - магнитоэлектрический омметр. Иглы щупа вонзают в древесину так, чтобы они располагались вдоль волокон. Показание прибора соответствует влажности сосны. Для других пород древесины имеются переводные таблицы.

Глава 2. ПОВЕРОЧНЫЕ РАСЧЕТЫ ЭЛЕМЕНТОВ КОНСТРУКЦИЙ ПРИ ТЕХНИЧЕСКОМ ОБСЛЕДОВАНИИ

На основании информации, полученной при техническом обследовании, подготавливаются исходные данные для поверочного расчета конструкций. Для поверочного расчета необходимо установить расчетные схемы здания и сооружения в целом и отдельных конструктивных элементов, определить расчетные нагрузки, расчетные сопротивления материалов, уяснить влияние на эксплуатационные свойства конструкций выявленных дефектов, произвести расчет прочности, а в некоторых случаях - и расчет по деформациям и трещиностойкости.

2.1 Определение расчетных нагрузок

Постоянные нагрузки от собственного веса строительных конструкций устанавливают по рабочим чертежам или по результатам обмеров с учетом коэффициентов надежности по нагрузке gf, взятых из Норм /67/.

Постоянная нагрузка от веса перекрытий (покрытий) принимается по результатам вскрытия пола (кровли) с определением толщины каждого слоя и плотности материала. Если разделить слои пола или кровли не удается, вскрывают участки площадью 0,25 или 0,5 м2 и взвешивают содержимое каждого участка.

Результаты вскрытий обрабатывают по формуле

,                                             (2.1)

где qn - нормативное значение нагрузки;

qm - среднее арифметическое значение нагрузки;

;                                                      (2.2)

n - число образцов (не менее пяти);

sq - среднее квадратичное отклонение результатов взвешивания,

                                         (2.3)

t - коэффициент, зависящий от количества образцов и определяемый по табл. 2.1.

Таблица 2.1

Коэффициент t для определения доверительных интервалов

Число образцов

t

Число образцов

t

5

2,13

15

1,76

6

2,02

20

1,73

7

1,94

25

1,71

8

1,89

30

1,70

9

1,86

40

1,68

12

1,80

50 и более

1,67

В формулах (2.2) и (2.3) qi - вес i-того образца.

Постоянные нагрузки от стационарно установленного оборудования, трубопроводов и агрегатов находят по паспортным данным или рабочим чертежам; коэффициент надежности по нагрузке gf при этом принимают равным единице.

Нормативное значение атмосферных нагрузок вычисляют на основании данных Госкомгидромета с учетом фактической ориентации и взаимного расположения зданий на месте. Допускается определять атмосферные нагрузки по Нормам /67/.

В ряде случаев появляется необходимость в установлении фактической снеговой нагрузки, действующей на конструкцию. Для этой цели используют снегомер весовой ВС-43. Прибор состоит из цилиндра площадью 50 см2, высотой 60 см и рычажных весов. Цилиндр, вращая, погружают в снеговой покров и определяют его вес со снегом. Зная вес пустого цилиндра, находят вес снега в нем. По шкале на цилиндре устанавливают толщину снегового покрова. По объему снега в цилиндре и его весу вычисляют объемный вес снегового покрова. Обработку результатов определения снеговой нагрузки производят по формулам (2.1)...(2.3).

2.2. Определение расчетных сопротивлений материалов конструкции

Расчетные характеристики грунтов основания фундаментов определяют по результатам инженерно-геологических обследовании с учетом положении Норм /61/.

2.2.1. Определение расчетных сопротивлений бетона

Расчетные характеристики бетона при проведении поверочных расчетов находят по Нормам /63/ исходя из значений нормативных сопротивлении, полученных при испытании образцов бетона или неразрушающими методами.

При наличии данных о прочности бетона в отдельных участках (не мене пяти) можно оценить прочность бетона на основе статистических методов. Нормативное значение кубиковой прочности в этом случае вычисляют по формуле

Rn=Rm-bsR,                                                         (2.4)

где Rm - среднее значение кубиковой прочности, полученное при испытаниях,

;                                                     (2.5)

b - коэффициент, определяемый из выражения

                                   (2.6)

sR - среднее квадратичное отклонение результатов испытаний,

                                     (2.7)

В расчетах вводят также коэффициенты условий работы бетона, приведенные в Нормах /63/.

Если имеются документальные данные об испытании бетонных кубов при строительстве здания или сооружения, то нормативное значение кубиковой прочности можно вычислить по формуле

Rn=0,8Rma1,                                                       (2.8)

где a1 - масштабный коэффициент, равный 1,05, учитывающий, что при проектировании конструкций по нормам, действующим до СНиП II-21-75, в качестве стандартного образца принимались кубы с размером грани 200 мм, для конструкций, запроектированных после выхода СНиП II-21-75 a1=1.

В зависимости от полученного значения Rn (условного класса бетона) путем интерполяции по таблицам Норм /63/ определяют расчетное сопротивление бетона Rb (призменную прочность).

2.2.2. Определение расчетных сопротивлений арматурных сталей

Если определение класса арматуры производилось по данным проекта, то нормативное сопротивление арматурной стали Rsn устанавливают по Нормам /63/. При этом для проволочной гладкой арматурной стали класса В-1 нормативное сопротивление принимают таким же, как для арматурной стали класса Вр-1.

Расчетное сопротивление арматуры растяжению Rs определяют по Нормам /63/ по классу арматурной стали.

Если проводились испытания арматурной стали, то нормативное значение предела текучести получают путем деления среднего значения предела текучести (физического или условного) на коэффициенты: 1,1 - для классов A-I, А-II, A-III А-Шв, Ат-III; 1,2 - для других классов арматурной стали. При этом полученные нормативные значения предела текучести не должны превышать установленных Нормами /63/ значений для исследуемых классов стали.

При отсутствии проекта и невозможности отбора образцов допускается назначать расчетное сопротивление арматурной стали в зависимости от ее профиля. В Справочнике /50/ рекомендуется в этом случае для гладкой горячекатаной арматурной стали принимать Rs=155 МПа для арматурной стали периодического профиля при профиле по винтовой линии (т.е. класса А-II) Rs=245 МПа и для профиля «елочкой» (т.е. класса А-III) Rs=295 МПа. Однако эти значения расчетных сопротивлении стали представляются сильно заниженными, если учесть, что для арматурной стали класса A-I Rs=230 МПа, для арматурной стали класса A-II Rs=280 МПа и для арматурной стали класса А-III Rs=340 МПа. Расчетное сопротивление растяжению Rs=155 МПа целесообразно принимать для конструкций, армированных гладкой горячекатаной сталью, изготовленных до выхода СНиП II-B-1.62. Расчетное сопротивление арматурных сталей сжатию Rsc, кроме арматурной стали класса А-IIIв, принимают равным расчетному сопротивлению арматурных сталей растяжению Rs, но не более значений, указанных в Нормах /63/.

Расчетное сопротивление арматурной стали класса А-IIIв сжатию определяют по Нормам /63/. Расчетное сопротивление поперечной арматуры при расчете по поперечной силе Rsw, принимают равным 0,8 Rs. В расчетах вводят также коэффициенты условий работы, арматуры, приведенные в Нормах /63/.

2.2.3. Определение расчетных сопротивлений каменной кладки

Расчетное сопротивление каменной кладки определяют по Нормам /64/ в зависимости от прочности камня и раствора, установленной при их испытании разрушающим или неразрушающим методом.

2.2.4. Определение расчетных сопротивлений стали в стальных конструкциях

Нормативные значения предела текучести или временного сопротивления стали по результатам статистической обработки данных испытаний образцов определяют по формуле (2.4).

Полученные данные предела текучести и временных сопротивлений не должны превышать значений, установленных ГОСТ, действовавшими в период выплавки исследуемой стали.

В приложении 14 приведены значения временного сопротивления и предела текучести малоуглеродистой стали, выплавлявшейся в СССР в 1931...1980 гг.

Расчетные сопротивления стали Ry находят путем деления нормативных значений предела текучести Ryn на коэффициент надежности по материалу gт, который принимают: для конструкций, изготовленных до 1932 г., и для сталей, у которых полученные при испытаниях значения предела текучести ниже 215 МПа, - 1,2; для конструкций, изготовленных в 1932...1982 гг., - 1,1 для сталей с пределом текучести ниже 380 МПа и 1,15 для сталей с пределом текучести выше 380 МПа; для конструкций, изготовленных после 1982 г., - по Нормам /65/.

Для элементов конструкций, имеющих коррозийный износ с потерей более 25% площади поперечного сечения или остаточную после коррозии толщину 5 мм и менее, расчетные сопротивления умножают на коэффициент gd принимаемый равным 0,95 для слабоагрессивных, 0,9 для среднеагрессивных и 0,85 для сильноагрессивных сред.

Расчетные сопротивления сварных соединений назначают с учетом марки стали, сварочных материалов, видов сварки, положения швов и способов контроля, используя указания Норм /65/. При отсутствии этих данных для угловых швов можно принять, что нормативное значение временного сопротивления металла швов Rwun равно нормативному значению временного сопротивления стали элемента Run коэффициент надежности по материалу шва gwm=1,25, коэффициенты bf=0,7 и bz= 1,0, коэффициент условий работы конструкции gc=0,8; для растянутых стыковых швов расчетное сопротивление металла шва по пределу текучести Rwy=0,55 Ry для конструкций, изготовленных до 1972 г., и Rwy=0,85 Ry для конструкций, изготовленных после 1972 г. /50/.

Расчетное сопротивление срезу Rbs и растяжению Rbt болтов, а также сжатию элементов, соединенных болтами, Rbp определяют по Нормам /65/. Если класс прочности болтов установить невозможно, то расчетное сопротивление принимают как для болтов класса прочности 4,6 при расчете на срез и класса прочности 4,8 при расчете на растяжение /50/.

2.2.5. Определение расчетных сопротивлений древесины

В связи с отсутствием данных об изменении прочности древесины во времени расчетные сопротивления древесины в целом конструкции или ее частей, не пораженных гнилью, принимают по Нормам /66/, как для новой древесины. При поверхностном разрушении древесины гнилью размеры сечения деревянных элементов уменьшают на толщину слоя, пораженного гнилью.

Если производились испытания прочности древесины разрушающим или неразрушающим методами, то расчетное сопротивление древесины принимается по данным испытаний с обработкой результатов по формуле (2.4). При этом полученные значения расчетных сопротивлений не должны превышать расчетные сопротивления древесины, предусмотренные Нормами /66/.

2.3. Расчет прочности конструкций

Несущая способность обследуемых конструкций рассчитывается по Нормам проектирования строительных конструкций /61...66/.

Железобетонные, бетонные и каменные конструкции, не имеющие трещин, каверн и раковин /50/, можно не усиливать, если соблюдается условие

F£Фnov                                                               (2.8)

где F - фактическое или предполагаемое проектом реконструкции расчетное усилие, действующее в сечении конструкции, с учетом влияния выявленных дефектов изготовления и монтажа;

Ф - несущая способность сечения конструкции, подсчитанная по существующим нормам проектирования с учетом установленных расчетных сопротивлений, материалов и выявленных дефектов конструкции;

nоv - коэффициент допустимой перегрузки, равный для железобетонных конструкций 1,1, а для каменных и бетонных конструкций 1,15.

Стальные и деревянные конструкции необходимо усиливать, если F>Ф.

При расчетах по второй группе предельных состояний вопросы усиления конструкций решают исходя из конкретных условий эксплуатации. Например, если прогиб перекрытий или покрытий превышает допустимое значение, назначенное по эстетическим соображениям, то он может быть скрыт подвесным потолком.

Для того чтобы результаты поверочных расчетов были достоверны необходимо иметь исчерпывающие данные о состоянии всех элементов обследованных конструкций. Нужно правильно выбрать расчетную схему рассматриваемой конструкции, работающей совместно с другими конструкциями, присоединенными к ней, т.е. необходимо учесть пространственную работу здания или сооружения.

В процессе обследования могут быть выявлены аварийные конструкции, (разрушение сжатой зоны железобетонных элементов, большое раскрытие трещин в железобетонных конструкциях, большие прогибы, свидетельствующие о перенапряжении материала конструкций и др.). В этом случае поверочные расчеты подтверждают аварийное состояние. В случае обрушения конструкции поверочные расчеты помогают выяснить причины аварии.

2.4. Учет влияния дефектов, допущенных при изготовлении и эксплуатации строительных конструкций на их несущую способность

Дефекты строительных конструкций, вызванные нарушением технологии изготовления и монтажа конструкций и правил эксплуатации здании и сооружений, могут снижать несущую способность конструкций. Дефекты могут усложнять условия работы конструкции (вызывая косой изгиб или косое внецентренное сжатие вместо плоского изгиба или плоского сжатия), увеличивать значения внутренних усилий, снижать несущую способность сечений за счет уменьшения прочности материалов, уменьшения площади поперечного сечения конструкций, возникновения трещин, каверн, пустот. Ниже рассматривается влияние на несущую способность конструкций некоторых широко распространенных дефектов.

Учет влияния различных дефектов на несущую способность строительных конструкций рассмотрен в работах /2, 7...12, 14...18, 20, 21, 23, 26, 30, 33, 34, 45...48, 50 и др.)

2.4.1. Предварительная оценка влияния колебаний прочности бетона и количества арматуры на прочность, трещиностойкость и деформативность железобетонных элементов

В ряде случаев появляется необходимость в быстрой предварительной оценке влияния колебаний прочности бетона и количества арматуры на прочностные и деформативные характеристики железобетонных конструкций. Для этой цели в приложении 11 даны графические зависимости прочности, деформативности и трещиностойкости изгибаемых и сжатых элементов от колебаний прочности бетона и количества арматуры, подсчитанные по формулам Норм /63/, а в приложении 12 - влияние дефектов монтажа стеновых панелей на их несущую способность. Эти графики позволяют без проведения расчетов, нередко довольно громоздких, с достаточной для практики точностью определить несущую способность, трещиностойкость и деформативность железобетонных элементов, в которых обнаружены отступления от проекта в прочности бетона и количестве арматуры.

Эти графические зависимости дают возможность также оценить влияние точности определения прочностных характеристик бетона при обследовании на правильность оценки эксплуатационных качеств железобетонных конструкций.

Глава 3. СОСТАВЛЕНИЕ ЗАКЛЮЧЕНИЯ (ОТЧЕТА) ПО РЕЗУЛЬТАТАМ ТЕХНИЧЕСКОГО ОБСЛЕДОВАНИЯ

Заключение (отчет) по результатам технического обследования является итоговым документом. Оно должно включать обоснованные ответы на все вопросы, поставленные в задании на техническое обследование. Текст Заключения должен быть написан четким, понятным специалистам языком и достаточно кратко. Все, что может перегрузить информацией Заключение, нужно относить в приложения.

Структура Заключения может быть различной. Представляется, что в наиболее полном виде текст Заключения должен состоять из следующих частей:

1. Титульный лист.

2. Список исполнителей.

3. Краткая историческая справка об объекте.

4. Характеристика конструктивного решения здания или сооружения.

5. Описание состояния конструкции на момент обследования.

6. Выводы по результатам обследования.

7. Рекомендации по дальнейшей эксплуатации здания или сооружения.

8. Список использованной литературы.

9. Приложение.

Титульный лист содержит название документа и реквизиты организации, проводившей обследование.

Список исполнителей включает всех исполнителей технического обследования с указанием должности, разделов и параграфов Заключения, в которых принимал участие каждый из исполнителей, их подписи.

Краткая историческая справка об объекте содержит сведения об авторе проекта, времени строительства, капитальных ремонтах и реконструкции. В этом разделе могут быть Приведены чертежи или фотографии фасадов зданий после постройки и в период обследования. Обязательно нужно отметить, является ли объект памятником архитектуры.

В Характеристике конструктивного решения здания или сооружения описывается конструктивная схема здания или сооружения, количество этажей, конструкции фундаментов, стен, перекрытий и покрытий, кровли, лестниц, балконов, перегородок, оконных и дверных заполнений, полов, вид отделочных работ. В этом разделе помещаются планы этажей и разрезы.

В Описании состояния конструкций на момент обследования последовательно, обычно начиная с основания и фундаментов, дается описание состояния всех конструкций здания и сооружения с указанием отступлений от проекта и всех выявленных дефектов (техническая диагностика). Акты обследований отдельных конструктивных элементов в этот раздел Заключения не помещают. Их располагают в Приложении, а в описании на них делают ссылки. В этот раздел могут быть помещены развертки фундаментов и стен с нанесенными на них трещинами, участками с повышенной влажностью, нарушенной штукатуркой; планы перекрытий, покрытия и кровли с указанием мест выявленных дефектов. Фотофиксацию дефектов и разрезы по шурфам, чтобы не перегружать основной текст Заключения, лучше помещать в Приложениях.

В конце описания состояния каждого конструктивного элемента (фундаментов, стен, перекрытий и т.д.) должна даваться оценка его технического состояния и степень физического износа (диагноз).

Под физическим износом конструкций, зданий или сооружений понимается утрата ими первоначальных технико-эксплуатационных качеств.

Физический износ выражается соотношением стоимости необходимых ремонтных мероприятий, устраняющих повреждения конструкций или здания в целом, и их восстановительной стоимости.

Для оценки физического износа жилых зданий и их конструкций имеются Правила оценки физического износа зданий /43/, которые могут быть использованы для оценки физического износа зданий, близких по конструктивному решению к жилым домам.

В Выводах по результатам обследования должны быть повторены оценки технического состояния каждого конструктивного элемента из предыдущего раздела Заключения и оценка состояния всего объекта в целом (диагноз), а также обоснованы причины появления выявленных дефектов.

В Выводах дается заключение о необходимости усиления конструкций, капитальном ремонте, возможности реконструкции здания или сооружения в соответствии с заданием на техническое обследование.

Выводы разбиваются на пункты.

Если получить исчерпывающую информацию в период обследования (из-за его малой продолжительности) невозможно, то в этой части дается заключение о необходимости дальнейших наблюдений за объектом (за дальнейшей деформацией основания, развитием трещин и т.п.).

Если в здании на техническое обследование ставится вопрос о прогнозе на дальнейшее поведение обследуемого объекта, то в выводах должны быть спрогнозированы на заданный срок возможные изменения в состояниях объекта (техническое прогнозирование). Если в здании на техническое обследование поставлен вопрос о состоянии конструкций в некоторый момент в прошлом (например, до аварии), то на него должен быть дан ответ на основании анализа материалов обследования (техническая генетика).

В Рекомендациях по дальнейшей эксплуатации здания или сооружения даются предложения по методам усиления строительных конструкции в связи с выявленными в них дефектами или из-за увеличения нагрузок при предлагаемой реконструкции здания или сооружения. Рекомендации должны содержать предложения по дальнейшим наблюдениям за конструкциями (установка маяков на трещинах, выполнение геодезических работ для выяснения динамики развития деформаций здания и др.).

В Списке литературы указывается перечень нормативных и справочных материалов, использованных при техническом обследовании (СНиП, Пособия, Руководства, Рекомендации, Справочники).

В Приложениях размещают:

- задание на техническое обследование здания или сооружения;

- обмерочные чертежи здания или сооружения;

- материалы инженерно-геологических изысканий;

- материалы геодезических работ;

- акты освидетельствования конструкций;

- результаты испытания материалов;

- подсчеты степени износа строительных конструкций и всего здания в целом;

- поверочные расчеты конструкций здания или сооружения;

- другие материалы, на основании которых были сделаны выводы и даны рекомендации.

При предварительных визуальных обследованиях несложных объектов заключение по результатам технического обследования может быть небольшим по объему, но оно обязательно должно содержать краткую историческую справку о объекте, характеристику конструктивного решения здания или сооружения, описание состояния конструкций на момент обследования, выводы и рекомендации.

Заключение (отчет) по результатам технического обследования может состоять из одного тома. При большом объеме материала приложений к Заключению целесообразно представлять в виде отдельного тома.

ЗАКЛЮЧЕНИЕ

Процесс производства технического обследования здания или сооружения, как это видно из предыдущих глав, представляет собой сложную, трудоемкую и дорогостоящую работу, требующую специалистов разного профиля и, порой, использования сложного оборудования. В результате обследования накапливается много первичной информации. Всю эту информацию нужно тщательно проанализировать, обобщить и на этой основе сделать правильные выводы.

Многолетний опыт автора показывает, что при обследованиях на достаточно высоком уровне собирается первичная информация о состоянии объекта, однако анализ и обобщение этой информации выполняется неудовлетворительно, поэтому выводы и рекомендации получаются неверными. Следовательно, к написанию Заключения нужно привлекать наиболее квалифицированных специалистов, имеющих опыт обследования зданий, хорошо разбирающихся в дефектах строительных конструкций, причинах их появления, влияния дефектов на работу конструкций и методах их усиления.

Накопленный опыт технического обследования зданий и сооружений должен обобщаться и публиковаться. Теория и практика технических обследований должна изучаться в учебных заведениях и на курсах повышения квалификации инженерно-технических работников проектных, строительных и эксплуатационных организаций.

ЛИТЕРАТУРА

1. Акустические методы контроля в технологии строительных материалов/ В.В. Дзенис и др. - Л.: Стройиздат, 1978. - 152 с.

2. Алексеев В.К., Гроздов В.Т., Тарасов В.А. Дефекты несущих конструкций зданий и сооружений, способы их устранения. - М., 1982. - 178 с.

3. Алешин Н.Н. Электросейсмоакустические методы обследования зданий. - М.: Стройиздат, 1982 - 158 с.

4. Бойко М.Д. Диагностика повреждений и методы восстановления эксплуатационных качеств зданий. Л.: Стройиздат, 1975. - 334 с.

5. Бурак Л.Я., Рабинович Г.М. Техническая экспертиза жилых домов старой застройки. - Л.: Стройиздат, 1975. - 160 с.

6. Гроздов В.Т. Методы технического обследования, дефекты и усиление железобетонных и каменных конструкций/ЛВВИСУ. - Л.: 1986. - 68 с.

7. Гроздов В.Т. Дефекты основных несущей железобетонных конструкций каркасных многоэтажных промышленных и общественных зданий и методов их устранения /СПб ВВИСУ. СПб., 1993. -192с.

8. Гроздов В.Т. Дефекты сборных железобетонных несущих конструкций одноэтажных каркасных промышленных зданий и методы их устранения /СПб ВВИСУ. СПб., 1993.-168с.

9. Гроздов В.Т. Дефекты конструкций крупнопанельных зданий, снижающие несущую способность зданий, и их устранение /СПб ВВИСУ. СПб., 1993.-96с.

10. Гроздов В.Т. Дефекты каменных зданий и методы их устранения /СПб ВВИСУ. СПб., 1994.-146с.

11. Гроздов В.Т. Поверочные расчеты элементов строительных конструкций при техническом обследовании зданий и сооружений /СПб ВВИСУ. СПб., 1994-88с.

12. Гроздов В.Т. Дефекты фундаментов зданий и сооружений, способы их устранения и усиления оснований и фундаментов/ВИСИ. - СПб., 1995. - 106 с.

13. Гроздов В.Т. Вопросы строительства зданий после длительного перерыва в производстве строительно-монтажных работ / ВИСИ. - СПб. -1995. - 56 с.

14. Гроздов В.Т. Приближенный способ учета влияния некоторых дефектов монтажа элементов железобетонных каркасов на усилия в колоннах//Известия вузов: Строительство и архитектура. 1990.№2. С.12...15..

15. Гроздов В.Т. Определение дополнительных усилий в колоннах многоэтажных каркасных зданиях при смещении ригеля из плоскости рамы//Известия вузов: Строительство и архитектура. 1990. № 12.- С. 3...5.

16. Гроздов В.Т. Влияние некоторых дефектов монтажа железобетонных каркасов одноэтажных промышленных зданий на усилия в колоннах//Известия вузов: Строительство и архитектура. 1991. №8.С.3...5.

17. Гроздов В.Т. Дефекты стыков колонн в каркасах серии ИИ-04 и 1.020-1 и влияние их на несущую способность колонн//Известия вузов: Строительство. 1991. №10. С.3...5.

18. Гроздов В.Т. Дефекты стыков стеновых панелей и влияние их на несущую способность крупнопанельных зданий//Известия вузов: Строительство. 1993. №1. С. 71...72.

19. Гроздов В.Т. К вопросу образования трещин от сезонного перепада температуры в наружных кирпичных стенах//Известия вузов: Строительство, 1994. №1. - С. 71,72.

20. Гроздов В.Т. Влияние несоосности выпусков арматуры из ригелей и колонн в многоэтажных промышленных каркасных зданиях серии ИИ-20/70 и 1.420-12 на несущую способность ригелей//Перспективы развития строительных конструкций: Сб. статей/ЛДНТП. СПб., 1991. С.66...69.

21. Гроздов В.Т. Техническое обследование строительных конструкций зданий и сооружений /ВИТУ - СПб., 1998 - 203 с.

22. Гроздов В.Т., Полянский М.М. Об одном недостатке конструкций ребристых плит для перекрытий многоэтажных промышленных зданий//Известия вузов: Строительство и архитектура, 1990, №7. с. 5 и 6.

23. Гроздов В.Т., Руденко В.В. Учет пространственной жесткости каркаса и оценка влияния отклонений колонн от проектного положения // Проектирование и расчет строительных конструкций: Сб. статей / ЛДНТП. Л., 1990. С.98...104.

24. Дзенис В.В. Применение ультразвуковых преобразователей с точечным контролем для неразрушающего контроля. - Рига: Зинайс, 1987. - 263 с.

25. Ермолов И.Н. Теория и практика ультразвукового контроля. - М.: Машиностроение, 1981. - 240 с.

26. Исследование влияния качества изготовления, монтажа и эксплуатации железобетонных конструкций на их несущую способность//Сб. научных трудов НИИЖБ Госстроя СССР. М., 1986. 99 с.

27. Коломеец А.В., Ариеевич Э.М. Эксплуатация жилых зданий: Справочное пособие. - М.: Стройиздат, 1985. -376 с.

28. Комиссарчик Р.Г. Методы технического обследования реконструируемого здания. - М.: Стройиздат, 1975. - 89 с.

29. Контроль качества железобетонных изделий/НИИСК Госстроя СССР. - Киев: Будiвельник, 1976. - 80 с.

30. Коновалов П.А. Основания и фундаменты реконструируемых зданий. - М.: Стройиздат, 1988. - 287 с.

31. Лещинский М.Ю. Испытание, бетона: Справ, пособие. - М.: Стройиздат, 1980. - 360 с.

32. Лифанов И.С., Шерстюков Н.Г. Метрология, средство и методы контроля качества и строительства: Справ, пособие. М.: - Стройиздат, 1980. - 223 с.

33. Методика обследования и проектирования оснований и фундаментов при капитальном ремонте, реконструкции и надстройке зданий. - М.: Стройиздат, 1972.

34. Михалко В.Г. Ремонт конструкций крупнопанельных зданий. М.: Стройиздат, 1986. - 312 с.

35. Морщихин В.П., Пискнер В.А. Контроль качества легкобетонных конструкций радиофизическими методами /ЛДНТП. - Л., 1969. - 27 с.

36. Неразрушающие методы испытания бетона/Сов. изд. СССР - ГДР/Под ред. О.В. Лужина. - М.: Стройиздат. 1985. - 236 с.

37. Основания и фундаменты: Справочник /Г.И. Швецов и др. -М.: Стройиздат, 1986. - 415 с.

38. Попов Г.Т., Бурак Л.Я. Техническая экспертиза жилых зданий старой застройки. - Л.: Стройиздат, 1986. - 240 с.

39. Попов Л.Н. Контроль качества работ в жилищном строительстве. - М.: Стройиздат, 1985. - 304 с.

40. Порывай Г.А. Техническая экспертиза жилых зданий. - М: Стройиздат, 1990. - 369 с.

41. Пособие по проектированию жилых зданий/ЦНИИЭП Госкомархитектура. - М.: Стройиздат, 1989. Вып.З. Конструкции жилых зданий (к СНиП 2.08.01-85). - 304 с.

42. Правила безопасности при проведении обследований жилых зданий для проектирования капитального ремонта/МЖКХ РСФСР. - М., - 1988.

43. Правила оценки физического износа жилых зданий. - ВСН 53-86 (р). Госгражданстрой. - М.: Прейскурантиздат, 1988. - 72 с.

44. Предупреждение деформаций и аварий зданий и сооружений/Под ред. В.А. Лисенко. - Киев: Будiвельник, 1984. - 120 с.

45. Рекомендации по усилению каменных конструкций зданий и сооружений/ЦНИИСК им. В.А. Кучеренко. - М.: Стройиздат, 1984. -36 с.

46. Рекомендации по оценке состояния и усилению строительных конструкций промышленных зданий и сооружений. - М.: Стройиздат, 1989. - 104 с.

47. Рекомендации по учету влияния дефектов и повреждений на эксплуатационную пригодность стальных конструкций производственных зданий. -М.: Стройиздат, 1987. -46 с.

48. Реконструкция зданий и сооружений/Под ред. А.П. Шагина,- М.: Высшая школа, 1991. - 352 с.

49. Реконструкция промышленных здании и сооружений: Передовой опыт научных исследований, проектно-конструкторских разработок, технологии и организации строительства/Под ред. Е.В. Горохова. - М.: Стройиздат, 1988. - 136 с.

50. Реконструкция промышленных предприятий: Справочник строителя/Под ред. В.Д. Топчия, Р.А. Гребенника. -М.: Стройиздат, 1990. Т. 1. - 591 с.

51. Ремонт и эксплуатация жилых зданий: Справочное пособие/ Под ред. Л.Хикиша. - М.: Стройиздат, 1992. - 367 с.

52. Ройтман А. Г. Предупреждение аварий жилых зданий. - М: Стройиздат, 1990. - 240 с.

53. Ройтман А.Г. Деформации и повреждения зданий. - М.: Стройиздат, 1987. - 160 с.

54. Ротань В.М. Ремонт и устройство перекрытий. - Л.: Стройиздат, 1977. -72с.

55. Руководство по контролю бетона в конструкциях приборами механического действия. - М.: Стройиздат, 1972.

56. Руководство по определению и оценке прочности бетона в конструкциях зданий и сооружений. - М.: Стройиздат, 1979. - 30 с.

57. Руководство по эксплуатации строительных конструкций производственных зданий промышленных предприятий/ЦНИИпромзданий. - М.: Стройиздат, 1931. - 50 с.

58. Руководство по проектированию каменных и армокаменных конструкций. - М.: Стройиздат, 1974. - 183 с.

59. Румянцев С.В., Штань А.С., Гольцев В.А. Справочник по радиационным методам неразрушающего контроля. - М. Энергоиздат, 1982. - 240 с.

60. Скрамтаев Б.Г., .Лещинский M.Ю. Испытания прочности бетона в образцах, изделиях и сооружениях. - М.: Изд-во литература по строительству, 1964. - 176 с.

61. СНиП 2.02.01-83. Основания зданий и сооружений. - М.: Стройиздат, 1983. - 40 с.

62. СНиП 2.02.03-85. Свайные фундаменты. - М.: Стройиздат, 1989. - 80 с.

63. СНиП 2.03.01-84*. Бетонные и железобетонные конструкции. - М.: Стройиздат, 1989. - 80 с.

64. СНиП II-22-81. Каменные и армокаменные конструкции. -М.: Стройиздат, 1983. - 40 с.

65. СНиП II-23-81*. Стальные конструкции. - М.: Стройиздат, 1989. - 96 с.

66. СНиП II-25-80. Деревянные конструкции. - М.: Стройиздат, 1983. - 31 с.

67. СНиП 2.01.07-85. Нагрузки и воздействия. - М.: Стройиздат, 1987. - 36с.

68. СНиП 3.03.01-87. Несущие и ограждающие конструкции. -М.: Стройиздат, 1988. - 190 с.

69. Современные методы обследования зданий/Н.Г. Смоленская и др. - М.: Изд-во литературы по строительству. 1972. - 81 с.

70. Субботин И.Е., Мазацкий А. С. Справочник строителя по инженерной геодезии. - Киев: Будiвельник, 1989. - 279 с.

71. Субетто А.И. Обследование и диагностика строительных объектов как предмет специальной теории и квалиметрии в условиях квалитативной революции//Диагностика, обследование и оценка качества конструкций и систем промышленных и гражданских объектов при проектировании, реконструкции и эксплуатации: Сб. статей/ЛДНТП. -Л., 1991. -с. 3...11.

72. Судаков В. В. Контроль качества и надежности железобетонных конструкций. - Л.: Стройиздат, 1980. - 168 с.

73. Техническое обследование и ремонт зданий и сооружений: Справ, пособие /Под ред. М.Д. Бойко. - М.: Стройиздат, 1993. - 208 с.

74. Технические средства диагностики: Справочник/.Под общ. ред. В.В. Клюева. - М.: Машиностроение, 1989. - 672 с.

75. Щербинский В.Г., Алешин Н.П. Испытание на непроницаемость. Капиллярная и магнитная дефектоскопия. - М.: Высшая школа, 1979. - 39 с.

76. Щербинский В Г., Алешин Н.П. Ультразвуковой контроль сварных соединений строительных конструкций. - М.: Стройиздат, 1976.-158 с.

77. Физдель И.А. Дефекты в конструкциях, сооружениях и методы их устранения. - М.: Стройиздат, 1978. 161 с.

78. Физдель Н.А. Дефекты в конструкциях, сооружениях и методы их устранения. М.: Стройиадат, 1987. 336 с.

ПРИЛОЖЕНИЯ

Приложение 1

«Утверждаю»
(Руководитель организации Заказчика)

ЗАДАНИЕ

на техническое обследование объекта

1. Заказчик..............................................................................................................................

.................................................................................................................................................

2. Исполнитель.......................................................................................................................

.................................................................................................................................................

3. Объект обследования........................................................................................................

.................................................................................................................................................

4. Краткая характеристика объекта обследования.............................................................

.................................................................................................................................................

5. Цель обследования............................................................................................................

.................................................................................................................................................

6. Задачи обследования.........................................................................................................

.................................................................................................................................................

7. Элементы объекта, подлежащие обследованию............................................................

.................................................................................................................................................

8. Содержание работы (перечисляются все виды работ, которые заказчику представляются необходимыми)..............................................................................................

.................................................................................................................................................

.................................................................................................................................................

9. Сроки выполнения работ..................................................................................................

.................................................................................................................................................

10. Данные о возможностях строительных организаций, привлекаемых к работам по реконструкции или ремонту.....................................................................................................

.................................................................................................................................................

«Согласовано»
представитель Исполнителя

Ответственный
исполнитель Заказчика

Приложение 2

Геолого-литологический разрез толщи, грунтов

Приложение 3

Инженерно-геологическая колонка

Приложение 4

Схема нивелирования и расположения осадочных марок

Условные обозначения:

 Рn-1 - нивелир;  - стоянка нивелиров;  - осадочная марка

Приложение 5

Ведомость отметок нивелирных осадочных марок по циклам измерений

№ марки

Отметки, м

Осадки между циклами, мл

I цикл

II цикл

III цикл

IV цикл

V цикл

I и II

II и III

III и IV

IV и V

I и V

М-1

 

 

 

 

 

 

 

 

 

 

М-2

 

 

 

 

 

 

 

 

 

 

М-3

 

 

 

 

 

 

 

 

 

 

М-4

 

 

 

 

 

 

 

 

 

 

М-5

 

 

 

 

 

 

 

 

 

 

М-6

 

 

 

 

 

 

 

 

 

 

М-7

 

 

 

 

 

 

 

 

 

 

М-8

 

 

 

 

 

 

 

 

 

 

М-9

 

 

 

 

 

 

 

 

 

 

М-10

 

 

 

 

 

 

 

 

 

 

Примечание. Отметки марок даны в системе высот...

Приложение 6

Таблица
среднемесячных скоростей осадки наиболее характерных точек здания u мм/мес.

№ марок

Месяцы 1990 г.

I

II

III

IV

V

VI

VII

VII

IX

X

XI

ХII

М-3

 

 

 

 

 

 

 

 

 

 

 

 

М-5

 

 

 

 

 

 

 

 

 

 

 

 

М-6

 

 

 

 

 

 

 

 

 

 

 

 

М-8

 

 

 

 

 

 

 

 

 

 

 

 

М-10

 

 

 

 

 

 

 

 

 

 

 

 

Приложение 7

Таблица
среднегодовых скоростей осадки наиболее характерных точек здания u мм/год

№ марок

Годы

М-3

1990

1991

1992

1993

1994

1995

М-5

 

 

 

 

 

 

М-6

 

 

 

 

 

 

М-8

 

 

 

 

 

 

М-10

 

 

 

 

 

 

Приложение 8

План фундаментов с нанесением пиний равных осадок за весь период измерений

Приложение 9

График осадок нивелирных осадочных марок во времени

Приложение 10

Развернутый график осадок фундаментов

Примечание. 1, 2, 3, 4, 5 и 6 - кривые осадок соответственно на первом, втором, третьем, четвертом, пятом и шестом нивелировании, выполненном через равные промежутки времени.

Приложение 11

Влияние дефектов изготовления железобетонных конструкции на их эксплуатационные свойства

11.1. Снижение прочности нормальных сечений при уменьшении прочности бетона:

а - центрально сжатых элементов; б - внецентренно сжатых элементов; в - балок перекрытий; г - балок покрытий; д - ребристых плит покрытий; е - многопустотных плит перекрытий; при m=1%; 2 - при m=3%; 3 - при m=0,5%; и eo=ho; 4 - при m=0,5% u eo=2ho; 5 - при m=1,5% и eo=ho; 6 - при m=1,5% и e=2ho; 7 - при m=1,4%; 8 - при m=2%.

11.2. Снижение прочности нормальных сечений при уменьшении количества продольной арматуры:

а - центрально сжатых элементе; б - внецентренно сжатых элементов; в - балок перекрытии; г - балок покрытий; д - ребристых плит покрытий; е - многопустотных плит перекрытий; 1 - при m1=1%; 2 - при m1=3%; 3 - при m1=0,5%; и eo=ho; 4 - при m1=0,5% и eo=2ho; 5 - при m1=1,5% и eo=ho; 6 - при m1=1,5% и eo=2ho

Снижение прочности наклонного сечения при уменьшении прочности бетона:

а - балок перекрытий; б - балок покрытий; в - ребристых плит покрытий; г - многопустотных плит перекрытий

11.4. Снижение прочности наклонного сечения при уменьшении количества поперечной арматуры

а - балок перекрытий; б - балок покрытий; в - ребристых плит покрытий

11.5. Снижение усилия трещинообразования при уменьшении прочности бетона:

а - балок перекрытий; б - ребристых плит покрытий; в - центрально растянутых элементов; 1 - при наличии предварительного напряжения; 2 - при отсутствии предварительного напряжения

11.6. Снижение момента трещинообразования при уменьшении количества растянутой арматуры:

а - балок покрытий; б - ребристых плит перекрытий

11.7. Увеличение раскрытия трещин при уменьшении количества продольной арматуры:

а - балок покрытий; б - многопустотных плит перекрытий; 1 - при исходном проценте армирования m=2%; 2 - то же при m=1 %.

11.8. Увеличение прогибов при уменьшении прочности бетона:

а - балок покрытии; б - ребристых плит покрытий; в - многопустотных плит перекрытий

11.9. Увеличение прогибов при уменьшении количества продольной арматуры:

а - балок покрытий; б - ребристых плит покрытий; в - многопустотных плит перекрытий.

Приложение 12

Влияние дефектов монтажа стеновых панелей на их несущую способность

Снижение прочности стен при: а - увеличении толщины швов в платформенных стыках внутренних стеновых панелей при двустороннем опирании плит перекрытий; б - то же в платформенных стыках наружных трехслойных стеновых панелей; в - то же в платформенных стыках наружных однослойных стеновых панелей; г - уменьшение прочности раствора в горизонтальных швах при платформенных и контактных стыках внутренних стеновых панелей при двустороннем опирании плит перекрытий; д - то же при платформенных стыках наружных стеновых трехслойных панелей; - то же при платформенных и контактных стыках наружных однослойных панелей; 1 - при марке раствора М100; 2 - при марке раствора М50.

Приложение 13

Сортаменты двутавровых прокатных балок, изготовлявшихся в Росси и СССР до 1883 г., и рельсов железнодорожных для широкой колеи, изготовлявшихся до 1948 г.

h - высота балки;

b - ширина полки;

d -толщина стенки;

t - средняя толщина полки;

А - площадь поперечного сечения;

J - момент инерции;

W - момент сопротивления;

S - статический момент полусечения.

Таблица 13.1

Сталь прокатная. Балки двутавровые германских заводов
(справочник 1893 г.).

№ профилей

Вес 1 пм, кН

Размеры в мм

А, см2

Jx, cм4

Wх, см3

Jd/Sх, см2

h

b

d

t

8

0,058

80

42

3,9

5,9

7,58

77,8

19,5

1,7

9

0,069

90

46

4,2

6,3

9,00

117

25,0

3,2

10

0,082

100

50

4,5

6,8

10,6

171

34,2

3,8

11

0,095

110

54

4,8

7,2

12,3

230

43,5

4,3

12

0,109

120

58

5,1

7,7

14,2

328

54,7

5,2

13

0,124

130

62

5,4

8,1

16,1

436

67,1

6,0

14

0,141

140

66

5,7

8,6

18,3

573

81,9

6,8

15

0,157

150

70

6,0

9,0

20,4

735

98,0

7,7

16

0,176

160

74

6,3

9,5

22,8

935

117

8,6

17

0,194

170

78

6,6

9,9

25,2

1156

137

9,5

18

0,215

180

82

6,9

10,4

27,9

1446

161

10,6

19

0,236

190

86

7,1

10,8

30,6

1763

186

11,6

20

0,258

200

90

7,5

11,3

33,5

2142

214

12,8

21

0,281

210

94

7,8

11,7

36,4

2553

244

13,9

22

0,305

220

96

8,1

12,2

39,6

3060

278

15,2

23

0,329

230

102

8,4

12,6

42,7

3607

314

16,4

24

0,355

240

106

8,7

13,1

46,1

4246

384

17,9

25

0,383

250

110

9,0

13,6

49,7

4966

397

19,2

26

0,404

260

113

9,4

14,1

53,4

5744

442

20,8

27

0,440

270

116

9,7

14,7

57,2

6626

491

22,2

28

0,470

250

119

10,1

15,2

61,1

7537

542

23,8

29

0,500

29и

122

10,4

15,7

64,9

8636

596

25,6

30

0,532

300

125

10,8

16,2

69,1

9800

653

27,8

32

0,599

320

131

11,5

17,3

77,8

12510

782

31,2

34

0,668

340

137

12,2

18,3

86,8

15695

923

35,7

36

0,748

360

143

13,0

13,5

97,1

19505

1089

40,0

38

0,824

390

149

13,7

20,5

107

24012

1264

43,4

40

0,948

400

155

14,4 1

21,6

118

29213

1461

47,6

Таблица 13.2

Балки двутавровые (по ОСТ-16-26)

№ профилей

Вес 1 пм, кН

Размеры в мм

А, см2

Jx, cм4

Wх, см3

Jd/Sх, см2

h

b

d

t

10

0,085

100

57,0

4,5

6,3

11,03

180,4

36,1

2,68

12

0,111

120

63,4

5,1

7,1

14,34

334,4

55,7

4,05

14

0,130

140

69,8

5,7

7,9

18,08

565,0

81,3

5,72

16

0,172

160

76,2

6,3

6,8

22,26

909,0

113,6

7,34

18

0,207

130

82,6

6,9

9,6

26,81

1381,0

155,4

10,31

20

0,245

200

89,0

7,5

10,2

31,91

2014,0

201,4

13,16

22

0,237

220

95,4

8,1

11,3

37,38

2343,0

258,5

16,44

24

0,339

240

101,8

8,7

12,1

43,29

3903,0

325,0

20,12

26

0,333

260

103,2

9,3

13,0

49,63

5234,0

403,0

24,25

28

0,435

230

114,6

9,3

13,9

56,40

5878,0

491,0

28,81

30

0,430

300

121,0

10,5

14 7

63,61

8881,0

592,0

33,32

32

0,548

320

127,4

11,1

15,5

71,25

11292,0

706,0

39,27

36

0,676

550

140,0

12,3

17,2

87,82

17544,0

975,0

51,61

40

0,817

400

153,0

13,5

18,9

106,13

26037,0

1304,0

65,73

45

1,128

450

170,0

10,2

24,3

147,00

45850,0

2040,0

100,72

Таблица 13.3

Балки двутавровые (по ОСТ/НКТП 2451 и по ОСТ 10016-39)

№ профилей

Вес 1 пм, кН

Размеры в мм

А, см2

Jx, cм4

Wх, см3

Jd/Sх, см2

h

b

d

t

10

0,110

100

68

4,5

7,6

14,3

245

40

3,9

12

0,137

120

74

5,0

8,4

17,8

436

72,7

5,2

14

0,166

140

80

5,5

9,1

21,5

712

102

6,6

16

0,201

160

88

6,0

9,9

26,1

1130

141

8,3

18

0,236

180

94

6,5

10,7

30,6

1660

185

10,0

20а

0,274

200

100

7,0

11,4

35,5

2370

237

12,1

20в

0,305

200

102

9,0

11,4

39,5

2500

250

15,2

22а

0,324

220

110

7,5

12,3

42,0

3400

309

14,2

22в

0,357

220

112

9,5

12,3

46,4

3570

325

17,8

24а

0,367

240

116

8,0

13,0

47,7

4570

381

16,5

24в

0,404

240

118

10,0

13,0

52,6

4800

400

20,4

27а

0,462

270

124

10,5

13,7

60,0

6870

509

24,0

30а

0,471

300

126

9,0

14,4

61,2

8950

597

23,1

30в

0,517

300

128

11,0

14,4

67,2

9400

627

28,0

30с

0,563

300

130

13,0

14,4

73,2

9850

657

32,5

33а

0,523

330

130

9,5

15,0

68,1

11900

721

26,9

33в

0,575

330

132

11,5

15,0

74,7

12500

757

32,1

33с

0,626

330

134

13,5

15,0

81,3

13100

794

37,1

36а

0,588

360

136

10,0

15,8

76,3

15760

875

30,7

36в

0,644

360

138

12,0

15,8

83,5

16530

919

36,4

36с

0,698

360

140

14,0

15,8

90,7

17310

962

41,9

40а

0,663

400

142

10,5

16,5

86,1

21720

1090

35,7

40в

0,724

400

144

12,5

16,5

94,1

22780

1140

41,8

40с

0,786

400

146

14,5

16,5

102,0

23850

1190

48,2

45а

0,789

450

150

11,5

18,0

102,0

32240

1430

44,3

45в

0,857

450

152

13,5

18,0

111,0

33760

1500

51,3

45с

0,927

450

154

15,5

18,0

120,0

35280

1570

58,3

50а

0,918

500

158

12,0

20,0

119,0

46470

1860

51,4

50в

0,091

500

160

14,0

20,0

129,0

48560

1940

59,4

50с

1,069

500

162

16,0

20,0

139,0

50640

2080

66,9

55а

1,030

550

166

12,5

21,0

134,0

62870

2290

58,6

55в

1,118

550

168

14,5

21,0

145,0

65640

2390

67,3

55с

1,207

550

170

16,5

21,0

156,0

68410

2490

75,6

60а

1,158

600

176

13,0

22,0

151,0

83860

2800

67,3

60в

1,256

600

178

15,0

22,0

163,0

87460

2920

76,0

60с

1,344

600

180

17,0

22,0

175,0

91060

3040

85,3

Таблица 13.4

Балки двутавровые (по ГОСТ 8239 - 56*)

№ профилей

Вес 1 пм, кН

Размеры в мм

А, см2

Jx, cм4

Wх, см3

Jd/Sх, см2

h

b

d

t

10

0,093

100

55

4,5

7,2

12,0

198

30,7

3,9

12

0,113

120

64

4,8

7,3

14,7

350

58,4

5,0

14

0,134

140

73

4,9

7,5

17,4

572

81,7

6,0

16

0,156

160

81

5,0

7,8

29,2

873

109

7,0

18

0,181

180

100

5,1

8,1

23,4

1290

143

8,1

18а

0,195

180

100

5,1

8,3

25,4

1430

159

8,1

20

0,206

200

100

5,2

8,4

26,8

1840

184

9,2

20а

0,223

200

110

5,2

8,6

28,9

2030

203

9,3

22

0,235

220

110

5,4

8,7

30,6

2550

232

10,5

22а

0,253

220

120

5,4

8,9

32,8

2790

254

10,5

24

0,268

240

115

5,6

9,5

34,8

3460

289

11,9

24а

0,288

240

125

5,6

9,8

37,5

3800

317

12,0

27

0,309

270

125

6,0

9,8

40,2

5010

371

14,3

27а

0,333

270

135

6,0

10,2

43,2

5500

407

14,4

30

0,358

300

135

6,5

10,2

46,5

7080

472

17,2

30а

0,385

300

145

6,5

10,7

49,9

7780

518

17,3

33

0,414

330

140

7,0

11,2

53,8

9840

597

20,3

36

0,477

360

145

7,5

12,3

61,9

13380

743

23,7

40

0,550

400

155

8,0

13,0

71,4

18930

947

28,0

45

0,640

450

160

8,6

14,2

83,0

27450

1220

33,8

50

0,753

500

170

9,5

15,2

97,8

39290

1570

41,2

55

0,881

550

180

10,3

16,5

114

55150

1000

49,4

60

1,020

600

190

11,1

17,8

132

75450

2510

57,8

65

1,177

650

200

12,0

19,2

153

101400

3120

67,6

70

1,354

700

210

13,0

20,8

176

134600

3840

78,5

70a

1,550

700

210

15,0

24,0

202

152700

4360

89,8

70б

1,805

700

210

17,5

28,2

234

175370

5010

104,3

Таблица 13.5

Рельсы железнодорожные для широкой колеи (по ОСТ ВКС 118)

Геометрические характеристики рельсов

Типы рельсов

Размеры, мм

т

h

В

а

в

d

f

g

I-a

140

125

44

70

14

25

13,00

10

II

135

114

40

68

13

24

10,82

9

III

128

110

37

60

12

23

11,04

9

IV-a

120,5

100

40

53,5

12

21,5

13,00

0

Геометрические характеристики поперечного сечения рельсов

Типы рельсов

А, м2

Z, см

Jx, см4

Wx’ min, см3

Jxd/Sx, см2

Вес 1 пог. м, кН

I

55,6

6,96

1476

210

9,92

0,426

II

49,1

6,78

1223

180

9,98

0,375

III

42,8

6,21

968

147

8,07

0,327

IV

39,4

5,92

751

123

7,42

0,302

Приложение 14

Минимальные значения временного сопротивления и предела текучести для сталей, выплавлявшихся в СССР в 1931-1980 г.г. по действующим в то время ГОСТам

Марка стали

Стандарт, технические условия

Толщина проката, мм, или разряд толщин

Минимальные значения, кг/мм2

временного сопротивления

предела текучести

1

2

3

4

5

СтОс

ГОСТ 380-41

 

 

 

СтО

ГОСТ 380-60

4-40

32

19

Ст1

ОСТ 4125

4-40

32

19

Ст2

ОСТ 4125

 

43

19

 

ГОСТ 380-41

4-40

34

21

 

ГОСТ 380-50

 

34

22

Ст3

ОСТ 4125

 

38

22

 

ГОСТ 380-41

4-40

38

22

 

ГОСТ 380-50

 

38

24

 

ГОСТ 380-57

разр. 1

38

24(25)*

 

ГОСТ 380-60

разр. 2

38

23(24)*

 

ГОСТ 380-60*

разр. 3

38

21/22**

 

ГОСТ 380-71

до 20

37/38

23/24

 

ГОСТ 380-71 *

21-40

37/38

22/23

 

 

41-100

37/38

21/22

 

 

св.100

37/38

19/20

Cт3

ОСТ 12535-38

 

38

23

Мостовая

ГОСТ 6713-53

4-40

38

24

Мостовая

ГОСТ 6713-53

4-40

38

23

Ст4

ОСТ 4125

4-40

42

23

 

ГОСТ 380-50

 

42

26

 

ГОСТ 380-60

разр. 1

42

26

 

ГОСТ 380-60*

разр. 2

42

25

 

 

разр. 3

42

24

Ст 5

ОСТ 4125

4-40

50

23

 

ГОСТ 380-50

 

50

28

 

ГОСТ 380-60

разр. 1

60

28

 

ГОСТ 380-60*

разр. 2

50

27

 

 

разр. 3

50

26

СХЛ-2

ТУ НКЧМ-303

4-40

48

33

НЛ1

ГОСТ 5058-49

4-40

42

30

НЛ2

ГОСТ 5058-49

4-40

48

34

МСтТ

ГОСТ 9458-60

6-40

44

30

М12

ЧМТУ ЦНИИЧМ 54-58

21-32

46

33

09Г2

ГОСТ 5058-57

4-10

46

31

09Г2Д

 

11-24

45

30

 

 

25-30

44

30

 

ГОСТ 19281-73

4-20

45

31

 

ГОСТ 19281-73

21-32

45

30

09Г2С

ГОСТ 5058-65

4-9

50

35

09Г2СД

ГОСТ 19281-73

10-20

48

33

 

ГОСТ 19282-73

21-32

47

31

 

 

33-60

46

29

09Г2С термоупрочненная

ГОСТ 5058-65

10-32

54

40

10Г2С

ЧМТУ

ЦНИИЧМ 246-61

4-10

11-32

52

50

36

35

 

ГОСТ 5058-65

33-60

48

34

10Г2СД

ГОСТ 5058-57

4-32

50

35

10Г2с1 термоупрочненная

ГОСТ 5058-65

10-40

54

40

10Г2С1

ГОСТ 5058-65

4-10

52

36

10Г2С1Д

 

11-32

50

35

 

 

33-60

48

34

 

ГОСТ 19281-73

4-9

50

35

 

ГОСТ 19282-73

19-32

48

33

 

 

33-60

46

33

14Г2

ГОСТ 5058-65

4-9

47

34

 

ГОСТ 19281-73

 

 

 

 

ГОСТ 19282-73

10-32

46

33

14Г2 термоупрочненная

ГОСТ 5058-65

10-32

54

40

15ХСНД

ГОСТ 5058-57

 

 

 

(СХЛ-1,НЛ-2)

ГОСТ 5058-55

 

 

 

 

ГОСТ 19281-73

4-32

50

35

 

ГОСТ 19282-73

 

 

 

10ХСНД (СХЛ-4)

ГОСТ 5058-57

4-32

54

40

 

 

33-40

51

37

 

ГОСТ 5058-65

4-32

54

40

 

ГОСТ 19281-73

 

 

 

 

ГОСТ 19281-73

33-40

52

40

15ХСНД термоупрочненная

ГОСТ 5058-65

10-32

60

50

*В скобках даны возможные повышенные значения механических характеристик при поставке проката с дополнительной гарантией по пределу текучести.

**Механические характеристики для кипящих сталей (слева от черты) и для спокойных и полуспокойных (справа от черты).

СОДЕРЖАНИЕ

Введение. 1

Глава 1. Методы технического обследования зданий и сооружений. 4

1.1 Визуальные методы технического обследования. 5

1.2 визуально-инструментальные методы технического обследования. 18

Глава 2. Поверочные расчеты элементов конструкций при техническом обследовании. 40

2.1 определение расчетных нагрузок. 40

2.2 Определение расчетных сопротивлений материалов конструкции. 41

2.3 Расчет прочности конструкций. 43

2.4 Учет влияния дефектов, допущенных при изготовлении и эксплуатации строительных конструкций на их несущую способность. 44

Глава 3. Составление заключения (отчета) по результатам технического обследования. 44

Заключение. 46

Литература. 46

Приложения. 49

 




Rambler's Top100 Яндекс цитирования
  Copyright © 2008-2026, www.docload.ru