Бесплатная библиотека стандартов и нормативов www.docload.ru

Все документы, размещенные на этом сайте, не являются их официальным изданием и предназначены исключительно для ознакомительных целей.
Электронные копии этих документов могут распространяться без всяких ограничений. Вы можете размещать информацию с этого сайта на любом другом сайте.
Это некоммерческий сайт и здесь не продаются документы. Вы можете скачать их абсолютно бесплатно!
Содержимое сайта не нарушает чьих-либо авторских прав! Человек имеет право на информацию!

 

Ордена Ленина ГЛАВМОССТРОЙ при МОСГОРИСПОЛКОМЕ

ТЕХНИЧЕСКОЕ УПРАВЛЕНИЕ

ИНСТРУКЦИЯ
ПО ТЕХНОЛОГИИ ОБЛИЦОВКИ ПОВЕРХНОСТЕЙ
АСБЕСТОЦЕМЕНТНЫМИ ЛИСТАМИ ПО КАРКАСУ
ИЗ ПОЛОС ГИПСОКАРТОННЫХ ЛИСТОВ

ВСН-190-83

Москва - 1983

Ордена Ленина Главное управление по
жилищному и гражданскому
строительству в г. Москве

__________________

ГЛАВМОССТРОЙ при МОСГОРИСПОЛКОМЕ

________________

ТЕХНИЧЕСКОЕ УПРАВЛЕНИЕ

ИНСТРУКЦИЯ
по технологии облицовки поверхностей асбестоцементными листами по каркасу из полос гипсокартонных листов

ВСН 190-83

Главмосстрой

Москва - 1983

Инструкция по технологии облицовки поверхностей асбестоцементными листами по каркасу из полос гипсокартонных листов разработана лабораторией отделочных работ НИИМосстроя (канд. техн. наук А. Г. Булычев, Ю. М. Лукьянов) совместно с трестом Мосоргстрой (Л. К. Немцын) и Управлением отделочных работ (А. Д. Кокин).

Главмосстрой при Мосгорисполкоме

__________

Техническое управление

_____________

Управление отделочных работ

Ведомственные строительные нормы

ВСН 190-83

Инструкция
по технологии облицовки поверхностей асбестоцементными листами по каркасу из полос гипсокартонных листов

Главмосстрой

1. Общая часть

1.1. Настоящая «Инструкция» распространяется на работы по облицовке поверхностей стен асбестоцементными листами, окрашенными методом прямой печати.

1.2. Облицовку поверхностей стен асбестоцементными листами выполняют в зданиях культурно-бытового и общественного назначения с целью улучшения качества, сокращения трудоемких «мокрых» процессов и сроков производства отделочных работ.

1.3. Облицовку поверхностей стен выполняют по каркасу из полос гипсокартонных листов с целью экономии антисептированной и антипирированной древесины.

1.4. До начала облицовки (установки асбестоцементных листов) должны быть закончены строительно-монтажные и специальные работы, в том числе отделочные работы, связанные с «мокрыми» процессами (штукатурные, устройство цементных стяжек и др.).

Внесена
НИИМосстроем

Мосоргстроем

УТВЕРЖДЕНА:

Срок введения в действие
14.05.1983 г.

Техническим управлением Главмосстроя

________________

14 марта 1983 г.

Управлением отделочных работ

_______________

«__» _______ 1983 г.

1.5. Температурно-влажностный режим помещения, где производятся работы, должен соответствовать режиму его эксплуатации. В зимних условиях работы должны проводиться при постоянно действующих системах отопления и вентиляции, температура в помещении должна быть не ниже 8 °С.

2. Материалы, применяемые при облицовке стен асбестоцементными листами

2.1. Асбестоцементные листы, окрашенные методом прямой печати (ТУ 400-1-120-77), изготовляются Мосасботермокомбинатом из асбеста и портландцемента с последующей окраской лицевой поверхности на отделочном конвейере. Ширина листов - 830 мм.

Допускаемые отклонения от размеров листов не должны превышать по длине и ширине ±2 мм. Листы должны иметь правильную прямоугольную форму и прямые кромки. Обрез кромок должен быть ровный и чистый, без заусенцев и неровностей.

Допустимое искривление плоскости листов не должно превышать 3 мм на 1 пог. м. Лицевая поверхность должна быть ровной и гладкой, окрашенной в соответствии с эталоном и не иметь трещин, околов повреждений и других дефектов.

2.2. Гипсокартонные листы (ГОСТ 6206-81) изготавливает Павшинский комбинат гипсовых и термоизоляционных материалов объединения «Стройпластмасс» из строительного гипса и картона, прочно соединенного с гипсовым сердечником. Для маяков и марок при облицовке поверхностей асбестоцементными листами допускается применять гипсокартонные листы толщиной 10 или 14 мм. Влажность листов не должно превышать 1 % по весу.

2.3. Гипсовые вяжущие (ГОСТ 125-79) для приготовления мастик рекомендуется применять марок Г-2¸Г-25 нормального и медленного твердения. Сроки схватывания нормально отвердеющего гипса: начало - 6 мин., конец - 30 мин. Схватывание медленно твердеющего гипса начинается через 20 мин., конец схватывания - не нормирован.

2.4. Сульфитно-дрожжевая бражка (ЭОСТ 81-79-74) используется для приготовления сульфитно-гипсовой мастики, на которой производится наклейка деревянных марок и асбестоцементных листов.

2.5. Раскладка-защелка (ТУ-6-05-221-530-80) изготовляется из высоконаполненного поливинилхлорида мытищинским комбинатом объединения «Стройпластмасс» и предназначается для декоративной разделки вертикальных стыков между смежными асбестоцементными листами.

2.6. Клей «Перминид» (ТУ-400-1-196-78) для наклейки декоративной раскладки между смежными асбестоцементными листами изготовляется московским заводом строительных красок. Клей должен отвечать следующим требованиям: иметь однородную массу темно-желтого цвета без посторонних включений, клеящая способность - прочность на отрыв составляет 2 кгс/см2.

2.7. Карбоксиметилцеллюлоза техническая (клей КМЦ) (ОСТ 6-05-386-73) применяется при приготовлении гипсовых мастик в качестве замедлителя схватывания гипса.

Клей КМЦ - порошкообразный или волокнистые материал с содержанием влаги до 10 %.

2.8. Перлитовый песок (ГОСТ 10832-74) фракция до 2,5 мм применяется в качестве наполнителя при изготовлении мастик на мытищинском комбинате «Стройперлит». Для приготовления гипсовой мастики применяется перлитовый песок М-100, объемная насыпная масса песка от 76 до 100 кг/м3.

3. Мастики для производства работ и технология их приготовления

3.1. Для приклеивания марок и маяков из гипсокартонных полос к облицовываемым поверхностям применяют мастики, вяжущим компонентом в которых является строительный гипс.

Рекомендуемые составы гипсовых мастик

Составляющие

Состав мастики в частях по массе

гипсовая

гипсоопилочная

гипсоперлитовая

Гипс строительный

100

100

100

Опилки древесные

-

12

-

Перлитовый песок фракций до 2,5 мм

-

-

4

Замедлитель – 10 %-ный водный раствор клея КМЦ

8

8

8

Вода затворения

70

65

65

3.2. Приготовление мастик для приклеивания марок и маяков производится на строительном объекте непосредственно перед их применением в растворомешалке любого типа.

За сутки до приготовления мастик готовят 10 %-ный водный раствор клея КМЦ. Для этого в емкость засыпают отмеренное количество клея КМЦ, заливают водой (90 % от массы клея) температурой не выше 40 °С и при периодическом перемешивании оставляют до полного растворения клея.

Приготовление гипсовой мастики

Сначала загружают в мешалку всю воду затворения и замедлитель схватывания гипса (клей КМЦ), которые перемешивают в точение 20-30 сек.

Затем при вращающемся лопастном вале мешалки загружают постепенно отдельными частями, и все перемешивают в течение 3-4 мин до получения однородной массы.

Приготовление гипсоопилочной и гипсоперлитовой мастик

При влажности опилок более 10 % (до 20 %) сначала заливают в растворомешалку воду затворения и замедлитель схватывания гипса, которые перемешивают в течение 20-30 сек. Затем загружают при перемешивании всю дозу опилок, а после этого - гипс частями, не прерывая процесса перемешивания. Перемешивание продолжают в течение 3-4 мин до образования однородной массы.

При применении сухих опилок (влажность до 10 %) или перлитового песка для приготовления гипсоперлитовой мастики их предварительно перемешивают с гипсом, после чего затворяют в растворомешалке так же, как и в предыдущем случае.

Примечание. В качестве замедлителя твердения гипса при приготовлении мастик допускается вместо клея КМЦ применение животного клея 10 %-ной концентрации в количестве 2 частей по массе или известково-клеевого замедлителя схватывания гипса в количестве 3 частей по массе.

Жизнеспособность приготовленных составов мастик должна составлять не менее 1 часа.

3.3. Для приклеивания деревянных марок и асбестоцементных листов следует применять сульфитно-гипсовую мастику следующего состава (в частях по массе):

сульфитно-дрожжевая бражка                   - 100;

гипс строительный                                      - 45-50

Приготовление сульфитно-гипсовой мастики производят в растворомешалке, куда вначале загружают сульфитно-дрожжевую бражку и при непрерывном перемешивании добавляют отдельными порциями всю дозу гипса. Перемешивание продолжают в течение 4-5 мин. до образования однородной массы.

4. Технология производства работ

4.1. Облицовка стен асбоцементными листами может выполняться по одному из двух типов каркаса:

1) Каркас из полос гипсокартонных листов с деревянными вставками с последующим креплением асбестоцементных листов алюминиевой раскладкой на шурупах, заворачиваемых в деревянные вставки.

2). Каркас из полос гипсокартонных листов с последующей приклейкой асбестоцементных листов на сульфитно-гипсовой мастике с разделкой вертикальных и горизонтальных стыков пластмассовыми раскладками.

4.2. Облицовка стен асбоцементными листами состоит из следующих процессов:

подготовка и провеска поверхностей;

заготовка полос из гипсокартонных листов;

раскрой асбестоцементных листов;

приготовление мастик;

установка марок и маяков в соответствии с разбивкой расположения листов на облицовываемой поверхности;

крепление или приклейка асбестоцементных листов на облицовываемую поверхность.

4.3. Подготовка поверхностей к отделке асбестоцементными листами производится после окончания основных общестроительных и санитарно-технических работ. До отделки должна быть закончена установка всех конструкций, к которым примыкают листы, а также выполнена монолитная штукатурка в тех местах, где нельзя применить асбестоцементные листы, и устроена скрытая электропроводка. Перегородки не должны иметь сквозных щелей и трещин. В местах примыкания перегородок к стенам швы необходимо законопатить. Влажность поверхностей не должна превышать 8 %.

Облицовываемую поверхность разбивают на захватки с разметкой мест установки асбестоцементных листов.

4.4. Раскрой полос шириной 100 мм из гипсокартонных листов для устройства каркаса и заготовка деревянных вставок размером 100 ´ 100 и толщиной от 15 до 25 мм должны осуществляться механизированным способом, централизованно в специальном помещении на стационарном столе.

При небольших объемах раскрой полос из гипсокартонных листов может производиться на верстаке с помощью ножа, линейки и рейсшины. При этом лист по линейке прорезают ножом с лицевой стороны на глубину не менее половины его толщины, затем лист перегибают по надрезу и разрезают картон с тыльной стороны.

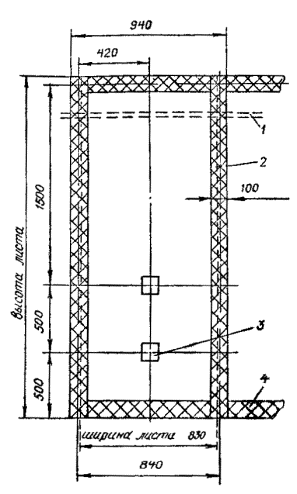
4.5. По отвесу с выверкой правилом на облицовываемую поверхность для каркаса первого (рис. 1) или второго типа (рис. 2) на одной из гипсовых мастик под каждый асбестоцементный лист устанавливают по два вертикальных и горизонтальных маяка из полос гипсокартонных листов, и один ряд вертикальных марок размером 100´100 мм с расстоянием между ними по высоте 50 см.

Кроме того, при устройстве каркаса первого типа приклеивают деревянные вставки. Для этого на тыльную сторону деревянных вставок наносят слой сульфитно-гипсовой мастики и прикладывают ее к облицовываемой поверхности. Затем легкими постукиваниями деревянную вставку утапливают в мастику так, чтобы ее плоскость была заподлицо с плоскостью ранее установленных маяков.

Правильность установленных каркасов определяют провешиванием по вертикали и горизонтали. Отклонения поверхности от горизонтали и вертикали ее должны быть более 1 мм на 1 пог. м. Ровность поверхности каркаса проверяет накладыванием 2-метровой рейки. Просвет между рейкой и поверхностью каркаса не должен превышать 2 мм.

Рис 1. Каркас из полос гипсокартонных листов с деревянными вставками (тип. 1)

1 - деревянные вставки; 2 - асбестоцементный лист; 3 - марка 100 ´ 100 мм; 4 - вертикальный маяк; 5 - горизонтальный маяк

Рис 2. Каркас из полос гипсокартонных листов (тип. 2)

1 - асбестоцементный лист; 2 - вертикальный маяк; 3 - марка 100 ´ 100 мм; 4 - горизонтальный маяк

4.6. Установку асбестоцементных листов допускается производить после полного твердения мастик, на которых приклеены марки и маяки, но не ранее чем через сутки после установки каркаса.

4.7. Крепление асбестоцементных листов по первому типу каркаса производится с помощью алюминиевой раскладки, которая закрепляется шурупами на деревянных вставках каркаса. Для дополнительного крепления асбестоцементных листов на маяки в марки каркаса с помощью шпателя наносится слой сульфитно-гипсовой мастики толщиной 3-5 мм.

4.8. Крепление асбестоцементных листов по второму типу каркаса производится на сульфитно-гипсовой мастике. Для этого на марки и маяки каркаса с помощью шпателя наносят слой сульфитно-гипсовой мастики толщиной 3-5 мм и приклеивают асбестоцементные листы. Установленные листы на период схватывания мастики прижимают и закрепляют монтажными гвоздями. Монтажные гвозди вбивают в уложенную поверх листов горизонтальную деревянную рейку и, проходя через стыки смежных листов, утапливают в вертикальный маяк, состоящий из гипсокартонной полосы и слоя мастики, на глубину не менее 25 мм. Рейка устанавливается в средней части листов и удаляется после полного твердения мастики, но не ранее чем через 24 часа.

4.9. При креплении асбестоцементных листов по второму типу вертикальные стыки между листами разделывают поливинилхлоридной раскладкой. Для этого тыльную сторону раскладки смазывают слоем клея «Перминид» толщиной не более 0,3 мм и приклеивают в шов между двумя смежными листами.

Верхняя, горизонтальная кромка асбестоцементных листов должна быть закреплена поливинилхлоридной торцевой раскладкой. Крепление раскладки производят с помощью шурупов к облицовываемой поверхности. Для этого, в местах стыков между листами сверлят отверстия диаметром 8 мм, устанавливают деревянные пробки, в которые заворачивают шурупы, крепящие раскладку и асбестоцементные листы.

4.10. Поливинилхлоридные раскладки должны подбираться по цвету, соответствующему фактуре асбестоцементного листа.

5. Требования к качеству поверхностей

Облицованная поверхность должна быть ровной и не иметь сквозных и поверхностных трещин, околов, пробоин, повреждений окраски.

Допускаемое отклонение поверхности во всех направлениях не должно превышать 3 мм при проверке 2-метровой рейкой.

6. Техника безопасности

6.1. При производстве облицовочных работ необходимо строго соблюдать правила техники безопасности в соответствии со СНиП III-4-80 «Техника безопасности в строительстве».

6.2. Все вновь поступающие на стройку рабочие должны пройти вводный инструктаж по технике безопасности, а также инструктаж по безопасности на рабочем месте при работе с конкретными механизмами, инструментами и синтетическими материалами.

Инструктаж на рабочем месте проводит производитель работ или мастер.

6.3. При работе с электрифицированным инструментом рабочие обязаны строго соблюдать правила техники безопасности. Провода электрических машин не должны иметь изломов и пересекаться с другими проводами, находящимися под напряжением. Чистить, смазывать и ремонтировать машины можно только после отключения их от электросети.

6.4. При производстве облицовочных работ следует использовать инвентарные столики, подмости, вышки.

СОДЕРЖАНИЕ

 




Rambler's Top100 Яндекс цитирования
  Copyright © 2008-2026, www.docload.ru