Бесплатная библиотека стандартов и нормативов www.docload.ru

Все документы, размещенные на этом сайте, не являются их официальным изданием и предназначены исключительно для ознакомительных целей.
Электронные копии этих документов могут распространяться без всяких ограничений. Вы можете размещать информацию с этого сайта на любом другом сайте.
Это некоммерческий сайт и здесь не продаются документы. Вы можете скачать их абсолютно бесплатно!
Содержимое сайта не нарушает чьих-либо авторских прав! Человек имеет право на информацию!

 

ВЕДОМСТВЕННЫЕ СТРОИТЕЛЬНЫЕ НОРМЫ

ИНСТРУКЦИЯ
ПО ТЕПЛОИЗОЛЯЦИИ СТЫКОВ НАРУЖНЫХ
СТЕНОВЫХ ПАНЕЛЕЙ МЕТОДОМ ЗАЛИВКИ ФРП-1

ВСН 220-86

ОРДЕНА ЛЕНИНА ГЛАВМОССТРОЙ ПРИ МОСГОРИСПОЛКОМЕ

 

ВЕДОМСТВЕННЫЕ СТРОИТЕЛЬНЫЕ НОРМЫ

ИНСТРУКЦИЯ
ПО ТЕПЛОИЗОЛЯЦИИ СТЫКОВ НАРУЖНЫХ
СТЕНОВЫХ ПАНЕЛЕЙ МЕТОДОМ ЗАЛИВКИ ФРП-1

ВСН 220-86

Ордена Ленина Главмосстрой при Мосгорисполкоме

«Ведомственные строительные нормы по теплоизоляции стыков наружных стеновых панелей методом заливки ФРП-1» разработаны институтом НИИМосстрой (к.т.н. Ф. С. Белавин, к.т.н. Е. Т. Артыкпаев, к.т.н. И. А. Румянцева, инж. Е. Ф. Файфман) совместно с ДСК-1 (инж. П. И. Немчинов) и МНИИТЭП ГлавАПУ (инж. А. Э. Янко) по результатам лабораторных и производственных исследований технологии приготовления жидкой композиции ФРП-1, заливки ее в вертикальные и горизонтальные стыки протяженностью до 3 м и с учетом опыта применения разработанной технологии при строительстве домов серии П44/17 ДСК-1. Экономический эффект от внедрения метода теплоизоляции стыков пенопластом ФРП-1 в домах серии П44/17 составляет 1,4 руб. на 1 м стыка.

Ведомственные строительные нормы содержат рекомендации по технологии заливки ФРП-1 в стыки наружных стеновых панелей жилых домов. Нормы предназначены для инженерно-технического персонала, выполняющего работы по теплоизоляции стыков фенольно-резольным пенопластом ФРП-1.

Ведомственные строительные нормы согласованы с МНИИТЭПом, ГлавАПУ, ДСК-1 Главмосстроя, отделом техники безопасности Главмосстроя, ВНИИПО и Городской санитарно-эпидемиологической станцией.

Ордена Ленина Главное управление по жилищному строительству

ГЛАВМОССТРОЙ
при Мосгорисполкоме

Ведомственные строительные нормы

ВСН 220-86

Вводятся впервые

Инструкция по теплоизоляции стыков наружных стеновых панелей методом заливки ФРП-1

1. ОБЩИЕ ПОЛОЖЕНИЯ

1.1. Настоящие нормы распространяются на технологию заливки жидкой композиции пенопласта ФРП-1 в построечных условиях в вертикальные и горизонтальные стыки наружных стеновых панелей жилых домов, возводимых Главмосстроем.

1.2. Теплоизоляция стыков фенольно-резольным пенопластом ФРП-1 должна осуществляться в соответствии с рабочими чертежами узлов наружных ограждающих конструкций, разработанными проектной организацией и утвержденными в установленном порядке.

Пример конструкция горизонтального и вертикального стыков панелей наружных стен жилых домов с теплоизоляцией ФРП-1 представлен на рис. 1 и 2.

Размер полости вертикальных стыков, в которых может быть применен метод заливки ФРП-1, должен быть не менее 70 мм (по ширине и глубине).

ВНЕСЕНА НИИМосстроем

УТВЕРЖДЕНА
Техническим управлением Главмосстроя
2 сентября 1986 г.

Срок
введения в действие
31 октября 1986 г.

1.3. Фенольно-резольный пенопласт ФРП-1 утвержден Министерством здравоохранения СССР для применения в строительстве без ограничения («Перечень полимерных материалов и конструкций, разрешенных в строительстве Министерством здравоохранения СССР» от 17 апреля 1985 г. № 3859-85, п. 2.1 и 2.16).

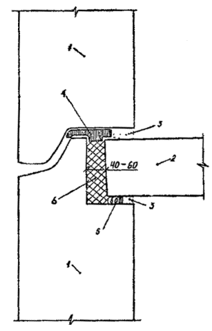
Рис. 1. Горизонтальный стык наружных стеновых панелей
с теплоизоляцией ФРП-1:

1 - панель наружной стены; 2 - панель перекрытия; 3 - цементно-песчаный раствор; 4 - уплотнительная прокладка из минераловатной плиты М75, оклеенная с 3-х сторон бутеролом или «Герволентом»; 5 - антисептированная пакля или синтетический жгут; 6 - ФРП-1

Рис. 2. Вертикальный стык наружных, стеновых панелей
с теплоизоляцией ФРП-1:

1 - панель наружной стены; 2 - панель внутренней стены; 3 - цементно-песчаный раствор; 4 - ФРП-1; 5 - гернит; 6 - воздухозащитная лента «Герволент»

2. ТЕХНИЧЕСКИЕ ТРЕБОВАНИЯ К ИСХОДНЫМ КОМПОНЕНТАМ

2.1. Жидкая композиция пенопласта ФРП-1 состоит из двух компонентов: смолы резольной ФРВ-1А и продукта ВАГ-3.

2.2. Резольная смола ФРВ-1А по своим свойствам должна отвечать требованиям и нормам ТУ 6-05-1104-78 «Смола резольная ФРВ», указанным в табл. 1.

Таблица 1

№ п/п

Наименование показателей

Требования и нормы

Методы испытаний по ТУ 6-05-1104-78

1.

Внешний вид

Вязкая жидкость серебристого цвета

п. 4.1

2.

Индукционный период при вспенивании, не ниже

40-240

п. 4.2

3.

Кратность вспенивания, не ниже

21

п. 4.3

4.

Вязкость по Гепплеру при 20 °С сП в течение гарантийного срока, не более

10000

п. 4.4

2.3. Продукт ВАГ-3 по своим свойствам должен отвечать требованиям и нормам ТУ 6-05-1116-78 «Продукт ВАГ-3», указанным в табл. 2.

Таблица 2

№ п/п

Наименование показателей

Требования и нормы

Методы испытаний по ТУ 6-05-1116-78

1.

Внешний вид

Гомогенная средневязкая жидкость от желтого до коричневого цвета

п. 4.1

2.

Плотность при 20 °С, г/см3

1,39-1,43

п. 4.2

3.

Кислотное число, мг кон/г продукта

225-255

п. 4.3

2.4. Кратность вспенивания, индукционный период при вспенивании и вязкость определяют непосредственно при получении материалов от каждой партии компонентов.

3. ТЕХНИЧЕСКИЕ ТРЕБОВАНИЯ К ТЕПЛОИЗОЛЯЦИИ СТЫКОВ ИЗ ФЕНОЛЬНО-РЕЗОЛЬНОГО ПЕНОПЛАСТА ФРП-1

3.1. Теплоизоляция стыков из пенопласта ФРП-1 по своим физико-механическим и тепловлажностным свойствам должна отвечать требованиям ТУ 6-05-221-304-74 «Фенолформальдегидный пенопласт марки ФРП-1 и изделия из него».

Основные требования, предъявляемые к пенопласту ФРП-1 в стыках, представлены в табл. 3.

Таблица 3

№ п/п

Наименование показателей

Нормы для пенопласта ФРП-1

1.

Внешний вид

Мелкопористый материал однородной структуры розового цвета

2.

Плотность поверхностного слоя толщиной до 1,5 см, г/см3

80-100

3.

Сплошность поверхностного слоя

Наличие несрезанного уплотненного слоя по всей открытой поверхности стыка

3.2. Пенопласт ФРП-1 при вспенивании должен заполнять полностью объем стыка и имеющиеся в нем околы, раковины и щели.

3.3. При вспенивании ФРП-1 в стыках на его поверхности на глубине до 1,5 см от наружной поверхности образуется уплотненный поверхностный алой пенопласта плотностью от 80 до 100 кг/м3 обладающий водозащитными свойствами. По показателю горючести ФРП-1 с плотностью более 80 кг/м3 относится к трудносгораемым материалам.

Срезание поверхностного наружного слоя ФРП-1 не допускается.

3.4. При попадании смолы ФРВ-1А, катализатора ВАГ-3 или жидкой композиции ФРП-1 на внутренние бетонные поверхности необходимо эти поверхности обработать светлой эмалью или нитроэмалью, просушить и произвести шпатлевку по обработанной поверхности.

4. ТЕХНОЛОГИЯ ТЕПЛОИЗОЛЯЦИИ ФЕНОЛЬНО-РЕЗОЛЬНЫМ ПЕНОПЛАСТОМ ФРП-1 ВЕРТИКАЛЬНЫХ И ГОРИЗОНТАЛЬНЫХ СТЫКОВ НАРУЖНЫХ СТЕНОВЫХ ПАНЕЛЕЙ

4.1. Заполнение стыков пенопластом ФРП-1 осуществляется поэтажно с панелей перекрытий.

4.2. Заполнение стыков осуществляют порционной заливкой в полость стыка жидкой композиции ФРП-1. Для этого два компонента: фенольно-резольную смолу ФРВ-1А и продукт ВАГ-3 подогревают, смешивают в соотношении 5:1 (летом), 4:1 (зимой) и заливают в стык.

4.3. Подогрев каждого компонента производят раздельно: до температуры 35-40 °С - летом, 45-50 °С - зимой, в механизированной установке (проект № 6102 СКВ Мосстрой). Соединение и перемешивание компонентов должны производиться непосредственно перед заливкой жидкой композиции в стык в пистолете-дозаторе механизированной установки. Длительность перемешивания не должна превышать 40-60 сек.

4.4. Заливка стыков осуществляется в несколько приемов. В каждый прием заливается порция композиции объемом 1,2-1,5 л. Количество таких порций, например, на вертикальный стык дома П44/17 (размером 160´140´2865 мм) и аналогичных конструкций должно составлять: летом - 3 порции, зимой 3-4; на горизонтальный стык (сечением 140´50 мм) - одна порция композиции в расчете на 1 м.

4.5. Для предотвращения вытекания жидкой композиции ФРП-1 из полости вертикального стыка и обеспечения заполнения стыка теплоизоляцией согласно проекту перезаливкой композиции на всю высоту стыка устанавливают специальную опалубку.

Опалубкой может служить также жгут из вспененного полиэтилена Вилатерм-С в обертке из 2-х - 3-х слоев высокопрочной полиэтиленовой пленки с плотным его обжатием между наружной и внутренней стеновыми панелями. Отсутствие адгезии ФРП-1 к полиэтиленовой пленке обеспечивает хорошую распалубку стыка.

Другим вариантом опалубки вертикального стыка может быть стальной уголок с приклеенным на КН-3 слоем эластичного пенополиуретана (ППУ), по наружной поверхности которого также устраивается 2-3 слоя пленки из высокопрочного полиэтилена. В этом случае опалубку прижимают к открытой поверхности стыка распорками из стальных труб.

4.6. После заливки последней порции композиции ФРП-1 сверху на вертикальный стык для ограничения высоты вспенивания пенопласта и создания на его поверхности уплотненного слоя устанавливается дополнительная опалубка. Для этих же целей предназначена и опалубка для горизонтальных стыков.

4.7. При теплоизоляции горизонтальных стыков установку опалубки производят после заливки в стык каждой порции жидкой композиции.

Опалубкой для горизонтального стыка может служить доска, например, для стыков дома П44/17 (размером 1800´150´20 мм) с приклеенным слоем эластичного ППУ и с наружными 2-3 слоями пленки из гладкого высокопрочного полиэтилена.

В период вспенивания пенопласта опалубка пригружается с усилием, ограничивающим уровень вспенивания пенопласта на высоту, не превышающую проектной.

4.8. Распалубка стыков выполняется сразу же по окончании процесса вспенивания пенопласта.

4.9. Заливку очередной порции жидкой композиции в стык производят после вспенивания предыдущей порции.

4.10. В период дождей открытые участки теплоизоляции из ФРП-1 в стыках панелей на монтируемых этажах закрывают полиэтиленовой пленкой для защиты от влажностных воздействий.

5. КОНТРОЛЬ КАЧЕСТВА ТЕПЛОИЗОЛЯЦИИ ФРП-1

5.1. Для обеспечения удовлетворительного качества теплоизоляции стыков систематически осуществляют пооперационный входной контроль исходных компонентов. При получении компонентов ФРП-1, не удовлетворяющих требованиям ТУ 6-05-221-304-74, их возвращают изготовителю. Использование компонентов, не соответствующих ТУ 6-05-221-304-74, для теплоизоляции стыков не допускается.

5.2. Контроль качества теплоизоляции из ФРП-1 в стыках проводят по следующим показателям: степень заполнения стыка ФРП-1, внешний вид и плотность пенопласта.

5.3. Степень заполнения стыка проверяется на каждом участке стыка после его распалубки. Пенопласт должен заполнять весь объем стыка, как указано на рис. 1 и 2. В случае, если заполнение стыка неполное, следует вскрыть и ликвидировать причины некачественного заполнения стыка и этот участок теплоизолировать повторно.

5.4. Внешний вид пенопласта ФРП-1 проверяют визуально.

5.5. Плотность пенопласта ФРП-1 в горизонтальном стыке определяют по ГОСТ 17177-81 путем отбора проб с наружной поверхности теплоизоляции стыка по 3 образца сечением 5´3 см на глубине до 1,5 см с сохранением на образцах уплотненного поверхностного слоя.

Участки с выбранным пенопластом теплоизолируются вновь.

Плотность пенопласта r в кг/м3 вычисляется по формуле:

                                                                        (1)

где: m - масса высушенного образца, кг;

u - объем образца, м8.

5.6. Плотность пенопласта в вертикальном стыке определяют аналогично.

При невозможности выемки образцов указанных размеров плотность ФРП-1 в вертикальном стыке определяют путем заливки пенопласта в разъемную опалубку макета стыка с сечением канала, адекватным сечению стыка, а высотой - не менее 1 м. После отверждения пенопласта с макета снимают опалубку и с наружной поверхности теплоизоляционного слоя вырезают образцы сечением 5´3 см на глубину до 1,5 см.

Контроль плотности поверхностного слоя теплоизоляции в стыках производится в каждой секции дома. Количество вертикальных и горизонтальных стыков, на которых производится проверка плотности пенопласта, не менее 3-х на одну секцию.

5.7. Сплошность поверхностного слоя обеспечивается при сохранении уплотненного слоя по всей открытой (после снятия опалубки) поверхности стыка.

Во избежание срезания пенопласта необходимо ограничить его вспенивание только в пределах заливаемой полости стыка путем обеспечения в период вспенивания плотного прилегания опалубки к стыку.

Визуальный контроль за соблюдением сплошности поверхностного слоя и полного заполнения полости стыков проводится при заливке всех стыков.

6. ТРАНСПОРТИРОВАНИЕ И ХРАНЕНИЕ
ЖИДКИХ КОМПОНЕНТОВ ПЕНОПЛАСТА ФРП-1

6.1. Транспортирование на базу УПТК смолы марки ФРВ-1А и катализатора ВАГ-3 осуществляют любым видом железнодорожного и автомобильного транспорта, обеспечивающим сохранность тары.

На базе смолу для хранения перекачивают в емкости с обогревом объемом 25 м3. При необходимости доставки смолы на стройку ее перекачивают во фляги емкостью 40 л и поставляют к месту применения.

6.2. Смолу резольную ФРВ-1А упаковывают в соответствующую тару:

бидоны из стали емкостью 20 л по ГОСТ 5105-66;

фляги стальные емкостью 40 л по ГОСТ 5799-69;

бочки стальные оцинкованные емкостью 200 л по ГОСТ 13950-68, по ГОСТ 17366-71 или по ГОСТ 6247-72.

Допускается упаковка и в другие тары, обеспечивающие сохранность качества продукции. Для удобства работы со смолой ФРВ-1А рекомендуется на перекрытии применять емкости не более 50 л.

6.3. Бидоны и фляги со смолой должны быть плотно закрыты крышками с прокладками из резины или других мягких уплотняющих материалов. Из бочек наиболее целесообразно использовать те, которые имеют съемные или откидывающиеся крышки с аналогичными прокладками. В случае использования бочек с закрывающимися резьбовыми пробками для смолы марки ФРВ-1А, их необходимо держать открытыми в течение 2-х суток с момента заполнения.

6.4. Из стальных бочек с резьбовыми пробками предпочтительно использовать бочки, снабженные воздушками.

6.5. Смола должна храниться в складском помещении или под навесом, защищающем ее от прямых солнечных лучей и атмосферных осадков, вдали от источников открытого огня. Тара со смолой ФРВ-1А должна при хранении иметь сообщение с атмосферой. Оптимальная температура хранения смолы от минус 5 °С до +20°С. Максимальная температура хранения +30 °С.

6.6. Тарой для продукта ВАГ-3 служат все вида тары, указанные в ГОСТ 2184-67 «Кислота серная техническая».

6.7. В качестве тары для продукта ВАГ-3 возможно использовать бидоны, фляги и бочки из полиэтилена с плотно закрывающимися крышками с прокладками из резины или других мягких материалов.

Наиболее удобной тарой для продукта ВАГ-3 являются бочки со съемными или откидывающимися крышками с прокладками из мягких материалов. В бочки предварительно закладывают полиэтиленовый пакет, в который затаривают продукт ВАГ-3. После разового использования пакет, загрязненный продуктом ВАГ-3, сжигают.

Транспортирование на базу УПТК катализатора ВАГ-3 осуществляют любым видом железнодорожного и автомобильного транспорта. В утепленном помещении базы катализатор перекачивают в емкости объемом 25 м3 и хранят в теплом складе. Для доставки ВАГ-3 на стройку его перекачивают во фляги объемом 40 л.

6.8. Продукт ВАГ-3 хранят в складских помещениях или под навесом в условиях, исключающих нагревание тары и попадание в продукт атмосферных осадков.

6.9. При хранении продукта ВАГ-3 допускается образование в нем осадка. В процессе длительного хранения при температурах ниже +10 °С допускается затвердение продукта. В этом случае продукт перед использованием разогревают до температуры +45°С или выдерживают его в течение 1-2 суток при комнатной температуре. Разогрев проводят при наличии сообщения тары с атмосферой.

7. ТРЕБОВАНИЯ БЕЗОПАСНОСТИ

7.1. При производстве работ по теплоизоляции стыков фенольно-резольным пенопластом ФРП-1 необходимо выполнять требования СНиП III-4-80 «Техника безопасности в строительстве», п. 2.4 «Указаний по пожарной безопасности для рабочих и инженерно-технических работников Главмосстроя», «Правил пожарной безопасности при производстве строительно-монтажных работ» (утвержденных ГУПО МВД СССР 26 марта 1968 г.) и требования настоящих ВСН.

7.2. При работе с компонентами пенопласта ФРП-1 смолой ФРВ-1А и катализатором ВАГ-3 должны быть предусмотрены меры, обеспечивавшие безопасные условия работы, поскольку смола и катализатор содержат в своем составе фенол, формальдегид, кислоты, а при вспенивании и отверждении выделяются газы, содержащие эти вещества.

Фенол и формальдегид вызывают сильное раздражение и обжигающее действие. При хроническом отравлении ими происходит раздражение дыхательных путей, расстройство пищеварения, возникает тошнота, общая слабость, головокружение.

Граница восприятия запаха фенола 4 мг/м3. Предел допустимых концентраций (ПДК) фенола в воздухе рабочей зоны 5 мг/м3.

Граница восприятия запаха формальдегида 2,2 мг/м3. ПДК формальдегида в рабочей зоне - 0,5 мг/м3.

Первая помощь при отравлении - увести пострадавшего с места заливки на свежий воздух.

7.3. При выполнении работ по заливке стыков рабочие должны пользоваться спецодеждой из брезента (ТУ 17-08-123-80) и резиновыми перчатками техническими типа 2 (ГОСТ 20010-74), кремом типа «Биологические перчатки», респираторами «Лепесток-200», «Астра-2».

При заливке горизонтальных стыков рабочие должны применять индивидуальные страховочные приспособления.

7.4. При заливке стыков запрещается курить и пользоваться открытым огнем.

7.5. Запрещается на рабочем места принимать пищу.

7.6. При попадании продукта ВАГ-3 на незащищенную кожу и одежду необходимо быстро промыть пораженное место водой.

7.7. При попадании фенольной смолы на кожу необходимо протереть пораженное место уайт-спиритом или перхлорэтиленом, промыть водой.

7.8. При работе с продуктом ВАГ-3 необходимо пользоваться резиновыми перчатками, а при вскрытии тары с продуктом ВАГ-3 - защитными очками, чтобы избежать попадания брызг в глаза.

7.9. Категорически запрещается открывать стальные пробки и крышки тары с продуктом ВАГ-3 и со смолой ФРВ-1А, ударяя по ним стальными предметами. Открывать пробки следует неискрящимся бронзовым ключом.

7.10. Категорически запрещается хранить тару с продуктом и из-под продукта ВАГ-3, со смолой ФРВ-1А, а также проводить погрузочно-разгрузочные работы вблизи источников открытого огня.

7.11. Категорически запрещается курить при вскрытии тары с продуктом ВАГ-3, смолой ДРВ-1А.

7.12. Во избежание накопления газов и разрыва тары при хранении необходимо обеспечить сообщение тары с атмосферой посредством открывания пробок в бочках или установить специальные заглушки, имеющие каналы, сообщающиеся с атмосферой.

7.13. Во избежание накопления водорода в полости закрытой тары над смолой необходимо, как только смола получена, приоткрывать винтовые пробки или крышки тары для сообщения полости тары с атмосферой.

7.14. Категорически запрещается разогревать металлическую тару со смолой ФРВ-1А открытым огнем.

7.15. Категорически запрещается нагревание продукта ВАГ-3 выше температуры 50 °С, так как при этом идет процесс частичного разложения продукта с выделением газов.

7.16. После окончания работ, связанных с заливкой жидкой композицией ФРП-1, рабочие должны вымыть руки и лицо.

7.17. К работе по заливке стыков фенольным пенопластом должны допускаться рабочие, проведшие инструктаж по технике безопасности и ознакомленные с настоящими ВCН.

7.18. Лаборатория ДОК должны осуществлять выборочный контроль за состоянием воздуха в рабочей зоне при вспенивании ФРП-1.

СОДЕРЖАНИЕ

 




Rambler's Top100 Яндекс цитирования
  Copyright © 2008-2026, www.docload.ru