Бесплатная библиотека стандартов и нормативов www.docload.ru

Все документы, размещенные на этом сайте, не являются их официальным изданием и предназначены исключительно для ознакомительных целей.
Электронные копии этих документов могут распространяться без всяких ограничений. Вы можете размещать информацию с этого сайта на любом другом сайте.
Это некоммерческий сайт и здесь не продаются документы. Вы можете скачать их абсолютно бесплатно!
Содержимое сайта не нарушает чьих-либо авторских прав! Человек имеет право на информацию!

 

Государственный Стандарт Российской Федерации

Гидроэлеватор пожарный

Технические условия

ГОСТ Р 50398-92

Государственный Стандарт Российской Федерации

Гидроэлеватор пожарный

Технические условия

Fire hydraulic elevator.
Specifications

ГОСТ Р
50398-92

Дата введения 01.01.94

Настоящий стандарт распространяется на гидроэлеватор эжекторного типа (далее - гидроэлеватор), предназначенный для забора воды из водоисточника с уровнем, превышающим максимальную высоту всасывания насосов, а также для удаления из помещений воды, пролитой при тушении пожара.

Стандарт не распространяется на гидроэлеваторы, предназначенные для работы на морской воде.

Требования разд. 1-5; пп. 6.1-6.4; 6.6; разд. 7-9 настоящего стандарта являются обязательными, другие требования настоящего стандарта являются рекомендуемыми.

1. Основные параметры и размеры

1.1. Гидроэлеватор должен изготовляться в климатических исполнениях У, ХЛ и Т для категории размещения 1 по ГОСТ 15150.

1.2. Основные параметры и размеры гидроэлеваторов должны соответствовать значениям, приведенным в таблице и на черт. 1.

Наименование параметра

Значение

Производительность, л/мин, не менее

600

Расход воды при давлении перед гидроэлеватором 0,8 МПа (8 кгс/см2), л/мин, не более

550

Давление перед гидроэлеватором, МПа (кгс/см2)

0,2-1,0 (2,0-10,0)

Давление за гидроэлеватором (при указанной производительности), МПа (кгс/см2), не менее

0,17 (1,7)

Наименьшая высота слоя воды, эжектируемой гидроэлеватором, мм

10

Габаритные размеры, мм, не более:

 

- длина L

645

- ширина В

250

- высота Н

160

Масса, кг, не более

5,1

Пример условного обозначения гидроэлеватора пожарного Г-600:

исполнения У:

Гидроэлеватор Г-600 У ГОСТ Р 50398-92

исполнения ХЛ:

Гидроэлеватор Г-600ХЛ ГОСТ Р 50398-92

исполнения Т:

Гидроэлеватор Г-600 Т ГОСТ Р 50398-92

Гидроэлеватор пожарный Г-600

1 - соединительная головка ГМ-70, 2 - колено, 3 - решетка, 4 - сопло, 5 - диффузор, 6 - соединительная головка ГМ-80

Чертеж 1.

Примечание. Чертеж не определяет конструкцию гидроэлеватора.

2. Технические требования

2.1. Гидроэлеватор должен изготовляться в соответствии с требованиями настоящего стандарта, ГОСТ 12.2.037, по чертежам, утвержденным в установленном порядке.

2.2. Гидроэлеватор должен выдерживать гидравлическое давление 1,5+0,1 МПа (15+1,0 кгс/см2). При этом не допускается появление следов воды (в виде капель) на наружных поверхностях деталей и в местах соединений.

2.3. Предельные отклонения размеров отливок деталей, мм:

±0,6 - для номинальных размеров     до 60 мм включ.

±0,7                                                 св. 60 до 100 мм включ.

±0,8                                                 св. 100 до 160 мм ”

±0,9                                                 св. 160 до 250 мм ”

2.4. Литые детали должны быть изготовлены из алюминиевого сплава марки АК7 (АК7) или АК7ч (АЛ9) по ГОСТ 1583 или других материалов по пп. 2.4, 2.5 с механическими и антикоррозионными свойствами, не уступающими указанным материалам.

2.5. Решетка должна быть изготовлена из проволочной сетки с номинальным размером ячейки в свету 5 мм по ГОСТ 3826. Проволока сетки диаметром 1,2 мм - из высоколегированной стали.

2.6. Поверхности литых деталей не должны иметь трещин, посторонних включений и других дефектов, влияющих на прочность герметичность и ухудшающих внешний вид гидроэлеватора.

2.7. На поверхностях литых деталей не допускаются раковины, длина которых превышает 3 мм и глубина 25% толщины стенки детали.

На внутренних поверхностях сопла и диффузора гидроэлеватора раковины не допускаются.

Заливы, наросты, литники и прибыли должны быть зачищены заподлицо с поверхностью отливок.

2.8. Метрические резьбы должны выполняться по ГОСТ 24705 с полями допусков по ГОСТ 16093: 7Н - для внутренних резьб и 8g - для наружных резьб.

Трубные цилиндрические резьбы - по ГОСТ 6357, класс В.

Резьба должны быть полного профиля, без вмятин, забоин, подрезов и сорванных ниток.

Не допускаются местные срывы, выкрашивания и дробления резьбы общей длиной более 10% длины нарезки, при этом на одном витке - более 0,2 его длины.

2.9. Стальные крепежные детали должны иметь покрытие Ц9хр, выполненное в соответствие с требованиями ГОСТ 9.301.

2.10. Соединительные головки - по ГОСТ 28352.

2.11. Уплотнительные кольца гидроэлеваторов в климатических исполнениях У и ХЛ должны изготовляться из резины с диапазоном рабочей температуры от 213 до 333 К (от минус 60 до плюс 60°С), а климатического исполнения Т - из резины групп II и III по ГОСТ 15152.

2.12. Резьбовые части деталей перед сборкой должны быть смазаны солидолом по ГОСТ 4366.

2.13. Наружные поверхности металлических деталей гидроэлеватора, по требованию заказчика должны быть покрыты эмалью серебристого цвета марки ХВ - 16 по ТУ 6-10-1301 по грунтовке марки АК-070 по ГОСТ 25718.

Подготовка поверхностей и нанесение лакокрасочных покрытий должны соответствовать требованиям ГОСТ 9.401: внешний вид покрытий - по ГОСТ 9.032 класс IV; группы условий эксплуатации У1 - для исполнения У, Т1 - для исполнения Т по ГОСТ 9.104.

2.14. Гидроэлеватор должен соответствовать следующим показателям надежности:

гамма-процентный (g=90%) полный срок службы Трg сп неменее 11 лет;

гамма-процентный (g=90%) срок сохраняемости Тсg - не менее 1 года;

вероятность безотказной работы за цикл - не менее 0,993.

Циклом следует считать нагружение гидроэлеватора в рабочем положении (п. 4.4) гидравлическим давлением от 0 до 1 МПа (10 кгс/см2) с подачей воды и последующим снижением давления до нуля. Время выдержки при наибольшем давлении (60±10) с.

3. Приемка

3.1. Для проверки соответствия гидроэлеватора требованиям настоящего стандарта изготовитель должен проводить приемосдаточные, периодические испытания, а также испытания на надежность.

3.2. При приемосдаточных испытаниях каждый гидроэлеватор проверяют на соответствие требованиям пп. 1.2, 2.2; 2.4, 2.6 (наличие покрытия), 2.7, 2.13, 5.1, 5.2, 6.1, 6.2, 6.3, 6.6, 7.2.

3.3. Периодические испытания следует проводить не реже раза в год на соответствие гидроэлеватора всем требованиям настоящего стандарта (кроме п. 2.14) на трех гидроэлеваторах каждого климатического исполнения из числа прошедших приемосдаточные испытания.

3.4. Испытания на надежность следует проводить раз в пять лет. Испытаниям подвергают гидроэлеваторы, отобранные методом случайного отбора из числа прошедших приемосдаточные испытания.

Показатели полного срока службы и срока сохраняемости по п. 2.14 контролируют в соответствии с РД 50-690 при следующих исходных данных:

доверительная вероятность q - 0,9;

регламентированная вероятность g - 0,9;

число испытываемых гидроэлеваторов - 20 (независимо от климатического исполнения);

приемочное число предельных состояний - 0;

приемочное число отказов - 0.

Показатель вероятности безотказной работы по п. 2.14 контролируют в соответствии с ГОСТ 27.410 одноступенчатым методом при следующих исходных данных:

риск изготовителя a - 0,1;

риск потребителя b - 0,1;

приемочный уровень Pa - 0,999;

браковочный уровень Рb - 0,993

число циклов 554 (для каждого гидроэлеватора);

число испытываемых гидроэлеваторов - 2 (независимо от климатического исполнения);

приемочное число отказов - 1.

3.5. Качество гидроэлеваторов проверяют на изделиях в количестве 2% от партии, но не менее 3 шт., в объеме приемосдаточных испытаний. Партия состоит из гидроэлеваторов одного климатического исполнения, изготовленных в одну смену или предъявленных к приемке по одному документу.

Результаты проверки распространяют на всю партию.

4. Методы испытаний

4.1. Соответствие гидроэлеваторов требованиям пп. 2.4, 2.6, 2.7, 2.13, 5.1, 5.2, 6.1, 6.2, 6.3, 6.6, 7.2 проверяют визуально.

4.2. Линейные размеры гидроэлеватора по пп. 1.2, 2.1, 2.3, 2.4 проверяют линейкой по ГОСТ 427 с ценой деления 1 мм и штангенциркулем по ГОСТ 166 с ценой деления 0,1 мм.

4.3. Проверку массы гидроэлеватора по п. 1.2 проверяют на весах по ГОСТ 23676 с ценой деления 0,01 кг; массу брутто по п. 6.6 - на весах по ГОСТ 23676 с ценой деления 0,1 кг.

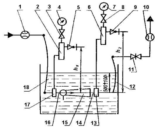
4.4. Производительность, расход воды, давление перед гидроэлеватором и давление за гидроэлеватором определяют на наладке, рекомендуемая схема которой приведена на черт. 2.

При этом гидроэлеватор должен быть погружен в воду на глубину (0,5±0,1) м до оси диффузора. Показания манометров, контролирующих давление перед гидроэлеватором, и давление за гидроэлеватором должны быть скорректированы на значение, равное давлению столба воды высотой h1, h2 от оси гидроэлеватора до оси проливочного крана по формулам

Рм1 = Р1 - Р ;                          Рм2 = Р2 - Р",

где Рм1 и Рм2     - значения давления на соответствующем манометре;

P1 и P2              - значения давления перед гидроэлеватором и давления за гидроэлеватором, заданные условиями испытания;

Р и Р"         - значения давления, равные высоте столбов воды.

Производительность гидроэлеватора должна быть определена при давлении перед гидроэлеватором (0,8+0,01) МПа [(8+01) кгс/см2] и давлении за гидроэлеватором (0,17-0,01) МПа [(1,7-0,1) кгс/см2]. Производительность определяют как разницу расходов воды после гидроэлеватора и рабочего расхода.

Расход воды определяют расходомером с погрешностью не более 2% или водомером типа БТ-80, после гидроэлеватора, водомером типа БТ-80 или БТ-100 по ГОСТ 14167 с погрешностью не более 5%.

Черт. 2

Давление следует определять манометрами класса точности 0,6; 1,0 с пределами измерений

0,..., 1,6 МПа (0,..., 16 кгс/см2) - перед гидроэлеватором и

0,..., 0,4 МПа (0,..., 4 кгс/см2) - после гидроэлеватора.

4.5. Наименьшую высоту слоя воды, эжектируемой гидроэлеватором, проверяют линейкой по ГОСТ 427 с ценой деления 1 мм.

Откачивание из заполненного водой противня площадью 1-1,5 м2 с высотой бортов 0,15-0,20 м проводят при давлении перед гидроэлеватором (0,8+0;01) МПа [(8,0+0,1) кгс/см2] и давлении за гидроэлеватором (0,17-0,01) МПа [(1,7-0,1) кгс/см2].

4.6. Метрические резьбы по п. 2.8 проверяют резьбовыми пробками по ГОСТ 17756, ГОСТ 17757 и резьбовыми кольцами по ГОСТ 17763, ГОСТ 17764; трубные цилиндрические резьбы - резьбовыми кольцами по ГОСТ 18929 и ГОСТ 18930.

4.7. Качество покрытий по п. 2.6 проверяют по ГОСТ 9.302 (контроль толщины и внешнего вида покрытия).

4.8. Качество покрытий по п. 2.13 проверяют внешним осмотром по ГОСТ 9.032.

4.9. Проверку на прочность и герметичность гидроэлеватора по п. 2.2 проводят на стенде в течение 2 мин при заглушенных отверстиях диффузора (входного и со стороны решетки).

4.10. Показатель гамма-процентного полного срока службы (п. 2.14) следует проверять обработкой данных, полученных в условиях эксплуатации путем сбора информации в соответствии с требованиями РД 50-204.

Предельным состоянием следует считать такое техническое состояние гидроэлеватора, при котором восстановление его работоспособности нецелесообразно или невозможно.

Показатель срока сохраняемости следует проверять после хранения гидроэлеваторов в условиях завода-изготовителя в течение 1 года в объеме приемосдаточных испытаний.

Показатель вероятности безотказной работы следует проверять на стенде.

Отказом гидроэлеватора следует считать уменьшение его производительности более чем на 10% номинального значения. Контроль проводят через 100 циклов.

5. Комплектность

5.1. К гидроэлеваторам должен быть приложен паспорт, объединенный с техническим описанием и инструкцией по эксплуатации в соответствии с ГОСТ 2.601; число паспортов, прилагаемых к партии гидроэлеваторов, - по согласованию изготовителя с заказчиком.

5.2. К каждому гидроэлеватору исполнений У и Т необходимо прилагать резиновые кольца по ГОСТ 6557 (по одному для каждого типоразмера соединительной головки), паспорт, объединенный с техническим описанием и инструкцией по эксплуатации в соответствии с ГОСТ 2.601 и товаросопроводительную документацию в соответствии с условиями договора между изготовителем и заказчиком.

6. Маркировка и упаковка

6.1. На корпусе каждого гидроэлеватора (или отдельной табличке по ГОСТ 12969) должна быть нанесена маркировка, содержащая следующие данные:

товарный знак предприятия-изготовителя;

условное обозначение гидроэлеватора;

год выпуска;

обозначение настоящего стандарта;

рабочее давление (максимальное);

стрелка, указывающая направление потока жидкости (выполненная в литье).

6.2. Маркировка должна сохраняться в течение всего срока службы гидроэлеватора.

6.3. Маркировка на ящиках должна соответствовать требованиям ГОСТ 14192 или ГОСТ 24634 и (или) договору между изготовителем и заказчиком

6.4. Гидроэлеваторы должны быть упакованы в контейнеры или решетчатые ящики по ГОСТ 2991.

6.5 Гидроэлеваторы должны быть обернуты бумагой марки Б-70 по ГОСТ 8828 или марки БП-2-35 по ГОСТ 9569 и упакованы в сплошные ящики типов II и III по ГОСТ 2991, изготовленные с учетом требований ГОСТ 24634 и выложенные внутри бумагой по ГОСТ 515.

Ящики должны быть окрашены эмалью марки ХВ-124 по ГОСТ 10144 или древесина должна быть пропитана антисептиками.

6.6. Масса брутто с упакованными гидроэлеваторами не должна превышать 80 кг.

6.7. Паспорт, сопроводительная документация гидроэлеваторов и запасные резиновые кольца гидроэлеваторов исполнения Т должны быть вложены в пакеты из поливинилхлоридной пленки марки В-0,15 по ГОСТ 16272 или полиэтиленовой пленки по ГОСТ 10354. Пакеты должны быть заварены и завернуты в бумагу по ГОСТ 515.

Запасные резиновые кольца гидроэлеваторов исполнения У должны быть завернуты в бумагу марки Б-70 по ГОСТ 8828 или марки БП-3-35 по ГОСТ 9569.

7. Транспортирование и хранение

7.1. Транспортирование гидроэлеваторов допускается транспортом любого вида в соответствии с правилами, действующими на транспорте данного вида.

Транспортирование гидроэлеваторов в универсальных контейнерах автомобильным транспортом может осуществляться без упаковки в тару с предохранением от механических повреждений.

7.2. Консервация выходного отверстия сопла и цилиндрической поверхности диффузора - по варианту защиты В31 по ГОСТ 9.014.

7.3. Условия хранения гидроэлеваторов в исполнении У и ХЛ по группе 2, исполнения Т - по группе 3; условия транспортирования - по группам 4, 6, 7, 9 по ГОСТ 15150.

8. Указания по эксплуатации

Гидроэлеваторы должны эксплуатироваться в соответствии с паспортом, объединенным с техническим описанием и инструкцией по эксплуатации.

9. Гарантии изготовителя

9.1. Изготовитель гарантирует соответствие гидроэлеваторов требованиям настоящего стандарта при соблюдении требований к эксплуатации, транспортированию и хранению.

9.2. Гарантийный срок эксплуатации - 24 мес исчисляется со дня ввода гидроэлеваторов в эксплуатацию.

Информационные данные

1. Разработан и внесен техническим комитетом (ТК 274) “Пожарная безопасность”

Разработчики:

А.В. Макеев; В.Ф. Федотов; В.В. Бабак; Г.М. Павелко (руководитель темы), Ю.В. Клименко; И.В. Герасимук; Д.И. Юрченко; Ю.Ф. Яковенко; В.А. Варганов; В.И. Степанов; А.П. Ашаков; В.Н. Морозов

2. Утвержден и введен в действие Постановлением Госстандарта России от 20.11.92 № 1498

3. Срок проверки - 1998 г, периодичность проверки - 5 лет

4. Взамен ГОСТ 7498-75

5. Ссылочные нормативно-технические документы

Обозначение НТД, на который дана ссылка

Номер пункта

ГОСТ 2.601-68

5.1; 5.2

ГОСТ 9.014-78

7.2

ГОСТ 9.032-74

2.13; 4.8

ГОСТ 9.104-79

2.13

ГОСТ 9.301-86

2.9

ГОСТ 9.302-88

4.7

ГОСТ 9.401-91

2.13

ГОСТ 12.2.037-78 ГОСТ 22037 Техника пожарная

2.1

ГОСТ 27.410-87

3.4

ГОСТ 166-89

4.2

ГОСТ 427-75

4.2; 4.5

ГОСТ 515-77

6.5; 6.7

ГОСТ 1583-89

2.4

ГОСТ 2991-85

6.4; 6.5

ГОСТ 3826-82

2.5

ГОСТ 4366-76

2.12

ГОСТ 6357-81

2.8

ГОСТ 6557-89

5.2

ГОСТ 8828-89

6.5; 6.7

ГОСТ 9569-79

6.5; 6.7

ГОСТ 10144-89

6.5

ГОСТ 10354-92

6.7

ГОСТ 12969-67

6.1

ГОСТ 14167-83

4.4

ГОСТ 14192-77

6.3

ГОСТ 15150-69

1.1; 7.3

ГОСТ 15152-69

2.11

ГОСТ 16093-81

2.8

ГОСТ 16272-79

6.7

ГОСТ 17756-72

4.6

ГОСТ 17757-72

4.6

ГОСТ 17763-72

4.6

ГОСТ 17764-72

4.6

ГОСТ 18929-73

4.6

ГОСТ 18930-73

4.6

ГОСТ 23676-79

4.3

ГОСТ 24634-81

6.3; 6.5

ГОСТ 24705-81

2.8

ГОСТ 25718-83

2.13

ГОСТ 28352-89

2.10

РД 50-204-87

4.10

РД 50-690-89

3.4

ТУ 6-10-1301-83

2.13

СОДЕРЖАНИЕ

 




Rambler's Top100 Яндекс цитирования
  Copyright © 2008-2026, www.docload.ru