Бесплатная библиотека стандартов и нормативов www.docload.ru

Все документы, размещенные на этом сайте, не являются их официальным изданием и предназначены исключительно для ознакомительных целей.
Электронные копии этих документов могут распространяться без всяких ограничений. Вы можете размещать информацию с этого сайта на любом другом сайте.
Это некоммерческий сайт и здесь не продаются документы. Вы можете скачать их абсолютно бесплатно!
Содержимое сайта не нарушает чьих-либо авторских прав! Человек имеет право на информацию!

 

ГОСУДАРСТВЕННЫЙ СТАНДАРТ СОЮЗА ССР

СОСУДЫ И АППАРАТЫ

АППАРАТЫ
ВОЗДУШНОГО ОХЛАЖДЕНИЯ

НОРМЫ И МЕТОДЫ РАСЧЕТА НА ПРОЧНОСТЬ

ГОСТ 25822-83
(СТ СЭВ 3649-82)

 

ГОСУДАРСТВЕННЫЙ КОМИТЕТ СССР ПО СТАНДАРТАМ

Москва

РАЗРАБОТАН Министерством химического и нефтяного машиностроения

ИСПОЛНИТЕЛИ

С.И. Зусмановская, канд. техн. наук (руководитель темы); Б.С. Вольфсон

ВНЕСЕН Министерством химического и нефтяного машиностроения

Член Коллегии А.М. Васильев

УТВЕРЖДЕН И ВВЕДЕН В ДЕЙСТВИЕ Постановлением Государственного комитета СССР по стандартам от 10 июня 1983 г. № 2516

ГОСУДАРСТВЕННЫЙ СТАНДАРТ СОЮЗА ССР

Сосуды и аппараты

АППАРАТЫ ВОЗДУШНОГО ОХЛАЖДЕНИЯ

Нормы и методы расчета на прочность

Vessels and apparatuses. Air cooled heat exchangers. Norms and methods of strength calculation

ГОСТ
25822-83

(СТ СЭВ 3649-82)

Постановлением Государственного комитета СССР по стандартам от 10 июня 1983 г. № 2516 срок введения установлен

с 01.01.84

Несоблюдение стандарта преследуется по закону

Настоящий стандарт распространяется на аппараты воздушного охлаждения с камерами разъемной конструкции с плоской прокладкой и камерами неразъемной конструкции, работающими под внутренним давлением.

Стандарт действителен при соблюдении требований ГОСТ 14249-80 и ГОСТ 24306-80.

Стандарт полностью соответствует СТ СЭВ 3649-82.

Условные обозначения величин - по справочному приложению 1.

1. УСЛОВИЯ ПРИМЕНЕНИЯ РАСЧЕТНЫХ ФОРМУЛ

1.1. Расчетные формулы применяют при условии, что расчетная температура не превышает значений, при которых возникает ползучесть материалов, т.е. при таких температурах, когда допускаемое напряжение по ГОСТ 14249-80 определяется только по пределу текучести или временному сопротивлению (пределу прочности).

1.2. Расчетные формулы применяют при условии, что разность температур между смежными потоками в многоходовых секциях не превышает 100 К.

1.3. Расчетные формулы применяют при выполнении следующих соотношений

   

1.4. Расчетные формулы применяют, если обеспечено свободное перемещение пучка в результате температурных удлинений.

1.5. Допускается использовать расчетные формулы для аналогичных схем камер аппаратов воздушного охлаждения, не приведенных на черт. 1 - 10.

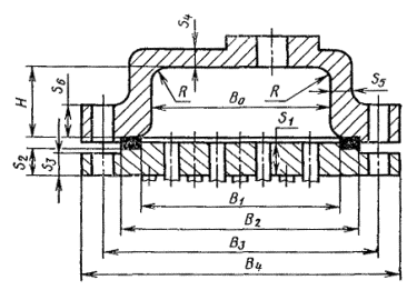
Черт. 1.

Камера разъемной конструкции со сварной крышкой

Черт. 2.

Камеры разъемной конструкции с литыми или штампованными крышками

Черт. 3

Черт. 4

Черт. 5.

Камера разъемной конструкции со сварной полуцилиндрической крышкой

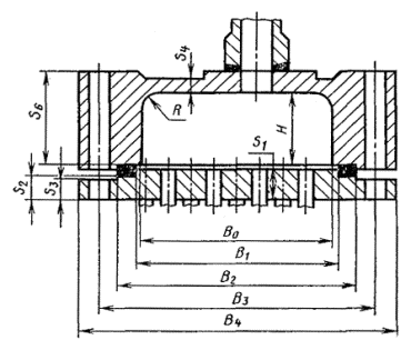
Черт. 6.

Камера неразъемной конструкции с полуцилиндрической задней стенкой

КАМЕРЫ НЕРАЗЪЕМНОЙ КОНСТРУКЦИИ

Черт. 7.

Сварная камера без перегородок

Черт. 8.

Штампо-сварная камера без перегородок

Черт. 9.

Сварная камера с перегородками

Черт. 10.

Штампо-сварная камера с перегородками

2. ВСПОМОГАТЕЛЬНЫЕ ВЕЛИЧИНЫ

2.1. Геометрические характеристики решетки

2.1.1. Расчетная ширина перфорированной зоны решетки

                                                        (1)

где t2 по черт. 11 и 12.

2.1.2. Относительная ширина беструбного края

                                                              (2)

Схемы размещения отверстий

Черт. 11

Черт. 12

Примечание. Черт. 1 - 12 не определяют конструкцию.

2.1.3. Вспомогательные коэффициенты

                                                (3)

                                                (4)

где t1 - см. черт. 11, 12.

2.2. Коэффициент ослабления решетки и задней стенки

                                                                 (5)

где dЕ равно

d0-2sT - для решеток с трубами, закрепленными на всю толщину решетки;

d0-sT - для решеток с трубами, закрепленными в части толщины решетки;

d0 - для стальных решеток с трубами из цветных металлов;

dpR - для перфорированной задней стенки.

2.3. Допускаемая нагрузка на единицу площади сечения трубного пучка

2.3.1. Допускаемая нагрузка из условия прочности труб

                                     (6)

2.3.2. Допускаемая нагрузка из условия прочности крепления трубы в решетке

          (7)

где

2.4. Коэффициент уменьшения допускаемых напряжений при продольном изгибе

                                         (8)

2.5. Расчетная ширина плоской прокладки

                                                (9)

2.6. Плечи изгибающих моментов в камерах по черт. 1 - 5

                                                         (10)

                                                         (11)

3. РАСЧЕТ КАМЕР РАЗЪЕМНОЙ КОНСТРУКЦИИ

3.1. Определение расчетного болтового усилия и проверка на прочность болтов (шпилек)

3.1.1. Расчетное усилие в болтах (шпильках) в условиях эксплуатации

                                   (12)

3.1.2. Расчетное усилие в болтах (шпильках) в условиях испытания или монтажа

                          (13)

3.1.3. Коэффициент  для фланцевых соединений с эксцентрично расположенной прокладкой в первом приближении принимают =2. Уточненное значение  определяют по обязательному приложению 2. Если предусмотрены специальные конструктивные меры, позволяющие разгрузить элементы разъемных камер от действия болтового изгибающего момента, то принимают =1.

3.1.4. Условие прочности шпилек (болтов)

                                                              (14)

                                                               (15)

где ;  - допускаемые напряжения для материала шпилек (болтов) принимают по нормативно-технической документации.

3.2. Расчет трубной решетки

3.2.1. Толщина трубной решетки в пределах зоны перфорации должна отвечать условию

                (16)

Коэффициенты Lр, yр и W - определяют по формулам

                                                            (17)

                                                              (18)

           (19)

При W>1 следует увеличивать толщину труб для выполнения условия W£l.

3.2.2. Толщины трубной решетки в месте уплотнения s2 и вне зоны уплотнения s3 должны отвечать условиям

                                                   (20)

                                                   (21)

Расчетное усилие F1 определяют по формуле

                                                          (22)

3.2.3. Условие прочности крепления труб в решетке

                                      (23)

Коэффициенты zF и zM определяют по черт. 13 в зависимости от величины

                                                        (24)

Черт. 13

3.3. Расчет крышки

3.3.1. Толщина донышка крышки по черт. 1 - 4 должна отвечать условию

                (25)

Коэффициенты Lk, yk, f1, f2, и ck определяют по формулам 26 - 29

                                                    (26)

                                       (27)

                                                  (28)

                                                        (29)

      (30)

3.3.2. Толщина донышка по черт. 5 должна отвечать условию

                                        (31)

Коэффициент Lk определяют по формуле (26)

                                    (32)

3.3.3. Толщина стенки крышки в месте присоединения к фланцу должна отвечать условию

                                              (33)

Расчетное усилие F1 определяют по формуле (22).

Коэффициент cс для крышек по черт. 1 - 3, 5 определяют по формуле (32), cс=ck - для крышек по черт. 4, ck - определяют по формуле (30).

3.3.4. Толщину фланца крышки s6 определяют по формуле (20) при [s]p=[s]k.

3.3.5. Толщина боковой стенки s7 крышек по черт. 1 - 4 должна отвечать условию

s7³s5,                                                                                                          (34)

а крышек по черт. 5 - условию

                                          (35)

4. РАСЧЕТ КАМЕР НЕРАЗЪЕМНОЙ КОНСТРУКЦИИ

4.1. Расчет камер неразъемной конструкции с плоской задней стенкой с пробками (черт. 7 - 10).

4.1.1. Толщина задней стенки должна отвечать условию

                        (36)

Коэффициент f3 определяют по формуле (37)

                                             (37)

Для камер по черт. 9, 10 f3=1.

Толщину решетки s1 следует принимать

s1=s4,                                                               (38)

4.1.2. Толщины верхней и нижней стенок для конструкций по черт. 7 и 9 должны отвечать условию

       (39)

а конструкций по черт. 8 и 10 - условию

s5=s4,                                                               (40)

4.1.3. Толщины усиливающих перегородок в камерах по черт. 9 и 10 должны отвечать условию

                                            (41)

4.1.4. Толщина боковой стенки должна отвечать условию

                                      (42)

Коэффициент f4 определяют по формуле

                                               (43)

4.2. Расчет камер неразъемной конструкции с полуцилиндрической задней стенкой (черт. 6).

4.2.1. Толщину трубной решетки s1 определяют по формуле (16) при Lр=0.

4.2.2. Толщину полуцилиндрической задней стенки s4 определяют по ГОСТ 14249-80 как цилиндрической обечайки, внутренний диаметр которой равен В0.

4.2.3. Толщину боковой стенки s7 определяют по формуле (35).

4.3. Условие прочности труб в решетке

                                          (44)

4.4. Если число циклов нагружения превышает 103, камеры проверяют на малоцикловую усталость по ГОСТ 25859-83.

ПРИЛОЖЕНИЕ 1

Справочное

УСЛОВНЫЕ ОБОЗНАЧЕНИЯ, ПРИМЕНЯЕМЫЕ В РАСЧЕТНЫХ ФОРМУЛАХ

aT - размер сварного шва приварки труб, мм;

b0, bk - ширина крайних пролетов камер (черт. 9 и 10), мм;

bi - ширина промежуточных пролетов камер (черт. 9 и 10), мм;

bp - ширина прокладки, мм;

bpR - расчетная ширина прокладки, мм;

с - прибавка на коррозию, мм;

cp - глубина канавок под прокладку в перфорированной задней стенке, мм;

d0 - диаметр отверстий в решетках камер (черт. 1 - 5), мм;

dB - диаметр болта (шпильки), мм;

dE - эффективный диаметр отверстия в решетке или задней стенке, мм;

dni - размер отверстий в i-й перегородке, мм;

dpR - расчетный диаметр резьбы пробок в камерах (черт. 7 - 10), мм;

dT - наружный диаметр трубы, мм;

l1, l2 - плечи изгибающих моментов, мм;

hp - толщина прокладки, мм;

f1, f4 - поправочные коэффициенты для свободно опертых плит;

f2 - поправочный коэффициент для защемленной плиты;

f3 - поправочный коэффициент для плиты, защемленной вдоль продольных краев и свободно опертой вдоль поперечных краев;

l0 - глубина развальцовки, мм;

lB - длина болта (шпильки) между опорными поверхностями, мм;

lni - расстояние между отверстиями в i-й перегородке, мм;

lp - длина ввинчивания пробки, мм;

m - прокладочный коэффициент;

n - число болтов (шпилек);

Р - расчетное давление, МПа;

Рnр - давление испытания, МПа;

t1, t2 - шаг отверстий под трубы в продольном и поперечном направлениях (черт. 11 и 12), мм;

[q]T, [q]s - допускаемая нагрузка на единицу площадки трубного пучка из условия прочности труб и крепления труб в решетке, МПа;

[q]s1 - допускаемая нагрузка на единицу площади трубного пучка из условия крепления труб развальцовкой, МПа;

[q]s2 - допускаемая нагрузка на единицу площади трубного пучка из условия крепления труб приваркой, МПа;

[q]s3 - допускаемая нагрузка на единицу площади трубного пучка из условия крепления приваркой с подвальцовкой, МПа;

s1 - толщина трубной решетки в пределах зоны перфорации, мм;

s2 - толщина трубной решетки в месте уплотнения, мм;

s3 - толщина трубной решетки вне зоны уплотнения, мм;

s4 - толщина донышка крышки для камер по черт. 1 - 5 и толщина задней стенки для камер по черт. 6 - 10, мм;

s5 - толщина стенки крышки в месте присоединения к фланцу для камер по черт. 1 - 3; толщина верхней и нижней стенки камер по черт. 7 - 10; s5= s4 - для камер по черт. 5 и 6, мм;

s6 -толщина фланца крышки, мм;

s7 - толщина боковой стенки, мм;

sni -толщина i-й перегородки, мм;

sT - толщина стенки трубы, мм;

z - число рядов труб в поперечном направлении, мм;

zM, zF - коэффициенты;

AB - расчетная площадь поперечного сечения болтов (шпилек), мм2;

B0 - внутренний размер камеры в поперечном направлении, мм,

B1 - ширина зоны решетки толщиной s1, мм;

B2 - наружный размер прокладки в поперечном направлении, мм;

B3 - расстояние между осями болтов (шпилек) в поперечном направлении (черт. 1 - 5), мм;

B4 - наружный размер камеры в поперечном направлении, мм;

Вр - расчетный размер решетки в поперечном направлении, мм;

Вр2-bpR - для камер черт. 1 - 5,

Вр0 - для камер по черт. 6 - 8,

Вр=max{b0....bi...bk} - для камер по черт. 9 и 10;

ВT - расчетная ширина перфорированной зоны решетки, мм;

Е, Ер - модули продольной упругости материалов камеры и прокладки МПа;

F0 - расчетное усилие в болтах (шпильках) в условиях монтажа или испытания, Н;

F1 - расчетное усилие на единицу длины трубной решетки или крышки, Н/мм;

FB - расчетное усилие в болтах (шпильках) в рабочих условиях, Н;

Н - глубина камеры (крышки), мм;

L - длина труб, мм;

L0 - внутренний размер камеры в продольном направлении, мм;

L2 - наружный размер прокладки в продольном направлении, мм;

Lk - приведенная длина труб при продольном изгибе, мм;

Lp - расчетный размер решетки в продольном направлении, мм;

Lp=L2-bpR - для камер по черт. 1 - 5;

Lp=L0 - для камер по черт. 6 - 10;

lp - относительная ширина беструбной зоны решетки;

mn - характеристика способа развальцовки;

h, v - вспомогательные коэффициенты;

hр - коэффициент податливости фланцевого соединения крышки и решетки;

ck, cc - коэффициенты сопротивления фланцевой части крышки;

[s], [s]k, [s]p, [s]T - допускаемые напряжения для материалов камер по черт. 6 - 10, крышек, решеток и труб при расчетной температуре, МПа;

,  - допускаемое напряжение для материала болтов (шпилек) при расчетной температуре при эксплуатации, монтаже или испытании, МПа;

jp - коэффициент ослабления решетки и задней стенки;

j - коэффициент прочности сварного шва;

jT - коэффициент уменьшения допускаемого напряжения труб при продольном изгибе;

w - параметр трубного основания;

yk - безразмерная характеристика нагружения крышки давлением, действующим на ее фланцевую часть;

yp - безразмерная характеристика нагружения решетки давлением, действующим на беструбную зону;

Lk - безразмерная характеристика нагружения крышки болтовым изгибающим моментом;

Lp - безразмерная характеристика нагружения решетки болтовым изгибающим моментом;

W - коэффициент несущей способности трубного пучка.

С, Р, [s], [s]k, [s]p, [s]T, Lk, j определяют по ГОСТ 14249-80.

ПРИЛОЖЕНИЕ 2

Обязательное

ОПРЕДЕЛЕНИЕ КОЭФФИЦИЕНТА ПОДАТЛИВОСТИ

1. Угловые податливости крышки от действия внутреннего давления и болтового изгибающего момента

         (1)

                       (2)

где

j1 - j6 - коэффициенты, определяемые по черт. 1 - 6 настоящего приложения;

 - для крышек по черт. 1;

; ;  - для крышек по черт. 4;

l1, l2 - коэффициенты, определяемые по черт. 7 и 8 настоящего приложения в зависимости от - и hk;

 (3)

yk - коэффициент, определяемый по формуле (27).

2. Угловые податливости решетки от действия внутреннего давления и болтового изгибающего момента

        (4)

                                 (5)

где

a1, a2 - коэффициенты, определяемые по черт. 9 и 10 настоящего приложения в зависимости от w;

lр, yр, w - коэффициенты, определяемые по формулам (2), (18) и (24) настоящего стандарта.

Черт. 1

Черт. 2

Черт. 3

Черт. 4

Черт. 5

Черт. 6

где .

Черт. 7

где .

Черт. 8

где

Черт. 9

где

Черт. 10

3. Линейная податливость шпильки (болта)

                                                             (6)

где

l0B=lB+0,28dB - для болтов;

l0B=lB+0,56dB - для шпилек.

4. Линейная податливость прокладки

                                             (7)

5. Коэффициент податливости фланцевого соединения крышки и решетки

                                   (8)

СОДЕРЖАНИЕ

 




Rambler's Top100 Яндекс цитирования
  Copyright © 2008-2026, www.docload.ru