Бесплатная библиотека стандартов и нормативов www.docload.ru

Все документы, размещенные на этом сайте, не являются их официальным изданием и предназначены исключительно для ознакомительных целей.
Электронные копии этих документов могут распространяться без всяких ограничений. Вы можете размещать информацию с этого сайта на любом другом сайте.
Это некоммерческий сайт и здесь не продаются документы. Вы можете скачать их абсолютно бесплатно!
Содержимое сайта не нарушает чьих-либо авторских прав! Человек имеет право на информацию!

 

ОТРАСЛЕВОЙ СТАНДАРТ

Вводы-выводы труб с фланцами плоскими
приварными стальных сварных сосудов и аппаратов.
Конструкция и размеры.

ОСТ 26-01-1156-75

Министерство химического и нефтяного
машиностроения СССР

Москва

РАЗРАБОТАН Северодонецким филиалом Всесоюзного научно-исследовательского и конструкторского института химического машиностроения, (С.ф. НИИХИММАШ).

Директор                                                   Каминский И.В.

Руководитель темы                                  Белых З.Д.

ВНЕСЕН Всесоюзным научно-исследовательским и конструкторским институтом химического машиностроения (НИИХИММАШ)

Директор                                                   Румянцев И.И.

ПОДГОТОВЛЕН К УТВЕРЖДЕНИЮ Базовым научно-исследовательским отделом стандартизации Всесоюзного научно-исследовательского и конструкторского института химического машиностроения (НИИХИММАШ).

Начальник БНИОС                                   Дюкин В.В.

Руководитель темы                                  Власова К.А.

СОГЛАСОВАН Министерством химической промышленности

Начальник управления по ремонту предприятий химической промышленности и оборудования Толчин Б.И.

УТВЕРЖДЕН Главным Управлением химического машиностроения МХНМ.

Начальник Главного Управления           Григорьев П.Д.

ВВЕДЕН В ДЕЙСТВИЕ ПРИКАЗОМ Главного Управления химического машиностроения.

СОГЛАСОВАНО:

Начальник Управления по ремонту

предприятий химической

промышленности оборудования МХП

Толчин Б.И.

"    "                        1975 г.

УТВЕРЖДАЮ:

Начальник Главного Управления

                               Григорьев П.Д.

"28"    II                      1975 г.

ОТРАСЛЕВОЙ СТАНДАРТ

Вводы-выводы труб с фланцами
плоскими приварными стальных
сварных сосудов и аппаратов.
Конструкция и размеры.

ОСТ 26-01-1156-75

Взамен: ОСТ 26-01-2-70

ОСТ 26-01-5-70

Приказом                                                                                      Срок действия установлен

От     28.02          1975 г.       № 18                                               с 01.01.                  1976 г.

до 01.01.                1993 г.

(Измененная редакция, Изм. № 1, 2, 3).

1. Настоящий стандарт распространяется на вводы-выводы труб с фланцами плоскими приварными стальных сварных сосудов и аппаратов на условное давление от 6 до 25 кгс/см2 (от 0,6 до 2,5 МПа), вакуум с остаточным давлением не ниже 667 Па (5 мм рт. ст.) и температуру от минус 70 до плюс 300°С, изготавливаемых в подотрасли химического машиностроения.

(Измененная редакция, Изм. № 3).

2. Стандарт устанавливает конструкции вводов-выводов труб трех типов:

1 - вводы-выводы труб с фланцами с соединительным выступом плоскими приварными на Ру от 6 до 25 кгс/см2 (от 0,6 до 2,5 МПа);

2 - вводы-выводы труб с фланцами с выступом-впадиной плоскими приварными на Ру от 10 до 25 кгс/см2 (от 1,0 до 2,5 МПа);

3 - вводы-выводы труб с фланцами с шипом-пазом плоскими приварными на Ру от 6 до 25 кгс/см2 (от 0,6 до 2,5 МПа).

3. Конструкция и размеры вводов-выводов труб типов 1, 2, 3 должны соответствовать указанным на черт.1, 2, 3 и в табл.1, 2, 3, 4.

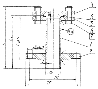
Тип 1

1. Патрубок - без чертежа.

2. Фланец типа 1 - по ОСТ 26-01-

3. Фланец исполн. 1 - по ГОСТ 12820-80

5. Прокладка типа А - по ГОСТ-15180-70

6. Болт - по ОСТ 26-2037-77

7. Гайка - по ОСТ 26-2038-77.

(Измененная редакция, Изм. № 2).

Черт.1

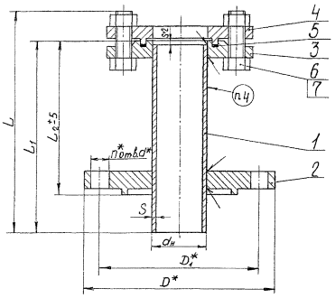
Тип 2

1. Патрубок - без чертежа

2. Фланец типа 2 - по ОСТ 26-01-

3. Фланец исполн.3 - по ГОСТ 12820-80

4. Фланец исполн.2 - по ГОСТ 12820-80

5. Прокладка типа Б - по ГОСТ 15180-70

6. Болт - по ОСТ 26-2037-77

7. Гайка - по ОСТ 26-2038-77

(Измененная редакция, Изм. № 2).

Черт. 2

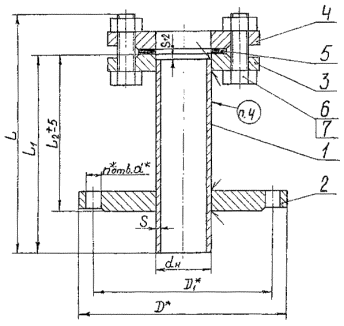
Тип 3

1. Патрубок - без чертежа

2. Фланец типа 3 - по ОСТ 26-01-

3. Фланец исполн. 3 - по ГОСТ 12820-80

4. Фланец исполн. 2 - по ГОСТ 12820-80

5. Прокладка типа В - по ГОСТ 15180-70

6. Болт - по ОСТ 26-2037-77

7. Гайка - по ОСТ 26-2038-77

(Измененная редакция, Изм. № 2).

Черт. 3

Таблица 1

Ру 6 кгс/см2 (0,6 МПа)

Размеры в мм

Проход условный,

dу-Dу

dн

S

D*

D1*

L

не менее

L1

не менее

L2

d*

n*

Масса, кг

Применяемость

из углеродистой стали

из коррозионностойкой стали

тип 1

тип 2

тип 3

25-50

32

2,5

2,5

140

110

235

200

100

14

4

3,54

-

3,52

 

32-50

38

3,0

4,55

-

4,50

 

40-65

45

2,5

160

130

255

220

110

5,56

-

5,35

 

50-80

57

3,0

3,0

185

150

18

6,97

-

6,68

 

50-100

205

170

7,76

-

7,46

 

65-100

76

3,5

3,5

8,67

-

8,34

 

80-125

89

4,0

235

200

300

260

130

8

12,83

-

12,37

 

80-150

4,0

260

225

14,22

-

13,70

 

100-150

108

15,04

-

14,48

 

125-150

133

5,0

5,0

17,77

-

17,24

 

150-200

159

6,0

6,0

315

280

325

280

140

23,96

-

22,45

 

200-250

219

6,0

10,0

370

335

325

280

140

18

12

33,16

-

32,08

 

250-300

273

7,0

10,0

435

395

22

42,39

-

41,60

 

300-350

325

8,0

12,0

485

445

370

320

160

59,67

-

58,75

 

350-400

377

9,0

 

535

495

16

73,30

-

72,16

 

(Измененная редакция, Изм. № 1, 2, 3).

Таблица 2

Ру 10 кгс/см2 (1,0 МПа)

Размеры в мм

Проход условный,

dу-Dу

dн

S

D*

D1*

L

не менее

L1

не менее

L2

d*

n*

Масса, кг

Применяемость

из углеродистой стали

из коррозионностойкой стали

тип 1

тип 2

тип 3

50-80

57

3,0

3,0

195

160

305

260

130

18

4

9,77

9,73

9,40

 

50-100

215

180

 

11,06

10,96

10,68

 

65-100

76

3,5

3,5

12,97

12,83

12,55

 

80-125

89

4,0

245

210

350

300

150

16,37

16,22

15,50

 

80-150

280

240

22

8

18,68

18,59

19,00

 

100-150

108

4,0

20,89

20,76

20,06

 

125-150

133

5,0

5,0

23,61

23,48

22,95

 

150-200

159

6,0

6,0

335

295

370

320

160

32,98

32,40

29,00

 

200-250

219

10,0

390

350

12

42,83

42,61

41,74

 

250-300

273

7,0

10,0

440

400

56,09

55,63

55,14

 

300-350

325

8,0

12,0

500

460

395

340

170

16

71,45

70,66

70,09

 

350-400

377

9,0

565

515

26

91,55

90,51

89,78

 

(Измененная редакция, Изм. № 1, 2, 3).

Таблица 3

Ру 16 кгс/см2 (1,6 МПа)

Размеры в мм

Проход условный,

dу-Dу

dн

S

D*

D1*

L

не менее

L1

не менее

L2

d*

n*

Масса, кг

Применяемость

из углеродистой стали

из коррозионностойкой стали

тип 1

тип 2

тип 3

50-80

57

3,0

3,0

195

160

325

280

140

18

4

10,93

10,82

10,54

 

50-100

215

180

8

12,58

13,00

12,79

 

65-100

76

3,5

3,5

370

320

160

15,52

15,36

15,03

 

80-125

89

4,0

4,0

245

210

18,98

18,92

18,39

 

80-150

280

240

22

20,77

21,53

20,96

 

100-150

108

24,23

24,18

23,71

 

125-150

133

5,0

5,0

415

360

180

27,85

27,65

27,19

 

150-200

159

6,0

6,0

335

295

12

38,85

36,11

37,94

 

200-250

219

10,0

405

355

26

54,75

54,86

53,79

 

250-300

273

7,0

10,0

460

410

465

400

200

74,59

73,93

73,44

 

300-350

325

8,0

12,0

520

470

16

95,93

94,81

94,23

 

350-400

377

9,0

580

525

30

125,93

124,09

123,79

 

(Измененная редакция, Изм. № 1, 2, 3).

Таблица 4

Ру 25 кгс/см2 (2,5 МПа)

Размеры в мм

Проход условный,

dу-Dу

dн

S

D*

D1*

L

не менее

L1

не менее

L2

d*

n*

Масса, кг

Применяемость

из углеродистой стали

из коррозионностойкой стали

тип 1

тип 2

тип 3

10-25

14

3,0

2,5

115

85

280

240

120

14

4

3,07

3,06

3,04

 

15-32

18

135

100

18

3,89

3,87

3,83

 

20-40

25

2,5

145

110

4,90

5,01

4,95

 

25-50

32

160

125

6,40

6,43

6,34

 

32-50

38

3,0

365

320

160

7,79

7,80

7,71

 

40-65

45

2,5

180

145

8

9,60

9,52

9,33

 

50-80

57

3,0

3,0

195

160

12,39

12,43

12,27

 

50-100

230

190

22

14,92

14,98

14,79

 

65-100

76

4,0

3,5

405

360

180

17,38

17,21

17,01

 

80-125

89

4,0

270

220

26

22,61

22,28

21,97

 

80-150

300

250

27,01

26,98

26,34

 

100-150

108

460

400

200

32,36

32,32

31,80

 

125-150

133

6,0

5,0

37,55

37,36

37,10

 

150-200

159

6,0

6,0

360

310

460

400

200

12

52,37

51,92

51,05

 

200-250

219

10,0

425

370

30

71,42

70,48

70,01

 

250-300

273

8,0

10,0

485

430

515

440

220

16

95,47

94,49

93,94

 

300-350

325

12,0

550

490

33

132,87

129,92

131,76

 

350-400

377

9,0

610

550

190,71

189,92

189,33

 

(Измененная редакция, Изм. № 1, 2, 3).

Примечания:

1. По обоснованному требованию потребителя присоединительные диаметры переходного фланца поз. 2 могут быть приняты ближайшими меньшими диаметрами по ГОСТ 12815-80.

(Измененная редакция, Изм. № 2).

2. dу - условный проход ввода-вывода труб; Dу - условный проход штуцера для установки ввода-вывода труб.

3. Вместо болтов по ОСТ 26-2037-77 допускается применять шпильки по ОСТ 26-2040-77 тип Б.

(Измененная редакция, Изм. № 1, 2).

4.*) Для справок.

5. Масса подсчитана из условия плотности материала 7,85 г/см3 при L1 равном приведенному в таблицах настоящего стандарта.

Допускается применение вводов-выводов с другими размерами L1, при этом масса должна быть уточнена.

(Измененная редакция, Изм. № 3).

6. Толщины стенок труб приняты для сред со скоростью проникновения коррозии от 0,1 до 0,5 мм/год.

(Измененная редакция, Изм. № 2).

7. Толщины стенок труб из углеродистой, легированной, коррозионностойкой сталей для сред со скоростью проникновения коррозии менее 0,1 мм/год и более 0,5 мм/год назначаются проектирующей организацией.

Пример условного обозначения ввода-вывода труб типа 2 с dу-Dу 50-100 мм на Ру 25 кгс/см2 с длиной L1 320 мм с шифром материального исполнения 3:

Ввод-вывод 2-50-100-25-320-3 ОСТ 26-01-

Пример условного обозначения патрубка с dн 57 мм толщиной 3 мм длиной 310 мм из стали 20 ввода-вывода труб типов 1, 2, 3 с dу-Dу 50-100 мм:

Патрубок 57-3-310-20 ОСТ 26-01-

При заказе ввода-вывода типа 3 под фторопластовые прокладки после обозначения условного давления следует добавлять букву Ф.

(Измененная редакция, Изм. № 2).

4. Маркировка, шифр материального исполнения и технические требования - по ОСТ 26-01-

Директор НИИХИММАШ                                                                  Румянцев И.И.

Начальник БНИОС                                                                              Дюкин В. В.

Директор С/ф НИИХИММАШ                                                          Каминский И.В.

Заведующий отделом стандартизации                                              Пономаренко И.Н.

Заведующий лабораторией прочности                                              Назаренко В.Г.

Заведующий отделом

емкостного оборудования                                                                   Маслов В.И.

Заведующий конструкторским

сектором стандартов и каталогов                                                      Смыкалов К.А.

Руководитель темы                                                                              Белых З.Д.

УТВЕРЖДАЮ:

Начальник Управления по развитию

химического и нефтяного

машиностроения

                                      В.Н. Бондарев

"___"______________1996 г.

ПЕРЕЧЕНЬ
ОТРАСЛЕВЫХ СТАНДАРТОВ, С КОТОРЫХ СНИМАЕТСЯ ОГРАНИЧЕНИЕ СРОКА ДЕЙСТВИЯ

Обозначение. Наименование документа

Наименование организации-разработчика

Наименование организации, за которой закрепляется документ в России (до его пересмотра)

Примечания (срок действия)

ОСТ 26-01-1157-75

Вводы-выводы труб с фланцами приварными встык стальных сварных сосудов и аппаратов. Конструкция и размеры

Северодонецкий НИИхиммаш (Украина)

АО "ЦКБН"

до 01.01.96

ОСТ 26-01-1158-75

Фланцы переходные плоские приварные вводов-выводов труб стальных сварных сосудов и аппаратов. Конструкция и размеры

Северодонецкий НИИхиммаш (Украина)

АО "ЦКБН"

до

01.01.96

ОСТ 26-01-1159-75

Вводы-выводы труб стальных сварных сосудов и аппаратов. Технические требования

Северодонецкий НИИхиммаш (Украина)

АО "ЦКБН"

до

01.01.96

ОСТ 26-01-1223-88

Фланцы стальных эмалированных сосудов и аппаратов. Конструкция и размеры

НИИэмальхиммаш (Украина)

-

до

01.01.96

ОСТ 26-01-1242-75

Уплотнения валов для аппаратов с перемешивающими устройствами. Гидрозатворы. Параметры, конструкция и основные размеры. Технические требования

ДзержинскНИИхиммаш

-

до

01.01.97

ОСТ 26-01-1244-88

Аппараты с механическими перемешивающими устройствами. Общие технические условия

АО "ЛенНИИхиммаш"

-

до 01.01.95

ОСТ 26-01-1247-75

Уплотнения валов для аппаратов с перемешивающими устройствами. Уплотнения сальниковые. Типы, параметры, конструкция и основные размеры. Технические требования

ДзержинскНИИхиммаш

-

до

01.01.97

Директор по научно-техническому

направлению АО "НИИхиммаш"                                   В.А. Заваров

Начальник отдела стандартизации                                И.И. Орехова




Rambler's Top100 Яндекс цитирования
  Copyright © 2008-2026, www.docload.ru