ШТУЦЕРА ИЗ
ДВУХСЛОЙНЫХ СТАЛЕЙ
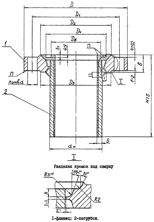
С ПЛОСКИМИ ФЛАНЦАМИ С ПАЗОМ
НА Ру 1,6 и 2,5 МПа.
Конструкция и размеры.
ОСТ
26-02-2043-79
ОТРАСЛЕВОЙ СТАНДАРТ
|
ШТУЦЕРА ИЗ ДВУХСЛОЙНЫХ СТАЛЕЙ С ПЛОСКИМИ ФЛАНЦАМИ С ПАЗОМ НА Ру 1,6 и
2,5 МПа.
Конструкция и размеры.
|
ОСТ 26-02-2043-79
Взамен МН 4581-63
|
|
Приказом МИНХИММАШа
от _______ 197 г.
№ ________
|
.
|
|
срок действия.
|
с 01.01.1981 г
до 01.01.1993 г
|
(Срок действия продлен. Изм. № 2)
Несоблюдение стандарта преследуется по закону
1. Настоящий стандарт
распространяется на штуцера из двухслойных сталей с плоскими приварными
фланцами с наплавленной уплотнительной поверхностью с пазом на условный проход
Ду от 150 до 600 мм, условное давление Ру 1,6 и 2,5 МПа (16 и 25 кгс/см2)
и температуру от минус 60 до 475°С.
(Измененная редакция. Изм. № 1)
2. Конструкция и размеры
штуцеров должны соответствовать указанным на
чертеже и в табл. 1-2.
3. Материал, технические
требования и маркировка штуцеров по ОСТ 26-02-2053-79.

(Измененная редакция. Изм. № 1)
Таблица 1
Ру 1,6 МПа (16 кгс/см2)
Размеры в мм
|
Dy
|
D
|
D1
|
D2
|
D3
|
D4
|
D5
|
D6
|
dH
|
S
|
d
|
n
|
b
|
l, не более
|
H
|
h
|
h1
|
Масса, кг
|
|
наплавленного металла
|
общая
|
|
Углеродистого
|
Аустенитного
|
|
150
|
280
|
240
|
212
|
200
|
204
|
180
|
182
|
159
|
12
|
22
|
8
|
36
|
18+4
|
187
|
13
|
3
|
1,2
|
0,8
|
18,4
|
|
247
|
21,0
|
|
200
|
335
|
295
|
268
|
255
|
260
|
242
|
238
|
219
|
12
|
38
|
187
|
14
|
1,9
|
1,1
|
24,7
|
|
247
|
28,4
|
|
250
|
405
|
355
|
320
|
305
|
313
|
296
|
291
|
273
|
26
|
40
|
187
|
15
|
2,3
|
1,3
|
35,1
|
|
247
|
39,7
|
|
300
|
460
|
410
|
370
|
360
|
364
|
348
|
342
|
325
|
208
|
4
|
2,7
|
1,7
|
43,8
|
|
268
|
49,4
|
|
350
|
520
|
470
|
430
|
420
|
422
|
400
|
394
|
377
|
16
|
42
|
208
|
16
|
3,2
|
2,3
|
53,7
|
|
268
|
60,2
|
|
400
|
580
|
525
|
482
|
470
|
474
|
452
|
446
|
426
|
30
|
48
|
238
|
19
|
4
|
4,0
|
2,6
|
71,9
|
|
298
|
79,3
|
|
450
|
640
|
585
|
532
|
530
|
524
|
508
|
496
|
480
|
16
|
20
|
50
|
18+4
|
258
|
20
|
5,2
|
3,4
|
98,3
|
|
318
|
109,4
|
|
500
|
710
|
650
|
585
|
590
|
576
|
560
|
548
|
530
|
33
|
56
|
22+4
|
258
|
23
|
6,6
|
4,4
|
123,6
|
|
318
|
135,8
|
|
600
|
840
|
770
|
685
|
700
|
678
|
660
|
650
|
630
|
39
|
58
|
260
|
5
|
8,5
|
7,0
|
157,0
|
|
330
|
174,0
|
|
Примечание. К табл. 1-2. Ду 450 мм
применять только для люка.
|
Таблица 2
Ру 2,5 МПа (25 кгс/см2)
Размеры в мм
|
Dy
|
D
|
D1
|
D2
|
D3
|
D4
|
D5
|
D6
|
dH
|
S
|
d
|
n
|
b
|
l, не более
|
H
|
h
|
h1
|
Масса, кг
|
|
наплавленного
металла
|
общая
|
|
Углеродистого
|
Аустенитного
|
|
150
|
300
|
250
|
212
|
200
|
204
|
214
|
182
|
159
|
12
|
26
|
8
|
38
|
18+4
|
187
|
14
|
3
|
1,5
|
1,0
|
21,3
|
|
247
|
24,0
|
|
200
|
360
|
310
|
278
|
260
|
260
|
270
|
238
|
219
|
12
|
40
|
187
|
15
|
2,0
|
3,0
|
28,9
|
|
247
|
32,6
|
|
250
|
425
|
370
|
335
|
315
|
313
|
323
|
291
|
273
|
30
|
42
|
187
|
16
|
2,5
|
1,7
|
38,4
|
|
247
|
43,0
|
|
300
|
485
|
430
|
390
|
375
|
364
|
376
|
342
|
325
|
16
|
45
|
208
|
17
|
4
|
2,8
|
2,2
|
50,2
|
|
268
|
55,8
|
|
350
|
550
|
490
|
450
|
430
|
422
|
434
|
394
|
377
|
33
|
50
|
238
|
20
|
3,8
|
2,7
|
69,5
|
|
298
|
76,0
|
|
400
|
610
|
550
|
505
|
490
|
474
|
486
|
446
|
426
|
53
|
22+4
|
258
|
21
|
4,5
|
3,2
|
88,0
|
|
318
|
95,3
|
|
450
|
660
|
600
|
555
|
540
|
524
|
536
|
496
|
480
|
16
|
20
|
60
|
22+4
|
278
|
25
|
6,0
|
3,7
|
117,7
|
|
338
|
128,8
|
|
500
|
730
|
660
|
615
|
590
|
576
|
588
|
548
|
530
|
39
|
63
|
278
|
26
|
6,8
|
4,6
|
145,2
|
|
338
|
157,3
|
(Таблица 1 и 2 - измененная редакция. Изм. № 1)
Пример условного обозначения штуцера Ду 150 мм на Ру 2,5
МПа, Н=187 мм, патрубок из стали ВСт3сп + 12Х18Н10Т, фланец из стали 20К:
Штуцер 150-2,5-187-1б-2 ОСТ 26-02-2043-79
ИНФОРМАЦИОННЫЕ ДАННЫЕ
1. УТВЕРЖДЕН И ВВЕДЕН В ДЕЙСТВИЕ Министерством
химического и нефтяного машиностроения СССР от 16.07.1979
2.
РАЗРАБОТЧИКИ: А.Ю. Пролесковский, М.И. Байбакова
3. ЗАРЕГИСТРИРОВАН ВНИИКИ ГР № 8138505 от 11.09.1979
4. ССЫЛОЧНЫЕ
НОРМАТИВНО-ТЕХНИЧЕСКИЕ ДОКУМЕНТЫ
|
Обозначение НТД,
на которые дана ссылка
|
Номер пункта,
подпункта, перечисления, приложения
|
|
ОСТ 26-02-2053-79
|
3
|
(Введены дополнительно. Изм. № 2)
|