Бесплатная библиотека стандартов и нормативов www.docload.ru

Все документы, размещенные на этом сайте, не являются их официальным изданием и предназначены исключительно для ознакомительных целей.
Электронные копии этих документов могут распространяться без всяких ограничений. Вы можете размещать информацию с этого сайта на любом другом сайте.
Это некоммерческий сайт и здесь не продаются документы. Вы можете скачать их абсолютно бесплатно!
Содержимое сайта не нарушает чьих-либо авторских прав! Человек имеет право на информацию!

 

ОТРАСЛЕВОЙ СТАНДАРТ

ШТУЦЕРА ИЗ ДВУХСЛОЙНЫХ СТАЛЕЙ
С ПЛОСКИМИ ФЛАНЦАМИ И ГЛАДКОЙ
УПЛОТНИТЕЛЬНОЙ ПОВЕРХНОСТЬЮ.
НА Ру 0,6 и 2,5 МПа.

Конструкция и размеры.

ОСТ 26-02-2041-79

ОТРАСЛЕВОЙ СТАНДАРТ

ШТУЦЕРА ИЗ ДВУХСЛОЙНЫХ СТАЛЕЙ
С ПЛОСКИМИ ФЛАНЦАМИ И ГЛАДКОЙ
УПЛОТНИТЕЛЬНОЙ ПОВЕРХНОСТЬЮ.
НА Ру 0,6 и 2,5 МПа.

Конструкция и размеры.

ОСТ 26-02-2041-79

Взамен МН 4579-63

Приказом МИНХИММАШ,а

от _______ 197     г. № ________

 

срок действия

с 01.01.1981 г.

до 01.01.1993 г.

(Срок действия продлен. Изм. № 2)

Несоблюдение стандарта преследуется по закону

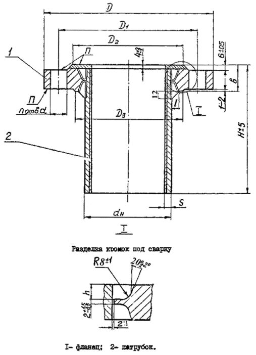
1. Настоящий стандарт распространяется на штуцера из двухслойных сталей с плоскими приварными фланцами с наплавленной гладкой уплотнительной поверхностью на условный проход Ду от 150 до 600 мм, условное давление Ру от 0,6 до 2,5 МПа (от 6 до 25 кгс/см2) и температуру от минус 60 до 475°С.

(Измененная редакция. Изм. № 1)

2. Конструкция и размеры штуцеров должны соответствовать указанным на чертеже и в табл. 1-4.

3. Материал, технические требования и маркировка штуцеров по ОСТ 26-02-2053-79.

(Измененная редакция. Изм. № 1)

Таблица 1

Ру 0,6 МПа (6 кгс/см2)

Размеры в мм

Dy

D

D1

D2

D3

dH

s

d

n

b

l, не более

H

h

Масса, кг

наплавленного металла

Общая

Углеродистого

Аустенитного

150

260

225

202

190

159

12

18

8

26

16+4

154

10

0,8

0,7

12,3

214

14,9

200

315

280

258

245

219

28

154

11

1,2

0,8

17,5

214

21,0

250

370

335

312

305

273

12

154

1,8

1,0

21,8

214

26,5

300

435

395

365

355

325

22

184

2,0

1,2

30,0

244

35,6

350

485

445

415

405

377

30

184

12

2,5

1,4

34,5

244

41,0

400

535

495

465

455

426

16

32

204

13

3,0

1,6

43,2

264

50,6

450

590

550

520

510

480

204

3,3

1,9

48,9

264

57,2

500

640

600

570

560

530

34

18+4

204

14

3,9

2,1

55,6

264

64,7

600

755

705

670

665

630

26

20

224

4,7

2,6

73,5

284

84,0

Примечание. К табл. 1-4. Ду 450 мм применять только для люка.

Таблица 2

Ру 1,0 МПа (10 кгс/см2)

Размеры в мм

Dy

D

D1

D2

D3

dH

s

d

n

b

l, не более

H

h

Масса, кг

наплавленного металла

Общая

Углеродистого

Аустенитного

150

280

240

212

200

159

12

22

8

30

16+4

184

12

1,0

0,8

16,5

244

19,0

200

335

295

268

255

219

184

1,3

1,0

21.9

244

25,8

250

390

350

320

305

273

12

32

184

13

2.0

1,2

27,7

244

32,4

300

440

400

370

360

325

204

2,4

1,4

34,6

264

40,2

350

500

460

430

420

377

16

204

2,6

1,8

41,4

264

47,9

400

565

515

482

465

426

26

34

18+4

204

14

3,2

2,1

50,2

264

57,6

450

615

565

532

515

480

20

234

3,5

2,3

59,1

294

67,4

500

670

620

585

570

530

36

234

15

4,0

2,6

68,2

294

77,3

600

780

725

685

670

630

30

40

264

17

4,8

3,1

94,6

334

103,5

Таблица 3

Ру 1,6 МПа (16 кгс/см2)

Размеры в мм

Dy

D

D1

D2

D3

dH

s

d

n

b

l, не более

H

h

Масса, кг

наплавленного металла

Общая

Углеродистого

Аустенитного

150

280

240

212

200

159

12

22

8

34

18+4

184

14

1,2

0,8

17,7

244

20,3

200

335

295

268

255

219

12

36

184

15

1,9

1,0

23,5

244

27,2

250

405

355

320

305

273

26

184

2,3

1,3

31,2

244

35,8

300

460

410

370

360

325

204

2,7

1.6

39,6

264

45,5

350

520

470

430

420

377

16

38

204

16

3,2

1,9

48,1

264

54,4

400

580

525

482

470

426

30

42

204

18

3,9

2,3

59,3

264

66,7

450

640

585

532

530

480

16

20

46

18+4

254

20

5,2

2,8

89,6

314

100,7

500

710

650

585

590

530

33

54

22+4

254

24

6,5

3,4

114,5

314

127.6

600

840

770

685

700

630

39

264

8,5

5,0

155,0

334

172,0

Таблица 4

Ру 2,5 МПа (25 кгс/см2)

Размеры в мм

Dy

D

D1

D2

D3

dH

s

d

n

b

l, не более

H

h

Масса, кг

наплавленного металла

Общая

Углеродистого

Аустенитного

150

300

250

212

200

159

12

26

8

36

18+4

184

15

1,5

0,9

20,4

244

23,0

200

360

310

278

260

219

12

38

184

16

2,0

1,2

27,6

244

31,3

250

425

370

335

315

273

30

40

184

17

2,5

1,5

36,5

244

41,1

300

485

430

390

375

325

16

204

2,8

1,8

45,8

264

51,4

350

550

490

450

430

377

33

46

234

20

3,8

2,5

63,6

294

70,0

400

610

550

505

490

426

49

254

21

4,5

2,8

80,2

314

87,6

450

660

600

555

540

480

16

20

54

22+4

274

24

6,0

3,0

108,7

334

118,3

500

730

660

615

590

530

39

57

274

25

6,5

3,8

129,9

334

140,3

(Таблицы 1, 2, 3, 4 - измененная редакция. Изм. № 1)

Пример условного обозначения штуцера Ду 150 мм на Ру 0,6 МПа, Н=154 мм, патрубок из стали ВСт3сп + 08Х13, фланец из стали ВСт3сп

Штуцер 150-0,6-154-1а-1 ОСТ 26-02-2041-79

ИНФОРМАЦИОННЫЕ ДАННЫЕ

1. УТВЕРЖДЕН И ВВЕДЕН В ДЕЙСТВИЕ Министерством химического и нефтяного машиностроения СССР от 16.07.1979

2. РАЗРАБОТЧИКИ: А.Ю. Пролесковский, М.И. Байбакова

3. ЗАРЕГИСТРИРОВАН ВНИИКИ ГР № 8138505 от 11.09.1979

4. ССЫЛОЧНЫЕ НОРМАТИВНО-ТЕХНИЧЕСКИЕ ДОКУМЕНТЫ

Обозначение НТД, на которые дана ссылка

Номер пункта, подпункта, перечисления, приложения

ОСТ 26-02-2053-79

3

(Введены дополнительно. Изм. № 2)




Rambler's Top100 Яндекс цитирования
  Copyright © 2008-2026, www.docload.ru