Бесплатная библиотека стандартов и нормативов www.docload.ru

Все документы, размещенные на этом сайте, не являются их официальным изданием и предназначены исключительно для ознакомительных целей.
Электронные копии этих документов могут распространяться без всяких ограничений. Вы можете размещать информацию с этого сайта на любом другом сайте.
Это некоммерческий сайт и здесь не продаются документы. Вы можете скачать их абсолютно бесплатно!
Содержимое сайта не нарушает чьих-либо авторских прав! Человек имеет право на информацию!

 

СССР

УТВЕРЖДЕНО

Министерство химического и

нефтяного машиностроения СССР

Заместитель министра

Г. Ф. Шеин

«30» октября 1981г.

ОТРАСЛЕВЫЕ СТАНДАРТЫ

ИЗДЕЛИЯ КРЕПЕЖНЫЕ ДЛЯ СОСУДОВ И АППАРАТОВ
НА ДАВЛЕНИЕ СВЫШЕ 9,81 ДО 98,1 МПа (СВЫШЕ
100 ДО 1000 кгс/см2). ТИПЫ, КОНСТРУКЦИИ И
РАЗМЕРЫ. ОБЩИЕ ТЕХНИЧЕСКИЕ ТРЕБОВАНИЯ

РЕЗЬБОВЫЕ СОЕДИНЕНИЯ ДЛЯ СОСУДОВ И АППАРАТОВ НА ДАВЛЕНИЕ СВЫШЕ 9,81 ДО 98,1 МПа (СВЫШЕ 100 ДО 1000 кгс/см2).

Типы и размеры.

ОСТ 26-01-138-81

ТЕХНИЧЕСКОЕ УПРАВЛЕНИЕ

/Начальник                                                                                                  А. М. Васильев

ВПО «СОЮЗХИММАШ»

/Начальник                                                                                                  В. А. Чернов

СОГЛАСОВАНО

НИИХИММАШ

Директор                                                                                                     Н. М. Самсонов

Заместитель директора                                                                             П. Ф. Серб

Начальник БНИОС                                                                                     В. В. Дюкин

ПО УРАЛХИММАШ

Главный инженер                                                                                      Н. К. Глобин

СОГЛАСОВАНО

МИНИСТЕРСТВО ПО ПРОИЗВОДСТВУ

МИНЕРАЛЬНЫХ УДОБРЕНИЙ СССР

УПРАВЛЕНИЕ ОБОРУДОВАНИЯ

Заместитель начальника ГИАП                                                               В. Н. Назаров

Главный механик                                                                                       С. А. Тверецкий

УТВЕРЖДЕН И ВВЕДЕН В ДЕЙСТВИЕ приказом ВПО Союзхиммаш от 30.10.81 г. № 173.

ИСПОЛНИТЕЛИ

В. П. Вирюкин (руководитель темы); В. И. Лившиц, канд. техн. наук; В. К. Погодин, канд. техн. наук; В. М. Черемных; Г. Г. Ожегов; Г. Г. Золотенин; Е. Д. Кудрикова; А. В. Тасевич; Л. А. Корчагина; В. Д. Продан.

ОТРАСЛЕВОЙ СТАНДАРТ

РЕЗЬБОВЫЕ СОЕДИНЕНИЯ ДЛЯ СОСУДОВ И АППАРАТОВ НА ДАВЛЕНИЕ СВЫШЕ 9,81 ДО 98,1 МПа (СВЫШЕ 100 ДО 1000 кгс/см2).

Типы и размеры.

ОСТ 26-01-138-81

Взамен

ОСТ 26-1360-75

Приказом Всесоюзного производственного объединения Союзхиммаш № 173 от 30 октября 1981 г. срок действия

с 01.07.1982 г.

до 01.01.1997 г.

Настоящий стандарт распространяется на резьбовые соединения для сосудов и аппаратов, применяемых в химической, нефтехимической и смежных отраслях промышленности на давление свыше 9,81 до 98,1 МПа (свыше 100 до 1000 кгс/см2) и при расчетной температуре стенки сосуда от минус 40 до плюс 420 °С.

(Измененная редакция, Изм. № 1, 2).

1. Стандарт устанавливает следующие типы резьбовых соединений:

Тип А - для затяжки фланцевого соединения ключом гаечным;

Тип Б - для затяжки фланцевого соединения гидродомкратом с захватом шпильки за основную резьбу;

Тип В - для затяжки фланцевого соединения гидродомкратом с захватом шпильки за резьбовой хвостовик.

2. Типы и размеры резьбовых соединений должны соответствовать указанным на черт. 1 - 3 и в таблице.

3. Соединение типа А применять только для диаметров резьб до М64×6 включительно.

Допускается применять резьбовое соединение типа А диаметром резьбы больше М64×6 в случаях, когда невозможна установка на шпильке гидродомкрата (мешает патрубок и т. д.).

4. Допускается изготавливать шпильки без центрального осевого отверстия при условии выполнения дренажных отверстий во фланце корпуса сосуда или аппарата.

5. Выбор исполнения конструкции дренажных отверстий в шпильке или во фланце определяется экономическими факторами изготовления и технологическими возможностями заводов-изготовителей.

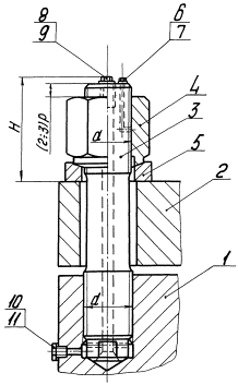
СОЕДИНЕНИЕ ТИПА А

1 - фланец; 2 - крышка; 3 - шпилька; 4 - гайка; 5 - шайба; 6 - болт М10×1,25×14,58 ГОСТ 7798-70; 7 - шайба 10,01 ГОСТ 11371-78 (СТ СЭВ 280-76, СТ СЭВ 281-76); 8 - болт М14×1,5×20,58 (М20×1,5×25,58) ГОСТ 7798-70; 9 - шайба 14,01 (20,01) ГОСТ 11371-78 (СТ СЭВ 280-76, СТ СЭВ 281-76); 10 - болт М10×1,25×16,56 ГОСТ 7798-70, 11 - шайба 10,01 ГОСТ 11371-78 (СТ СЭВ 280-76, СТ СЭВ 281-76).

Черт. 1.

(Измененная редакция, Изм. № 1).

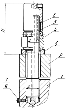
СОЕДИНЕНИЕ ТИПА Б

1 - фланец; 2 - крышка; 3 - шпилька; 4 - гайка; 5 - шайба; 6 - колпачок защитный; 7 - болт М10×1,25×16,58 ГОСТ 7798-70; 8 - шайба 10,01 ГОСТ 11371-78 (СТ СЭВ 280-76, СТ СЭВ 281-76).

Черт. 2.

(Измененная редакция, Изм. № 1).

СОЕДИНЕНИЕ ТИПА В

1 - фланец; 2 - крышка; 3 - шпилька; 4 - гайка; 5 - шайба; 6 - колпачок защитный; 7 - болт М10×1,25×16,58 ГОСТ 7798-70; 8 - шайба 10,01 ГОСТ 11371-78 (СТ СЭВ 280-76, СТ СЭВ 281-76).

Черт. 3.

(Измененная редакция, Изм. № 1).

РАЗМЕРЫ РЕЗЬБОВЫХ СОЕДИНЕНИЙ

мм

Номинальный диаметр резьбы d

Шаг резьбы P

Размер «под ключ» S

Высота соединения Н, типов

1-й ряд

2-й ряд

А

Б

В

56

 

5,5

85

120

190

-

 

60

90

125

200

210

64

 

6

95

130

210

220

 

68

100

135

215

230

72

 

105

140

225

240

 

76

110

145

235

250

80

 

115

155

250

265

 

85

125

160

260

270

90

 

130

165

270

280

 

95

140

175

280

295

100

 

145

190

295

310

 

105

150

195

310

320

110

 

155

200

320

325

 

115

170

205

325

335

 

120

175

205

330

340

125

 

180

210

340

350

 

130

185

215

350

360

140

 

200

235

375

390

 

150

210

245

395

410

160

 

225

265

425

440

 

170

240

275

450

460

180

 

255

280

465

475

 

190

270

290

480

495

200

 

290

300

500

505

Примечание: Размер Н дан для справок.

ОТРАСЛЕВОЙ СТАНДАРТ

«Резьбовые соединения для сосудов и аппаратов на давление свыше 9,81 до 98,1 МПа (свыше 100 до 1000 кгс/см2). Типы и размеры».

ИркутскНИИхиммаш

И. О. директора                                                                                         Е. Р. Хисматулин

Заведующий отделом стандартизации                                                   В. И. Королев

Заведующий отделом 5                                                                             В. И. Лившиц

Заведующий отделом 10                                                                           Л. В. Перегудов

Руководитель темы,

старший научный сотрудник                                                                   В. П. Вирюкин

Заведующий лабораторией отдела 5                                                       В. К. Погодин

Главный конструктор отдела 10                                                             В. М. Черемных

Ведущий конструктор                                                                              Г. Г. Ожегов

Младший научный сотрудник                                                                 А. В. Тасевич

МИХМ

Доцент                                                                                                       В. Д. Продан

ПЕРЕЧЕНЬ ССЫЛОЧНЫХ ДОКУМЕНТОВ

ГОСТ 7798-70 Болты с шестигранной головкой (нормальной точности). Конструкция и размеры.

ГОСТ 11371-78 (СТ СЭВ 280-76, СТ СЭВ 281-76) Шайбы. Технические условия.

(Измененная редакция, Изм. № 1).

ИНФОРМАЦИОННЫЕ ДАННЫЕ

1. УТВЕРЖДЕН Министерством химического и нефтяного машиностроения СССР и ВВЕДЕН В ДЕЙСТВИЕ ПРИКАЗОМ Всесоюзного производственного объединения «Союзхиммаш» № 173 от 30 октября 1981 г.

2. ИСПОЛНИТЕЛИ

В. И. Лившиц, канд. техн. наук; В. П. Вирюкин (руководитель темы); В. К. Погодин, канд. техн. наук; Г. Г. Золотенин.

3. Срок первой проверки - 1985 год, периодичность проверки - 5 лет

4. ССЫЛОЧНЫЕ НОРМАТИВНО-ТЕХНИЧЕСКИЕ ДОКУМЕНТЫ

Обозначение НТД, на который дана ссылка

Номер пункта, подпункта, перечисления, приложения

ГОСТ 7798-70

Черт. 1, 2, 3.

ГОСТ 11371-78

Черт. 1, 2, 3.

(Введен дополнительно, Изм. № 2).

ПЕРЕЧЕНЬ ОТРАСЛЕВЫХ СТАНДАРТОВ, С КОТОРЫХ СНИМАЕТСЯ ОГРАНИЧЕНИЕ СРОКА ДЕЙСТВИЯ

Обозначение.
Наименование документа

Наименование организации-разработчика

Наименование организации, за которой закрепляется документ в России (до его пересмотра)

Примечания (срок действия)

ОСТ 26-01-117-86

Устройства электронагревательные взрывозащищенные для аппаратов объемом до 0,63 м3. Общие технические требования. Правила приемки

АО «ИркутскНИИхиммаш»

 

до 01.01.97

ОСТ 26-01-122-80

Смесители периодического действия ЗЛ и ЗШ. Общие технические условия

Северодонецкий НИИхиммаш (Украина)

 

до 01.01.96

ОСТ 26-01-124-80

ССБТ. Автоклавы с быстросъемными крышками. Требования безопасности

АО «ЛенНИИхиммаш»

 

до 01.07.92

ОСТ 26-01-127-81

Фланцы стальные свободные на бурте для алюминиевых сосудов и аппаратов. Конструкция и размеры. Технические требования

Северодонецкий НИИхиммаш (Украина)

АО «НИИхиммаш»

до 01.01.96

ОСТ 26-01-136-81

Сборочные единицы стальных трубопроводов на давление свыше 9,81 до 98,1 МПа (свыше 100 до 1000 кгс/см2) комплектных технологических линий. Общие технические условия

АО «ИркутскНИИхиммаш»

 

до 01.01.97

ОСТ 26-01-138-81

Резьбовые соединения для сосудов и аппаратов на давление свыше 9,81 до 98,1 МПа (свыше 100 до 1000 кгс/см2). Типы и размеры

АО «ИркутскНИИхиммаш»

 

до 01.01.97

Директор по научно-техническому

направлению АО «НИИхиммаш»                                                              В. А. Заваров

Начальник отдела стандартизации                                                           И. И. Орехова




Rambler's Top100 Яндекс цитирования
  Copyright © 2008-2026, www.docload.ru