www.docload.ru

, , .
. .
. !
- ! !

 

СССР

УТВЕРЖДЕНО

Министерство химического и

нефтяного машиностроения СССР

Заместитель министра

Г. Ф. Шеин

«30» октября 1981г.

ОТРАСЛЕВЫЕ СТАНДАРТЫ

ИЗДЕЛИЯ КРЕПЕЖНЫЕ ДЛЯ СОСУДОВ И АППАРАТОВ
НА ДАВЛЕНИЕ СВЫШЕ 9,81 ДО 98,1 МПа (СВЫШЕ
100 ДО 1000 кгс/см2). ТИПЫ, КОНСТРУКЦИИ И
РАЗМЕРЫ. ОБЩИЕ ТЕХНИЧЕСКИЕ ТРЕБОВАНИЯ

ШПИЛЬКИ ДЛЯ РЕЗЬБОВЫХ СОЕДИНЕНИЙ СОСУДОВ И АППАРАТОВ НА ДАВЛЕНИЕ СВЫШЕ 9,81 ДО 98,1 МПа (СВЫШЕ 100 ДО 1000 кгс/см2).

Типы. Конструкция и размеры.

ОСТ 26-01-139-81

ТЕХНИЧЕСКОЕ УПРАВЛЕНИЕ

/Начальник                                                                                                  А. М. Васильев

ВПО «СОЮЗХИММАШ»

/Начальник                                                                                                  В. А. Чернов

СОГЛАСОВАНО

НИИХИММАШ

Директор                                                                                                     Н. М. Самсонов

Заместитель директора                                                                             П. Ф. Серб

Начальник БНИОС                                                                                     В. В. Дюкин

ПО УРАЛХИММАШ

Главный инженер                                                                                      Н. К. Глобин

СОГЛАСОВАНО

МИНИСТЕРСТВО ПО ПРОИЗВОДСТВУ

МИНЕРАЛЬНЫХ УДОБРЕНИЙ СССР

УПРАВЛЕНИЕ ОБОРУДОВАНИЯ

Заместитель начальника ГИАП                                                               В. Н. Назаров

Главный механик                                                                                       С. А. Тверецкий

УТВЕРЖДЕН И ВВЕДЕН В ДЕЙСТВИЕ приказом ВПО Союзхиммаш от 30.10.81 г. № 173.

ИСПОЛНИТЕЛИ

В. П. Вирюкин (руководитель темы); В. И. Лившиц, канд. техн. наук; В. К. Погодин, канд. техн. наук; В. М. Черемных; Г. Г. Ожегов; Г. Г. Золотенин; Е. Д. Кудрикова; А. В. Тасевич; Л. А. Корчагина; В. Д. Продан.

ОТРАСЛЕВОЙ СТАНДАРТ

ШПИЛЬКИ ДЛЯ РЕЗЬБОВЫХ СОЕДИНЕНИЙ СОСУДОВ И АППАРАТОВ НА ДАВЛЕНИЕ СВЫШЕ 9,81 ДО 98,1 МПа (СВЫШЕ 100 ДО 1000 КГС/СМ2).

Типы. Конструкция и размеры.

ОСТ 26-01-139-81

Взамен

ОСТ 26-1360-75

Приказом Всесоюзного производственного объединения Союзхиммаш № 173 от 30 октября 1981 г. срок действия

с 01.07.1982 г.

до 01.01.1997 г.

Настоящий стандарт распространяется на шпильки для резьбовых соединений сосудов и аппаратов, применяемых в химической, нефтехимической и смежных отраслях промышленности на давление свыше 9,81 до 98,1 МПа (свыше 100 до 1000 кгс/см2) и при расчетной температуре стенки сосуда от минус 40 до плюс 420 °С.

Примечание. В технически обоснованных случаях на сварные аппараты газовой промышленности на давление не свыше 15,7 МПа (не свыше 160 кгс/см2) допускается распространение отраслевого стандарта ОСТ 26-2040-77 (,  - предел текучести материала корпуса аппарата, соответственно, при расчетной температуре и 20 °С).

(Измененная редакция, Изм. № 1, 2).

1. ТИПЫ ШПИЛЕК.

Стандарт устанавливает следующие типы шпилек:

Тип А - шпилька для затяжки фланцевого соединения гаечным ключом;

Тип Б - шпилька для затяжки фланцевого соединения гидродомкратом с захватом за основную резьбу;

Тип В - шпилька для затяжки фланцевого соединения гидродомкратом с захватом за резьбовой хвостовик.

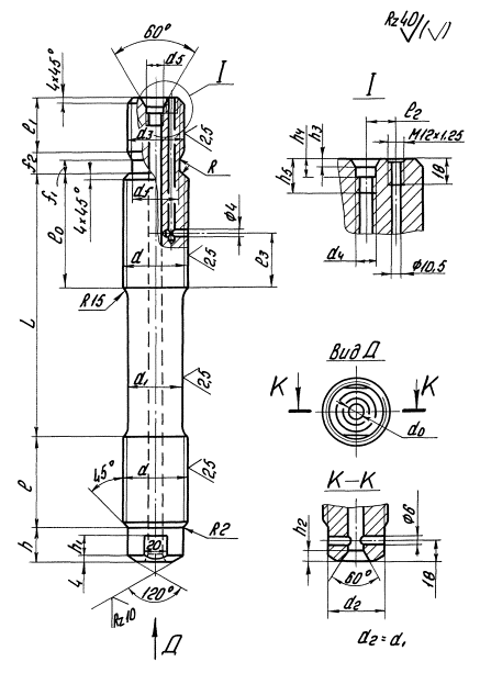
2. КОНСТРУКЦИЯ И РАЗМЕРЫ.

2.1. Конструкция и размеры шпилек должны соответствовать указанным на черт. 1, 2, 3 и в таблице.

Длина резьбы ввертного конца шпильки установлена из условия, что отношение временного сопротивления материала шпильки () к временному сопротивлению материала фланца () должно быть меньше или равно 1,7 (при расчетной температуре), т. е.:

ТИП А

Черт. 1.

ТИП Б

Черт. 2.

ТИП В

Черт. 3.

Черт. 1 - 3. (Измененная редакция, Изм. № 1).

РАЗМЕРЫ ШПИЛЕК

мм

Номинальный диаметр резьбы d

Шаг резьбы Р

Диаметр гладкой части d1 (Пред. откл. по h12)

Диаметр резьбы хвостовика d3 для типа В

Шаг резьбы хвостовика Р

Диаметр проточки для типа В (Пред. откл. по h12)

Диаметр ос