Бесплатная библиотека стандартов и нормативов www.docload.ru

Все документы, размещенные на этом сайте, не являются их официальным изданием и предназначены исключительно для ознакомительных целей.
Электронные копии этих документов могут распространяться без всяких ограничений. Вы можете размещать информацию с этого сайта на любом другом сайте.
Это некоммерческий сайт и здесь не продаются документы. Вы можете скачать их абсолютно бесплатно!
Содержимое сайта не нарушает чьих-либо авторских прав! Человек имеет право на информацию!

 

СССР

УТВЕРЖДЕНО

Министерство химического и

нефтяного машиностроения СССР

Заместитель министра

Г. Ф. Шеин

«30» октября 1981г.

ОТРАСЛЕВЫЕ СТАНДАРТЫ

ИЗДЕЛИЯ КРЕПЕЖНЫЕ ДЛЯ СОСУДОВ И АППАРАТОВ
НА ДАВЛЕНИЕ СВЫШЕ 9,81 ДО 98,1 МПа (СВЫШЕ
100 ДО 1000 кгс/см2). ТИПЫ, КОНСТРУКЦИИ И
РАЗМЕРЫ. ОБЩИЕ ТЕХНИЧЕСКИЕ ТРЕБОВАНИЯ

КОЛПАЧКИ ЗАЩИТНЫЕ ДЛЯ РЕЗЬБОВЫХ СОЕДИНЕНИЙ СОСУДОВ И АППАРАТОВ НА ДАВЛЕНИЕ СВЫШЕ 9,81 ДО 98,1 МПа (СВЫШЕ 100 ДО 1000 кгс/см2).

Конструкция и размеры.

ОСТ 26-01-143-81

ТЕХНИЧЕСКОЕ УПРАВЛЕНИЕ

Начальник                                                                                                   А. М. Васильев

ВПО «СОЮЗХИММАШ»

Начальник                                                                                                   В. А. Чернов

СОГЛАСОВАНО

НИИХИММАШ

Директор                                                                                                     Н. М. Самсонов

Заместитель директора                                                                             П. Ф. Серб

Начальник БНИОС                                                                                     В. В. Дюкин

ПО УРАЛХИММАШ

Главный инженер                                                                                      Н. К. Глобин

СОГЛАСОВАНО

МИНИСТЕРСТВО ПО ПРОИЗВОДСТВУ МИНЕРАЛЬНЫХ УДОБРЕНИЙ СССР

УПРАВЛЕНИЕ ОБОРУДОВАНИЯ

Заместитель начальника ГИАП                                                               В. Н. Назаров

Главный механик                                                                                       С. А. Тверецкий

УТВЕРЖДЕН И ВВЕДЕН В ДЕЙСТВИЕ приказом ВПО Союзхиммаш от 30.10.81 г. № 173.

ИСПОЛНИТЕЛИ

В. П. Вирюкин (руководитель темы); В. И. Лившиц, канд. техн. наук; В. К. Погодин, канд. техн. наук; В. М. Черемных; Г. Г. Ожегов; Г. Г. Золотенин; Е. Д. Кудрикова; А. В. Тасевич; Л. А. Корчагина; В. Д. Продан.

ОТРАСЛЕВОЙ СТАНДАРТ

КОЛПАЧКИ ЗАЩИТНЫЕ ДЛЯ РЕЗЬБОВЫХ СОЕДИНЕНИЙ СОСУДОВ И АППАРАТОВ НА ДАВЛЕНИЕ СВЫШЕ 9,81 ДО 98,1 МПа (СВЫШЕ 100 ДО 1000 кгс/см2).

Конструкция и размеры.

ОСТ 26-01-143-81

Взамен

ОСТ 26-1360-75

Приказом Всесоюзного производственного объединения Союзхиммаш № 173 от 30 октября 1981 г. срок действия

с 01.07.1982 г.

до 01.01.1997 г.

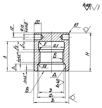
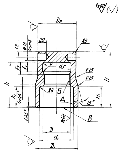
Настоящий стандарт распространяется на колпачки защитные для резьбовых соединений сосудов и аппаратов, применяемых в химической, нефтехимической и смежных отраслях промышленности на давление свыше 9,81 до 98,1 МПа (свыше 100 до 1000 кгс/см2) и при расчетной температуре стенки сосуда от минус 40 до плюс 420 °С.

Колпачки защитные должны изготавливаться следующих исполнений:

Исполнение 1 - колпачок защитный для резьбы шпильки типа Б;

Исполнение 2 - колпачок защитный для резьбы шпильки типа В.

2. Размеры колпачков защитных должны соответствовать указанным на черт. 1, 2 и в таблице.

ИСПОЛНЕНИЕ 1

Черт. 1.

ИСПОЛНЕНИЕ 2

Черт. 2.

РАЗМЕРЫ КОЛПАЧКОВ ЗАЩИТНЫХ

мм

Номинальный диаметр D резьбы

Шаг резьбы Р

Наружный диаметр D1 исполнений

Высота колпачка Н исполнений

Внутренний диаметр d1 исполнений

Диаметр головки D2 исполнения 2

1

2

1

2

1

2

52

5

-

80

-

110

-

66

70

56

5,5

76

85

95

115

62

70

75

60

80

90

100

120

66

75

75

64

6

85

95

105

125

70

80

80

68

90

100

105

130

75

85

90

72

95

105

110

135

80

90

95

76

100

115

115

135

85

95

100

80

105

120

120

140

90

100

100

85

115

125

125

150

95

105

110

90

120

130

130

155

100

110

115

95

125

135

135

155

105

115

120

100

130

140

140

160

110

120

125

105

135

145

145

165

115

125

130

110

140

150

150

165

120

130

135

115

145

170

155

170

125

140

150

120

150

170

155

175

130

140

150

125

170

-

160

-

140

-

-

130

170

180

165

185

140

150

160

140

180

190

170

195

150

160

170

150

190

200

180

205

160

170

180

160

200

210

190

215

170

180

190

170

210

220

205

225

180

190

200

180

220

230

215

235

190

200

210

190

230

240

220

240

200

210

220

200

240

-

230

-

210

-

-

Продолжение

мм

Номинальный диаметр D резьбы

Диаметр проточки df (Пред. откл. по Н13)

Высота юбки Н1

Глубина колпачка h исполнений

Глубина проточки h1 исполнений

Ширина проточки f1 min

Ширина проточки f2 max

Радиус R

1

2

1

2

52

52,5

40

-

85

-

35

20

26

2,5

56

56,5

45

70

90

20

40

22

28

2,75

60

60,5

50

75

95

25

45

64

64,5

80

100

30

24

30

3

68

68,5

55

105

50

72

72,5

60

85

110

55

76

76,5

90

 

35

 

80

80,5

95

115

40

 

85

85,5

70

100

125

45

65

90

90,5

75

105

130

70

35

95,5

110

50

100

100:5

115

135

55

105

105,5

120

140

60

110

110,5

125

115

115,5

130

145

75

120

120,5

80

150

80

125

125,5

-

135

-

65

-

130

130,5

90

140

160

70

90

140

140,5

100

145

170

75

100

150

150,5

110

155

180

85.

110

160

160,5

120

165

190

95

120

170

170,5

130

180

200

110

130

180

180,5

140

190

210

120

140

190

190,5

145

195

215

125

145

200

200,5

-

205

-

135

-

Примечания:

1. Колпачки защитные изготавливаются из чугуна СЧ18 ГОСТ 1412-85 (СТ СЭВ 4560-84).

2. Неуказанные предельные отклонения размеров отверстий Н14, валов h14, остальных .

3. Точность отливки 8-0-0-7 по ГОСТ 26645.

(Измененная редакция, Изм. № 1, 2).

Примеры условных обозначений:

Колпачок защитный исполнения 1, диаметром резьбы 100 мм с мелким шагом резьбы 6 мм:

КОЛПАЧОК М100×6 ОСТ 26-01-143-81.

Колпачок защитный исполнения 2, с диаметром резьбы 80 мм, с крупным шагом резьбы 6 мм:

КОЛПАЧОК 2М80 ОСТ 26-01-143-81.

3. Резьба метрическая - по ГОСТ 8724-81 (СТ СЭВ 181-75) и ГОСТ 24705-81 (СТ СЭВ 182-75). Профиль резьбы по ГОСТ 9150-81 (СТ СЭВ 180-75).

Предельные отклонения размеров отверстия под резьбу - по ГОСТ 19257-73.

Предельные отклонения резьб и длины свинчивания - по ГОСТ 16093-81 (СТ СЭВ 640-77). Поля допусков - 7Н.

4. Отклонение от соосности отверстия «А» относительно отверстия «Б» не более 1 мм.

5. Отклонение от перпендикулярности торца «В» относительно оси отверстия «Б» по XII степени точности ГОСТ 24643-81 (СТ СЭВ 636-77).

6. Остальные технические требования по ОСТ 26-01-144-81.

7. Теоретическая масса колпачков защитных приведена в справочном приложении.

(Измененная редакция, Изм. №1).

ПРИЛОЖЕНИЕ

Справочное

ТЕОРЕТИЧЕСКАЯ МАССА КОЛПАЧКОВ ЗАЩИТНЫХ

Номинальный диаметр резьбы, мм

Теоретическая масса колпачков защитных, кг, исполнений

Номинальный диаметр резьбы, мм

Теоретическая масса колпачков защитных, кг, исполнений

1

2

1

2

52

-

1,75

110

7,20

7,67

56

1,68

2,07

115

8,18

11,29

60

1,88

2,17

120

8,22

11,53

64

2,20

2,49

125

12,38

-

68

2,44

2,98

130

12,61

12,86

72

2,80

3,44

140

13,70

14,54

76

3,18

4,30

150

15,37

16,31

80

3,56

4,51

160

17,14

18,12

85

4,69

5,43

170

19,32

20,37

90

5,19

5,85

180

21,28

22,08

95

5,37

6,21

190

23,00

23,83

100

6,11

7,00

200

25,14

-

105

6,75

7,28

 

 

 

Примечание.

Масса подсчитана из условия плотности материала - 7,07 г/см.

ОТРАСЛЕВОЙ СТАНДАРТ

«Колпачки защитные для резьбовых соединений сосудов и аппаратов на давление свыше 9,81 до 98,1 МПа (свыше 100 до 1000 кгс/см2). Конструкция и размеры».

ИркутскНИИхиммаш

И. О. директора                                                                                         Е. Р. Хисматулин

Заведующий отделом стандартизации                                                   В. И. Королев

Заведующий отделом 5                                                                             В. И. Лившиц

Заведующий отделом 10                                                                           Л. В. Перегудов

Руководитель темы,

старший научный сотрудник                                                                   В. П. Вирюкин

Заведующий лабораторией отдела 5                                                       В. К. Погодин

Главный конструктор отдела 10                                                             В. М. Черемных

Ведущий конструктор                                                                              Г. Г. Ожегов

МИХМ

Доцент                                                                                                       В. Д. Продан

ПЕРЕЧЕНЬ ССЫЛОЧНЫХ ДОКУМЕНТОВ

ГОСТ 1412-85 (СТ СЭВ 4560-84) Чугун с пластинчатым графитом для отливок. Марки.

ГОСТ 1855-55 Отливки из серого чугуна. Допустимые отклонения по размерам и весу и припуски на механическую обработку.

ГОСТ 24643-81 (СТ СЭВ 636-77) Основные нормы взаимозаменяемости. Допуски формы и расположения поверхности. Числовые значения.

ГОСТ 16093-81 (СТ СЭВ 640-77) Резьба метрическая для диаметров от 1 до 600 мм. Допуски.

ГОСТ 19257-73 Отверстия под нарезание метрической резьбы. Диаметры.

ГОСТ 9150-81 (СТ СЭВ 180-75) Основные нормы взаимозаменяемости. Резьба метрическая. Профиль.

ГОСТ 8724-81 (СТ СЭВ 181-75) Основные нормы взаимозаменяемости. Резьба метрическая. Диаметры и шаги.

ГОСТ 24705-81 (СТ СЭВ 182-75) Основные нормы взаимозаменяемости. Резьба метрическая. Основные размеры.

(Измененная редакция, Изм. № 1).

ИНФОРМАЦИОННЫЕ ДАННЫЕ

1. УТВЕРЖДЕН Министерством химического и нефтяного машиностроения СССР И ВВЕДЕН В ДЕЙСТВИЕ ПРИКАЗОМ Всесоюзного производственного объединения «Союзхиммаш» № 173 от 30 октября 1981 г.

2. ИСПОЛНИТЕЛИ

В. И. Лившиц, канд. техн. наук; В. П. Вирюкин (руководитель темы); В. К. Погодин, канд. техн. наук; Г. Г. Золотенин.

3. Срок первой проверки - 1985 год, периодичность проверки - 5 лет

4. ССЫЛОЧНЫЕ НОРМАТИВНО-ТЕХНИЧЕСКИЕ ДОКУМЕНТЫ

Обозначение НТД, на который дана ссылка

Номер пункта, подпункта, перечисления, приложения

ГОСТ 1412-85

П. 2, примечание 1

ГОСТ 8724-81

П. 3.

ГОСТ 9150-81

П. 3.

ГОСТ 16093-81

П. 3.

ГОСТ 19257-73

П. 3.

ГОСТ 24643-81

П. 5.

ГОСТ 24705-81

П. 3.

ГОСТ 25347-81

П. 2, примечание 2

ГОСТ 26645-85

П. 2, примечание 3

ОСТ 26-01-144-81

П. 6.

(Введен дополнительно, Изм. № 2).

ПЕРЕЧЕНЬ ОТРАСЛЕВЫХ СТАНДАРТОВ, С КОТОРЫХ СНИМАЕТСЯ ОГРАНИЧЕНИЕ СРОКА ДЕЙСТВИЯ

Обозначение. Наименование документа

Наименование организации-разработчика

Наименование организации, за которой закрепляется документ в России (до его пересмотра)

Примечания (срок действия)

ОСТ 26-01-139-81.

Шпильки для резьбовых соединений сосудов и аппаратов на давление свыше 9,81 до 98,1 МПа (свыше 100 до 1000 кгс/см2). Типы. Конструкция и размеры

АО «ИркутскНИИхиммаш»

-

до 01.01.97

ОСТ 26-01-140-81.

Гайки для резьбовых соединений сосудов и аппаратов на давление свыше 9,81 до 98,1 МПа (свыше 100 до 1000 кгс/см2). Типы. Конструкция и размеры

АО «ИркутскНИИхиммаш»

-

до 01.01.97

ОСТ 26-01-141-81.

Шайбы для резьбовых соединений сосудов и аппаратов на давление свыше 9,81 до 98,1 МПа (свыше 100 до 1000 кгс/см2). Конструкция и размеры

АО «ИркутскНИИхиммаш»

-

до 01.01.97

ОСТ 26-01-142-81.

Гнезда для резьбовых соединений сосудов и аппаратов на давление свыше 9,81 до 98,1 МПа (свыше 100 до 1000 кгс/см2). Конструкция и размеры

АО «ИркутскНИИхиммаш»

-

до 01.01.97

ОСТ 26-01-143-81.

Колпачки защитные для резьбовых соединений сосудов и аппаратов на давление свыше 9,81 до 98,1 МПа (свыше 100 до 1000 кгс/см2). Конструкция и размеры

АО «ИркутскНИИхиммаш»

-

до 01.01.97

ОСТ 26-01-144-81.

Шпильки, гайки, шайбы, резьбовые гнезда, колпачки защитные для сосудов и аппаратов на давление свыше 9,81 до 98,1 МПа (свыше 100 до 1000 кгс/см2). Общие технические требования. Правила приемки. Методы испытаний. Маркировка

АО «ИркутскНИИхиммаш»

-

до 01.01.97

Директор по научно-техническому

направлению АО «НИИхиммаш»                                                              В. А. Заваров

Начальник отдела стандартизации                                                           И. И. Орехова




Rambler's Top100 Яндекс цитирования
  Copyright © 2008-2026, www.docload.ru