Бесплатная библиотека стандартов и нормативов www.docload.ru

Все документы, размещенные на этом сайте, не являются их официальным изданием и предназначены исключительно для ознакомительных целей.
Электронные копии этих документов могут распространяться без всяких ограничений. Вы можете размещать информацию с этого сайта на любом другом сайте.
Это некоммерческий сайт и здесь не продаются документы. Вы можете скачать их абсолютно бесплатно!
Содержимое сайта не нарушает чьих-либо авторских прав! Человек имеет право на информацию!

 

МЕЖГОСУДАРСТВЕННЫЙ СТАНДАРТ

НАСОСЫ ЦЕНТРОБЕЖНЫЕ
КОНСОЛЬНЫЕ ДЛЯ ВОДЫ

ОСНОВНЫЕ ПАРАМЕТРЫ И РАЗМЕРЫ.
ТРЕБОВАНИЯ БЕЗОПАСНОСТИ.
МЕТОДЫ КОНТРОЛЯ

ГОСТ 22247-96

МЕЖГОСУДАРСТВЕННЫЙ СОВЕТ
ПО СТАНДАРТИЗАЦИИ, МЕТРОЛОГИИ И СЕРТИФИКАЦИИ

Минск

ПРЕДИСЛОВИЕ

1. РАЗРАБОТАН Техническим комитетом по стандартизации ТК 245 «Насосы».

ВНЕСЕН Госстандартом России.

2. ПРИНЯТ Межгосударственным Советом по стандартизации, метрологии и сертификации (Протокол № 9-96 от 12 апреля 1996 г.).

За принятие проголосовали:

Наименование государства

Наименование национального органа по стандартизации

Азербайджанская Республика

Азгосстандарт

Республика Армения

Армгосстандарт

Республика Белоруссия

Белстандарт

Республика Казахстан

Госстандарт Республики Казахстан

Киргизская Республика

Киргизстандарт

Республика Молдова

Молдовастандарт

Российская Федерация

Госстандарт России

Республика Таджикистан

Таджикский государственный центр по стандартизации, метрологии и сертификации

Туркменистан

Главгосинспекция Туркменистана

Украина

Госстандарт Украины

3. Стандарт соответствует международному стандарту ИСО 2858-75 «Насосы центробежные с осевым входом (номинальное давление 16 бар). Обозначение, номинальные параметры и размеры» в части конструкции и параметров центробежных консольных насосов.

4. Постановлением Государственного комитета Российской Федерации по стандартизации, метрологии и сертификации от 6 февраля 1997 г. № 37 межгосударственный стандарт ГОСТ 22247-96 введен в действие непосредственно в качестве государственного стандарта Российской Федерации с 1 января 1997 г.

5. ВЗАМЕН ГОСТ 22247-85.

СОДЕРЖАНИЕ

ГОСТ 22247-96

МЕЖГОСУДАРСТВЕННЫЙ СТАНДАРТ

НАСОСЫ ЦЕНТРОБЕЖНЫЕ КОНСОЛЬНЫЕ ДЛЯ ВОДЫ

Основные параметры и размеры.
Требования безопасности. Методы контроля

Centrifugal and section pumps for handling water.
Basic parameters and dimensions.
Safety requirements. Control methods

Дата введения 1997-01-01

1. ОБЛАСТЬ ПРИМЕНЕНИЯ

Настоящий стандарт распространяется на центробежные консольные насосы для воды (далее - насосы) с подачей от 5 до 400 м3/ч (от 1,4 до 111 л/с) и напором от 10 до 90 м, предназначенные для перекачивания в стационарных условиях воды (кроме морской) с рН 6 - 9, содержащей механические примеси не более 0,1 % по объему и размером частиц не более 0,2 мм, и устанавливает основные параметры и размеры насосов. Допускается перекачивание других жидкостей, сходных с водой по плотности, вязкости и химической активности.

Насосы с одинарным сальниковым, торцовым сальниковым и одинарным торцовым механическим уплотнениями вала применяют для перекачивания воды температурой от 0 до 85 °С и при отсутствии вакуума на всасывании; насосы с двойным сальниковым уплотнением вала - для перекачивания воды температурой от 0 до 105 °С, а также при вакууме на всасывании.

Обязательные требования к качеству продукции, обеспечивающие ее безопасность для жизни, здоровья и имущества населения, охрану окружающей среды, изложены в разделах 1, 5 и 6.

Стандарт может быть использован при сертификации продукции.

2. НОРМАТИВНЫЕ ССЫЛКИ

В настоящем стандарте использованы ссылки на следующие нормативные документы:

ГОСТ 12.0.003-74 (СТ СЭВ 790-77) ССБТ. Опасные и вредные производственные факторы. Классификация.

ГОСТ 12.1.003-83 ССБТ. Шум. Общие требования безопасности.

ГОСТ 12.1.012-90 ССБТ. Вибрационная безопасность. Общие требования.

ГОСТ 12.1.030-81 ССБТ. Электробезопасность. Защитное заземление, зануление.

ГОСТ 12.2.007.0-75 ССБТ. Изделия электротехнические. Общие требования безопасности.

ГОСТ 12.2.062-81 (СТ СЭВ 2696-80) ССБТ. Оборудование производственное. Ограждения защитные.

ГОСТ 12.4.026-76 ССБТ. Цвета сигнальные и знаки безопасности.

ГОСТ 6134-87 Насосы динамические. Методы испытаний.

ГОСТ 12815-80 (СТ СЭВ 3249-81 - СТ СЭВ 3251-81) Фланцы арматуры, соединительных частей и трубопроводов на Ру от 0,1 до 20,0 МПа (от 1 до 200 кгс/см2). Типы. Присоединительные размеры и размеры уплотнительных поверхностей

Перечень материалов, реагентов и малогабаритных очистных устройств, разрешенных Госкомитетом санитарно-эпидемиологического надзора Российской Федерации для применения в практике хозяйственно-питьевого водоснабжения.

3. КОНСТРУКТИВНЫЕ ИСПОЛНЕНИЯ

Насосы могут быть следующих конструктивных исполнений:

К - консольные горизонтальные;

KM - моноблочные горизонтальные;

КМП - моноблочные повысительные горизонтальные (для работы с повышенным давлением на входе);

КМЛ - моноблочные линейные вертикальные (с расположением осей всасывающего и напорного патрубков в линию).

4. ОСНОВНЫЕ ПАРАМЕТРЫ И РАЗМЕРЫ

4.1. Допускаемое избыточное давление перекачиваемой жидкости на входе в консольные насосы с сальниковым уплотнением, моноблочные горизонтальные и линейные насосы не должно быть более 0,35 МПа (3,5 кг/см2), а на входе в консольные горизонтальные с торцовым уплотнением и повысительные насосы - 0,6 МПа (6,0 кг/см2).

4.2. Номинальные значения основных параметров консольных горизонтальных насосов приведены в таблице 1, моноблочных горизонтальных насосов - в таблице 2, повысительных насосов - в таблице 3, линейных насосов - в таблице 4.

Значения основных параметров насосов являются рекомендуемыми.

Таблица 1

Типоразмер насоса

Подача Q, м3/ч (л/с)

Напор Н, м

Частота вращения n, с-1 (об/мин)

Допускаемый кавитационный запас, м

КПД, %

К 50-32-125

12,5 (3,47)

20

48 (2900)

3,5

55

К 65-50-125

25 (6,95)

20

3,8

65

К 65-50-160

32

60

К 80-65-160

50 (13,90)

32

4,0

70

К 80-50-200

50

3,5

65

К 100-80-125

100 (27,80)

20

4,5

74

К 100-80-160

32

73

К 100-65-200

50

70

К 100-65-250

80

67

К 150-125-250

200 (55,6)

20

24 (1450)

4,2

78

К 150-125-315

32

4,0

76

К 200-150-250

315 (87,5)

20

4,2

79

К 200-150-315

32

80

Таблица 2

Типоразмер насоса

Подача Q, м3/ч (л/с)

Напор Н, м

Частота вращения n, с-1 (об/мин)

Допускаемый кавитационный запас, м

КПД, %

KM 50-32-125

12,5 (3,47)

20

48 (2900)

3,5

55

KM 65-50-125

25 (6,95)

3,8

65

KM 65-50-160

32

60

KM 80-65-160

50 (13,90)

4,0

70

KM 80-50-200

50

3,5

65

KM 100-80-160

100 (27,80)

32

4,5

75

KM 100-65-200

50

70

KM 150-125-250

200 (55,6)

20

24 (1450)

4,2

78

KM 150-125-315

32

4,0

76

Примечание - Значения КПД приведены для насосной части

Таблица 3

Типоразмер насоса

Подача Q, м3/ч (л/с)

Напор Н, м

Частота вращения n, с-1 (об/мин)

КПД, %

КМП 40-25-160

6,3 (1,75)

32

48 (2900)

35

КМП 50-32-200

12,5 (3,47)

50

39

КМП 65-50-160

25 (6,95)

32

60

КМП 65-40-200

50

52

Примечание - Значения КПД приведены для насосной части

Таблица 4

Типоразмер насоса

Подача Q, м3/ч (л/с)

Напор Н, м

Частота вращения n, с-1 (об/мин)

Допускаемый кавитационный запас, м

КПД, %

КМЛ 50-50-160

12,5 (3,47)

32

48(2900)

3,5

45

КМЛ 65-65-160

25 (6,95)

3,8

59

КМЛ 80-80-160

50 (13,90)

4,3

65

КМЛ 65-65-200

25 (6,95)

12,5

24 (1450)

4,0

60

КМЛ 80-80-200

50 (13,90)

66

КМЛ 125-125-200

100 (27,80)

68

Примечание - Значения КПД приведены для насосной части

4.3. Область работы насосов приведена на рисунке 1.

Рисунок 1 - Область работы центробежных консольных насосов.

4.4. По заказу потребителя насосы могут быть также изготовлены с одним из вариантов обточки рабочего колеса по внешнему диаметру, обеспечивающим работу насоса в средней части поля Q - H - вариант «а», или на нижней границе поля Q - H - вариант «б».

4.5. Производственные отклонения значений напора, приведенных в таблицах 1 - 4, составляют .

4.6. При применении привода с частотой вращения, превышающей номинальную, насосы изготовляют с рабочими колесами, обеспечивающими подачу и напор в соответствии с приведенными в таблицах 1 - 4. Превышение частоты вращения допускается не более 20 %.

Допускается эксплуатация насосов конструктивного исполнения К с приводом с пониженной частотой вращения, при этом необходим соответствующий пересчет значений параметров насосов.

4.7. Направление вращения насосов, если смотреть со стороны привода, - по часовой стрелке.

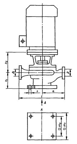
4.8 Размеры насосов конструктивного исполнения К приведены на рисунке 2 и в таблице 5, исполнений КМ и КМП - на рисунке 3 и в таблице 6, исполнения КМЛ - на рисунке 4 и в таблице 7.

Рисунок 2.

Примечание - Размеры фланцев насосов - по ГОСТ 12815 на Ру 1 МПа (10 кгс/см2).

Рисунок 3.

Примечание - Размеры фланцев насосов - по ГОСТ 12815 на Ру 1 МПа (10 кгс/см2).

Рисунок 4.

Примечание - Размеры фланцев насосов - по ГОСТ 12815 на Ру 1 МПа (10 кгс/см2).


Таблица 5

В миллиметрах

Типоразмер насоса

D

D1

a

f

h1

h2

b

m1

m2

n1

n2

n3

w

s1

s2

d

l

К 50-32-125

50

32

80

385

112

140

50

100

70

190

140

110

285

14

14

24

50

К 65-50-125

65

50

80

385

112

140

50

100

70

210

160

110

285

14

14

24

50

К 65-50-160

65

50

80

385

132

160

50

100

70

240

190

110

285

14

14

24

50

К 80-65-160

80

65

100

385

160

180

50

100

70

265

212

110

285

14

14

24

50

К 80-50-200

80

50

100

385

160

200

50

100

70

265

212

110

285

14

14

24

50

К 100-80-125

100

80

100

385

160

180

65

125

95

280

212

110

285

14

14

24

50

К 100-80-160

100

8U

100

500

160

200

65

125

95

280

212

110

370

14

14

32

80

К 100-65-200

100

65

100

500

180

225

65

125

95

320

250

110

370

14

14

32

80

К 100-65-250

100

65

125

500

200

250

80

160

120

360

280

110

370

18

14

32

80

К 150-125-250

150

125

140

530

250

355

80

160

120

400

315

110

370

18

14

42

110

К 150-125-315

150

125

140

530

280

355

100

200

150

500

400

110

370

22

14

42

110

К 200-150-250

200

150

160

530

280

375

100

200

150

500

400

110

370

22

14

42

110

К 200-150-315

200

150

160

670

315

400

100

200

150

550

450

140

500

22

18

48

110

Таблица 6

В миллиметрах

Типоразмер насоса

D

D1

a

h1

h2

b

l

m1

m2

n1

n2

s

КМ 50-32-125

50

32

80

125

140

35

140

160

130

190

160

18

KM 65-50-125

65

50

80

150

140

37

155

160

130

190

160

18

KM 65-50-160

65

50

80

150

160

35

158

195

155

210

170

18

KM 80-65-160

80

65

100

-

180

-

-

-

-

-

-

-

KM 80-50-200

80

50

100

205

200

27

180

220

180

350

310

18

KM 100-80-160

100

80

100

-

200

-

-

-

-

-

-

-

KM 100-65-200

100

65

100

180

225

12

194

710

500

400

355

18

KM 150-125-250

150

125

140

-

355

-

-

-

-

-

-

-

KM 150-125-315

150

125

140

280

355

0

178

770

490

560

510

23

КМП 40-25-160

40

25

80

-

160

-

-

-

-

-

-

-

КМП 50-32-200

50

32

100

-

180

-

-

-

-

-

-

-

КМП 65-50-160

65

50

80

150

160

35

158

195

155

250

170

18

КМП 65-40-200

65

40

100

180

180

33

174

195

155

300

260

18

Примечание - Недостающие размеры вносят по мере освоения насосов


Таблица 7

В миллиметрах

Типоразмер насоса

D

D1

a

l

m1

m2

n1

n2

s

КМЛ 50-50-160

50

50

190

380

145

141

220

175

18

КМЛ 65-65-160

65

65

190

380

152

158

220

180

18

КМЛ 80-80-160

80

80

262

527

149

187

250

235

18

КМЛ 65-65-200

65

65

265

530

167

138

230

190

18

КМЛ 80-80-200

80

80

275

550

180

161

250

205

18

КМЛ 125-125-200

125

125

350

700

203

178

320

275

18

4.9. Структурная схема условного обозначения насосов приведена в приложении А.

5. ТРЕБОВАНИЯ БЕЗОПАСНОСТИ

5.1. Требования электробезопасности - по ГОСТ 12.2.007.0 и ГОСТ 12.1.030.

5.2. Возможные источники опасных и вредных производственных факторов физической группы электронасосного агрегата - по ГОСТ 12.0.003.

5.3. Подвижные элементы агрегата должны иметь ограждения по ГОСТ 12.2.062.

5.4. Муфта и ее ограждение должны быть окрашены по ГОСТ 12.4.026.

5.5. Уровни шума и вибрации насосных агрегатов и электронасосов приведены в таблице 8. Приведенные значения являются данными для определения защитных мероприятий по обеспечению уровней шума и вибрации на рабочих местах в соответствии с требованиями ГОСТ 12.1.003 и ГОСТ 12.1.012.

5.6. Утечка через тальниковое уплотнение насосов с подачей до 100 м3/ч не должна быть более 2 л/ч; с подачей до 400 м3/ч - 3 л/ч. Утечка через торцовое уплотнение не должна быть более 0,03 л/ч.

5.7. Конструкция насосов должна иметь сливные отверстия для отвода утечек.

5.8. Насосы, предназначенные для перекачивания питьевой воды, должны быть изготовлены из материалов, включенных в Перечень материалов, реагентов и малогабаритных очистных устройств, разрешенных Госкомитетом санитарно-эпидемиологического надзора Российской Федерации для применения в практике, хозяйственно-питьевого водоснабжения.

6. МЕТОДЫ КОНТРОЛЯ

6.1. Контроль параметров электронасосных агрегатов следует осуществлять путем испытаний по ГОСТ 6134.


Таблица 8

Типоразмер насоса

Уровни звуковой мощности, дБ, в октавных полосах со среднегеометрическими частотами, Гц

Корректированный уровень звуковой мощности, дБ·А

Среднее квадратическое значение виброскорости, мм/с

63

125

250

500

1000

2000

4000

8000

К 50-32-125

78

81

81

80

79

76

72

71

79

2,8

К 65-50-125

80

83

83

82

81

79

74

69

81

2,8

К 65-50-160

82

85

85

84

83

80

76

75

83

2,8

К 80-65-160

89

92

92

91

90

87

83

82

90

2,8

К 80-50-200

94

97

97

96

95

92

88

87

95

2,8

К 100-80-125

93

96

96

95

94

91

87

86

94

2,8

К 100-80-160

95

98

98

97

96

93

89

88

96

2,8

К 100-65-200

97

100

100

99

98

95

91

90

98

4,5

К 100-65-250

100

103

103

102

101

98

94

93

101

4,5

К 150-125-250

86

89

89

88

87

84

80

79

87

4,5

К 150-125-315

89

2

92

91

90

87

83

82

90

4,5

К 200-150-250

90

93

93

92

91

88

84

83

91

4,5

К 200-150-315

91

94

94

93

92

89

85

84

92

4,5

KM 50-32-125

77

79

79

77

78

75

71

70

78

2,8

KM 65-50-125

79

81

81

79

80

77

73

72

80

2,8

KM 65-50-160

80

82

82

81

81

78

74

75

81

2,8

KM 80-65-160

88

90

90

88

88

86

82

83

89

2,8

KM 80-50-200

93

95

95

94

94

91

87

88

94

2,8

KM 100-80-160

93

95

95

94

94

91

87

88

94

2,8

KM 100-65-200

95

97

97

97

96

93

89

90

96

4,5

KM 150-125-250

84

86

86

84

84

82

78

79

85

4,5

KM 150-125-315

87

89

89

87

87

85

81

82

80

4,5

КМП 40-25-160

74

79

77

74

72

69

64

64

72

2,8

КМП 50-32-200

81

86

84

80

79

76

71

71

79

2,8

КМП 65-50-160

74

79

77

74

73

69

64

64

72

2,8

КМП 65-40-200

81

86

84

80

79

76

71

71

79

2,8

КМЛ 50-50-160

75

80

78

74

76

72

67

65

81

1,8

КМЛ 65-65-160

79

84

82

78

78

74

69

69

77

2,8

КМЛ 80-80-160

84

89

87

83

83

79

74

74

82

2,8

КМЛ 65-65-200

67

72

70

66

66

62

57

57

65

1,8

КМЛ 80-80-200

70

75

73

69

69

65

60

60

68

1,8

КМЛ 125-125-200

76

81

79

75

75

71

66

66

74

2,8

Примечание - Указанные значения относятся к электронасосам с электродвигателями типа АИР и АИМ.


ПРИЛОЖЕНИЕ А

(обязательное)

СТРУКТУРНАЯ СХЕМА УСЛОВНОГО ОБОЗНАЧЕНИЯ НАСОСОВ

 

ХХХ

ХХХ -

ХХХ -

ХХХ -

Х -

ХХ -

 

ХХ

Обозначение конструктивного исполнения

 

 

 

 

 

 

 

 

 

 

 

 

 

 

 

 

 

 

 

 

 

 

Условный диаметр всасывающего патрубка

 

 

 

 

 

 

 

 

 

 

 

 

 

 

Условный диаметр напорного патрубка

 

 

 

 

 

 

 

 

 

 

 

 

 

 

Условный диаметр рабочего колеса

 

 

 

 

 

 

 

 

 

 

 

 

 

Вариант обточки рабочего колеса

 

 

 

 

 

 

 

 

 

 

 

 

 

Условное обозначение уплотнения вала

 

 

 

 

 

 

 

 

 

 

 

 

Климатическое исполнение

 

 

 

 

 

 

 

 

 

 

 

 

Категория размещения насоса при эксплуатации

 

 

 

 

Примеры условного обозначения:

моноблочного горизонтального консольного насоса с двойным сальниковым уплотнением с вариантом «а» обточки рабочего колеса в климатическом исполнении У и категории размещения 3:

KM 50-32-125а-СД-У3 ГОСТ 22247-96

то же, после первой модернизации:

1 KM 50-32-125а-СД-У3 ГОСТ 22247-96.

Ключевые слова: насосы, центробежные консольные насосы, конструктивные исполнения, основные параметры, размеры

 




Rambler's Top100 Яндекс цитирования
  Copyright © 2008-2026, www.docload.ru