Бесплатная библиотека стандартов и нормативов www.docload.ru

Все документы, размещенные на этом сайте, не являются их официальным изданием и предназначены исключительно для ознакомительных целей.
Электронные копии этих документов могут распространяться без всяких ограничений. Вы можете размещать информацию с этого сайта на любом другом сайте.
Это некоммерческий сайт и здесь не продаются документы. Вы можете скачать их абсолютно бесплатно!
Содержимое сайта не нарушает чьих-либо авторских прав! Человек имеет право на информацию!

 

ГОСУДАРСТВЕННЫЙ СТАНДАРТ СОЮЗА ССР

ЭСТАКАДЫ ДВУХЪЯРУСНЫЕ
ПОД ТЕХНОЛОГИЧЕСКИЕ ТРУБОПРОВОДЫ

ТИПЫ И ОСНОВНЫЕ ПАРАМЕТРЫ

ГОСТ 23236-78

 

ГОСУДАРСТВЕННЫЙ СТРОИТЕЛЬНЫЙ КОМИТЕТ СССР

Москва

 

ГОСУДАРСТВЕННЫЙ СТАНДАРТ СОЮЗА ССР

ЭСТАКАДЫ ДВУХЪЯРУСНЫЕ
ПОД ТЕХНОЛОГИЧЕСКИЕ ТРУБОПРОВОДЫ

Типы и основные параметры

Double-stage trestle-work for technological pipelines.
Types and basic parameters

ГОСТ
23236-78

Постановлением Государственного комитета СССР по делам строительства от 28 июля 1978 г. № 149 срок введения установлен

с 01.07.79

Настоящий стандарт распространяется на железобетонные и стальные конструкции двухъярусных эстакад под технологические трубопроводы, применяемые в районах с расчетной температурой воздуха до минус 40°С, нормативным скоростным напором ветра до 55 кгс/м2 и сейсмичностью до 8 баллов включительно.

Стандарт устанавливает типы двухъярусных эстакад, их основные параметры и габаритные схемы.

Стандарт обязателен при разработке проектов технологических трубопроводов и стандартов на конструкции эстакад.

1. ПАРАМЕТРЫ

1.1. Вертикальные нагрузки на погонный метр эстакады приняты: 1,0; 1,5; 2,0; 3,0; 5,0 тс/м.

1.2. Длина траверс в эстакадах должна назначаться следующих размеров: 4,8; 6,0; 7,8 м.

1.3. Высота эстакады принимается от планировочной отметки земли до верха траверсы нижнего яруса и равна: 5,4; 6,0; 6,6; 7,2; 7,8; 8,4 м. Расстояние от верха траверс нижнего яруса эстакады до низа траверс верхнего яруса 3,0 м.

1.4. Шаг опор двухъярусных эстакад должен приниматься 18,0 м.

При проектировании эстакад под технологические трубопроводы допускается назначать шаг опор эстакад других размеров в местах их подходов к зданиям и сооружениям, а также в местах пересечений с автомобильными, железными дорогами и другими коммуникациями.

1.5. Шаг траверс должен приниматься 3,0 или 6,0 м.

2. КОНСТРУКТИВНЫЕ ТРЕБОВАНИЯ

2.1. Типы, габаритные схемы, основные размеры конструкций и вертикальные нагрузки на погонный метр эстакад должны соответствовать указанным в табл. 1.

Выбор типа эстакад должен производиться в строгом соответствии с требованиями технических правил по экономному расходованию основных строительных материалов, утвержденными Госстроем СССР.

2.2. Эстакада должна состоять из температурных блоков. Длина температурного блока определяется расчетом.

2.3. Для эстакад, выполняемых полностью из стальных конструкций, температурный блок должен компоноваться из промежуточных, концевых и одной анкерной опоры, на которую передаются все горизонтальные нагрузки, действующие вдоль оси трассы.

2.4. Для эстакад, выполняемых полностью из железобетонных конструкций или комбинированных конструкций (железобетонных опор и стальных пролетных строений) температурный блок должен компоноваться из промежуточных и концевых опор.

Горизонтальные нагрузки, действующие вдоль оси трассы, воспринимаются всеми опорами температурного блока.

2.5. В местах ответвлений трубопроводов необходимо устанавливать опоры, рассчитанные дополнительно на горизонтальную сосредоточенную нагрузку от ответвлений трубопроводов.

2.6. Расположение промежуточных, концевых и анкерных опор по трассе трубопроводов приведено в справочном приложении.

Таблица 1

Тип

Габаритная схема

Нормативная вертикальная нагрузка на погонный метр эстакады, тс/м

Основные размеры эстакады, м

Примечание

длина траверсы b

расстояние между стойками опоры с

высота h

IХж

1,0

1,5

4,8

2,4

5,4

Конструкции эстакад железобетонные стойки опор прямоугольные или центрифугированные кольцевого сечения

6,0

6,6

7,2

7,8

8,4

Хж

1,0

1,5

6,0

3,6

5,4

6,0

6,6

7,2

7,8

8,4

ХIж

2,0

3,0

6,0

3,6

5,4

6,0

6,6

7,2

7,8

8,4

ХIIж

2,0

3,0

7,8

4,8

5,4

6,0

6,6

7,2

7,8

8,4

ХIIIж

5,0

7,8

4,8

5,4

6,0

6,6

7,2

7,8

8,4

IХк

1,0

1,5

4,8

2,4

5,4

Конструкции опор - железобетонные с применением стоек прямоугольного или центрифугированных кольцевого сечения. Конструкции пролетных строений стальные

6,0

6,6

7,2

7,8

8,4

Хк

1,0

1,5

6,0

3,6

5,4

6,0

6,6

7,2

7,8

8,4

ХIк

2,0

3,0

6,0

3,6

5,4

6,0

6,6

7,2

7,8

8,4

XIIк

2,0

3,0

7,8

4,8

5,4

6,0

6,6

7,2

7,8

8,4

ХIIIк

5,0

7,8

4,8

5,4

6,0

6,6

7,2

7,8

8,4

IХм

1,0

1,5

4,8

2,4

5,4

Конструкции эстакад стальные

6,0

6,6

7,2

7,8

8,4

Хм

1,0

1,5

6,0

3,6

5,4

6,0

6,6

7,2

7,8

8,4

ХIм

2,0

3,0

6,0

3,6

5,4

6,0

6,6

7,2

7,8

8,4

ХIIм

2,0

3,0

7,8

4,8

5,4

6,0

6,6

7,2

7,8

8,4

ХIIIм

5,0

7,8

4,8

5,4

6,0

6,6

7,2

7,8

8,4

Примечание. В условном обозначении типа эстакады буквы означают: ж - железобетонные конструкции; к - комбинированные конструкции; м - стальные конструкции.

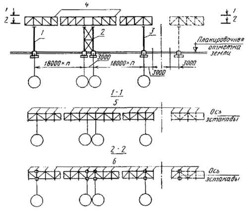
ПРИЛОЖЕНИЕ

Справочное

ПРИМЕР КОМПОНОВКИ ТЕМПЕРАТУРНОГО БЛОКА ДВУХЪЯРУСНЫХ ЭСТАКАД

1 - промежуточная опора; 2- концевая опора эстакады; 3 - концевая опора температурного блока; 4- фермы пролетного строения: 5-траверсы верхнего яруса эстакады; 6-траверсы нижнего яруса эстакады.

1 - концевая опора эстакады; 2 - анкерная опора; 3 - концевая опора температурного блока; 4 - фермы пролетного строения: 5 - траверсы верхнего яруса эстакады; 6 - траверсы нижнего яруса эстакады

СОДЕРЖАНИЕ

 




Rambler's Top100 Яндекс цитирования
  Copyright © 2008-2026, www.docload.ru