Бесплатная библиотека стандартов и нормативов www.docload.ru

Все документы, размещенные на этом сайте, не являются их официальным изданием и предназначены исключительно для ознакомительных целей.
Электронные копии этих документов могут распространяться без всяких ограничений. Вы можете размещать информацию с этого сайта на любом другом сайте.
Это некоммерческий сайт и здесь не продаются документы. Вы можете скачать их абсолютно бесплатно!
Содержимое сайта не нарушает чьих-либо авторских прав! Человек имеет право на информацию!

 

CCCР

РУКОВОДЯЩИЙ ДОКУМЕНТ

СОСУДЫ И АППАРАТЫ.
НОРМЫ И МЕТОДЫ РАСЧЕТА НА ПРОЧНОСТЬ И ГЕРМЕТИЧНОСТЬ ФЛАНЦЕВЫХ СОЕДИНЕНИЙ

РД 26-15-88

Москва 1990

РУКОВОДЯЩИЙ ДОКУМЕНТ

СОСУДЫ И АППАРАТЫ.
Нормы и методы расчета на прочность и герметичность фланцевых соединений

РД 26-15-88

Дата введения 01.07.89

Настоящий руководящий документ устанавливает нормы и методы расчета на прочность и герметичность фланцевых соединений сосудов и аппаратов из стали, работающих в химической, нефтехимической и смежных отраслях промышленности в условиях воздействия статических и повторностатических нагрузок. Допускается применять настоящий РД для расчета фланцевых соединений трубопроводов и штуцеров при условии выполнения п.1.3.

Руководящий документ применим при соблюдении требований ОСТ 26-291.

1. ОБЩИЕ ТРЕБОВАНИЯ

1.1. Термины и условные обозначения соответствующих им физических величин приведены в обязательном приложении 1.

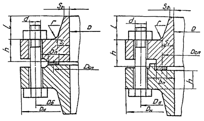
1.2. Типы фланцевых соединений приведены на черт. 1-4*. Пределы применения типов фланцевых соединений приведены в справочном приложении 5.

*Чертеж не определяет конструкцию.

1.3. Расчетные формулы настоящего стандарта применимы при

и

1.4. Если число циклов нагружения, вызванное сборками-разборками и изменениями режима эксплуатации (давления, температуры), более 1000, то необходимо после проверки прочности фланцев по разделу 8 произвести расчет на малоцикловую прочность по разделу 9.

1.5. Рабочая температура элементов фланцевого соединения определяется на основании теплотехнических расчетов или результатов испытаний. Допускается определять расчетную температуру элементов фланцевого соединения по табл. 1.

Таблица 1

Тип фланцевого соединения

Изолированные

Неизолированные

tф

tк

tб

tф

tк

tб

Плоские, приварные в стык (черт. 1, 2)

t

-

0,97t

0,96t

-

0,95t

Со свободными кольцами (черт. 3)

t

0,97t

0,90t

0,96t

0,90t

0,81t

Фланцы приварные под зажимы (черт. 4)

t

-

0,55t

0,96t

-

0,55t

Черт. 1

Черт. 2

Черт. 3

Черт. 4

1.6. При работе аппарата в условиях нескольких расчетных режимов по температуре и давлению расчет производится на условия, обеспечивающие прочность и герметичность фланцевого соединения во всех режимах.

2. ДОПУСКАЕМЫЕ НАПРЯЖЕНИЯ

2.1. Допускаемые напряжения для материалов болтов (шпилек) определяются по формулам при условии:

а) если расчетная температура не превышает для болтов (шпилек) из углеродистых сталей 380°С, низколегированных сталей - 420°С, аустенитных сталей - 525°С

б) если расчетная температура болтов (шпилек) превышает указанную в п.а

2.2. Коэффициенты запаса прочности пт, приведены в табл. 2.

Таблица 2

Материал болтов

 

Рабочие условия

Условия испытания

затяжка не контролируется

затяжка контролируется

затяжка не контролируется

затяжка контролируется

Углеродистые стали

2,6-2,8

2,4

2,1

1,8

2,3

2,1

1,7

1,6

Аустенитные стали

1,9

1,8

1,4

1,3

2.3. Коэффициент запаса прочности по пределу длительной прочности пD=1,8.

Коэффициент запаса прочности по пределу ползучести пп=1,1.

2.4. Допускаемые напряжения для материалов болтов (шпилек) для рабочих условий определяются по табл. 3.

2.5. Допускаемые напряжения для материала фланцев или обечайки при расчете статической прочности:

а) для фланцев по черт. 1 в сечении S1:

для рабочих условий и затяжки

для условий испытания и затяжки

б) для фланцев по черт. 1, 2, 3, 4, 11

в сечении S0:

для рабочих условий и затяжки

для условий испытания

в) для кольца свободного фланца:

для рабочих условий и затяжки

для условий испытаний

s0,2, sв, [s]20 - принимаются по ГОСТ 14249 или другой нормативной документации при расчетной температуре.

Расчет фланцевого соединения для условий испытания производить не требуется, если расчетное давление в условиях испытания будет меньше, чем расчетное давление в рабочих условиях, умноженное на 1,35.

Примечания:

1. Для фланцев по черт. 1 допускаемое напряжение в сечении S1, для рабочих условий и условий затяжки при расчете с учетом нагрузки от температурных деформаций Q1 может быть увеличено до 30%.

2. Для фланцев по черт. 3 допускаемое напряжение для свободного кольца при расчете с учетом нагрузки от температурных деформаций Q1 может быть увеличено на 30%.

(Измененная редакция, Изм. № 1)

3. РАСЧЕТ ВСПОМОГАТЕЛЬНЫХ ВЕЛИЧИН

3.1. Эффективная ширина прокладки, мм:

b0=bn при bn£15 мм

 при bn>15 мм

Для прокладок овального или восьмигранного сечения

.

3.2. Характеристики прокладки m, qобхв, К, Еп принимаются по табл. 4.

3.3. Податливость прокладки, мм/Н.

.

Для металлических и асбометаллических прокладок

уn=0.

3.4. Податливость болтов (шпилек) для фланцев по черт. 1, 2, 3, 11, мм/Н

где Lб= Lб0+0,28d - для болта,

Lб= Lб0+0,56d - для шпильки,

fб - принимается по табл. 5.

3.5. Податливость зажимов для фланцев по черт. 4, мм/Н

,

где lз принимается по ОСТ 26-01-64.

3.6. Параметры фланца*

* В случае соединения с разными (по материалам или размерам) фланцами расчет следует производить для каждого фланца.

3.6.1. Эквивалентная толщина втулки, мм

Sэ=K×S0,

где K - определяется по черт. 5.

Для фланцев по черт. 2, 3, 4

Sэ= S0.

3.6.2. Коэффициенты

,

где ;

y1 - определяется по черт. 6.

Для крышек сферических неотбортованных

;

.

3.6.3. Угловая податливость фланца, 1/Н×мм

,

где y2 - определяется по черт. 7.

Для фланца со сферической неотбортованной крышкой

3.7. Угловая податливость свободного кольца по черт. 3, 1/Н×мм,

где yк - определяется по черт. 6.

3.8. Угловая податливость плоской крышки, 1/Н×мм,

,

где ;

.

3.9. Угловая податливость фланца, нагруженного внешним изгибающим моментом, 1/Н×мм,

для фланцев по черт. 1, 2

;

для фланца по черт. 3

;

для свободного кольца

;

3.10. Плечи моментов, мм:

для фланцев по черт. 1, 2, 4*

,

*Для фланцев по черт. 4

;

для фланцев по черт. 3

,

,

,

4. КОЭФФИЦИЕНТ ЖЕСТКОСТИ ФЛАНЦЕВОГО СОЕДИНЕНИЯ

4.1. Фланцевое соединение, натруженное внутренним или наружным давлением и внешней осевой силой:

для соединения по черт. 1, 2, 4

,

где ;

для соединения по черт. 4

для соединений по черт. 3

a=1;

для соединения с крышкой

где .

(Измененная редакция, Изм. № 1).

4.2. Фланцевое соединение, нагруженное внешним изгибающим моментом,

где ;

для фланцев по черт. 3

.

5. РАСЧЕТ НАГРУЗОК

5.1. Равнодействующая внутреннего давления, Н,

**

**Для условий вакуума или наружного давления Р< 0

5.2. Реакция прокладки в рабочих условиях, Н,

.

5.3. Нагрузка, возникающая от температурных деформаций, Н*:

*В случае, если между фланцами зажата трубная решетка или другая деталь, необходимо учесть температурную деформацию этой детали.

в соединении по черт. 1, 2

,

где                                  

 - толщина верхнего и нижнего фланца

в соединении по черт. 3

,

где                            ;

в соединении по черт. 4

,

где                                   ;

- высота верхнего нижнего упоров

в соединении с крышкой

,

где                              ;

aф, aк, aкр - определяются по ОСТ 26-11-04-84;

aз - определяется по приложению 2.

Примечания.

1. При определении нагрузок от температурных деформаций расчетную температуру фланцев, крышки, болтов (шпилек), трубной решетки, свободного кольца следует уменьшить на температуру при которой происходит сборка фланцевого соединения (20°С).

2. Если между фланцами зажата трубная решетка или для снижения нагрузок от температурных деформаций установлены дополнительные шайбы, то при определении lб0 необходимо учесть их толщины.

(Измененная редакция, Изм. № 1).

5.4. Болтовая нагрузка Рб в условиях монтажа принимается большей из следующих значений, Н*,

*F<0, если усилие сжимающее. При определении Рб4. величина Qt учитывается только при Qt<0, при a<1в расчетах принимается a=1.

;

;

 для фланцев по черт. 1, 2, 3;

для фланцев по черт. 4,

где B1 - принимается по табл. 5.

Для условий вакуума или наружного давления

Рб=Рб2.

(Измененная редакция, Изм. № 1).

5.5. Приращение нагрузки в болтах (шпильках) в рабочих условиях, Н,

,

при a<1в расчетах принимается a=1.

(Измененная редакция, Изм. № 1).

6. РАСЧЕТ БОЛТОВ (ШПИЛЕК)

6.1. Условия прочности болтов (шпилек)*:

*Величина x>1 допускается по согласовании с одним из авторов стандарта.

для фланцев по черт. 1, 2, 3

;

**

**Для условий вакуума и наружного давления где x=1,1+1,2;

для фланцев по черт. 4

;

.

Примечание - при проверке прочности болтов для рабочих условий с учетом нагрузки на болты от стесненности температурных деформаций допускаемое напряжение может быть увеличено на 30%.

(Измененная редакция, Изм. № 1).

6.2. Рекомендуемое значение крутящего момента при затяжке приводится в приложении 3 (рекомендуемое).

7. РАСЧЕТ ПРОКЛАДОК

Условие прочности прокладки проверяется для мягких прокладок

.

8. РАСЧЕТ ФЛАНЦЕВ НА СТАТИЧЕСКУЮ ПРОЧНОСТЬ*

8.1. Угол поворота фланца при затяжке

,

где M01=Pб×b.

*В случае соединения с разными (по размерам или материалам) фланцами расчет следует производить для каждого фланца.

8.2. Приращение угла поворота фланца в рабочих условиях

где .

8.3. Меридиональное напряжение в обечайке (втулке) на наружной и внутренней поверхностях при затяжке, МПа:

для фланцев по черт. 1 в сечении S1:

sн=s1;      s12=-s1

где ,

Т - определяется по черт. 8,

D*=D при D³S1,

D*=D+S0 при D<S1 и ¦>1,

D*=D+S1 при D<S1 и ¦=1;

для фланцев по черт. 1 в сечении S0

s21=¦×s1;     s22=-¦×s1,

где ¦ - определяется по черт. 9;

для фланцев по черт. 2, 3, 4

s21=s1;   s22=-s1,

где .

8.4. Приращения меридиональных напряжений в обечайке (втулка) на наружной и внутренней поверхностях в рабочих условиях, МПа:

для фланцев по черт. 1 в сечении S1

Ds11=Dsн+Ds1;      Ds12=Dsн+Ds1

где

,

;

в сечении S0

Ds21=Dsн+¦Ds1;  Ds22=Dsн+¦Ds1

где

;

для фланцев по черт. 2, 3, 4

Ds21=Dsн+Ds1;      Ds22=Dsн+Ds1

где

8.5. Окружные напряжения в обечайке (втулке) на наружной и внутренней поверхностях при затяжке, МПа:

для фланцев по черт. 1 в сечении S1

для фланцев по черт. 1 в сечении S0

Ds23=0,3¦×s1;                                                                 Ds24=-0,3¦×s1;

для фланцев по черт. 2, 3, 4

Ds23=0,3s1;                                                                      Ds24=-0,3s1;

8.6. Приращения окружных напряжений в обечайке (втулке) на наружной и внутренней поверхностях в рабочих условиях, МПа:

для фланцев по черт. 1 в сечении S1

,

;

в сечении Sо

для фланцев по черт. 2, 3, 4

8.7. Условие прочности фланца при расчете статической прочности:

для фланцев по черт. 1 в сечении S1

при затяжке

в рабочих условиях

;

для фланцев по черт. 1, 2, 3, 4 в сечении Sо

при затяжке

;

в рабочих условиях

.

9. РАСЧЕТ НА МАЛОЦИКЛОВУЮ УСТАЛОСТЬ

9.1. Расчетную амплитуду приведенных условных упругих напряжений при затяжке определяют по формуле

,

где для фланцев по черт. 1

,

,

,

aб определяется по черт. 10.

для фланцев по черт. 2

s1=0,

,

;

для фланцев по черт. 3, 4

s1=0,

,

.

9.2. Расчетную амплитуду приведенных условных упругих напряжений в рабочих условиях определяют по формуле

для фланцев по черт. 1

Ds1=aб×Ds11,

,

;

для фланцев по черт. 2

s1=0,

,

;

для фланцев по черт. 3, 4

s1=0,

,

.

9.3. Проверка малоцикловой прочности фланцевого соединения проводится по ГОСТ 25859-83.

Для этого по амплитуде напряжений, определенной из условия затяжки (sa) по п.9.1, определяется допустимое количество сборок-разборок [N]с. По амплитуде напряжений, определенной для рабочих условий () по п.9.2, определяется допустимое число циклов изменения режима эксплуатации [N]р.

Условие прочности для заданного количества нагружений (Nс, Nр) будет выполняться, если

10. РАСЧЕТ СВОБОДНОГО КОЛЬЦА

10.1. Угол поворота свободного кольца

.

10.2. Кольцевое напряжение в свободном кольце, МПа

.

10.3. Условие прочности

.

11. ТРЕБОВАНИЯ К ЖЕСТКОСТИ

.

Допустимый угол поворота для фланцев по черт. 2, 3, 4:

для рабочих условий и затяжки

=0,013

Для условий испытаний

=0,017

Для фланцев по черт. 1:

для рабочих условий и затяжки

=0,009   при D£2000 мм;

=0,013   при D>2000 мм;

для условий испытаний

=0,011   при D£2000 мм;

=0,015   при D>2000 мм;

Таблица 3

Несчетная температура, °С

Допускаемое напряжение, МПа, для сталей марок

35,40

12Х18Н10Т, 10Х17Н13М2Т

45Х14Н14В2М

20Х13

35Х, 40Х, 38ХА, 37Х12Н8Г8МФБ, 20ХН3А

30ХМА

ХН35ВТ

20

130,0

110,0

160,0

195,0

230,0

230,0

208

100

126,0

105,0

150,0

182,0

230,0

230,0

196

200

120,0

98,0

150,0

165,0

225,0

200,0

186

250

107,0

95,0

144,0

158,0

222,0

182,0

186

300

97,0

90,0

139,0

150,0

222,0

174,0

186

350

86,0

86,0

128,0

147,0

185,0

166,0

186

375

80,0

85,0

128,0

146,0

175,0

166,0

186

400

75,0

83,0

128,0

145,0

160,0

166,0

186

425

68,0

82,0

125,0

143,0

156,0

161,0

186

450

 

80,0

123,0

142,0

 

156,0

186

475

 

79,0

120,0

140,0

 

 

186

500

 

78,0

118,0

 

 

 

186

510

 

 

117,0

 

 

 

185

520

 

 

116,0

 

 

 

184

530

 

 

115,0

 

 

 

183

540

 

 

114,0

 

 

 

181

550

 

 

113,0

 

 

 

180

560

 

 

 

 

 

 

165

570

 

 

 

 

 

 

150

580

 

 

 

 

 

 

135

590

 

 

 

 

 

 

110

600

 

 

 

 

 

 

115

610

 

 

 

 

 

 

110

620

 

 

 

 

 

 

105

630

 

 

 

 

 

 

100

640

 

 

 

 

 

 

94

650

 

 

 

 

 

 

88

Продолжение табл. 3

Расчетная температура

Допускаемое напряжение, МПа, для сталей марок

25Х1МФ

25Х2М1Ф

20X1МФ1БР

18Х12ВМБФР

14X17H2

07X16H6

08Х15Н24В4ТР

20

238,0

238,0

238,0

238,0

298,0

321,0

231

100

227,0

232,0

234,0

234,0

294,0

314,0

226

200

217,0

231,0

224,0

231,0

287,0

312,5

221

250

210,0

224,0

213,0

227,0

284,0

309,8

219

300

199,0

220,0

202,0

227,0

280,0

307,0

217

350

185,0

213,0

185,0

220,0

280,0

307,0

215

375

180,0

209,0

183,0

216,0

 

 

214

400

175,0

206,0

182,0

213,0

 

 

213

425

168,0

202,0

178,0

208,0

 

 

213

450

161,0

199,0

175,0

203,0

 

 

213

475

152,0

195,0

171,0

196,0

 

 

213

500

143,0

192,0

167,0

189,0

 

 

208

510

 

 

 

 

 

 

205

520

 

 

 

 

 

 

202

530

 

 

 

 

 

 

199

540

 

 

 

 

 

 

196

550

 

 

 

,

!

 

195

560

 

 

 

 

 

 

183

570

 

 

 

 

 

 

171

580

 

 

 

 

 

 

169

590

 

 

 

 

 

 

157

600

 

 

 

 

 

 

147

Таблица 4

Тип и материал прокладки

Коэффициент m

Удельное давление обжатия прокладки qобж, МПа

Допускаемое удельное давление

[q], МПа

Коэффициент обжатия, K

Условный модуль сжатия

Еn×10-5, МПа

Плоская из:

резины по ГОСТ 7338 с твердостью по ШОРУ А до 65 единиц

0,5

2,0

18,0

0,04

0,3×10-4´

резины по ГОСТ 7338 с твердостью по ШОРУ А более 65 единиц

1,0

4,0

20,0

0,09

0,4×10-4´

паронита по ГОСТ 481 при толщине не больше 2 мм

2,5

20,0

130,0

0,90

0,02

картона асбестового по ГОСТ 2850 при толщине 1-3 мм

2,5

20,0

130,0

0,90

0,02

фторопласта-4 ТУ 6-05-810 при толщине 1-3 мм

2,5

10,0

40,0

1,00

0,02

алюминия марки АД по ГОСТ 21631

4,0

60,0

 

 

 

латуни марки Л63 по ГОСТ 2208

4,75

90,0

 

 

 

стали 05кп по ГОСТ 9045

5,5

125,0

 

 

 

Плоская из:

 

 

 

 

 

асбеста по ГОСТ 2850

 

 

 

 

 

в оболочке из алюминия,

3,25

38,0

 

 

0,04

меди и латуни

3,5

46,0

 

 

 

стали 05КП

3,75

53,0

 

 

 

стали типа 12Х18Н10Т

3,75

63,0

 

 

0,05

Кольцо с овальным или восьмигранным сечением из:

 

 

 

 

 

стали 0,5КП по ГОСТ 9045 или 08Х13 по ГОСТ 5632

5,5

125,0

 

 

 

стали 08Х18Н10Т

6,5

180,0

 

 

 

*Для сред с высокой проникающей способностью (водород, гелий, легкие нефтепродукты, сжиженные газы и т.п.) qобж = 35,0 МПа.

Таблица 5

Диаметр болта d, мм

М10

М12

М16

М20

М24

М27

М30

М36

М42

М48

Площадь поперечного сечения болта по внутреннему диаметру резьбы*

fб, мм2

52,2

76,2

144,0

225,0

324,0

430,0

520,0

760,0

1045,0

1376,6

Нагрузочная способность зажима

Вn Н

-

-

18000

28000

40000

53000

65000

102000

-

-

Высота упора

h2, мм

-

-

28,0

32,0

36,0

36,0

37,0

42,0

-

-

*В случая применения шпилек с проточкой стержня до диаметра, меньшего внутреннего диаметра резьбы, значение площади поперечного сечения определяется по диаметру проточки.

Черт. 5

Черт. 6

Черт. 7

Черт. 8

Черт. 9

Черт. 10

По согласованию с одним из авторов РД26-15 в технически обоснованных случаях допускаемый угол поворота (q) может быть увеличен.

(Измененная редакция, Изм. № 1).

12. РАСЧЕТ ФЛАНЦЕВЫХ СОЕДИНЕНИЙ С КОНТАКТИРУЮЩИМИ ФЛАНЦАМИ

12.1. Общие требования.

12.1.1. Термины и условные обозначения соответствующих им физических величин приведены в обязательном приложении 1.

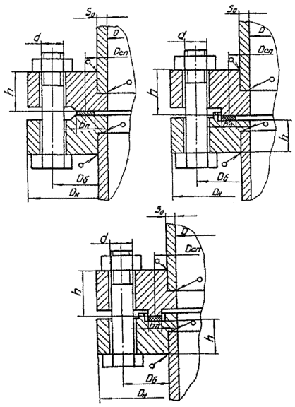
12.1.2. Типы фланцевых соединений приведены на черт. 11. Пределы применения указанных типов фланцевых соединений приведены в справочном приложении 5.

12.1.3. Пределы применения расчетных формул настоящего раздела должны соответствовать п.1.3.

12.1.4. Расчетная температура элементов фланцевого соединения устанавливается в соответствии с п.1.5.

12.2. Допускаемые напряжения.

12.2.1. Допускаемые напряжения для материала болтов определяют по п. 2.1 с увеличением на 25%.

12.2.2. Допускаемые напряжения для материала фланца при расчете статической прочности определяются по п.2.5.

12.3. Расчет вспомогательных величин.

12.3.1. Эффективная ширина и характеристики прокладки определяются по пп. 3.1; 3.2.

12.3.2. Податливость контактных поясов прокладки, мм/Н

.

12.3.3. Расчетная длина и податливость болтов (шпилек) определяются по п.3.4.

12.3.4. Параметры фланца.

12.3.4.1. Угловая податливость фланца определяется по п.3.6.

12.3.5. Угловая податливость плоской крышки определяется по п.3.8.

Угловая податливость крышки сферической неотбортованной определяется по п.3.6.3.

12.3.6. Плечи моментов, мм:

;

;

.

12.3.7. Коэффициенты:

;

;

;

Черт. 11

Чертеж не определяет конструкцию

Ориентировочные значения h1, a1, a2 принимаются по табл. 6:

;

;

;

;

;

,

где

Для фланцев по черт. 11а

Для фланцев по черт. 11б

Таблица 6

D

h1

a1

a2

400

0,496

0,159

1,337

500

0,496

0,148

1,344

600

0,496

0,135

1,352

700

0,495

0,129

1,356

800

0,491

0,144

1,327

900

0,519

0,182

1,281

1000

0,539

0,193

1,239

1200

0,539

0,194

1,239

1400

0,539

0,194

1,239

1600

0,534

0,148

1,239

1800

0,542

0,270

1,167

2000

0,542

0,262

1,172

2200

0,537

0,269

1,183

2400

0,537

0,255

1,192

2600

0,502

0,134

1,222

2800

0,502

0,127

1,226

3000

0,502

0,133

1,223

3200

0,498

0,123

1,215

3400

0,489

0,134

1,213

3600

0,506

0,131

1,261

3800

0,506

0,123

1,265

4000

0,506

0,116

1,269

12.4. Расчет нагрузок

12.4.1. Равнодействующая внутреннего давления, Н

12.4.2. Нагрузки в элементах соединения, возникающие от температурных деформаций

12.4.3. Болтовая нагрузка в условиях монтажа принимается большей из следующих значений, Н:

;

;

.

12.4.4. Приращение нагрузки в болтах (шпильках) в рабочих условиях, Н

.

12.4.5. Реакция контактных поясов прокладки в рабочих условиях, Н:

;

.

12.4.6. Максимальный изгибающий момент принимается большим, Н×мм:

;

,

где [s]20, [s] - принимаются по ОСТ 26-11-04.

12.5. Расчет болтов (шпилек)

12.5.1. Условия прочности болтов (шпилек) и величина крутящего момента на ключе определяются по п.6.

12.6. Условие прочности прокладки

.

12.7. Условие герметичности

.

12.8. Расчет фланца

12.8.1. Меридиональное напряжение в обечайке (втулке), МПа

,

где коэффициент Т определяется по черт. 8.

12.8.2. Окружное напряжение в обечайке (втулке), МПа

.

12.8.3. Условие прочности обечайки

.

ПРИЛОЖЕНИЕ 1

Обязательное

Термины и обозначения

Таблица 7

Термин

Обозначение

Ширина прокладки, мм

bn

Нагрузочная способность зажима, Н

B1

Прибавка для компенсации коррозии, мм

C

Внутренний диаметр фланца, мм

D

Внутренний диаметр свободного кольца, мм

Dк

Наружный диаметр фланца, мм

Dн

Наружный диаметр свободного кольца, мм

Dнк

Диаметр окружности расположения болтов (шпилек), мм

Dб

Средний диаметр прокладки, мм

Dсп

Наружный диаметр болта (шпилька), м<

d

Модуль продольной упругости материала при температуре 20°С и расчетной, МПа, принимается по ГОСТ 14249:

 

фланца

Е20, Е

болтов (шпилек)

Е20б, Еб

свободного кольца.

Е20к, Ек

крышки

Е20кр, Екр

Условный модуль сжатия материала прокладки, МПа

Еп

Внешняя осевая сила (сжимающая со знаком минус),Н

F

Площадь поперечного сечения болта (шпильки) по внутреннему диаметру резьбы, мм2

fб

Толщина фланца, свободного кольца, мм

h, hк

Высота упора, принимается по ОСТ 26-01-64, мм

h1

Высота бурта для опирания зажима, мм

h2

Толщина крышки и фланцевой части в зоне уплотнения, мм

hкр, sкр

Толщина прокладки, мм

hп

Длина конической втулки, мм

L

Внешний изгибающий момент, Н×мм

M

Радиус сферы сферической неотбортованной крышки, мм

Rc

Радиус бурта для опирания зажима, принимается по ОСТ 26-01-64, мм

R

Расчетное давление, МПа

Р

Толщина конической втулки в месте соединения с

 

фланцем

S1

обечайкой, втулкой, днищем, мм

S0

Толщина обечайки, днища, втулки, мм

S0

Расстояние между опорными поверхностями гайки и головки болта, шпильки, мм

Lб0

Число болтов (шпилек), шт

n

Расчетная температура, °С

 

фланца, крышки

tф

болтов (шпилек)

tб

свободного кольца

tк

Температурный коэффициент линейного расширения материала, 1/°С

 

фланца

aф

болтов (шпилек)

aб

свободного кольца

aк

крышки

aкр

Предел текучести материала болтов (шпилек) при расчетной температуре, МПа

sт

Среднее значение предела длительной прочности за 105 ч при расчетной температуре, МПа

sд×105

Средний 1%-ный предел ползучести за 105 ч при расчетной температуре, МПа

s1%×105

Допускаемое напряжение материала болтов (шпилек) при температуре 20°С и расчетной, МПа

[s]20б, [s]б

Предел текучести материала фланца, МПа

s0,2

Допускаемое напряжение материала фланца при температуре 20°С и расчетной, МПа

[s]20, [s]

Допускаемое напряжение материала свободного кольца при расчетной температуре, МПа

[s]к

Допускаемые напряжения для фланцев в сечениях S1 и S0

[s]S1, [s]S0

Расчетная и допускаемая амплитуда условных упругих напряжений, МПа

sа, [sа]

Заданное и допускаемое число циклов нагружения

N, [N]

ПРИЛОЖЕНИЕ 2

Рекомендуемое

Коэффициенты линейного расширения

Таблица 8

Марки стали

Коэффициент линейного расширения a×106, 1/°С в зависимости от температуры, °С

20-100

200

300

400

500

600

35

11,1

11,9

-

13,4

-

-

40

11,3

12,0

13,3

13,3

-

-

20Х13

10,4

10,9

11,4

11,8

-

-

14Х17Н2

10,6

10,8

11,0

11,1

11,3

 

35Х

40Х

38ХА

13,4

13,3

-

14,8

-

-

20XH3A

11,0

12,0

13,0

13,5

14,0

14,5

30XMA

12,3

12,6

12,9

13,9

-

14,4

25Х1МФ

11,3

12,7

-

13,9

-

14,5

25Х2М1Ф

12,5

12,9

13,3

13,7

14,0

14,7

18Х12ВМБФР

11,2

11,3

11,4

11,8

12,0

-

37Х12Н8Г8МФБ

15.9

18,0

19,2

21,5

22,4

21,0

12Х18Н10Т

10Х17Н13М2Т

16,6

17,0

18,0

18,0

18,0

 

45Х14Н14В2М

-

17,0

-

18,0

-

18,0

ХН35ВТ

14,8

15,1

15,5

15,9

16,1

16,6

08Х15Н24В4

14,5

15,5

16,3

16,8

17,2

17,4

(Измененная редакция, Изм. № 1).

ПРИЛОЖЕНИЕ 3

Рекомендуемое

Крутящий момент на ключе при затяжке

Черт. 12

ПРИЛОЖЕНИЕ 4

Справочное

Пример расчета фланцевого соединения

(черт. 2)

Исходные данные:

D = 400 мм,        h = 300 мм,           f = 200°С,                   E20 = 1,99×105 МПа;

Dн = 535 мм,       hп = 2 мм,              P = 0,6 МПа,              Е = 1,81×105 МПа;

Dб = 495 мм,       S0 = 8 мм,              М = 0,83×107 Н×мм,    = 2,1×105 МПа;

Dсп = 445 мм,      d = 20 мм,             F = 15000 Н,               Еб = 2,01d105 МПа;

bп = 12 мм,          n = 20,                    с = 2 мм,                     aф = 12,6×10-6 1/°С;

                                                                                                aб = 11,9×10-6 1/°С

Материал фланцев - сталь 20К.

Материал болтов - сталь 35.

Материал прокладки - паронит ПОН.

1. Расчет вспомогательных величин

1.1. Эффективная ширина прокладки

bo = bn = 12 мм.

1.2. Характеристики прокладки, принимаются по табл. 4:

m = 2.5;

qобж = 20 МПа;

К = 0,9;

Еn = 2×103 МПа.

1.3. Податливость прокладки

.

1.4. Податливость болтов

;

,

где fб = 225 мм2 принимается по табл. 5.

1.5. Параметры фланца

1.5.1. Эквивалентная толщина втулки

Sо = So = 8 мм.

1.5.2. Коэффициенты

y1 = 0,16 определяется по черт. 6;

1.5.3. Угловая податливость фланца

где y2 = 6,9 определяется по черт. 7.

1.6. Угловая податливость фланца, нагруженного внешним изгибающим моментом,

1.7. Плечи момента:

b = 0,5(Dб-Dсп) = 0,5(495 - 445) = 25 мм;

e = 0,5(Dсп- D-Sэ) = 0.5(445 - 400 - 8) = 18,5 мм.

2. Коэффициент жесткости фланцевого соединения

2.1. Фланцевое соединение, нагруженное внутренним давлением и внешней осевой силой:

;

2.2. Фланцевое соединение, нагруженное внешним изгибающим моментом:

=

;

.

3. Расчет нагрузок

3.1. Равнодействующая внутреннего давления

Qд = 0.785×D2сп×P = 0,785×4452×0,6 = 93270,0 Н.

3.2. Реакция прокладки в рабочих условиях

Rn = p×Dсп×bо×m×P = 3,14×445×12×2,5×0,6 = 25151,4 Н.

3.3. Нагрузка, возникающая от температурных деформаций

3.4. Болтовая нагрузка Рб в условиях монтажа принимается большей из следующих значений:

Pб1=0,5×p×Dсп×bэ×qобж=0,5×3,14×445×12×20=167676,0 H

Pб1=0,4××п×fб=0,4×130×20×225=234000,0 H.

3.5. Приращение нагрузки в болтах в рабочих условиях

4. Расчет болтов

где принимается по табл. 3,

5. Расчет прокладок

;

[q] = 130 МПа, принимается по тaбл. 4;

6. Расчет фланца

6.1. Угол поворота фланца при затяжке:

;

6.2. Приращение угла поворота фланца в рабочих условиях:

6.3. Меридиональные напряжения в обечайке на наружной и внутренней поверхностях при затяжке, МПа

где Т = 1,78 - принимается по черт. 8;

s21 = 353,6 МПа;                                           s22 = -353,6 МПа.

6.4. Приращения меридиональных напряжений в обечайке на наружной и внутренней поверхностях в рабочих условиях:

Ds21=Dsн+Ds1= 24,3 + 104 = 128,3 МПа;

Ds22=Dsн-Ds1= 24,3 + 104 = 128,3 МПа;

6.5. Окружные напряжения в обечайке на наружной внутренней поверхностях при затяжке, МПа:

s23 = 0,3×s1 = 0,3×353,6 = 106,1 МПа;

s24 = -0,3×s1= -0,3×356,6 = -106,1 МПа.

6.6. Приращение окружных напряжений в обечайке на наружной и внутренней поверхностях в рабочих условиях:

6.7. Условие прочности фланца при расчете статической прочности:

при затяжке

[s]20 = 147 МПа:

= 220 МПа;

= 410 МПа;

[s] = 136 МПа;

s0,2 = 204 МПа;

sб= 460 МПа;

;

в рабочих условиях

;

ss0 = 425,6 МПа < 491 МПа.

Уровень напряженного состояния не превышает допускаемый.

7. Требование к жесткости

q+Dq£,

 = 0.013.

0,0040 + 0,0012 = 0,0052<0,013.

ПРИЛОЖЕНИЕ 5

Рекомендуемое

Пределы применения типов фланцевых соединений

Фланцы плоские (черт. 2), со свободном кольцом (черт. 3), с зажимами (черт. 4) рекомендуется применять при температуре среды до 300°С.

Фланцы с гладкой уплотнительной поверхностью рекомендуются для условных давлений среды до 1,6 МПа.

Фланцы с уплотнительной поверхностью выступ-впадина рекомендуются для условных давлений среды более 1,6 МПа.

Фланцы с уплотнительной поверхностью «шип-ваз» рекомендуются для прокладок, которые необходимо помещать в замкнутый объем.

Фланцы с уплотнительной поверхностью под металлическую прокладку овального или восьмигранного сеченая рекомендуются для условных давлений среды более 6,0 МПа.

Фланцы контактирующие (черт. 11) рекомендуются для условных давлений до 0,6 МПа и вакуума с остаточным давлением не ниже 5 мм рт.ст. (0,005 МПа ост.) при температуре до плюс 300°С.

Таблица 9

Рекомендации по конструированию фланцевых соединений

Параметры фланцевого соединения, мм

Типы фланцев

Приварные встык (черт. 1)

Плоские (черт. 2)

Свободные (черт. 3)

Примечание

1. Толщина обечайки (втулки)

S = S0+1,3S, но не во всех случаях

S0³S

S - толщина обечайки, к которой приваривается фланец;

b принимается по черт. 13

S0

S0-S×5 мм

S1

S1 = bS0

2. Длина конической втулки t

 

 

 

i = 1:3 уклон втулки

3. Диаметр болтовой окружности

Dб ³ D + 2(S1 + d + u)

Dб³D+2(2S1+d×u)

Dб>Dк+8(d+u1)

u = 6 мм

u1 = 8 мм

Dб

Dб = ε1×D0,931

ε1 принимается по табл. 11

d принимается по табл. 13

4. Наружный диаметр фланца Dн

Dн³Dб+а

а принимается по табл. 13

5. Наружный диаметр прокладки Ds

Ds = Dб - e

Ds £ Ds1

е принимается по табл. 13

6. Средний диаметр прокладки Dсп

Dсп = Ds - b

b принимается по табл. 14

7. Число болтов n

 

t1 принимается по табл. 12

8. Ориентировочная толщина фланца h

 

 

l1 принимается по черт. 14

S0 принимается по п.3.6.1

Таблица 10

Рекомендуемые диаметры болтов (шпилек) в зависимости от условного давления Ру и диаметра аппарата

Ру, МПа

Диаметры болтов (шпилек) для аппаратов, мм

800

1000

1200

1400

1600

1800

2000

2200

2400

³2400

До 0,6

М20

М24 + М30

1,0

М20

М30

1,6

М20

М24 + М30

2,5

M20

М24 + М30

М30

 

 

 

4,0

М30

М36

М42

 

 

 

6,3

М36

М42

М48

М52

 

 

 

8,0

М30¸М36

М42

М48

М52¸М56

-

 

 

 

10,0

М30¸М42

М48

M52¸M56

M56 ¸М64

 

 

 

 

Черт. 13

1 - для фланцев по черт. 2

2 - для фланцев по черт. 1

Черт. 14

Таблица 11

Безразмерный параметр ε1 в зависимости от Ру

Ру, МПа

ε1

Ру £ 1,6

1,77

1,6 < Ру £ 2,5

1,79

2,5 < Ру £ 4,0

1,86

4,0 < Ру £ 6,3

1,92

6,3 < Ру £ 8,0

2,00

8,0 < Ру £ 10,0

2,07

Таблица 12

Рекомендуемый шаг расположения болтов в зависимости от Ру

Ру, МПа

t1, мм

До 0,3

(4,2 ¸ 5,0)dб

0,6

(3,8 ¸ 4,8)dб

1,0

(3,5 ¸ 4,2)dб

1,6

(3,0 ¸ 3,8)dб

2,5

(2,7 ¸ 3,5)dб

4,0

(2,3 ¸ 3,0)dб

8,4 ¸ 10,0

(2,1 ¸ 2,8)dб

Таблица 13

Вспомогательные величины d, a и е для болтов (шпилек)

Диаметр болта dб

М20

(М22)

М24

(M27)

М30

М36

M42

M48

М52

M56

M60

M64

Диаметр отверстия под болт d

23

25

27

30

33

40

46

52

58

60

66

70

а

Для гаек шестигранных

40

42

47

52

58

60

80

92

97

110

115

120

Для гаек шестигранных с уменьшенным размером под ключ

36

40

42

47

52

63

69

80

86

-

-

-

е

Для плоских прокладок

30

32

34

37

41

48

55

61

65

-

-

-

Для прокладок овального или восьмиугольного сечения

53

55

57

60

64

71

78

84

88

195

240

240

Таблица 14

Размеры прокладок

Материал прокладки

Диаметр аппарата, мм

Ширина прокладки, мм

Плоские неметаллические прокладки

D £ 1000

12 ¸ 15

1000 < D £ 2000

15 ¸ 25

D > 2000

25

Плоские металлические прокладки

D £ 1000

10 ¸ 12

D > 1000

12 ¸ 15

Плоские прокладки в металлической оболочке и зубчатые металлические прокладки

D £ 1600

12 ¸ 18

D > 1600

13 ¸ 25

Овального или восьмиугольного сечения прокладки для Ру ³ 6,3 МПа

D £ 600

12 ¸ 18

600 < D £ 800

16 ¸ 22

800 < D £ 1000

18 ¸ 28

1000 < D £ 1600

22 ¸ 42

Продолжение таблицы*

Материал прокладки

Диаметр аппарата, мм

Ширина прокладки, мм

Толщина прокладки, мм

ТРГ «Графлекc) не армированная с абтюретором

400<D£600

13,5

4;6

600£D<1000

14

 

1000£D<1500

15,5

 

1500£D

17,5

 

ТРГ «Графлекc) армированная с абтюретором

400£D<600

13,5

2;3

600Х1000

14

 

ТРГ «Графлекc) армированная с абтюретором

400£D<600

13,5

3;4

600£D<1000

14

 

* Размеры прокладок приняты по техническим условиям, разработанными НПО «УНИХИМТЕК.

(Измененная редакция, Изм. № 1).

Приложение 6

(Обязательное)

НОРМЫ И МЕТОДЫ РАСЧЕТА НА ПРОЧНОСТЬ И ГЕРМЕТИЧНОСТЬ ФЛАНЦЕВЫХ СОЕДИНЕНИЙ С ПРОКЛАДКАМИ ИЗ ТЕРМОРАСШИРЕННОГО ГРАФИТОВОГО МАТЕРИАЛА «ГРАФЛЕКС»

1. Настоящее приложение распространяется на расчет фланцевых соединений с уплотнительными поверхностями «шип-паз» с прокладками из ТРГ«ГРАФЛЕКС».

2. Характеристики прокладок из ТРГ «ГРАФЛЕКС»* m, qобж,.[q], приведены в табл. Модуль упругости прокладки Eп = 11,1q, где - удельное давление на прокладку при затяжке, МПа.

3. Коэффициент жесткости фланцевого соединения a определяется в соответствии с п. 4.1.

В связи с тем, что модуль упругости прокладки зависит от удельного давления на прокладку (q), то при определении a податливость прокладки определяется методом последовательных приближений следующем путем:

Предварительно определяется удельное давление на прокладку при затяжке по формуле:

, где                                                   (2)

Рб - болтовое усилие для условий монтажа, определяемое по п.5.4.

При определении Рб - коэффициент в первом приближении принимается равным единице.

Затем по формуле Eп = 11,1q определяется модуль упругости и по п. 3.3 податливость прокладки.

Если a получится больше единицы, то необходимо определить болтовое усилие Рб1, по п.5.4. с полученным коэффициентом a и повторить определение q и Е. После этого вновь определить коэффициент a.

*Примечание. Характеристики прокладок представлены НПО «УНИХИМТЕК

Если при первом приближении коэффициент a получится меньше единицы, то при расчете фланцевых соединений коэффициент a принимается равным единице и дальнейшие приближения по определению a не требуются.

Тип и материал прокладки

Коэффициент m

Удельное давление обжатия прокладки qобж, МПа

Допускаемое удельное давление [q], МПа

Прокладка ТРГ неармированная с обтюратором

2,0

4,0

200

Прокладка ТРГ армированная без обтюратора

2,5

4,0

120 при t=2 мм*)

100 при t=3 мм*)

Прокладка ТРГ армированная с обтюратором

2,0

4,0

200

*) толщина прокладки в свободном состоянии

ИНФОРМАЦИОННЫЕ ДАННЫЕ

1. РАЗРАБОТАН НИИхиммашем, Укрниихиммашем, ВНИИнефтемашем

ИСПОЛНИТЕЛИ:

Рачков В.И., к.т.н.; Зусмановская С.И., к.т.н.; Гапонова Л.П.; Смольский К.В., к.т.н.; Заваров В.А.; Морозов В.Г.; Перцев Л.П., д.т.н.; Голубова Т.П.; Мамонтов Г.В., к.т.н.; Зейде И.Е.; Вольфсон Б.С.

2. УТВЕРЖДЕН И ВВЕДЕН В ДЕЙСТВИЕ листом утверждения Главного научно технического управления от 29.11.88 г.

3. ВЗАМЕН ОСТ 26-373-78, ОСТ 26-01-396-78, ОСТ 26-01-54-77.

4. ССЫЛОЧНЫЕ НОРМАТИВНО-ТЕХНИЧЕСКИЕ ДОКУМЕНТЫ

Обозначение НТД, на который дана ссылка

Номер пункта, подпункта, перечисления, приложения

ГОСТ 481-80

3.2

ГОСТ 2208-75

3.2

ГОСТ 2850-80

3.2

ГОСТ 5632-72

3.2

ГОСТ 7338-77.

3.2

ГОСТ 9045-80

3.2

ГОСТ 14249-80

Приложение 1

ГОСТ 21631-76

3.2

ГОСТ 25859-83

9.3

ОСТ 26-01-64-83

Приложение 1

ОСТ 26-11-04-84

2.5, 5.3, 12.4.6

ОСТ 26-291-87

Вводная часть

ТУ6-05-810-76

3.2

СОДЕРЖАНИЕ

1. Общие требования. 1

2. Допускаемые напряжения. 3

3. Расчет вспомогательных величин. 4

4. Коэффициент жесткости фланцевого соединения. 6

5. Расчет нагрузок. 7

6. Расчет болтов (шпилек) 8

7. Расчет прокладок. 9

8. Расчет фланцев на статическую прочность*. 9

9. Расчет на малоцикловую усталость. 11

10. Расчет свободного кольца. 12

11. Требования к жесткости. 12

12. Расчет фланцевых соединений с контактирующими фланцами. 16

Приложение 1 Термины и обозначения. 20

Приложение 2 Коэффициенты линейного расширения. 21

Приложение 3 Крутящий момент на ключе при затяжке. 21

Приложение 4 Пример расчета фланцевого соединения. 22

Приложение 5 Пределы применения типов фланцевых соединений. 26

Приложение 6 Нормы и методы расчета на прочность и герметичность фланцевых соединений с прокладками из терморасширенного графитового материала «графлекс». 29

 




Rambler's Top100 Яндекс цитирования
  Copyright © 2008-2026, www.docload.ru