Бесплатная библиотека стандартов и нормативов www.docload.ru

Все документы, размещенные на этом сайте, не являются их официальным изданием и предназначены исключительно для ознакомительных целей.
Электронные копии этих документов могут распространяться без всяких ограничений. Вы можете размещать информацию с этого сайта на любом другом сайте.
Это некоммерческий сайт и здесь не продаются документы. Вы можете скачать их абсолютно бесплатно!
Содержимое сайта не нарушает чьих-либо авторских прав! Человек имеет право на информацию!

 

КОМПЛЕКС АРХИТЕКТУРЫ, СТРОИТЕЛЬСТВА, РАЗВИТИЯ И РЕКОНСТРУКЦИИ ГОРОДА

ТЕХНИЧЕСКИЙ РЕГЛАМЕНТ

операционного контроля качества строительно-монтажных и специальных работ при возведении зданий и сооружений

10. ГЕРМЕТИЗАЦИЯ СТЫКОВ НАРУЖНЫХ ОГРАЖДАЮЩИХ КОНСТРУКЦИЙ

ТР 94.10-99

МОСКВА-2000

Технический регламент операционного контроля качества разработан по 12 видам строительно-монтажных работ, каждый из которых издан отдельным томом:

1. Производство земляных работ (ТР 94.01-99)

2. Устройство оснований и возведение фундаментов (ТР 94.02-99)

3.1. Монтаж сборных бетонных и железобетонных конструкций при возведении подземной части зданий (ТР 94.03.1-99)

3.2. Монтаж сборных железобетонных конструкций при возведении надземной части зданий (ТР 94.03.2-99)

4. Строительство кирпичных зданий (ТР 94.04-99)

5. Монтаж санитарно-технических систем (ТР 94.05-99)

6. Производство отделочных работ (ТР 94.06-99)

7. Устройство кровель (ТР 94.07-99)

8. Устройство гидроизоляции подземной части зданий (ТР 94.08-99)

9. Теплоизоляция стыковых соединений элементов наружных стеновых панелей (ТР 94.09-99)

10. Герметизация стыков наружных ограждающих конструкций (ТР 94.10-99)

11. Производство малярных и обойных работ (ТР 94.11-99)

12. Благоустройство территорий у строящихся зданий (ТР 94.12-99)

Технический регламент разработан ГУП «НИИМосстрой» (тома ТР 94.02-99, ТР 94.05-99 ... ТР 94.12-99)

- Белоусов Е. Д., д.т.н., профессор, директор; тел. (095) 147-40-02

- Белавин Ф. С., к.т.н., зам. директора по научной работе; тел (095) 147-40-03

- совместно с ПКТИ Промстроя: (тома ТР 94.01-99), ТР 94.03.1-99, ТР 94.03.2-99 и ТР 94.04-99) Едличка С.Ю., к.т.н., генеральный директор; тел. (095) 214-33-28 Шахпаронов В.В., к.т.н., зам. Генерального директора по научной части; тел. (095) 214-48-00 Ярымов Ю.Л. гл. инженер проекта тел. (095) 214-36-49

- с участием ГУ «Мосстройлицензия» Емельянов Ю.П., руководитель ГУ.

Технический регламент согласован с АО ХК «Главмосстрой», ОАО «Мосинжстрой», ГУ «Мосстройлицензия», ГУП «Мосстройсертификация» и утвержден Управлением экономической, научно-технической и промышленной политики в строительной отрасли.

Том 10 «Герметизация стыков наружных ограждающих конструкций» (ТР 94.10-99) разработан лабораторией герметизации ГУП «НИИМосстрой»:

- Файфман Е.Ф., зав. лабораторией; тел. (095) 147-44-84

- Коротаев А.Н., старший научный сотрудник

СОДЕРЖАНИЕ

 

Правительство Москвы

Комплекс архитектуры, строительства, развития и реконструкции города

Технический регламент операционного контроля качества строительно-монтажных и специальных работ при возведении зданий и сооружений

10. Герметизация стыков наружных ограждающих конструкций

ТР 94.10-99

1. ОБЩАЯ ЧАСТЬ

1. Настоящий регламент распространяется на работы по герметизации стыков наружных ограждающих конструкций.

2. Регламент содержит контролируемые параметры, объем контроля, методы и средства контроля, состав и содержание производственного контроля, а также обязательные организационно-технологические правила, соблюдение которых при производстве герметизационных работ обеспечивает требуемое их качество.

3. Регламент составлен на основании требований СНиП 3.03.01-87 «Несущие и ограждающие конструкции», ВСН 19-95 «Инструкция по технологии заделки стыковых соединений наружных стен жилых домов и зданий соцкультбыта», ВСН 54-96 «Инструкция по технологии герметизации и теплоизоляции стыков панелей, оконных и дверных блоков с применением «Макрофлекса» в жилых домах при ремонте», ВСН 67-97 «Инструкция по применению герметизирующих самоклеящихся лент при монтаже и ремонте полносборных зданий».

Разработан:

ГУП «НИИМосстрой» и ПКТИ «Промстрой»

Утвержден:

Начальник Управления экономической, научно-технической и промышленной политики в строительной отрасли

А. И. Воронин

Дата введения в действие:

«30» июня 2000 г.

II КОНТРОЛИРУЕМЫЕ ПАРАМЕТРЫ И СРЕДСТВА КОНТРОЛЯ

№ № п. п.

Параметры

Величина предельных отклонений

Метод и объем контроля

Средства измерения

 

1

Входной контроль качества используемых материалов на соответствие ТУ.

 

 

 

 

1.1. Контроль качества вулканизующегося герметика:

 

Инструментальный, сплошной.

Машина разрывная испытательная

 

- условная прочность в момент разрыва, кгс/см2

не менее 1

Линейка металлическая ГОСТ 4278-75.

- относительное удлинение в момент разрыва, %

не менее 150

 

- время высыхания поверхностной пленки, мин

не менее 20

Штангенциркуль 0¸500 мм по ГОСТ 166-89.

 

- прочность при растяжении, кгс/см2

не менее 2

Весы лабораторные В ЛТК-5. Часы.

 

- плотность, г/см3

0,95 - 1,25

Сушильный эл. шкаф СНОЛ

 

- сопротивление текучести, мм

не более 2

 

- характер разрушения

когезионный

 

- жизнеспособность, час

не менее 2

 

 

1.2. Контроль качества пенополиэтиленовых погонажных изделий «Вилатерм»:

 

Визуальный, инструментальный, сплошной

Линейка металлическая ГОСТ 427-75.

 

 

- внешний вид

Вилатерм должен иметь однородную мелкоячеистую структуру с замкнутыми порами, сплошную (гладкую или шероховатую) поверхность без трещин и разрывов.

Весы лабораторные ВЛТК.

 

 

- диаметр наружный, мм

20±3,30±5,40±5,50±5

 

 

 

 

- плотность, кг/м3

30-50

 

 

 

 

- водопоглощение по весу, %

Не более 3,0

 

 

 

 

- относительная остаточная деформация при сжатии, %

 

 

 

 

 

на 25%;

Не более 10

 

 

 

 

на 50%

Не более 20

 

 

 

 

1.3. Контроль качества клея:

 

Инструментальный, визуальный, сплошной

Машина разрывная

 

 

- прочность соединения между бетонным основанием и приклеиваемым материалом, кгс/см2:

 

Испытательная Линейка ГОСТ 427-75.

Штангенциркуль 0¸500 мм по ГОСТ 166-89.

 

через 24 часа

Не менее 1 ,2

 

 

 

через 72 часа

Не менее 2,4

 

 

 

- характер разрушения

когезионный

 

Сушильный электрический шкаф СНОЛ.

 

 

- содержание нелетучих компонентов, %

соответственно требованиям ТУ

 

 

 

- вязкость, сек

-*-

 

Весы лабораторные ВЛА-200.

 

Вискозиметр ВЗ-246 ГОСТ 9070-73.

 

 

1.4. Контроль качества воздухозащитной ленты:

 

Инструментальный, выборочный

Машина разрывная испытательная.

 

Линейка металлическая ГОСТ 427-75.

 

- прочность связи при отслаивании, кгс/см2;

не менее 0,12

 

 

 

- предел прочности при растяжении в поперечном направлении, кгс/см2;

не менее 3,5

 

Штангенциркуль 0¸500 мм по ГОСТ 166-89.

 

 

- относительное удлинение, %

не менее 30

 

 

 

- теплостойкость, °С;

не менее 100

 

Сушильный электрический шкаф СНОЛ.

 

 

- водопоглощение, %.

не более 1,0

 

Весы лабораторные ВЛА-200.

 

 

1.5. Контроль качества монтажной пены (типа «Макрофлекс»):

 

Инструментальный, все партии.

Машина разрывная испытательная.

 

Линейка металлическая ГОСТ 427-75.

 

- кажущаяся плотность, кг/м3;

25 - 35

 

 

 

- разрушающее напряжение при сжатии, Мпа (кгс/см2);

Не менее 0,08 (0,8)

 

Штангенциркуль 0¸500 мм по ГОСТ 166-89.

 

разрушающее напряжение при растяжении, Мпа (кгс/см2);

Не менее 0,11 (1,1)

 

 

 

- относительное удлинение при разрыве, %;

Не менее 15

 

Весы лабораторные ВЛТК-5.

 

 

- адгезионная прочность к бетону, МПА (кгс/см2);

Не менее 0,12 (1,2)

 

Часы.

 

 

- время образования поверхностной корочки, мин.;

Не более 20

 

 

 

- время полного отверждения, час;

Не более 3

 

 

2.

Контроль качества подготовительных операций.

 

Визуальный, сплошной.

 

 

 

2.1. Контроль качества подготовки поверхностей кромок в стыках.

Должны отсутствовать дефекты поверхности стыков (сколы, раковины и т.п.)

 

 

 

 

2.2. Контроль качества нанесения грунта.

Слой грунта должен образовывать сплошную непрерывную пленку.

 

 

 

 

2.3. Контроль качества состояния поверхностей стыков (влажности, наличия инея и наледи).

На поверхности должны отсутствовать влага, грязь, снег и наледь.

 

 

 

 

2.4. Контроль качества нанесения клея

Слой клея должен образовывать сплошную непрерывную пленку на гранях панелей и воздухозащитной ленте.

 

 

 

3.

Контроль качества герметизации стыков ограждающих конструкций.

 

Выборочный, инструментальный, визуальный

 

 

 

3.1. Контроль качества приготовления герметика:

 

 

 

 

 

- контроль правильности и точности дозировки компонентов;

±5 г

 

Весы торговые тип ВНЦ ГОСТ 7327-85

 

 

- контроль тщательности перемешивания компонентов;

однородная по цвету масса без комков и посторонних включений.

 

 

 

 

- контроль температуры герметика.

±2 °С

Инструментальный (при температурах ниже +5°С - сплошной).

Термометр

 

 

3.2. Контроль качества уплотнения стыков пенополиэтиленовыми прокладками «Вилатерм».

Прокладки должны быть установлены с 25 - 50 % поперечным обжатием без разрывов на всю длину стыка; уплотнить стыки двумя скрученными вместе прокладками не допускается.

Визуальный, сплошной

 

 

 

3.3. Контроль качества приклеивания воздухозащитной ленты.

Приклеенная воздухозащитная лента должна представлять собой ровную поверхность, плотно прилегающую к поверхностям граней панелей без пузырей и отслоений по кромкам.

Визуальный, сплошной

 

 

 

 

Прочность склейки ленты с бетонными поверхностями должна быть больше прочности ленты (при пробном отрыве ленты от поверхности панели разрыв происходит по ленте).

Выборочный

 

 

 

3.4. Контроль качества герметизации стыков герметизирующими и утепляющими вкладышами и воздухозащитной лентой.

Геометрические размеры должны соответствовать требованиям технической документации; в местах стыкования герметизирующих, утепляющих вкладышей не должно быть зазоров.

Инструментальный, визуальный, выборочный.

Линейка металлическая ГОСТ 427-75

 

 

3.5. Контроль качества герметизационных работ:

 

Инструментальный, визуальный, выборочный.

Линейка металлическая ГОСТ 427-75.

 

 

- непрерывности герметизационного шва;

Непрерывный слой герметика толщиной не менее 3 мм должен без пустот и пузырей заполнять устье стыка.

Штангенциркуль 0¸500 мм по ГОСТ 166-89.

 

- соблюдения проектного профиля герметика в стыках;

Шпатель.

 

- толщины слоя герметика;

 

 

- величины адгезии.

При отслаивании вулканизованного герметика от бетонной поверхности с помощью шпателя происходит разрушение по герметику без отрыва его от кромок стыков

 

 

 

3.6. Контроль качества герметизационных и теплоизоляционных работ полиуретановыми пенами типа «Макрофлекс»:

Непрерывный слой монтажной пены должен без пустот заполнять устье стыка заподлицо с наружной поверхностью панели; толщина слоя не менее 10 мм.

Визуальный, сплошной.

 

 

 

- непрерывности герметизационного и теплоизоляционного швов;

 

 

 

 

- толщины слоя пены.

 

Инструментальный, выборочный

Линейка металлическая ГОСТ 427-75.

 

III. РЕГЛАМЕНТ ОПЕРАЦИОННОГО КОНТРОЛЯ КАЧЕСТВА ГЕРМЕТИЗАЦИИ СТЫКОВ ОГРАЖДАЮЩИХ КОНСТРУКЦИЙ

Вид контроля

Входной

Операционный

Приемочный

 

Контролируемые операции

Контроль качества вулканизующего герметика на соответствие ТУ

Контроль качества герметизирующих, утепляющих вкладышей на соответствие ГОСТ и проектно-технической документации

Контроль качества подготовительных операций:

Контроль качества герметизирующих работ:

Контроль качества герметизации:

 

- контроль непрерывности и толщины слоя герметика, соблюдения проектного профиля в стыках;

- контроль геометрических размеров стыков;

- контроль непрерывности и толщины слоя герметика, соблюдения проектного профиля герметика в стыках;

- контроль качества подготовки поверхностей кромок в стыках;

Контроль качества уплотняющих прокладок на соответствие ТУ

- величины адгезии герметика к фаскам панелей.

- контроль качества нанесения грунта;

- контроль величины адгезии герметика к фаскам панелей.

Контроль качества герметизации и теплоизоляции полиуретановыми пенами типа «Макрофлекс».

- контроль состояния поверхностей стыков (влажности, наличия инея, наледи).

Контроль качества герметизации и теплоизоляции швов примыкания монтажными пенами:

Контроль качества клея на соответствие ТУ

Контроль качества монтажной пены (типа «Макрофлекс») на соответствие технической документации.

Контроль качества приготовления герметика:

- контроль непрерывности;

Контроль качества воздухозащитной ленты на соответствие ТУ

- контроль правильности и точности дозировки компонентов;

- контроль толщины слоя пены.

 

 

 

- контроль тщательности перемешивания компонентов;

 

- контроль температуры герметика.

Контроль качества уплотнения стыка прокладками «Вилатерм».

 

 

 

Контроль качества приклеивания воздухозащитной ленты.

 

Контроль качества установки герметизирующих, утепляющих вкладышей.

 

Объем контроля

Все партии

Выборочный

Сплошной

Выборочный

Выборочный

 

Метод контроля

Инструментальный, визуальный

Инструментальный, визуальный

Инструментальный, визуальный

Инструментальный

 

Исполнители

Строительная лаборатория

Бригадир герметчиков

Строительная лаборатория

Строительная лаборатория

 

IV. ОБЯЗАТЕЛЬНЫЕ ОРГАНИЗАЦИОННО-ТЕХНОЛОГИЧЕСКИЕ ПРАВИЛА ПРОВЕДЕНИЯ РАБОТ

1. Работы по герметизации стыков ограждающих конструкций должны выполняться в соответствии с рабочими чертежами проекта, требованиями СНиП 3.01.01.85* «Организация строительного производства», СНиП 3.03.01-87 «Несущие и ограждающие конструкции», ВСН 19-95 «Инструкция по технологии заделки стыковых соединений панелей наружных стен жилых домов и зданий соцкультбыта», ВСН 54-96 «Инструкция по технологии герметизации стыков панелей, оконных и дверных блоков с применением «Макрофлекса» в жилых домах при ремонте»; ВСН 67-97 «Инструкция по применению герметизирующих самоклеящихся лент при монтаже и ремонте полносборных зданий».

Герметизацию стыков должны выполнять рабочие, прошедшие специальное обучение и получившие удостоверения на право производства герметизационных работ.

2. При герметизации стыков и грунтовке кромок панелей должны использоваться только материалы, предусмотренные проектом. Замена предусмотренных проектом герметизирующих и уплотняющих материалов допускаются лишь по согласованию с организацией-автором проекта.

3. Для герметизации стыков и грунтовки кромок панелей должны применяться только материалы, прошедшие контроль и удовлетворяющие требованиям действующей документации. Материалы, не прошедшие испытаний, а также не имеющие сопроводительной документации (тех. паспорта), не допускаются к использованию.

4. Хранение материалов должно осуществляться в сухих, хорошо вентилируемых закрытых помещениях с соблюдением требований ТУ на эти материалы и в соответствии с правилами пожарной безопасности. По истечении срока хранения необходимо провести контрольные испытания материала и на основе полученных результатов испытаний решить вопрос о возможности его дальнейшего использования. Каждая партия материала должна иметь паспорт завода-изготовителя, который сохраняется и впоследствии прикладывается к акту приемки работ.

5. Однокомпонентные герметизирующие мастики, уплотняющие прокладки «Вилатерм», утепляющие вкладыши, воздухозащитные ленты и монтажные пены поступают на строительную площадку готовыми к употреблению и могут использоваться сразу.

6. Двухкомпонентные вулканизующиеся герметики поставляются заводом-изготовителем комплектно в виде двух различных паст в раздельной упаковке. Соотношение основной и отверждающейся паст при смешивании указывается в паспорте, сопровождающем каждую партию мастики.

7. Приготовление герметика должно проводиться на месте работ (в будке герметчика) такими порциями, которые можно израсходовать полностью в течение половины рабочей смены (4-х часов). Смешивание компонентов герметика следует проводить с помощью электродрели, снабженной специальной насадкой в течение 8¸10 мин до получения однородной массы. При перемешивании герметика насадку следует перемешать от центра емкости к краям и обратно.

8. Запрещается:

- нарушать дозировку, приведенную в паспорте;

- перемешивать герметик вручную;

- разбавлять его растворителями.

9. Работы по герметизации стыков следует выполнять в последовательности, предусмотренной картами трудового процесса, соблюдая требования СНиП 3.03.01-87 «Несущие и ограждающие конструкции» и Инструкций ВСН 19-95, ВСН 54-96 и ВСН 67-97.

10. Поверхности панелей, образующие стыки, перед герметизацией должны быть загрунтованы. Грунтовка производится в заводских условиях на посту отделки перед выпуском панелей на склад готовой продукции. Слой грунтовки должен образовывать сплошную непрерывную пленку. Нарушенный грунтовочный слой должен быть восстановлен в построечных условиях.

11. Перед герметизацией необходимо очистить грани от пыли и грязи, а в зимнее время - от инея, снега и наледи. Очистку следует выполнять шпателями, волосяными щетками и чистыми обтирочными концами. При этом необходимо внимательно следить, чтобы слой грунтовки не получил механических повреждений. После дождя поверхности стыка следует вытереть сухими чистыми обтирочными концами и просушить путем продувки сжатым воздухом.

12. Поверхности кромок стыков в момент герметизации должны быть в чистом и сухом состоянии.

Запрещается:

- наносить герметизирующие мастики на грязные, влажные, заиндевевшие или обледеневшие поверхности стыков;

- вести герметизацию во время дождя и снегопада и при температуре наружного воздуха ниже -20°С.

13. Температура вулканизующихся герметиков при их переработке (нанесение в стык) независимо от температуры наружного воздуха должна быть +15¸25°С. Зимой подогрев мастик производится в будке герметчика.

14. Нанесенный слой герметика должен заполнить без пустот и пузырей все устье стыка до упругой прокладки и не иметь разрывов и наплывов. Его конфигурация и размеры должны соответствовать требованиям проекта.

Прочность при отрыве слоя гермегика от поверхности панели, а также его собственная прочность должны соответствовать требованиям ГОСТ и ТУ на используемые материалы.

15. Герметизация стыков ограждающих конструкций ведется по подслою уплотняющих прокладок «Вилатерм».

16. В «открытых» стыках прокладки «Вилатерм» устанавливаются на клее типа КН-2 (рис. 1). В «закрытых» стыках прокладки устанавливаются «насухо» или на тех же клеях, в зависимости от местоположения прокладки соответственно рабочим чертежам проекта (рис. 3, рис. 4):

- «насухо» - при установке прокладки в горизонтальные и вертикальные «закрытые» стыки со стороны фасада в качестве подосновы под вулканизующиеся герметики;

- на клее - при установке второй прокладки в вертикальный «закрытый» стык с его внутренней стороны и при наклеивании второй прокладки в горизонтальный «закрытый» стык на гребень панели нижележащего этажа.

17. На очищенные грани панелей непосредственно перед установкой пористой прокладки в местах ее приклейки наносится слой клея. В зазор вертикального стыка уплотняющая прокладка устанавливается с помощью деревянной конопатки и сверху также покрывается слоем клея. В горизонтальный стык уплотняющая прокладка наклеивается на гребень панели с перекрытия непосредственно перед установкой панелей монтируемого этажа и сверху покрывается слоем клея.

18. Уплотняющие прокладки следует устанавливать без разрывов на всю длину стыка. При необходимости возможно наращивать их по длине, для этого концы прокладок обрезают «на ус» и склеивают клеем таким образом, чтобы расстояние от мест пересечения горизонтальных и вертикальных стыков до места склеивания было не менее 0,5 м.

19. Не разрешается растягивать уплотняющие прокладки при их установке, а также уплотнять стыки двумя и более скрученными вместе прокладками.

20. Поперечное обжатие уплотняющих прокладок, установленных в стыке должно составлять 20 - 50 % диаметра.

21. Герметизацию колодцев вертикальных стыков наружных ограждающих конструкций производят воздухозащитными лентами типа Герлен-Д (самоклеящаяся с липким слоем) или типа Герволент (наклеивается с помощью клея типа КН-2) (рис. 2, рис. 4).

22. Воздухозащитные ленты наклеиваются на внутренние поверхности стыков, очищенные от загрязнений, а в зимнее время - от снега и инея.

Самоклеящуюся ленту типа Герлен-Д на защищаемый стык наклеивают, предварительно сняв подложку из силиконизированной бумаги, не вытягивая, а плотно прижимая и разглаживая от центра к краям в поперечном направлении.

Ленту Герволент и аналогичные ей наклеивают с помощью клея типа КН-2, для чего предварительно подготовленный клей наносят на бетонные поверхности стыков (2 слоя с промежутком 5¸10 мин) и поверхность ленты. После подсыхания клея до «отлипа» ленту плотно прижимают к бетонным поверхностям и тщательно разглаживают от центра к краям в поперечном направлении, чтобы исключить образование воздушных пузырей.

23. Работы по герметизации стыков (швов примыкания) монтажными пенами типа «Макрофлекс» следует выполнять в последовательности, предусмотренной картами трудового процесса.

24. Поверхности панелей, образующие швы примыкания, перед герметизацией должны быть загрунтованы в заводских условиях. В случаях отсутствия грунта разрешается проводить работы по незагрунтованным поверхностям.

25. Перед герметизацией поверхности, образующие швы примыканий, необходимо очистить от пыли и грязи. В момент нанесения монтажной пены поверхности должны быть чистыми и влажными (не менее 65%). Температура баллона должна быть не ниже 25°С.

26. Нанесенный слой монтажной пены должен без пустот заполнять все устье стыка до упругой прокладки. Его конфигурация и размеры должны соответствовать требованиям проекта (рис. 5).

27. Работы по герметизации стыков наружных ограждающих конструкций должны выполняться под контролем технического персонала строительно-монтажного управления (участка) и периодическим контролем строительной лаборатории.

28. Выполнение работ по герметизации стыков должно фиксироваться в журнале операционного контроля.

На весь комплекс герметизационных работ по их завершению должен составляться акт на скрытые работы в соответствии со СНиП 3.01.01-85 «Организация строительного производства».

29. При производстве работ по герметизации должны строго соблюдаться требования СНиП III-4-80* «Техника безопасности в строительстве» и «Правила пожарной безопасности при производстве строительно-монтажных работ», утвержденных ГУПО МВД СССР от 26.02.86г.

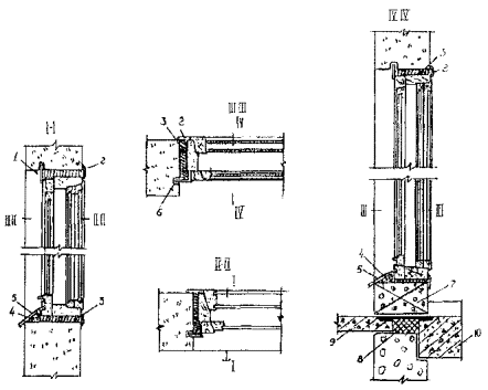
Рис. 1 Заделка горизонтального «открытого» стыка

1 - панели наружных стен;

2 - покрытие грунтовочным составом;

3 - герметизирующий и утепляющий вкладыш;

4 - утепляющий вкладыш.

Рис. 2 Заделка вертикального «открытого» стыка

1 - панель внутренней стены;

2 - цементный раствор;

3 - слив из алюминия в местах пересечения вертикальных и горизонтальных стыков;

4 - панели наружной стены;

5 - утепляющий вкладыш;

6 - воздухозащитная лента на клее;

7 - водоотбойная лента;

8 - покрытие грунтовочным составом.

Рис. 3 Заделка горизонтального закрытого стыка:

1 - поверхности панелей наружных стен, покрытые грунтовочным составом;

2 - уплотняющая прокладка «Вилатерм»;

3 - вулканизующийся герметик.

Рис. 4 Заделка вертикального закрытого стыка:

1 - вулканизующийся герметик;

2 - «Вилатсрм», установленный «насухо»;

3 - панели наружной стены;

4 - поверхности, покрытые грунтовочным составом;

5 - «Вилатерм», установленный на клее;

6 - воздухозащитная лента на клее;

7 - утепляющий вкладыш.

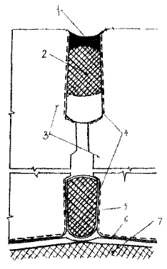
Рис. 5 Пример теплоизоляции оконных и балконных блоков с использованием пенополиуретановых пен:

1 - деревянный штапик; 2 - наличник; 3 - монтажная пена, 4 - деревянный клин; 5 - фартук из кровельного железа; 6 - профрезерованная щель; 7 - ячеистобетонные блоки мелкой резки; 8 - утеплитель; 9 - балконная плита; 10 - плита перекрытия.




Rambler's Top100 Яндекс цитирования
  Copyright © 2008-2026, www.docload.ru