Бесплатная библиотека стандартов и нормативов www.docload.ru

Все документы, размещенные на этом сайте, не являются их официальным изданием и предназначены исключительно для ознакомительных целей.
Электронные копии этих документов могут распространяться без всяких ограничений. Вы можете размещать информацию с этого сайта на любом другом сайте.
Это некоммерческий сайт и здесь не продаются документы. Вы можете скачать их абсолютно бесплатно!
Содержимое сайта не нарушает чьих-либо авторских прав! Человек имеет право на информацию!

 

КОМПЛЕКС АРХИТЕКТУРЫ, СТРОИТЕЛЬСТВА, РАЗВИТИЯ И РЕКОНСТРУКЦИИ ГОРОДА

ТЕХНИЧЕСКИЙ РЕГЛАМЕНТ

ОПЕРАЦИОННОГО КОНТРОЛЯ КАЧЕСТВА СТРОИТЕЛЬНО-МОНТАЖНЫХ И СПЕЦИАЛЬНЫХ РАБОТ ПРИ ВОЗВЕДЕНИИ ЗДАНИЙ И СООРУЖЕНИЙ

09. ТЕПЛОИЗОЛЯЦИЯ СТЫКОВЫХ СОЕДИНЕНИЙ ЭЛЕМЕНТОВ НАРУЖНЫХ СТЕНОВЫХ ПАНЕЛЕЙ

ТР 94.09-99

Москва-2000

Технический регламент операционного контроля качества разработан по 12 видам строительно-монтажных работ, каждый из которых издан отдельным томом:

1. Производство земляных работ (ТР 94.01-99)

2. Устройство оснований и возведение фундаментов (ТР 94.02-99)

3.1. Монтаж сборных бетонных и железобетонных конструкций при возведении подземной части зданий (ТР 94.03.1-99)

3.2. Монтаж сборных железобетонных конструкций при возведении надземной части зданий (ТР 94.03.2-99)

4. Строительство кирпичных зданий (ТР 94.04-99)

5. Монтаж санитарно-технических систем (ТР 94.05-99)

6. Производство отделочных работ (ТР 94.06-99)

7. Устройство кровель (ТР 94.07-99)

8. Устройство гидроизоляции подземной части зданий (ТР 94.08-99)

9. Теплоизоляция стыковых соединений элементов наружных стеновых панелей (ТР 94.09-99)

10. Герметизация стыков наружных ограждающих конструкций (ТР 94.10-99)

11. Производство малярных и обойных работ (ТР 94.11-99)

12. Благоустройство территорий у строящихся зданий (ТР 94.12-99)

Технический регламент разработан ГУП «НИИМосстрой» (тома ТР 94.02-99, ТР 94.05-99 ... ТР 94.12-99)

- Белоусов Е. Д., д.т.н., профессор, директор; тел. (095) 147-40-02

- Белавин Ф. С., к.т.н., зам. директора по научной работе; тел (095) 147-40-03

- совместно с ПКТИ Промстроя: (тома ТР 94.01-99), ТР 94.03.1-99, ТР 94.03.2-99 и ТР 94.04-99) Едличка С.Ю., к.т.н., генеральный директор; тел. (095) 214-33-28 Шахпаронов В.В., к.т.н., зам. Генерального директора по научной части; тел. (095) 214-48-00 Ярымов Ю.Л. гл. инженер проекта тел. (095) 214-36-49

- с участием ГУ «Мосстройлицензия» Емельянов Ю.П., руководитель ГУ.

Технический регламент согласован с АО ХК «Главмосстрой», ОАО «Мосинжстрой», ГУ «Мосстройлицензия», ГУП «Мосстройсертификация» и утвержден Управлением экономической, научно-технической и промышленной политики в строительной отрасли.

Том 09 «Теплоизоляция стыковых соединений элементов наружных стеновых панелей» (ТР 94.09-99) разработан лабораториями герметизации и теплозвукоизоляции ГУП «НИИМосстрой»;

- Файфман Е.Ф., зав. лабораторией; тел. (095) 147-44-84

- Румянцева И.А., к.т.н., зав. лабораторией; тел. (095) 147-43-09

- Коротаев А.Н., старший научный сотрудник

СОДЕРЖАНИЕ

 

Правительство Москвы

Комплекс архитектуры, строительства, развития и реконструкции города

Технический регламент операционного контроля качества строительно-монтажных и специальных работ при возведении зданий и сооружений

09. Теплоизоляция стыковых соединений элементов наружных стеновых панелей

ТР 94.09-99

1. Общая часть

1. Настоящий регламент распространяется на работы по теплоизоляции стыков наружных стеновых панелей жилых и общественных зданий вкладышами, а также оконных и дверных блоков методом напыления однокомпонентными пенополиуретановыми композициями Вилан-405 (ТУ 2254-204-21081385-96), Полимерфлекс (ТУ 5768-001-13148788-97), Макрофоам (ТУ 2384-001-40135336-98) и монтажными пенами типа «Макрофлекс».

2. Работы по заделке стыков выполняются с целью сохранения тепла через наружные стыки, оконные и дверные блоки и поддержания в помещениях нормируемого тепло-влажностного режима.

3. Регламент содержит контролируемые параметры, объем контроля, методы и средства контроля, состав и содержание производственного контроля, а также обязательные организационно-технологические правила, соблюдение которых при производстве работ обеспечивает требуемое их качество.

4. Регламент составлен на основании требований СНиП 3.03.01-87 «Несущие и ограждающие конструкции», СНиП II-3-79* «Строительная теплотехника», МГСН 2.01-99 «Энергосбережение зданий», ВСН 68-97 «Инструкция по теплоизоляции стыков по контуру оконных и дверных блоков наружных стеновых панелей и общественных зданий методом напыления однокомпонентной пенополиуретановой системы «Вилан-405», ВСН 19-95 «Инструкция по технологии заделки стыковых соединений панелей наружных стен жилых домов и зданий соцкультбыта», ВСН 54-96 «Инструкция по технологии герметизации и теплоизоляции стыков панелей, оконных и дверных блоков с применением «Макрофлекса» в жилых домах при ремонте».

Разработан:

ГУП «НИИМосстрой» и ПКТИ «Промстрой»

Утвержден:

Начальник Управления экономической, научно-технической и промышленной политики в строительной отрасли

А. И. Воронин

Дата введения в действие:

«30» июня 2000 г.

2. Контролируемые параметры и средства контроля

№№ п.п.

Параметры

Величина предельных отклонений

Метод и объем контроля

Средства измерения

1.

Входной контроль качества используемых материалов на соответствие ТУ.

 

 

 

 

1.1. Входной контроль качества напыляемых пенополиуретановых систем:

 

Визуальный, инструментальный, сплошной

 

 

- технологические параметры;

 

 

Секундомер, щуп.

 

- время образования технологической корочки, мин;

Не более 20

Секундомер, щуп.

 

- время полного отверждения, час;

Не более 3

 

Линейка металлическая ГОСТ 4278-75.

 

- внешний вид;

полужесткий ячеистый пенопласт от белого до светло-коричневого цвета с незначительным количеством раковин не более 5 мм

 

 

 

- кажущаяся плотность, кг/м3

15 - 40

 

Весы лабораторные ВЛТК-5.

Линейка металлическая ГОСТ 427-75.

 

- разрушающее напряжение при сжатии, МПа (кгс/см2);

Соответственно требованиям ТУ

 

Разрывная машина.

 

- разрушающее напряжение при растяжении, МПа (кгс/см2)

Соответственно требованиям ТУ

 

Разрывная машина.

 

- адгезионная прочность к бетону, МПа (кгс/см2)

Соответственно требованиям ТУ

 

Разрывная машина.

 

- теплопроводность, Вт/м°К,

Не более 0,035

 

Прибор для определения коэффициента теплопроводности.

 

1.2. Входной контроль качества вкладышей:

 

 

 

 

- из минваты на соответствие ГОСТ 9573-96 и проектно-технической документации:

±10 мм (по длине)

Инструментальный, выборочный

Рулетка металлическая РК-50 ГОСТ 7502-69.

+10; -5 мм (по ширине)

 

- из пенополистирола на соответствие ГОСТ 15588-86 и технической документации.

±5 мм (по длине)

 

Линейка металлическая ГОСТ 427-75.

±5 мм (по ширине)

±2 мм (по толщине)

2.

Контроль качества подготовительных операций

 

 

 

 

2.1. Контроль качества подготовки кромок в стыках:

 

Визуальный, сплошной.

 

 

- качество подготовки поверхностей кромок в стыках;

Отсутствие дефектов поверхностей стыков, сколов и т.п.

 

 

 

состояние поверхности стыков (влажность, наличие инея и наледи).

Отсутствие влаги, грязи, снега и наледи

 

 

 

2.2. Контроль внешнего вида вкладыша из минваты, оклеенного бутеролом, полиэтиленовой пленкой или стеклотканью с применением клея типа КН-2.

Вкладыши должны быть правильной геометрической формы. Минвата должна быть с четырех сторон плотно обернута бутеролом, полиэтиленовой пленкой или стеклотканью. Вкладыши должны иметь правильную геометрическую форму.

Визуальный, сплошной, инструментальный.

Рулетка металлическая РК-50 ГОСТ 7502-69.

 

Отклонение от плоскости грани вкладыша не должно быть более 3 мм на 500 мм длины грани.

 

Линейка металлическая ГОСТ 427-75.

 

2.3. Контроль внешнего вида вкладыша из пенополистирола.

На поверхности пенополистирола не допускаются выпуклости или впадины длиной более 50 мм, шириной более 3 мм и высотой (глубиной) более 5 мм. Во вкладышах из пенополистирола допускаются притупленность ребер и углов глубиной не более 10 мм от вершины прямого угла по сторонам притупленных углов длиной не более 80 мм.

Визуальный, инструментальный, сплошной

Рулетка металлическая РК-50 ГОСТ 7502-69

3.

Контроль качества заделки стыков.

 

Визуальный, сплошной

 

 

3.1. Контроль качества установки утепляющих вкладышей.

Установленный вкладыш должен плотно, без зазоров прилегать к поверхностям граней смонтированных панелей.

 

 

 

3.2. Контроль качества утепления стыков полиуретановыми пенами.

Слой нанесенного пенополиуретана должен быть непрерывным, равномерной толщины. Срезать наружный поверхностный слой ППУ не рекомендуется. Наличие мягкого и хрупкого пенопласта, открытой пористости, открытой поверхности и трещин не допускаются.

Визуальный, сплошной.

Толщиномер.

4.

Контроль качества утепления стыков.

Конструкция стыков ограждений по температурному режиму должна удовлетворять требованиям теплотехнических норм. Минимальная температура на внутренней поверхности наружных стеновых панелей в зоне стыков должна быть выше температуры точки росы внутреннего воздуха на 2 - 5°С.

Визуальный, выборочный.

Термощуп.

3. РЕГЛАМЕНТ ОПЕРАЦИОННОГО КОНТРОЛЯ КАЧЕСТВА УТЕПЛЕНИЯ ЭЛЕМЕНТОВ НАРУЖНЫХ СТЕНОВЫХ ПАНЕЛЕЙ

Вид контроля

Входной

Операционный

Приемочный

 

Контролируемые операции

Входной контроль качества наносимой композиции на соответствие ТУ.

Контроль качества подготовительных операций:

Контроль качества заделки стыков.

 

- качество подготовки состояния кромок в стыках;

 

- состояние поверхности стыков (влажность, наличие снега, инея, наледи);

Контроль качества утепляющих вкладышей из минваты на соответствие ГОСТ 9573-82 и проектно-технической документации.

- контроль внешнего вида вкладышей из минваты, оклеенных бутеролом, полиэтиленовой пленкой или стекло-тканью с применением клея типа КН-2;

 

- контроль внешнего вида вкладышей из пенополистирола.

 

Контроль качества утепляющих вкладышей из пенополистирола на соответствие ГОСТ 15588-86

Контроль качества заделки стыков полиуретановыми пенами.

 

Контроль качества установки утепляющих вкладышей.

 

Объем контроля

Все партии

Сплошной

Выборочный

 

Метод контроля

Инструментальный, визуальный

Инструментальный, визуальный

Инструментальный, визуальный

 

Исполнители

Заводская лаборатория, лаборатория СУ

Оператор по нанесению ППУ, заводская лаборатория ОТК, строительная лаборатория

Строительная лаборатория

 

4. ОБЯЗАТЕЛЬНЫЕ ОРГАНИЗАЦИОННО-ТЕХНОЛОГИЧЕСКИЕ ПРАВИЛА ПРОВЕДЕНИЯ РАБОТ.

1. Работы по теплоизоляции стыковых соединений должны выполняться в соответствии с рабочими чертежами проекта, требованиями СИиП 3.0.1.01-85* «Организация строительного производства», СНиП 3.03.01-87 «Несущие и ограждающие конструкции», ВСН 68-97 «Инструкция по теплоизоляции стыков по контуру оконных и дверных блоков наружных стеновых панелей жилых и общественных зданий методом напыления однокомпонентной пенополиуретановой системы Вилан-405», ВСН 19-95 «Инструкция по технологии заделки стыковых соединений панелей наружных стен жилых домов и зданий соцкультбыта», ВСН 54-96 «Инструкция по технологии герметизации стыков панелей, оконных и дверных блоков с применением «Макрофлекса» в жилых домах при ремонте».

2. Теплоизоляцию стыковых соединений должны выполнять рабочие, прошедшие специальное обучение и получившие удостоверения на право производства теплоизоляционных работ.

3. При теплоизоляции стыков и грунтовке кромок панелей должны использоваться только материалы, предусмотренные проектом. Замена предусмотренных проектом теплоизолирующих материалов допускается лишь по согласованию с организацией-автором проекта.

4. Для теплоизоляции стыковых соединений должны применяться только материалы, прошедшие контроль и удовлетворяющие требованиям действующей документации. Материалы, не прошедшие испытаний, а также не имеющие сопроводительной документации (тех. паспорта), не допускаются к использованию.

5. Хранение материалов должно осуществляться в сухих, хорошо вентилируемых закрытых помещениях с соблюдением требований ТУ на эти материалы и в соответствии с правилами пожарной безопасности. По истечении срока хранения необходимо провести контрольные испытания материала и на основе полученных результатов испытаний решить вопрос о возможности его дальнейшего использования. Каждая партия материала должна иметь паспорт завода-изготовителя, который сохраняется и впоследствии прикладывается к акту приемки работ.

6. Для теплоизоляции стыковых соединений между панелями наружных ограждающих конструкций используются утепляющие вкладыши из минваты, оклеенные с четырех сторон бутеролом, полиэтиленовой пленкой или стеклотканью с применением клея типа КН-2, и из пенополистирола.

7. В горизонтальный стык теплоизоляционный вкладыш устанавливается между торцами панелей перекрытия и наружными стенами (см. рис. 1, 3).

8. В вертикальный стык (рис. 2, 4) утепляющий вкладыш помещают в колодец и плотно прижимают к воздухозащитной ленте и бетонным поверхностям на клее, который наносится на воздухозащитную ленту и боковые стенки колодца.

9. Установленные вкладыши в горизонтальном стыке должны плотно прилегать к торцевым поверхностям панелей перекрытия и наружных стен. В местах соединения теплоизоляционных пакетов не должно быть зазоров.

10. Заделка стыков панелей, а также оконных и дверных блоков методом напыления (рис. 5) должна включать следующие операции:

- взбалтывание пенополиуретановой композиции в баллоне;

- установка шланга;

- проверка первых порций напыляемой композиции;

- заполнение стыков методом напыления.

11. Перед заделкой стыков необходимо очистить кромки панелей, а также оконных и дверных блоков, формирующие стык, от пыли и грязи, а в зимнее время - от инея и наледи. Очистку следует выполнять шпателями, волосяными щетками и чистыми обтирочными концами. После дождя поверхности стыка следует вытереть сухими чистыми обтирочными концами и просушить путем продувки сжатым воздухом.

12. Поверхность кромок стыков в момент их заделки должна быть в чистом и сухом состоянии.

13. При заделке стыков оконных и дверных блоков непосредственно после напыления пенополиуретана предусматривается установка деревянного, либо пластмассового наличника с внутренней стороны стыка.

14. С наружной стороны требуется обязательная защита стыков от атмосферных воздействий (дождя, ультрафиолета). По завершению работ по напылению стыки с наружной стороны заделываются нетвердеющими мастиками и зачеканиваются полимерцементным раствором.

15. Образующаяся при нанесении пенополиуретана на его поверхности технологическая корка значительно улучшает эксплуатационные качества пенопласта, особенно его гидроизоляционные свойства, и препятствует проникновению влаги в утеплитель. В связи с этим требуется обеспечить сохранность поверхностных защитных слоев пенопласта.

16. Заделка стыков производится при положительных температурах не ниже +5°С. При температуре воздуха 18 - 25°С заполнение стыка производится не менее, чем на 1/3 его объема. С понижением температуры объем заполнения стыка увеличивается до 1/2 и выше. Объем заполнения стыка в значительной степени зависит от качества исходной композиционной системы. При длительном хранении баллонов и снижении кратности вспенивания композиции возможно заполнение стыка на 2/3 его объема.

17. Для качественной заделки стыков необходимо обеспечить равномерное заполнение стыка пенополиуретановой композицией на всю глубину. Для оконных и дверных блоков допускается оставлять изнутри незаполненный зазор в стыке, если его глубина со стороны наличника не превышает 10 мм.

18. При напылении должны быть предусмотрены меры, обеспечивающие безопасные условия труда, т.к. эти процессы могут сопровождаться загрязнением воздуха за счет испарения токсичных веществ.

19. При работах в заводских условиях заделку стыков оконных и дверных блоков пенополиуретаном производят на отделочных конвейерах, снабженных местной вытяжной вентиляцией с кратностью воздухообмена не менее 5.

20. Производственные помещения должны быть обеспечены противопожарным оборудованием и средствами пожаротушения. При горении системы выделяются токсичные вещества, поэтому при возникновении пожара пламя необходимо тушить водой, обязательно применяя при этом противогазы фильтрующие марки БКФ или изолирующие, т.к. при горении и разложении пенополиуретана выделяются хлор- и фосфоросодержащие соединения, окись углерода, пары изоцианитов, цианистый водород и другие токсичные пары и газы.

21. Отходы пенополиуретана категорически запрещается сжигать, их отправляют на повторное использование в строительстве.

22. Запрещается вскрывать баллоны.

23. К работам по напылению допускают лиц, достигших 18-летнего возраста, прошедших инструктаж по технике безопасности и ознакомленных с санитарными требованиями и с основными свойствами пенопласта, а также мерами пожарной безопасности.

24. Все работающие должны быть обеспечены хлопчатобумажной спецодеждой, защитными очками и резиновыми перчатками (тип 1 по ГОСТ 20010-74).

25. Работы по теплоизоляции стыковых соединений должны выполняться под контролем технического персонала строительно-монтажного управления (участка) и периодическим контролем лаборатории. Непрерывный контроль качества утепления горизонтальных стыков должен осуществлять производитель работ (прораб), систематически проверять качество установки утеплителя. Выполнение работ по теплоизоляции стыков должно фиксироваться в журнале операционного контроля.

26. Качество утепляющих вкладышей и пенополиуретаиовой композиции должно контролироваться строительной лабораторией согласно ТУ и др. технической документации.

27. При производстве работ по утеплению горизонтальных стыков вкладышами и пенополиуретановыми композициями должны строго соблюдаться требования СНиП III-4-80 «Техника безопасности в строительстве» и «Правил пожарной безопасности при производстве строительно-монтажных работ», утвержденных ГУПО МВД СССР от 26.02.86г.

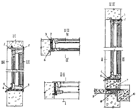
Рис. 1 Заделка горизонтального «открытого» стыка

1 - панели наружных стен;

2 - покрытие грунтовочным составом;

3 - герметизирующий и утепляющий вкладыш;

4 - утепляющий вкладыш.

Рис. 2 Заделка вертикального «открытого» стыка

1 - панель внутренней стены;

2 - цементный раствор;

3 - слив из алюминия в местах пересечения вертикальных и горизонтальных стыков;

4 - панели наружной стены;

5 - утепляющий вкладыш;

6 - воздухозащитная лента на клее;

7 - водоотбойная лента;

8 - покрытие грунтовочным составом.

Рис. 3 Заделка горизонтального закрытого стыка:

1 - поверхности панелей наружных стен, покрытые грунтовочным составом;

2 - уплотняющая прокладка «Вилатерм»;

3 - вулканизующийся герметик.

Рис. 4 Заделка вертикального закрытого стыка:

1 - вулканизующийся герметик;

2 - «Вилатсрм», установленный «насухо»;

3 - панели наружной стены;

4 - поверхности, покрытые грунтовочным составом;

5 - «Вилатерм», установленный на клее;

6 - воздухозащитная лента на клее;

7 - утепляющий вкладыш.

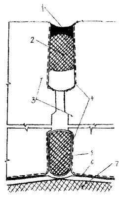
Рис. 5 Пример теплоизоляции оконных и балконных блоков с использованием пенополиуретановых пен:

1 - деревянный штапик; 2 - наличник; 3 - монтажная пена, 4 - деревянный клин; 5 - фартук из кровельного железа; 6 - профрезерованная щель; 7 - ячеистобетонные блоки мелкой резки; 8 - утеплитель; 9 - балконная плита; 10 - плита перекрытия.




Rambler's Top100 Яндекс цитирования
  Copyright © 2008-2026, www.docload.ru