Бесплатная библиотека стандартов и нормативов www.docload.ru

Все документы, размещенные на этом сайте, не являются их официальным изданием и предназначены исключительно для ознакомительных целей.
Электронные копии этих документов могут распространяться без всяких ограничений. Вы можете размещать информацию с этого сайта на любом другом сайте.
Это некоммерческий сайт и здесь не продаются документы. Вы можете скачать их абсолютно бесплатно!
Содержимое сайта не нарушает чьих-либо авторских прав! Человек имеет право на информацию!

 

СССР

АЛЬБОМ ТИПОВЫХ ИНСТРУКЦИЙ

ОПОРЫ - СТОЙКИ ВЕРТИКАЛЬНЫХ АППАРАТОВ

Типы, конструкция и размеры

АТК 24.200.03-90

АЛЬБОМ ТИПОВЫХ КОНСТРУКЦИЙ

ОПОРЫ-СТОЙКИ ВЕРТИКАЛЬНЫХ АППАРАТОВ

Типы, конструкция и размеры

АТК 24.200.03-90

Дата введения 01.01.91

1. Настоящий альбом типовых конструкций (АТК) распространяется на опоры-стойки (далее опоры) для стационарных вертикальных стальных сосудов и аппаратов (далее аппаратов) при допускаемых нагрузках на одну опору 4, 10, 25, 40, 63, 100, 160, 250 кН.

АТК не распространяется на опоры для эмалированных аппаратов в случае непосредственной установки на днищах или обечайках, имеющих покрытия.

2. АТК устанавливает четыре типа опор:

1 - опоры из листового проката для аппаратов с эллипсоидными и коническими днищами с нагрузкой на опору от 4 до 250 кН;

2 - опоры из труб для аппаратов с эллипсоидными днищами с нагрузкой на опору от 10 до 160 кН;

3 - опоры из уголков для аппаратов с эллипсоидными и коническими днищами с нагрузкой на опору от 25 до 100 кН;

4 - опоры облегченные для аппаратов с эллипсоидными и коническими (с углом при вершине 90°) днищами с нагрузкой на опору от 4 до 100 кН.

3. Опоры типа 1 имеют два исполнения:

1 - сварные;

2 - штампованные.

4. Конструкция и размеры опор должны соответствовать:

для опор типа 1 исполнения 1 - черт. 1 и табл. 1;

то же               1 исполнения 2 - черт. 2 и табл. 2;

  "                    2                         - черт. 3 и табл. 3;

  "                    3                         - черт. 4 и табл. 4;

  "                    4                         - черт. 5 и табл. 5.

Масса опор указана в табл. 6.

5. Число опор определяется расчетом по ГОСТ 26202 и конструктивными соображениями.

6. Резьбовое отверстие d1 принято для регулировочных винтов по ATK 24.200.01.

Примечание: При выборе опоры нагрузка на одну опору от массы аппарата в монтажном состоянии не должна превышать допускаемой нагрузки на регулировочный винт.

7. Опоры должны изготовляться в соответствии с требованиями настоящего стандарта, техническими требованиями ОСТ 26-291, по чертежам, утвержденным в установленном порядке.

8. Материал деталей опор: листовой и угловой прокат - Ст3сп, трубы - сталь 10. Допускается применение других марок сталей с механическими характеристиками не ниже указанных марок. Материал опор должен соответствовать условиям эксплуатации аппарата в соответствии с требованием ОСТ 26-291.

9. Опоры привариваются непосредственно к днищу аппарата или через подкладные листы. Необходимость установки подкладных листов определяется расчетом по ГОСТ 26202.

Опора типа 1 исполнения 1

Черт. 1

Таблица 1

Размеры в мм

Нагрузка на опору, кН, не более

a

a1

b

b1max

С

С1

hmax

h1

S

d

d1

4

75

100

85

120

22

50

220

10

6

19

М12

10

100

130

110

160

60

295

14

8

М16

25

125

160

130

200

80

365

16

24

М20

40

150

200

160

240

40

100

440

20

10

35

М24

63

175

230

200

280

120

515

25

12

М30

100

225

290

250

350

160

660

30

16

42

М36

160

300

390

340

480

60

-

875

20

-

250

400

500

450

680

-

1240

25

-

Опора типа 1 исполнения 2

1. Опора 2. Лист опорный

Черт. 2

Таблица 2

Размеры в мм

Нагрузка на опору, кН, не более

a

a1

b

b1max

b2

b3

C

C1

hmax

h1

R

S

d

d1

4

100

60

85

120

65

5

22

50

220

10

10

6

19

M1

10

110

80

110

160

80

60

295

14

12

8

M1

25

130

100

130

200

115

80

365

16

15

10

24

M2

40

160

120

160

240

140

10

40

100

440

20

18

12

35

М2

63

200

150

200

280

160

120

515

25

20

14

М3

Опора типа 2

Черт. 3

Таблица 3

Размеры в мм

Нагрузка на опору, кН, не более

D´S

a

b

b1

b2

С

hmax

h1

d

d1

10

57´3,5

110

170

70

50

25

1200

14

19

М16

25

76´3,5

130

200

90

60

1300

16

24

М20

40

89´4,0

150

250

100

70

40

1400

20

35

М24

63

108´4,5

170

280

110

90

1600

25

М30

100

133´5,0

200

340

130

110

50

30

42

М36

160

159´6,0

230

310

140

-

-

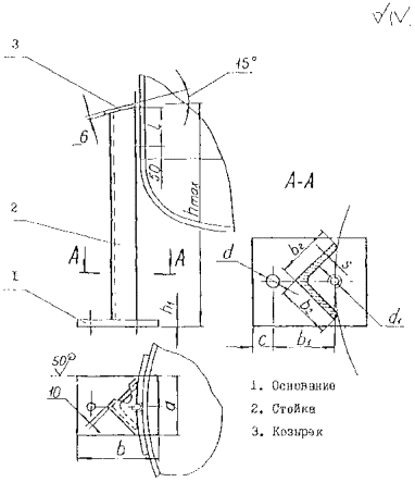
Опора типа 3

Черт. 4

Таблица 4

Размеры в мм

Нагрузка на опору, кН, не более

b2´b2´S

a

b

b1

С

hmax

h1

l

d

d1

25

63´63´6

130

150

90

25

900

16

200

24

M20

40

80´80´8

150

210

120

40

1100

20

35

M24

63

100´100´10

170

230

140

1500

25

250

M30

100

125´125´12

200

230

170

50

1500

42

M36

Опора типа 4

Черт. 5

Таблица 5

Размеры в мм

Нагрузка на опору, кН, не более

a

b

b1max

hmax

h1

S

С

C1

d

d1

K

4

110

100

140

130

10

4

30

12

19

М12

30

10

125

110

160

145

14

6

16

М16

40

25

155

140

200

165

16

8

50

20

24

M20

45

40

190

170

245

190

20

10

70

24

35

М24

60

63

230

210

300

235

25

12

30

M30

70

100

310

280

385

310

30

16

80

36

43

M36

80

Таблица 6

Масса опор

Масса, кг, не более

Нагрузка на опору, кН, не более

Тип опор

1

2

3

4

исполнение

1

2

4

2,5

2,5

-

-

1,6

10

5,8

5,8

7,6

-

2,9

25

9,2

11,0

11,5

8,0

5,2

40

17,0

19,2

17,5

16,0

9,3

63

29,0

32,0

27,5

31,0

17,5

100

62,0

-

41,0

48,0

37,5

160

130,0

-

52,0

-

-

250

300,0

-

-

-

-

Примечание: Масса указана при высоте опор hmax и плотности стали 7,85 г/см3.

10. Для приварки опор к аппарату из коррозионно-стойкой стали с целью исключения контактной коррозии необходимо применять подкладные листы из коррозионно-стойкой стали толщиной равной или более толщины днища или обечайки аппарата.

11. Сварку опор типа 1 исполнения 1, типа 3 и 4 производить сплошным двухсторонним швом. Сварку опор типа 2 производить сплошным односторонним швом. Сварку опор типа 1 исполнения 2 производить прерывистым швом.

Приварку опор типа 1 к днищу или подкладному листу производить сплошным двухсторонним швом. Приварку опор типа 2 и 4 к днищу или подкладному листу, а также опор типа 3 к обечайке или подкладному листу производить сплошным односторонним швом.

12. Предельные отклонения отверстия Н 14, остальных . Поле допуска резьбы 6Н по ГОСТ 16093.

13. Шероховатость поверхности отверстия d должна соответствовать 25, резьбы d1 - 63.

14. Опоры, поставляемые по кооперации, маркировать. В маркировке указывать условное обозначение опоры (без слова "опора-сточка"), марку материала и товарный знак завода-изготовителя. Способ и место маркировки указывается в технической документации.

15. Опоры должны быть окрашены.

16. Привязка опор типа 1 к аппарату приведена в обязательном приложении.

Пример условного обозначения опоры типа I, исполнения 1 с нагрузкой на опору 160 кН:

Опора-стойка 1-160-1 АТК 24.200.03-90

То-же опоры типа 2 с нагрузкой на опору 10 кН:

Опора-стойка 2-10 АТК 24.200.03-90

Черт. 6

Размеры в мм

Dн

D

D1

d

D

D1

d

219

-

160

По табл. 1 и 2

1500

1360

По табл. 1 и 2

273

-

215

1600

1410

325

-

265

1700

1510

377

-

320

1800

1610

-

400

340

1900

1710

-

450

390

2000

1810

-

500

430

2200

2010

-

550

480

2400

2210

-

600

520

2600

2410

-

650

570

2800

2610

-

700

620

3000

2810

-

800

720

3200

2960

-

900

820

3400

3160

-

1000

920

3600

3360

-

1100

1000

3800

3560

-

1200

1100

4000

3760

-

1300

1200

4500

4260

-

1400

1260

5000

4760

Примечание: Черт. 6 не регламентирует число опор

ИНФОРМАЦИОННЫЕ ДАННЫЕ

1. РАЗРАБОТАН И ВНЕСЕН УкрНИИхиммаш

РАЗРАБОТЧИКИ Г.В. Почтарев, Л.В. Чащина. В.В. Проголаев, С.А. Белов

2.  УТВЕРЖДЕН И ВВЕДЕН В ДЕЙСТВИЕ УКАЗАНИЕМ Министерства тяжелого машиностроения СССР от 19.06.90 № ВА-002-1-6288

3. ЗАРЕГИСТРИРОВАН НИИхиммашем за №24.200.03-90 от 13.06.90

4. СВЕДЕНИЯ О СРОКАХ И ПЕРИОДИЧНОСТИ ПРОВЕРКИ ДОКУМЕНТА

Срок первой проверки 1996 г.

Периодичность проверки 5 лет.

5. ВЗАМЕН ОСТ 26-665-7

ССЫЛОЧНЫЕ НОРМАТИВНО-ТЕХНИЧЕСКИЕ ДОКУМЕНТЫ

Обозначение НТД, на которые дана ссылка

Номер пункта, подпункта, перечисления приложения

ГОСТ 16093-81

п. 12

ГОСТ 26202-84

пп. 5, 9

ОСТ 26-291-87

пп. 7, 8

АТК 24.200.01-90

п. 6

 




Rambler's Top100 Яндекс цитирования
  Copyright © 2008-2026, www.docload.ru