Бесплатная библиотека стандартов и нормативов www.docload.ru

Все документы, размещенные на этом сайте, не являются их официальным изданием и предназначены исключительно для ознакомительных целей.
Электронные копии этих документов могут распространяться без всяких ограничений. Вы можете размещать информацию с этого сайта на любом другом сайте.
Это некоммерческий сайт и здесь не продаются документы. Вы можете скачать их абсолютно бесплатно!
Содержимое сайта не нарушает чьих-либо авторских прав! Человек имеет право на информацию!

 

Министерство внутренних дел Российской Федерации
Государственная противопожарная служба

 

Нормы пожарной безопасности

 

Извещатели пожарные тепловые. Технические требования
пожарной безопасности. Методы
испытаний

HEAT DETECTORS
SPECIFICATIONS OF FIRE SAFETY.
TEST METHODS

НПБ 85-2000

 

Москва 2001

 

Разработаны Федеральным государственным учреждением «Всероссийский ордена «Знак Почета» научно-исследовательский институт противопожарной обороны Министерства внутренних дел Российской Федерации» (ФГУ ВНИИПО МВД России) (В.А. Александров, М.Б. Филаретов, Ю.Н. Аленичев, В.Л. Здор).

 

Внесены и подготовлены к утверждению нормативно-техническим отделом Главного управления Государственной противопожарной службы Министерства внутренних дел Российской Федерации (ГУГПС МВД России) (В.А. Дубинин).

 

Утверждены приказом ГУГПС МВД России от 5 апреля 2001 г. № 22.

 

Дата введения в действие 1 июня 2001 г.

 

Вводятся впервые.

 

СОДЕРЖАНИЕ

1. Область применения

2. Термины и определения

3. Классификация и условное обозначение

4. Технические требования пожарной безопасности

4.1. Требования назначения

4.3. Требования электромагнитной совместимости

4.4. Требования стойкости к внешним воздействиям

4.5. Требования к конструкции

4.6. Требования к маркировке

5. Методы испытаний

5.1. Общие положения

5.2. Порядок проведения испытаний

6. Нормативные ссылки

Приложение. Тепловая камера для измерения времени и температуры срабатывания извещателей.

 

1. ОБЛАСТЬ ПРИМЕНЕНИЯ

1.1. Настоящие нормы пожарной безопасности (далее - нормы) распространяются на пожарные тепловые извещатели, в том числе автономные (далее - извещатели), предназначенные для работы в составе систем автоматических установок пожаротушения и пожарной сигнализации, и устанавливают технические требования пожарной безопасности к извещателям и методы их испытаний.

1.2. Настоящие нормы используются на стадиях разработки, изготовления и испытания извещателей в целях подтверждения соответствия установленным требованиям при сертификации в Системе сертификации продукции и услуг в области пожарной безопасности.

1.3. Требования настоящих норм не распространяются на извещатели, предназначенные для объектов специального назначения.

2. ТЕРМИНЫ И ОПРЕДЕЛЕНИЯ

В настоящих нормах применяются следующие термины с соответствующими определениями:

минимальная температура срабатывания - нижнее значение температуры срабатывания извещателя конкретного класса;

максимальная температура срабатывания - верхнее значение температуры срабатывания извещателя конкретного класса;

условно нормальная температура - температура на 29 °С ниже минимальной температуры срабатывания извещателя конкретного класса;

максимальная нормальная температура - температура на 4 °С ниже минимальной температуры срабатывания извещателя конкретного класса.

Остальные термины и определения - по ГОСТ 12.2.047.

3. КЛАССИФИКАЦИЯ И УСЛОВНОЕ ОБОЗНАЧЕНИЕ

3.1. По характеру реакции на повышение температуры извещатели подразделяют на:

максимальные тепловые пожарные извещатели - извещатели, формирующие извещение о пожаре при превышении температурой окружающей среды установленного порогового значения, т. е. при достижении температуры срабатывания извещателя;

дифференциальные тепловые пожарные извещатели - извещатели, формирующие извещение о пожаре при превышении скоростью нарастания температуры окружающей среды установленного порогового значения;

максимально-дифференциальные тепловые пожарные извещатели - извещатели, совмещающие функции максимального и дифференциального теплового пожарного извещателя;

тепловые пожарные извещатели с дифференциальной характеристикой - извещатели, температура срабатывания которых зависит от скорости повышения температуры окружающей среды.

3.2. Максимальные, максимально-дифференциальные извещатели и извещатели с дифференциальной характеристикой в зависимости от температуры и времени срабатывания подразделяют на десять классов: A1, A2, А3, B, C, D, E, F, G, Н.

3.3. Дифференциальным извещателям присваивают класс R1.

3.4. Извещателям с дифференциальной характеристикой, удовлетворяющим требованиям п. 4.1.6 настоящих норм, дополнительно присваивают индекс R.

3.5. Другие виды классификации - по НПБ 76-98.

3.6. Условное обозначение извещателей - в соответствии с НПБ 76-98.

4. ТЕХНИЧЕСКИЕ ТРЕБОВАНИЯ ПОЖАРНОЙ БЕЗОПАСНОСТИ

4.1. ТРЕБОВАНИЯ НАЗНАЧЕНИЯ

4.1.1. Извещатели должны соответствовать требованиям настоящих норм и технической документации (ТД) на извещатели конкретного типа, утверждённой в установленном порядке.

4.1.2. Температура срабатывания максимальных, максимально-дифференциальных извещателей и извещателей с дифференциальной характеристикой должна быть указана в ТД на извещатели конкретного типа и находиться в пределах, определяемых их классом, в соответствии с таблицей 1.

Примечание. Извещатели с температурой срабатывания выше 160 °С относят к классу Н. Допуск на температуру срабатывания не должен превышать 10 %.

Таблица 1

Класс извещателя

Температура среды, °С

Температура срабатывания, °С

условно нормальная

максимальная нормальная

минимальная

максимальная

A1

25

50

54

65

А2

25

50

54

70

A3

35

60

64

76

B

40

65

69

85

C

55

80

84

100

D

70

95

99

115

E

85

110

114

130

F

100

125

129

145

G

115

140

144

160

Н

Указывается в ТД на извещатели конкретных типов

 

4.1.3. Время срабатывания максимальных извещателей при повышении температуры от условно нормальной должно находиться в пределах, определяемых классом извещателей, в соответствии с таблицей 2.

Таблица 2

Скорость повышения температуры, °С /мин

Время срабатывания, с

минимальное

максимальное

Максимальные извещатели класса А1

1

1740

2420

3

580

820

5

348

500

10

174

260

20

87

140

30

58

100

Максимальные извещатели классов А2, А3, В, С, D, Е, F, G, Н

1

1740

2760

3

580

960

5

348

600

10

174

329

20

87

192

30

58

144

 

4.1.4. Время срабатывания извещателей с дифференциальной характеристикой при повышении температуры от условно нормальной должно находиться в пределах, определяемых классом извещателей, в соответствии с таблицей 3.

Таблица 3

Скорость повышения температуры, °С /мин

Время срабатывания, с

минимальное

максимальное

Извещатели с дифференциальной характеристикой класса А1

1

1740

2420

3

433

820

5

249

500

10

60

260

20

30

140

30

20

100

Извещатели с дифференциальной характеристикой классов А2, А3, В, С, D, Е, F, G, Н

1

1740

2760

3

433

960

5

249

600

10

60

329

20

30

192

30

20

144

 

4.1.5. Время срабатывания дифференциальных и максимально-дифференциальных извещателей класса R1 при повышении температуры от 25 °С должно находиться в пределах, указанных в таблице 4.

Таблица 4

Скорость повышения температуры, °С /мин

Время срабатывания, с

минимальное

максимальное

5

120

500

10

60

242

20

30

90

30

20

60

 

4.1.6. Извещатели с дифференциальной характеристикой класса R должны соответствовать требованиям п. 4.1.4 настоящих норм и обеспечивать время срабатывания, приведенное в таблице 5, при повышении температуры окружающей среды от начальной температуры, указанной в таблице 6.

Таблица 5

Скорость повышения температуры, °С /мин

Время срабатывания, с

минимальное

максимальное

Извещатели с дифференциальной характеристикой класса А1R

10

60

260

20

30

140

30

20

100

Извещатели с дифференциальной характеристикой классов А1R, A2R, A3R, BR, CR, DR, ER, FR, GR, HR

10

60

329

20

30

192

30

20

144

 

Таблица 6

Класс извещателя

Начальная температура, °С

A1R

5 ± 2

A2R

5 ± 2

А3R

15 ± 3

BR

20 ± 3

CR

35 ± 3

DR

50 ± 3

ER

65 ± 3

FR

80 ± 3

GR

95 ± 3

HR

Указывается в ТД на извещатели конкретных типов

 

4.1.7. Время срабатывания извещателя должно находиться в пределах, указанных в таблицах 2-5, при любом положении извещателя по отношению к направлению воздушного потока.

4.1.8. Извещатели должны быть восстанавливаемыми изделиями и обеспечивать возможность проверки на каждом образце всех нормируемых технических характеристик при сертификационных, периодических, приемо-сдаточных, других видах испытаний и входном контроле, а также работоспособности извещателей в процессе эксплуатации.

4.1.9. Электрические характеристики извещателей (напряжения и токи дежурного режима и режима тревожного извещения) указывают в ТД на извещатели конкретных типов. Эти характеристики должны соответствовать электрическим характеристикам шлейфа пожарной сигнализации (ШПС) пожарного приёмно-контрольного прибора (ППКП), с которым предполагается использовать извещатели.

4.1.10. Извещатели должны быть устойчивы к изменению напряжения питания в диапазоне, установленном в ТД на извещатели конкретных типов, но не менее (0,75ё1,15) Uном, где Uном - номинальное значение напряжения питания извещателей.

4.1.11. Значение электрического сопротивления изоляции должно соответствовать ГОСТ 12997 и быть указано в ТД на извещатели конкретных типов.

4.1.12. Значение электрической прочности изоляции должно соответствовать ГОСТ 12997 и быть установлено в ТД на извещатели конкретных типов.

4.1.13. Извещатели должны быть рассчитаны на круглосуточную непрерывную работу.

4.1.14. В ТД на извещатели конкретных типов может быть указан их класс в соответствии с ГОСТ Р 50898.

4.2. Требования надёжности должны соответствовать НПБ 76-98.

4.3. ТРЕБОВАНИЯ ЭЛЕКТРОМАГНИТНОЙ СОВМЕСТИМОСТИ

4.3.1. Извещатели должны быть устойчивы к воздействию наносекундных электрических импульсов. Степень жесткости воздействия (не ниже 2-й по НПБ 57-97) должна быть указана в ТД на извещатели конкретных типов.

4.3.2. Извещатели должны быть устойчивы к воздействию электростатических разрядов. Степень жесткости воздействия (не ниже 2-й по НПБ 57-97) должна быть указана в ТД на извещатели конкретных типов.

4.3.3. Извещатели должны быть устойчивы к воздействию электромагнитного поля. Степень жесткости воздействия (не ниже 2-й по НПБ 57-97) должна быть указана в ТД на извещатели конкретных типов.

4.3.4. Значения напряжённости поля радиопомех, создаваемых извещателями при эксплуатации, не должны превышать значений, указанных в НПБ 57-97.

4.4. ТРЕБОВАНИЯ СТОЙКОСТИ К ВНЕШНИМ ВОЗДЕЙСТВИЯМ

4.4.1. Извещатели должны быть устойчивы к воздействию повышенной температуры окружающей среды, равной максимальной нормальной температуре для каждого класса.

Примечание. Для дифференциальных извещателей - не ниже 55 °С.

4.4.2. Извещатели должны быть прочны к воздействию повышенной температуры окружающей среды, указанной в ТД на извещатели конкретных типов, в соответствии с ГОСТ 28200, но не ниже максимальной температуры срабатывания для каждого класса извещателей.

Примечание. Для дифференциальных извещателей и извещателей классов А1, А2 - не ниже 55 °С.

4.4.3. Извещатели должны быть устойчивы к воздействию пониженной температуры окружающей среды, установленной в ТД на извещатели конкретных типов, в соответствии с ГОСТ 28199, но не выше минус 10 °С.

4.4.4. Извещатели должны быть прочны к воздействию пониженной температуры окружающей среды, установленной в ТД на извещатели конкретных типов, но не выше минус 30 °С.

4.4.5. Извещатели должны быть устойчивы к циклическому воздействию повышенной относительной влажности воздуха.

4.4.6. Извещатели должны быть устойчивы к воздействию повышенной относительной влажности воздуха 93 % при температуре 40 °С.

4.4.7. Извещатели должны быть прочны к воздействию повышенной относительной влажности воздуха 93 % при температуре 40 °С.

4.4.8. Извещатели, предназначенные для установки в помещениях с агрессивной средой, должны быть прочны к её воздействию.

4.4.9. Извещатели должны быть устойчивы к воздействию синусоидальной вибрации с ускорением 4,905 м/с2 (0,5Чg) в диапазоне частот от 10 до 150 Гц.

4.4.10. Извещатели должны быть прочны к воздействию синусоидальной вибрации с ускорением 9,81 м/с2 (1Чg) в диапазоне частот от 10 до 150 Гц.

4.4.11. Извещатели должны быть устойчивы к воздействию прямого механического удара с энергией 1,9 Дж.

4.4.12. Извещатели должны быть устойчивы к воздействию одиночных ударных импульсов полусинусоидальной формы. Длительность импульса и пиковое ускорение должны соответствовать ГОСТ 12997 и быть установлены в ТД на извещатели конкретных типов.

4.5. ТРЕБОВАНИЯ К КОНСТРУКЦИИ

4.5.1. Требования к конструкции - по НПБ 76-98.

Примечание. Требование п. 17.6.1 НПБ 76-98 к извещателям классов B, C, D, E, F, G, Н и к извещателям, работающим в искробезопасных цепях, - рекомендуемое.

4.5.2. Конструкция извещателя должна обеспечивать расположение термочувствительного элемента на расстоянии не менее 15 мм от поверхности, на которой монтируют извещатель.

4.5.3. Степень защиты извещателей, обеспечиваемая оболочкой, определяется по ГОСТ 14254.

4.6. ТРЕБОВАНИЯ К МАРКИРОВКЕ

4.6.1. Требования к маркировке - по НПБ 76-98.

4.6.2. На корпусе извещателя должен быть указан его класс.

4.7. Требования к комплектности и упаковке, требования безопасности и экономного использования электроэнергии - по НПБ 76-98.

5. МЕТОДЫ ИСПЫТАНИЙ

5.1. ОБЩИЕ ПОЛОЖЕНИЯ

5.1.1. Извещатели подвергают следующим видам испытаний:

а) сертификационным;

б) приёмо-сдаточным;

в) периодическим;

г) типовым.

5.1.2. Объём и последовательность сертификационных испытаний должны соответствовать данным таблицы 7. Для проведения испытаний методом случайной выборки отбирают шесть извещателей.

Таблица 7

Проверяемый показатель

Пункты настоящих норм

Номер образца извещателя

Технические требования

Методы испытаний

1

2

3

4

5

6

Время срабатывания при различных положениях извещателя относительно направления воздушного потока

4.1.7

5.2.1

 

 

 

 

 

 

Температура срабатывания

4.1.2

5.2.2

 

 

 

 

 

 

Время срабатывания при различных скоростях повышения температуры

4.1.3-4.1.6

5.2.3

 

 

 

 

 

 

Время срабатывания перед испытаниями на внешние воздействия

4.1.3-4.1.5

5.2.4

 

 

 

 

 

 

Изменение напряжения питания. Устойчивость

4.1.10

5.2.5

 

 

 

 

 

 

Сухое тепло. Устойчивость

4.4.1

5.2.6

 

 

 

 

 

 

Холод. Устойчивость

4.4.3

5.2.7

 

 

 

 

 

 

Прямой механический удар. Устойчивость

4.4.11

5.2.9

 

 

 

 

 

 

Синусоидальная вибрация. Устойчивость

4.4.9

5.2.10

 

 

 

 

 

 

Электромагнитная совместимость

4.3

5.2.12

 

 

 

 

 

 

Влажное тепло, постоянный режим. Устойчивость

4.4.6

5.2.14

 

 

 

 

 

 

Электрическая прочность изоляции

4.1.12

5.2.16

 

 

 

 

 

 

Электрическое сопротивление изоляции

4.1.11

5.2.17

 

 

 

 

 

 

Пожарная безопасность

В соответствии с НПБ 76-98

 

 

 

 

 

 

 

5.1.3. Объём приёмо-сдаточных испытаний устанавливают в ТД на извещатели конкретных типов.

5.1.4. Объём периодических испытаний и число испытываемых извещателей устанавливают в ТД на извещатели конкретных типов.

5.1.5. Погрешность измерения параметров при проведении испытаний не должна превышать 5 %, если иные требования не установлены в методах испытаний. Погрешность измерения температуры не должна превышать ±3 °С .

5.1.6. Соединение извещателя с ППКП или прибором, его заменяющим, должно быть произведено в соответствии с инструкцией изготовителя.

5.1.7. Испытания проводят в нормальных условиях при температуре от 15 до 35 °С, относительной влажности от 45 до 75 % и атмосферном давлении от 86 до 106 кПа.

5.1.8. Испытания на соответствие требованиям назначения проводят в тепловой камере, описание которой представлено в приложении (рекомендуемом).

5.1.9. Скорость воздушного потока в процессе проведения испытания 0,8 м/с.

5.1.10. Для дифференциальных извещателей за условно нормальную температуру принимают 25 °С, а за максимальную нормальную температуру - максимальную рабочую температуру, определенную в ТД на извещатели конкретного типа, но не ниже 55 °С.

5.2. ПОРЯДОК ПРОВЕДЕНИЯ ИСПЫТАНИЙ

5.2.1. Определение времени срабатывания извещателя при различных его положениях относительно направления воздушного потока (п. 4.1.7)

Испытание проводят в тепловой камере при восьми различных положениях извещателя относительно воздушного потока, отличающихся друг от друга поворотом извещателя вокруг вертикальной оси на угол 45°.

Извещатель устанавливают в тепловую камеру и выдерживают при условно нормальной температуре, указанной в таблице 1 для данного класса извещателей, в течение времени, необходимого для стабилизации его температуры, но не менее 5 мин. Затем в камере создают скорость повышения температуры воздушного потока 10 °С/мин и одновременно включают секундомер. В момент срабатывания извещателя фиксируют время по секундомеру.

Отмечают положения, соответствующие максимальному и минимальному значению времени срабатывания извещателя.

Извещатель считают выдержавшим испытание, если время срабатывания в любом его положении относительно направления воздушного потока находится в пределах между минимальным и максимальным значениями этого времени для данного класса извещателя в соответствии с таблицами 2-4 настоящих норм.

5.2.2. Определение температуры срабатывания извещателя (п. 4.1.2)

Извещатели поочерёдно устанавливают в тепловую камеру и выдерживают при условно нормальной температуре, указанной в таблице 1 для данного класса извещателей, в течение времени, необходимого для стабилизации его температуры, но не менее 5 мин.

Температуру в тепловой камере повышают от условно нормальной до максимальной нормальной температуры, указанной в таблице 1 для данного класса извещателя, со скоростью 1 °С /мин. Дальнейшее повышение температуры продолжают при скорости ее нарастания 0,2 °С/мин. Фиксируют температуру срабатывания каждого извещателя.

Извещатели считают выдержавшими испытание, если зарегистрированные значения температуры срабатывания находятся в пределах между минимальным и максимальным значениями этой температуры, указанными в таблице 1 для данного класса извещателя.

5.2.3. Определение времени срабатывания извещателя при различных скоростях повышения температуры (п.п. 4.1.3-4.1.6)

Извещатели устанавливают в тепловую камеру: первый извещатель - в положении относительно воздушного потока, соответствующем максимальному времени срабатывания извещателя, второй - в положении, соответствующем минимальному времени срабатывания. Извещатели выдерживают при условно нормальной температуре, указанной в таблице 1 для данного класса извещателей (извещатели с дифференциальной характеристикой с индексом R - при начальной температуре в соответствии с таблицей 6 для данного класса извещателей), в течение времени, необходимого для стабилизации его температуры, но не менее 5 мин. Затем начинают повышать в камере температуру воздушного потока с требуемой скоростью нарастания и одновременно включают секундомер. В момент срабатывания извещателя фиксируют время по секундомеру.

Время срабатывания извещателей определяют при скоростях повышения температуры в соответствии с таблицами 2-5 для данного класса извещателей.

Извещатели считают выдержавшими испытание, если время их срабатывания находится в пределах между минимальным и максимальным значениями этого времени для соответствующих скоростей повышения температуры (см. таблицы 2-5).

Примечание. При проведении сертификационных испытаний время срабатывания максимальных извещателей определяют при скорости повышения температуры 3 и 30 °С/мин, дифференциальных, максимально-дифференциальных извещателей и извещателей с дифференциальной характеристикой - 10 и 30 °С/мин.

5.2.4. Определение времени срабатывания извещателей перед испытаниями на внешние воздействия (п.п. 4.1.3-4.1.5)

Извещатели поочередно устанавливают в тепловую камеру в положении относительно воздушного потока, соответствующем максимальному времени срабатывания извещателя. Извещатель выдерживают при условно нормальной температуре, указанной в таблице 1 для данного класса извещателей, в течение времени, необходимого для стабилизации его температуры, но не менее 5 мин. Затем начинают повышать в камере температуру воздушного потока с требуемой скоростью и одновременно включают секундомер. В момент срабатывания извещателя фиксируют время по секундомеру. Максимальные извещатели испытывают при скорости повышения температуры 3 и 20 °С/мин, дифференциальные, максимально-дифференциальные извещатели и извещатели с дифференциальной характеристикой - 5 и 20 °С /мин.

Извещатели считают выдержавшими испытания, если время их срабатывания находится в пределах между минимальным и максимальным значениями этого времени для соответствующих скоростей повышения температуры (см. таблицы 2-4).

5.2.5. Изменение напряжения питания. Устойчивость (п. 4.1.10)

Время срабатывания извещателя при изменении напряжения питания определяют по методике, изложенной в п. 5.2.4 настоящих норм, при минимальном и максимальном значениях напряжения питания, установленных в ТД на извещатели конкретных типов.

Извещатель считают выдержавшим испытание, если время срабатывания находится в пределах между минимальным и максимальным значениями этого времени для соответствующих скоростей повышения температуры (см. таблицы 2-4) и отличается от первоначальной величины, определенной при испытании этого извещателя по п. 5.2.4, не более чем на 25 %.

Примечание. При отсутствии в ТД на извещатели данных о минимальном и максимальном напряжении питания испытания проводят при напряжении питания в соответствии с п. 4.1.10 настоящих норм.

5.2.6. Сухое тепло. Устойчивость (п. 4.4.1)

Цель испытания - определить способность извещателя сохранять работоспособность при высокой температуре окружающей среды и выдавать извещение «Пожар» при дальнейшем повышении температуры.

Извещатель устанавливают в тепловой камере в положении относительно воздушного потока, соответствующем максимальному времени срабатывания извещателя. В процессе испытания извещатель должен быть включен.

Извещатель выдерживают при условно нормальной температуре, соответствующей классу извещателя, в течение времени, необходимого для стабилизации его температуры, но не менее 5 мин. Затем температуру в камере повышают до максимальной нормальной со скоростью 1 °С/мин. При максимальной нормальной температуре извещатель выдерживают в течение двух часов. При этом извещатель не должен выдавать сигнал «Неисправность» или «Пожар». Дальнейшее повышение температуры продолжают при скорости 20 °С/мин, одновременно включают секундомер. В момент срабатывания извещателя фиксируют время по секундомеру.

Извещатель считают выдержавшим испытание, если время его срабатывания находится в диапазоне между минимальным и максимальным значениями этого времени для данного класса извещателя, указанными в таблице 8.

Таблица 8

Класс извещателя

Время срабатывания, с

минимальное

максимальное

А1

12

140

Все остальные

12

193

 

5.2.7. Холод. Устойчивость (п. 4.4.3)

Цель испытания - определить способность извещателя сохранять работоспособность при пониженной температуре окружающей среды.

Испытательное оборудование и метод испытания должны соответствовать ГОСТ 28199. Температуру изменяют плавно.

В течение всего испытания извещатель должен быть включен.

Используют следующую степень жёсткости:

а) температура равна установленной в ТД на извещатели конкретных типов, но не выше минус 10 °С;

б) длительность воздействия - два часа.

В процессе испытания извещатель не должен выдавать сигнал "Пожар" или «Неисправность».

После воздействия холода извещатель выдерживают в нормальных условиях в течение не менее двух часов. Затем определяют время срабатывания извещателя по методике, приведенной в п. 5.2.4 настоящих норм.

Извещатель считают выдержавшим испытание, если время срабатывания находится в пределах между минимальным и максимальным значениями этого времени для соответствующих скоростей повышения температуры (см. таблицы 2-6) и отличается от первоначальной величины, определенной при испытании этого извещателя по п. 5.2.4, не более чем на 25 %.

5.2.8. Одиночный удар. Устойчивость (п. 4.4.12)

Испытательное оборудование и метод испытания должны соответствовать ГОСТ 12997. Форма ударного импульса - полусинусоида. В процессе испытания извещатель должен быть включен.

Используют следующую степень жёсткости:

а) пиковое ускорение равно установленному в ТД на извещатели конкретных типов;

б) длительность импульса соответствует установленной в ТД на извещатели конкретных типов;

в) число направлений - 6;

г) число ударов в каждом направлении - 3.

В процессе испытания извещатель не должен выдавать сигнал "Неисправность" или "Пожар".

Время срабатывания извещателя после ударов определяют по методике, приведенной в п. 5.2.4 настоящих норм.

Извещатель считают выдержавшим испытание, если время срабатывания находится в пределах между минимальным и максимальным значениями этого времени для соответствующих скоростей повышения температуры (см. таблицы 2-6) и отличается от первоначальной величины, определенной при испытании этого извещателя по п. 5.2.4, не более чем на 25 %.

Примечание. При отсутствии в ТД данных о пиковом ускорении и длительности импульса удара испытание проводят при пиковом ускорении 150 м/с2 (15 Ч g) и длительности ударного импульса 16 мс.

5.2.9. Прямой механический удар. Устойчивость (п. 4.4.11)

Испытательное оборудование и метод испытания должны соответствовать НПБ 76-98. В процессе испытания извещатель должен быть включен.

Используют следующую степень жёсткости:

а) энергия удара - (1,9 ± 0,1) Дж;

б) число ударов - 1;

в) скорость движения молотка при ударе - (1,500 ±0,125) м/с.

В процессе испытания извещатель не должен выдавать извещение «Неисправность» или «Пожар».

После приложения удара извещатель визуально проверяют на отсутствие механических повреждений. Затем определяют время срабатывания извещателя по методике, приведенной в п. 5.2.4 настоящих норм.

Извещатель считают выдержавшим испытание, если не обнаружено механических повреждений, время срабатывания находится в пределах между минимальным и максимальным значениями этого времени для соответствующих скоростей нарастания температуры (см. таблицы 2-6) и отличается от первоначальной величины, определенной при испытании этого извещателя по п. 5.2.4, не более чем на 25 %.

5.2.10. Синусоидальная вибрация. Устойчивость (п. 4.4.9)

Испытательное оборудование и метод испытания должны соответствовать ГОСТ 28203. В процессе испытания извещатель должен быть включен.

Извещатель подвергают воздействию вибрации по трем взаимно перпендикулярным осям, одна из которых перпендикулярна плоскости крепления извещателя.

Используют следующую степень жёсткости:

а) частотный диапазон - от 10 до 150 Гц;

б) амплитуда ускорения - 4,905 м/с2 (0,5 Ч g);

в) число осей - 3;

г) число циклов на ось - 1;

д) скорость перестройки частоты - 1 октава/мин.

В процессе испытания извещатель не должен выдавать сигнал "Неисправность" или "Пожар".

После воздействия вибрации определяют время срабатывания извещателя по методике, приведенной в п. 5.2.4 настоящих норм.

Извещатель считают выдержавшим испытание, если время срабатывания находится в пределах между минимальным и максимальным значениями этого времени для соответствующих скоростей повышения температуры (см. таблицы 2-6) и отличается от первоначальной величины, определенной при испытании этого извещателя по п. 5.2.4, не более чем на 25 %.

5.2.11. Синусоидальная вибрация. Прочность (п. 4.4.10)

Испытательное оборудование и метод испытания должны соответствовать ГОСТ 28203. В процессе испытания извещатель должен быть выключен.

При испытании извещатель подвергают воздействию вибрации по трем взаимно перпендикулярным осям, одна из которых перпендикулярна плоскости крепления извещателя.

Используют следующую степень жёсткости:

а) частотный диапазон от - 10 до 150 Гц;

б) амплитуда ускорения - 9,81 м/с2 (1,0 Ч g);

в) число осей - 3;

г) число циклов на ось - 20;

д) скорость перестройки частоты - 1 октава/мин.

После окончания испытания извещатель подключают к ППКП или прибору, его заменяющему. Извещатель не должен выдавать сигнал "Неисправность" или "Пожар". Определяют время срабатывания извещателя по методике, приведенной в п. 5.2.4 настоящих норм.

Извещатель считают выдержавшим испытание, если время срабатывания находится в пределах между минимальным и максимальным значениями этого времени для соответствующих скоростей повышения температуры (см. таблицы 2-6) и отличается от первоначальной величины, определенной при испытании этого извещателя по п. 5.2.4, не более чем на 25 %.

5.2.12. Электромагнитная совместимость (п. 4.3)

Цель испытаний - определить устойчивость извещателей к воздействию наносекундных электрических импульсов в цепи питания, электростатических разрядов и электромагнитного поля, а также измерить напряженность поля радиопомех, создаваемых извещателем.

Испытательное оборудование и методы испытаний должны соответствовать НПБ 57-97. Испытания проводят в дежурном режиме работы извещателя и в режиме выдачи тревожного извещения.

Степень жёсткости испытаний на устойчивость извещателей к воздействию наносекундных электрических импульсов в цепи питания, электростатических разрядов и электромагнитного поля должна соответствовать установленной в ТД на извещатели конкретных типов. Извещатель не должен выдавать сигнал "Пожар" или «Неисправность» при испытаниях в дежурном режиме и не должен возвращаться в дежурный режим при испытаниях в режиме выдачи тревожного извещения.

Напряженность поля радиопомех, создаваемых извещателем в дежурном и тревожном режимах работы, не должна превышать нормы, установленные в НПБ 57-97.

Примечания: 1. При отсутствии в ТД данных о степени жесткости испытания проводят на соответствие 2-й степени жесткости по НПБ 57-97.

2. Измерение напряженности поля радиопомех при испытании пассивных извещателей не проводят.

5.2.13. Влажное тепло, циклическое (12 + 12-часовой цикл). Устойчивость (п. 4.4.5)

Цель испытания - определить способность извещателя функционировать при повышенной относительной влажности воздуха и конденсации влаги на элементах извещателя.

Испытательное оборудование и метод испытания должны соответствовать ГОСТ 28216. В процессе испытания извещатель должен быть включен.

Используют следующую степень жёсткости:

а) 1-я половина цикла: температура (40 ±2) °С; относительная влажность (93 ±3) %;

б) 2-я половина цикла: температура (25 ±2) °С; относительная влажность более 95 %.

в) продолжительность - два цикла.

В процессе испытания извещатель не должен выдавать сигнал "Неисправность" или "Пожар".

После окончания испытания извещатель выдерживают в нормальных условиях в течение не менее двух часов, после чего определяют время его срабатывания по методике, приведенной в п. 5.2.4 настоящих норм.

Извещатель считают выдержавшим испытание, если время срабатывания находится в пределах между минимальным и максимальным значениями этого времени для соответствующих скоростей повышения температуры (см. таблицы 2-6) и отличается от первоначальной величины, определенной при испытании этого извещателя по п. 5.2.4, не более чем на 25 %.

5.2.14. Влажное тепло, постоянный режим. Устойчивость (п. 4.4.6)

Испытательное оборудование и метод испытания должны соответствовать ГОСТ 28201. В процессе испытания извещатель должен быть включён.

Используют следующую степень жёсткости:

а) температура (40 ±2) °С;

б) относительная влажность (93 ±1) %;

в) продолжительность - двое суток.

В процессе испытания извещатель не должен выдавать сигнал «Неисправность» или «Пожар».

После окончания испытания извещатель выдерживают в нормальных условиях в течение не менее двух часов, после чего определяют время его срабатывания по методике, приведенной в п. 5.2.4 настоящих норм.

Извещатель считают выдержавшим испытание, если время срабатывания находится в пределах между минимальным и максимальным значениями этого времени для соответствующих скоростей повышения температуры (см. таблицы 2-6) и отличается от первоначальной величины, определенной при испытании этого извещателя по п. 5.2.4, не более чем на 25 %.

5.2.15. Влажное тепло, постоянный режим. Прочность (п. 4.4.7)

Цель испытания - определить способность извещателя противостоять длительному воздействию повышенной относительной влажности воздуха.

Испытательное оборудование и метод испытания должны соответствовать ГОСТ 28201. В процессе испытания извещатель должен быть выключен.

Используют следующую степень жёсткости:

а) температура (40 ±2) °С;

б) относительная влажность (93 ±1) %;

в) продолжительность - 21 сутки (установлена для квалификационных, периодических и типовых испытаний).

После окончания испытания извещатель выдерживают в нормальных условиях в течение не менее двух часов и затем подключают к ППКП или прибору, его заменяющему. Извещатель не должен выдавать сигнал "Неисправность" или "Пожар". После этого определяют время срабатывания извещателя по методике, приведенной в п. 5.2.4 настоящих норм.

Извещатель считают выдержавшим испытание, если время срабатывания находится в пределах между минимальным и максимальным значениями этого времени для соответствующих скоростей повышения температуры (см. таблицы 2-6) и отличается от первоначальной величины, определенной при испытании этого извещателя по п. 5.2.4, не более чем на 25 %.

5.2.16.        Электрическая прочность изоляции (п. 4.1.12)

Проверку электрической прочности изоляции проводят в соответствии с ГОСТ 12997 в нормальных условиях. Извещатель или розетку с извещателем устанавливают на заземлённой металлической пластине при помощи собственных устройств крепления. Все внешние (выводимые из извещателя) проводники соединяют вместе. Заземление корпуса извещателя (при его наличии) должно быть убрано.

Для испытания используют генератор, обеспечивающий синусоидальное напряжение частотой от 40 до 60 Гц с перестраиваемой амплитудой от 0 до 1500 В. Общий провод генератора подсоединяют к металлической пластине, а выход генератора - к соединённым вместе внешним проводникам извещателя.

Испытание проводят следующим образом:

а) для извещателей с номинальным напряжением питания меньше 60 В напряжение генератора увеличивают от 0 до 500 В со скоростью (300 ±20) В/с и выдерживают в течение (60 ±5) с;

б) для извещателей с номинальным напряжением питания больше 60 В напряжение генератора увеличивают от 0 до 1500 В со скоростью (300 ±20) В/с и выдерживают в течение (60 ±5) с.

Извещатель считают выдержавшим испытание, если в процессе испытания не возникло поверхностного разряда и не было пробоя изоляции.

5.2.17. Электрическое сопротивление изоляции (п. 4.1.11)

Измерение сопротивления изоляции проводят в соответствии с ГОСТ 12997 в нормальных условиях сразу после испытаний по п. 5.2.16. Извещатель или розетку с извещателем устанавливают на заземлённой металлической пластине при помощи собственных устройств крепления. Все внешние (выводимые из извещателя) проводники соединяют вместе. Заземление корпуса извещателя (при его наличии) должно быть убрано.

Сопротивление изоляции измеряют через не менее 60 с после приложения измерительного постоянного напряжения 100ё250 В. Измерительное напряжение прикладывают между металлической пластиной и соединёнными внешними проводами извещателя.

Извещатель считают выдержавшим испытание, если измеренное сопротивление изоляции не менее 20 МОм.

5.2.18. Сухое тепло. Прочность (п. 4.4.2)

Цель испытания - определить способность извещателя противостоять эффекту старения, который достигается длительным воздействием на извещатель высокой температуры.

Испытательное оборудование и метод испытания должны соответствовать ГОСТ 28200.

В процессе испытания извещатель должен быть выключен.

Используют следующую степень жёсткости:

а) температура соответствует установленной в ТД на извещатели конкретных типов, но не ниже максимальной нормальной температуры для извещателя данного класса;

в) продолжительность испытаний равна 42 суткам (установлена для квалификационных, периодических и типовых испытаний).

После окончания испытания извещатель выдерживают в нормальных условиях в течение не менее двух часов и затем подключают к ППКП или прибору, его заменяющему. Извещатель не должен выдавать сигнал «Неисправность» или «Пожар». После этого определяют время срабатывания извещателя по методике, приведенной в п. 5.2.4 настоящих норм.

Извещатель считают выдержавшим испытание, если время срабатывания находится в пределах между минимальным и максимальным значениями этого времени для соответствующих скоростей повышения температуры (см. таблицы 2-6) и отличается от первоначальной величины, определенной при испытании этого извещателя по п. 5.2.4, не более чем на 25 %.

5.2.19. Холод. Прочность (п. 4.4.4)

Испытательное оборудование и метод испытания должны соответствовать ГОСТ 28199. В процессе испытания извещатель должен быть выключен.

Используют следующую степень жёсткости:

а) температура соответствует установленной в ТД на извещатели конкретных типов, но не выше минус 30 °С;

в) продолжительность - двое суток (установлена для квалификационных, периодических и типовых испытаний).

После окончания испытания извещатель выдерживают в нормальных условиях в течение не менее двух часов и затем подключают к ППКП или прибору, его заменяющему. Извещатель не должен выдавать сигнал «Неисправность» или «Пожар». После этого определяют время срабатывания извещателя по методике, приведенной в п. 5.2.4 настоящих норм.

Извещатель считают выдержавшим испытание, если время срабатывания находится в пределах между минимальным и максимальным значениями этого времени для соответствующих скоростей повышения температуры (см. таблицы 2-6) и отличается от первоначальной величины, определенной при испытании этого извещателя по п. 5.2.4, не более чем на 25 %.

5.2.20. Коррозия двуокисью серы. Прочность (п. 4.4.8)

Испытание проводят только для извещателей, предназначенных для эксплуатации в помещениях с наличием агрессивных сред.

Испытательное оборудование и метод испытания должны соответствовать ГОСТ 28226.

В процессе испытания извещатель должен быть выключен, однако все соединения, позволяющие включить извещатель после окончания испытаний, не производя новых соединений, должны быть выполнены нелужеными медными проводами.

Продолжительность испытания - 21 сутки (установлена для квалификационных, периодических и типовых испытаний).

При испытании на поверхности извещателя поддерживают температуру выше точки росы. Однако наличие гигроскопических материалов и образование продуктов коррозии на поверхности извещателя могут приводить к появлению конденсата.

После окончания испытания извещатель выдерживают в нормальных условиях в течение не менее двух часов и затем подключают к ППКП или прибору, его заменяющему. Извещатель не должен выдавать сигнал «Неисправность» или «Пожар». После этого определяют время срабатывания извещателя по методике, приведенной в п. 5.2.4 настоящих норм.

Извещатель считают выдержавшим испытание, если время срабатывания находится в пределах между минимальным и максимальным значениями этого времени для соответствующих скоростей повышения температуры (см. таблицы 2-6) и отличается от первоначальной величины, определенной при испытании этого извещателя по п. 5.2.4, не более чем на 25 %.

5.2.21. Последовательность и методика проведения испытаний извещателей на соответствие требованиям п.п. 6.26-6.31 должны быть установлены в ТД на извещатели конкретных типов.

6. НОРМАТИВНЫЕ ССЫЛКИ

В настоящих нормах использованы ссылки на следующие стандарты и другие нормативные документы:

ГОСТ 12.2.047-86 ССБТ. Пожарная техника. Термины и определения.

ГОСТ 12997-84 Изделия ГСП. Общие технические условия.

ГОСТ 14254-96 (МЭК 529-89) Степени защиты, обеспечиваемые оболочками (код IP).

ГОСТ 28199-89 (МЭК 68-2-1-74) Основные методы испытаний на воздействие внешних факторов. Часть 2. Испытания. Испытание А: Холод.

ГОСТ 28200-89 (МЭК 68-2-2-74) Основные методы испытаний на воздействие внешних факторов. Часть 2. Испытания. Испытание В: Сухое тепло.

ГОСТ 28201-89 (МЭК 68-2-3-69) Основные методы испытаний на воздействие внешних факторов. Часть 2. Испытания. Испытание Са: Влажное тепло, постоянный режим.

ГОСТ 28203-89 (МЭК 68-2-6-82) Основные методы испытаний на воздействие внешних факторов. Часть 2. Испытания. Испытание Fc и руководство: Вибрация (синусоидальная).

ГОСТ 28216-89 (МЭК 68-2-30-87) Основные методы испытаний на воздействие внешних факторов. Часть 2. Испытания. Испытание Dd и руководство: Влажное тепло, циклическое (12+12-часовой цикл).

ГОСТ 28226-89 (МЭК 68-2-42-72) Основные методы испытаний на воздействие внешних факторов. Часть 2. Испытания. Испытание Кс: Испытание контактов и соединений на воздействие двуокиси серы.

ГОСТ Р 50898-96 Извещатели пожарные. Огневые испытания.

НПБ 57-97 Приборы и аппаратура автоматических установок пожаротушения и пожарной сигнализации. Помехоустойчивость и помехоэмиссия. Общие технические требования и методы испытаний.

НПБ 76-98 Извещатели пожарные. Общие технические требования и методы испытаний.

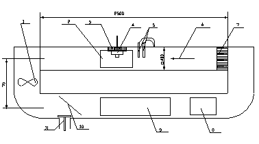
Приложение

(рекомендуемое)

Тепловая камера для измерения времени и температуры
срабатывания извещателей

Тепловая камера должна состоять из аэродинамической трубы замкнутого типа, имеющей горизонтальную рабочую секцию, поперечное сечение которой должно быть квадратным или прямоугольным. При этом необходимо предусмотреть возможность создания в трубе потока горячего воздуха, температура которого может повышаться со скоростью от 0,2 до 30 °С/мин с сохранением массового расхода, эквивалентного скорости потока воздуха (0,8 ±0,1) м/с при температуре 25 °С. Поперечное сечение рабочей секции трубы должно быть не менее (305´305) мм, чтобы на поток воздуха вблизи испытываемого извещателя не оказывали влияния стенки. Камера должна быть сконструирована таким образом, чтобы прямое тепловое излучение нагревателя не воздействовало непосредственно на извещатель. Температура в камере должна регулироваться в пределах от 5 до 160 °С.

Рекомендуемый вариант конструкции испытательной камеры представлен на рисунке.

Испытываемый извещатель устанавливают в рабочем положении на площадке, которая образует часть «потолка» рабочей секции. Площадка должна быть расположена симметрично относительно боковых стенок рабочей секции и иметь поворотное устройство, позволяющее поворачивать извещатель на 360° вокруг вертикальной оси.

Приборы контроля и управления должны обеспечивать необходимые значения температуры, скорости ее повышения, а также скорости воздушного потока в непосредственной близости от испытываемого извещателя.

Конструкция испытательной камеры:

1 - вентилятор с двигателем; 2 - крышка отсека для установки испытываемого извещателя со стеклянным смотровым окном; 3 - площадка с поворотным устройством для установки испытываемого извещателя; 4 - испытываемый извещатель; 5 - измерители температуры и скорости потока воздуха; 6 - направление потока воздуха; 7 - линеаризатор; 8 - крышка для установки холодильного агрегата для испытаний при пониженных температурах; 9 - отсек нагревателя; 10 - регулятор скорости потока воздуха; 11 - вентиляционное отверстие

 




Rambler's Top100 Яндекс цитирования
  Copyright © 2008-2026, www.docload.ru