Бесплатная библиотека стандартов и нормативов www.docload.ru

Все документы, размещенные на этом сайте, не являются их официальным изданием и предназначены исключительно для ознакомительных целей.
Электронные копии этих документов могут распространяться без всяких ограничений. Вы можете размещать информацию с этого сайта на любом другом сайте.
Это некоммерческий сайт и здесь не продаются документы. Вы можете скачать их абсолютно бесплатно!
Содержимое сайта не нарушает чьих-либо авторских прав! Человек имеет право на информацию!

 

ГОССТРОЙ СССР

ОРДЕНА ТРУДОВОГО КРАСНОГО ЗНАМЕНИ
НАУЧНО-ИССЛЕДОВАТЕЛЬСКИЙ ИНСТИТУТ
БЕТОНА И ЖЕЛЕЗОБЕТОНА
(НИИЖБ)

РЕКОМЕНДАЦИИ
ПО ВИБРАЦИОННОМУ ФОРМОВАНИЮ
ЖЕЛЕЗОБЕТОННЫХ ИЗДЕЛИЙ

Утверждены
директором НИИЖБ
7 июня 1985 г.

Москва 1986

Печатается по решению секции заводской технологии сборных железобетонных конструкций НТС НИИЖБ Госстроя СССР от 16 апреля 1985 г.

Рекомендации по вибрационному формованию железобетонных изделий / НИИЖБ Госстроя СССР. М., 1986.

Содержат основные положения по выбору рациональных режимов виброуплотнения бетонных смесей. Приведены наиболее распространенные методы формования, схемы и область применения виброформовочного оборудования, а также даны указания по контролю режимов уплотнения, отделке поверхности свежеотформованного изделия, охране труда и др.

В приложениях приведены требования к формам, матрицам и оснастке, технические характеристики виброформовочного оборудования, выбор параметров вибрационных режимов, даны методы оптимизации составов бетона.

Рекомендации предназначены для инженерно-технических работников предприятий сборного железобетона, научно-исследовательских и проектных организаций.

ПРЕДИСЛОВИЕ

Процесс формования, являясь одним из важнейших в изготовлении железобетонных конструкций, во многом определяет уровень производительности труда на заводах стройиндустрии, энерго-, материалоемкость и качество изделий.

В настоящее время наибольшее распространение имеет вибрационная технология уплотнения бетонных смесей. Этот приоритет в будущем сохранится, поэтому вопросы оптимизации вибрационных, режимов, правильного подбора виброоборудования не теряют свою экономическую и социальную значимость.

Рекомендации разработаны НИИЖБ Госстроя СССР под редакцией д. т. н., проф. Б. В. Гусева, к. т. н. И. И. Назаренко, д. т. н., проф. О. А. Савинова, д. т. н., проф. В. Н. Шмигальского, с общим техническим редактированием к. т. н. Б. И. Зыкова.

В составлении отдельных разделов принимали участие:

к. т. н. Е. З. Аксельрод, В. Н. Кузин, Г. С. Митник, А. И. Звездов, инж. Е. Г. Зиновьев (НИИЖБ Госстроя СССР); д. т. н., проф. А. А. Афанасьев, И. Ф. Руденко (ЦМИПКС при МИСИ им. В. В. Куйбышева); к. т. н. Д. Ф. Толорая, А. И. Дмитриев, Т. Г. Тарарина (ВНИИжелезобетон); к. т. н. Е. В. Лавринович (ВНИИГ им. Б. Е. Веденеева); проф. Ю. Ф. Чубук, к. т. н. В. Н. Гарнец (КИСИ Минвуза УССР); д. т. н. В. Г. Зазимко, к. т. н. Н. И. Нетеса (ДИИТ МПС СССР); д. т н., проф. Г. Я. Куннос (РПИ); д. т. н. Е. П. Миклашевский (Гидропроект им. С. Я. Жука); к. т. н. А. Д. Дорохова (ВНИИ транспортного строительства); д. т. н. К. А. Олехнович (Полтавский И.С); инж. Н. Я. Саенко, Л. И. Эпштейн (Главпромстройматериалы); к. т. н. Б. И. Зыков, инж. П. Н. Савватеев (Ярославский политехнический институт); к. т. н. В. А. Черных (ДИИТ).

Кроме того, при составлении Рекомендаций использованы материалы: к. т. н. Ф. Г. Брауде, В. А. Загурского, В. Н. Лемехова, инж. В. П. Лисняка, А. Ф. Масляева, к. т. н. С. А. Осмакова, Б. А. Усова, Р. Н. Чепелева, инж. Г. К. Чихладзе, В. В. Шульгина, к. т. н. В. Б. Яковенко.

Замечания по содержанию Рекомендаций просим направлять в НИИЖБ по адресу: 109389 Москва, 2-я Институтская, 6.

Дирекция НИИЖБ

1. ОСНОВНЫЕ ПОЛОЖЕНИЯ

1.1. Настоящие Рекомендации распространяются на технологию вибрационного формования сборных железобетонных конструкций и изделий из жестких, подвижных и литых бетонных смесей. В зависимости от вида изделий и удобоукладываемости смесей предлагаются режимы виброуплотнения и соответствующее оборудование.

1.2. В передел формования изделий включены следующие технологические операции, регламентируемые строительными нормами и правилами: подготовка форм или стендов (в том числе их чистка и смазка, установка и фиксация арматурных элементов, закладных изделий, вкладышей, натяжение напрягаемой арматуры предварительно напряженных конструкций); укладка и уплотнение бетонных смесей; отделка в процессе формования; немедленная или ускоренная распалубка элементов бортоснастки.

1.3. Выбор метода виброформования должен производиться в зависимости от вида изделий и принятой технологии их производства с учетом необходимости обеспечения требуемого качества изделий, экономии цемента, трудозатрат и облегчения условий труда. В процессе формования в необходимых случаях предусматривается утилизация остатков бетонной смеси.

1.4. Технология вибрационного формования должна обеспечивать изготовление изделий, соответствующих требованиям стандартов или технических условий и проектной документации.

1.5. Изготовление изделий должно, как правило, производиться с применением серийно выпускаемого или стандартизированного технологического оборудования, выпускаемого машиностроительными заводами. Допускается применение технологического оборудования, изготовленного другими заводами или механическими цехами при соответствии его действующим стандартам или техническим условиям.

1.6. Классификация бетонных смесей и требования к ним приняты в соответствии со СНиП 3.09.01-85 ГОСТ 7473-85 и даны в Приложениях 10 и 11.

2. ФОРМЫ И СТЕНДЫ

2.1. Формы по всем параметрам должны соответствовать ГОСТ 25781-83. При изготовлении изделий, к точности размеров которых предъявляют повышенные требования, допускаются отклонения внутренних проектных размеров формы от установленных ГОСТ 25781-83: они могут быть изменены в сторону уменьшения в соответствии со стандартом или техническими условиями на формы конкретного вида.

2.2. При расчете и конструировании формы следует учитывать рекомендации, содержащиеся в Руководстве по расчету и проектированию стальных форм (М.: Стройиздат, 1970), Рекомендациях по расчету и конструированию форм при трехточечном опирании (М.: НИИЖБ, 1978), Рекомендациях по расчету и конструированию поддонов с раскосной решеткой (М.: НИИЖБ, 1982) и др.

Динамические воздействия на форму в процессе уплотнения бетонной смеси с использованием вибрационных, виброударных и ударных установок следует учитывать в соответствии с Рекомендациями по динамическому расчету стальных форм (М.: НИИЖБ, 1984).

2.3. К формам, предназначенным для изготовления изделий с последующей механизированной отделкой верхней поверхности, предъявляются следующие требования:

высота бортов, расположенных в направлении, поперечном движению отделочных устройств, должна быть на 2...4 мм ниже высоты бортов, расположенных вдоль движения;

проемообразователи, вкладыши и другие детали, крепящиеся на поддоне или бортах формы, должны быть на 5 мм ниже уровня бортов, расположенных вдоль движения;

на верхней поверхности, по которой перемещается рабочий орган отделочных устройств, предусматривается полоса шириной не менее 50 мм и толщиной 8 мм.

2.4. При подготовке формы к бетонированию необходимо обращать внимание на надежное крепление закладных деталей, исключающее их смещение в процессе формования. Способы крепления деталей следует принимать такими, чтобы операции по их установке, фиксации и освобождению выполнялись с минимальными затратами труда и времени.

2.5. Формы, не обладающие требуемой жесткостью, что определяется статистическим и динамическим расчетами или результатами опытных формовок, подлежат усилению.

2.6. Эксплуатацию формы следует проводить в соответствии с Руководством по эксплуатации стальных форм при изготовлении железобетонных изделий (М.: Стройиздат, 1972).

2.7. К стендам, предназначенным для изготовления пространственных конструкций, предъявляют такие же требования, что и к поддонам стальных форм по ГОСТ 25781-83.

2.8. При изготовлении пространственных конструкций с помощью вибропротяжных устройств или скользящей виброформы с целью предохранения свежеотформованной смеси от оплывания стенд рекомендуется выполнять из отдельных виброизолированных секций.

3. РЕЖИМЫ ВИБРАЦИОННОГО ФОРМОВАНИЯ

3.1. Процесс уплотнения бетонной смеси можно условно подразделить на следующие стадии.

Первая характеризуется образованием сплошной среды из рыхлонасыпанной бетонной смеси. При этом осуществляется взаимная перекомпоновка крупных и мелких частиц заполнителя с образованием макроструктуры бетона - его структурного каркаса. Продолжительность первой стадии зависит от исходной удобоукладываемости бетонных смесей: для литых смесей П4 она составляет 3...5 с, а для жестких составляет примерно (0,5...1,0) Ж, где Ж - жесткость, определяемая по ГОСТ 10181.0-81.

На второй стадии происходит дальнейшее сближение частиц заполнителя между собой и удаление некоторой части оставшегося воздуха. Продолжительность второй стадии составляет (1,0...4,0) Ж.

Жесткие смеси могут быть доуплотнены при условии дополнительного обжатия (статического или динамического) после завершения первых двух стадий. При уплотнении подвижных (П2...П4) смесей из-за быстрого протекания процесса уплотнения четкое разделение на стадии не наблюдается.

3.2. Для вибрационного формования применяют оборудование с вибрационным, ударно-вибрационным и ударным характером уплотняющих воздействий. Рабочие органы вибрационных формовочных машин при отсутствии бетонной смеси совершают гармонические колебания, относительно положения равновесия. Виброперемещения, виброскорости и виброускорения их симметричны относительно положения равновесия.

Рабочие органы ударно-вибрационных формовочных машин совершают негармонические колебания, сопровождающиеся соударением с ограничителем того или иного типа. Перемещение, скорость и ускорение машин в этом случае имеют асимметричный характер. Размах ускорения принято делить на верхнюю Ав и нижнюю Ан составляющие по нахождению рабочего органа в верхнем и нижнем положении, а отношение между, ними  определять как коэффициент асимметрии.

Ударные колебания возникают в результате соударения формы об ограничитель. Ударные колебания имеют также асимметричный характер.

3.3. Эффективность виброформования изделий зависит от интенсивности и продолжительности воздействия рабочего органа вибромашины на уплотняемую смесь.

Интенсивность1 (И) вибрационного воздействия может оцениваться:

а) максимальным ускорением колебаний рабочего органа формовочной машины (интенсивности по ускорению)

Иа = Аw2,

где         А - амплитуда перемещения;

w - круговая частота вибрирования;

б) величиной пропорциональной мощности колебаний рабочего органа формовочной машины (интенсивность по мощности)

ИN = f2w3).

1 При наличии специального обоснования могут быть использованы и другие характеристики эффективности виброформования (относительная деформация или ее скорость, градиент динамического давления, напряжение).

Интенсивностью по ускорению рекомендуется пользоваться преимущественно при оценке режимов работы действующих формовочных установок, проверке их в процессе изготовления изделий и отработке режимов формования.

Интенсивностью по мощности, как правило, пользуются при проектировании новых формовочных машин и отработке технологии массового производства изделий из жестких бетонных смесей.

Способы оценки интенсивности по ускорению приведены в табл. 1 и Приложении 7, а по мощности - в Приложении 7.

3.4. Продолжительность формования зависит от конфигурации и размеров изделий, насыщенности арматурой, вида оборудования, интенсивности вибрационного воздействия на смесь и ее удобоукладываемости.

Продолжительность вибрации принимается ориентировочно равной двум жесткостям смеси и проверяется опытным формованием, а контроль уплотнения осуществляется в соответствии с указаниями раздела 5.

Таблица 1

Рекомендуемые ускорения для формования изделий из различных бетонных смесей при стандартной частоте вибрирования

Индекс смесей
по ГОСТ 7473-85

П4

П3

П2

П1

Ж1

Ж2

Ж3

Ж 4

Ускорение, м/с2

1

2

2,5

3

4

5...6

7

7...8

3.5. При асимметричных режимах колебаний ускорением, осуществляющим уплотнение смеси, считают максимальное (пиковое) ускорение площадки в крайнем нижнем положении Ан. Верхняя составляющая при Ав > 1 создает условие для перекомпоновки частиц и позволяет ускорить процесс уплотнения. Применение асимметричных колебаний позволяет, не повышая частоту колебаний, увеличить значение уплотняющего ускорения до величины 6...8 g.

3.6. Повышение эффективности уплотнения жестких бетонных смесей может достигаться переменными режимами, учитывающими особенности механизма уплотнения на каждой из стадий, указанных в п. 3.1.

3.7. Литые бетонные смеси (П4), в том числе с добавкой пластификаторов, обладают пониженными величинами вязкости и сцепления. Для исключения эффекта расслоения их рекомендуется уплотнять при гармонических колебаниях с частотой не более 25 Гц и ускорением до 1,5...2,0 g.

3.8. При формовании крупноразмерных изделий рекомендуется учитывать волновые явления. Они связаны с частотой колебаний и длиной волны

L = c/f,

где            с - скорость распространения колебаний;

f - частота.

Способы учета волновых явлений приводятся в Приложении 7.

3.9. Рациональное формовочное оборудование выбирается с учетом вида изделия и его особенностей по табл. 2.

Таблица 2

Классификация и способы формования различных изделий

Группа

Отличительные признаки

Вид изделий 1

Оборудование и способы формования

I

Высокие вертикально поставленные или массивные конструкции со средней высотой слоя бетонной смеси больше 0,5 м

Фундаментные блоки, сборные элементы для массивной кладки и т.п.

Низкочастотные ударно-вибрационные и площадки с переменными параметрами колебаний; допускается применение пакетов глубинных вибраторов и площадок с горизонтальными колебаниями различных видов

Стеновые панели, изготавливаемые в вертикальных формах

Горизонтальное (поперечное) вибрирование; низкочастотные площадки с вертикально направленными или эллипсоидальными колебаниями; импульсные виброустройства; формование в кассетах

Объемные элементы зданий и сооружений

Низкочастотные виброплощадки; глубинное и наружное вибрирование, площадки с многокомпонентными колебаниями

Изделия, относящиеся к другим группам, но формуемые в вертикальном положении (например, трубы и кольца большого диаметра)

Навесные вибраторы; передвижной вибросердечник или наружная виброопалубка; горизонтально вибрирующий сердечник (виброколокол); площадки с многокомпонентными колебаниями

Конструкции типа колонн, стен и т.п.

Глубинное и наружное вибрирование; импульсные виброустройства; площадки с многокомпонентными колебаниями

II

Линейные конструкции значительной длины при относительно небольших сечениях

Призматические сплошные (ригели и балки, колонны, сваи, опоры линий электропередачи)

Горизонтальное (продольное) вибрирование к сочетании с вибропригрузом или скользящим виброштампом; ударно-вибрационные площадки блочного типа

Цилиндрические (трубы и трубчатые сваи)

Виброцентрифугирование (при диаметре до 1,2 м при длине до 25 м); вертикальные формы с вибровалами или навесными вибраторами (при диаметре 1,6...2 м и длине 10 м); низкочастотные ударно-вибрационные площадки с вертикальными колебаниями (при диаметре до 1 м и длине до 8 м)

III

Плоские конструкции

Плоские и ребристые плиты

Виброплощадки, виброштампы, вибропрокатные и скользящие виброустройства

 

 

Пустотные плиты

Вибрационные, ударно-вибрационные площадки с пригрузом и комплектом пустотообразователей; машины с вибровкладышами и пригрузом

 

 

Дорожные и аэродромные плиты, плиты полов промзданий и т.п.

Поверхностные вибраторы; виброрейки; машины с навесным виброоборудованием; скользящие виброустройства; вибропрессы

IV

Пространственные тонкостенные конструкции

Длинномерные с прямолинейной или слегка изогнутой осью и постоянным поперечным сечением, а также арочного типа

Скользящие виброустройства; виброплощадки с пригрузом

 

 

Двоякой кривизны (элементы сборных сводов-оболочек)

Стационарные виброштампы

4. КЛАССИФИКАЦИЯ ВИБРОФОРМОВОЧНОГО ОБОРУДОВАНИЯ

4.1. Основными классификационными признаками виброформовочного оборудования являются: способ формования, характер и направленность колебаний, соотношение вынуждающих и собственных частот колебаний, тип вибровозбудителя, число колеблющихся масс.

4.1.1. По способу вибрационного формования машины можно подразделить на виброплощадки, установки с горизонтальными колебаниями, виброштампы, скользящие вибропротяжные устройства, глубинные вибромашины, формовочные устройства комбинированных типов.

4.1.2. По характеру и направленности колебаний машины подразделяются: на гармонические, на круговые, гармонические с направлением колебаний в вертикальной или горизонтальной плоскостях; негармонические (ударно-вибрационные и ударные) с направлением уплотняющих воздействий в горизонтальной или вертикальной плоскостях; машины с пространственными и многокомпонентными колебаниями.

4.1.3. По соотношению вынуждающих и собственных частот колебаний - на резонансные и зарезонансные машины.

4.1.4. По типу вибровозбудителя - на машины с дебалансным, электромагнитным, кривошипно-шатунным и комбинированным возбудителем колебаний.

4.1.5. По числу колеблющихся масс - на машины одномассные, двухмассные, трехмассные.

4.1.6. Отличительным признаком виброплощадки является вовлечение в колебания формы с бетонной смесью, установленной на рабочем органе машины. Рабочий орган может быть выполнен в виде сплошной рамы или состоящей из нескольких секций (блоков).

4.1.7. Классификация виброплощадок по основным признакам приведена на рис. 1, а техническая характеристика виброплощадок дана в Приложениях 3 и 4.

4.2. Схемы основных видов виброплощадок показаны на рис. 2.

4.2.1. Площадка с круговыми колебаниями (рис. 2, а) представляет собой сплошную раму с прикрепленным к ней одним или несколькими вибровозбудителями. Такие площадки имеют ограниченное применение и используются для формования изделий небольших размеров и масс (h ~ 0,2 м, m < 1 т). Параметры их колебаний: амплитуда U0 = 3...0,5 мм, частота f = 45...50 Гц.

Рис. 1. Классификация виброплощадок

Рис. 2. Принципиальные схемы виброплощадок:

1 - рабочий орган; 2 - форма с бетонной смесью; 3 - вибровозбудитель колебаний

4.2.2. Виброплощадка с направленными колебаниями (рис. 2, б) состоит из ряда секций, на которых закреплены унифицированные виброблоки, синхронные и синфазные колебания которых обеспечиваются установкой синхронизаторов. Виброплощадки такого типа применяются для формования плоских изделий h = 0,3...0,4 м из малоподвижных и умеренно жестких бетонных смесей. Параметры колебаний: амплитуда U0 = 0,4...0,6 мм, частота f = 50 Гц.

4.2.3. Виброплощадка с многокомпонентными колебаниями (рис. 2, в) представляет собой раму с укрепленным на ней вибровозбудителем с вертикальным валом. Виброплощадка применяется для формования изделий из подвижных и литых бетонных смесей. Параметры колебаний: амплитуда горизонтальных колебаний Uг = 0,6...0,8 мм; амплитуда вертикальных колебаний Uв = 0,2...0,4 мм; частота колебаний f = 24...25 Гц.

4.2.4. Установка горизонтального действия (рис. 2, г) представляет собой двухмассную систему, состоящую из резонансной «активной» массы, к которой кренится вибровозбудитель, и «пассивной» массы, включающей раму и форму с бетонной смесью. Обе массы соединены между собой упругими связями, жесткость которых выбирается таким образом, чтобы установка работала в околорезонансном режиме колебаний. Опоры «активной» и «пассивной» масс представляют собой мягкие упругие элементы, обеспечивающие виброизоляцию фундамента. Вибровозбудители могут создавать колебания формы как направленные (продольно-горизонтальные), так и эллиптические. Применяются виброустановки для формования длинномерных изделий. Параметры колебаний; амплитуда U0 = 0,4...0,8 мм, частота f = 45...50 Гц.

4.2.5. Ударно-вибрационная площадка (рис. 2, д) состоит из колеблющихся в вертикальном направлении рамы с формой и уравновешивающей рамы. Между ними расположены поддерживающие упругие связи и буфера, соударяющиеся только при встречном движении колеблющихся рам. Уравновешивающая рама установлена на упругие опоры. Колебания возбуждаются кривошипно-шатунным приводом с упругим шатуном. Площадка применяется для формования изделий из малоподвижных и жестких бетонных смесей. Параметры колебаний: амплитуда колебаний (полуразмах) U0 = 4...10 мм, частота f = 10...15 Гц.

4.2.6. Ударно-вибрационная площадка (рис. 2, е) состоит из отдельных блоков, на которых закреплены ограничители колебаний. При колебаниях форма отрывается от ограничителей, и при встречном движении происходит соударение формы с блоками. Приводом являются вибровозбудители общего назначения (Приложение 3), устанавливаемые по два на каждый блок. Площадка применяется для формования изделий из подвижных и малоподвижных смесей. Параметры колебаний: амплитуда (полуразмах) U0 = 0,8...1,0 мм, частота f = 25 Гц.

4.2.7. Ударная (кулачковая) площадка (рис. 2, ж) содержит раму для крепления формы, кулачковые валы с приводом и соударяющиеся устройства. Движение рамы с формой обеспечивается за счет ее подъема с помощью кулачков на заданную высоту и последующего падения на элементы, установленные на опорной раме. Применяется площадка для формования изделий из жестких бетонных смесей. Режимы колебаний: высота подъема рамы с формой 3...7 мм, частота ударов 2...4 Гц.

4.3. Устройство и применение поверхностных вибромашин.

4.3.1. Поверхностные машины для уплотнения бетона - это класс машин, у которых взаимодействие рабочего органа с бетонной смесью осуществляется через горизонтальную, наклонную или вертикальную открытую поверхность формуемого изделия.

Рис. 3. Принципиальные схемы поверхностных вибромашин полного воздействия:

а - одномассный вибропресс; б - двухмассный виброштамп; в - одномассный вибропресс с пневмоприжимом

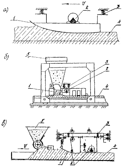
Процесс формования поверхностными машинами осуществляется или воздействием рабочего органа по всей площади изделия - машины полного воздействия (вибропрессы, виброштампы), или путем последовательного уплотнения при взаимном перемещении машины и изделия - машины последовательного воздействия (виброрейки, вибронасадки, скользящие виброштампы, вибропротяжные установки).

4.3.2. Машины полного воздействия включают вибропрессы и виброштампы (рис. 3). Уплотнение на этих машинах осуществляется следующим образом. Бетонную смесь засыпают в форму, после чего рабочий орган пресса или штампа, перемещаясь по вертикали и одновременно вибрируя, приводит смесь в состояние тиксотропного разжижения и из разжиженной смеси формует изделие. Основные показатели вибропрессовочного оборудования даны в Приложении 6.

Рис. 4. Принципиальные схемы поверхностных вибромашин последовательного действия:

а - скользящий виброштамп; б - формующий агрегат с вибропротяжным устройством; в - оборудование разночастотного действия (1 - рабочий орган, 2 - вибровозбудитель; 3 - подвеска; 4 - форма с бетонной смесью, 5 - бункер)

Вибропрессы применяются для изделий простой конфигурации, а виброштампы для изделий усложненной конфигурации.

Для реализации процессов вибропрессования и виброштампования необходима предварительная раскладка смеси при обеспечении точного ее дозирования с учетом конфигурации профиля изделия.

Особенностью этого класса поверхностных вибромашин является необходимость создания сравнительно высокого давления в процессе формования. Это обеспечивается с помощью инерционных или безынерционных устройств (пружинных, пневматических, гидравлических или комбинированных пригрузов).

4.3.3. Машины последовательного воздействия - к ним относятся виброрейки, скользящие виброштампы вибропротяжные устройства (ВПУ), оборудование разночастотного действия (ПВУ).

Принцип работы вибромашин последовательного действия заключается в том (рис. 4, а), что рабочий орган последовательно перемещаясь вдоль открытой части изделия, производит работу по его уплотнению. Наиболее совершенные рабочие органы (ВПУ и ПВУ) содержат механизмы для распределения бетонной смеси, уплотнения ее, а также заглаживания лицевой поверхности.

Вибропротяжное устройство (рис. 4, б) состоит: из бункера, в котором бетонная смесь, поступающая из бункера-накопителя формующей установки, предварительно или полностью уплотняется и выдается в форму, распределяющего устройства для укладки и профилирования смеси и скользящего виброштампа для доуплотнения и заглаживания поверхности изделия.

4.3.4. Выбор типа поверхностных вибромашин следует производить в соответствии с табл. 2.

4.4. Схема устройства и применение глубинных вибромашин.

4.4.1. Отличительная особенность глубинных вибромашин заключается в том, что их рабочий орган погружается непосредственно в массив бетонной смеси, осуществляя таким образом ее уплотнение. Конструктивно рабочие органы глубинных вибромашин выполняются цилиндрическими или плоскостными. Цилиндрический совершает круговые колебания, а плоскостной - направленные.

4.4.2. Наиболее целесообразно применять глубинные вибромашины при уплотнении бетонной смеси подвижностью 1...6 см. Зона уплотнения характеризуется радиусом R или дальностью действия D. Величина этих параметров зависит, главным образом от диаметра рабочего органа d цилиндрической вибромашины и ширины рабочего органа b плоской вибромашины: R = (4...5) d; D = (1,5...2) b.

4.4.3. Подразделяются глубинные вибромашины на ручные и подвесные. Ручные массой 5...30 кг применяются при формовании крупногабаритных изделий сборного железобетона, преимущественно при стендовой схеме производства. Производительность ручных машин 3...5 м3. Подвесные массой 100...800 кг наиболее широко применяются при возведении различных гидротехнических сооружении. Производительность этих машин 20...50 м3/ч. Техническая характеристика машин дана в Приложении 1.

Рис. 5. Схемы ручных вибромашин:

а - глубинные вибромашины со встроенным двигателем; б - вибромашина с вынесенным двигателем (1 - корпус; 2 - дебаланс; 3 - электродвигатель)

4.4.4. Наиболее характерны два типа ручных вибромашин: с вынесенным или встроенным электродвигателем (рис. 5). В машинах с вынесенным электродвигателем используются преимущественно планетарный вибровозбудитель, а с встроенным - дебалансный.

4.4.5. Плоскостные вибромашины (рис. 6) выполняются с вынесенным и встроенным, приводом. Для получения направленных колебаний используется эффект, самосинхронизации двух вибровозбудителей, объединенных жесткой связью (плитой) на мягкой подвеске.

4.4.6. При выборе типа глубинного вибровозбудителя следует учитывать расстояние между стержнями арматуры, которое должно составлять не менее 1,5 диаметра вибронаконечника.

Рис. 6. Плоскостная глубинная вибромашина:

1 - корпус; 2 - дебаланс; 3 - электродвигатель

4.5. Схемы устройства и применение кассетных установок.

4.5.1. Кассетные установки представляют собой категорию машин, в которых осуществляется формование и термообработка изделий одновременно в нескольких отсеках. Техническая характеристика этих машин дана в Приложении 5.

4.5.2. Кассетная установка содержит многоместную кассетную форму (от 2 до 12 отсеков) и устройство для сборки и разборки ее. Конкретно конструкция установки зависит от количества и тина изготавливаемых изделий, способа виброуплотнения и типа распалубочного устройства. В процессе распалубки и подготовки к формованию отдельные элементы кассетной формы (разделительные щиты) могут перемещаться параллельно друг другу, поворачиваться вокруг вертикальной или горизонтальной оси.

4.5.3. Кассетная форма выполняется из ряда тепловых стенок, между которыми установлены разделительные листы. Тепловые стенки и разделительные листы снабжены соответствующей бортоснасткой и проемообразователями. В отдельных случаях кассетная форма может быть выполнена только из тепловых стенок.

4.5.4. Уплотнение бетонной смеси в кассетных установках осуществляется одним из указанных ниже способов:

с помощью навесных вибраторов, прикрепленных к торцам разделительных листов;

с помощью глубинных вибраторов;

с помощью отдельных виброблоков или вибровалов, прикрепляемых на наружных стенках крайних щитов.

4.5.5. При использовании наружных вибраторов, прикрепляемых к торцам разделительных листов, рекомендуются вибраторы с частотой колебаний 25 и 30 Гц. Мощность вибраторов подбирают в зависимости от вибрируемой массы и необходимой интенсивности вибраторов.

4.5.6. Наиболее целесообразно на каждом из разделительных листов устанавливать два вибратора, по одному с каждой стороны. При этом вибраторы следует устанавливать в верхней трети листа на расстоянии не менее 500 мм от верхней кромки и ротор вибраторов располагать вертикально.

4.5.7. В случае изготовления густоармированных изделий сложной конфигурации с проемами, затрудняющим укладку и уплотнение бетонной смеси, может быть рекомендована установка на каждом разделительном листе четырех вибраторов, по два на противоположных торцах. При этом один вибратор устанавливается в нижней трети листа, а другой - в верхней. В процессе укладки и уплотнения смеси не рекомендуется одновременное включение вибраторов, установленных в верхнем и нижнем уровнях.

4.5.8. С целью повышения интенсивности вибрирования, возможности использования более жестких бетонных смесей и повышения однородности их уплотнения рекомендуется установка дополнительного вибратора на верхней кромке каждого из разделительных листов и выполнение конструктивных мероприятий, обеспечивающих ликвидацию защемления разделительных листов в процессе обжатия пакета.

4.5.9. Дополнительный вибратор следует располагать в центральной части разделительного листа на специальной площадке таким образом, чтобы ротор вибратора был горизонтален, а опорная площадка находилась в плоскости разделительного листа (рис. 7).

4.5.10. Частичное освобождение разделительных листов от защемления может быть достигнуто путем использования распорных конусов (рис. 8) специальной конструкции (полный конус с распорной штангой), обеспечивающих передачу распорных усилий только на тепловые стенки. Элементы бортоснастки выполняются при этом с минусовым допуском в 2...3 мм, а образующийся зазор перекрывается уплотнительными втулками.

Рис. 7. Схема установки вибраторов на верхней части разделительных листов:

1 - тепловые стенки, 2 - разделительные листы; 3 - кронштейны; 4 - вибраторы

Рис. 8. Схема установки распорных конусов:

1 - стенка; 2 - лист; 3 - днище; 4 - уплотнение; 5 - ребро; 6 - штанга; 7 - полый конус

4.5.11. С целью повышения эффективности виброуплотнения и надежности работы оборудования непрерывное время работы прикрепляемых вибраторов не должно превышать 2...3 мин с последующими перерывами в течение 6...8 мин. В соответствии с указанным подачу бетонной смеси следует планировать таким образом, чтобы в течение 2...3 мин смесь подавалась в первые два отсека, затем в последующие с возвращением к первым отсекам до тех пор, пока форма не будет полностью заполнена.

4.5.12. При использовании дополнительных вибраторов, установленных на верхней кромке, разделительных листов, включение их должно осуществляться поочередно с боковыми, установленными по торцам.

4.5.13. Использование глубинных вибраторов может быть рекомендовано в случаях, когда наружные прикрепляемые вибраторы малоэффективны (например, в случаях выполнения кассетной формы из тепловых стенок без разделительных листов), а также в случае повышения требований к качеству поверхности изделий.

4.5.14. Выбор типа вибраторов должен осуществляться с учетом требований, изложенных в Приложении 9, а также с учетом конструкции арматурных каркасов. Предпочтительно использование вибраторов с частотой колебаний 8000...12000 кол/мин.

4.5.15. С целью повышения качества уплотнения и снижения трудоемкости работ рекомендуется использование траверс с гирляндой глубинных вибраторов. Подъем и погружение вибраторов в этом случае производится с помощью специального механизма или крана.

4.5.16. В случае использования централизованного вибропривода в виде виброблоков, устанавливаемых на наружных стенках крайних щитов, кассетную установку рекомендуется устанавливать на упругое основание (резинометаллические опоры) (рис. 9).

4.5.17. Рекомендуется использование виброблоков с вертикальным валом, устанавливаемых на жесткой распорной раме. С целью создания горизонтальных колебаний, перпендикулярных плоскости формуемых изделий, на раме устанавливается два блока со встречным вращением роторов.

Таблица 3

Способ виброуплотнения

Амплитуда смещения в плоскости, перпендикулярной поверхности щитов, мм

Подвижность бетонной смеси OK, см

Пустой отсек

Полный отсек

Прикрепляемые вибраторы на разделительных листах

 

 

 

В том числе:

 

 

 

вибраторы по торцам

0,3...0,5

0,05...0,1

10...12

вибраторы по торцам и на верхней части, листа

0,4...0,6

0,15...0,2

6...8

Прикрепляемые вибраторы на разделительных листах при освобождении от защемления

0,5...0,6

0,2...0,25

5...6

Глубинные вибраторы

-

-

10...14

Виброблоки на наружных стенках крайних щитов при упругом опирании пакета

0,6...0,8

0,3...0,35

3...4

Рис. 2. Кассетная установка на упругом основании:

1 - рама; 2 - вибробалка; 3 - виброблок; 4 - пакет термощитов; 5 - механизм распалубки; 6 - упругие опоры

4.5.18. Расчет вибропривода и упругих опор производится в соответствии с рекомендациями, изложенными в Приложении 8.

4.5.19. Подвижность бетонных смесей, используемых при изготовлении изделий в кассетных установках, назначается в зависимости от достигнутых параметров вибрирования и конструкций изделий и может быть принята в соответствии с табл. 3.

5. КОНТРОЛЬ РЕЖИМА РАБОТЫ ВИБРОФОРМОВОЧНОГО ОБОРУДОВАНИЯ

5.1. Проверку соответствия фактических параметров вибрации заданным следует производить еженедельно в четырех - шести характерных точках при полной паспортной загрузке вибромашины. В случае, когда форма с изделием через резиновые прокладки свободно устанавливается на стол виброплощадки, параметры вибрации следует замерять непосредственно на форме, при этом контрольные замеры проводятся не только еженедельно, но и при каждой смене резиновых прокладок или вида изделия.

5.2. Для контроля параметров вибрации допускается применение любой аппаратуры, регистрирующей, соответствующие параметры колебаний. Данные некоторых видов такой аппаратуры приведены в табл. 4.

5.3. Требуемое качество изделий в процессе формования обеспечивается:

соответствием удобоукладываемости бетонной смеси принятым режимам формования;

соответствием фактических характеристик формующего оборудования требуемым;

соблюдением необходимой продолжительности уплотнения.

5.4. Контроль степени уплотнения бетонной смеси осуществляется, в соответствии с ГОСТ 10181.2-81. Фактическое значение средней плотности уплотненной бетонной смеси сравнивается с теоретическим и подсчитывается коэффициент уплотнения

.

Рекомендуемая величина Ку = 0,98.

Таблица 4

Виброизмерительная аппаратура

Наименование аппаратуры

Тип, марка

Частотным диапазон, Гц

Диапазон измерений

Масса, кг

Завод-изготовитель, фирма

Ориентировочная стоимость, руб.

Измеритель шума и вибрации

ИШВ-1

10...12500

30...130 дБ

35

«Вибропрйбор» Таганрог

1300

Виброизмерительная аппаратура

Robotron 00042

0,5...4000

0,05...1000 м. с-2

8,5

VEB Robotron ГДР

1800

Виброизмерительная аппаратура

ВИ6-5МА

0...200

0...450 м. с-2

7

-

-

Виброграф ручной

ВР-1А

5...100

10-4...6.10-3 м

1,5

«Виброприбор» Таганрог

185

Виброметр

ВИП-2

12,5...200

2 . 10-6...10-3 м

3,6

«Виброприбор» Таганрог

290

Виброметр

BM-1

1,4...800

10-3...103 м . с-2

7,8

Кокчетавский приборостроительный завод

1040

5.5. Равномерность уплотнения бетонной смеси при выбранных режимах формования оценивается по расслаиваемости в соответствии с ГОСТ 10181.4-81. Показатель раствороотделения не должен превышать 6...8 % при осадке конуса до 10 см и 10...12 % при осадке конуса более 10 см.

5.6. Равномерность уплотнения бетонной смеси в изделии рекомендуется проверять с использованием неразрушающих методов контроля однородности бетона по ГОСТ 18105.0-80. Наиболее распространенным методом является ультразвуковой по ГОСТ 17624-78.

5.7. Качество уплотнения бетонной смеси при выбранных режимах формования может быть оценено испытанием на прочность бетонных образцов-кубов в соответствии с ГОСТ 10180-78. Для этого формы с образцами должны крепиться к вибрируемой раме. Продолжительность уплотнения образцов определяется временем до появления цементного молока на верхней поверхности формуемой смеси. Затем через 10...15 с прекращают вибрационное воздействие. Предел прочности на сжатие образцов должен соответствовать заданной марке бетона.

6. ОТДЕЛКА СВЕЖЕОТФОРМОВАННЫХ ИЗДЕЛИЙ

6.1. Отделка свежеотформованных изделий производится заглаживанием открытых поверхностей в процессе формования изделий. Заглаживание, как правило, механизировано и должно обеспечивать требования соответствующих нормативных документов к внутренним поверхностям помещений жилых и общественных зданий, предназначенных для окраски и оклейки различными материалами.

6.2. Для отделочных слоев желательно применение цементов, которые после заглаживания верхних поверхностей изделий имеют незначительное водоотделение.

6.3. Для растворных отделочных слоев следует применять пески модулем крупности не более 1,8. В отдельных случаях после соответствующего обоснования и заводских испытаний могут быть допущены более крупные пески.

6.4. Подвижность растворных и бетонных смесей следует назначать в соответствии с техническими параметрами вибрационного и заглаживающего оборудования.

6.5. Отделочные растворные смеси следует укладывать только на уже уплотненные бетонные смеси, обеспечивая толщину отделочного слоя.

6.6. Механизмы для заглаживания применяются в качестве навесного оборудования бетоноукладчиков, в виде отдельных самоходных машин или как ручной инструмент.

6.7. Для получения поверхностей повышенного качества следует производить предварительное заглаживание виброзаглаживающими устройствами «лыжами» (брусковое заглаживание) или вращающимися валиками, а окончательное - дисками.

6.8. В период предварительного заглаживания следует обеспечить равномерное распределение отделочного раствора по всей поверхности изделия и выравнивать его по плоскости. Заглаживание следует производить за 2-3 прохода.

7. ЭКСПЛУАТАЦИЯ И РЕМОНТ ВИБРАЦИОННЫХ МАШИН

7.1. Для надежной и эффективной работы вибромашин необходимо соблюдать основные правила их монтажа, наладки и эксплуатации. Монтаж вибрационных машин производится согласно чертежам, в которых должны учитываться требования по виброизоляции в соответствии с СТ СЭВ 1932-79.

7.2. Общим требованием является правильная настройка на расчетный режим:

все дебалансы должны быть отрегулированы на расчетную величину статического момента;

на каждом валу (на параллельных валах между ними) дебалансы выставляются строго синфазно;

для вибромашин направленных колебаний проверяется направление вращения валов.

Перед пуском вибромашин необходимо проверить:

свободу вращения всех валов;

отсутствие соударения витков опорных пружин при полной загрузке;

надежность закрепления форм и вспомогательного оборудования;

наличие и уровень смазки в вибровозбудителях и синхронизаторах.

7.3. Пробные запуски следует производить с незагруженной вибромашиной сначала в течение 1...2 с, затем 10...20 с, затем 60...80 с. Первые 30 мин рекомендуется через 5 мин работы делать 10 мин перерыв. Наличие смазки в вибраторах проверяется через каждые 200 ч работы. Температура корпуса вибромашины при работе не должна превышать температуру окружающей среды более чем на 60 °С.

Не рекомендуется длительная (более 10 мин) непрерывная работа вибромашины, если в подшипниках ее узлов нет принудительного охлаждения, а также работа вибромашин вхолостую. При эксплуатации необходимо соблюдать проектный режим колебаний (амплитуда, частота), а также не превышать расчетную грузоподъемность машины более чем на 15 %.

7.4. Кроме перечисленных общих требований, для каждой машины в процессе эксплуатации необходимо соблюдение специфических правил, присущих только этому типу машин.

Так, при виброуплотнении на виброплощадках необходимо:

чтобы консольный свес формы от края виброрамы машины или блока был менее 5 % линейного размера формы, но не более 0,3 м;

номенклатуру изделий, формуемых одной машиной, подбирать таким образом, чтобы не превышать грузоподъемность в указанных выше пределах;

при эксплуатации ударных площадок свес формы не допускается;

амплитуды смещений по площади формы не должны отличаться между собой более чем на 20 %.

7.5. Уровень приводных валов синхронизаторов должен быть ниже уровня валов виброплощадки примерно на 0,75 от величины осадки виброплощадки под максимальной загрузкой. При этом соблюдается строгая соосность и прямолинейность валов виброблоков и валов синхронизации.

7.6. При эксплуатации поверхностных вибромашин последовательного действия необходимо:

чтобы нижний уровень горизонтальной части профиля скользящих рабочих органов находился на высоте бортов (+0,5...1 мм);

чтобы объем накопительного бункера бетоноукладчиков, питающих вибромашины последовательного действия, был равен или кратен объему формуемого изделия. Для обеспечения постоянного подпора в вибробункере подача смеси в него должна осуществляться непрерывно;

чтобы выходное отверстие промежуточного рабочего органа было оборудовано затвором-отсекателем, обеспечивающим плавную регулировку выходного отверстия в начале и в конце формования. Началу движения форм (или рабочего органа) должно предшествовать включение вибровозбудителей в течение 25...40 с при одновременной подаче смеси в вибробункер. После окончания формования при перерывах более 2 ч необходимо промывать бункер или производить вибрационную его очистку в течение 2...3 мин. Особенно строго это следует соблюдать, если в конструкции бункера предусмотрены устройства дополнительного вибровозбуждения типа стержней, решеток и т.п.

7.7. Необходимо тщательно следить, чтобы при работе поверхностных вибромашин на направляющих поверхностях бортов форм не было наплывов бетона.

7.8. Нельзя прижимать рабочий орган глубинного вибратора к арматуре или опалубке во избежание выхода из строя электродвигателя, других деталей вибромашины или повреждения опалубки. Не допускать продолжительной работы вибромашины на холостом ходу, особенно для вибромашин со встроенным высокочастотным двигателем, рассчитанным на непрерывное охлаждение бетонной смесью. Запуск и остановка вибромашины должны осуществляться вне бетонной смеси. При уплотнении нужно обеспечивать полное погружение рабочего органа в смесь, извлечение вибромашины производить медленно, желательно с небольшим наклоном.

Периодичность цикла технического обслуживания и ремонта формующего оборудования рекомендуется принимать по табл. 5.

Таблица 5

Оборудование

Периодичность технического ухода и ремонта, ч

Технический уход

Текущий ремонт

Средний ремонт

Капитальный ремонт

Бетоноукладчики

50

1500

7500

15000

Машины для изготовления пустотных изделий

550

1500

4500

9000

Виброплощадки блочные

315

1260

6300

12600

Пригрузочные щиты

200

100

3000

9000

8. ТЕХНИКА БЕЗОПАСНОСТИ

8.1. В соответствии с Кодексом законов о труде директор и главный инженер предприятия несут персональную ответственность за своевременное внедрение современных средств техники безопасности, предупреждающих производственный травматизм, и обеспечение санитарно-гигиенических условий, предотвращающих возникновение профессиональных заболеваний.

8.2. Главными мероприятиями по соблюдению санитарных норм являются: своевременное обновление устаревшего оборудования, содержание оборудования в исправном состоянии, высококачественный и своевременный ремонт, обеспечение высокой степени трудовой дисциплины, повышение квалификации рабочих, строжайшее соблюдение техники безопасности и эксплуатации оборудования. Большое значение имеет соблюдение режима труда и отдыха, обеспечение средствами индивидуальной защиты, санитарно-бытовое обеспечение, медицинский контроль, лечебно-профилактические меры.

8.3. В проекте предприятия в мероприятиях по технике безопасности должны быть отражены все предложения по уменьшению вибрации и шума, подтвержденные соответствующими акустическими, экономическими и другими расчетами. При проектировании учитываются требования СНиП II-19-79, СНиП 11-12-77, а также Руководства по расчету и проектированию шумоглушения в промышленных зданиях (М.: Стройиздат, 1981), Руководства по технико-экономической оценке способов формования, бетонных и железобетонных изделий (М.: Стройиздат, 1978).

Расчеты виброизоляции рабочих мест при проектировании предприятий следует проводить согласно ГОСТ 12.1.003-83.

8.4. Шум в инфразвуковом диапазоне нормируется согласно СН 22-74 Минздрава СССР. Шум в ультразвуковом диапазоне нормируется согласно ГОСТ 12.1.001-83.

Методы измерения шумовых характеристик машин и ручного механизированного инструмента должны соответствовать ГОСТ 12.2.030-83.

Технические и метрологические характеристики акустической аппаратуры, используемой и измерительных трактах, должны соответствовать требованиям ГОСТ 17.187-81.

Аппаратура, используемая для измерений, должна иметь действующие свидетельства о Государственной проверке по ГОСТ 8.002-71.

8.5. Гигиеническое нормирование параметров вибрации, воздействующей на человека в производственных условиях, должно проводиться согласно ГОСТ 12.1.012-78.

8.6. Измерения параметров вибрации проводятся в соответствии с ГОСТ 13731-68.

8.7. Средства измерения вибрации на рабочих местах должны отвечать требованиям ГОСТ 12.4.012-83.

8.8. При разработке мероприятий по обеспечению требуемых условий труда рабочих формовочных цехов рекомендуется использовать следующие нормативные документы: Руководство по улучшению условий труда рабочих вибро- и шумоопасных профессий на предприятиях стройиндустрии (М:. Стройиздат, 1977); Руководство по проектированию виброизоляции машин и оборудования (М.: Стройиздат, 1973); Положение о режиме труда работников виброопасных профессий (М.: ВЦСПС, Минздрав СССР, Госкомтруд СССР 1974).

8.9. В тех случаях, когда исчерпаны технические возможности снижения вибрации и шума, необходимо уменьшать время работы.

ПРИЛОЖЕНИЕ 1

ТЕХНИЧЕСКИЕ ХАРАКТЕРИСТИКИ ГЛУБИННЫХ ВИБРОМАШИН

Глубинные вибромашины изготавливаются с электрическим и пневматическим приводом; имеют планетарный или дебалансный вибровозбудитель (табл. П.1.1 и П.1.2).

Таблица П. 1.1

Техническая характеристика глубинных вибромашин с электрическим приводом завода «Красный маяк»

Индекс вибромашины

Диаметр, мм

Частота колебаний, кол/мин

Вынуждающая сила, Н

Масса, кг

Мощность, Вт

Высота рабочей части, м

Частота тока, Гц

Напряжение, В

Вибромашины со встроенным электродвигателем

ИВ-95

75

12000

6350

13,3

800

0,49

200

127, 220

ИВ-102

76

12000

4000

16

750

0,49

200

40

ИВ-103

114

6000

7500

24

800

0,48

200

40

Вибромашины с вынесенным двигателем

ИВ-113

38

20000

1500

2,6*

550

0,42

50

40

ИВ-112

51

16000

3000

4,5*

550

0,41

50

40

ИВ-476

76

10000

4750

8,6*

750

0,43

50

36

Навесные вибромашины

ИВ-90

133

8000

8000

130

2800

1,1

50

220, 380

ИВ-114

133

8000

7500

110

1500

1,25

50

380

* Масса вибронаконечника.

Таблица П.1.2

Техническая характеристика глубинных ручных вибромашин с пневматическим приводом* завода строительных машин, г. Одесса

Индекс вибромашины

Диаметр, мм

Частота колебаний,
с-1

Вынуждающая сила,

Н

Масса, кг

Высота рабочей части, м

Рабочее давление, МПа

Расход воздуха, м3/мин

ИВ-69

28

267

-

3,5

320

0,5

1,6

ИВ-13

34

230...43

-

3,5

315

0,5

0,65

ВП-1

50

200

1600

5,6

300

0,5

0,7

ИВ-15

75

197...38

-

11,2

375

0,5

1,25

ВП-3

100

133

7000

20,0

450

0,5

1,1

ИВ-16

110

150...30

-

3,5

480

0,5

1,6

* Рабочий орган - цилиндрический, вибровозбудитель - планетарный.

ПРИЛОЖЕНИЕ 2

ТЕХНИЧЕСКИЕ ХАРАКТЕРИСТИКИ ВИБРОМАШИН ОБЩЕГО НАЗНАЧЕНИЯ

Вибромашины общего назначения изготавливаются заводом «Красный маяк» г. Ярославля за исключением ИВ-91, выпускаемого заводом строительно-отделочных машин г. Одессы (рис. П.2.1 и П.2.2).

Рис. П. 2.1. Вибромашина общего назначения с круговыми колебаниями

Рис. П. 2.2. Вибромашина общего назначения с направленными колебаниями

Технические характеристики вибромашин общего назначения приведены в таблице.

Индекс вибромашины

Частота колебаний, Гц

Вынуждающая сила, Н

Мощность, Вт

Номинальное напряжение, В

Габариты, мм

Масса, кг

длина, L

ширина, В

высота, Н

Вибромашины общего назначения с круговыми колебаниями

ИВ-96

50

17000...34000

1500

380

585

380

335

110

ИВ-93

50

5700...11500

550

36/380

390

240

250

23

ИВ-99

50

2300...4600

250

36/380

330

194

200

14

ИВ-104

25

3100...6250

370

40/380

438

240

250

29,5

ИВ-105

25

12500...25000

1100

380

565

345

320

90

MB-106

25

6200...12500

750

380

535

280

290

52

ИВ-107

50

10000...20000

1100

380

460

280

280

44

ИВ-111

100

2800...5600

550

127/220

325

190

200

12,5

Вибромашины общего назначения с направленными колебаниями

ИВ-101

50

2300...4600

250

36/380

330

191

331

18,5

ПРИЛОЖЕНИЕ 3

ТЕХНИЧЕСКИЕ ХАРАКТЕРИСТИКИ СЕРИЙНЫХ ВИБРОПЛОЩАДОК ЧЕЛЯБИНСКОГО ЗАВОДА «СТРОЙМАШИНА»

Челябинским заводом «Строймашина» выпускается ряд серийных виброплощадок блочной конструкции с вертикально направленными колебаниями СМЖ-187А, СМЖ-200Б, СМЖ-199А, СМЖ-164 и ударно-вибрационные площадки СМЖ-460 и СМЖ-538 (см. табл. Прил. 3).

Блочные виброплощадки с гармоническими колебаниями отличаются друг от друга количеством скомпонованных виброблоков, расстоянием между ними, мощностью привода. Все блоки имеют механический синхронизатор, оснащены электромагнитами для крепления форм и комплектуются шумозащитным кожухом.

Ударно-вибрационная площадка СМЖ-460 относится к машинам рамного типа с кривошипно-шатунным приводом. Работает площадка в зоне, близкой к резонансу. Форма крепится к рабочему органу электромагнитами.

Ударно-вибрационная площадка СМЖ-538 относится к площадкам блочного типа, приводом которой является вибровозбудитель общего назначения типа ИВ-96. Форма к виброблокам не крепится, а устанавливается на упругие прокладки, закрепленные на внешней поверхности виброблоков. Для устранения сползания формы с блоков устанавливаются ограничители.

Технические данные серийных виброплощадок Челябинского завода «Строймашина»

Показатель

Тип виброплощадки

СМЖ-187А

СМЖ-200Б

СМЖ-199А

СМЖ-164

СМЖ-198

СМЖ-280

СМЖ-460

СМЖ-538

Номинальная грузоподъемность, т

10

15

24

40...56

15

20

15

18

Число блоков

8

8

16

14

2

2

1

4

Суммарный статический момент, кгм . 10-2

37

45

60

74;90;120;160

74

37;54;72

 

121

Колебания рабочего органа

Вертикально направленные

Горизонтально направленные

Вертикально направленные асимметричные

Вертикально направленные ударные

Частота колебаний, f, Гц

50

50

50

50

42

40...50

9...11

 25

Амплитуда колебаний, мм

0,2...0,5

0,2...0,5

0,2...0,5

0,2...0,5

0,4...0,6

0,4...0,6

2...8

0,8...1

Способ крепления формы

Электромагнитный

 

Гидравлический

Пневматический

Электромагнитный

Без крепления

Установленная мощность, кВт

60

83

120

234,5

22

19

30

8,8

Габаритные размеры, мм:

 

 

 

 

 

 

 

 

длина

8500

10260

15070

18900

8340

9676

5550

5900

ширина

 2986

2986

3006

3040

3200

3206

2090

2800

высота

664

664

664

720

1224

1133

1399

670

Общая масса, кг

6500

6950

13150

16150

5400

6800

20400

5440

ПРИЛОЖЕНИЕ 4

ВИБРОПЛОЩАДКИ РАМНОГО И БЛОЧНОГО ТИПА, ИЗГОТАВЛИВАЕМЫЕ МИНИСТЕРСТВАМИ И ВЕДОМСТВАМИ

К машинам рамного типа с гармоническими колебаниями относятся низкочастотные виброплощадки с многокомпонентными колебаниями, техническая характеристика которых приведена в табл. П.4.1.

К машинам рамного типа с низкочастотными асимметричными колебаниями относятся виброплощадки типа ВРА, технические данные которых приведены в табл. П.4.2.


Таблица П. 4.1

Технические характеристики различных модификаций виброплощадок с многокомпонентными колебаниями

Показатели

Един. измерения

Значения

ВП-2

ВПГ-1,5х6

ВПГ-10М2

ВO-10M

ВПГ-Зх7М

ВПГ-20

ВПК-25

ВПГ2х14М

BО-25M

BПГ-25М

ВПС-04

ВПГ-50

УВУ-8

Грузоподъемность

т

0,2...l

до 10

4...12

4...12

15

до 20

до 25

10...25

10...25

10...25

10...25

20...60

2...10

Установочная мощность

кВт

0,4...2

11

11

11

11

17

22

30

22

30

30

60

11

Масса площадки

кг

1440

4693

4500

4630

5300

4900

4600

8300

7300

7 140

9100

14400

5400

Габаритные размеры:

мм

 

 

 

 

 

 

 

 

 

 

 

 

 

длина

 

3500

6600

6700

4000

6700

4250

6600

15000

4000

8000

11600

16680

6650

ширина

 

1300

1600

1800

3300

3000

2776

2480

2000

3000

2900

3200

2800

2400

высота

 

730

 

 

 

 

885

 

 

 

 

 

 

 

Тип вибратора

 

ИB-68

ВУ-10рс

ВУ-10рс

ВУ-10рс

ВУ-10

ВУ-25рс

ВУ-25

ВУ-25рт

ВУ-25рс

ВУ-25ре

ВУ-25рс

ВУ-25рс

 

Количество вибраторов

шт.

2

1

1

1

1

1

1

1

1

1

1

1

-

Количество упругих опор

шт.

-

-

4

4

6

4

10

6

8

8

8

16

-

Количество кулачковых механизмов

шт.

-

-

-

-

-

-

-

-

-

-

-

-

3

Назначение

Доборные изделия

Широкая номенклатура изделий. В т. ч. пустотные плиты перекрытий

Широкая номенклатура изделий. В т. ч. керамзитобетонных

Широкая номенклатура изделий. В т. ч. объемные элементы

Широкая номенклатура изделий. В т. ч. из керамзитобетонной смеси

Для замены СМЖ-280

Для замены СМЖ-200А и СМЖ-3010А

Для длинномерных изделий. В т. ч. керамзитобетонных

Для объемных элементов. В т. ч. труб, колодцев, сантехкабин

Для высоких изделий

Для плит перекрытий в кассетных формах

Для газонефтепроводных труб

Для легких бетонов

 


Таблица П.4.2

Техническая характеристика виброплощадок резонансных асимметричных

Тип виброплощадки

Грузоподъемность, т

Высота без привода, мм

Жесткость уплотняемой бетонной смеси, с

Время вибрирования,

мин

Амплитуда колебаний рабочего органа, мм

Частота колебаний, об/мин

Расчетная динамическая нагрузка на фундамент, Н

Масса виброплощадки (без заполнителя в раме),

кг

Установленная мощность, кВт

ВРА-5

5

1400

20...60

2...4

6...10

550

600

650

29000

5900

22

ВРА-8

8

1155

20...60

1,5...3

6...10

550

600

650

33000

7700

22

ВРА-8

8

916

до 20

1...2

2...4

780

830

880

28170

8118

22

ВРА-8Д

8

1136

 до 40

1…2

1,5...3

850

900

950

14350

8286

22

ВРА-10

10

1386

20...60

2...4

6...10

550

600

650

52800

11000

30

ВРК-15

15

1405

20...60

2...4

6...10

550

600

650

67800

13260

30

ВРА-15

15

1159

20...60

2...4

6...10

550

600

650

70000

12600

30

ВРА-15 2х6М

15

1263

до 60

2...4

4...8

550

600

650

70000

14750

30

2BPA-15

15

1401

20...60

2...4

6...10

550

600

650

70000

12680

30

2BPA-15 2х6М

15

1271

до 60

2...4

4...8

550

600

650

70000

15090

30

 

15

1091

до 20

1...2

2...4

850

900

950

38000

14250

45

BPA-15M

15

900

до 20

1...2

2...4

780

830

880

35620

12500

40

ВРА-15 2Х6М

15

980

до 20

1...2

2...4

830

900

970

38700

13920

45

2BPA-15

15

1034

до 20

1...2

2...4

780

830

880

35620

13000

40

ВРА-15Д

15

803

до 20

1...2

2...5

850

900

950

17300

14400

45

BPA-20

20

1160

30... 100

5...8

6...10

600

650

700

86000

12500

40

BPA-20

20

1145

до 40

1,5...3

1,5...3,5

850

500

950

16700

14000

55

ВТ

20

1660

20...60

4...6

6...10

550

600

650

55000

16000

75

ВС

10

1600

20...60

2...4

5...10

550

600

660

34800

13000

30

2ВРА-10

10

1441

20...60

2...4

6...10

550

600

650

52800

10200

30

ПРИЛОЖЕНИЕ 5

ТЕХНИЧЕСКИЕ ХАРАКТЕРИСТИКИ КАССЕТНЫХ УСТАНОВОК

Выпускаемые серийно промышленностью кассетные установки работают в комплексе с машинами для распалубки и сборки кассетных форм. Их конструкция предусматривает использование гидроприводов для работы механизмов запирания и распалубки. Характеристики серийно выпускаемых кассетных установок и машин для распалубки и сборки кассетных форм приведены в табл. П. 5.1. и П. 5.2.

Таблица П.5.1

Характеристики кассетных установок Ждановского завода металлоконструкций Минмонтажспецстроя

Показатель

Тип установки

СМЖ-253

CMЖ-3212

СМЖ-3222

CMЖ-3302

СМЖ-3312

СМЖ-3322

Размеры изделия, м

7,2´3,55´0,12

6´3´0,12

6´3,4´0,05

7,2´3´0,16

6´3´0,12

6´2,7´0,06

Число

 

 

 

 

 

 

отсеков

12

12

14

10

12

14

вибраторов

24

12

28

10

12

14

Установленная мощность, кВт

9,6

4,8

11,2

4

4,8

5,6

Габаритные размеры, м

9,52´3,86´4,73

8,32´4,07´4,27

8,32´3,25´4,73

9,52´4,04´4,27

8,32´4,09´4,27

8,32´4,09´4,27

Масса, т

119,66

102,72

127,98

102,55

102,54

111,2

Таблица П. 5.2

Характеристики машин для распалубки и сборки кассет Кохомского завода «Строммашина»

Показатель

Тип машины

СМЖ-20А

СМЖ-21А

СМЖ-252Б

СМЖ-3221Б

СМЖ-3301Б

СМЖ-3311Б

Максимальные размеры, м

7,05´2,41´3,55

7,05´2,41´3,03

9,52´3,86´4,73

8,14´3,17´4,47

9,52´4,09´4,27

8,14´3,31´4,01

Максимальное перемещение стенки, см

85 ± 5

85 ± 5

85 ± 5

85 ± 5

85 ± 5

85 ± 5

Продолжительность распалубки, с

50

50

50

50

50

50

Установленная мощность, кВт

7,5

7,5

7,0

4,0

7,5

4,0

Габаритные размеры, м

7,13´5,47´2,89

7,13´5,74´2,37

8,98´6,43´3,21

7,78´5,42´3,15

8,98´6,55´3,13

7,78´6,19´3,08

Масса, т

13,45

13,5

27

21

27,2

21,5

ПРИЛОЖЕНИЕ 6

ПОВЕРХНОСТНЫЕ ВИБРОМАШИНЫ, ИЗГОТАВЛИВАЕМЫЕ МИНИСТЕРСТВАМИ И ВЕДОМСТВАМИ

Основные показатели вибропрессовочного оборудования для песчаного бетона

Шифр пресса

Номенклатура формуемых изделий

Схема формования

К-во

изделий за цикл

Объем изделий на 1 цикл

Мощность,

кВт

Амплитуда, мм

Разовый цикл изготовления, с

Частотa вибрации, кол/

мин

Масса пресса, т

Стоимость,

тыс. руб.

площадь, м2

п. м

ВИП-4М

Плита тротуарная

На поддоне

1...2

0,48

-

6,0

1,2...1,5

20....25

3000

7,15

25

Плиты ПКП 60.18

 

4

0,108

2,4

6,0

1,2...1,5

20....25

3000

7,15

25

Фигурные элементы:

 

 

 

 

 

 

 

 

 

 

мощения Ø 7

То же

2

0,4

-

6,0

1,2...1,5

25

3000

7,5

30

то же Ø 1

»

15

0,54

-

6,0

1,2...1,5

25

3000

7,5

30

ВИП-5М

Плита тротуарная К6

 

1

0,25

-

3,0

1,0...1,2

16...20

3000

7,39

16

Трамвайная плита

120 х 460 х 570

Без поддона

1

0,26

-

3,0

1,0...1,2

20

3000

7,5

17

ВИП-6М

Бортовые камни

БР 100.30.15

На поддоне

2

0,6

2,0

10,0

1,0...1,2

20....30

3000

14,5

25

Газонные камни

80 х 200 х 600

То же

10

2,0

6,0

10,0

1,0...1,2

20...30

3000

14,5

26

Тротуарная плита

50 х 250 х 500

»

22

3,0

-

10,0

1,0...1,2

20...30

3000

14,5

28

Стеновые блоки

»

8

1,6

-

10,0

1,0...1,2

20...30

3000

14,5

28

ВИП-7

Бортовые камни

БР 100.30

На поддоне

11

3,3

11,0

20,0

1,5...2,0

30...45

3000

14,8

30

Тюбинги Ø 2 м

То же

11

0,396

-

20,0

1,5...2,0

30...45

3000

14,8

30

Тротуарные плиты 500 х 250 х 50

»

60

7,5

-

50,0

1,5...2,0

30...45

3000

15,0

32

Камни бетонные стеновые

»

91

3,64

-

20,0

1,5...2,0

30...45

3000

15,0

33

ВИП-8

Блоки стен-подвалов

ФБС-24, 3, 6 и

ФБСВ-24, 4, 6

»

2

2,76

4,8

77,0

1,5...2,0

85

3000

40,0

35

ВИП-9

Тротуарные плиты

В т. ч. ФЭП, ОПТ-3

»

1

0,09

-

1,5

1,0...1,2

15...20

3000

1,28

3

ВИП-10

Бортовые камни

БР 100.30.15

»

1

0,3

1,0

1,5

1,2...1,4

20...25

3000

3,0

6

Газонные камни

БР 100.20.8

»

3

0,6

3,0

1,5

1,2...1,4

20...25

3000

3,0

6

ВИП-10М

Бортовые камни БР 100.30.15

»

1

0,3

1,0

1,5

1,2...1,4

20...25

3000

3,0

6

Камни бетонные стеновые

»

2...6

0,324

-

1,5

1,2...1,4

20...25

3000

3,0

6

ВИП-11

Плиты ПРТм

»

2

1,6

-

22,0

1,0

45

3000

13,0

10

ВИП-12

Камни бетонные стеновые

ГОСТ 6133-75

»

2...6

0,324

 

1,5

1,2...1,5

20...25

3000

 

 

Газонные камни

БР 100.20.8

»

3

-

3,0

1,5

1,2...1,5

20...25

3000

2,5

5

Бортовые камни

БР 100.30.15

На поддоне

1

-

1,0

1,5

1,2...1,5

20...25

3000

2,5

5

Плиты цокольные

50 х 20 х 7

То же

6

0,6

3,0

1,5

1,2...1,5

20...25

3000

2,5

5

Накрывные ремонтные камни

»

4...6

-

2,4...3,6

1,5

1,2...1,5

20...25

3000

2,5

5

ПРИЛОЖЕНИЕ 7

СПОСОБЫ ОЦЕНКИ ИНТЕНСИВНОСТИ ВИБРАЦИОННОГО ВОЗДЕЙСТВИЯ

1. Оценка параметров по ускорению

Основным критерием, характеризующим режим уплотнения бетонной смеси, является максимальное ударное ускорение ан при нахождении рабочего органа в крайнем нижнем положении, которое должно быть больше ускорения ав, соответствующего верхнему положению рабочего органа. Преобладание ан над ав способствует ускорению процесса уплотнения, так как при ан > ав смесь испытывает дополнительные напряжения сжатия, чего нет при симметричных (гармонических) режимах колебаний. Асимметрия колебаний ан/ав = 2...6 при значении максимального ускорения ан = 60...80 м/с2.

Численные значения ускорений ав и ан в зависимости от категорий смесей и частот колебаний приведены в табл. П.7.1.

2. Определение интенсивности вибрационного воздействия по удельной мощности колебаний

При оценке интенсивности вибрационного воздействия по удельной мощности колебаний, представляющей собой отношение полного количества энергии, поступающей от рабочего органа машины в бетонную смесь, к массе формуемого изделия, необходимо учитывать направленность колебаний, схему работы машины, характеризующую ее взаимодействие со смесью, соотношение величин вынуждающих и удерживающих (включая пригруз) сил.

Расчетные схемы работы вибрационных основных формовочных машин приведены на рисунке, а параметры в табл. П.7.1 и П.7.2. Удельная мощность колебаний Р определяется по формулам:

а) в случае, когда рабочие органы машины совершают нормальные (обычно вертикальные) по отношению к поверхности изделия колебания, м2 . с-3

;                                                    (П.7.1)

б) то же при касательных (обычно горизонтальных) колебаниях, м2 . с-3

                                            (П.7.2)

где     U - амплитуда колебаний рабочих органов при отсутствии бетонной смеси, определенная без учета влияния жесткости опорных элементов, мм

U = k / тв,

где     k - момент дебалансов вибровозбудителя, кгм;

mв - масса вибрирующих частей, кг;

w - угловая частота вибрирования, с-1;

k0 - коэффициент, характеризующий полезное действие машины (за эталон принимается вибрационная площадка с вертикальными колебаниями, для которой k0 = 1);

k1 - коэффициент, зависящий от схемы устройства машины, наличия пригрузочных устройств, соотношения масс образующих ее элементов;

g - ускорение силы тяжести, м/с2;

fT - коэффициент трения бетонной смеси по металлу (fT = 0,10...0,12).

Таблица П.7.1

Режим формования бетонных смесей различной удобоукладываемости вертикальной вибрацией с симметричными и асимметричными переменными и постоянными параметрами при двухстадийном формовании

Жесткость бетонной смеси, с

Стадия

Формообразование

Уплотнение

Частота
f, Гц

Ускорение
ан .
q

Асимметрия ан / ав

Частота
f, Гц

Ускорение
ан .
q

Асимметрия ан / ав

Выше 25

10...15

2,0...2,5

1

15

2,5...3,0

5...7

25....30

3,5...5,0

1

50...75

4...6

1

10...15

2,0...2,5

1

40...50

15

5...7

2,5...3,0

1

5...7

10...25

10...15

2,0...2,5

 

10...15

2,0...2,5

3...5

25...30

3...4

 

40...50

3,0...4,0

1

10...15

2,0...2,5

1

10...15

25... 50

2,0...2,5

3,5...5,0

3...5

1

5...10

10...15

1,5...3,0

1

10...15

2,0...2,5

2...1

25...30

2,0...3,0

 

40...50

3,0...4,0

1

 

 

 

10...15

2,0...2,5

2...1

10...15

1,5...2,0

 

25...30

2,5...3,5

1

10...15

1,5...2,0

 

10...15

1,5...2,0

2...3

1

Подвижность 2...5 см

25...30

2,0...3,0

1

40...50

3,0...4,0

 

 

 

 

10...15

1,5...2,0

2...3

10...15

1,5...2,0

 

25...50

2,5...3,5

1

Таблица П.7.2

Указания по определению величин Kо и K1

Тип площадки

Коэффициенты

К0

К1

К1

при Qпопт

при Qп = 0

Вибрационная с вертикальным возбуждением (схема 1 рис. П.7.1)

1

Ударно-вибрационная (схема 2 рис. П.7.1) при частоте 150 с-1

1,4

То же при частоте 150 с-1

1,2

Ударно-вибрационная площадка (схема 3 рис. П.7.1) при частоте 150 с-1

1,2

75 % от полученного при

Qп = Qпопт

То же при частоте 150 с-1

1,0

Ударно-вибрационная площадка (схема 4 рис. П.7.1) при частоте 150 с-1

1,0

Кулачковая площадка (схема 5 рис. П.7.1)

 

 

Вибрационная с горизонтальным возбуждением

 

 

* Формулы для определения К1 соответствуют случаям оптимального выбора жесткости и величине обжатия прижимных пружин в схемах 2, 3 и 4 (рис. П.7.1).

Рис. П.7.1. Схемы вибрационных формовочных машин

Величины k0 и k1 вычисляются в зависимости от расчетной схемы формовочной машины по указаниям табл. П.7.2.

Оценка интенсивности вибрационного воздействия по удельной мощности колебаний  позволяет проверить технологические возможности действующей или рассчитать параметры новой вибрационной формовочной машины, исходя из основной зависимости, связывающей удельную работу, производимую машиной с удобоукладываемостью смеси, выраженной удельной работой уплотнения W.

,                                                            (П.7.3.)

где tн - требуемая продолжительность вибрирования.

Определение удельной работы уплотнения в общем случае должно производиться в лабораторных условиях, как показано ниже. При отсутствии лабораторных данных можно пользоваться ориентировочными данными, приведенными в табл. П.7.3.

Величина  должна быть в любом случае не менее предельных значений, указанных в табл. П.7.3.

Таблица П.7.3

Удобоукладываемость смеси

Минимально допустимая удельная мощность колебаний, м23

Жесткость по ГОСТ 10181.1-81, с

Индекс смеси по ГОСТ 7473-85

Удельная работа уплотнения, м22

4

П-1

50

0,5

5...10

Ж-1

50...200

1,0

11...20

Ж-2

200...300

2,0

21...30

Ж-3

800...400

4,0

При оценке технологических возможностей действующей машины расчет удельной мощности колебаний производится по следующей схеме:

по паспорту (с проверкой в натуре) определяются частота колебаний w, момент дебалансов вибратора K и полная масса вибрирующих частей mв; вычисляется расчетная амплитуда колебаний; в соответствии со схемой машины по табл. П.7.2 определяются коэффициенты k0 и k1; по формулам (П.7.1) и (П.7.2) вычисляется удельная мощность колебаний ; по заданной мощности колебаний в соответствии с формулой (П.7.3), определяется минимальная продолжительность уплотнения и устанавливается режим формования с учетом продолжительности всех технологических операций, производимых одновременно с вибрированием.

При выборе параметров проектируемой формовочной машины порядок операций следующий:

на основании имеющихся опытных данных выбирается оптимальная частота вибрирования в соответствии с табл. П.7.4;

Таблица П.7.4

Рекомендуемые частоты вибрирования

Тип и расчетная схема машины
(рис. П.7)

Средняя толщина слоя смеси h, м

Рекомендуемые частоты, кол/мин

Вибрационные площадки по схеме 1

h = 0,10...0,3

2800...3000

Тонкостенные при спец. обосн. менее 0,1

3000...4500

Ударно-вибрационные по схеме 2-4

Больше 1

900...1200

0,5...1,0

1500

до 0,5

1500...3000

Вибрационные с горизонтальным возбуждением

Больше 0,5

меньше 1500

0,2...0,5

3000...1500

до 0,2

3000

Кулачковые

Независимо от высоты

200...300

Виброштампы

При глубине погружения:

 

до 0,5

2800...3000

более 0,5

1500

по заданной удельной работе уплотнения  и заданному технологическим процессом времени уплотнения tн находится необходимая удельная мощность колебаний ; по заданным k0, k1 и w с помощью формул (П.7.1) или (П.7.2) вычисляется величина амплитуды колебаний U;

в зависимости от принятой схемы формовочной машины вычисляются оптимальные параметры статических пригрузочных устройств по следующим формулам:

для вибрационных площадок с вертикальными колебаниями

;                                (П.7.4)

для ударно-вибрационных площадок

;                       (П.7.5)

* Приведенная масса бетонной смеси.

находится необходимый момент дебалансов вибратора К и потребная мощность двигателей машины.

По этим характеристикам выбирается по каталожным данным та или иная машина.

При определении параметров виброштамповальных установок в дополнение к расчетам уплотняющей способности виброштампа производится расчет на погружение пуансона и определяется необходимое время tн погружения. Расчетная продолжительность процесса формования выбирается путем сравнения величин tн и tв и принимается равной большей из них.

В лабораторных условиях определение удельной работы уплотнения бетонных смесей рекомендуется производить на образцах размерами 20´20´20 см. Для этого может быть использована любая лабораторная виброплощадка, оснащенная пневматическим или другим безынерционным пригрузом, величина которого определяется по формуле (П.7.4). Для стандартной площадки с амплитудой U = 0,5 мм и частотой колебаний n = 3000 кол/мин пригруз следует принимать равным 17...19 кг. На плите пригруза устанавливается любой показатель уровня смеси, обеспечивающий точность отсчета до 0,2 мм (шток, прогибомер, мессура и т.п.). В случаях, когда конструкция установки не допускает центрального расположения показателя уровня, устанавливают симметрично по отношению к главным осям образца два прибора: указатель уровня в этом случае определяется полусуммой отсчетов по обоим приборам. Смесь уплотняется без пригруза в течение 10 с. Затем включается в работу пригруз и замечается время tн от начала вибрирования до прекращения понижения уровня смеси (момент прекращения осадки фиксируется тогда, когда за 10 с уровень смеси не опускается более чем на 0,2 мм).

Удельная работа уплотнения  бетонной смеси определяется по формуле

,                                                 (П.7.6)

где      U - амплитуда колебаний виброплощадки с формой, но без бетонной смеси;

Qб - вес бетонной смеси;

Qв - вес вибрирующих частей (включая форму) без бетонной смеси.

3. Оценка параметров по удельной мощности колебаний при учете волновых процессов в бетонной смеси

Удельная мощность колебаний при гармоническом режиме виброуплотнения определяется зависимостью

,                                              (П.7.7)

где b -  коэффициент, учитывающий волновые процессы в бетонной смеси, зависящий от состава, высоты столба и акустических свойств (скорости распространения волн и коэффициента затухания) смеси. Коэффициент b физически определяет уровень восприятия энергии объемом смеси, характеризуя таким образом активное сопротивление колебаниям;

U0 - амплитуда колебаний рабочего органа вибромашины с учетом бетонной смеси

U0 = U . kд,

Где U - амплитуда колебаний рабочего органа без учета бетонной смеси;

kд - коэффициент динамичности вибросистемы «рабочий орган - среда».

Численные значения коэффициентов b и kд приведены в таблице П.7.5.

Таблица П.7.5

Высота столба смеси,

m

Волновой коэффициент

b

Коэффициент динамичности

kд

0,2

0,15...0,25

0,83...0,70

0,3

0,75...0,65

1,26...1,46

0,4

0,16...0,05

1,04...1,07

0,5

0,10...0,20

1,00...0,90

Пределы значения для коэффициентов b и kд приведены из соотношения для подвижных и жестких смесей. Для определения параметров уплотнения умеренно жестких смесей принимаются средние значения b и kд.

Величина , обеспечивающая необходимые условия для уплотнения смеси, находится в пределах 0,4...2,0 Вт/кг. Меньшие значения соответствуют изделиям высотой 0,1 < h < 0,2 м, формуемым из подвижных смесей большие - изделиям высотой 0,2 < h < 0,5 м, формуемым из жестких смесей.

Численные значения коэффициента kд внесены в таблицу П.7.5 для отношения массы бетонной смеси тб к массе колеблющихся частей площадки тк.ч и массы формы тф:

тб / (тк.ч + тф) = 0,3.

С увеличением этого соотношения до значения 0,7 (максимального, встречающегося в производственной практике) коэффициент kд уменьшается. Его величину можно определить по зависимости

kдη = (k 0,3 - η . 0,05),

где η = 0...4 - порядковый номер отношения

тб / (тк.ч + тф).

Для значения 0,3 η = 0. Например, необходимо вычислить значение kд для отношения 0,6 при формовании изделия высотой h = 0,3 м (бетонная смесь - жесткая). Из табл. П.7.5 для h = 0,3 м К0,3 = 1,46. Тогда k0,6 = 1,46 - 3 . 0,05 = 1,31.

Удельная мощность колебаний при ударно-вибрационном режиме уплотнения

,                                        (П.7.8)

где Uср - осредненное значение амплитуды колебаний (полуразмах колебаний);

Т - период колебаний;

ан -  ударное ускорение при нахождении рабочего органа в крайнем нижнем положении;

kа - коэффициент асимметрии ускорения колебаний.

Соотношения между амплитудой и частотой колебаний, наиболее часто встречающиеся в практике, приведены в табл. П.7.6.

Таблица П.7.6

Частота колебаний,

1/с

Амплитуда колебаний

U0, мм

157

0,8...1,2

250

0,6...0,8

314

0,4...0,6

ПРИЛОЖЕНИЕ 8

ОПРЕДЕЛЕНИЕ ТЕХНОЛОГИЧЕСКИХ ПАРАМЕТРОВ И РАСЧЕТ ВИБРАЦИОННЫХ ПЛОЩАДОК

1. Методика и пример расчета виброплощадки с вертикально направленными колебаниями

1.1. Исходные данные.

Требуется определить основные параметры виброплощадки для формования железобетонных плит длиной l = 6 м, шириной b = 1,5 м и высотой h = 0,3 м. Изделие формуется из малоподвижной бетонной смеси плотностью ρ = 2000 кг/м3. Необходимая амплитуда и частота колебаний рабочего органа выбирается по таблице: Uo = 0,6 мм, угловая частота колебаний w = 314 с-1.

1.2. Определяем колеблющуюся массу системы.

Масса формуемого изделия

mб = ρ . V = 2000 . 2,7 = 5400 кг.                                 (П.8.1)

Масса формы

mф = (0,6... 1,0) mб = 5000 кг.                                   (П.8.2)

Масса колеблющихся частей площадки:

а) блочной конструкции

mв = (0,2...0,4) . (mф + mб);                                                 (П.8.3)

б) рамной конструкции

mв = (0,6...1,0) . (mф + mб);                                               (П.8.4)

В данном примере принята блочная виброплощадка

mв = 0,25(mф + mб) = 0,25(5400 + 5000) = 2600 кг.

Полная колеблющаяся масса

mполн = т + mб = 13000 кг,                                                  (П.8.5)

где т = mв + mф.

1.3. Находим суммарный статический момент массы дебалансов

= 3,123 кгм,                         (П.8.6)

где коэффициент kд взят из табл. П.7.5.

1.4. Вычисляем суммарную жесткость опор виброплощадки, исходя из условия виброизоляции:

С0 = w02 . mполн = (44,86)2 . 13000 = 2,6 . 107 Н/м,                    (П.8.7)

где w0 - собственная частота колебаний виброплощадки

w0 = w / (7...10).

1.5. Определяем амплитудное значение вынуждающей силы

F0 = m0 . r0 . w2 = 3,123 . 3142 = 30,79 . 104 Н.                          (П.8.8)

1.6. Устанавливаем мощность привода виброплощадки

,                                                     (П.8.9)

где Pтр = 0,5F0 . μ . dy. w - мощность на трение в подшипниковых узлах площадки,

μ - условный коэффициент трения для подшипников;

dy - диаметр шейки вала под подшипником.

Мощность на колебания виброплощадки, Вт

Ркол = 1/4 . F0 . U0,                                                                (П.8.10)

где U0 - амплитуда колебаний виброплощадки (при учете только реактивных сил, так как площадка работает в зарезонансном режиме), м.

,

где а - коэффициент влияния реактивных сил сопротивления бетонной смеси (табл. П.8.1).

Таблица П.8.1

Численные значения коэффициента а

Высота столба смеси,

п. м

Смесь

малоподвижная

умеренно жесткая

жесткая

0,1

0,99

0,95

0,9

0,2

0,7

0,65

0,6

0,3

-0,8

-0,75

-0,7

0,4

-0,13

-0,1

-0,09

1.7. Мощность на уплотнение бетонной смеси, Вт

                                              (П.8.11)

Значения мощности привода виброплощадки с учетом всех видов сопротивления определяются после конструктивной проработки виброплощадки.

2. Методика и пример расчета ударно-вибрационной площадки с закрепленной формой

2.1. Исходные данные.

Определяем основные параметры виброплощадки для формования изделия длиной l = 5 м, шириной b = 2 м и высотой l = 0,5 м. Бетонная смесь - умеренно жесткая, достигаемая плотность ρ = 2400 кг/м3. Необходимый полуразмах колебаний рабочего органа Uo = 0,75 мм, круговая частота его колебаний w = 157 c-1.

2.2. Определяем условия, обеспечивающие устойчивый ударно-вибрационный режим колебаний. Он зависит от двух безразмерных параметров q и ξ.

                                             (П.8.12)

.                                             (П.8.13)

Физический смысл параметра q заключается в установлении соотношения веса системы Gс = (m1 + m2)g к амплитуде вынуждающей силы F0. Параметр ξ определяют соотношением собственной частоты колебаний системы при движении ее в контакте с ограничителем к вынуждающей частоте

,

где С - жесткость ограничителей колебаний (упругих прокладок, закрепленных на виброблоках);

mпр = m1 . m2 / (m1 + m2) - приведенная масса системы (т1 - масса колеблющихся частей площадки, m2 - масса формы с учетом приведенной массы бетонной смеси) к вынуждающей частоте w, ξ = w0 / w.

Численные значения q и ξ для обеспечения устойчивого ударно-вибрационного режима находим в пределах:

0,9 < q < 1,5,

1,3 < ξ < 1,6.

В табл. П.8.2 приведены численные значения коэффициентов, характеризующих усиление амплитуды (kн), скорости (kv), ускорения (ka) виброплощадки и времени контакта формы и виброблока τ, соответствующие значениям q и ξ.

Таблица П.8.2

Параметры расчета ударно-вибрационных площадок

ξ

q

τ

kн

kv

ka

1,3

0,9

2,42

2,10

0,65

4,66

1,3

1,3

2,42

2,67

0,94

5,46

1,5

0,9

2,09

1,73

0,94

4,19

1,5

1,3

2,09

1,93

1,36

4,99

1,6

0,9

1,96

1,62

1,06

4,10

1,6

1,3

1,96

1,85

1,53

4,90

Пользуясь данными табл. П.8.2, примем значения:

q = 1,3; ξ = 1,3; kн = 2,67; kv = 0,94; ka = 5,46.

2.3. Определяем колеблющиеся системы: масса бетонной смеси

mб = ρ . V = 2,4 . 103 . 5= 12 . 103 кг.

Приведенная масса бетонной смеси

mб = (0,6...0,8) mб = 0,6 . 12 . 103 = 7,2 . 103 кг,

масса формы

mф = mб = 7 . 103 кг,

масса колеблющихся частей виброплощадки

mв = (0,3...0,6) . (mф + mб) = 0,35 . (7,2 . 103 + 7 . 103) = 4,97 . 103 кг,

таким образом, колеблющиеся массы системы

m1 ~ mв = 5 . 103 кг,

m2 ~ (mф + mб) = 14,2 . 103 кг.

Приведенная масса системы

кг.                           (П.8.14)

2.4. Находим вынуждающую силу и суммарный статический момент массы дебалансов:

вынуждающая сила находится из соотношения

,             (П.8.15)

значение вынуждающей силы может быть получено также по зависимости

.     (П.8.16)

Численное равенство сил, полученных по разным зависимостям, свидетельствует о возможности обеспечения ударно-вибрационного режима колебаний при выбранных параметрах системы.

 кгс . м.                            (П.8.17)

2.5. Определяем коэффициент упругости ограничителей, который находится из соотношения

С = ξ2 . тпр . w2 = (1,3)2 . 3,7 . 103 . 1572 = 2,0 . 108 Н/м.

2.6. Вычисляем коэффициент упругости опор из условия виброизоляции виброплощадки

С = w021 + т1) = 22,4 . 19,2 . 103 = 9,6 . 106 Н/м.                       (П.8.18)

Нагрузка на одну опору

,                (П.8.19)

где n - количество опор.

Площадь опор при [σ] = 4,5 . 105 Н/м2

 м2.                              (П.8.20)

Тогда высота опоры h при модуле упругости резины Eд = 3,5 . 106 H2 будет равна

м,                      (П.8.21)

где С01 - коэффициент упругости одной опоры С01 = С0 / 24.

2.7. Устанавливаем мощности привода.

Мощность на потери в ограничителе, кВт

.                                            (П.8.22)

Мощность на уплотнение бетонной смеси, кВт

,                                                     (П.8.23)

где  - осредненное значение удельной мощности, вычисляемое по зависимости (П.7.8).

Мощность на трение в подшипниковых узлах, кВт

.                                                (П.8.24)

Численное значение мощности привода устанавливается после определения конструктивных параметров виброплощадки.

3. Методика и пример расчета виброплощадки с многокомпонентными колебаниями

3.1. Исходные данные.

Определить основные параметры виброплощадки для формования железобетонной плиты с размерами: длиной l = 17,94 м, шириной b = 2,98 м и высотой (в средней части) h = 0,9 м.

Масса плиты - 10000 кг; масса формы с площадкой - 20820 кг; частота колебаний - 25 Гц; амплитуда горизонтальных колебаний - U = 0,8 мм.

3.2. Определяем колеблющиеся массы

mполн = 1,05 б + т) = 1,05( 10000 + 20820) = 32360 кг.                (П.8.25)

3.3. Определяем максимальную вынуждающую силу .

F0 = kF . mполн . U0 . w2 = 0,4 . 32360 . 0,8-3 . 152,42 = 240 . 10-3 Н,              (П.8.26)

где kF - коэффициент пропорциональности, равный 0,35...0,4.

3.4. Потребная мощность двигателя

Ру = kр . mполн = 0,6 . 32360 = 19,42 . 103 Вт ~ 20 кВт,                        (П.8.27)

где kр - коэффициент пропорциональности, численно равный 0,5...0,6 Вт/кг.

3.5. Вычисляем суммарную жесткость опор.

Необходимое количество опор

,                                              (П.8.28)

где mоп - грузоподъемность одной опоры.

Учитывая неравномерность распределения массы по длине формы и с целью обеспечения устойчивости, принимаем z = 10.

Допускаемая жесткость упругих опор в горизонтальной плоскости

Н/м,                       (П.8.29)

где mф = mполн - mб = 32360 - 10000 = 22360 кг.

Допускаемая жесткость упругих опор в вертикальной плоскости

Н/м.                    (П.8.30)

ПРИЛОЖЕНИЕ 9

ОПРЕДЕЛЕНИЕ ТЕХНОЛОГИЧЕСКИХ ПАРАМЕТРОВ И РАСЧЕТ ПОВЕРХНОСТНЫХ МАШИН

1. Основные показатели технологического режима

Основным показателем технологического режима, определяющего эффективность процесса при вибрационном уплотнении, является частота колебаний w; устанавливается в зависимости от жесткости применяемой смеси:

для смесей жесткостью 5...20 с                   w = 260...360 с-1;

для смесей жесткостью 20...30 с                 w = 400...620 с-1.

Амплитуда колебаний рабочего органа U0 - устанавливается в зависимости от высоты формуемого изделия для выбранных частот.

Рекомендуемые значения величины амплитуды U0* приведены в табл. П.9.1.

Таблица П.9.1

Высота формуемого изделия h, мм

U0, мм

w = 260...360 с-1

w = 400...620 с-1

50

0,3...0,35

0,2...0,22

100...140

0,4...0,5

0,25...0,32

150...250

0,5...0,6

-

* Технологические параметры для формования поверхностными вибромашинами получены на основе данных, приведенных в Руководстве по технологии формования железобетонных изделии (М.: Стройиздат, 1977).

Меньшие амплитуды соответствуют меньшим высотам и большим частотам.

Скорость формования для машин последовательного действия в зависимости от классификации бетонной смеси и толщины формуемого изделия приведена в табл. П.9.2.

Таблица П.9.2

Численные значения скорости формования

Показатели*

Толщина формуемого изделия, мм

Скорость формования, м/мин

 5...10

0

до 100

2,0

10...15

0

до 100

1,0

5...10

0

100...200

1,5

10...15

0

100...200

1,0

0

2...3

до 100

3...4

до 200

2...3

0

5...6

до 100

4...5

до 200

3...4

0

8...10

до 100

4...5

до 200

3...4

* В числителе - жесткость, с; в знаменателе подвижность, см.

2. Определение параметров вибрационного рабочего органа

Параметры вибрационного рабочего органа определяются в зависимости от требуемых технологических режимов уплотнения.

2.1. Для виброштампов и вибропрессов.

2.1.1. Выбор конструктивной схемы, размеров и массы рабочего органа.

Наиболее целесообразной для рабочего органа машины этого типа считается двухмассная схема (рис. П.9.1).

На нижней массе «М» устанавливается вибровозбудитель, а верхняя - «M1» служит для достижения необходимого статического давления.

Размеры и конфигурация в плане нижней массы соответствует размерам и конфигурации формуемого изделия с учетом зазоров между рабочим органом и бортоснасткой (3...5 мм). Жесткость упругих элементов «С» между верхней и нижней массами рассчитывается из условия виброизоляции по формуле, Н/м

.                                               (П.9.1)

Суммарная масса Mс = M + M1. (Табл. П.9.3).

При этом, как экспериментально установлено, Мс распределяется таким образом, что

M = (0,25...0,30)S,                                              (П.9.2)

масса пригруза

M1 = Mс - M;                                                        (П.9.3)

При одномассной схеме по величине M1 определяется требуемая сила нажатия бсзынерционного пригруза

Fн = M1 . g,                                                        (П.9.4)

где g - ускорение силы тяжести.

Рис. П.9.1. Схема поверхностного устройства

2.1.2. Определение статического момента массы дебалансов производится по формуле

,                                                     (П.9.5)

где U0 - назначается по табл. П.9.1,

,                                        (П.9.6)

где mб = S . h . ρпл - полная масса бетона;

а2 и d2 -     коэффициенты, отражающие особенности работы поверхностной вибромашины. Их значения для смесей различной жесткости приведены в табл. П.9.4.

Таблица П.9.3

Определение суммарной массы рабочего органа, кг

Высота формуемого изделия Н. л

Вибропресс

Виброштамп

Бетонные смеси

малоподвижные и умеренно жесткие

жесткие и повышенной жесткости

малоподвижные и умеренно жесткие

жесткие и повышенной жесткости

Меньше 0,10

(0,7...0,75)S*

(0,9...0,1)S*

(0,8...0,9)S*

(0,9...0,1)S*

0,11...0,25

(0,4...0,6)S*

(0,5...0,7)S*

(0,8...1,1)S* + Vпл

(0,5...1,8)S* + V0ρпл

* Численные коэффициенты в скобках имеют размерность в тоннах на квадратный метр; S - площадь рабочего органа в плане м2; V0 - объем смеси, вытесняемой при виброштамповании; ρпл - объемная масса уплотненной бетонной смеси.

Таблица П.9.4

Значения коэффициентов а2 и d2

Бетонная смесь

Частота колебаний, с-1

а2

d2

Высота слоя бетонной смеси h, м

Высота слоя бетонной смеси h, м

0,04

0,06

0,08

0,15

0,2

0,04

0,06

0,08

0,15

0,2

Умеренно жесткая

314

-12,12

-9,2

-2,77

-0,53

-0,11

3,11

1,39

0,78

0,23

0,14

471

- 9,51

-4,04

-2,12

-0,33

-0,007

2,46

1,10

0,62

0,19

0,12

628

-10,77

-4,6

-2,44

-0,43

-0,05

2,78

1,24

0,70

0,21

0,13

Жесткая

314

-11,78

-5,05

-2,69

-0,50

-0,1

4,24

1,89

1,06

0,31

0,19

471

- 9,24

-3,92

-2,05

-0,32

-0,04

3,35

1,49

0,84

0,25

0,16

628

-10,47

-4,41

-2,36

-0,42

-0,04

3,78

1,68

0,95

0,28

0,18

Особо жесткая

314

-11,37

-4,86

-2,59

-0,48

-0,09

5,26

2,24

1,32

0,39

0,24

471

- 8,91

-3,77

-1,97

-0,29

-0,023

4,16

1,85

1,04

0,31

0,20

628

-10,11

-4,3

-2,27

-0,38

-0,033

4,7

2,09

1,18

0,35

0,22

2.1.3. Определение мощности двигателя вибровозбудителя

Суммарная мощность

Pс = (Pб - Pпр)/η,                                                         (П.9.7)

где η -  коэффициент полезного действия механизма вибровозбудителя равный 0,95...0,96.

Мощность колебаний

.                                                        (П.9.8)

Мощность на потери в приводе

,                                                       (П.9.9)

где μ - коэффициент трения качения, равный 0,05...0,008;

dн - диаметр цапфы вибровала;

F0 - вынуждающая сила, равная m0 . r0 . w2.

2.2. Для поверхностных вибромашин последовательного действия.

2.2.1. Рабочий орган машин последовательного действия выполняется обычно одномассным в виде профильной лыжи. Поперечное сечение рабочих органов машины последовательного действия точно повторяет конфигурацию профиля формуемого изделия. Вибрируемая масса рассчитывается по приведенным выше зависимостям (П.9.1) - (П.9.3).

Минимально необходимая длина профиля лыжи определяется по графику (рис. П.9.2) в зависимости от толщины изделия и жесткости смеси.

Форма профиля вибролыжи содержит криволинейный, наклонный и горизонтальный участки (рис. П.9.3). Длина горизонтального участка составляет 1/3 всей длины. Превышение передней точки криволинейной части профиля составляет 0,5h; угол наклонной части - 3...5°; ширина вибролыжи на 20...25 мм меньше ширины формуемого изделия; угол наклона стенок бункера от вертикали не более 15...20°.

2.2.2. Жесткость упругих виброизолирующих связей «С» подвески массы «М» к несущей конструкции определяется по формуле

.                                                     (П.9.10)

2.2.3. Статический момент массы дебалансов и вынуждающая сила определяются по формулам (П.9.5) и (П.9.9) с учетом вовлечения в колебание массы смеси впереди и сзади вибролыжи:

mб = 1,4 . h . ρпл . S;                                            (П.9.11)

S = (а - 0,02) . l,                                               (П.9.12)

где а - ширина формуемого изделия, м.

Рис. П.9.2. График для определения минимальной длины профиля вибролыжи:

1 - h = 0,13...0,25 м; 2 - h = 0,06...0,12 м; 3 - h = 0,05 м

Расстояние между осями вибровозбудителей принимается 0,8...1,1 м, а расстояние от края вибролыжи до оси вибратора 0,3...0,5 м.

2.2.4. Мощности на поддержание колебаний и на потери в приводе вибровозбудителя определяются по формулам (П.9.5) - (П.9.8) с учетом (П.9.11) и (П.9.12).

2.2.5. Мощность привода горизонтального перемещения рабочего органа расходуется на перемещение призмы бетонной смеси в бункере mпр и на преодоление сил трения нижней плоскости вибролыжи о бетонную смесь:

Рс = Рн + Ртр.                                                       (П.9.13)

Мощность перемещения призмы бетонной смеси, Вт,

,                                                          (П.9.13)

где V скорость формования, м/мин;

Wп = mпр . g . φ,

где mпр = 2500 .h2 .a;

φ - 0,7...0,8 - коэффициент внутреннего трения бетонной смеси;

g - ускорение силы тяжести.

Мощность трения нижней плоскости о бетонную смесь, Вт

,

где Wтр = [F0 + (M + M1) . g] . φ1;

φ1= 0,5...0,6 - коэффициент трения бетона о сталь, при трогании с листа, равный 0,7...0,8.

Рис. П.9.3. Схема для определения размеров поверхностей вибромашины последовательного действия

3. Методика и пример расчета вибропротяжного устройства

3.1. Исходные данные.

Нужно формовать плиты покрытия дорог размером 6´1´0,1 м из жесткой бетонной смеси; ρпл = 2,4 т/м3.

Требуемая амплитуда колебаний - 0,4 мм.

Порядок расчета.

3.2. В соответствии с табл. П.9.3 выбираем для формования тип машины - скользящее виброустройство. Частота колебаний рабочего органа - 314 с-1.

3.3. По графику рис. П.9.2 определяем минимально необходимую длину лыжи рабочего органа l = 0,6 м и определяем элементы профиля:

длина заднего горизонтального участка - 0,2 м; превышение передней точки профиля - 0,05 м; угол наклона горизонтальной части - 3°, ширина лыжи (а - 0,02) = 1,6 - 0,02 = 1,58 м.

3.4. Площадь горизонтальной проекции вибролыжи

S = 1,58 . 0,6 = 0,948 м2.

3.5. Масса рабочего органа

М = 0,3 . 0,948 = 285 кг.

3.6. Допустимая стрела прогиба конструкции лыжи виброуплотнителя

у = 10-4 . 1600 = 0,16 мм.

Расстояние от края лыжи до оси первого вибратора 0,39 м, а между вибраторами - 0,8 м.

3.7. Максимальная скорость формования

 м/мин.

3.8. Жесткость упругих связей

 Н/м = 7534,6 Н/см.

Принимая число пружин равным 8, определяем жесткость одной пружины:

С0 = 5734 / 8 = 716,8 Н/см.

3.9. Вибрируемая масса бетонной смеси

тб = 1,4 . 0,948 . 0,1 . 2,4 = 318 кг.

3.10. Коэффициент динамичности рабочего органа

.

3.11. Статический момент массы дебалансов

кгс . м.

3.12. Вынуждающая сила вибровозбудителя

F0 = 0,168 . (314)2 = 13224 Н.

3.13. Мощность колебаний

Рб = l/4 . 13224 . 0,4 . 10-3 . 314 = 0,415 кВт.

3.14. Потери мощности в приводе:

Рпр = 1/2 . 13224 . 0,008 . 0,05 . 314 = 0,895 кВт;

Рс = (0,415 + 0,995) / 0,95 = 1,47 кВт.

3.15. Мощность, требуемая на сопротивление горизонтальному перемещению рабочего органа:

а) на преодоление сопротивления перемещению призмы бетонной смеси

Рпр = 3136 . 1,8 / 60 = 0,094 кВт;

где mпр = 25000 . 0,12 . 1,6 = 400 кг

Wпр = 400 . 9,8 . 0,8 = 3136 Н

б) на преодоление сил трения

Ртр = 8008 . 1,8 / 60 = 0,240 кВт.

где Wтp = (13224 + 285 . 9,8) . 0,5 = 8008 Н.

ПРИЛОЖЕНИЕ 10

ОПТИМИЗАЦИЯ СОСТАВОВ ЦЕМЕНТОБЕТОНОВ

Основная задача при определении состава бетона - найти оптимальное соотношение его компонентов, которое обеспечит заданные свойства бетона и бетонной смеси при минимальном расходе цемента.

Работу по оптимизации рекомендуется выполнять в такой последовательности:

1. Определение наибольшей крупности (НК) заполнителя.

1.1. Для экономии цемента желательно иметь возможно большую предельную крупность заполнителя, но эта величина ограничена сечением и густотой армирования изделий. ПК заполнителя в зависимости от минимального размера поперечного сечения элемента назначается и соответствии с табл. П.10.1.

Таблица П.10.1

Предельная крупность заполнителя для различных конструкций и контрольных образцов

Максимальный размер зерен заполнителя, мм

Минимальный размер поперечного сечения элементов, мм

Размеры, мм

ребра куба

балочек

10

40´100

100

100´100´400

20

65´125

100

100´100´400

40

150´125

150

150´150´660

70

300´750

200

200´200´800

100 и более

Более 800

300

-

1.2. Максимальный размер зерен заполнителя не должен превышать 1/4 минимального сечения бетонируемой конструкции и 3/4 наименьшего расстояния между стержнями арматуры.

1.3. Плиты толщиной до 100 мм рекомендуется бетонировать с применением заполнителей с наибольшей крупностью, равной 1/2 толщины плиты.

1.4. Для бетонов высоких марок (600 и более) с целью улучшения их однородности в качестве крупного заполнителя следует применять только щебень из прочных горных пород с наибольшей крупностью до 20 мм.

1.5. При выборе предельной крупности заполнителя следует учитывать возможности имеющегося оборудования для смешивания, транспортирования и укладывания бетонной смеси.

1.6. Если заполнитель задан, то сверяют не превышает ли его НК величину, найденную по табл. П.10.1.

2. Назначение удобоукладываемости смеси

Повышение жесткости бетонной смеси всегда дает экономию цемента, но требует для уплотнения более мощного формовочного оборудования или увеличения продолжительности вибрирования. Поэтому удобоукладываемость смеси выбирают по табл. П.10.2 и окончательно устанавливают пробным бетонированием, добиваясь применения максимально жестких для данных условий смесей.

Таблица П.10.2

Рекомендуемая удобоукладываемость смеси

Индекс смесей

Вид изделия и методы изготовления

Удобоукладываемость

Монолитные

Сборные

ОК, см

Ж, с

Ж-4

-

Вибропрокат, элементы, формуемые немедленной распалубкой

0

31 и более

Ж-2,

Ж-3

Подготовка под фундаменты и основания дорог и полов

Кольца канализационные, блоки щелевые, пустотелые элементы перекрытий, бордюрные камни, фундаментные башмаки

0

11...30

Ж-2,

Ж-1

Массивные неармированные и слабоармированные конструкции (фундаменты, полы, подпорные стенки), покрытие дорог и аэродромов

Колонны, сваи, балки, плиты, лестничные марши, фермы, трубы, формуемые на виброплощадке, двухслойные наружные стеновые панели

0

5...20

П-2,

П-1

Плиты, балки, колонны большого и среднего сечения, бетонируемые на месте, конструкции, выполняемые путем подводного бетонирования

Тонкостенные конструкции, сильно насыщенные арматурой, формуемые на виброплощадках или в кассетных установках

1...9

4 и менее

П-3,

П-4

Тонкостенные конструкции сильно насыщенные арматурой (тонкие стенки, бункера, силосы, тонкие колонны, арочные и блочные мосты, опорные части)

 

10 и более

 

3. Определение водопотребности смеси

По графику (рис. П.10.1) находят водопотребность бетонной смеси (Вс) и корректируют ее по формуле

В = kд (Вс + Вз),                                                    (П.10.1)

где kд - коэффициент, учитывающий вид добавки (при использовании пластификаторов kд = 0,9, в случае суперпластификаторов kд = 0,8); Bз - поправка на вид и крупность заполнителя (если вместо щебня используется гравий с НК = 40 мм, то B0 = +10 л, в случае, когда НК = 20 мм, то Bз = +12 л, при НК = 10 мм, Вз = +24 л; а при НК = 80 мм Bз = -12 л).

Рис. П.10.1. Зависимость удобоукладываемости смеси от водопотребности

Рис. П.10.2. График для определения В/Ц

4. Определение водоцементного отношения

4.1. Водоцементное отношение находится по графику рис. П.10.2 или по формуле

В/Ц ~ (Rц / R) . (0,6 - 0,0014В) + 0,09.                         (П.10.2)

4.2. В случае если в составе бетонной смеси присутствуют гравий или мелкий песок, значение водоцементного отношения, полученное по графику рис. П.10.2 или из формулы (П.10.2), следует умножать на 0,9, для пропариваемого бетона - на 0,7.

4.3. Назначая водоцементное отношение, следует учитывать предельное значение В/Ц, определяемое по табл. П.10.3 в зависимости от условий последующей эксплуатации бетона.

Таблица П.10.3

Максимальные значения В/Ц для бетонов различных условий службы

Условия службы бетона

Железобетонные конструкции

Бетонные и малоармированные массивные конструкции

Морская вода

Пресная вода

Морская вода

Пресная вода

1. В подводных частях:

 

 

 

 

напорные сооружения

0,55

0,60

0,60

0,65

безнапорные сооружения

0,60

0,65

0,65

0,65

2. В зоне переменного горизонта воды:

 

 

 

 

в суровом климате

0,50

0,55

0,55

0,60

в умеренном климате

0,53

0,57

0,57

0,62

в мягком климате

0,55

0,60

0,60

0,65

3. В надводных частях, иногда омываемых водой.

0,65

0,65

0,70

0,70

* Согласно ГОСТ 8424-72 «Бетон дорожный» следует принимать для однослойных и верхнего слоя двухслойных покрытий (В/Ц) < 0,5; для нижнего слоя двухслойных покрытий - (В/Ц) < 0,6.

4.4. С целью экономии цемента его активность следует назначать в зависимости от требуемой марки бетона, принимая соотношение Rц/Rб = 1,5...2,0.

5. Определение расхода цемента

5.1. Расход цемента определяется по формуле

                                                    (П.10.3)

5.2. Если приходится применять цемент более высокой активности, то целесообразно вводить его в бетон в меньшем количестве, дополнив инертными или активными минеральными добавками (каменная мука, лесс, трепел; зола, шлак и т.п.) в количестве

.                                          (П.10.4)

6. Определение расхода заполнителей

Абсолютный объем заполнителей в 1 м3 бетона

Vз = 1000 - (В + Ц/ρц + b),                                                (П.10.5)

где ρц - плотность цемента, кг/л;

b - остаточный объем воздуха в уплотненной смеси (b = 20 л, если в смесь не вводятся воздухововлекающие добавки; если вводятся - b = 50 л).

6.2. По графику (рис. П.10.3) или экспериментально определяются dm - максимальная плотность смеси сухих заполнителей и rm - соотношение между мелким «М» и крупным «К» заполнителями, при котором достигается dm (rm обычно находится в интервале 0,5...0,7, а dm = 0,77...0,85)

6.3. Подсчитываются оптимальные r0 и ρз:

;                                           (П.10.6)

,                                            (П.10.7)

а затем расход крупного и мелкого заполнителей:

,                                                  (П.10.8)

М = К . r0.                                                     (П.10.9)

6.4. При определении r0 в формуле (П.10.6) второе слагаемое должно быть больше единицы. Если оно окажется меньше, то цементного теста недостаточно для заполнения пустот в смеси заполнителей. Для плотного бетона это недопустимо. В таком случае необходимо приравнять второе слагаемое формулы единице. Из полученного выражения найти Vз, решая совместно (П.10.3) и (П.10.5), найти расход воды и цемента, которые обеспечат заполнение пустот в смеси заполнителей цементным тестом. После этого рассчитать по формуле (П.10.5) Vза, принимая r0 = rm по формулам (П.10.8), (П.10.9) найти К и М.

Рис. П.10.3. График для определения состава и крупности заполнителя

При этом, обеспечивая плотный бетон, расход цементного теста уменьшать нельзя, если даже прочность превысит заданную. Для ее снижения и экономии вяжущего лучше вводить добавку, количество которой можно подсчитать по формуле (П.10.4) или применить вяжущее более низкой активности.

7. Корректировка состава бетона

7.1. Выбранное соотношение компонентов подлежит обязательной проверке. Для этого приготавливается пробный замес и определяется его удобоукладываемость. Если окажется, что она не соответствует заданной, состав корректируется. Для этого на рис. П.10.1 наносится точка с координатами: «расход воды» - полученная удобоукладываемость. Через нее проводят прямую, параллельную имеющейся. Она выразит В = f(Ж, ОК.) для фактически примененных материалов. Расход воды принимают по этой линии против требуемого значения удобоукладываемости. Затем по формулам (П.10.3), (П.10.8), (П.10.9) подсчитывают Ц, К и М. Вновь контролируют удобоукладываемость смеси. Если она соответствует заданной, то формуют контрольные образцы и определяют фактическое воздухосодержание уплотненной смеси по формуле

                      (П.10.10)

где  -   средняя плотность бетонной смеси, определяемая непосредственным измерением, а

.

7.2. Корректировка состава из-за несоответствия воздухосодержания проводится после испытания образцов на прочность и лишь в тех случаях, когда его фактическая величина превысит принятую более чем на 10 л, в расчеты по формуле (П.10.5) подставляется фактическая величина b и по формулам (П.10.6) - (П.10.9) находится расход остальных компонентов.

7.3. После выдерживания образцы бетона испытывают на прочность. Величины разрушающих нагрузок Р и площадей рабочих сечений образцов записывают в журнал испытаний. Рабочую площадь сечения образцов F определяют по результатам измерения как среднее арифметическое значение площадей двух противоположных граней, перпендикулярных слоям укладки бетона.

Прочность бетона на сжатие (ГОСТ 10180-78) вычисляют для каждого образца по формуле, кгс/см2

,                                                          (П.10.11)

где α - масштабный коэффициент прочности бетона (при ребре куба 7 см α = 0,85; при 10 см - α = 0,91; при 15 см - α = 1; при 20 - α = 1,05; при 30 - α = 1,1).

7.4. Если окажется, что прочность не соответствует требуемой (разрешается отклонение до 15 %), то уточнение производится по полученному результату, который точкой наносят на график (рис. П.10.2) против принятого для замеса В/Ц. Через нее проводят прямую, параллельную имеющимся, она выразит Rб = f В/Ц для фактически примененных материалов. Против значения прочности на ней 1,075 . Rбтр находится искомое значение В/Ц. Его можно также подсчитать по формуле

.                                  (П.10.12)

После того как найдено требуемое В/Ц по формулам (П.10.3) - (П.10.9) подсчитывается состав бетона, приготовляется контрольный замес, по которому заново проверяются все параметры бетона.

ПРИЛОЖЕНИЕ 11

КЛАССИФИКАЦИЯ БЕТОННЫХ СМЕСЕЙ

Удобоукладываемость бетонных смесей определяется в соответствии с ГОСТ 10181.1-81. По показателям жесткости или подвижности бетонные смеси условно делятся на две группы, которые приведены в таблице.

Группе смесей

Индекс смесей

Показатели удобоукладываемости

Жесткость Ж, с по ГОСТ 10181.1-81

Подвижность П, см по ГОСТ 10181.1-81

Жесткие

Ж4

31 и более

-

Ж3

21...30

-

Ж2

11...20

-

Ж1

6...10

-

Подвижные

П1

-

4 и менее

П2

-

5...9

П3

-

10...15

П4

-

16 и более

СОДЕРЖАНИЕ

1. Основные положения. 2

2. Формы и стенды.. 2

3. Режимы вибрационного формования. 3

4. Классификация виброформовочного оборудования. 5

5. Контроль режима работы виброформовочного оборудования. 12

6. Отделка свежеотформованных изделий. 13

7. Эксплуатация и ремонт вибрационных машин. 13

8. Техника безопасности. 14

Приложение 1 Технические характеристики глубинных вибромашин. 15

Приложение 2 Технические характеристики вибромашин общего назначения. 16

Приложение 3 Технические характеристики серийных виброплощадок челябинского завода «строймашина». 17

Приложение 4 Виброплощадки рамного и блочного типа, изготавливаемые министерствами и ведомствами. 17

Приложение 5 Технические характеристики кассетных установок. 20

Приложение 6 Поверхностные вибромашины, изготавливаемые министерствами и ведомствами. 20

Приложение 7 Способы оценки интенсивности вибрационного воздействия. 21

Приложение 8 Определение технологических параметров и расчет вибрационных площадок. 26

Приложение 9 Определение технологических параметров и расчет поверхностных машин. 31

Приложение 10 Оптимизация составов цементобетонов. 36

Приложение 11 Классификация бетонных смесей. 40

 



 




Rambler's Top100 Яндекс цитирования
  Copyright © 2008-2026, www.docload.ru