Бесплатная библиотека стандартов и нормативов www.docload.ru

Все документы, размещенные на этом сайте, не являются их официальным изданием и предназначены исключительно для ознакомительных целей.
Электронные копии этих документов могут распространяться без всяких ограничений. Вы можете размещать информацию с этого сайта на любом другом сайте.
Это некоммерческий сайт и здесь не продаются документы. Вы можете скачать их абсолютно бесплатно!
Содержимое сайта не нарушает чьих-либо авторских прав! Человек имеет право на информацию!

 

ГОСУДАРСТВЕННЫЙ СТАНДАРТ СОЮЗА ССР

КРЮКИ ДВУРОГИЕ. ЗАГОТОВКИ

ТИПЫ. КОНСТРУКЦИЯ И РАЗМЕРЫ

ГОСТ 6628-73

ИПК ИЗДАТЕЛЬСТВО СТАНДАРТОВ

Москва

ГОСУДАРСТВЕННЫЙ СТАНДАРТ СОЮЗА ССР

КРЮКИ ДВУРОГИЕ. ЗАГОТОВКИ

Типы. Конструкция и размеры

Ramshorn hooks. Blanks.
Type. Construction and dimensions

ГОСТ
6628-73

Дата введения 01.01.75

Настоящий стандарт распространяется на заготовки двурогих кованых и штампованных крюков с цилиндрическим хвостовиком, применяемых в грузоподъемных машинах.

Требования настоящего стандарта являются обязательными.

(Измененная редакция, Изм. № 1).

1. типы

1.1. Заготовки крюков должны изготовляться следующих типов:

А - с коротким хвостовиком;

Б - с удлиненным хвостовиком.

1.2. Заготовки крюков должны изготовляться методом горячей объемной штамповки (I) и методом свободной ковки (II).

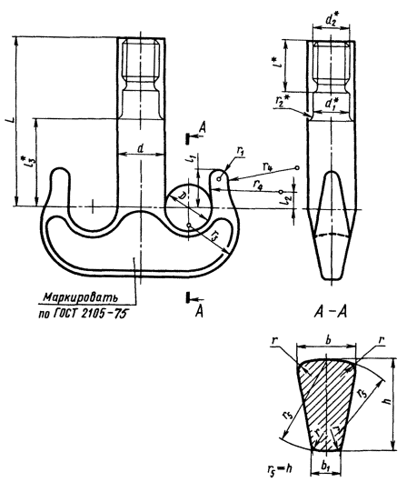
2. КОНСТРУКЦИЯ И РАЗМЕРЫ

2.1. Конструкция и размеры заготовок крюков должны соответствовать указанным на чертеже и в таблице.

(Измененная редакция, Изм. № 1).

_____________

* Размеры для справок.


Размеры в мм

Номер заготовки крюка

D

d

d1

d2

b

b1

Номин.

Пред. откл. для метода

Номин.

Пред. откл. для метода

Номин.

Пред. откл. для метода

Номин.

Пред. откл. для метода

I

II

I

II

I

II

I

II

1

60

+3,9

-2,3

+8

-2

56

+3,9

-2,3

+8

-2

50

M48

35

+3,7

-2,1

+7

-2

18

+3,7

-2,1

+7

-2

2

70

+4,1

-2,4

62

+4,1

-2,4

+9

-2

55

M52

40

+3,9

-2,2

+8

-2

20

+3,9

-2,2

+8

-2

3

80

+9

-2

68

60

M56

45

22

4

90

+4,4

-2,6

80

+4,4

-2,6

+10

-2

70

M64

50

+4,2

-2,4

25

+4,2

-2,4

5

100

+5,4

-2,9

+10

-2

85

+5,4

-2,9

75

Трап. 70 ´ 10

60

+5,4

-2,9

+9

-2

30

+5,2

-2,7

+9

-2

6

115

+6,4

-3,2

95

+6,4

-3,2

+11

-3

85

Трап. 80 ´ 10

65

+6,4

-3,2

32

+6,2

-3,0

7

125

+6,5

-3,3

+11

-3

110

100

Трап. 90 ´ 12

75

+12

-3

38

+12

-3

8

145

+8,5

-3,9

+14

-3

125

+8,5

-3,9

+14

-3

110

Трап. 100 ´ 12

85

+8,4

-3,8

42

+8,2

-3,6

9

160

+11,5

-4,8

135

+11,5

-4,8

120

Трап. 110 ´ 12

95

+11,4

-4,7

+17

-3

48

+11,2

-4,5

10

180

+18

-4

160

+18

-3

140

Трап. 120 ´ 16

105

52

+11,4

-4,7

+14

-3

11

200

+13,8

-5,7

170

+13,5

-5,4

150

Трап. 140 ´ 16

115

+13,4

-5,3

+18

-3

58

+13,4

-5,3

+16

-3

12

220

+22

-4

190

+13,8

-5,7

+22

-4

170

Трап. 160 ´ 16

130

+13,5

-5,4

+20

-4

65

+13,4

-5,4

 

13

250

+24

-4

200

180

Трап. 170 ´ 16

150

75

+13,4

-5,3

14

280

+14,0

-5,9

220

200

Трап. 180 ´20

165

+22

-4

85

Продолжение

Размеры в мм

Номер заготовки крюка

h

L

l

l1

l2

l3

r

r1

r2

r3

r4

Масса, кг

Номин.

Пред. откл. для метода

Тип А

Тип Б

Тип А

Тип Б

I

II

1

60

+3,9

-2,3

+8

-2

230

475

70

50

22

70

10

10

3

65

100

8

12

2

70

+4,1

-2,4

+9

-2

260

520

75

55

25

80

12

80

115

11

17

3

75

+10

-2

280

580

80

60

28

85

4

90

125

14

21

4

85

+4,4

-2,6

325

640

90

70

30

100

15

15

100

135

20

30

5

95

+5,4

-2,9

+12

-3

360

700

95

80

35

110

16

115

145

28

39

6

110

+6,4

-3,2

420

760

100

85

40

120

20

5

125

165

41

55

7

120

470

820

115

95

45

130

18

22

135

180

60

78

8

140

+8,5

-3,9

+14

-3

525

875

130

115

50

150

20

25

160

200

90

112

9

150

+11,5

-4,8

590

940

140

130

55

170

22

26

175

230

126

155

10

170

+16

-3

660

1000

150

140

65

180

30

6

200

260

159

206

11

180

+13,5

-5,4

725

1050

175

165

70

205

25

220

280

228

265

12

210

+13,8

-5,7

+23

-4

800

1150

190

180

80

220

35

8

240

310

302

357

13

235

860

1175

205

200

95

250

30

265

330

400

471

14

270

+14,0

-5,7

900

1200

230

210

100

260

35

40

10

300

360

530

620

Примечания:

1. Длина L заготовки крюка указана без припуска на испытания.

2. Длину L для заготовок крюков типа Б разрешается увеличивать не более чем на 100 мм для машин, у которых группа режима работы механизма подъема 6М.

3. В заготовках крюков, изготовляемых методом свободной ковки, несоосность зевов относительно общей оси для заготовок крюков с номера 1 по 5 - не более 8, с 6 по 10 - не более 14, с 11 по 14 - не более 20 мм.

4. В заготовках крюков, изготовляемых методом свободной ковки, допускается в нижней части сечения А-А радиус r не выполнять.


Пример условного обозначения заготовки крюка 4 типа А:

Заготовка крюка 4А ГОСТ 6628-73

2.2. Метрическая резьба - по ГОСТ 16093-81 с полем допусков 6g, трапецеидальная - по ГОСТ 9562-81.

2.3. Технические требования, методы испытаний, маркировка и транспортирование - по ГОСТ 2105-75.

2.4. Грузоподъемность крюков должна соответствовать величинам, указанным в приложении.

ПРИЛОЖЕНИЕ
Обязательное

НАИБОЛЬШАЯ ГРУЗОПОДЪЕМНОСТЬ КРЮКОВ, т

Номер заготовки крюка

Для машин и механизмов с ручным приводом

Для механизмов групп режима работы по ГОСТ 25835-83

до 4М

5М и 6М

1

8,0

6,3

5,0

2

10,0

8,0

6,3

3

12,5

10,0

8,0

4

16,0

12,5

10,0

5

20,0

16,0

12,5

6

-

20,0

16,0

7

-

25,0

20,0

8

-

32,0

25,0

9

-

40,0

32,0

10

-

50,0

40,0

11

-

63,0

50,0

12

-

80,0

63,0

13

-

100,0

80,0

14

-

-

100,0

(Измененная редакция, Изм. № 1).

ИНФОРМАЦИОННЫЕ ДАННЫЕ

1. РАЗРАБОТАН И ВНЕСЕН Министерством тяжелого, энергетического и транспортного машиностроения СССР

РАЗРАБОТЧИКИ

А.С. Липатов, С.П. Маркин, В.Л. Грищенко, Н.М. Колпаков, Л.В. Бурдукский

2. УТВЕРЖДЕН И ВВЕДЕН В ДЕЙСТВИЕ Постановлением Государственного комитета стандартов Совета Министров СССР от 11.11.73 № 2435

3. Срок проверки - 1994 г.; периодичность проверки - 5 лет

4. ВЗАМЕН ГОСТ 6628-63

5. ССЫЛОЧНЫЕ НОРМАТИВНО-ТЕХНИЧЕСКИЕ ДОКУМЕНТЫ

Обозначение НТД, на который дана ссылка

Номер пункта, приложения

ГОСТ 2105-75

2.1, 2.3

ГОСТ 9562-81

2.2

ГОСТ 16093-81

2.2

ГОСТ 25835-83

Приложение

6. Ограничение срока действия снято по протоколу № 4-93 Межгосударственного Совета по стандартизации, метрологии и сертификации

7. ПЕРЕИЗДАНИЕ (июль 1996 г.) с Изменением № 1, утвержденным в декабре 1991 г. (ИУС 4-92)




Rambler's Top100 Яндекс цитирования
  Copyright © 2008-2026, www.docload.ru