Бесплатная библиотека стандартов и нормативов www.docload.ru

Все документы, размещенные на этом сайте, не являются их официальным изданием и предназначены исключительно для ознакомительных целей.
Электронные копии этих документов могут распространяться без всяких ограничений. Вы можете размещать информацию с этого сайта на любом другом сайте.
Это некоммерческий сайт и здесь не продаются документы. Вы можете скачать их абсолютно бесплатно!
Содержимое сайта не нарушает чьих-либо авторских прав! Человек имеет право на информацию!

 

ГОСУДАРСТВЕННЫЙ СТАНДАРТ СОЮЗА ССР

АЦЕТИЛЕН РАСТВОРЕННЫЙ
И ГАЗООБРАЗНЫЙ ТЕХНИЧЕСКИЙ

ТЕХНИЧЕСКИЕ УСЛОВИЯ

ГОСТ 5457-75

ГОСУДАРСТВЕННЫЙ КОМИТЕТ СССР ПО СТАНДАРТАМ

Москва

ГОСУДАРСТВЕННЫЙ СТАНДАРТ СОЮЗА ССР

АЦЕТИЛЕН РАСТВОРЕННЫЙ
И ГАЗООБРАЗНЫЙ ТЕХНИЧЕСКИЙ

Технические условия

Dissolved acetylene and gaseous acetylene
for technical purposes. Specifications

ГОСТ
457-75*

Взамен

ГОСТ 5457-60,

ГОСТ 5.2203-74

Постановлением Государственного комитета стандартов Совета Министров СССР от 16 апреля 1975 г. № 964 срок введения установлен

с 01.01.77

Проверен в 1986 г. Постановлением Госстандарта от 23.07.86 № 2220 срок действия продлен

до 01.01.92

Несоблюдение стандарта преследуется по закону

Настоящий стандарт распространяется на технический ацетилен, получаемый из карбида кальция в стационарных генераторах.

Технический растворенный ацетилен марки А предназначается для питания осветительных установок, технический растворенный ацетилен марки Б и технический газообразный ацетилен предназначаются для использования в качестве горючего газа при газопламенной обработке металлов.

Технический ацетилен выпускается двух видов: растворенный и газообразный.

Растворенный ацетилен представляет собой находящийся под давлением в баллоне раствор ацетилена в ацетоне, равномерно распределенный в пористой массе.

Газообразный ацетилен - бесцветный газ плотностью при 0 °С и 101,3 кПа (760 мм рт. ст.) - 1,173 кг/м3.

Формула С2Н2.

Молекулярная масса (по международным атомным массам 1985 г.) - 26,038.

Требования настоящего стандарта являются обязательными.

(Измененная редакция, Изм. № 1, 2, 3).

1. ТЕХНИЧЕСКИЕ ТРЕБОВАНИЯ

1.1a. Технический ацетилен растворенный и газообразный должен быть изготовлен в соответствии с требованиями настоящего стандарта по технологическому регламенту, утвержденному в установленном порядке.

(Введен дополнительно, Изм. № 1).

1.1. По физико-химическим показателям технический ацетилен должен соответствовать нормам, указанным в табл. 1.

Таблица 1

Наименование показателя

Норма для ацетилена

растворенного

газообразного ОКП 2411220300

марки А

марки Б

ОКП 2411220100

первого сорта ОКП 2411220230

второго сорта ОКП 2411220240

1. Объемная доля ацетилена, %, не менее

99,5

99,1

98,8

98,5

2. Объемная доля воздуха и других малорастворимых в воде газов, %, не более

0,5

0,8

1,0

1,4

3. Объемная доля фосфористого водорода, %, не более

0,005

0,02

0,05

0,08

4. Объемная доля сероводорода, %, не более

0,002

0,005

0,05

0,05

5. Массовая концентрация водяных паров при температуре 20 °С и давлении 101,3 кПа (760 мм рт. ст.), г/м3, не более

0,4

0,5

0,6

Не нормируется

что соответствует температуре насыщения, °С, не выше

Минус 26

Минус 24

Минус 22

 

(Измененная редакция, Изм. № 2, 3).

1a. ТРЕБОВАНИЯ БЕЗОПАСНОСТИ

1а.1. Ацетилен - взрывоопасный газ. С воздухом образует взрывоопасную смесь с нижним концентрационным пределом воспламенения при атмосферном давлении, приведенным к температуре 25 °С, - 2,5 % (по объему) по ГОСТ 12.1.004-85.

Температура самовоспламенения ацетилена 335 °С.

1а.2. По категориям и группам взрывоопасности ацетилен относится к категории и группе IIC-T2 по ГОСТ 12.1.011-78.

1а.3. Содержание ацетилена в воздухе рабочей зоны должно контролироваться автоматическими приборами непрерывного действия, сигнализирующими о превышении в воздухе допустимой взрывобезопасной концентрации ацетилена, а также периодически с помощью индикаторных трубок по ГОСТ 12.1.014-84.

1а.4. Производство ацетилена по пожарной опасности относится к категории А, по классам взрывоопасных зон - к классам В1; B1а; B1б; В1г.

1а.5. Помещения ацетиленового производства должны иметь приточную и вытяжную вентиляцию.

1а.6. Все работы, связанные с производством и использованием ацетилена должны выполняться в соответствии с правилами безопасности для производства ацетилена, утвержденными Госгортехнадзором СССР.

1а.7. В качестве средств пожаротушения следует использовать сжатый азот, углекислотные огнетушители, асбестовое полотно, песок.

Разд. 1а. (Введен дополнительно, Изм. № 2).

2. ПРАВИЛА ПРИЕМКИ

2.1. Растворенный и газообразный ацетилен принимают партиями. Партией растворенного ацетилена считают любое количество однородного по своим качественным показателям ацетилена, полученного за один технологический цикл и сопровождаемого одним документом о качестве.

Партией газообразного ацетилена, транспортируемого по трубопроводу, считают любое количество ацетилена, направляемое потребителю в течение 24 ч.

Партия растворенного и газообразного ацетилена, направляемая потребителю, должна сопровождаться документом о качестве, содержащим следующие данные:

наименование предприятия-изготовителя и его товарный знак;

наименование, марку и сорт продукта;

номер партии;

дату изготовления продукта;

количество ацетилена в килограммах или кубических метрах;

результаты проведенных анализов или подтверждение о соответствии продукта требованиям настоящего стандарта;

обозначение настоящего стандарта.

(Измененная редакция, Изм. № 2).

2.2. Пробу растворенного ацетилена на предприятиях-изготовителях отбирают от каждой партии из коллектора после осушки ацетилена перед наполнительной рампой. Объем пробы составляет 20-35 дм3.

2.3. Пробу газообразного ацетилена отбирают не менее одного раза за 24 ч непосредственно из трубопровода перед центральным водяным затвором.

Объем пробы не должен быть менее 20 дм3.

2.4. Для проверки качества растворенного ацетилена потребителем отбирают 2 % баллонов, но не менее двух баллонов при объеме партии менее 100 баллонов. В отобранных баллонах проверяют давление.

2.5. При получении неудовлетворительных результатов анализа хотя бы по одному из показателей должна производиться повторная проверка на удвоенной выборке или удвоенном объеме проб от той же партии.

Результаты повторных анализов являются окончательными и распространяются на всю партию.

3. МЕТОДЫ АНАЛИЗА

3.1. Отбор проб

3.1.1. Для проверки качества ацетилена пробы отбирают из трубопровода или из баллона при 15-35 °С с помощью ацетиленового редуктора. Баллоны должны быть выдержаны в помещении не менее 8 ч.

3.1.2. Перед определением содержания примесей первая порция ацетилена должна быть выпущена в атмосферу, для чего необходимо на 2-3 с полностью открыть вентиль для анализа на трубопроводе или вентиль на баллоне. Соединительные трубки от места отбора проб до установки для анализа должны быть продуты не менее чем десятикратным объемом анализируемого ацетилена. Ацетилен в установку подается под давлением не выше 1000 мм вод. ст.

Примечание. Допускается отбирать пробы ацетилена в латексные камеры для спортивных мячей или кислородные подушки, предварительно промыв их 3-4 раза анализируемым газом. Время пребывания пробы газа в камере и подушке не должно превышать 30 мин.

(Измененная редакция, Изм. № 2).

3.1а. Определение объемной доли ацетилена

Объемную долю ацетилена (X) в процентах вычисляют по разности между 100 и суммой объемных долей примесей по формуле

Х = 100 - (Х1 + Х2 + Х3 + 0,1335 X4),

где X1 - объемная доля воздуха и других малорастворимых в воде газов, %;

Х2 - объемная доля фосфористого водорода, %;

X3 - объемная доля сероводорода, %;

Х4 - массовая концентрация водяного пара, г/м3;

0,1335 - коэффициент пересчета г/м3 в объемную долю водяного пара, выраженную в процентах.

(Введен дополнительно, Изм. № 2).

3.2. Определение объемной доли воздуха и других малорастворимых в воде газов

Объемную долю воздуха и других малорастворимых в воде газов определяют объемным способом, основанным на поглощении ацетилена проточной водой и измерении объема непоглощенных газов.

(Измененная редакция, Изм. № 1).

3.2.1. Применяемые реактивы и аппаратура:

вода водопроводная по ГОСТ 2874-82;

склянка с тубусом типа 3-3 по ГОСТ 25336-82;

термометр по ГОСТ 28498-90;

бюретка вместимостью 100 см3;

редуктор ацетиленовый по ГОСТ 13861-89;

весы лабораторные общего назначения 4-го класса точности с наибольшим пределом взвешивания 2 кг.

(Измененная редакция, Изм. № 2, 3).

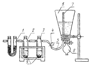
3.2.2. Описание установки

Установка для определения объемной доли воздуха (черт. 1) состоит из склянки 1, тубус которой соединен с бюреткой 4 при помощи резиновой трубки 7. Бюретка 4 с двухходовым краном 2 и одноходовым краном 5, номинальной вместимостью 100 см3, с градуированной верхней узкой трубкой вместимостью около 5 см3 с ценой деления 0,1 см3.

Подача ацетилена в бюретку осуществляется через трубку 3, соединенную с редуктором. Общую вместимость бюретки для анализа, равную объему бюретки от верхнего крана до нижнего крана, определяют по массе воды, заполняющей бюретку. Для этого взвешивают на технических весах пустую бюретку и заполненную дистиллированной водой комнатной температуры. Концы трубок над кранами 2 и 5 высушивают фильтровальной бумагой.

Общую вместимость бюретки (V) в см3 вычисляют по формуле

V = (m1 - m)×1,002,

где m - масса пустой бюретки, г;

m1 - масса бюретки, заполненной водой, г;

1,002 - удельный объем воды при 20 °С, см3/г.

Черт. 2. (Исключен, Изм. № 2).

(Измененная редакция, Изм. № 1, 2).

3.2.3. Проведение анализа

Склянку заполняют водопроводной водой, которую выдерживают в открытой склянке в течение 12 ч при 15-25 °С.

Установка для определения содержания воздуха и других малорастворимых в воде газов в ацетилене

1 - склянка 3-3 по ГОСТ 25336-82; 2, 5 - краны; 3, 7 - резиновые трубки; 4 - бюретка; 6 - сосуд.

Черт. 1

Черт. 2. (Исключен, Изм. № 2).

Пробку крана 2 поворачивают так, чтобы бюретка сообщалась с редуктором, открывают кран 5 и, продув бюретку в течение 4-5 мин ацетиленом, закрывают последовательно краны 5 и 2. Давление газа в бюретке выравнивают с атмосферным кратковременным открыванием крана 5, кончик которого погружают в воду. Затем сообщают бюретку со склянкой краном 2. При этом некоторое количество воды стекает в бюретку.

Постепенно открывают кран 5 так, чтобы избежать проскока через него пузырьков газа, и пропускают воду через бюретку до тех пор, пока уровень ее не перестанет повышаться. После этого закрывают кран 2 и измеряют объем остатка газа.

Истинный объем воздуха меньше наблюдаемого объема газа в бюретке, так как в условиях определения ацетилен вытесняет из воды растворенный воздух. Величину вытесненного воздуха вычитают из полученной величины остатка газа.

(Измененная редакция, Изм. № 2).

3.2.4. Обработка результатов

Объемную долю воздуха и других малорастворимых в воде газов (X1) в процентах вычисляют по формуле

,

где V - объем газа, взятый для анализа, равный вместимости бюретки, см3;

V1 - объем поглощенных газов, см3;

V2 - объем воздуха, растворенного в воде, в зависимости от температуры воды, указанной в табл. 2, см3.

Таблица 2

Температура воды, °С

Объем воздуха, см3, растворенного в 1 см3 воды

15

0,0205

16

0,0201

17

0,0197

18

0,0194

19

0,0190

20

0,0187

21

0,0183

22

0,0180

23

0,0177

24

0,0174

25

0,0171

26

0,0168

За результат анализа принимают среднее арифметическое результатов двух параллельных определений, расхождение между которыми не должно превышать допускаемое расхождение, равное 10 %.

Допускается относительная суммарная погрешность результата анализа ± 20 % при доверительной вероятности 0,95.

(Измененная редакция, Изм. № 1, 2, 3).

3.3. Определение объемной доли фосфористого водорода

Объемную долю фосфористого водорода определяют титрометрическим методом, основанным на окислении фосфористого водорода до фосфорной кислоты раствором йода. Избыток йода оттитровывают раствором серноватистокислого натрия.

3.3.1. Применяемые реактивы, растворы и аппаратура:

йод по ГОСТ 4159-79, раствор концентрации с  моль/дм3 (0,01 н.);

натрий серноватистокислый (тиосульфат натрия) по ГОСТ 27068-86, раствор концентрации с (Na2S2O3 5H2O) = 0,01 моль/дм3 (0,01 н.);

крахмал по ГОСТ 10163-76, раствор с массовой долей 0,5 %;

кадмий хлористый по ГОСТ 4330-76, 2, 5-водный, или кадмий уксуснокислый по ГОСТ 5824-79, 2-водный;

кислота уксусная по ГОСТ 61-75, х. ч., ледяная;

натрий уксуснокислый по ГОСТ 199-78, 3-водный;

кадмий уксуснокислый, раствор готовят следующим образом: 27 г уксуснокислого кадмия или 22 г хлористого кадмия растворяют в 1 дм3 воды, к раствору прибавляют 10 см3 уксусной кислоты и 10 г уксуснокислого натрия;

вода дистиллированная по ГОСТ 6709-72;

вата стеклянная;

трубки соединительные типа TX-U-2-100 по ГОСТ 25336-82;

склянки для промывания газов по ГОСТ 25336-82, типа СН 1-200;

колба плоскодонная типа П-2-1000-34 или колба коническая типа КН-1000-45 по ГОСТ 25336-82;

редуктор ацетиленовый по ГОСТ 13861-89;

реометр по ГОСТ 9932-75;

весы лабораторные общего назначения 4-го класса точности с наибольшим пределом взвешивания 2 кг;

весы лабораторные общего назначения 2-го класса точности с наибольшим пределом взвешивания 200 г.

воронка капельная типа ВК-50 по ГОСТ 25336-82;

термометр по ГОСТ 28498-90.

(Измененная редакция, Изм. № 3).

3.3.2. Описание установки

Установка для определения объемной доли фосфористого водорода (черт. 3) состоит из трубки ТХ-U1, заполненной стеклянной ватой, двух склянок для промывания газов. Склянки 2 и 3 снабжены фильтрами 9 из пористого стекла. Склянка 3 соединена резиновой трубкой 5 со стеклянной колбой 6, в которую отбирают пробу ацетилена. Колбу 6 плотно закрывают пробкой с двумя отверстиями. В одно из них вставлена трубка капельной воронки 8 так, чтобы нижний конец трубки находился на уровне нижней поверхности пробки колбы. В другое отверстие пробки вставлена стеклянная трубка 7, доходящая почти до дна колбы. Конец этой трубки соединен со склянкой 3.

3.3-3.3.2. (Измененная редакция, Изм. № 1, 2).

3.3.3. Проведение анализа

Колбу 6 полностью заполняют водой, насыщенной ацетиленом (на один объем воды пропускают два объема ацетилена). В склянку 2 наливают 100 см3 раствора уксуснокислого кадмия, в склянку 3 наливают 100 см3 воды.

Трубку TX-U1 при помощи резиновой трубки соединяют с редуктором.

После этого установку продувают ацетиленом, и, не прекращая подачи ацетилена, сообщают колбу 6 со склянками 3 и 2. Кран капельной воронки 8 при этом должен быть открыт. Колбу быстро переворачивают (в положение, указанное на черт. 3) и пропускают ацетилен со скоростью не более 0,5 дм3/мин, измеряя скорость пропускания газа по реометру, до полного вытеснения воды, стекающей через воронку. Кран закрывают и почти одновременно отсоединяют прибор от шланга редуктора, зажав резиновую трубку 5 винтовым зажимом 4.

Установка для определения фосфористого водорода

1 - трубка TX-U; 2, 3 - склянки для промывания газов; 4 - винтовой зажим; 5 - резиновая трубка; 6 - коническая колба; 7 - стеклянная трубка; 8 - капельная воронка; 9 - фильтры.

Черт. 3

Небольшое избыточное давление ацетилена в установке выравнивают с атмосферным мгновенным приоткрыванием крана капельной воронки 8. В момент отбора пробы отмечают температуру и давление окружающего воздуха. Затем колбу переворачивают в первоначальное положение.

Ацетилен, находящийся в капельной воронке, удаляют трехкратным заполнением воронки водой.

В капельную воронку наливают 30 см3 раствора йода и через кран воронки отдельными порциями вводят его в колбу. Воронку тщательно промывают водой и, не допуская попадания воздуха, вводят промывную воду в колбу под давлением (вдуванием). Содержимое колбы в течение 10 мин энергично встряхивают.

(Измененная редакция, Изм. № 2).

3.3.4. Обработка результатов

Объемную долю фосфористого водорода (Х2) в процентах вычисляют по формуле

,

где      V3 -   объем раствора йода, концентрацией точно 0,01 моль/дм3, взятый для анализа, см3;

V4 -   объем раствора серноватистокислого натрия, концентрацией 0,01 моль/дм3, израсходованный на титрование избытка йода, см3;

0,000035 - объем фосфористого водорода, приведенный к 20 °С и 760 мм рт. ст., соответствующий 1 cм3 0,01 моль/дм3 раствора йода, дм3;

Vн -   объем ацетилена, взятый для анализа, приведенный к 20 °С и 101,3 кПа (760 мм рт. ст.), дм3, вычисляют по формуле

,

где Vк - вместимость колбы, дм3, определяемая по массе воды в объеме колбы;

Р - барометрическое давление, Па (мм рт. ст.);

Pt - давление насыщенных паров воды при °С, Па (мм. рт. ст.);

Р0 - нормальное давление составляет 101325 Па (760 мм рт. ст.);

t - температура газа во время анализа, °С.

За результат анализа принимают среднее арифметическое результатов двух параллельных определений, расхождение между которыми не должно превышать допускаемое расхождение, равное 10 %.

Допускаемая относительная суммарная погрешность результата анализа ± 25 % при доверительной вероятности 0,95.

(Измененная редакция, Изм. № 2, 3).

3.4. Определение объемной доли сероводорода

Содержание сероводорода определяют титрометрическим методом, при этом сероводород поглощают уксуснокислым кадмием, затем окисляют раствором йода. Избыток раствора йода оттитровывают раствором серноватистокислого натрия.

(Измененная редакция, Изм. № 1, 2).

3.4.1. Применяемые реактивы и аппаратура:

йод по ГОСТ 4159-79, раствор концентрации с  моль/дм3 (0,1 н.) и раствор концентрации c  моль/дм3 (0,01 н.);

натрий серноватистокислый по ГОСТ 27068-86, раствор концентрации c (Na2S2О3×5H2O) = 0,1 моль/дм3 (0,1 н.) и раствор концентрации c (Na2S2О3×5H2O) = 0,01 моль/дм3 (0,01 н.);

крахмал растворимый по ГОСТ 10163-76, водный раствор с массовой долей 0,5 %;

кислота соляная по ГОСТ 3118-77, плотностью 1,12 г/см3;

вода дистиллированная по ГОСТ 6709-72;

кадмий уксуснокислый, 2-водный раствор готовят по п. 3.3.1;

кислота уксусная по ГОСТ 61-75, х. ч., ледяная;

натрий уксуснокислый по ГОСТ 199-78, 3-водный;

склянка для промывания газов по ГОСТ 25336-82 типа СН 1-200;

редуктор ацетиленовый по ГОСТ 13861-89;

секундомер;

реометр по ГОСТ 9932-75;

склянка с тубусом типа 4-10 по ГОСТ 25336-82 или счетчик газовый барабанный типа РГ-700 или ГСБ-400;

весы лабораторные общего назначения 2-го класса точности с наибольшим пределом взвешивания 200 г;

бюретка по ГОСТ 20292-74 типа 3-2-10-0,05, других типов с ценой наименьшего деления не более 0,05 см3.

(Измененная редакция, Изм. № 3).

3.4.2. Проведение анализа

В склянку для промывания газов, снабженную фильтром из пористого стекла, вводят 100 см3 раствора уксуснокислого кадмия и пропускают через раствор ацетилен в течение 20 мин со скоростью 0,5 дм3/мин, измеряя скорость пропускания газа по реометру.

К раствору, в котором образовался осадок, прибавляют 10 см3 раствора йода, 5 см3 соляной кислоты и через 5 мин оттитровывают избыток йода раствором серноватистокислого натрия в присутствии крахмала.

Растворы йода и серноватистокислого натрия концентрацией 0,01 моль/дм3 используют при определении объемной доли сероводорода до 0,01 %, при определении объемной доли сероводорода выше 0,01 % используют растворы концентрации 0,1 моль/дм3.

3.4.1, 3.4.2. (Измененная редакция, Изм. № 2).

3.4.3. Обработка результатов

Объемную долю сероводорода (Х3) в процентах вычисляют по формуле

,

где Vн - объем пробы ацетилена, приведенный к 20 °С и 101,3 кПа (760 мм рт. ст.), дм3;

V5 -   объем раствора серноватистокислого натрия, израсходованный на титрование избытка йода, см3;

V6 - объем раствора йода, введенный в поглотительный раствор;

V7 -   объем сероводорода, приведенный к 20 °С и 101,3 кПа (760 мм рт. ст.), соответствующий 1 см3 раствора йода, равный 0,001188 дм3 для раствора йода концентрации точно 0,1 моль/дм3 и 0,0001188 дм3 для раствора йода концентрации точно 0,01 моль/дм3.

За результат анализа принимают среднее арифметическое результатов двух параллельных определений, расхождение между которыми не должно превышать допускаемое расхождение, равное 10 %.

Допускаемая относительная суммарная погрешность результата анализа ± 25 % при доверительной вероятности 0,95.

(Измененная редакция, Изм. № 1; 2, 3).

3.5. Определение массовой концентрации водяных паров

Массовую концентрацию водяных паров в ацетилене определяют весовым методом, основанным на извлечении водяных паров из анализируемого газа гигроскопическим веществом. Допускается определять содержание водяных паров конденсационным методом, приведенным в приложении.

При этом арбитражным методом является весовой.

(Измененная редакция, Изм. № 1, 3).

3.5.1. Применяемые реактивы и приборы:

ангидрид фосфорный, ч. д. а.;

асбест мягкий по ГОСТ 12871-83;

кислота серная по ГОСТ 4204-77, плотностью 1,84 г/см3 или кальций хлористый;

натрий хлористый по ГОСТ 4233-77, насыщенный раствор;

реометр по ГОСТ 9932-75;

склянка с тубусом типа 4-20 по ГОСТ 25336-82 или счетчик газовый барабанный типа РГ-700 или ГСБ-400;

трубки соединительные типа TX-U-2-100 по ГОСТ 25336-82;

склянка для промывания газов типа СПЖ-250 или СПТ по ГОСТ 25336-82;

редуктор ацетиленовый по ГОСТ 13861-89;

секундомер;

весы лабораторные общего назначения 2-го класса точности с наибольшим пределом взвешивания 200 г.

(Измененная редакция, Изм. № 3).

3.5.2. Описание установки

Установка для определения водяных паров (черт. 4) состоит: из двух трубок TX-U 1, заполненных смесью, состоящей из 50 % прокаленного асбеста (температура прокаливания не выше 250 °С) и 50 % фосфорного ангидрида (по массе); склянки 2, наполненной серной кислотой на  объема или прокаленным хлористым кальцием; реометра, счетчика или склянки с тубусом 3, заполненной насыщенным раствором хлористого натрия.

Установка для определения водяных паров

1 - трубки TX-U; 2 - склянка для промывания газов; 3 - склянка с тубусом

Черт. 4

3.5.3. Проведение анализа

10-20 дм3 ацетилена пропускают со скоростью 100 см3/мин через две трубки TX-U, соединенные последовательно и взвешенные с погрешностью не более 0,0002 г до и после анализа. Объем пропущенного газа измеряют при помощи склянки с тубусом или счетчика.

3 5.1-3.5.3. (Измененная редакция, Изм. № 2).

3.5.4. Обработка результатов

Массовую концентрацию водяных паров (Х4) в г/м3 вычисляют по формуле

,

где m - изменение массы трубок, г;

Vн - объем пропущенного через трубки ацетилена, приведенный к 20 °С и 101,3 кПа (760 мм рт. ст.).

За результат анализа принимают среднее арифметическое результатов двух параллельных определений, расхождение между которыми не должно превышать допускаемое расхождение, равное 10 %.

Допускаемая относительная суммарная погрешность результата анализа ± 15 % при доверительной вероятности 0,95.

(Измененная редакция, Изм. № 1, 2, 3).

4. УПАКОВКА, МАРКИРОВКА, ТРАНСПОРТИРОВАНИЕ И ХРАНЕНИЕ

4.1. Технический газообразный ацетилен транспортируют по трубопроводам из стальных бесшовных труб по ГОСТ 8731-87 и ГОСТ 8734-75. Давление ацетилена в трубопроводе должно быть не более 0,15 МПа (1,5 кгс/см2). Окраска трубопроводов - по ГОСТ 14202-69.

(Измененная редакция, Изм. № 1, 2, 3).

4.2. Давление газа в трубопроводе должно измеряться манометром класса точности 2,5 по ГОСТ 2405-88, на циферблате которого должна стоять надпись «Ацетилен».

(Измененная редакция, Изм. № 3).

4.3. Техническим растворенным ацетиленом наполняют стальные баллоны для растворенного ацетилена с пористой массой (активным углем или литой пористой массой) и ацетоном.

Баллоны должны быть оснащены вентилями специальных типов, предназначенными для ацетиленовых баллонов.

(Измененная редакция, Изм. № 2).

4.4. Давление газа в баллоне должно измеряться манометром класса точности не ниже 4 по ГОСТ 2405-88. Температуру газа в баллоне принимают равной температуре окружающей среды, в которой наполненный баллон должен быть выдержан не менее 8 ч.

(Измененная редакция, Изм. № 3).

4.5. При номинальном давлении 1,9 МПа (19,0 кгс/см2) при 20 °С давление газа в баллоне в интервале температур от минус 5 до плюс 40 °С должно соответствовать указанному в табл. 3.

Таблица 3

Температура газа, °С

Давление газа в баллоне, МПа (кгс/см2), не более

Температура газа, °С

Давление газа в баллоне, МПа (кгс/см2), не более

-5

1,34 (13,4)

+20

1,90 (19,0)

0

1,40 (14,0)

+25

2,15 (21,5)

+5

1,50 (15,0)

+30

2,35 (23,5)

+10

1,65 (16,5)

+35

2,60 (26,0)

+15

1,80 (18,0)

+40

3,00 (30,0)

(Измененная редакция, Изм. № 1).

4.6. Остаточное давление газа в баллоне измеряют манометром класса точности 2,5 диаметром шкалы не менее 100 мм по ГОСТ 2405-88.

(Измененная редакция, Изм. № 3).

4.7. Баллоны от потребителя должны поступать с остаточным давлением, соответствующим указанному в табл. 4.

Таблица 4

Температура газа, °С

Остаточное давление в баллоне МПа (кгс/см2), не менее

До 0

0,05 (0,5)

От 0 до +15

0,10 (1,0)

От +15 до +25

0,20 (2,0)

От +25 до +35

0,30 (3,0)

4.8. Ацетон добавляют в баллоны до нормы на предприятиях-изготовителях растворенного ацетилена.

Масса 40-литрового ацетиленового баллона с углем БАУ-А и с литой пористой массой после добавления ацетона должна быть равна массе тары.

(Измененная редакция, Изм. № 3).

4.7, 4.8. (Измененная редакция, Изм. № 1, 2).

4.9. Баллоны для растворенного ацетилена, их окраска, маркировка, эксплуатация и хранение должны соответствовать требованиям, предусмотренным «Правилами устройства и безопасной эксплуатации сосудов, работающих под давлением», утвержденными Госгортехнадзором СССР.

4.10. Транспортная маркировка - по ГОСТ 14192-77 с нанесением манипуляционного знака «боится нагрева» и знаков опасности по ГОСТ 19433-88 для класса 2, подкласса 2.3; классификационный шифр группы 2314, серийный номер ООН 1001.

(Измененная редакция, Изм. № 3).

Транспортная маркировка должна быть нанесена на ящики с наполненными баллонами.

При повагонной отправке наполненных баллонов железнодорожным транспортом ярлык с транспортной маркировкой должен быть укреплен не менее чем на четырех баллонах у дверей вагона. При одиночных отправках маркировочный ярлык укрепляют на каждом баллоне.

Транспортную маркировку разрешается не наносить при перевозке наполненных баллонов автомобильным транспортом.

4.11. Растворенный ацетилен в баллонах перевозят всеми видами транспорта в соответствии с правилами перевозки опасных грузов, действующими на данном виде транспорта, и правилами устройства и безопасной эксплуатации сосудов, работающих под давлением, утвержденными Госгортехнадзором СССР.

По железной дороге баллоны, наполненные растворенным ацетиленом, транспортируют повагонными и мелкими отправками в крытых вагонах. При транспортировании мелкими отправками колпаки баллонов должны быть опломбированы.

Для механизации погрузочно-разгрузочных работ и укрупнения перевозок автомобильным транспортом баллоны среднего объема помещают в металлические специальные контейнеры.

Транспортирование баллонов речным транспортом производится в контейнерах.

При транспортировании баллонов малого объема всеми видами транспорта они должны быть дополнительно упакованы в дощатые решетчатые ящики типа VII ГОСТ 2991-85. Баллоны должны укладываться в ящики горизонтально, вентилями в одну сторону с обязательными прокладками между баллонами, предохраняющими их от ударов друг о друга.

Ящики в количестве двух и более грузовых мест подлежат укрупнению в транспортные пакеты с основными параметрами и размерами по ГОСТ 24597-81 с использованием средств скрепления по ГОСТ 21650-76 и поддонов по ГОСТ 9078-84.

(Измененная редакция, Изм. № 3).

4.9-4.11. (Измененная редакция, Изм. № 2).

4.12. Баллоны, наполненные ацетиленом, хранят в специальных складских помещениях или на открытых площадках под навесом, защищающим их от атмосферных осадков и прямых солнечных лучей, по группе ОЖ 2 ГОСТ 15150-69.

(Введен дополнительно, Изм. № 2).

5. ГАРАНТИИ ИЗГОТОВИТЕЛЯ

5.1. Изготовитель гарантирует соответствие качества газообразного и растворенного ацетилена требованиям настоящего стандарта при соблюдении условий транспортирования и хранения.

5.2. Гарантийный срок хранения ацетилена в баллонах - шесть месяцев со дня изготовления.

(Измененная редакция, Изм. № 3).

Разд. 5. (Измененная редакция, Изм. № 2).

Разд. 6. (Исключен, Изм. № 2).

ПРИЛОЖЕНИЕ
Рекомендуемое

ОПРЕДЕЛЕНИЕ СОДЕРЖАНИЯ ВОДЯНЫХ ПАРОВ КОНДЕНСАЦИОННЫМ МЕТОДОМ

1. Массовую концентрацию водяных паров определяют приборами конденсационного типа. Погрешность прибора не должна превышать 10 отн. %.

Метод основан на измерении температуры насыщения газа водяными парами при появлении росы на охлажденной зеркальной поверхности.

Анализ проводят по инструкциям, приложенным к приборам.

2. Массовую концентрацию водяных паров в г/м3 определяют в зависимости от температуры насыщения, указанной в таблице.

Температура насыщения, °С

Массовая концентрация водяных паров, г/м3

Температура насыщения, °С

Массовая концентрация водяных паров, г/м3

Температура насыщения, °С

Массовая концентрация водяных паров, г/м3

-20

0,763

-34

0,1780

-48

0,0372

-22

0,635

-36

0,1480

-50

0,0291

-24

0,515

-38

0,1190

-52

0,0230

-26

0,416

-40

0,0950

-54

0,0180

-28

0,336

-42

0,0757

-56

0,0140

-30

0,277

-44

0,0600

-58

0,0106

-32

0,228

-46

0,0474

-60

0,0080

За результат анализа принимают среднее арифметическое результатов двух параллельных определений, расхождение между которыми не должно превышать допускаемое, равное 10 %.

Допускаемая относительная суммарная погрешность результата анализа ± 15 % при доверительной вероятности 0,95.

(Измененная редакция, Изм. № 1, 2, 3).

СОДЕРЖАНИЕ

 




Rambler's Top100 Яндекс цитирования
  Copyright © 2008-2026, www.docload.ru