Бесплатная библиотека стандартов и нормативов www.docload.ru

Все документы, размещенные на этом сайте, не являются их официальным изданием и предназначены исключительно для ознакомительных целей.
Электронные копии этих документов могут распространяться без всяких ограничений. Вы можете размещать информацию с этого сайта на любом другом сайте.
Это некоммерческий сайт и здесь не продаются документы. Вы можете скачать их абсолютно бесплатно!
Содержимое сайта не нарушает чьих-либо авторских прав! Человек имеет право на информацию!

 

ГОСУДАРСТВЕННЫЙ СТАНДАРТ СОЮЗА ССР

САМОЛЕТЫ КОРОТКОГО ВЗЛЕТА И ПОСАДКИ

ДОПУСТИМЫЕ УРОВНИ ШУМА НА МЕСТНОСТИ
И МЕТОД ОПРЕДЕЛЕНИЯ УРОВНЕЙ ШУМА

ГОСТ 24659-81

ГОСУДАРСТВЕННЫЙ КОМИТЕТ СССР ПО СТАНДАРТАМ

Москва

ГОСУДАРСТВЕННЫЙ СТАНДАРТ СОЮЗА ССР

САМОЛЕТЫ КОРОТКОГО ВЗЛЕТА И ПОСАДКИ

Допустимые уровни шума на местности и метод
определения уровней шума

Short take off and landing aircrafts.
Acceptable noise levels on the ground and method of
noise level determination

ГОСТ 24659-81

Постановлением Государственного комитета СССР по стандартам от 30 марта 1981 г. № 1671 срок введения установлен

с 01.01.1982 г.

Настоящий стандарт распространяется на винтовые самолеты короткого взлета и посадки (СКВП) гражданской авиации с максимальной взлетной массой более 5700 кг и с потребной длиной взлетно-посадочной полосы (ВПП) не более 600 м.

Стандарт устанавливает максимально допустимые уровни шума, создаваемого винтовыми СКВП гражданской авиации на местности, и метод их определения.

Стандарт соответствует стандарту ИКАО по шуму (Приложение 16 «Авиационный шум» к Чикагской конвенции о международной гражданской авиации, третье издание, июль 1978 г.), МС ИСО 3891 и рекомендации МЭК Р 561.

1. ДОПУСТИМЫЕ УРОВНИ ШУМА

1.1. Шум, создаваемый СКВП, выражают в эффективных уровнях воспринимаемого шума EPNL, измеряемых в ЕРNдБ, установленных в ГОСТ 17229-78.

1.2. Допустимые уровни шума устанавливают для контрольных точек, указанных в таблице.

Этап полета

Контрольная точка

Взлет

Точка на линии, параллельной оси взлетно-посадочной полосы (ВПП) или ее продолжению и удаленной от нее на расстояние 300 м, в которой уровень шума при взлете самолета в режиме короткого взлета посадки (КВП) является максимальным

Набор высоты

Точка на продолжении оси ВПП на расстоянии 1500 м от начала разбега

Заход на посадку

Точка на продолжении оси ВПП, расположенная под траекторией снижения на посадку на расстоянии 900 м от посадочного торца ВПП, и точка на линии, параллельной оси ВПП или ее продолжению и удаленной от нее на расстояние 300 м, в которой уровень шума при посадке самолета в режиме КВП является максимальным

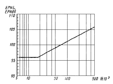
1.3. Максимальный уровень шума в каждой контрольной точке, определенный по ГОСТ 17229-78 и методикой летных испытаний (разд. 2), не должен превышать:

 EPNдБ - при 5700 кг £ т £ 17000 кг,

 EPNдБ - при т > 17000 кг,

где

т - максимальная взлетная масса СКВП в кг;

т0 - нормирующая константа, равная 1 кг.

Примечание. Установленные настоящим стандартом максимально допустимые уровни шума являются технической характеристикой СКВП. Допустимые уровни шума для ограничения жилой застройки в окрестностях аэропортов и аэродромов установлены в ГОСТ 22283-76.

1.4. Расчет максимально допустимых уровней шума по приведенной формуле производят с округлением конечного результата до 0,1 ЕРNдБ.

График зависимости максимально допустимых уровней шума от взлетной массы СКВП приведен в рекомендуемом приложении.

1.5. Допускается превышение указанных в п. 1.3 максимально допустимых уровней шума в одной или двух контрольных точках. При этом превышение в одной контрольной точке должно быть не больше 3 ЕРNдБ, а в двух контрольных точках не более 4 ЕРNдБ.

Любое превышение допустимых уровней шума должно быть скомпенсировано соответствующим снижением уровней шума в другой точке или точках.

2. МЕТОДИКА ЛЕТНЫХ ИСПЫТАНИЙ

2.1. СКВП при взлете должен иметь:

максимальную взлетную массу, для которой производится сертификация по шуму;

частоту вращения вала двигателя или винта (об/мин), режим мощности, воздушную скорость, градиент набора высоты, пространственное положение и конфигурацию, соответствующие значениям, установленным в требованиях по технике пилотирования для каждого конкретного СКВП в режиме КВП.

2.2. СКВП при заходе на посадку должен иметь:

максимальную посадочную массу, для которой производится сертификация по шуму;

частоту вращения вала двигателя или винта (об/мин), режим мощности, воздушную скорость, градиент снижения, пространственное положение и конфигурацию, соответствующие значениям, установленным в требованиях по технике пилотирования для каждого конкретного СКВП в режиме КВП.

2.2.1. Режим реверса тяги после посадки должен быть максимальным из указанных в установленных требованиях по технике пилотирования.

2.3. Проведение акустических измерений, обработка магнитных записей и расчет эффективных уровней воспринимаемого шума - по ГОСТ 17229-78.

3. ОФОРМЛЕНИЕ РЕЗУЛЬТАТОВ ИСПЫТАНИЙ

3.1. Результаты испытаний оформляются в виде отчета, в котором должна быть представлена следующая информация:

о СКВП и режимах его полета

тип СКВП и двигателей, бортовой номер СКВП и заводские номера двигателей и винтов;

чертежи: три проекции СКВП с указанием габаритных размеров, фотографии СКВП под ракурсом 3/4 спереди и 3/4 сзади;

масса и конфигурация СКВП при каждом испытательном полете, включая положение закрылков и шасси;

режимы работы двигателей;

измеренные траектории полета;

максимальные взлетная и посадочная массы, для которых проведена сертификация СКВП;

об атмосферных условиях при каждом полете:

температура и относительная влажность окружающего воздуха;

скорость и направление ветра;

атмосферное давление;

о контрольно-измерительной аппаратуре:

перечень контрольно-измерительной бортовой и наземной аппаратуры, использованной для определения и анализа характеристик шума СКВП и метеорологических данных, тарировочные характеристики, а также сведения о государственной или ведомственной поверке аппаратуры;

о точках измерения шума

схема и описание расположения точек измерения шума, характера земной поверхности и факторов, влияющих на ослабление шума;

об уровнях шума:

измеренные и скорректированные уровни звукового давления в 1/3 - октавных полосах частот в каждой точке измерения при всех полетах СКВП и рассчитанные по ним эффективные уровни воспринимаемого шума EPNL;

уровни шумового фона при каждом измерении (РNдБ);

средние значения приведенных к исходным условиям эффективных уровней воспринимаемого шума и соответствующие им значения 90%-ных доверительных интервалов для каждой контрольной точки в сопоставлении с допустимыми уровнями, установленными в разд. 1;

оценка погрешности определяемых величин.

3.2. В случае соответствия полученных средних значений эффективных уровней воспринимаемого шума требованиям разд. 1 оформляют сертификат по результатам летных испытаний шума СКВП, в котором указывают:

наименование органа, выдавшего сертификат по шуму;

тип, бортовой и заводской номера СКВП;

тип, модель и заводские номера двигателей;

максимальные взлетную и посадочные массы СКВП, для которых определены эффективные уровни воспринимаемого шума;

определенные в соответствии с настоящим стандартом средние значения эффективных уровней воспринимаемого шума и значения 90%-го доверительного интервала для каждой контрольной точки в сопоставлении с установленными в настоящем стандарте допустимыми уровнями.

ПРИЛОЖЕНИЕ

Рекомендуемое

ЗАВИСИМОСТЬ МАКСИМАЛЬНО ДОПУСТИМЫХ УРОВНЕЙ ШУМА ОТ ВЗЛЕТНОЙ МАССЫ САМОЛЕТА

СОДЕРЖАНИЕ

 




Rambler's Top100 Яндекс цитирования
  Copyright © 2008-2026, www.docload.ru