Бесплатная библиотека стандартов и нормативов www.docload.ru

Все документы, размещенные на этом сайте, не являются их официальным изданием и предназначены исключительно для ознакомительных целей.
Электронные копии этих документов могут распространяться без всяких ограничений. Вы можете размещать информацию с этого сайта на любом другом сайте.
Это некоммерческий сайт и здесь не продаются документы. Вы можете скачать их абсолютно бесплатно!
Содержимое сайта не нарушает чьих-либо авторских прав! Человек имеет право на информацию!

 

ГОСТ Р 51733-2001

ГОСУДАРСТВЕННЫЙ СТАНДАРТ РОССИЙСКОЙ ФЕДЕРАЦИИ

КОТЛЫ ГАЗОВЫЕ ЦЕНТРАЛЬНОГО
ОТОПЛЕНИЯ, ОСНАЩЕННЫЕ
АТМОСФЕРНЫМИ ГОРЕЛКАМИ,
НОМИНАЛЬНОЙ ТЕПЛОВОЙ
МОЩНОСТЬЮ ДО 70 кВт

Требования безопасности и методы испытаний

ГОССТАНДАРТ РОССИИ

Москва

Предисловие

1 РАЗРАБОТАН И ВНЕСЕН Техническим комитетом по стандартизации ТК 345 «Аппаратура бытовая, работающая на жидком, твердом и газообразном видах топлива»

2 ПРИНЯТ И ВВЕДЕН В ДЕЙСТВИЕ Постановлением Госстандарта России от 10 апреля 2001 г. № 170-ст

3 Разделы 3, 4 настоящего стандарта представляют собой аутентичный текст европейского стандарта ЕН 297: 1994 «Газовые котлы центрального отопления. Котлы типов В11 и B11BS, оснащенные горелками низкого давления, с номинальной подводимой теплотой, не превышающей 70 кВт»

4 ВВЕДЕН ВПЕРВЫЕ

СОДЕРЖАНИЕ

1 Общие положения. 2

1.1 Область применения. 2

1.2 Нормативные ссылки. 2

1.3 Определения и обозначения. 2

1.4 Классификация. 7

2 Требования к конструкции. 9

2.1 Общие сведения. 9

2.2 Требования к устройствам регулировки, управления и защиты.. 10

3 Требования безопасности. 13

3.1 Общие положения. 13

3.2 Герметичность. 13

3.3 Номинальная, максимальная и минимальная подводимая тепловая мощность и номинальная теплопроизводительность. 13

3.4 Безопасность работы.. 14

3.5 Устройства регулировки, управления и защиты.. 15

3.6 Сгорание газа. 19

3.7 Коэффициент полезного действия. 19

3.8 Отсутствие конденсации в дымовой трубе. 20

3.9 Прочность. 20

3.10 Гидравлическое сопротивление. 21

4 Методы испытаний. 21

4.1 Общие положения. 21

4.2 Герметичность. 25

4.3 Номинальная, максимальная и минимальная подводимая тепловая мощность и номинальная теплопроизводительность. 26

4.4 Безопасность работы.. 28

4.5 Устройства регулировки, управления и защиты.. 31

4.6 Сгорание газа. 37

4.7 Коэффициент полезного действия. 41

4.8 Отсутствие конденсации в дымовой трубе. 46

4.9 Испытания на прочность. 46

4.10 Гидравлическое сопротивление. 47

Приложение А Условия испытаний. 47

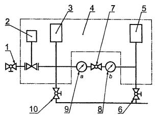
Приложение Б Схемы газового тракта. 48

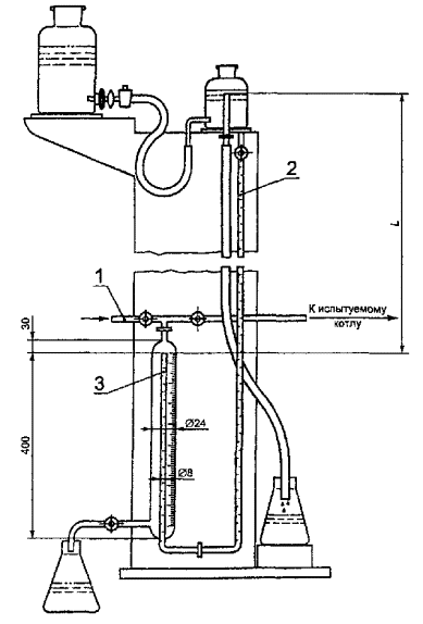
Приложение В Метод калибровки испытательного стенда для определения тепловых потерь Dp 49

Приложение Г Определение тепловых потерь испытательного стенда для косвенного метода и дополнительного подвода тепла от циркуляционного насоса испытательного стенда. 49

Приложение Д Метод определения времени работы котла при полной нагрузке. 49

Приложение Е Примеры вычисления нагрузочных коэффициентов для котла с несколькими значениями подводимой тепловой мощности. 50

Приложение Ж Соотношения между единицами концентрации NOx 51

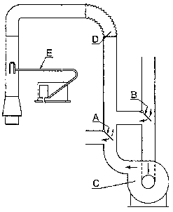
Приложение И Схемы испытаний. 51

Приложение К Библиография. 55

ГОСТ Р 51733-2001

ГОСУДАРСТВЕННЫЙ СТАНДАРТ РОССИЙСКОЙ ФЕДЕРАЦИИ

КОТЛЫ ГАЗОВЫЕ ЦЕНТРАЛЬНОГО ОТОПЛЕНИЯ, ОСНАЩЕННЫЕ АТМОСФЕРНЫМИ ГОРЕЛКАМИ, НОМИНАЛЬНОЙ ТЕПЛОВОЙ МОЩНОСТЬЮ ДО 70 кВт

Требования безопасности и методы испытаний

Gas-fired central heating boilers fitted with atmospheric burners of nominal heat input not exceeding 70 kW. Safety requirements and test methods

Дата введения 2002-01-01

1 Общие положения

1.1 Область применения

Настоящий стандарт распространяется на газовые котлы центрального отопления типа B11BS, оснащенные атмосферными горелками низкого давления, работающие с использованием газов трех семейств, имеющие номинальную подводимую тепловую мощность не более 70 кВт, температуру воды - не более 95 °С, давление воды - не более 0,6 МПа (далее - котлы).

Настоящий стандарт не распространяется на котлы: предназначенные для установки на открытом воздухе; имеющие несколько нагревательных блоков с общим стабилизатором тяги; с дутьевыми горелками; конденсационного типа; предназначенные для присоединения к общей дымовой трубе, имеющей дымосос; снабженные ручными и автоматическими средствами регулирования подвода воздуха и/или удаления продуктов сгорания; комбинированного типа (центральное отопление и горячее водоснабжение).

1.2 Нормативные ссылки

В настоящем стандарте использованы ссылки на следующие стандарты:

ГОСТ 6357-81 Основные нормы взаимозаменяемости. Резьба трубная цилиндрическая

ГОСТ 14254-96 (МЭК 529-89) Степени защиты, обеспечиваемые оболочками (Код IP)

ГОСТ 16093-81 Основные нормы взаимозаменяемости. Резьба метрическая. Допуски. Посадки с зазором

ГОСТ 24705-81 Основные нормы взаимозаменяемости. Резьба метрическая. Основные размеры

ГОСТ 27570.0-87 (МЭК 335-1-76) Безопасность бытовых и аналогичных электрических приборов. Общие требования и методы испытаний

ГОСТ Р 51318.14.1-99 (СИСПР 14-1-93) Совместимость технических средств электромагнитная. Радиопомехи индустриальные от бытовых приборов, электрических инструментов и аналогичных устройств. Нормы и методы испытаний

1.3 Определения и обозначения

В настоящем стандарте применяют следующие термины с соответствующими определениями:

1.3.1 Условия испытаний

1.3.1.1 стандартные условия: Температура окружающей среды 15 °С, атмосферное давление 101,3 кПа.

1.3.1.2 нормальные условия: Температура окружающей среды 20 °С, атмосферное давление 101,3 кПа.

1.3.2 Газы

1.3.2.1 испытательные газы (газы): Газы, предназначенные для проверки эксплуатационных характеристик котлов, использующих горючие газы. Испытательные газы подразделяют на эталонные и предельные:

- эталонный газ: Испытательный газ с заданным химическим составом, соответствующий по параметрам наиболее распространенным в практике газоснабжения газам, на использование с которыми рассчитан котел.

- предельный газ: Испытательный газ с заданным химическим составом, соответствующий крайним значениям параметров газов, применяемых в газоснабжении.

1.3.2.2 теплота сгорания газа : Количество тепла, выделяемое при полном сгорании единицы объема или единицы массы газа.

Единицы физической величины:

- либо мегаджоули на кубический метр сухого газа в стандартных условиях (МДж/м3);

- либо мегаджоули на килограмм сухого газа (МДж/кг).

Существуют два типа теплоты сгорания:

- высшая теплота сгорания газа : Количество тепла, выделяющееся при полном сгорании единицы объема или единицы массы сухого газа при нормальных условиях с учетом теплоты конденсации водяных паров.

- низшая теплота сгорания газа : Количество тепла, выделяющееся при полном сгорании единицы объема или единицы массы сухого газа при нормальных условиях без учета теплоты конденсации водяных паров продуктов сгорания газа.

В настоящем стандарте применяют только низшую теплоту сгорания.

1.3.2.3 относительная плотность газа : Отношение масс равных объемов сухого газа и сухого воздуха при одинаковых условиях по температуре и давлению.

1.3.2.4 число Воббе W: Показатель, представляющий собой отношение теплоты сгорания газа к квадратному корню относительной плотности при стандартных условиях. Характеризует постоянство теплового потока, получаемого при сжигании газа. Число Воббе называют высшим (WОВ) и низшим (WОН) в зависимости от используемой теплоты сгорания газа и выражают в мегаджоулях на кубический метр (МДж/м3).

1.3.2.5 давление газа: Статическое давление движущегося газа относительно атмосферного давления. Единица физической величины - килопаскаль (кПа).

Типы давления:

а) испытательное давление: Давление газа, используемое для проверки рабочих характеристик котлов.

Испытательные давления подразделяют на номинальное и предельные давления:

1) номинальное давление pном: Статическое давление газа, соответствующее номинальной подводимой тепловой мощности котла при его работе на эталонном газе.

2) предельные давления: Давления, значения которых соответствуют крайним условиям газоснабжения котла.

Обозначение: pмакс - максимальное давление; pмин - минимальное давление.

б) пара давлений: Комбинация двух различных подводимых давлений газа, применяемых из-за существенного различия между числами Воббе в пределах отдельного семейства или группы, в которой:

1) высокое давление соответствует газам с меньшим числом Воббе;

2) низкое давление соответствует газам с большим числом Воббе.

1.3.3 Составные части котла

1.3.3.1 Газоснабжение:

- входное соединение газа: Часть котла, предназначенная для подсоединения к трубопроводу подачи газа.

- газовый тракт: Части котла между входным газовым патрубком и горелкой (горелками), по которым подают или в которых находится газ.

- дроссель: Устройство с одним или несколькими отверстиями, установленное на пути газового потока между входным соединением газа и горелкой для создания перепада и уменьшения давления газа в горелке до заданных давления и расхода подводимого газа.

- сопло: Деталь, через которую газ поступает в горелку.

- устройство регулировки расхода газа: Устройство, позволяющее устанавливать определенное значение расхода газа через горелку в соответствии с условиями газоснабжения. Рабочая операция, выполняемая этим устройством, называется «регулировкой расхода газа».

- устройство задания диапазона: Устройство, предназначенное для задания номинальной подводимой тепловой мощности котла в пределах максимального и минимального значений подводимой тепловой мощности, указанных изготовителем.

- устройство регулировки подачи воздуха: Устройство, которое позволяет установить желаемое значение подачи воздуха в горелку в соответствии с условиями газоснабжения.

Действие по изменению настройки устройства регулировки подачи воздуха называется «регулировкой подачи первичного воздуха».

Горелка:

а) основная горелка: Горелка, в которой сгорает все поступающее топливо или его основная часть.

б) запальное устройство: Устройство, предназначенное для розжига горелки.

в) ручное устройство розжига: Устройство, с помощью которого горелку разжигают вручную.

г) автоматическое устройство розжига: Автоматическое устройство, которое поджигает запальную горелку или непосредственно основную горелку.

д) запальная горелка: Горелка, предназначенная для розжига основной горелки.

Типы запальной горелки:

1) постоянная запальная горелка: Запальная горелка, которая работает непрерывно в течение всего периода использования котла.

2) периодическая запальная горелка: Запальная горелка, разжигаемая до основной горелки и гаснущая вместе с основной горелкой.

3) переменная запальная горелка: Запальная горелка, которая гаснет после розжига основной горелки и повторно разжигается от пламени основной горелки непосредственно перед тем, как последняя гаснет.

4) пусковая запальная горелка: Запальная горелка, которая работает только во время розжига.

1.3.3.2 тракт продуктов сгорания: Тракт, в состав которого входят камера сгорания, теплообменник и канал для удаления продуктов сгорания в дымоход, включая выпускной патрубок, стабилизатор тяги и датчик тяги:

- камера сгорания: Замкнутое пространство, внутри которого сгорает смесь газа и воздуха.

- выпускной патрубок: Часть котла, соединенная с дымоходом и предназначенная для удаления продуктов сгорания.

- стабилизатор тяги: Устройство, установленное в контуре продуктов сгорания котла, чтобы ослабить влияние тяги в дымоходе на характеристики горелки и процесс горения.

- датчик тяги: Устройство, вызывающее прекращение работы основной горелки или основной и запальной горелок, когда продукты сгорания выходят через стабилизатор тяги в помещение.

1.3.3.3 Устройства регулировки, управления и защиты:

- регулятор давления газа: Устройство, которое поддерживает на выходе из него постоянное давление в пределах установленного диапазона независимо от расхода газа и давления на входе.

- регулятор расхода: Устройство, которое поддерживает расход между фиксированными крайними значениями в пределах заданного диапазона независимо от значений давления газа на входе и на выходе из него.

- устройство контроля расхода воды: Устройство, которое прекращает подачу газа к основной горелке, когда значение расхода воды через котел меньше установленного значения, и автоматически приоткрывает подачу газа, когда значение расхода воды достигает установленного значения.

- устройство контроля пламени: Устройство, содержащее чувствительный элемент, который вызывает открытие или закрытие подачи газа к горелке при наличии или отсутствии пламени.

- термостат управления: Устройство, автоматически поддерживающее определенную температуру воды в заданном диапазоне.

- регулируемый термостат управления: Термостат, который позволяет пользователю установить требуемое значение температуры воды между минимальным и максимальным значениями.

- нерегулируемый термостат управления: Термостат, который настроен изготовителем на определенное значение температуры воды и не позволяет задать другое значение температуры.

- термостат предельного нагрева: Устройство, которое отключает подачу газа, когда достигается предельное значение температуры, и автоматически приоткрывает подачу газа, когда значение температуры становится ниже фиксированного предельного значения.

- защитный термостат: Устройство, которое вызывает защитное отключение и энергонезависимую блокировку, чтобы предотвратить превышение установленного предельного значения температуры воды.

- датчик температуры (колбовый или контактный): Деталь, позволяющая измерять температуру контролируемой среды.

- ручка управления: Деталь, перемещаемая вручную и приводящая в действие элементы управления котлом (вентиль, термостат и пр.).

- детектор пламени: Устройство, которое обнаруживает пламя и сигнализирует о его наличии. Оно может состоять из датчика пламени, усилителя и реле для передачи сигнала. Эти детали, за возможным исключением детектора пламени, могут быть собраны в одном корпусе для использования совместно с программным блоком.

- сигнал пламени: Сигнал, выдаваемый детектором пламени, когда его датчик реагирует на пламя.

- имитация пламени: Состояние, когда сигнал пламени вырабатывается детектором пламени, хотя в действительности пламени нет.

- программный блок: Устройство, которое реагирует на импульсы от систем управления и защиты, вырабатывает команды управления, управляет программой запуска, контролирует работу горелки и приводит к управляемому отключению, защитному отключению или к блокировке, при необходимости. Программный блок следит за выполнением определенной последовательности действий и работает совместно с устройством контроля пламени.

- автоматическая система управления горелкой: Система, которая содержит программный блок и все элементы детектора пламени. Все детали автоматической системы управления горелкой могут быть собраны в одном или нескольких корпусах.

- запуск: Последовательность действий, когда сигнал запуска заставляет котел выйти из положения «выключено» и начинается выполнение определенной программы операций программного блока.

- программа: Последовательность операций управления, определяемая блоком управления и связанная с включением, контролем за работой и выключением горелки.

- автоматический клапан: Устройство, которое автоматически открывает, закрывает или изменяет частоту сигнала от схемы управления и (или) защитной схемы.

- многофункциональный регулятор: Устройство, выполняющее не менее двух функций, одна из которых является операцией отключения.

- запорный элемент: Подвижная деталь клапана или термоэлектрического устройства контроля пламени, которая открывает, изменяет степень открытия или закрывает канал газа.

- отверстие сапуна: Отверстие, которое позволяет поддерживать атмосферное давление в камере изменяемого объема.

- диафрагма: Гибкая деталь, которая приводит в движение клапан под действием силы, возникающей вследствие разности давлений.

- герметичность газового тракта: Герметичность газового тракта относительно окружающей атмосферы.

- герметичность запорного элемента: Герметичность запорного элемента в положении «закрыто» и изоляции объема, содержащего газ, от другого объема или от выходного отверстия клапана.

- усилие уплотнения: Сила, действующая на седло клапана, когда запорный элемент находится в закрытом положении.

1.3.4 Характеристики котла

1.3.4.1 Расход газа:

- объемный расход газа:

V - объем газа, потребляемый котлом при условиях испытаний;

Vг - объем газа, м3/ч, скорректированный для стандартных условий испытаний (15 °С и 101,3 кПа).

- массовый расход газа М, кг/ч: Масса газа, потребляемого котлом в единицу времени.

- подводимая тепловая мощность Q, кВт: Произведение объемного или массового расхода и низшей теплоты сгорания газа, приведенного к стандартным условиям.

- номинальная подводимая тепловая мощность Qном1), кВт: Подводимая тепловая мощность, указанная изготовителем.

1) Котлы, оснащенные устройством задания диапазона, работают при номинальной подводимой тепловой мощности, значение которой находится между максимальным и минимальным регулируемыми значениями. Котлы с плавным регулированием подводимой тепловой мощности работают в диапазоне от номинальной подводимой тепловой мощности до минимальной подводимой тепловой мощности.

1.3.4.2 Теплопроизводительность:

- теплопроизводительность, кВт: Количество тепла, передаваемого нагреваемой воде в единицу времени.

- номинальная теплопроизводительность: Теплопроизводительность, указанная изготовителем.

1.3.4.3 коэффициент полезного действия ηu, %: Отношение теплопроизводительности к подводимой тепловой мощности.

1.3.4.4 Сгорание газа:

- полное сгорание: Такое сгорание газа, когда продукты сгорания содержат не более чем следы горючих составляющих (водорода, углеводородов, моноксида углерода, углерода и пр.).

- неполное сгорание: Такое сгорание газа, когда хотя бы одна из горючих составляющих присутствует в продуктах сгорания в значительной пропорции.

Количество оксида углерода (СО) в сухих, не разбавленных воздухом продуктах сгорания используют в качестве критерия «удовлетворительного» и «неудовлетворительного» сгорания.

Настоящий стандарт задает максимальные предельные значения концентрации СО в зависимости от условий испытаний (см. 3.6.1). Сгорание считают удовлетворительным, если значение концентрации СО ниже (или равно) допустимого предельного значения, и неудовлетворительным - если превышает указанное значение.

- устойчивость пламени: Состояние, при котором пламя занимает неизменное положение по отношению к выходным отверстиям горелки.

- отрыв пламени: Явление, характеризуемое общим или частичным отрывом основания пламени над отверстиями горелки или над зоной стабилизации пламени.

- проскок пламени: Явление, характеризуемое уходом пламени внутрь корпуса горелки.

- проскок пламени на сопло: Явление, характеризуемое воспламенением газа на сопле в результате проскока пламени внутрь горелки или в результате распространения пламени вне горелки.

- сажеобразование: Явление, возникающее во время неполного сгорания газа и характеризуемое осаждением сажи на поверхностях, контактирующих с продуктами сгорания или с пламенем.

- желтые языки пламени: Явление, характеризуемое появлением желтой окраски в верхней части голубого конуса пламени, вызванным неполным сгоранием газа.

- тепловое равновесие: Рабочее состояние котла, при котором измеренное значение температуры продуктов сгорания газа остается устойчивым с допустимым отклонением ±2 % в течение 10 мин.

1.3.4.5 Временные характеристики:

- время зажигания (TIA) для термоэлектрического устройства контроля пламени: Время от момента воспламенения контролируемого пламени до момента, когда запорный элемент открывается сигналом пламени.

- время погасания (TIE) для термоэлектрического устройства контроля пламени: Время между исчезновением пламени и прекращением подачи газа.

- защитное время зажигания (TSA): Время между открытием подачи газа к горелке и отсечкой подачи газа в случае невозникновения пламени.

- максимальное защитное время зажигания SАмакс): Защитное время при зажигании, измеренное в наиболее неблагоприятных условиях температуры окружающей среды и изменения питающего напряжения.

- защитное время погасания (TSE): Время между погасанием контролируемого пламени и отключением подачи газа к горелке.

- время отключения подачи газа: Время между прекращением подачи вспомогательной энергии или напряжения и достижением закрытого положения клапана.

1.3.4.6 подводимая тепловая мощность при зажигании QIGN: Средняя подводимая тепловая мощность в течение защитного времени зажигания, выраженная в процентах номинальной подводимой тепловой мощности.

1.3.4.7 восстановление искры: Автоматический процесс, заключающийся в том, что после погасания пламени устройство зажигания вновь включается без общего прекращения подачи газа.

1.3.4.8 повторение цикла: Автоматический процесс, заключающийся в том, что после погасания пламени во время работы подача газа прекращается и повторно начинается полная автоматическая процедура запуска.

1.3.4.9 управляемое отключение: Процесс, заключающийся в том, что устройство управления (на котле или внешнее) немедленно прекращает подачу газа к горелке и котел возвращается в состояние запуска.

1.3.4.10 защитное отключение: Процесс, начинающийся в ответ на сигнал от термостата или датчика, в результате которого прекращается подача газа к горелке и котел возвращается в состояние запуска.

1.3.4.11 блокировка подачи газа: Полное прекращение подачи газа:

- энергонезависимая блокировка: Состояние отключения, при котором запуск котла в работу осуществляют вручную.

- энергозависимая блокировка: Состояние отключения котла в результате прекращения подачи электропитания, при котором запуск котла в работу осуществляется автоматически после восстановления электропитания.

1.3.4.12 термоэлектрическое устройство контроля пламени: Устройство, состоящее из термопары и электромагнитного клапана.

1.3.4.13 номинальное напряжение: Напряжение или диапазон напряжений, указанный изготовителем, при котором котел может нормально работать.

1.4 Классификация

1.4.1 Классификация газов

Газы подразделяют на три семейства, состоящие из групп в зависимости от значений числа Воббе, указанных в таблице 1.

Таблица 1 - Классификация газов

Семейства и группы газов

Число Воббе (при стандартных условиях), МДж/м3

низшее

высшее

Первое семейство

-

-

Группа «а»

22,4

24,8

Второе семейство

39,1

54,7

Группа Н

45,7

54,7

Группа L

39,1

44,8

Группа Е

40,9

54,7

Третье семейство

72 9

87,3

Группа В/Р

72,9

87,3

Группа Р

72,9

76,8

1.4.2 Классификация котлов

1.4.2.1 Классификация в соответствии с используемыми газами

Котлы подразделяют на категории в соответствии с используемыми газами и давлением, на которое они рассчитаны.

1.4.2.1.1 Категория I

Котлы категории I предназначены для использования газов одного семейства или одной группы:

а) котлы, предназначенные для использования газов первого семейства, имеют категорию Ila - котлы, использующие газы группы «а» первого семейства с заданным давлением в подающем газопроводе. (Эту категорию не используют.);

б) котлы, предназначенные для использования газов второго семейства, в зависимости от групп газов подразделяют на категории:

1) категория I2H - котлы, использующие газы группы Н второго семейства с заданными значениями давления в подающем газопроводе;

2) категория I2L - котлы, использующие газы группы L второго семейства с заданными значениями давления в подающем газопроводе;

3) категория I2E - котлы, использующие газы группы Е второго семейства с заданными значениями давления в подающем газопроводе;

4) категория I2E+ - котлы, использующие газы группы Е второго семейства и работающие с парой давлений без регулировок котла;

в) котлы, предназначенные для использования газов третьего семейства, подразделяют на категории:

1) категория I3B/P - котлы, использующие газы третьего семейства при заданном давлении в подающем газопроводе;

2) категория I3+ - котлы, использующие газы третьего семейства (пропан и бутан) и работающие с парой давлений без регулировок котла. (Допускается регулировка подачи воздуха на горение при переходе от пропана к бутану и наоборот.) Устройство регулировки давления газа, при его наличии, отключено в диапазоне двух номинальных давлений указанной пары давлений;

3) категория I3P - котлы, использующие газы группы Р третьего семейства (пропан) при заданном давлении в подающем газопроводе;

4) категория I3B - котлы, использующие газы группы В третьего семейства (бутан) при заданном давлении в подающем газопроводе.

1.4.2.1.2 Категория II

Котлы категории II предназначены для использования газов двух семейств:

а) котлы, предназначенные для использования газов первого и второго семейств:

1) категория IIla2H - котлы, использующие газы группы «а» первого семейства и газы группы Н второго семейства. Газы первого семейства используют при тех же условиях, что и для котлов категории Ila. Газы второго семейства используют при тех же условиях, что и для котлов категории I2H;

б) котлы, предназначенные для использования газов второго и третьего семейств, подразделяют на категории:

1) категория II2H3B/P - котлы, использующие газы группы Н второго семейства и газы третьего семейства. Газы второго семейства используют при тех же условиях, что и для котлов категории I2H. Газы третьего семейства используют при тех же условиях, что и для котлов категории I3B;

2) категория II2H3+ - котлы, использующие газы группы Н второго семейства и газы третьего семейства. Газы второго семейства используют при тех же условиях, что и для котлов категории I2H. Газы третьего семейства используют при тех же условиях, что и для котлов категории I3+;

3) категория II2H3P - котлы, использующие газы группы Н второго семейства и газы группы Р третьего семейства. Газы второго семейства используют при тех же условиях, что и для котлов категории I2H - Газы третьего семейства используют при тех же условиях, что и для котлов категории I3P;

4) категория II2L3B/P - котлы, использующие газы группы L второго семейства и газы третьего семейства. Газы второго семейства используют при тех же условиях, что и для котлов категории I2L. Газы третьего семейства используют при тех же условиях, что и для котлов категории I3B/P;

5) категория II2L3P - котлы, использующие газы группы L второго семейства и газы группы Р третьего семейства. Газы второго семейства используют при тех же условиях, что и для котлов категории I2L. Газы третьего семейства используют при тех же условиях, что и для котлов категории I3P;

6) категория II2E3B/P - котлы, использующие газы группы Е второго семейства и газы третьего семейства. Газы второго семейства используют при тех же условиях, что и для котлов категории I2E. Газы третьего семейства используют при тех же условиях, что и для котлов категории I3B/P;

7) категория II2E+3B/P - котлы, использующие газы группы Е второго семейства и газы третьего семейства. Газы второго семейства используют при тех же условиях, что и для котлов категории II2E+. Газы третьего семейства используют при тех же условиях, что и для котлов категории I3B/P

8) категория II2E+3+ - котлы, использующие газы группы Е второго семейства и газы третьего семейства. Газы второго семейства используют при тех же условиях, что и для котлов категории I2E+. Газы третьего семейства используют при тех же условиях, что и для котлов категории I3+;

9) категория II2E+3P - котлы, использующие газы группы Е второго семейства и газы группы Р третьего семейства. Газы второго семейства используют при тех же условиях, что и для котлов категории I2E+. Газы третьего семейства используют при тех же условиях, что и для котлов категории I3P.

1.4.2.1.3 Категория III

Котлы категории III предназначены для использования газов трех семейств.

1.4.2.2 Классификация по способу удаления продуктов сгорания

1.4.2.2.1 Тип B11BS

Котлы с отводом продуктов сгорания в дымоход, с забором воздуха для горения из помещения, в котором они установлены, оснащенные стабилизатором тяги и датчиком тяги, не имеющие тягодутьевых устройств в тракте продуктов сгорания.

1.4.2.3 Классификация в соответствии с максимальным давлением воды

Котлы подразделяют в зависимости от максимального рабочего давления воды рp следующим образом:

- класс давления 1 - рp = 0,1 МПа;

- класс давления 2 - рp = 0,3 МПа;

- класс давления 3 - 0,3 МПа < рp0,6 МПа.

1.4.2.4 Классификация в соответствии с используемой расширительной системой.

Котлы подразделяют в соответствии с используемой расширительной системой тракта центрального отопления следующим образом:

- котлы, предназначенные для систем центрального отопления с открытым расширительным сосудом;

- котлы, предназначенные для систем центрального отопления с открытым или закрытым расширительным сосудом.

2 Требования к конструкции

2.1 Общие сведения

Конструкция, монтаж и эксплуатация котлов, работающих на газообразном топливе, должны соответствовать требованиям, установленным в [1] и [2].

На материал для декоративно-защитного покрытия должно быть получено гигиеническое заключение Департамента Госсанэпиднадзора Минздрава России.

2.1.1 Требования к конденсатообразованию

Конструкция котлов должна обеспечивать удаление воздуха из водяного пространства и отсутствие конденсатообразования в контуре продуктов сгорания. Конденсатообразование допускается только при пуске котлов.

2.1.2 Эксплуатация и обслуживание

Конструкцией котлов должно быть обеспечено удобство обслуживания топки, очистки поверхностей нагрева от наружных отложений, настройки устройств регулировки и наблюдения за показаниями контрольно-измерительных приборов. Ручки и кнопки управления, необходимые для эксплуатации котла, должны быть легкодоступными без снятия деталей корпуса. Съемные детали корпуса должны быть снимаемыми без использования инструментов, а их неправильная установка на место должна быть затруднительна. Поверхности деталей тракта продуктов сгорания должны быть доступны для чистки. Конструкция котла должна обеспечивать доступ к основной и запальной горелкам, предохранительным и регулирующим устройствам, а также съем их без отсоединения котла от коммуникаций.

2.1.3 Присоединения к трубам газоснабжения и системе центрального отопления

2.1.3.1 Общие положения

К присоединениям котлов должен быть свободный достуСвободное пространство вокруг присоединений после снятия кожуха должно быть достаточным для работы с инструментами, требуемыми для выполнения присоединения, без использования специальных инструментов.

2.1.3.2 Присоединения к трубе газоснабжения

Метрическая резьба на деталях присоединения должна удовлетворять требованиям ГОСТ 24705, допуски на нее - по грубому классу точности В ГОСТ 16093, трубная цилиндрическая резьба - по классу точности В ГОСТ 6357.

2.1.4 Герметичность

2.1.4.1 Конструкция котлов должна обеспечивать герметичность газового тракта.

2.1.4.2 Герметичность тракта продуктов сгорания

Конструкция котлов должна обеспечивать полный отвод продуктов сгорания в дымоход.

Герметичность деталей, снимаемых во время текущего обслуживания, должна быть достигнута механическими средствами, исключая использование паст, жидкостей и лент. Разрешается замена типа уплотнений в соответствии с инструкциями изготовителей.

2.1.5 Наблюдение за работой

Конструкция котлов должна обеспечивать визуальное наблюдение за розжигом и работой горелки.

2.1.6 Слив воды

Конструкция котлов должна обеспечивать слив воды без отсоединения их от коммуникаций.

2.1.7 Электрическое оборудование

Электрическое оборудование котлов должно удовлетворять требованиям ГОСТ 14254 и ГОСТ 27570.0.

Котел, оснащенный автоматической системой управления горелкой с подключением к сети напряжением 220 В, должен удовлетворять требованиям ГОСТ Р 51318.14.1.

2.2 Требования к устройствам регулировки, управления и защиты

2.2.1 Общие положения

Системы защиты должны быть выполнены в соответствии с принципом обесточивания для срабатывания.

Работа системы защиты не должна блокироваться устройствами регулировки и управления.

Конструкция систем управления и защиты должна обеспечивать выполнение двух или более действий. Последовательность действий должна быть определенной и не может быть изменена.

2.2.2 Регуляторы расхода газа и устройства задания диапазона

2.2.2.1 Общие положения

Регулировочные детали, не предназначенные для регулировки пользователем, должны быть защищены от регулировки (опломбированы).

2.2.2.2 Регулятор расхода газа

Установка регулятора расхода газа обязательна для котлов, использующих газ нескольких групп первого семейства, и не обязательна для других котлов.

2.2.3 Газовый тракт

2.2.3.1 Общие положения

Крепежные детали, снимаемые при обслуживании котла, должны иметь метрическую резьбу, если для нормальной работы и регулировки котла нет необходимости в применении какой-либо другой резьбы, например винтов-самонарезов. Отверстия сапунов должны быть такими, чтобы при разрыве мембраны скорость утечки воздуха не превышала 70 дм3/ч при максимальном давлении подводимого газа.

Это требование удовлетворяется, если для максимального давления подводимого газа 3,0 кПа диаметр отверстия сапуна не превышает 0,7 мм.

Использование гофрированных мембран должно быть разрешено только тогда, когда скорость утечки воздуха в случае разрыва мембраны не превышает 70 дм3/ч при максимальном давлении на входе в регулятор. Отверстия сапуна должны быть защищены от засорения и расположены так, чтобы их нельзя было легко закрыть, а мембрана не могла быть повреждена приспособлением, вводимым при чистке. Уплотнения для движущихся деталей, которые проходят через корпус и выходят в атмосферу, и уплотнения для запорного элемента должны быть изготовлены только из твердого материала (например, из синтетических материалов) такого типа, который не имеет постоянной деформации (например, без уплотняющей пасты).

Для уплотнения движущихся деталей не следует использовать регулируемые вручную сальниковые коробки. Сальниковую коробку, отрегулированную изготовителем клапана, защищенную от дальнейшей регулировки и не нуждающуюся в повторной регулировке, не считают регулируемой.

На входном соединении газа должен быть установлен фильтр. Максимальные размеры сетки фильтра - 1,5 мм.

2.2.3.2 Устройства управления

Каждый котел должен быть снабжен не менее чем одним устройством, которое позволяет пользователю управлять подачей газа к горелке и к запальной горелке при ее наличии. Отключение должно быть осуществлено без задержки, например оно не должно зависеть от времени задержки термоэлектрического устройства контроля пламени. Положения ручек управления, соответствующие определенному расходу газа, должны быть ясно обозначены несмываемым способом. Для маркировки положений ручек управления используют следующие символы:

выключено.............................................................. (полный диск)

зажигание (при наличии)...................................... (стилизованная звезда)

полное включение (горелки)................................ (большое стилизованное пламя)

пониженный расход (при наличии)..................... (малое стилизованное пламя).

Если на котле имеются два отдельных устройства регулировки расхода газа: одно для основной горелки, другое - для запальной горелки, - работа этих устройств должна блокироваться таким образом, чтобы нельзя было подать газ на основную горелку раньше, чем на запальную.

Если основную и запальную горелки обслуживает один кран, положение зажигания запальной горелки должно иметь фиксатор, делающий это положение легкоразличимым для пользователя. Должна быть возможность выполнения операции снятия с блокировки (если таковая предусмотрена) одной рукой. Если управление осуществляют путем вращения, то перемещать ручку управления в положение «закрыто» следует по ходу часовой стрелки.

2.2.3.3 Состав газового тракта

Газовый тракт основной горелки должен содержать не менее двух последовательно соединенных автоматических клапанов (далее - клапаны):

- первый клапан класса С или термоэлектрическое устройство контроля пламени;

- второй клапан класса D.

Когда подводимая тепловая мощность запальной горелки не превышает 0,250 кВт, газовый тракт должен содержать один клапан класса С или термоэлектрическое устройство контроля пламени.

Предохранительные устройства, которые вызывают энергонезависимую блокировку, должны одновременно формировать сигнал для обеспечения закрытия двух клапанов. Однако для термоэлектрического устройства предохранительные устройства могут воздействовать лишь на это устройство.

В случае непосредственного зажигания основной горелки и если сигнал на закрытие выдается не одновременно на два клапана, последние должны быть класса С.

Если задержка между сигналами на закрытие двух клапанов в ответ на сигнал устройства управления не превышает 5 с, сигналы считают одновременными.

Возможна замена клапана класса С на клапан класса В или А; клапана класса D - на клапан класса С, В или А.

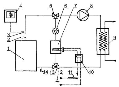
Схемы газового тракта и классификация автоматических клапанов приведены в приложении Б.

2.2.4 Регулятор расхода газа

Котлы, предназначенные для использования газов первого семейства, должны иметь регулятор расхода газа; для других котлов регулятор является необязательным. Регулятор расхода газа, предназначенный для работы с парой давлений, должен быть регулируемым таким образом, чтобы он отключался между двумя номинальными давлениями.

При работе с парой давлений допускается применение нерегулируемого регулятора расхода (дросселя) для запальной горелки.

Конструкция регулятора расхода газа должна предусматривать возможность его регулировки или отключения при переходе на работу с другим газом.

2.2.5 Устройства зажигания

2.2.5.1 Зажигание запальной горелки

Зажигание запальных горелок производят вручную.

Установку или снятие устройства зажигания для запальной горелки или узла «запальная горелка - устройство зажигания» выполняют с помощью стандартных инструментов.

2.2.5.2 Зажигание основной горелки

Основные горелки должны быть оснащены запальной горелкой или устройством для непосредственного зажигания.

2.2.5.2.1 Зажигание с помощью запальной горелки

Сменные запальные горелки или сменные сопла, используемые для различных газов, должны быть маркированы.

Если горение запальной горелки нерегулируемое, регулятор расхода газа (далее - регулятор) обязателен для котлов, работающих с газами первого семейства, и рекомендуем для газов второго и третьего семейств. При использовании пары давлений установка регулятора запрещена для газов второго и третьего семейств. Регулятор можно не устанавливать, если легко могут быть заменены запальные горелки и (или) их сопла.

2.2.5.2.2 Непосредственное зажигание

Устройства непосредственного зажигания основных горелок должны обеспечивать безопасное зажигание при изменении значения напряжения от 85 % до 110 % относительно номинального значения. Команда на включение устройств зажигания должна быть подана не позднее, чем команда на открытие автоматического клапана, управляющего воспламенением газа.

2.2.6 Устройства контроля пламени

2.2.6.1 Общие положения

Наличие пламени должно контролироваться:

- термоэлектрическим устройством контроля пламени или

- детектором пламени автоматической системы управления горелкой.

Подача газа на основную горелку должна быть возможна только при наличии пламени на запальной горелке.

2.2.6.2 Термоэлектрическое устройство контроля пламени

Это устройство должно вызывать энергонезависимую блокировку котла в случае отсутствия пламени и в случае повреждения чувствительного элемента или нарушения связи между чувствительным элементом и электромагнитным клапаном.

2.2.6.3 Автоматическая система управления горелкой Автоматические системы управления горелками должны удовлетворять требованиям настоящего стандарта.

В случае отсутствия пламени указанная система должна вызывать одно из трех действий:

- восстановление искры;

- повторение цикла;

- энергозависимую блокировку.

В случае восстановления искры или повторения цикла отсутствие пламени в конце защитного времени зажигания (TSA) должно вызывать энергозависимую блокировку.

2.2.7 Термостаты управления и термостат предельного нагрева

2.2.7.1 Общие положения

Котлы должны быть оснащены термостатом с фиксированной установкой или с регулируемым управлением, удовлетворяющим требованиям 2.2.7.2.

Для того чтобы предотвратить повышение температуры воды свыше 110°С в случае отказа термостата управления, котел должен быть оснащен дополнительными устройствами ограничения температуры.

2.2.7.1.1 Котлы, предназначенные для систем центрального отопления с открытым расширительным сосудом

Устройства ограничения температуры не требуются, когда котел предназначается для установки исключительно с открытым расширительным сосудом при условии, что отказ термостата управления не вызывает опасную ситуацию для пользователя или повреждение котла. Соответствующая информация должна быть представлена в руководстве по эксплуатации.

2.2.7.1.2 Котлы, предназначенные для систем центрального отопления с открытыми или герметичными расширительными сосудами

2.2.7.1.2.1 Котлы классов давления 1 и 2

Должны быть установлены термостаты предельного нагрева, удовлетворяющие требованиям 2.2.7.3, или защитный термостат, удовлетворяющий требованиям 2.2.7.4.

2.2.7.1.2.2 Котлы класса давления 3

Должен быть установлен защитный термостат в соответствии с 2.2.7.4.

2.2.7.2 Термостат управления

Если термостат управления является регулируемым, изготовитель должен указать в руководстве по эксплуатации максимальную температуру. Положения указателя температуры должны быть легкоустанавливаемыми, и должна быть предусмотрена возможность четко определять, в каком направлении изменяется температура воды - повышается или снижается. Если для этой цели используют числа, наибольшее число должно соответствовать наивысшей температуре.

При установке на максимум данный термостат должен вызывать управляемое отключение при температуре воды не более 95°С.

2.2.7.3 Термостат предельного нагрева

Термостат предельного нагрева должен вызывать предохранительное отключение подачи газа при температуре воды не более 110°С.

Максимальная температура настройки данного термостата должна быть нерегулируемой.

Когда температура воды падает ниже температуры настройки, автоматически возобновляется подача газа на горелку.

2.2.7.4 Защитный термостат

Защитный термостат должен вызывать энергонезависимую блокировку подачи газа при температуре воды не более 110 °С.

Защитный термостат должен быть нерегулируемым, и нормальная работа котла не должна вызывать изменение температуры его настройки.

3 Требования безопасности

3.1 Общие положения

Выполнение перечисленных ниже требований проверяют в условиях испытаний в соответствии с 4.1.

3.2 Герметичность

3.2.1 Герметичность газового тракта

Газовый тракт должен быть герметичным. Герметичность проверяют дважды: перед началом и после выполнения всех испытаний, предусмотренных настоящим стандартом. Газовый тракт считают герметичным, если при условиях, заданных в 4.2.1, утечка воздуха не превышает:

- для испытания № 1 - 0,06 дм3/ч;

- для испытаний № 2 и 3 - 0,06 дм3/ч для каждого запорного элемента;

- для испытания № 4 - 0,14 дм3/ч.

3.2.2 Герметичность тракта продуктов сгорания

При условиях проверки, указанных в 4.2.2, продукты сгорания должны удаляться только через дымоход.

3.2.3 Герметичность водяного тракта

При условиях проверки, указанных в 4.2.3, не должно быть ни утечки во время проверки, ни видимого коробления после испытания.

3.3 Номинальная, максимальная и минимальная подводимая тепловая мощность и номинальная теплопроизводительность

3.3.1 Общие положения

Подводимую тепловую мощность, полученную во время испытаний, рассчитывают в соответствии с 4.3.1.1.

3.3.2 Номинальная подводимая тепловая мощность

3.3.2.1 Котлы без регулятора расхода газа

Для котлов без регуляторов расхода газа подводимая тепловая мощность, полученная при номинальном испытательном давлении и при условиях испытания, указанных в 4.3.2.1, не должна отличаться более чем на ±5 % от номинальной подводимой тепловой мощности.

3.3.2.2 Котлы с регуляторами расхода газа

Для котлов с регуляторами расхода газа проверяют, чтобы номинальная подводимая тепловая мощность могла быть получена при условиях испытания, указанных в 4.3.2.2.

3.3.2.3 Котлы с регуляторами расхода газа, регулировку которых следует выполнять путем измерения давления газа перед соплом горелки

Если в руководстве по эксплуатации указано давление газа перед соплом горелки, соответствующее номинальной подводимой тепловой мощности, то подводимая тепловая мощность, полученная в условиях испытания по 4.3.2.3, не должна отличаться более чем на ±5 % от номинальной подводимой тепловой мощности.

3.3.3 Максимальная и минимальная подводимая тепловая мощность

Подводимая тепловая мощность котлов, оснащенных устройствами задания диапазона, полученная при условиях испытания, указанных в 4.3.3, не должна отличаться более чем на ±5 % от максимальной или минимальной подводимой тепловой мощности, указанной изготовителем в руководстве по эксплуатации.

3.3.4 Минимальная подводимая пусковая тепловая мощность

При условиях испытания, указанных в 4.3.4, подводимая пусковая тепловая мощность не должна превышать минимальную подводимую пусковую тепловую мощность, указанную изготовителем в инструкции по эксплуатации.

3.3.5 Номинальная теплопроизводительность

Теплопроизводительность, полученная при условиях испытания, указанных в 4.3.5, не должна быть меньше номинальной теплопроизводительности, указанной изготовителем в инструкции по эксплуатации.

3.4 Безопасность работы

3.4.1 Температура поверхностей

3.4.1.1 Температура устройств регулировки, управления и защиты

При условиях испытания, указанных в 4.4.1.1, температура устройств регулировки, управления и защиты не должна превышать заданную изготовителем и их работа должна оставаться удовлетворительной. Температура поверхностей ручек управления и всех деталей, до которых необходимо дотрагиваться во время эксплуатации котла, измеренная в зонах, предназначенных для охвата рукой, и при условиях, указанных в 4.4.1.1, не должна превышать температуру окружающей среды более чем на:

- 35 °С - для металлов и эквивалентных материалов;

- 45 °С - для фарфора и эквивалентных материалов;

- 60 °С - для пластмасс и эквивалентных материалов.

3.4.1.2 Температура боковых, передней и верхней стенок

Температура боковых, передней и верхней стенок котла, за исключением стенок стабилизатора тяги, дымового патрубка котла, а также деталей корпуса в пределах 5 см от краев смотрового отверстия и в пределах 15 см от трубы дымохода, не должна превышать температуру окружающей среды более чем на 80 °С при измерении в условиях испытания, указанных в 4.4.1.2.

3.4.1.3 Температура испытательных панелей и пола

Температура пола или поверхности, на которой находится котел, а также температура испытательных панелей, размещаемых у боковых и задней стенок, не должна превышать температуру окружающей среды более чем на 80 °С при условиях испытания, указанных в 4.4.1.3.

Если это превышение температуры составляет от 60 до 80 °С, изготовитель котла должен указать в инструкции по эксплуатации необходимые меры защиты, которые должны быть выполнены при монтаже котла.

Такая защита должна быть проверена в испытательной лаборатории, при этом значения температуры пола и стенок, указанные в 4.4.1.3, не должны превышать значение температуры окружающей среды более чем на 60 °С.

3.4.2 Зажигание, перекрестное зажигание, устойчивость пламени

3.4.2.1 Нормальные условия

В условиях испытания, указанных в 4.4.2.1, в спокойном воздухе должно быть обеспечено быстрое, надежное воспламенение и перекрестное зажигание. Пламя должно быть устойчивым. Допускается небольшой отрыв пламени во время воспламенения, но через 1 мин после воспламенения пламя должно быть устойчивым. Зажигание горелки должно быть обеспечено при всех значениях расхода газа, указанных изготовителем и устанавливаемых с помощью ручек управления, при этом не должно происходить ни проскока пламени, ни продолжительного его отрыва. Допускается кратковременный проскок пламени во время зажигания или гашения горелки. Однако пламя при этом не должно выходить за пределы корпуса котла. Постоянная запальная горелка не должна гаснуть во время зажигания или гашения основной горелки; при работе котла пламя запальной горелки не должно изменяться до такой степени, чтобы оно больше не могло выполнять своей функции (зажигание основной горелки, работа устройства контроля пламени).

После того как запальная горелка проработала достаточно длительное время для обеспечения нормальной и устойчивой работы котла, ее работа должна оставаться безотказной, даже если подача газа к основной горелке отключается и снова включается несколькими быстрыми и следующими одна за другой регулировками термостата.

Для котлов, оснащаемых устройствами задания диапазона, выполнение этих требований проверяют при максимальной и минимальной подводимой тепловой мощности, указанной изготовителем.

Для котлов, которые имеют косвенные средства индикации наличия пламени при установившемся тепловом режиме работы, содержание оксида углерода в сухих не разбавленных воздухом продуктах сгорания при использовании предельного газа для отрыва пламени не должно более чем на 0,01 % превышать количество, получаемое при тех же самых условиях в случае использования эталонного газа. В случае восстановления искры или повторения цикла зажигания указанные выше требования также должны быть выполнены.

3.4.2.2 Особые условия

3.4.2.2.1 Ветроустойчивость

Пламя должно быть устойчивым в условиях испытания, указанных в 4.4.2.2.1.

3.4.2.2.2 Условия в дымоходе

При условиях испытания, указанных в 4.4.2.2.2, погасание горелки не допускается.

3.4.2.2.3 Снижение расхода газа запальной горелки

При условиях испытания, указанных в 4.4.2.2.3, и когда расход газа запальной горелки снижен до минимума, требуемого для открытия подачи газа к основной горелке, зажигание основной горелки должно быть обеспечено без повреждения котла и без выхода пламени за пределы корпуса котла.

3.4.2.2.4 Аварийное закрытие при неисправности газового клапана основной горелки

Если газовая линия имеет такую конструкцию, что подача газа к запальной горелке осуществляется путем отбора газа между двумя газовыми клапанами основной горелки, при условиях испытания, указанных в 4.4.2.2.4, не должно возникать опасной ситуации при аварийном закрытии (в результате поломки) клапана основной горелки, во время работы запальной горелки.

3.4.2.2.5 Снижение давления газа

При условиях испытания, указанных в 4.4.2.2.5, не должно возникать опасной ситуации для пользователя или опасности повреждения котла.

3.5 Устройства регулировки, управления и защиты

3.5.1 Общие положения

Устройства регулировки, управления и защиты должны работать надежно при экстремальных условиях, а именно при максимальной температуре, воздействию которой они подвергаются на котле, при изменении значения напряжения электрического тока от 1,1 до 0,85 номинального значения и при любой комбинации этих условий.

Для напряжений на 15 % ниже номинального эти устройства должны обеспечивать безопасность и осуществлять защитное отключение.

Указанные устройства должны удовлетворять требованиям, изложенным ниже.

3.5.2 Устройства управления

3.5.2.1 Ручка управления, перемещаемая вращением При условиях испытания, указанных в 4.5.2.1, рабочий крутящий момент ручки управления должен быть не более 0,6 Н·м или 0,017 Н·м/мм диаметра ручки.

3.5.2.2 Ручка управления, перемещаемая нажатием

При условиях испытания, указанных в 4.5.2.2, усилие, требуемое для открытия и (или) удержания в открытом состоянии запорного элемента, должно быть не более 45 Н или 0,5 Н/мм2 площади кнопки.

3.5.3 Автоматические клапаны

3.5.3.1 Усилие уплотнения

При условиях испытания, указанных в 4.5.3.1, утечка воздуха должна быть не более 0,04 дм3/ч, при следующих значениях обратного давления, кПа:

- 5,0 - для клапана класса В;

- 1,0 - для клапана класса С.

3.5.3.2 Функция закрытия

При условиях испытания, указанных в 4.5.3.2, клапаны должны закрываться автоматически прежде, чем значение напряжения снизится на 15 % минимального значения диапазона напряжений, указанного изготовителем в руководстве по эксплуатации.

Клапаны, использующие вспомогательные среды (газы или жидкости), должны закрываться автоматически при снижении рабочего давления до 85 % максимального давления, указываемого изготовителем в руководстве по эксплуатации.

Клапаны должны закрываться автоматически при достижении 85 % минимального значения номинального напряжения и 110 % максимального значения номинального напряжения.

3.5.3.3 Время закрытия

При условиях испытания, указанных в 4.5.3.3, время закрытия автоматического клапана не должно превышать, с:

- 1 - для клапанов класса В и класса С;

- 5 - для клапанов класса D.

3.5.3.4 Надежность

Клапаны, которые срабатывают при каждом управляемом отключении, подвергают испытаниям на надежность (срок службы), состоящим из 250000 рабочих циклов. Клапаны, которые остаются постоянно открытыми и которые закрываются только предохранительным устройством, подвергают испытаниям на надежность (срок службы), состоящим из 5000 рабочих циклов.

В конце испытаний в соответствии с 4.5.3.4 работа клапана должна оставаться удовлетворительной и должна соответствовать требованиям 3.2.1, 3.5.3.1 - 3.5.3.3.

3.5.4 Устройства зажигания

3.5.4.1 Устройство ручного зажигания запальных горелок

При условиях испытания, указанных в 4.5.4.1, результатом не менее половины попыток ручного зажигания должно быть надежное зажигание запальной горелки. Эффективность устройства зажигания не должна зависеть от скорости и последовательности операций. Работа приводимых в действие вручную устройств электрического зажигания должна оставаться удовлетворительной при предельных значениях напряжений, указанных в 3.5.1. Подача газа к основной горелке должна допускаться лишь после воспламенения запальной горелки.

3.5.4.2 Система автоматического зажигания запальной и основной горелок

3.5.4.2.1 Зажигание

При условиях испытания, указанных в 4.5.4.2.1, устройства непосредственного зажигания должны обеспечивать безопасное зажигание.

Зажигание должно происходить в пределах максимум пяти попыток автоматического зажигания. Во время каждой попытки зажигания клапан (клапаны) должен открываться и закрываться.

Система зажигания должна срабатывать не позднее подачи сигнала на открытие клапана (клапанов).

Если зажигания не происходит, формирование искры должно продолжаться до окончания TSA (разрешается допуск 0,5 с). После этого должна произойти энергозависимая блокировка.

3.5.4.2.2 Надежность

Генераторы искры должны выдерживать испытания на надежность, состоящие из 250000 рабочих циклов, в соответствии с условиями испытания, указанными в 4.5.4.2.2. После этих испытаний работа указанных устройств должна оставаться надежной и должна соответствовать требованиям 3.5.4.2.1.

3.5.4.3 Запальная горелка

При условиях испытания, указанных в 4.5.4.3, подводимая тепловая мощность запальной горелки постоянного действия не должна превышать 0,250 кВт.

После зажигания запальной горелки сигнал на открытие подачи газа к основной горелке должен быть подан только после обнаружения пламени запальной горелки.

3.5.5 Устройства контроля пламени

3.5.5.1 Термоэлектрическое устройство

3.5.5.1.1 Усилие уплотнения

При условиях испытания, указанных в 4.5.5.1.1, утечка воздуха не должна превышать 0,04 дм3/ч, при этом значение обратного давления должно составлять 1,0 кПа.

3.5.5.1.2 Надежность

В конце испытаний на надежность в соответствии с 4.5.5.1.2, состоящих из 5000 рабочих циклов, работа термоэлектрического устройства контроля пламени должна оставаться удовлетворительной и соответствовать требованиям 3.2.1, 3.5.2.1 и 3.5.2.2.

3.5.5.1.3 Время зажигания (TIA)

При условиях испытания, указанных в 4.5.5.1.3, TIA постоянно работающей запальной горелки не должно превышать 30 с.

Это время может быть увеличено до 60 с, если не требуется ручное вмешательство.

3.5.5.1.4 Время погасания (TIE)

При условиях испытания, указанных в 4.5.5.1.4, время задержки погасания термоэлектрического устройства контроля пламени не должно превышать, с:

- 60 - при Qном ≤ 35 кВт;

- 45 - при 35 кВт < Qном ≤ 70 кВт

где Qном - номинальная подводимая тепловая мощность.

3.5.5.2 Система автоматического управления горелкой

3.5.5.2.1 Защитное время зажигания (TSA)

Максимальное защитное время зажигания TSAмакс (см. 1.3.4.5) задается изготовителем котла.

Если подводимая тепловая мощность запальной горелки не превышает 0,250 кВт, требования к TSAмакс не предъявляют.

Если подводимая тепловая мощность запальной горелки превышает 0,250 кВт, в случае непосредственного зажигания основной горелки, TSAмакс выбирает изготовитель котла так, чтобы не возникало опасности для пользователя или повреждения котла.

Это требование считают выполненным, когда TSAмакс, определенное условиями испытания согласно 4.5.5.2.1, удовлетворяет соотношению:

TSAмакс ≤ 5∙100/QIGN с ≤ 10 с,

где QIGN - подводимая тепловая мощность при зажигании (см. 1.3.4.6).

Если TSAмакс не удовлетворяет приведенному выше соотношению, выполняют проверку затрудненного зажигания (см. 3.5.5.2.5).

Когда предпринимается несколько попыток автоматического зажигания, сумма значения TSA и значения времени ожидания должна удовлетворять приведенному выше соотношению для TSAмакс.

3.5.5.2.2 Защитное время погасания (TSE) (см. 1.3.4.5)

При условиях испытания, указанных в 4.5.5.2.2, защитное время погасания запальной и основной горелок не должно превышать 5 с, если конструкцией не предусмотрено восстановление искры.

3.5.5.2.3 Восстановление искры

Если конструкцией предусмотрено восстановление искры, то при условиях испытания, указанных в 4.5.5.2.3, устройство зажигания должно повторно включиться не позднее чем через 1 с после исчезновения сигнала пламени.

В этом случае TSA должно быть таким же, что и при пуске.

3.5.5.2.4 Повторение цикла

Если конструкцией предусмотрено повторение цикла розжига котла в соответствии с условиями испытания, указанными в 4.5.5.2.4, этому должно предшествовать прерывание подачи газа, процедура зажигания должна быть повторно выполнена с самого начала.

В этом случае TSA то же, что и при первом пуске.

3.5.5.2.5 Защита от возгорания

При условиях испытания, указанных в 4.5.5.2.5, не должно быть повреждения котла или возгорания материала (марли), используемого для испытаний.

3.5.5.2.6 Надежность

При условиях испытания, указанных в 4.5.5.2.6, автоматическую систему управления горелкой подвергают следующим испытаниям на надежность:

- 250000 рабочих циклов для деталей, работающих при выполнении каждой процедуры запуска;

- 5000 рабочих циклов для деталей, работающих только в случае блокировки. В конце этих испытаний работа автоматической системы управления горелкой должна оставаться надежной. Защитное время зажигания и защитное время погасания не должны превышать указанных изготовителем котла в руководстве по эксплуатации.

3.5.6 Регулятор давления газа

При условиях испытания, указанных в 4.5.6, расход газа для котла, оснащенного регулятором давления, не должен отличаться от расхода газа, получаемого при номинальном давлении, более чем на:

- плюс 7,5 %, минус 10 % между рном и рмакс - для газов первого семейства;

- плюс 5 %, минус 7,5 % между рмин и рмакс - для газов второго семейства без пары давлений;

- ±5 % между верхним значением рном и верхним значением рмакс - для газов второго и третьего семейств с парой давлений;

- ±5 % между рмин и рмакс - для газов третьего семейства без пары давлений. Регулятор давления газа должен быть подвергнут испытаниям на надежность, состоящим и 50000 рабочих циклов.

3.5.7 Термостат управления, термостат предельного нагрева и защитный термостат

3.5.7.1 Общие положения

При условиях испытания, указанных в 4.5.7.1, значения температуры открытия и закрытия термостатов не должны отличаться от соответствующих значений, указанных изготовителем котла, более чем на 6 °С. Для регулируемых термостатов это требование применимо при минимальном и максимальном значениях температуры диапазона регулирования.

3.5.7.2 Термостат управления

3.5.7.2.1 Точность настройки

При условиях испытания, указанных в 4.5.7.2.1:

- максимальная температура воды котлов, оснащаемых термостатом с фиксированной установкой, должна составлять ±10 °С температуры, указанной изготовителем;

- для котлов, оснащаемых регулируемым термостатом управления, должна быть возможность установки в пределах ±10 °С температуры потока воды, указанной изготовителем;

- температура воды на выходе из котла не должна превышать 95 °С; однако если термостат управления размещен на трубопроводе обратной воды (далее - обратная труба), это требование может быть удовлетворено действием термостата предельного нагрева, размещаемого на выходе из котла;

- термостат предельного нагрева (если термостат управления не установлен на трубопроводе обратной воды) и защитный термостат не должны срабатывать раньше регулируемого термостата управления.

3.5.7.2.2 Надежность

Термостаты (с колбовым или контактным датчиком температуры) должны выдерживать испытание на надежность, состоящее из 250000 рабочих циклов, при условиях испытания, указанных в 4.5.7.2.2. В конце испытания работа термостатов должна удовлетворять требованиям 3.5.7.2.1.

3.5.7.3 Термостат предельного нагрева и защитный термостат

3.5.7.3.1 Нарушение циркуляции воды

При условиях испытания, указанных в 4.5.7.3.1, не должен происходить сбой работы котла. Это требование не применяют к котлам, предназначенным исключительно для работы в системах центрального отопления с открытым расширительным сосудом.

3.5.7.3.2 Перегрев

3.5.7.3.2.1 Котлы с давлением класса 1 и с давлением класса 2

При условиях испытания, указанных в 4.5.7.3.2.1 (испытание № 1), термостат предельного нагрева должен вызывать предохранительное отключение перед тем, как температура потока воды превысит 110 °С.

При условиях испытания, указанных в 4.5.7.3.2.1 (испытание №2), защитный термостат должен вызывать энергонезависимую блокировку котла, если температура воды превысит 110 °С.

3.5.7.3.2.2 Котлы с давлением класса 3

При условиях испытания, указанных в 4.5.7.3.2.2, защитный термостат должен вызывать энергонезависимую блокировку котла, прежде чем температура потока воды превысит 110 °С.

3.5.7.3.3 Надежность

3.5.7.3.3.1 Термостаты предельного нагрева

Термостаты предельного нагрева подвергают испытанию на надежность, состоящему из 10000 рабочих циклов, при условиях испытания, указанных в 4.5.7.3.3.1.

В конце испытания работа термостатов предельного нагрева должна удовлетворять требованиям 3.5.7.1 и 3.5.7.3.2.

3.5.7.3.3.2 Защитные термостаты

Защитные термостаты должны выдерживать испытание на надежность, состоящее из 4500 тепловых циклов без срабатывания и 500 циклов с блокировкой и установкой в исходное состояние, при условиях испытания, указанных в 4.5.7.3.3.2.

В конце испытания работа защитных термостатов должна удовлетворять требованиям 3.5.7.1 и 3.5.7.3.2. При условиях испытания, указанных в 4.5.7.3.3.2, нарушение связи между датчиком и устройством, реагирующим на его сигнал, должно вызвать защитное отключение.

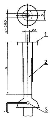
3.5.8 Датчик тяги1)

1) Требования настоящего пункта относятся только к тепловым датчикам тяги.

3.5.8.1 Общие положения

Общие условия испытания указаны в 4.5.8.1.

3.5.8.2 Ложное срабатывание

При условиях испытания, указанных в 4.5.8.2, датчик тяги не должен срабатывать.

3.5.8.3 Время защитного отключения при нарушении тяги

При условиях испытания, указанных в 4.5.8.3, датчик тяги должен вызывать защитное отключение в пределах максимального времени по таблице 2.

Таблица 2

Степень перекрытия дымохода

Диаметр отверстия в перекрывающей пластине d, мм

Максимальное время до отключения, мин

Qном

Qмин

Полная блокировка

0

2

2Qном/Qмин

Частичная блокировка

0,6D

8

-

Обозначения:

Qном - номинальная подводимая тепловая мощность, кВт;

Qмин - минимальная подводимая тепловая мощность (для регулируемых котлов или котлов с несколькими значениями тепловой мощности горелки), кВт;

D - внутренний диаметр испытательного дымохода в его верхней части, мм.

Примечание - Если невозможно автоматически установить минимальную подводимую тепловую мощность, используют среднее значение измеренной мощности.

Если выключение происходит без блокировки, повторный автоматический запуск в работу должен быть не раньше чем через 10 мин. Изготовитель должен указать в руководстве по эксплуатации фактическое время выжидания котла.

3.5.8.4 Надежность

После испытаний на надежность по 4.5.8.4 датчик тяги должен оставаться работоспособным и соответствовать требованиям 3.5.8.3.

3.6 Сгорание газа

3.6.1 Оксид углерода

При условиях испытания, указанных в 4.6.1, концентрация оксида углерода (СО) в сухих не разбавленных воздухом продуктах сгорания не должна превышать, %:

- 0,05 - при работе котла на эталонном газе при нормальных или особых условиях;

- 0,20 - при работе котла на предельном газе для неполного сгорания. Кроме того, когда котел испытывают на предельном газе для сажеобразования, не должно наблюдаться осаждение сажи, жёлтые языки пламени при этом допускаются.

3.6.2. Оксиды азота

В зависимости от предельного содержания окислов азота (NOx) в сухих не разбавленных воздухом продуктах сгорания котлы подразделяют на пять классов в соответствии с таблицей 3

Таблица 3

Класс

Предельная концентрация NОх, мг/(кВт·ч)

1

260

2

200

3

150

4

100

5

70

При условиях испытания, указанных в 4.6.2, концентрация NОх в сухих не разбавленных воздухом продуктах сгорания не должна превышать предельных концентраций для котла соответствующего класса.

3.7 Коэффициент полезного действия

3.7.1 При условиях испытания, указанных в 4.7.1, коэффициент полезного действия (далее - КПД), %, при номинальной подводимой тепловой мощности [при максимальной подводимой тепловой мощности для котлов с устройством задания диапазона подводимой тепловой мощности (далее - котлы с устройством задания диапазона)] должен быть не менее определенного по формуле

КПД = 84 +2 lg Qном,                                                       (1)

где Qном - номинальная подводимая мощность (максимальная подводимая тепловая мощность для котлов с устройством задания диапазона), кВт.

Кроме того, для котлов с устройством задания диапазона КПД, %, при подводимой тепловой мощности, значение которой соответствует среднему арифметическому значению максимальной и минимальной подводимой тепловой мощности, должен быть не менее определенного по формуле

КПД = 84 + 2 lg Qа,                                                            (2)

где Qа - среднее арифметическое значение максимальной и минимальной        подводимой тепловой мощности, кВт.

3.7.2 КПД при частичной нагрузке

При условиях испытания, указанных в 4.7.2, КПД, %, при подводимой тепловой мощности, значение которой соответствует 30 % номинальной подводимой тепловой мощности (среднему арифметическому значению максимальной и минимальной подводимой тепловой мощности для котлов с устройством задания диапазона), должен быть не менее определенного по формуле

КПД = 80 + 3 lg Qi                                                           (3)

где Qi - номинальная подводимая тепловая мощность (Qном) или среднее арифметическое значение максимальной и минимальной подводимой тепловой мощности для котлов с устройством задания диапазона (Qa), кВт.

3.8 Отсутствие конденсации в дымовой трубе

При нормальных рабочих условиях не должно быть конденсации влаги продуктов сгорания в дымоходе. Это требование удовлетворяется, если выполняется одно из следующих условий:

а) теплопотери продуктов сгорания в дымоходе не превышают 8 % при условиях испытания, указанных в 4.8.1;

б) температура продуктов сгорания не ниже 80 °С при условиях испытания, указанных в 4.8.2.

3.9 Прочность

3.9.1 Общие положения

Котлы и (или) их элементы должны выдерживать гидравлические испытания. Такие испытания проводят при условиях испытания, указанных в 4.9, если эти испытания не были проведены ранее в соответствии с 4.2.3.

3.9.2 Котлы с давлением класса 1

При условиях испытания, указанных в 4.9.2, не допускаются утечки и видимые деформации в конце испытаний.

3.9.3 Котлы с давлением класса 2

При условиях испытания, указанных в 4.9.3, не допускаются утечки и видимые деформации в конце испытаний.

3.9.4 Котлы с давлением класса 3

3.9.4.1 Котлы из тонколистовой стали или из цветных металлов

При условиях испытания, указанных в 4.9.4.1, не допускаются утечки и видимые деформации в конце испытаний.

3.9.4.2 Котлы из чугуна и литых материалов

3.9.4.2.1 Корпус котла

При условиях испытания, указанных в 4.9.4.2.1, не допускаются утечки и видимые деформации в конце испытаний.

3.9.4.2.2 Прочность элементов котла при испытании на разрыв При условиях испытания на разрыв, указанных в 4.9.4.2.2, все испытанные секции теплообменника котла должны оставаться неповрежденными.

3.9.4.2.3 Поперечные балки

При условиях испытания, указанных в 4.9.4.2.3, поперечные балки не должны деформироваться.

3.10 Гидравлическое сопротивление

При условиях испытания, указанных в 4.10, значения гидравлического сопротивления (или кривая допустимых давлений) должны соответствовать значениям, заданным изготовителем в руководстве по эксплуатации.

4 Методы испытаний

4.1 Общие положения

4.1.1 Характеристики эталонного и предельных газов

Котлы предназначены для использования газов различного качества. Одна из целей испытаний заключается в проверке работоспособности котлов для каждого семейства газов или групп газов при давлениях, на которые они рассчитаны.

Состав и основные характеристики испытательных газов указаны в таблицах 4 - 6.

4.1.2 Требования к изготовлению испытательных газов Состав газов, используемых для испытаний, должен быть максимально приближенным к составам по таблице 4.

При изготовлении испытательных газов должны быть соблюдены следующие требования:

- число Воббе испытательного газа не должно отклоняться от указанного в таблице 4 более чем на ± 2 % (с учетом погрешности измерительного устройства);

- газы, используемые при изготовлении смесей, должны иметь степень чистоты, не менее:

азот

(N2)............... 99 %

 

 

водород

2)............... 99 %

 

 

метан

(СН4)............ 95 %

ü

ý

þ

с суммарным содержанием объемных долей водорода, оксида углерода и кислорода менее 1 % и с суммарным содержанием объемных долей азота и диоксида углерода менее 2 %.

пропилен

3Н6)........... 95 %

пропан

3Н8)........... 95 %

бутан1)

(С4Н10)......... 95 %

1) Разрешается смесь изо- и н-бутанов.

Таблица 4 - Характеристики испытательных газов (сухой газ при температуре окружающей среды 15 °С и атмосферном давлении 101,3 кПа)

Свойство газа

Группа газа

Вид газа

Обозначение газа

Объемная доля, %

Wон

Wов

ρ

МДж/м3

Первое

а

Эталонный газ, предельные газы для неполного сгорания, отрыва пламени и сажеобразования

G110

СН4=26

Н2=50

N2=24

21,76

13,95

24,75

15,87

0,411

Предельный газ для проскока пламени

G112

СН4=17

Н2=59

N2=24

19,48

11,81

22,36

13,56

0,367

Второе

Н

Эталонный газ

G20

СН4=100

45,67

34,02

50,72

37,78

0,555

Предельные газы для неполного сгорания и сажеобразования

G21

СН4=87

С3Н8=13

49,60

41,01

54,76

45,28

0,684

Предельный газ для проскока пламени

G222

СН4=77 Н2=23

42,87

28,53

47,87

31,86

0,443

Предельный газ для отрыва пламени

G23

СН4=92,5

N2=7,5

41,11

31,46

45,66

34,95

0,586

L

Эталонный газ и предельный газ для проскока пламени

G25

СН4=86

N2=14

37,38

29,25

41,52

32,49

0,612

Предельные газы для неполного сгорания и сажеобразования

G26

СН4=80

С3Н8=7

N2=13

40,52

33,36

44,83

36,91

0,678

Предельный газ для отрыва пламени

G27

СН4=82

N2=18

35,17

27,89

39,06

30,98

0,629

Е

Эталонный газ

G20

СН4=100

45,67

34,02

50,72

37,78

0,555

Предельные газы для неполного сгорания и сажеобразования

G21

СН4=87

C3H8=13

49,60

41,01

54,76

45,28

0,684

Предельный газ для проскока пламени

G222

СН4=77

Н2=23

42,87

28,53

47,87

31,86

0,443

Предельный газ для отрыва пламени

G231

СН4=85

N2=15

36,82

28,91

40,90

32,11

0,617

Третье

3В/Р и 3В

Эталонный газ, предельные газы для неполного сгорания и сажеобразования

G30

н4Н10=50

изо4Н10=50

80,58

116,09

87,33

125,81

2,075

Предельный газ для отрыва пламени

G31

С3Н8=100

70,69

88,00

76,84

95,65

1,550

Предельный газ для проскока пламени

G32

С3Н6=100

68,14

82,78

72,86

88,52

1,476

Эталонный газ, предельные газы для неполного сгорания, сажеобразования и отрыва пламени

G31

С3Н8=100

70,69

88,00

76,84

95,65

1,550

Предельный газ для проскока пламени

G32

С3Н6=100

68,14

82,78

72,86

88,52

1,476

Таблица 5 - Теплота сгорания испытательных газов третьего семейства

Обозначение испытательного газа

МДж/кг

G30

45,65

49,47

G31

46,34

50,37

G32

45,77

48,94

Таблица 6 - Характеристики эталонных газов при температуре окружающей среды 0 °С и атмосферном давлении 101,3 кПа

Группа газа

Испытательный газ

Обозначение газа

Объемная доля, %

Wон

Wов

ρ

МДж/м3

H

Эталонный газ

G20

СН4=100

48,20

35,90

53,61

39,94

0,555

L

Эталонный газ и предельный газ для проскока пламени

С25

СН4=86

N2=14

39,45

30,87

43,88

34,34

0,613

Е

Эталонный газ

G20

СН4=100

48,20

35,90

53,61

39,94

0,555

Соблюдение этих условий необязательно для каждого из компонентов, если конечная смесь имеет состав, идентичный составу смеси, которая включала бы в себя компоненты, удовлетворяющие указанным выше условиям. Поэтому изготовление смеси можно начинать с газа, уже содержащего в подходящих пропорциях некоторые компоненты конечной смеси.

Для газов второго семейства допускается:

- для испытаний, проводимых с эталонными газами G20 или G25, использовать природный газ, принадлежащий соответственно группе Н, L или Е, даже если его состав не удовлетворяет указанным выше требованиям, при условии, что после добавления пропана или азота конечная смесь имеет число Воббе в пределах ± 2 % значений, указанных в таблице 4 для соответствующего эталонного газа.

Для подготовки предельного газа вместо метана в качестве базового можно использовать другой газ:

- для предельных газов G21, G222, G23 - природный газ группы Н;

- для предельных газов G27 и G231 - природный газ группы Н, L или Е;

- для предельного газа G26 - природный газ группы L.

Во всех случаях конечная смесь, полученная добавлением пропана или азота, должна иметь число Воббе в пределах ± 2 % значений по таблице 4, а содержание водорода в этой конечной смеси не должно отличаться от указанного в таблице 4.

В спорном случае испытания должны быть проведены с использованием испытательных газов в соответствии с таблицей 4.

4.1.3 Применение испытательных газов

4.1.3.1 Выбор испытательных газов

В зависимости от категории котла испытания проводят с использованием газов согласно таблице 7, характеристики испытательных газов должны соответствовать требованиям 4.1.2.

Если котел предназначен для использования нескольких эталонных газов, для проверки КПД применяют эталонный газ второго семейства, причем приоритет отдают газу G20

В тех случаях, когда допускается применение сетевого газа, он должен принадлежать семейству и группе газов, к которому принадлежит эталонный газ, который этот сетевой газ заменяет.

Таблица 7 - Испытательные газы, соответствующие категориям котлов

Категория

Эталонный газ

Предельный газ

для неполного сгорания

для проскока пламени

для отрыва пламени

для сажеобразования

I2H

G20

G21

G222

G23

G21

I2L

G25

G26

G25

G27

G26

I2E, I2E+

G20

G21

G222

G231

G21

I3B/P, I3+

G30

G30

G32

G31

G30

I3P

G31

G31

G32

G31

G31, G32

II1a2H

G110, G20

G21

G112

G23

G21

II2H3B/P, II2H3+

G20, G30

G21

G222, G32

G23, G31

G30

II2H3P

G20, G31

G21

G222, G32

G23, G31

G31, G32

II2L3B/P

G25, G30

G26

G32

G27, G31

G30

II2L3P

G25, G31

G26

G32

G27, G31

G31, G32

II2E3B/P, II2E+B/P,

II2E+3+

G20, G30

G21

G222, G32

G231, G31

G30

4.1.3.2 Условия снабжения газом и регулировки котлов

Испытания проводят при соответствующих давлениях газа и с использованием эталонных и предельных газов для котла конкретной категории согласно требованиям, изложенным в таблицах 7 - 9.

За исключением особо отмеченных случаев, все испытания проводят при номинальной подводимой тепловой мощности с использованием эталонного газа при номинальном давлении. Перед проведением испытаний выполняют следующие действия:

- котел оснащают соплами, соответствующими используемому эталонному газу;

- давление газа на входе в сопло устанавливают таким, чтобы подводимая тепловая мощность соответствовала номинальной с отклонением ± 2 % (путем изменения регулировки регулятора расхода газа или регулятора давления газа, если они являются регулируемыми, или давления подводимого к котлу газа для нерегулируемого котла).

При необходимости, для получения номинальной подводимой тепловой мощности с отклонением в пределах ± 2 % можно использовать давление подачи газа р, отличное от номинального давления рном, тогда испытания, которые необходимо проводить при предельных давлениях рмин и рмакс Должны быть выполнены на скорректированных давлениях р΄мин и р΄макс так чтобы было удовлетворено условие по формуле

.                                                       (4)

4.1.4 Испытательные давления

Значения испытательных (статистических) давлений газа, подаваемого во входное соединение, указаны в таблицах 8 и 9.

4.1.5 Проведение испытаний

Для каждого из эталонных газов и соответствующих давлений котел оснащают соответствующим оборудованием (сопла и т.д.) согласно требованиям 4.1.1 и регулируют (например, газовые и воздушные расходы) в соответствии с инструкциями по монтажу, пуску, регулированию и обкатке котла.

Таблица 8 - Испытательные давления (без пары давлений)

Семейство газа и категория котла

Испытательные газы

pном

pмин

pмакс

кПа

Первое, 1а

G110

G112

0,8

0,6

1,5

Второе, 2Н

G20, G21,

G222, G23

2,0

1,7

2,5

Второе, 2L

G25, G26, G27

2,5

2,0

3,0

Второе, 2Е

G20, G21,

G222, G231

2,0

1,7

2,5

Третье, 3В/Р

G30, G31, G32

2,91)

2,5

3,5

5,0

4,25

5,75

Третье, 3Р

G31, G32

3,7

2.5

4,5

5,0

4,25

5,75

1) Котлы этой категории могут быть использованы без регулирования на давлениях подачи газа от 2,8 до 3,0 кПа.

Таблица 9 - Испытательные давления (с парой давлений)

Семейство газа и категория котла

Испытательные газы

pном

pмин

pмакс

кПа

Второе, 2Е+

G20, G21, G222

2,0

1,7

2,5

G231

2,51)

3,0

Третье, 3+ (пара 2,8 - 3,0/3,7)

G30

2,92)

2,0

3,5

G31, G32

3,7

2,5

4,5

Третье, 3+ (пара 5,0/6,7)

G30

5,0

4,25

5,75

G31, G32

6,7

5,0

8,0

Третье, 3+ (пара 11,2/14,8)

G30

11,2

6,0

14,0

G31, G32

14,8

10,0

18,0

1) Это давление соответствует использованию газов с низким числом Воббе.

2) Котлы этой категории могут быть использованы без регулирования на давлениях подачи газа от 2,8 до 3,0 кПа.

Для испытаний с применением предельных газов, указанных в таблице 7, котел проверяют только с соплами и настройками, соответствующими эталонному газу группы, к которой предельный газ, используемый при испытании, принадлежит.

Для котлов с устройствами задания диапазона все испытания, предусматриваемые для номинальной подводимой тепловой мощности, выполняют при максимальной подводимой тепловой мощности, если не указывают иначе.

4.1.6 Общие условия испытаний

За исключением особо отмеченных случаев, при проведении испытаний должны быть выполнены требования, изложенные ниже.

4.1.6.1 Помещение для проведения испытаний

Котел устанавливают в хорошо проветриваемое, не имеющее сквозняков помещение (скорость воздуха не более 0,5 м/с, температура воздуха в помещении около 20 °С); котел должен быть защищен от воздействия прямого солнечного освещения.

4.1.6.2 Требования к установке

Для всех испытаний, за исключением особо отмеченных случаев, котел устанавливают, используют и вводят в эксплуатацию при условиях, указываемых в руководстве по эксплуатации.

Настенные котлы устанавливают на вертикальном испытательном стенде, изготовленном из фанеры или материала с аналогичными тепловыми характеристиками, в соответствии с руководством по эксплуатации.

За исключением особо отмеченных случаев, котел испытывают с тягой, создаваемой испытательным дымоходом высотой 1 м и внутренним диаметром, равным наименьшему диаметру, указываемому изготовителем в руководстве по эксплуатации.

Толщина трубы дымохода не более 1 мм.

Высоту дымохода измеряют:

- для котлов, имеющих патрубок дымохода с горизонтальной осью, - от этой оси;

- для котлов, имеющих патрубок дымохода с вертикальной осью, - от плоскости выходного сечения патрубка дымохода.

Пробы продуктов сгорания отбирают с помощью устройства, показанного на рисунке И.3 или И.4 и размещаемого внутри дымохода на расстоянии 0,15 м от его верхнего сечения.

4.1.6.3 Водяной тракт

Котел соединяют с испытательным стендом, схема которого показана на рисунке И.1 или И.2, или с другим подобным оборудованием, дающим эквивалентные результаты, и продувают воздухом в соответствии с требованиями руководства по эксплуатации. Если котел оснащен термостатом, регулируемым до температуры 95 °С или нерегулируемым, имеющим настройку от 70 до 95 °С, испытания проводят при температуре воды на выходе из котла (80±2) °С.

В котлах, в которых по конструктивным особенностям значение максимальной температуры воды на выходе из котла не может быть выше 70 °С, испытания проводят при максимальной температуре воды на выходе из котла, указанной изготовителем в руководстве по эксплуатации.

Клапаны управления I и II (см. рисунок И.1 или И.2) используют для получения разности температур воды в прямой и обратной трубах, равной (20±1) °С, или значения, указанного изготовителем, если конструкция системы управления котлом не позволяет осуществлять надежную работу при разности температур 20 °С.

4.1.6.4 Тепловое равновесие

Испытания проводят при наступившем тепловом равновесии, т.е. когда температура потока воды и температура продуктов сгорания в дымоходе остаются постоянными с допустимым колебанием ± 2 °С.

4.1.6.5 Термостаты

Термостаты или другие регулируемые органы управления, влияющие на расход газа, должны быть отключены, кроме специально указанных случаев.

4.1.6.6 Электропитание

Электрооборудование котла должно работать от электрической сети с номинальным напряжением электропитания, за исключением особо указанных случаев.

4.1.6.7 Погрешность измерений

Значения погрешностей средств измерений и контроля не должны превышать значений, указанных ниже:

атмосферное давление, кПа.......................................................................... ±0,5

давление в камере сгорания и в дымоходе, % или кПа.............................. ±5 или 0,005

давление газа, %............................................................................................. ±2

потеря давления воды, %............................................................................... ±5

расход воды, %................................................................................................ ±1

расход газа, %................................................................................................. ±1

время (до 1 ч), с.............................................................................................. ±0,2

время (свыше 1 ч), %...................................................................................... ±0,1

расход электроэнергии, %............................................................................. ±2

температура, °С:

- окружающей среды...................................................................................... ±1

- воды............................................................................................................... ±2

- продуктов сгорания...................................................................................... ±5

- газа................................................................................................................. ±0,5

- поверхности.................................................................................................. ±5

концентрация СО, СО2 и О2 для определения потерь в дымоходе, %...... ±6

теплота сгорания газа, %............................................................................... ±1

плотность газа, %........................................................................................... ±0,5

масса воды, %................................................................................................. ±0,05

крутящий момент, %...................................................................................... ±10.

Диапазон измерения измерительных приборов выбирают соответствующим максимальному измеряемому значению. Для определения утечки при испытаниях на герметичность применяют объемный метод, обеспечивающий прямое измерение утечки и имеющий погрешность не более 0,01 дм3/ч. При этом используют устройство, схема которого показана на рисунке И.6 или И.7, или другой прибор, дающий эквивалентные результаты.

4.1.7 Условия испытаний

Условия испытаний для котлов, работающих на газах первого, второго и третьего семейств, указаны в приложении А (таблицы А.1 - А.3).

4.2 Герметичность

4.2.1 Герметичность газового тракта

Испытания на герметичность газового тракта проводят воздухом при температуре окружающей среды.

Испытания выполняют дважды: до проведения остальных испытаний, а также по завершении всех испытаний, установленных настоящим стандартом, после пятикратного снятия и замены узлов газового тракта, имеющих газонепроницаемое соединение, снятие которых предусмотрено в руководстве по эксплуатации при профилактическом обслуживании.

Испытание № 1

Проверяют герметичность первого запорного элемента на соответствие требованиям 3.2.1, испытания проводят воздухом с избыточным давлением 15,0 кПа на входе в котел при закрытом первом запорном элементе и открытых всех других запорных элементах.

Испытание № 2

Проверяют герметичность второго запорного элемента на соответствие требованиям 3.2.1, испытания проводят при закрытом втором запорном элементе и открытом первом запорном элементе. Газопровод запальной горелки блокируют. Испытания проводят воздухом с избыточным давлением на входе в котел, кПа:

- 5,0 - для котлов, использующих только газы первого и (или) второго семейств;

- 15,0 - для котлов, использующих газы третьего семейства.

Все запорные элементы в газовом тракте запальной горелки также подвергают испытанию № 2.

Испытание № 3

Проводят испытание № 2 при испытательном давлении 0,6 кПа.

Испытание №4

Проверяют герметичность газового тракта на соответствие требованиям 3.2.1, испытания проводят при всех открытых клапанах и запорных элементах и закрытых с помощью специальных заглушек, поставляемых изготовителем, соплах основной и запальной горелок.

Испытания проводят воздухом с избыточным давлением на входе в котел, кПа:

- 5,0 - для котлов, использующих газы первого и (или) второго семейств;

- 15,0 - для котлов, использующих газы третьего семейства.

4.2.2 Герметичность тракта сгорания

Котел устанавливают в соответствии с 4.1.6 и соединяют с испытательным дымоходом длиной 1 м, за исключением настенных котлов, для которых используют испытательный дымоход длиной 0,5 м, если изготовитель не указывает, что испытание должно быть проведено с дымоходом длиной 1 м. Устройство для отбора проб снимают.

Испытание проводят на одном из эталонных газов или на сетевом газе, который фактически используется в котле соответствующей категории при номинальной подводимой тепловой мощности.

Испытания на герметичность тракта продуктов сгорания (на соответствие требованиям 3.2.2) проводят поднесением металлической пластины (температуру которой поддерживают несколько выше точки росы окружающего воздуха) к местам возможных утечек продуктов сгорания. Если пластина запотела, то имеется утечка.

В сомнительных случаях утечки обнаруживают с помощью устройства отбора проб, присоединенного к быстродействующему СО2-анализатору, способному определять концентрацию СО2 порядка 0,2 %. Отбор проб не должен мешать нормальному удалению продуктов сгорания.

4.2.3 Герметичность водяного тракта

Испытания на герметичность водяного тракта (на соответствие требованиям 3.2.3) проводят в течение 10 мин давлением воды, в 1,5 раза превышающим максимальное рабочее давление, указанное изготовителем.

4.3 Номинальная, максимальная и минимальная подводимая тепловая мощность и номинальная теплопроизводительность

4.3.1 Общие положения

4.3.1.1 Приведение подводимой тепловой мощности к стандартным условиям

Во время испытаний для проверки подводимой тепловой мощности определяют приведенную подводимую тепловую мощность Qпр которая была бы получена, если бы испытания проводили при стандартных условиях испытании (сухой газ, температура окружающей среды 15 °С, атмосферное давление 101,3 кПа). Для этого используют следующие формулы.

Если измеряют объемный расход газа V,

,                           (5)

отсюда

.

Если измеряют массовый расход газа М,

,                             (6)

отсюда

,

где Qпр - приведенная подводимая тепловая мощность при низшей теплоте сгорания

               газа, кВт;

       М - измеренный массовый расход газа, кг/ч;

       V - измеренный объемный расход газа при относительной влажности, температуре

             и давлении газа, при которых находится газовый счетчик, м3/ч;

        - низшая теплота сгорания единицы массы или единицы объема сухого

              эталонного газа, МДж/кг или МДж/м3;

       ра - атмосферное давление в момент испытания, кПа;

       р - давление подачи газа в счетчике, кПа;

       tг - температура газа на входе в котел, °С;

       ρ - относительная плотность сухого испытательного газа;

       ρг - относительная плотность эталонного газа.

Если для измерения объемного расхода газа используют мокрый газовый счетчик, необходимо выполнить корректировку плотности газа для учета его влажности. Тогда величину ρ заменяют ρh, вычисляемой по формуле

                                                  (7)

где рs - парциальное давление водяного пара при tг, кПа.

Парциальное давление водяного пара может быть определено по формуле

.                                                   (8)

Примечание - Для газов второго семейства эта поправка несущественна.

Все испытания, указанные в этом пункте, проводят на соответствие требованиям 3.3.2 и 3.3.3.

4.3.1.2 Подводимая тепловая мощность

Подводимую тепловую мощность Q, полученную фактически при испытании, определяют по одной из двух формул:

- если измеряют объемный расход газа,

;                                                        (9)

- если измеряют массовый расход газа,

,                                                    (10)

где Vг - объемный расход сухого газа, скорректированный для стандартных условий                испытаний (температура окружающей среды 15 °С, атмосферное давление                101,3 кПа), м3/ч;

       М - измеренный массовый расход сухого газа, кг/ч.

Для проведения испытаний:

- котел оснащают соплами для соответствующего эталонного газа;

- испытания проводят с каждым из эталонных газов;

- котел регулируют в соответствии с требованиями 4.1.6;

- котел находится в тепловом равновесии;

- давление в счетчике газа и на входе в котел одинаковое.

4.3.2 Номинальная подводимая тепловая мощность

4.3.2.1 Котел без регулятора расхода газа

Испытания проводят для котлов без регуляторов расхода газа (далее - регулятор) или для котлов, в которых регулятор должен быть опломбирован (для защиты от регулировки).

Испытания на соответствие требованиям 3.3.2.1 проводят при номинальном испытательном давлении для каждого из эталонных газов в соответствии с условиями 4.3.1.1.

4.3.2.2 Котел с регулятором расхода газа

Проверяют, что расход газа, измеряемый в соответствии с условиями 4.3.1.1, может быть получен после регулировки указанного регулятора. Испытание выполняют при номинальном давлении.

4.3.2.3 Котлы с регуляторами расхода газа, регулировку которых выполняют измерением давления газа перед соплом горелки

Если инструкции изготовителя относительно регулировки расхода газа содержат требование измерить давление перед соплом горелки, выполняют следующие условия.

Регулятор расхода газа устанавливают в положение, дающее давление на горелке, указанное изготовителем и измеряемое в точке измерения давления за регулятором расхода газа. Подводимая тепловая мощность, полученная в соответствии с условиями 4.3.1.1, не должна отличаться более чем на ± 5 % от номинальной подводимой тепловой мощности (см. 3.3.2.1).

4.3.3 Максимальная и минимальная подводимая тепловая мощность

Испытание на соответствие требованиям 3.3.3 котлов, оснащенных устройствами задания диапазона (далее - устройства), при условиях испытания согласно 4.3.1.1 выполняют, когда устройства находятся в положениях максимумов и минимумов, - для котлов, предназначенных для использования пары давлений, или в положениях, указанных изготовителем, - для других котлов.

4.3.4 Минимальная подводимая пусковая тепловая мощность

Для котлов, в которых зажигание возможно при подводимой тепловой мощности, меньшей, чем номинальная подводимая тепловая мощность, проверяют, чтобы средняя подводимая тепловая мощность для зажигания не превышала минимальную подводимую тепловую мощность, указанную изготовителем.

4.3.5 Номинальная теплопроизводительность

Проверяют, чтобы произведение КПД, определенного при условиях испытания, указанных в 4.7.1, и номинальной подводимой тепловой мощности было не меньше номинальной теплопроизводительности.

4.4 Безопасность работы

4.4.1 Температура поверхностей и деталей управления котла

Котел устанавливают в соответствии с требованиями 4.1.6, к нему подводят один из эталонных газов или сетевой газ при номинальной подводимой тепловой мощности, регулируемый термостат устанавливают в положение, дающее наивысшую температуру. Температуру измеряют после достижения теплового равновесия.

4.4.1.1 Температура устройств регулировки, управления и защиты

Температуру устройств регулировки, управления и защиты, которая должна соответствовать требованиям 3.4.1.1, измеряют с помощью температурных датчиков.

4.4.1.2 Температура боковых стенок, передней поверхности и верхней крышки котла

Температуру боковых стенок, передней поверхности и верхней крышки котла, которая должна соответствовать требованиям 3.4.1.2, измеряют с помощью температурных датчиков с чувствительными элементами, прилагаемыми к внешней поверхности этих частей котла.

4.4.1.3 Температура испытательных панелей и пола

Температуру испытательных панелей и пола, которая должна соответствовать требованиям 3.4.1.3, измеряют следующим образом.

В зависимости от конструкции котел устанавливают на горизонтальной или вертикальной панели, выполненной из твердых пород дерева.

Для котлов, которые согласно руководству по эксплуатации могут быть установлены вблизи стены или стен помещения, расстояние между боковыми и задней стенками котла и деревянными испытательными панелями должно быть указано изготовителем, а для настенных котлов определено методом крепления. В любом случае это расстояние не должно превышать 200 мм.

Расстояние до стены измеряют от ближайшей выступающей части котла. Боковую испытательную панель размещают на боковой стороне котла, имеющей наиболее высокую температуру.

Для котлов, которые согласно руководству по эксплуатации могут быть установлены под полкой или аналогичным этому способом, соответствующую панель устанавливают над котлом на минимальном расстоянии, указанном в руководстве по эксплуатации.

Если подробные сведения относительно установки котла отсутствуют, испытания проводят с соответствующими панелями, размещаемыми в контакте с котлом.

Деревянные испытательные панели должны иметь толщину (25 ± 1) мм; их цвет должен быть матовым черным; их размеры должны не менее чем на 5 см превышать соответствующие размеры котла. Испытательные панели разбивают на квадраты со сторонами 10 см. В центрах этих квадратов закрепляют термопары, которые проникают в испытательные панели с внешней стороны, а их рабочие спаи находятся на расстоянии 3 мм от поверхности, обращенной к котлу.

Температуру испытательных панелей измеряют при работе котла на номинальной подводимой тепловой мощности после достижения теплового равновесия (когда температура панели стабилизировалась в пределах ± 2 °С).

Если в руководстве по эксплуатации указано на необходимость использования устройств защиты, проводят еще одно испытание с установкой такого устройства защиты, поставляемого изготовителем. Температуру окружающей среды измеряют на высоте 1,50 м над полом и на минимальном расстоянии 3 м от котла, причем температурный датчик должен быть защищен от теплового излучения от испытательной установки.

4.4.2 Зажигание, перекрестное зажигание, устойчивость пламени

Все испытания проводят дважды: первое - в холодном состоянии котла при температуре окружающей среды, второе - в состоянии установившегося теплового равновесия котла, работающего при номинальной подводимой тепловой мощности.

4.4.2.1 Нормальные условия

Проводят регулировку основной и запальной (если имеется) горелок, оснащенных соответствующими соплами, на них подают по очереди каждый из эталонных газов для котла данной категории, чтобы получить подводимую тепловую мощность в пределах ± 2 % номинальной (см. 4.1.3.2). Затем проводят следующие пять испытаний на соответствие требованиям 3.4.2.1.

Испытания проводят без изменения первоначальной регулировки основной и запальной горелок.

Испытание № 1

Давление газа на входном патрубке котлов без регуляторов давления снижают до 70 % номинального давления (см. 4.1.4) для газов второго семейства и до минимального давления, указанного в 4.1.4, для газов третьего семейства.

Давление газа на входном патрубке котлов, оборудованных регуляторами давления, также снижают до 70 % номинального давления, давление за регулятором снижают до соответствующего 90 % номинальной подводимой тепловой мощности для газов первого семейства, 92,5 % номинальной подводимой тепловой мощности для газов второго семейства и 95 % номинальной подводимой тепловой мощности для газов третьего семейства.

Затем проверяют, чтобы зажигание основной горелки от запальной горелки или устройства зажигания было надежным.

Испытание повторяют при минимальной подводимой тепловой мощности, обеспечиваемой ручками управления, если при этих условиях возможно зажигание.

Испытание №2

Для котлов без регуляторов давления эталонные газы заменяют соответствующим предельным газом для проскока пламени, давление на входном патрубке котла уменьшают до минимального давления, указанного в 4.1.4.

Давление за регулятором давления котлов, оборудованных регуляторами давления, снижают до уровня, соответствующего 90 % номинальной подводимой тепловой мощности для газов первого семейства, 92,5 % номинальной подводимой тепловой мощности для газов второго семейства и 95 % номинальной подводимой тепловой мощности для газов третьего семейства.

Затем проверяют, чтобы зажигание основной горелки от запальной горелки или устройства зажигания было надежным.

Это испытание повторяют при минимальной подводимой тепловой мощности, если при таких условиях возможно зажигание.

Испытание № 3

Для котлов без регуляторов давления эталонные газы заменяют соответствующим предельным газом для отрыва пламени, а давление на входном патрубке котла уменьшают до минимального давления, указанного в 4.1.4.

Давление за регулятором давления котлов, оборудованных регуляторами давления, снижают до уровня, соответствующего 90 % номинальной подводимой тепловой мощности для газов первого семейства, 92,5 % номинальной подводимой тепловой мощности для газов второго семейства или 95 % номинальной подводимой тепловой мощности для газов третьего семейства.

Затем проверяют, чтобы зажигание основной горелки от запальной горелки или устройства зажигания и перекрестное зажигание элементов основной горелки было надежным.

Это испытание повторяют при минимальной подводимой тепловой мощности, если при таких условиях возможно зажигание.

Испытание №4

На котлы без регуляторов давления подают предельный газ для отрыва пламени при максимальном давлении, указанном в 4.1.4.

Испытание котлов, оборудованных регуляторами давления, выполняют при подводимой тепловой мощности, составляющей 107,5 % номинальной подводимой тепловой мощности для газов первого семейства или 105 % номинальной подводимой тепловой мощности для газов второго и третьего семейств; затем предельный газ для отрыва пламени заменяют эталонным и испытание повторяют с эталонным газом. Затем проверяют отсутствие отрыва пламени.

Испытание №5

Котлы со встроенными средствами индикации наличия пламени проверяют при условиях испытания № 4, заменяя соответствующий предельный газ для отрыва пламени эталонным газом.

4.4.2.2 Особые условия

4.4.2.2.1 Ветроустойчивость

На котел, подвергаемый воздействию потока ветра со скоростью 2 м/с, подают эталонный или сетевой газ при номинальной подводимой тепловой мощности. Поток воздуха должен охватывать всю ширину горелки. Ось потока воздуха лежит на уровне горелки в горизонтальной плоскости, расположенной в пределах полукруга, описанного перед котлом, центр полукруга находится на пересечении плоскости симметрии котла и плоскости испытания. Испытание выполняют при нахождении оси потока воздуха в пределах этого полукруга под одним или несколькими углами падения (по усмотрению испытательной лаборатории).

Испытание на соответствие требованиям 3.4.2.2.1 проводят сначала при работе только с запальной горелкой, если таковая имеется, а затем с включенной основной горелкой при максимальной и минимальной подводимой тепловой мощности.

Если имеется дверца для зажигания запальной горелки, испытание выполняют при закрытой дверце.

4.4.2.2.2 Условия в дымоходе

На котел подают эталонный или сетевой газ при номинальной подводимой тепловой мощности. Датчик наличия тяги продуктов сгорания отключают.

Первое испытание на соответствие требованиям 3.4.2.2.2 выполняют, создавая в испытательном дымоходе (см. рисунок И.5) непрерывную тягу, направленную вниз со скоростью 3 м/с.

Второе испытание на соответствие требованиям 3.4.2.2.2 проводят при перекрытом дымоходе.

4.4.2.2.3 Снижение расхода газа запальной горелки

На основную и запальную горелки подают эталонный газ при номинальной подводимой тепловой мощности.

Давление газа во входном соединении газа котлов без регуляторов давления газа (далее - регулятор) снижают до минимального.

Значение давления газа на выходе из регулятора котлов, оборудованных регуляторами, снижают до соответствующего 90 % номинальной подводимой тепловой мощности для газов первого семейства, 92,5 % номинальной подводимой тепловой мощности для газов второго семейства и 95 % номинальной подводимой тепловой мощности для газов третьего семейства.

С помощью соответствующего устройства управления в линии подвода газа к запальной горелке значение расхода газа снижают до получения минимального необходимого для поддержания в открытом состоянии газового клапана.

Затем проверяют соответствие зажигания основной горелки от запальной горелки требованиям 3.4.2.2.3.

Все огневые отверстия запальных горелок, имеющих несколько огневых отверстий, закрывают, за исключением того, от пламени которого нагревается элемент датчика пламени.

Испытание повторяют при минимальной подводимой тепловой мощности, если при этих условиях возможно зажигание.

4.4.2.2.4 Аварийное закрытие при неисправности газового клапана основной горелки Испытание на соответствие требованию 3.4.2.2.4 проводят при соблюдении следующих условий:

- газ к запальной горелке подводят между двумя автоматическими клапанами основной горелки, второй по ходу газа автоматический клапан удерживают в открытом состоянии принудительно;

- на котел подают эталонный или сетевой газ при номинальной подводимой тепловой мощности.

4.4.2.2.5 Снижение давления газа

Котел устанавливают в соответствии с требованиями 4.4.2.1. Значение давления подводимого к котлу газа снижают от 70 % номинального до нуля или до наступления момента защитного отключения ступенчатыми шагами по 0,1 кПа.

После выполнения каждого шага проверяют соответствие требованию 3.4.2.2.5.

Допускается неполное перекрестное зажигание, если количество горючего газа, измеряемое в выходном патрубке дымохода, меньше, чем нижний предел воспламеняемости используемого газа.

4.5 Устройства регулировки, управления и защиты

4.5.1 Общие положения

В случаях, когда устройства регулировки, управления и защиты (далее - устройства) испытывают раздельно, их следует монтировать в положение, идентичное тому, которое указанные устройства занимают на котле.

Максимальная температура устройства должна быть идентична температуре устройства, установленного на котел, отрегулированный на номинальную подводимую тепловую мощность при работе на эталонном газе. Испытания проводят при установившемся тепловом равновесии, с регулирующим термостатом, установленным в положение, соответствующее максимальной температуре воды.

За исключением специально отмеченных случаев, испытания выполняют при температуре окружающей среды и при максимальной температуре воды.

4.5.2 Устройства управления

4.5.2.1 Ручка управления, перемещаемая вращением

Измеряют значение крутящего момента, которое должно соответствовать требованиям 3.5.2.1. Измерения проводят в пределах полного диапазона между положениями «открыто» и «закрыто». Открытие и закрытие ручек управления выполняют с постоянной скоростью 5 мин-1.

4.5.2.2 Ручка управления, перемещаемая нажатием

Измеряют усилие, требуемое для открытия и (или) удержания в открытом состоянии запорного элемента с использованием динамометра, и проверяют выполнение требований 3.5.2.2.

4.5.3 Автоматические клапаны

4.5.3.1 Усилие уплотнения

Вначале обеспечивается двухразовое срабатывание автоматических клапанов. В нерабочем положении на них подают воздух таким образом, чтобы давление воздуха было направлено противоположно направлению закрытия запорного элемента. Давление воздуха увеличивают со скоростью, не превышающей 0,1 кПа/с. При достижении значения давления 1,0 кПа (для клапанов класса С) или 5,0 кПа (для клапанов класса В) измеряют утечку воздуха; проверяют соответствие требованиям 3.5.3.1.

4.5.3.2 Функция закрытия

На клапан подают максимальное номинальное напряжение электропитания (далее - напряжение), при этом давление срабатывания должно быть максимальным, затем напряжение медленно снижают до 85 % минимального номинального напряжения. В этой точке клапан должен перейти в закрытое положение.

На клапан подают максимальное номинальное напряжение, при этом давление срабатывания должно быть максимальным, затем напряжение увеличивают до 110 % максимального номинального напряжения, при этом давление срабатывания не должно изменяться. После снятия напряжения клапан должен закрыться. Для клапанов переменного тока напряжение электропитания должно быть отключено в момент пика токового колебания.

На клапан подают максимальное номинальное напряжение, при этом давление срабатывания должно быть максимальным. Значение напряжения уменьшают до значения в пределах от 85 % минимального номинального напряжения до 85 % максимального номинального напряжения, при этом давление срабатывания не должно изменяться. После снятия напряжения клапан должен перейти в закрытое положение.

Это испытание выполняют при трех различных значениях напряжения от 85 % минимального номинального напряжения до 85 % максимального номинального.

На клапан с пневматическим или гидравлическим механизмом срабатывания подают вспомогательную среду при максимальном давлении срабатывания, затем давление срабатывания медленно снижают до 85 % максимального давления срабатывания. В этой точке клапан должен перейти в закрытое положение.

4.5.3.3 Время закрытия

Клапан настраивают на максимальное давление вспомогательной среды (газа или жидкости) или на 110 % максимального номинального напряжения.

Испытание проводят при работе котла на эталонном газе при следующих испытательных давлениях:

- максимальном давлении газа;

- давлении газа 0,6 кПа.

Время между прекращением подачи вспомогательной среды или максимального номинального напряжения и достижением положения «закрыто» должно соответствовать требованиям 3.5.3.3.

4.5.3.4 Надежность

К клапанам подводят воздух при температуре окружающей среды в направлении протекания газа; значение расхода воздуха не превышает 10 % значения, указанного изготовителем:

- 60 % числа циклов выполняют при максимальной температуре клапана по 4.5.1 и при напряжении, в 1,1 раза превышающем номинальное напряжение;

- 40 % числа циклов выполняют при температуре окружающей среды и при напряжении, составляющем 0,85 номинального.

Проверяют соответствие требованиям 3.5.3.4, 4.5.4 устройства зажигания

4.5.4.1 Устройства ручного зажигания запальных горелок

Испытания на соответствие требованиям 3.5.4.1 проводят при температуре окружающей среды на каждом из эталонных газов для котла данной категории при номинальной подводимой тепловой мощности.

Запальные горелки, оснащаемые соответствующими соплами и, если необходимо, отрегулированные в соответствии с указаниями изготовителя, зажигают 40 раз подряд с интервалами не менее 1,5 с.

4.5.4.2 Система автоматического зажигания запальной и основной горелок

4.5.4.2.1 Зажигание

Основную и запальную горелки, оснащенные соответствующими соплами, регулируют, при необходимости, для получения номинальной подводимой тепловой мощности.

Испытания на соответствие требованиям 3.5.4.2.1 проводят на каждом из эталонных газов для котла при номинальном давлении и напряжении, составляющем 0,85 номинального напряжения.

После первой успешной попытки зажигания выполняют еще 20 попыток при времени ожидания 30 с между последовательными попытками и при температуре котла, соответствующей температуре окружающей среды.

После первой успешной попытки зажигания выполняют еще 20 попыток при времени ожидания 30 с между последовательными попытками сразу после того, как горелка была преднамеренно погашена, при работе котла в состоянии теплового равновесия.

При этих условиях и с учетом требований 3.5.4.2.1 проверяют, чтобы каждая попытка приводила к зажиганию.

Если конструктивное исполнение предполагает использование нескольких попыток автоматического зажигания, то указанные выше условия испытаний относятся к последней попытке автоматического зажигания.

4.5.4.2.2 Надежность

Испытания на соответствие требованиям 3.5.4.2.2 проводят при температуре окружающей среды. На генераторы искры подают напряжение, в 1,1 раза превышающее номинальное напряжение. Длительность формирования искры и время ожидания между последовательными попытками определяются устройством автоматического управления.

4.5.4.3 Запальная горелка

Подводимую тепловую мощность запальной горелки определяют путем подачи на нее эталонного газа или эталонных газов при максимальном давлении, указанном в 4.1.4 для газов первого семейства, и при номинальном давлении для газов второго и третьего семейств. Если запальная горелка имеет регулятор расхода газа, то его регулируют в соответствии с инструкцией по монтажу, пуску, регулировке и обкатке котла. Проверяют соответствие требованиям 3.5.4.3.

4.5.5 Устройства контроля пламени

4.5.5.1 Термоэлектрическое устройство контроля пламени

4.5.5.1.1 Усилие уплотнения

Термоэлектрическое устройство контроля пламени находится в закрытом положении, все другие клапаны - открыты.

Вначале дважды обеспечивают срабатывание запорных элементов указанных устройств. Затем в нерабочем положении на них подают воздух таким образом, чтобы его давление противодействовало смыканию запорного элемента.

Давление воздуха увеличивают со скоростью, не превышающей 0,1 кПа/с.

После достижения значения давления 1,0 кПа проверяют интенсивность утечки и соответствие требованиям 3.5.5.1.1.

4.5.5.1.2 Надежность

Термоэлектрические устройства контроля пламени (далее - устройства) подвергают воздействию максимальной температуры по 4.5.1. На них подают воздух в направлении потока при температуре окружающей среды. Расход воздуха не должен превышать 10 % указанного изготовителем.

В течение всего периода данных испытаний усилие срабатывания должно быть постоянным и направленным по оси срабатывания при скорости 100 мм/с; это усилие должно быть на 30 - 50 % выше указанного в 3.5.2.1 или 3.5.2.2.

Число рабочих циклов не должно превышать 20 в минуту.

Во время испытаний на устройства подают ток, сила которого в 3 раза превышает силу термоэлектрического тока, получаемого в стандартных условиях. Каждый цикл должен быть выполнен так, чтобы ток не был подведен прежде, чем якорь сомкнется с магнитным элементом.

Устойчивую работу устройств следует проверять в течение каждого цикла во время полного периода испытаний на надежность.

В конце испытаний на надежность проверяют выполнение требований 3.5.5.1.2.

4.5.5.1.3 Время зажигания (TIA)

На котел последовательно подают каждый из эталонных газов соответствующего семейства.

При нахождении котла при температуре окружающей среды подают газ и зажигают запальную горелку. После истечения времени, указанного в 3.5.5.1.3, ручную помощь прекращают и проверяют, чтобы запальная горелка продолжала гореть.

4.5.5.1.4 Время погасания (TIE)

На котел последовательно подают каждый из эталонных газов соответствующего семейства. Котел вначале работает в течение не менее 10 мин при номинальной подводимой тепловой мощности.

Время погасания измеряют между моментом, когда запальную и основную горелки преднамеренно гасят путем отключения газа, и моментом, когда после повторной подачи газа расход газа прекращается в результате действия защитного устройства.

Для обнаружения момента прекращения подачи газа может быть использован газовый счетчик или другое соответствующее устройство.

Проверяют соответствие времени задержки погасания требованиям 3.5.5.1.4.

4.5.5.2 Система автоматического управления горелкой

4.5.5.2.1 Защитное время зажигания (TSA)

На котел последовательно подают каждый из эталонных газов соответствующего семейства при нормальном давлении.

Проверяют максимальное защитное время зажигания (TSAмакс) на соответствие требованиям 3.5.5.2.1, котел при этом должен быть отрегулирован на номинальную подводимую тепловую мощность при предельных значениях напряжения электропитания и температуры (в холодном состоянии и при тепловом равновесии).

4.5.5.2.2 Защитное время погасания (TSE)

На котел последовательно подают каждый из эталонных газов соответствующего семейства. Котел работает в течение не менее 10 мин при номинальной подводимой тепловой мощности.

Защитное время погасания на соответствие требованиям 3.5.5.2.2 проверяют между моментом, когда запальную и основную горелки преднамеренно гасят путем отключения подачи газа, и моментом, когда после восстановления подачи газа срабатывает предохранительное устройство.

При горящей горелке исчезновение пламени имитируют отсоединением детектора пламени; при этом измеряют время до момента отключения подачи газа.

4.5.5.2.3 Восстановление искры

На котел последовательно подают каждый из эталонных газов соответствующего семейства при номинальной подводимой тепловой мощности.

При восстановлении искры проверяют соответствие требованию 3.5.5.2.3.

4.5.5.2.4 Повторение цикла

На котел последовательно подают каждый из эталонных газов соответствующего семейства при номинальной подводимой тепловой мощности.

При повторении цикла проверяют соответствие требованию 3.5.5.2.4.

4.5.5.2.5 Защита от возгорания

На котел последовательно подают каждый из эталонных газов соответствующего семейства при номинальной подводимой тепловой мощности.

Испытание на соответствие требованиям 3.5.5.2.5 выполняют при следующих условиях:

- котел устанавливают по 4.7.1;

- при нахождении котла в холодном состоянии искра зажигания образуется каждую секунду в интервале времени от 0 до ТSАмакс

- проверочный материал (марлю) размещают на минимальном расстоянии для воспламеняемых материалов, указанном в инструкции по монтажу, пуску, регулировке и обкатке котла; при отсутствии какой-либо информации проверочный материал размещают вплотную к запальному устройству.

Марля, используемая для данного испытания, должна удовлетворять следующим требованиям:

состав................................................................... чистый хлопок

удельная масса, г/м2........................................... 135-152

другие материалы (примеси), %....................... не более 3

деформация нити, мм:

- по основе........................................................... 2,32 - 2,44

- по утку............................................................... 2,23 - 2,40

ткань.................................................................... равномерная или с переплетением 2/2

отделка................................................................ отбеливание (без неровностей).

4.5.5.2.6 Надежность

Испытания на соответствие требованиям 3.5.5.2.6 выполняют при условиях, когда автоматическая система управления горелкой (далее - система):

- подсоединена к соответствующим компонентам котла или

- ее выходные патрубки подсоединены к соответствующим испытательным элементам, поставляемым изготовителем.

Систему подвергают воздействию циклов, описываемых ниже, при нормальной последовательности запуска. Система удерживается в рабочем положении в течение 30 с, затем схема системы управления прерывается на 30 с перед началом нового цикла, при этом:

- 60 % рабочих циклов выполняют при максимальной температуре по 4.5.1 и при напряжении электропитания, в 1,1 раза превышающем номинальное напряжение;

- 40 % рабочих циклов выполняют при температуре окружающей среды и при напряжении электропитания, составляющем 0,85 номинального.

Испытания проводят при следующих условиях блокировки:

- 2500 рабочих циклов на зажигание;

- 2500 рабочих циклов на погасание.

После завершения испытаний на надежность проверяют, чтобы система работала надежно и чтобы измеренные защитные периоды времени зажигания и погасания не превышали указанных изготовителем и соответствовали требованиям 3.5.5.2.1, 3.5.5.2.2 и 3.5.5.2.6.

4.5.6 Регулятор давления газа

При оснащении котла регулятором давления газа измеряют его расход при использовании эталонного газа при номинальном давлении, указанном в 4.1.4. При сохранении первоначальной регулировки давление подводимого газа изменяется между:

- рном и рмакс - газов первого семейства;

- рмин и рмакс - для газов второго и третьего семейств без пары давлений;

- верхним значением рном и верхним значением рмакс для газов второго и третьего семейств с парой давлений.

Испытание проводят на всех эталонных газах, для которых регулятор давления газа (далее - регулятор) не отключается.

При необходимости проведения испытания на надежность регулятор устанавливают в термостат с подачей воздуха при температуре окружающей среды и при максимальном давлении во входном патрубке, указанном изготовителем. В случае установки быстродействующих клапанов отключения перед и за регулятором необходимо подсоединить клапаны к соответствующему выключателю с часовым механизмом так, чтобы один клапан открывался мгновенно, а другой открывался с полным циклом, равным 10 с.

Испытание состоит из 50000 циклов, в течение каждого цикла диафрагма полностью прогибается и клапан удерживается в седле в течение не более 5 с.

Из этих 50000 циклов выполняют:

- 25000 циклов при максимальной температуре окружающей среды, указанной изготовителем, но не выше 60 °С;

- 25000 циклов при минимальной температуре окружающей среды, указанной изготовителем, но не ниже 0 °С.

После испытаний на надежность регулятор подвергают предыдущим испытаниям без изменения его настройки.

Проверяют соответствие требованиям 3.5.6.

4.5.7 Термостат управления и термостат предельного нагрева

4.5.7.1 Общие положения

Если испытания выполняют вне котла, датчик и корпус термостатов устанавливают в сосуд с регулируемой температурой. Температура корпуса соответствует указанной в 4.5.1, датчик подвергают воздействию температуры, указанной в 4.5.7.2.2.

60 % циклов испытаний выполняют при напряжении электропитания, в 1,1 раза превышающем номинальное напряжение; остальные испытания проводят при напряжении, составляющем 0,85 номинального напряжения.

В конце испытаний проверяют соответствие требованиям 3.5.7.1.

4.5.7.2 Термостат управления

4.5.7.2.1 Точность регулировки

Котел устанавливают в соответствии с 4.1.6, регулируют для получения номинальной подводимой тепловой мощности при использовании одного из эталонных газов или сетевого газа для котла данной категории.

С помощью клапана управления I (рисунок И.1 или И.2) регулируют расход холодной воды так, чтобы температура потока повышалась со скоростью 2 ° С/мин.

После регулировки термостата проводят два испытания:

- при максимальной температуре настройки;

- при минимальной температуре настройки.

В обоих случаях котел запускают из холодного состояния.

Проверяют соответствие требованиям 3.5.7.2.1.

4.5.7.2.2 Надежность

Термостаты с колбовым датчиком температуры помещают в сосуд, температуру в котором изменяют в диапазоне между температурами открытия и закрытия заслонки со скоростью не более 2 °С/мин.

Регулируемые термостаты устанавливают на температуру, составляющую 0,7 максимальной температуры настройки. Нерегулируемые термостаты испытывают при максимальных температурах, установленных изготовителем.

Термостаты с контактным датчиком температуры испытывают при тех же условиях, за исключением того, что их подвергают воздействию температуры контакта, а не температуры окружающей среды.

После проведения этих испытаний проверяют соответствие требованиям 3.5.7.2.2.

4.5.7.3 Термостат предельного нагрева

4.5.7.3.1 Нарушение циркуляции воды

Котел устанавливают и регулируют в соответствии с требованиями 4.5.7.2.1.

С помощью клапана управления II (см. рисунок И.1 или И.2) расход воды через котел постепенно снижают, чтобы получить повышение температуры воды со скоростью примерно 2 °С/мин, и проверяют соответствие требованиям 3.5.7.3.1.

4.5.7.3.2 Перегрев

4.5.7.3.2.1 Котлы с давлением класса 1 и с давлением класса 2

Котел устанавливают и регулируют в соответствии с требованиями 4.5.7.2.1.

Котел находится в состоянии теплового равновесия.

Испытание № 1

После вывода термостата управления из работы расход холодной воды через котел постепенно уменьшают с помощью клапана управления I (см. рисунок И.1 или И.2), чтобы получить повышение температуры воды со скоростью примерно 2 °С/мин, пока не погаснет основная горелка.

Проверяют соответствие требованиям 3.5.7.3.2.1.

Испытание №2

Термостат управления и термостат предельного нагрева отключают. Расход холодной воды через котел постепенно уменьшают с помощью клапана управления I (см. рисунок И.1 или И.2), чтобы получить повышение температуры воды со скоростью примерно 2 °С/мин, пока не погаснет основная горелка.

Проверяют соответствие требованиям 3.5.7.3.2.1.

4.5.7.3.2.2 Котлы с давлением класса 3

Котел устанавливают и регулируют в соответствии с требованиями 4.5.7.2.1.

Котел находится в состоянии теплового равновесия.

После вывода из работы термостата управления расход холодной воды через котел постепенно уменьшают с помощью клапана управления I (см. рисунок И.1 или И.2), чтобы получить повышение температуры воды со скоростью примерно 2 °С/мин, пока не погаснет основная горелка.

Проверяют соответствие требованию 3.5.7.3.2.2.

4.5.7.3.3 Надежность

4.5.7.3.3.1 Термостаты предельного нагрева

Термостаты предельного нагрева испытывают при тех же условиях, что и нерегулируемые термостаты управления (см. 4.5.7.2.2).

После этих испытаний проверяют соответствие требованиям 3.5.7.3.3.1.

4.5.7.3.3.2 Термостаты предельного нагрева и защитные термостаты

Первую стадию испытаний проводят при условиях, аналогичных условиям испытаний нерегулируемых термостатов управления (см. 4.5.7.2.2), за исключением того, что температура кожуха или температура поверхности изменяется между 0,7 и 0,95 максимальной температуры отсечки.

Вторую стадию испытаний выполняют попеременно при температуре, вызывающей отсечку, и температуре, которая позволяет провести повторную уставку.

После испытаний на надежность проверяют соответствие требованиям 3.5.7.3.3.2.

Последующее испытание выполняют при нахождении котла в состоянии теплового равновесия, при этом прерывается связь между датчиком температуры и устройством, реагирующим на сигнал указанного датчика.1)

Проверяют соответствие требованиям 3.5.7.3.3.2.

1) Если это испытание приводит к разрушению датчика температуры, между испытательной лабораторией и изготовителем может быть согласовано соответствующее испытание с датчиком температуры, поставляемым отдельно.

4.5.8 Датчик тяги

4.5.8.1 Общие положения

Общие условия этих испытаний - по 4.1, за исключением следующих моментов:

- котел оснащают испытательным дымоходом в соответствии с 4.2.2;

- испытания выполняют с использованием эталонного газа;

- проверяют время отключения при номинальной подводимой тепловой мощности и минимальной температуре воды на выходе из котла, указанной изготовителем, но не ниже 50 °С;

- испытания при Qмин проводят при температуре воды на выходе из котла 50 °С;

- утечку определяют с помощью запотевающей пластины, в сомнительных случаях место утечки определяют с помощью пробоотборника, присоединенного к быстродействующему анализатору СО2, позволяющему обнаруживать концентрацию СО2; порядка 0,1 %.

4.5.8.2 Ложное срабатывание

Котел, устанавливаемый согласно требованиям 4.5.8.1, работает при номинальной подводимой тепловой мощности (или при максимальной подводимой тепловой мощности для котлов с устройством задания диапазона).

Котел должен проработать в течение 30 мин при максимальной температуре воды.

Проверяют, чтобы датчик тяги не вызывал отключения горелки (3.5.8.2).

После этого основную горелку выключают.

Повышение температуры после выключения горелки не должно вызывать сигнала к срабатыванию датчика тяги.

4.5.8.3 Время защитного отключения при нарушении тяги

4.5.8.3.1 Испытания при полном перекрытии дымохода

Котел, устанавливаемый в соответствии с 4.5.8.1, работает при номинальной подводимой тепловой мощности (или при максимальной подводимой тепловой мощности для котлов с устройством задания диапазона). После того как котел достигнет состояния теплового равновесия, дымоход полностью перекрывают (см. рисунок И.11). Измеряют время от момента перекрытия дымохода до отключения подачи газа. Для котлов без блокировки подачи газа при перекрытом дымоходе измеряют время между, выключением и зажиганием основной горелки. Для котлов с плавным регулированием подводимой тепловой мощности и котлов с несколькими режимами горения второе испытание выполняют при минимальной подводимой тепловой мощности.

Проверяют соответствие требованиям 3.5.8.3.

4.5.8.3.2 Испытания при частичном перекрытии дымохода

Состояние котла доводят до теплового равновесия при номинальной подводимой тепловой мощности (или при максимальной подводимой тепловой мощности для котлов с устройством задания диапазона) в соответствии с 4.5.8.3.1.

Перед испытанием с блокирующей пластиной длину телескопического дымохода постепенно уменьшают до тех пор, пока не начнется утечка продуктов сгорания через стабилизатор тяги.

Если датчик тяги срабатывает до достижения минимальной длины, требования 3.5.8.3 считают выполненными.

Если датчик тяги не срабатывает до достижения указанной длины, то испытательный дымоход перекрывают блокирующей пластиной, имеющей круглое отверстие, диаметр которого равен 0,6 диаметра испытательного дымохода в его верхней части (см. рисунок И.11).

Измеряют время от момента установки пластины до отключения подачи газа.

Проверяют соответствие требованиям 3.5.8.3.

Если изготовитель задает минимальную высоту дымохода, испытание проводят с дымоходом этой высоты.

4.5.8.4 Испытания на надежность

При условиях испытания, изложенных в 4.5.8.1, дымоход полностью перекрывают и котел работает непрерывно в течение 4 ч.

Проверяют соответствие требованиям 3.5.8.3.

4.6 Сгорание газа

4.6.1 Оксид углерода

4.6.1.1 Общие положения

К котлу подводят газ и, при необходимости, выполняют регулировку в соответствии с 4.6.1.2 и 4.6.1.3.

Для котлов с устройством задания диапазона испытания проводят при максимальной и минимальной подводимой тепловой мощности. Для котлов с плавным регулированием подводимой тепловой мощности испытания выполняют при номинальной подводимой тепловой мощности и минимальной подводимой тепловой мощности, задаваемой устройством регулировки.

После достижения котлом состояния теплового равновесия отбирают пробу продуктов сгорания.

Концентрацию СО, %, в сухих не разбавленных воздухом продуктах сгорания определяют по формуле

,                                                 (11)

где СО - концентрация оксида углерода в сухих не разбавленных воздухом продуктах сгорания, %;

(СО2)N - максимальная концентрация диоксида углерода в сухих не разбавленных воздухом продуктах сгорания для рассматриваемого газа, %;

(СО)М и (СО2)М - измеренные концентрации оксида углерода и диоксида углерода в пробах, отобранных в процессе проведения испытания, %.

Концентрации (CO2)N для испытательных газов указаны в таблице 10.

Таблица 10

Обозначение газа

(СО2)N, %

Обозначение газа

(co2)n, %

Обозначение газа

(co2)n, %

G110

7,6

G23

11,6

G27

11,7

G20

11,7

G25

11,5

G30

14,0

G21

12,2

G26

11,9

G31

13,7

Концентрации СО, %, в сухих не разбавленных воздухом продуктах сгорания может также быть вычислена по формуле

,                                              (12)

где (СO)M и (O2)M - измеренные концентрации оксида углерода и кислорода в пробах, отобранных в процессе проведения испытания, %.

Применение этой формулы рекомендуется при концентрации СО2 менее 2 %.

4.6.1.2 Испытания при нормальных условиях

Котлы устанавливают в хорошо проветриваемом помещении и регулируют в соответствии с 4.1.6.

Испытания проводят в последовательности:

а) Вначале котел испытывают с эталонным газом или эталонными газами:

- для нерегулируемых котлов без регулятора расхода газа испытание проводят при максимальном давлении, указанном в 4.1.4;

- для нерегулируемых котлов с регулятором расхода газа испытание проводят путем регулировки горелки с целью получить расход, в 1,1 раза больший, чем расход, соответствующий номинальной подводимой тепловой мощности;

- для регулируемых котлов это испытание выполняют при расходе газа, в 1,07 раза превышающем расход, соответствующий номинальной подводимой тепловой мощности, для газов первого семейства или в 1,05 раза превышающем расход, соответствующий номинальной подводимой тепловой мощности, для газов второго и третьего семейств.

Котлы с регулятором расхода газа или устройством регулировки, которые должны быть отключены при использовании определенных газов одного или нескольких семейств, испытывают последовательно в соответствии с различными заданными ситуациями подвода газа.

Проверяют соответствие требованиям 3.6.1.

б) После испытания с эталонным газом или эталонными газами котел испытывают с предельным газом для неполного сгорания.

Для этого испытания в котел в трех вышеупомянутых случаях вначале подают эталонный газ, подводимую тепловую мощность регулируют так, чтобы она в 1,05 раза превышала номинальную подводимую тепловую мощность, если котел оснащен регулирующим устройством, или в 1,075 раза превышала номинальную подводимую тепловую мощность, если котел не имеет такого устройства1).

Затем без изменения регулировок котла или давления подводимого газа эталонный газ заменяют соответствующим газом для неполного сгорания.

Проверяют соответствие требованиям 3.6.1.

1) Если котел предназначен для установки исключительно с газовым счетчиком, может быть применен коэффициент 1,05

в) После проведения испытания (испытаний) с предельным газом (предельными газами) для неполного сгорания котел испытывают с предельным газом (предельными газами) для сажеобразования.

При условиях испытаний б) (концентрация СО не должна превышать 0,2 %) предельный газ для неполного сгорания заменяют предельным газом для сажеобразования.

Котел должен проработать в течение 1 ч.

Затем визуальным осмотром проверяют соответствие требованию 3.6.1 (последний абзац).

4.6.1.3 Испытания при особых условиях тяги

Испытания проводят с каждым из эталонных газов при номинальной подводимой тепловой мощности; котел соединяют с испытательным дымоходом наибольшего диаметра из указанных в руководстве по эксплуатации.

Первое испытание проводят с блокированным дымоходом.

Второе испытание проводят при направленной сверху вниз обратной тяге в испытательном дымоходе со скоростью 3 и 1 м/с (см. рисунок И.5).

Метод отбора проб продуктов сгорания устанавливает испытательная лаборатория по согласованию с изготовителем котла. В отчете об испытаниях должен быть указан используемый метод отбора проб.

Датчик тяги отключают.

Проверяют соответствие требованиям 3.6.1.

4.6.2 Оксиды азота

4.6.2.1 Общие положения

Котел устанавливают и регулируют в соответствии с 4.1.6.

Испытания котлов, использующих газы второго семейства, выполняют на газе G20.

Испытания котлов, использующих только газ G25, выполняют на газе G25.

Испытания котлов, предназначенных для использования только газов третьего семейства, выполняют на газе G30, а предельное значение концентрации NOx умножают на коэффициент 1,3.

Испытания котлов, предназначенных для использования только пропана, выполняют на газе G31, а предельное значение концентрации NOx умножают на коэффициент 1,2. Испытание выполняют при работе котла на номинальной подводимой тепловой мощности в состоянии теплового равновесия при температуре воды на выходе из котла 80 °С, на входе - 60 °С.

Для определения значений концентрации NOx при частичной нагрузке температуру воды на входе в котел рассчитывают по формуле

Tв = 0,4Q + 20,                                                            (13)

где Tв - температура воды на входе в котел, °С;

       Q - частичная подводимая тепловая мощность, % номинальной подводимой тепловой мощности.

Нормальные условия для испытаний:

- температура окружающего воздуха 20 ° С;

- абсолютная влажность воздуха 10 г/кг.

Испытание допускается выполнять при условиях, отличных от нормальных:

- температуре окружающего воздуха от 15 до 25 °С;

- абсолютной влажности воздуха от 5 до 15 г/кг.

При этом, если условия испытания отличаются от нормальных условий, значение концентрации NOx следует привести к нормальным условиям по формуле

,                     (14)

где NOx.0 - значение концентрации NOx, мг/(кВт·ч), приведенное к нормальным условиям;

        Nox.m - значение концентрации NOx измеренное при температуре Тm и абсолютной влажности dm, мг/(кВт·ч);

        dm - абсолютная влажность воздуха при испытании, г/кг;

        Tm - температура окружающей среды, °С.

Измерение значений концентрации NOx выполняют при нагрузках котла, указанных в 4.6.2.2.

Значение концентрации NOx не должно превышать предельных значений по таблице 3 (см. 3.6.2) для выбранного класса котла.

Соотношения между единицами концентрации NOx приведены в приложении Ж.

4.6.2.2 Нагрузка котла

4.6.2.2.1 Общие требования

Концентрацию NOx определяют при тепловой мощности, указанной в 4.6.2.2.2 - 4.6.2.2.5 с учетом нагрузочных коэффициентов по таблице 11.

Таблица 11 - Нагрузочные коэффициенты

Частичная подводимая тепловая мощность Qpi, % номинальной подводимой тепловой мощности Qном

Нагрузочный коэффициент Fpi

70

0,15

60

0,25

40

0,30

20

0,30

Для котлов с устройством задания диапазона подводимой тепловой мощности Qном заменяют на среднее арифметическое значение максимальной и минимальной подводимой тепловой мощности Qa

4.6.2.2.2 Для нерегулируемых котлов концентрацию NOx измеряют при номинальной подводимой тепловой мощности.

4.6.2.2.3 Котлы со ступенчатым регулированием подводимой тепловой мощности Концентрацию NOx измеряют (и при необходимости корректируют в соответствии с 4.6.2.1) для каждого фиксированного значения подводимой тепловой мощности. Если два соседних фиксированных значения подводимой тепловой мощности Q' и Q" не совпадают с указанными в таблице 11 и в интервал между ними попадает одно значение частичной подводимой тепловой мощности из таблицы 11, нагрузочные коэффициенты вычисляют по формулам:

;                                                  (15)

,                                                           (16)

где Fp" и F'p - соответственно нагрузочные коэффициенты для большего и меньшего из двух соседних фиксированных значений подводимой тепловой   мощности;

Fpi - нагрузочный коэффициент для частичной подводимой тепловой мощности Qpi в соответствии с таблицей 11;

Qpi - частичная подводимая тепловая мощность в соответствии с таблицей 11;

Q' - меньшее из двух фиксированных значений подводимой тепловой мощности, кВт;

Q" - большее из двух фиксированных значений подводимой тепловой мощности, кВт;

Qмакс - наибольшее из имеющихся фиксированных значений номинальной тепловой мощности котла, кВт.

Если в интервал между двумя соседними фиксированными значениями подводимой тепловой мощности котла попадает более одного значения частичной подводимой тепловой мощности из таблицы 11, то нагрузочные коэффициенты вычисляют для каждого из этих значений по формулам (15), (16).

Концентрацию NOх мг/(кВт·ч), определяют как сумму произведений NOx и Fр - всех фиксированных значений подводимой тепловой мощности по формуле

NOx = ∑ (NOxi измFp),                                                          (17)

где NOxi изм - измеренное (и при необходимости корректированное) значение концентрации NOx в каждом из фиксированных значений подводимой тепловой мощности;

Fp - нагрузочный коэффициент для каждого из фиксированных значений подводимой тепловой мощности.

Пример вычисления NOx см. в приложении Е.

4.6.2.2.4 Котлы с плавным регулированием подводимой тепловой мощности, в которых минимальное значение подводимой тепловой мощности не превышает 0,2 Qном

Концентрацию NOx измеряют (и при необходимости корректируют в соответствии с 4.6.2.1) при частичных подводимых тепловых мощностях, указанных в таблице 11.

Концентрацию NOx вычисляют по формуле

NOx = 0,15NOx изм(70) + 0,25NOx изм(60) + 0,30NOx изм(40) + 0,30NOx изм(20).                  (18)

4.6.2.2.5 Котлы с плавным регулированием подводимой тепловой мощности, в которых минимальное значение подводимой тепловой мощности выше 0,2 Qном

Концентрацию NOx измеряют (и при необходимости корректируют в соответствии с 4.6.2.1) при частичных подводимых тепловых мощностях, указанных в таблице 11, и при минимальной подводимой тепловой мощности.

Концентрацию NOx вычисляют по формуле

.                          (19)

4.7 Коэффициент полезного действия

4.7.1 КПД котлов при номинальной подводимой тепловой мощности Котлы устанавливают в соответствии с требованиями 4.1.6, соединяют с испытательным стендом, схема которого показана на рисунке И.1 или И.2, или с другим оборудованием, дающим эквивалентные результаты, к ним подводят один из эталонных газов.

Котел подсоединяют к испытательному дымоходу наибольшего диаметра из указанных в руководстве по эксплуатации.

КПД измеряют после того, как котел с отключенным термостатом управления достигнет состояния теплового равновесия, а температура воды на входе в котел (в обратной трубе) и на выходе из него (в прямой трубе) станет постоянной.

Горячую воду подают в мерный сосуд, калиброванный до начала этого испытания, и измеряют расход газа газовым счетчиком.

Измеряют массу воды m2, заполнившей мерный сосуд за 10 мин испытаний. При этом периодически измеряют температуру воды в прямой и обратной трубах для определения ее средних значений за 10 мин испытаний.

Затем выдерживают последующие 10 мин для оценки испарения за 10 мин испытания.

После этого измеряют массу воды m2 в мерном сосуде, вычисляют количество испарившейся за 10 мин воды m3 = m1 - m2 и определяют корректированную массу воды m = m1 + m3.

Количество тепла, переданного воде, собранной в сосуде, пропорционально корректированной массе m и разности между средними за 10 мин температурами воды t в обратной трубе и t2 в прямой трубе.

КПД определяют по формуле

,                                            (20)

где ηu - КПД, %

       m - корректированная масса воды, кг;

  Vг(10) - объемный расход газа, измеренный за 10 мин испытаний и корректированный для стандартных условий испытаний, м3/ч;

     - низшая теплота сгорания газа, МДж/м3 (при 15 °С и 101,3 кПа);

     Dp - тепловые потери в испытательном стенде, соответствующие средней температуре потока воды с учетом тепловых потерь в циркуляционном насосе, кДж.

Метод калибровки для определения Dp представлен в приложении В.

Погрешности измерений следует выбирать такими, чтобы общая погрешность измерения КПД не превышала ± 2 %.

КПД котлов без регулирования подводимой тепловой мощности определяют при номинальной подводимой тепловой мощности.

КПД котлов с регулированием тепловой мощности определяют при максимальной подводимой тепловой мощности и при подводимой тепловой мощности, соответствующей среднему арифметическому значению максимальной и минимальной подводимой тепловой мощности.

Проверяют соответствие требованиям 3.7.1.

4.7.2 КПД при частичной нагрузке

Для определения КПД при 30 %-й нагрузке котлов с устройством задания диапазона могут быть применены прямой и косвенный методы.

4.7.2.1 Прямой метод

Котел устанавливают в соответствии с требованиями 4.1.6, подсоединяют к испытательному стенду, показанному на рисунке И.1 или И.2.

Испытание выполняют на эталонном газе.

КПД измеряют после того, как котел достигнет состояния теплового равновесия (температура воды в прямой и обратной трубах остается постоянной, а расход воды колеблется не более чем на ±1%).

4.7.2.1.1 Метод № 1

Котел подсоединяют к испытательному стенду, схема которого показана на рисунке И.8, или к любому другому испытательному стенду, дающему сопоставимые результаты и эквивалентную точность измерения.

Температуру воды в обратной трубе поддерживают постоянной (47 ± 1) °С с максимальным колебанием в процессе измерения не более ± 1 °С.

Если термостат управления работой котла не позволяет установить указанную температуру воды в обратной трубе, испытание выполняют при минимально возможной температуре воды в обратной трубе.

Таймер комнатного терморегулятора устанавливают на 10-минутный рабочий цикл.

Продолжительность рабочего цикла рассчитывают в соответствии с таблицей 12.

Температуру воды в прямой и обратной трубах измеряют непрерывно.

Котел находится в состоянии теплового равновесия.


Таблица 12 - Вычисление КПД

Рабочий цикл основной горелки

Подводимая тепловая мощность, кВт

Время рабочего цикла, с

Обозначение параметров для расчета КПД

КПД, %

1 Частичный расход (30%)

Q2 = 0,3Q1

t2 = 600

η2

η = η2

2 Полный расход

Q1

η1

Управляемое отключение основной горелки

Q3 = тепловой мощности запальной горелки

t3 = 600 - t1

ps

3 Частичный расход

Q2 > 0,3Q1

η2

Управляемое отключение основной горелки

Q3 = тепловой мощности запальной горелки

t3 = 600 - t21

ps

4 Полный расход

Q1

η1

Частичный расход

Q2 < 0,3Q1

t2 = 600 - t1

η2

5 Частичный расход 1

Q21 > 0,3Q1

η21

Частичный расход 2

Q22 < 0,3Q1

t22 = 600 - t21

η22

6 Полный расход

Q1

t1 = измеренному значению (см. приложение Д)

η1

Частичный расход

Q2

η2

Управляемое отключение основной горелки

Q3 = тепловой мощности запальной горелки

t3 = 600 - (t1 + t2)

ps


Если КПД, измеренный в трех последовательных рабочих циклах, не различается более чем на 0,5 %, за окончательный результат принимают среднее арифметическое значение результатов этих трех измерений.

Если КПД трех последовательных рабочих циклов различается более чем на 0,5 %, за окончательный результат принимают среднее арифметическое значение КПД не менее десяти последовательных рабочих циклов.

Расход газа и воды измеряют за полный рабочий цикл. КПД определяют по формуле (20).

Если колебания 30 %-й подводимой тепловой мощности составляют не более ± 2 %, испытание проводят один раз.

Если колебания 30 %-й подводимой тепловой мощности составляют от 2 % до 4 %, выполняют два измерения КПД: одно - при подводимой тепловой мощности выше и одно - ниже 30 %-й. КПД для 30 %-й номинальной тепловой мощности определяют интерполяцией.

4.7.2.1.2 Метод № 2

Котел подсоединяют к испытательному стенду, показанному на рисунке И.1 или И.2 (или к любому другому испытательному стенду, дающему сопоставимые результаты и эквивалентную точность измерения). Температуру воды в прямой и обратной трубах, а также продолжительность рабочих циклов контролируют терморегулятором котла.

Температуру воды в прямой и обратной трубах измеряют непрерывно.

В теплообменнике отбирается 30 % номинальной подводимой тепловой мощности или средней арифметической от максимальной и минимальной подводимой тепловой мощности для котлов с устройством задания диапазона.

Средняя температура воды должна быть не ниже 50 °С.

Если термостат управления работой котла не позволяет установить достаточно низкую температуру воды в обратной трубе, испытание выполняют при минимально возможной температуре воды в обратной трубе. Котел находится в состоянии теплового равновесия.

Если КПД, измеренный в трех последовательных рабочих циклах, не различается более чем на 0,5 %, за окончательный результат принимают среднее арифметическое значение результатов этих трех измерений.

Если КПД трех последовательных рабочих циклов различается более чем на 0,5 %, за окончательный результат принимают среднее арифметическое значение КПД не менее десяти последовательных рабочих циклов.

Расход газа и воды измеряют за полный рабочий цикл. КПД определяют по формуле (20).

Если колебания 30 %-й подводимой тепловой мощности составляют не более ± 2 %, испытание проводят один раз.

Если колебания 30 %-й подводимой тепловой мощности составляют от 2 % до 4 %, выполняют два измерения КПД:

а) при подводимой тепловой мощности выше 30 %;

б) при подводимой тепловой мощности ниже 30 %.

КПД для 30 %-й номинальной подводимой тепловой мощности определяют линейной интерполяцией.

4.7.2.2 Косвенный метод

4.7.2.2.1 Измерения

4.7.2.2.1.1 КПД при номинальной подводимой тепловой мощности 1)

Выполняют испытание по 4.7.1 при номинальной подводимой тепловой мощности (среднее арифметическое значение максимальной и минимальной подводимой тепловой мощности для регулируемых котлов) и средней температуре воды (50 ± 1) °С [температура воды в прямой трубе - (60 ± 2) °С. в обратной - (40 ± 1) °С].

4.7.2.2.1.2 КПД при минимальной подводимой тепловой мощности 2)

Если котел оснащен регулятором расхода газа с одним главным значением подводимой тепловой мощности, КПД измеряют при минимальной регулируемой подводимой тепловой мощности и средней температуре воды (50 ± 1) °С [температура воды в прямой трубе - (55 ± 2) °С, в обратной - (45 ± 1) °С].

Если котел оснащен регулятором расхода газа с двумя главными значениями подводимой тепловой мощности (одно выше 30 %-й номинальной подводимой тепловой мощности, а другое - ниже), КПД измеряют при этих двух значениях подводимой тепловой мощности:

η21 - при большем значении;

η22 - при меньшем значении.

4.7.2.2.1.3 Потери тепла в окружающую среду

Схема испытательного стенда показана на рисунке И.9.

Трубопроводы, соединяющие различные части испытательного стенда, должны быть хорошо изолированы. Тепловые потери испытательного стенда и дополнительный подвод тепла от циркуляционного насоса испытательного стенда для различных расходов воды должны быть определены до начала проведения испытаний в соответствии с приложением Г.

Котел оснащают дымоходом наибольшего диаметра из указанных изготовителем.

Разность между средней температурой воды в котле и температурой воздуха в испытательном помещении должна составлять (30 ± 5) °С.

Циркуляционный насос 8 (см. рисунок И.9) и насос котла, если он имеется, должны быть выключены. Контур теплообменника 9 отключен. Газоснабжение котла отключено. Вода нагревается в электрическом водонагревателе 7 до температуры на (30 ± 5) °С выше температуры воздуха помещения и циркулирует по замкнутому контуру с помощью циркуляционного насоса 6.

Испытания выполняют в состоянии установившегося теплового равновесия котла.

Колебание температуры воздуха в помещении в процессе испытания не должно превышать ±2 °С.

Потери тепла в окружающую среду Qs кВт, для средней температуры воды 50 °С и температуры воздуха в помещении 20 °С определяют по формуле

,                                                           (21)

где Рm - электрическая мощность, затраченная электрическим водонагревателем на нагрев протекающей воды, корректированная на тепловые потери испытательного стенда и дополнительный подвод тепла от циркуляционного насоса испытательного стенда, кВт;

T - средняя для результатов двух измерений температура воды, определяемая как среднее арифметическое значение температуры воды в прямой и обратной трубах, °С; TA - температура воздуха в помещении, °С.

4.7.2.2.2 Вычисление

КПД при 30 %-й нагрузке котла и средней температуре воды 50 °С рассчитывают для рабочего цикла с использованием обозначений таблицы 13.

Таблица 13 - Параметры, необходимые для расчета КПД при частичной нагрузке

Рабочее состояние основной горелки

Подводимая тепловая мощность

Время рабочего цикла, с

Обозначение параметров для расчета КПД

Полный расход

Q11)

T1,

η1

Частичный расход (30 %)

Q2

t2

η2

Частичный расход > 0,3 Q1

Q21

t21

η21

Частичный расход < 0,3 Q1

Q22

t22

η22

Управляемое отключение

Q3

Т3

Теплопотери Qs кВт

1) Номинальная подводимая тепловая мощность или среднее арифметическое значение максимальной и минимальной подводимой тепловой мощности - для котлов с устройством задания диапазона.

КПД рассчитывают как отношение теплопроизводительности к подведенной тепловой мощности за время 10 мин.

В зависимости от способа регулирования подводимой тепловой мощности используют следующие рабочие циклы основной горелки в соответствии с таблицей 12:

1) постоянная работа с Q2 = 0,3Q1 (для котлов с плавным или ступенчатым регулированием подводимой тепловой мощности);

2) полный расход/отключение (для нерегулируемых котлов);

3) частичный расход/отключение (для котлов с одним или несколькими фиксированными частичными расходами или котлов с плавным регулированием подводимой тепловой мощности при минимальной подводимой тепловой мощности Q2 > 0,3 Q1 или цикле 6, если розжиг котла автоматический по заданной программе при полном расходе);

4) полный расход/пониженный расход (для котлов с одним или несколькими фиксированными частичными расходами при минимальной подводимой тепловой мощности Q2 < 0,3 Q1);

5) работа с двумя частичными расходами (при Q21 > 0,3Q1, a Q22 < 0,3Q1);

6) полный расход/пониженный расход/отключение (для котлов с выполнением программного розжига при полном расходе и времени цикла t1, с одним или несколькими фиксированными частичными расходами или котлов с плавным регулированием подводимой тепловой мощности, при времени управляемого закрытия t3 > 0, в противном случае применяют цикл 4).

4.8 Отсутствие конденсации в дымовой трубе

4.8.1 Определение теплопотерь продуктов сгорания в дымоходе

При условиях испытания, установленных в 4.7.1, измеряют температуру продуктов сгорания и концентрацию СО2 при номинальной подводимой тепловой мощности (при максимальной подводимой тепловой мощности для котлов с устройством задания диапазона).

Теплопотери продуктов сгорания в дымоходе qс, %, определяют по формуле

,                                                         (22)

где а и b - коэффициенты в зависимости от эталонного газа (указаны в таблице 14);

СО2 - концентрация диоксида углерода в сухих не разбавленных воздухом продуктах сгорания, %;

tc - температура продуктов сгорания, °С;

tа - температура окружающей среды, °С.

Таблица 14

Коэффициент

Обозначение газа

G110

G20

G25

G30

а

1,05

0,86

0,85

0,65

b

23,2

36,6

36

42,5

Проверяют соответствие требованиям 3.8, перечисление а).

4.8.2 Минимальная температура продуктов сгорания

При условиях испытания по 4.7.1 измеряют температуру продуктов сгорания в точке, расположенной на 150 мм ниже верхнего сечения однометрового испытательного дымохода. Проверяют, что при максимальном и минимальном значениях подводимой тепловой мощности, задаваемых устройством задания диапазона или регуляторами, температура продуктов сгорания удовлетворяет требованиям 3.8, перечисление б).

4.9 Испытания на прочность

4.9.1 Общие положения

Испытания выполняют с использованием воды при температуре окружающей среды и при испытательных давлениях по 4.9.2 - 4.9.4.

Испытательное давление поддерживают не менее 10 мин.

4.9.2 Котлы с давлением класса 1

Испытательное давление составляет 0,15 МПа.

Проверяют соответствие требованиям 3.9.2.

4.9.3 Котлы с давлением класса 2

Испытательное давление составляет 0,45 МПа.

Проверяют соответствие требованиям 3.9.3.

4.9.4 Котлы с давлением класса 3

4.9.4.1 Котлы из тонколистовой стали или цветных металлов

Испытательное давление составляет 2рp МПа.

Проверяют соответствие требованиям 3.9.4.1.

4.9.4.2 Котлы из чугуна и литых материалов

4.9.4.2.1 Корпус котла

Испытательное давление составляет 2рp МПа, но при всех условиях не менее 0,8 МПа.

Проверяют соответствие требованиям 3.9.4.2.1.

4.9.4.2.2 Испытание на разрыв

По три образца каждого типа секций теплообменника котла подвергают испытательному давлению (4рр + 0,2) МПа.

Проверяют соответствие требованиям 3.9.4.2.2.

4.9.4.2.3 Поперечные балки

При давлении 4рp МПа проверяют соответствие требованиям 3.9.4.2.3.

4.10 Гидравлическое сопротивление

Гидравлическое сопротивление котла измеряют при расходе воды, соответствующем работе котла при номинальной подводимой тепловой мощности, температуре воды на выходе из котла 80 °С и разности температур воды в прямой и обратной трубах котла 20 °С или при указанной изготовителем.

Испытательный стенд показан на рисунке И.10.

До или после проведения испытания две испытательные трубы соединяют непосредственно друг с другом и при протекании по этим трубам холодной воды определяют их собственное гидравлическое сопротивление для различных скоростей потока.

Для котлов со встроенными циркуляционными насосами проверяют кривую допустимых давлений, представленную изготовителем.

ПРИЛОЖЕНИЕ А

(рекомендуемое)

Условия испытаний

Таблица A.1 - Первое семейство

Испытание

Испытательный газ

Подводимая тепловая мощность 1)

Регулировка с эталонным газом

G110

Qi

Зажигание, перекрестное зажигание с использованием эталонного газа

G110

0,9Qi

Проскок пламени в горелку при использовании предельного газа

G112

0,9Qi

Сгорание

Нормальная тяга

G110

1,07Qi

Блокированный дымоход

Обратная тяга

G110

Qi

1) Все испытания проводят при номинальной подводимой тепловой мощности (Qном) или при минимальной подводимой тепловой мощности, которую можно получить регулировкой регулятора (Qмин).

Qi является Qном или Qмин.

Таблица А.2 - Второе семейство

Испытание

Группа испытательных газов

Подводимая тепловая мощность1) или испытательное давление

Е

Н

L

с регулятором

без регулятора

Регулировка с использованием эталонного газа

G20

G20

G25

pном

Qi

Зажигание, перекрестное зажигание с использованием эталонного газа

G20

G20

G25

0,7pном

0,925 Qi,

Проскок пламени в горелку при использовании предельного газа

G222

G222

G25

pмин

0,925 Qi;

Подъем пламени с предельным газом

G231

G23

G27

pмин

pмакс

0,925Qi

1,05Qi

Горение

Нормальная тяга (направленная снизу вверх)

G20

G20

G25

pмaкс

1,05Qi

G21

G21

G26

1,075 Qi2)

1,05Qi

Блокированный дымоход.

Обратная тяга (направленная сверху вниз)

G20

G20

G25

pном

Qi

1) Qi является Qном или Qмин

2) 1,05Qi если котел предназначен для установки исключительно с регулировочным устройством на газовом счетчике.

Таблица А.3 - Третье семейство

Испытание

Группа испытательных газов

Подводимая тепловая мощность или испытательное давление

Бутан/пропан

Пропан

с регулятором

без регулятора

Регулировка с использованием эталонного газа

G30

G31

pном

Qi

Зажигание, перекрестное зажигание с использованием эталонного газа

G30

G31

pном

0,95Qi

Проскок пламени в горелку при использовании предельного газа

G32

G32

pмин

0,95Qi

Отрыв пламени при использовании предельного газа

G31

G31

pмин

pмакс

0,95Qi

1,05Qi

Горение

Нормальная тяга (направленная снизу вверх)

G30

G31

pмакс

1,05Qi

G30

G31

1,075Qi

1,05Qi

Блокированный дымоход.

Обратная тяга (направленная сверху вниз)

G30

G31

pном

Qi

1) Qi является Qном или Qмин

ПРИЛОЖЕНИЕ Б

(справочное)

Схемы газового тракта

Б.1 Непосредственное зажигание основной горелки (ОГ)

- одновременное закрытие

- неодновременное закрытие

Б.2 Зажигание основной горелки от запальной горелки (ЗГ)

Б.2.1 Постоянная запальная горелка

ЗГ (Q 0,250 кВт)

Б.2.2 Периодическая запальная горелка

ЗГ (Q ≤ 0,250 кВт)

ЗГ (Q 0,250 кВт)

ЗГ (Q 0,250 кВт)

ЗГ (Q ≥ 0,250 кВт)

Б.2.3 Переменная запальная горелка

ЗГ (Q 0,250 кВт)

ЗГ (Q ≥ 0,250 кВт)

Классификация автоматических клапанов

В зависимости от направления силы, действующей на запорный элемент в результате давления газовой среды, клапаны подразделяют на классы:

- А, В и С - клапаны, в которых сила давления газовой среды направлена так, что создает дополнительное прижимное усилие запорного элемента к седлу клапана;

- D - клапаны, в которых направление силы давления газовой среды не установлено. Значения максимально допустимых протечек газовой среды для клапанов классов А, В и С указаны в таблице Б.1.

Значения протечек газовой среды для клапанов класса D не установлены.

Таблица Б.1

Класс клапана

Испытательное давление, кПа

Максимально допустимая протечка, дм3

А

16,5

2

В

5,5

2

С

1,1

2

ПРИЛОЖЕНИЕ В

(рекомендуемое)

Метод калибровки испытательного стенда для определения тепловых потерь Dp

Устанавливают на котел (см. рисунок И.1) хорошо изолированный сосуд для воды небольшого объема (250 см3), содержащий погруженный электрический нагреватель. Наполняют систему циркуляции и приводят в действие насос. Погруженный электрический нагреватель должен быть соединен с сетью электропитания. С помощью трансформатора с плавной регулировкой и электросчетчика устанавливают трансформатор так, чтобы температура циркулирующей воды достигла постоянного значения (продолжительность установления постоянного значения 4 ч и более). Фиксируют температуру окружающей среды и измеряют подводимую тепловую мощность.

Серии испытаний при различных значениях температуры окружающей среды позволяют получить тепловые потери испытательного стенда при различных значениях температуры циркулирующей воды в зависимости от температуры окружающей среды.

При проведении реальных испытаний фиксируют температуру окружающей среды и определяют тепловые потери Dp, соответствующие разности значений температуры окружающей среды и средних значений температуры испытательного стенда.

ПРИЛОЖЕНИЕ Г

(справочное)

Определение тепловых потерь испытательного стенда для косвенного метода и дополнительного подвода тепла от циркуляционного насоса испытательного стенда

Котел присоединяют к испытательному стенду в соответствии с рисунком И.9.

Насос 8 останавливают, а теплообменник 9 отключают с помощью трехходовых кранов 5, 13.

Включают циркуляционный насос 6, который должен работать в непрерывном режиме с постоянным расходом воды.

Значения разности температур (T - TA) измеряют в установившемся тепловом режиме для трех следующих состояний:

а) при выключенном электрическом водонагревателе 7;

б) при включенном электрическом водонагревателе 7 и разности температур в соответствии с формулой

(T - TA) = (40±5)°С;                                                 (Г.1)

в) при включенном электрическом водонагревателе 7 и разности температур в соответствии с формулой

(T - TA) = (60±5)°С,                                                 (Г.2)

где Т - средняя разность температур воды в прямой и обратной трубах, определенная в результате двух измерений при испытании № 1, °С;

      TA - температура окружающей среды, °С.

Для измеренных величин составляют график подвода тепла от электрического водонагревателя как функции разности температур (T - TA), °С.

По полученному графику определяют значения тепловых потерь и дополнительного подвода тепла от циркуляционного насоса испытательного стенда.

ПРИЛОЖЕНИЕ Д

(справочное)

Метод определения времени работы котла при полной нагрузке

Котел присоединяют к испытательному стенду в соответствии с рисунком И.9. Водяной контур подключают по замкнутой схеме.

Установка должна содержать не менее 6 дм3 воды на 1 кВт номинальной подводимой тепловой мощности.

Газовый контур должен быть оснащен газовым счетчиком или манометром для измерения давления перед соплом.

При температуре воды (47 ± 1) °С котел включают в работу и измеряют время от момента розжига горелки до момента, когда под воздействием терморегулятора:

- значение подводимой тепловой мощности снижается до значения, определенного по формуле

0,37Qном + 0,63Qпониж,                                                   (Д.1)

- или значение давления перед соплом снижается до значения, определенного по формуле

,                                               (Д.2)

где Qном - номинальная подводимая тепловая мощность, соответствующая полной нагрузке, кВт;

        Qпониж - пониженная подводимая тепловая мощность, соответствующая частичной нагрузке, кВт;

        рном - давление газа, соответствующее полной нагрузке, Па;

        рпониж - давление газа, соответствующее частичной нагрузке, Па.

ПРИЛОЖЕНИЕ Е

(справочное)

Примеры вычисления нагрузочных коэффициентов для котла с несколькими значениями подводимой тепловой мощности

Таблица E.1

Подводимая тепловая мощность Qpi%

Нагрузочный коэффициент Fpi

20

0,3

40

0,3

60

0,25

70

0,15

Нагрузка котла: 30 %, 50 %, 100 %.

Нагрузочные коэффициенты (Fpi) для разных значений подводимой тепловой мощности указаны в таблице E.1.

Пример 1

Нагрузочный коэффициент Fpi (20) для подводимой тепловой мощности Qрi = 20 % должен быть приравнен к Fpi (30 %), для Qрi = 30 % он составляет 0,3.

Пример 2

Нагрузочный коэффициент для Qрi = 40 % должен быть распределен между меньшей нагрузкой Qрi = 30 % и большей нагрузкой Qрi = 50 % в соответствии с формулами (15) и (16) по 4.6.2.2.3:

- большая нагрузка:

- меньшая нагрузка: Fpi (30 %) = Fpi (40 %) - Fpi (50 %) = 0,3 - 0,1875 = 0,1125.

Пример 3

Нагрузочный коэффициент для Qрi = 60 % должен быть распределен между меньшей нагрузкой Qрi = 50 % и большей нагрузкой Qрi = 100 % в соответствии с формулами (15) и (16) по 4.6.2.2.3:

- большая нагрузка:

- меньшая нагрузка: Fpi (50 %) = Fpi (60 %) - Fpi (100 %) = 0,25 - 0,0833 = 0,1667.

Пример 4

Нагрузочный коэффициент для Qрi = 70 % должен быть распределен между меньшей нагрузкой Qрi = 50 % и большей нагрузкой Qрi= 100 % в соответствии с формулами (15) и (16) по 4.6.2.2.3:

- большая нагрузка:

- меньшая нагрузка: Fpi (50 %) = Fpi (70 %) - Fpi (100 %) = 0,15 - 0,0857 = 0,0643.

Пример 5

Нагрузочные коэффициенты для полного диапазона нагрузок котла указаны в таблице Е.2.

Таблица Е.2

Нагрузка котла, %

Подводимая тепловая мощность, %

Итоговый Fpi

20

40

60

70

30

30

0,1125

 

 

0,4125

50

 

0,1875

0,1667

0,0643

0,4185

100

 

 

0,0833

0,0857

0,1690

Итоговый Fpi

0,30

0,30

0,25

0,15

1

Концентрацию NОх, определяют по формуле (17) [см. 4.6.2.2.3]:

NOх = 0,4125 NОх (30 %) + 0,4185 NOх изм (50%) + 0,169 NOх изм (100%).

ПРИЛОЖЕНИЕ Ж

(справочное)

Соотношения между единицами концентрации NOx

Соотношения между единицами концентрации NОх, для газов различных семейств приведены в таблицах Ж.1 - Ж.3.

Таблица Ж.1 - Газы первого семейства

1 ppm = 2,054 мг/м3

(1 ppm = 1 см33)

G110

мг/(кВт·ч)

мг/МДж

О2=0 %

1 ppm =

1,714

0,476

1 мг/м3 =

0,834

0,232

О2=3%

1 ppm =

2,000

0,556

1 мг/м3 ==

0,974

0,270

Таблица Ж.2 - Газы второго семейства

1 ppm = 2,054 мг/м3

(1 ppm - 1 см33)

G20

G25

мг/(кВт·ч)

мг/МДж

мг/(кВт·ч)

мг/МДж

О2=0%

1 ppm =

1,764

0,490

1,797

0,499

1 мг/м3 =

0,859

0,239

0,875

0,243

О2=3%

1 ppm =

2,059

0,572

2,098

0,583

1 мг/м3 =

1,002

0,278

1,021

0,284

Таблица Ж.3- Газы третьего семейства

1 ppm = 2,054 мг/м3

(1 ppm - 1 см33)

G30

G31

мг/(кВт·ч)

мг/МДж

мг/(кВт·ч)

мг/МДж

О2=0%

1 ppm =

1,792

0,498

1,778

0,494

1 мг/м3 =

0,872

0,242

0,866

0,240

О2=3%

1 ppm =

2,091

0,581

2,075

0,576

1 мг/м3 =

1,018

0,283

1,010

0,281

ПРИЛОЖЕНИЕ И

(рекомендуемое)

Схемы испытаний

1 - трехходовой кран; 2 - охладитель; 3 - компенсационный бак; 4 - циркуляционный насос; 5 - клапан управления I; 6, 12, 14 - термометры; 7 - бак постоянного уровня; 8 - клапан управления III; 9 - подсоединение к распределительной трубе постоянного давления; 10 - водомер; 11 - клапан управления II; 13 - испытуемый котел; 15 - сосуд для взвешивания

Рисунок И. 1 - Испытательный стенд с прямой рециркуляцией

1 - сосуд для взвешивания; 2 - трехходовой кран; 3, 6, 14, 16 - термометры; 4 - расширительный сосуд (вне системы циркуляции); 5 - теплообменник; 7 - клапан управления II; 8 - бак постоянного уровня; 9 - клапан управления III; 10 - водомер; 11 - подсоединение к распределительной трубе постоянного давления; 12 - циркуляционный насос; 13 - клапан управления I; 15 - испытуемый котел

Рисунок И.2 - Испытательный стенд с теплообменником

1 - термопара

Рисунок И.3 - Устройство для отбора проб и измерения температуры продуктов сгорания для дымохода диаметром более 100 мм

1 - медная трубка Æ 6 мм; 2 - медная трубка Æ 4 мм; 3 - термопара

Рисунок И.4 - Устройство для отбора проб и измерения температуры продуктов сгорания для дымохода диаметром, не превышающим 100 мм

А и В - перегородки для получения восходящей и обратной тяги; С - вентилятор; D- гибкий участок; Е - трубка Пито для измерения скорости потока

Рисунок И.5 - Испытание котла при особых условиях тяги

1 - сжатый воздух; 2 - градуированная шкала; 3 - измерительный сосуд

Рисунок И.6 - Устройство для проверки герметичности газового тракта

1, 6, 7, 10 - краны; 2 - испытуемый образец; 3, 5 - воздушный резервуар объемом 1 дм3; 4 - отсек постоянной температуры; 8, 9 - манометры

Рисунок И.7 - Проверка герметичности компонентов газового тракта (метод потери давления)

1, 4, 10, 15, 19,23 - запорно-регулирующие клапаны; 3 - испытуемый котел; 2, 22 - регуляторы расхода газа; 5, 11, 12, 16, 20 - термометры; 6- предохранительный клапан; 7 - тепловой компенсатор; 8 - ротаметр; 9 - регулирующий клапан; 13 - весы; 14 - теплообменник; 17 - расширительный бак; 18 - циркуляционный насос; 19 - дренаж; 21 - газовый счетчик

Рисунок И.8 - Испытательный стенд для определения КПД

1 - испытуемый котел; 2, 14 - измерители температуры; 3 - термопара; 4 - записывающее устройство; 5, 13 - трехходовые краны; 6 - циркуляционный насос; 7-электрический водонагреватель; 8 - дополнительный насос (при необходимости); 9 - теплообменник; 10 - электрический счетчик; 11 - регулятор напряжения; 12 - подвод электропитания

Рисунок И.9 - Испытательный стенд для определения потерь тепла в окружающую среду при неработающих горелках

1 - труба для сброса воздуха, 2 - дифференциальный манометр, 3 - котел, 4 - гибкая труба; 5 - отверстие диаметром 3 мм без внутренней резьбы

Рисунок И.10 - Устройство для определения гидравлического сопротивления

1 - закрывающая пластана, 2 - телескопический испытательный дымоход, 3 - датчик тяги

Рисунок И.11 - Устройство для испытания датчика тяги

ПРИЛОЖЕНИЕ К

(справочное)

Библиография

1 ПБ 12-368-00 Правила безопасности в газовом хозяйстве

2 Правила технической эксплуатации и требования безопасности труда в газовом хозяйстве Российской Федерации

Ключевые слова: газовый котел, газовые горелки, требования безопасности, методы испытаний

 




Rambler's Top100 Яндекс цитирования
  Copyright © 2008-2026, www.docload.ru