Бесплатная библиотека стандартов и нормативов www.docload.ru

Все документы, размещенные на этом сайте, не являются их официальным изданием и предназначены исключительно для ознакомительных целей.
Электронные копии этих документов могут распространяться без всяких ограничений. Вы можете размещать информацию с этого сайта на любом другом сайте.
Это некоммерческий сайт и здесь не продаются документы. Вы можете скачать их абсолютно бесплатно!
Содержимое сайта не нарушает чьих-либо авторских прав! Человек имеет право на информацию!

 

Государственный ордена Трудового Красного Знамени проектный институт
«ПРОЕКТМОНТАЖАВТОМАТИКА»

РУКОВОДЯЩИЙ МАТЕРИАЛ

СИСТЕМЫ АВТОМАТИЗАЦИИ ТЕХНОЛОГИЧЕСКИХ ПРОЦЕССОВ
ВЫБОР ОПТИМАЛЬНЫХ ДИАМЕТРОВ ЛИНИЙ СВЯЗИ В ПНЕВМАТИЧЕСКИХ САКР

МЕТОДИКА И НОРМАТИВЫ

РМ4-87-88

Срок введения 1 января 1989 г.                                                                 Взамен РМ4-87-69

Главный инженер                                                                                                   Н. А. Рыжов

Начальник отдела                                                                                                   A. M. Гуров

Главный специалист                                                                                         В. С. Прусенко

1988

В работе рассматривается методика выбора оптимальных по динамическим свойствам диаметров линий связи в пневматических системах автоматического контроля и регулирования технологических процессов; приводятся числовые значения параметров, определяющих динамические свойства пневматических линий связи различных диаметров и различных длин, работающих с различными типами приборов и регуляторов.

Приведенные в работе методические указания и нормативы основываются на результатах обработки снятых экспериментально временных характеристик линий связи, наиболее часто встречающихся в практике автоматизации технологических процессов в различных отраслях промышленности.

СОДЕРЖАНИЕ

1. Общие замечания. 1

2. Параметры, определяющие инерционность (динамику) плс.. 3

3. Оптимальные диаметры труб для плс и числовые значения параметров, определяющих инерционность плс.. 5

4. Влияние изменения величины скачка возмущающего воздействия на динамику плс.. 9

5. Влияние сужений проходов коммутационной аппаратуры и соединителей на динамику плс.. 9

6. Влияние мощности вторичного источника питания на динамику плс.. 10

7. О динамике разветвленных плс.. 10

8. О влиянии инерционности плс на работу сакр. 11

Литература. 12

1. ОБЩИЕ ЗАМЕЧАНИЯ

Одной из характерных особенностей систем автоматического контроля и регулирования (САКР) технологических процессов (ТП) и в частности систем автоматического регулирования (CAP), реализуемых на базе аппаратуры пневмоавтоматики, является наличие в них пневматических каналов связи (ПКС), представляющих собой совокупность передающих и приемных устройств, соединенных линиями связи (рис.1), инерционность которых оказывает отрицательное влияние на работу измерительных приборов и регуляторов, что, как следствие этого, приводит к ухудшению качества работы САКР ТП в целом. Особенно остро это влияние проявляется в CAP. В ряде случаев инерционность ИКС является критерием самой возможности реализации CAP. По причине инерционности линий связи в критических условиях может оказаться в ряде случаев также и система автоматического контроля, реализуемая на базе аппаратуры пневмоавтоматики.

Для целей автоматизации технологических процессов в отечественной промышленности широкое применение получили пневматические регуляторы 04, 04М, АУС, «Старт», а также работающие в комплекте с ними пневматические датчики, вычислительные устройства, вторичные измерительные приборы, станции управления, исполнительные устройства и другая аппаратура. Передача пневматических сигналов от датчиков к вторичным измерительным приборам, регулирующим и вычислительным устройствам, а также от регулирующих устройств к исполнительным устройствам (позиционерам, исполнительным механизмам и регулирующим органам) производится посредством металлических либо пластмассовых трубопроводов с внутренним диаметров 4,0; 4,8 и 6,0 мм. Здесь трубопроводы выполняют функции пневматических линий связи (ПЛС).

ПЛС, как будет показано ниже, представляет собой сложное динамическое звено с распределенной по длине емкостью. Структурно ПЛС может быть представлена двумя последовательно соединенными динамическими звеньями: звеном чистого запаздывания с передаточной функцией  и апериодическим звеном первого порядка с передаточной функцией  где  - время чистого запаздывания;  - постоянная времени;  - оператор дифференцирования.

Рис. 1. Кривые разгона пневматической линии связи

1, 3 - при наполнении сжатым воздухом;

2, 4 - при опорожнении;

5, 6 - аппроксимирующие звенья

Параметры  и  характеризуют инерционность ПЛС. Последняя (инерционность) определяется гидравлическим сопротивлением и емкостью линии связи. Она зависит от длины и внутреннего диаметра трубопровода от мощности (пропускной способности) усилителя на выходе датчика, задатчика, регулирующего и вычислительного устройств и ряда других факторов. При этом увеличение длины ПЛС приводит к увеличению как ее сопротивления, так и емкости, а следовательно и инерционности. Увеличение диаметра трубопровода приводит к уменьшению его сопротивления и, следовательно, к уменьшению инерционности ПЛС; вместе с тем увеличение диаметра трубопровода вызывает увеличение его емкости, что при ограниченной пропускной способности усилителя мощности приводит к увеличению инерционности ПЛС.

Таким образом, для каждого типа датчика, регулирующего или вычислительного устройства (для их усилителей мощности) существует оптимальный с точки зрения инерционности (динамических свойств) внутренний диаметр трубопровода, используемого в качестве ПЛС.

Приведенные в данном руководящем материале рекомендации по выбору внутренних диаметров труб для ПДС основываются на результатах испытаний динамических свойств ИКС, содержащих линии связи различной длины и различного диаметра, работающих с регуляторами различных типов (Технический отчет Т04-3-68). Однако, за прошедшее после первого издания (после 1969 года) время в пневмоавтоматике произошел ряд существенных изменений: в составе ПКС увеличилось количество коммуникационной аппаратуры (переключателей, клемм), соединительных и присоединительных устройств ПЛС (главным образом пластмассовых) при одновременном сужении их проходов, обусловивших необходимость проведения дополнительных испытаний динамических свойств ИКС, результаты которых (Технический отчет Т04-70-88) также учтены в данном руководящем материале.

2. ПАРАМЕТРЫ, ОПРЕДЕЛЯЮЩИЕ ИНЕРЦИОННОСТЬ (ДИНАМИКУ) ПЛС

Поставленная в данной работе задача сводится к разработке методики и нормативов по выбору оптимальных диаметров линий связи в пневматических САКР. Оптимальность ПЛС здесь рассматривается в смысле их инерционности (динамических свойств), т.е. ставится задача выбора внутренних диаметров трубопроводов, которые при равных прочих условиях будут иметь минимальную инерционность.

В данном разделе устанавливается параметры, определяющие инерционность (динамические свойства) ПЛС. При этом инерционность ПЛС оценивается по их динамическим характеристикам, в частности по временным характеристикам - кривым разгона.

Характерный пример временной характеристики (кривой разгона) ПЛС показан на рис. 1. Здесь показаны временные характеристики ПЛС с внутренним диаметром трубопровода  мм и длиной  м при работе ее с регулятором «Старт» в режиме опорожнения сжатым воздухом и в режиме опорожнения. На рисунке сплошными линиями показаны кривые разгона, полученные экспериментально; пунктирными линиями - кривые разгона цепочки из двух последовательно соединенных динамических звеньев: звена чистого запаздывания с передаточной функцией  и апериодического звена первого порядка с передаточной функцией . Используя свойства указанных звеньев действительная временная характеристика ПЛС с достаточной для практики точностью аппроксимируется теоретической характеристикой цепочки идеальных звеньев.

Приведенные на рис. 1 временные характеристики (кривые разгона) являются типичными для ПЛС большой протяженности (100 - 300 м). Заметим, что представленная на рис. 1 кривая разгона фактически является кривой разгона ИКС поскольку включает в себя инерционность передающего и приемного устройств (усилителя мощности УМ и вторичного измерительного прибора ВИП). Однако при такой длине линии связи инерционность передающего и приемного устройств составляет такую малую долю, от инерционности линии связи, которой можно пренебречь. На основании этого можно утверждать, что кривые разгона ИКС и ПЛС при длине последней более 100 м практически не отличаются друг от друга. Поэтому полученные экспериментально кривые разгона ПКС можно считать также кривыми разгона ПЛС.

При рассмотрении временных характеристик на рис. 1, полученных экспериментально, можно заметить, что форма их начальных участков довольно близко совпадает с характеристикой звена чистого запаздывания. Поэтому начальные: участки временных характеристик НДС можно характеризовать временем чистого запаздывания .

Форма возрастающего (в режиме наполнения), а также убывающего (в режиме опорожнения) участков приближается к форме экспоненты. Эти участки можно характеризовать двумя параметрами:  (либо ) и  (либо ), где  и  - время, в течение которого давление в конце ПЛС повысится до 63 или 99% от верхнего предела максимального скачкообразного входа, что в диапазоне 0,2-1,0 кгс/см2 будет равно 0,704 и 0,992 кгс/см2 соответственно;  и  - время, в течение которого давление в конце ПЛС понизится до 37 или 1,0% от верхнего предела максимального скачка (0,496 и 0,208 кгс/см2 соответственно). При этом время  и  имеет практическое значение при оценке динамических свойств ПЛС в CAP, время  и  - при оценке динамических свойств ПЛС в системе контроля. Заметим, что  и  - время за вычетом  (см. рис. 1).

Если бы временная характеристика ПЛС на возрастающем, а также на убывающем участках полностью соответствовала экспоненте, то время  (либо ) можно было бы принять за постоянную времени  апериодического звена первого порядка. Однако этот участок существенно отличается от экспоненты, особенно в конце переходного процесса. Одной из причин такого отличия является специфика работы аппаратуры пневмоавтоматики в диапазоне изменения стандартизованного сигнала, т.е. изменения давления сжатого воздуха в диапазоне 0,2-1,0 кгс/см2. По этой причине время  (а также ) не может с достаточной точностью приниматься за величину постоянной времени . Обработкой большого количества экспериментов удалось установить, что возрастающий, а также убывающий участки временной характеристики ПЛС можно с достаточной практической точностью аппроксимировать характеристикой апериодического звена первого порядка, т.е. экспонентой, приняв в режиме наполнения за величину постоянной времени  апериодического звена время  (либо  в режиме опорожнения), уменьшенное на 10 - 15%.

При аппроксимации временной характеристики ПЛС характеристикой цепочки двух звеньев: звена чистого запаздывания и апериодического звена первого порядка, время чистого запаздывания , полученное экспериментально, также не может быть принято за параметр  аппроксимирующего звена чистого запаздывания. Практически величина  получается несколько больше величины . Она определяется как величина отрезка на оси времени временной характеристики, образованного пересечением касательной, проведенной к точке перегиба временной характеристики, с осью времени.

Итак в качестве параметров, определяющих инерционность ПЛС, могут быть приняты:

для ПЛС, работающих в CAP - время чистого запаздывания  и постоянная времени ;

для ПЛС, работающих в системах контроля - время  (либо ).

Здесь следует иметь в виду, что длинная ПЛС при работе ее в реальной САКР является довольно сложным нелинейным динамическим звеном. Принятая в данной работе аппроксимация является приближенной. Степень приближения видна из рис. 1.

Опыт изучения переходных процессов в САКР показал, что принятая аппроксимация динамических характеристик ПЛС большой протяженности вполне допустима. Она рекомендуется для широкого применения в практике синтеза и анализа САКР.

3. ОПТИМАЛЬНЫЕ ДИАМЕТРЫ ТРУБ ДЛЯ ПЛС И ЧИСЛОВЫЕ ЗНАЧЕНИЯ ПАРАМЕТРОВ, ОПРЕДЕЛЯЮЩИХ ИНЕРЦИОННОСТЬ ПЛС

В результате проведения испытаний динамических характеристик ПЛС и обработки полученных результатов установлено:

1. Оптимальным по динамическим свойствам внутренним диаметром трубопровода, используемого в качестве ПЛС для регуляторов 04, АУС, «Старт» и датчиков с усилителями мощности, такими, как в указанных регуляторах, является 4,8 - 5,0 мм при длине ПЛС до 300 м.

Для ПЛС длиной до 150-200 м, работающих с указанными регуляторами и датчиками, представляющих подавляющее большинство линий связи в пневматических системах автоматизации технологических процессов целесообразным размеров внутреннего диаметра трубопровода по конструктивным и экономическим соображениям является 4,0 мм. Здесь учитываются числовые значения параметров  и  для линий связи, выполненных из труб с внутренним диаметром 4,8 и 4,0 мм. Разница в абсолютных значениях этих параметров несущественна, что подтверждает возможность принятия такого решения.

В подтверждение приведенного вывода на рис. 2 и 3 представлены графики зависимости значений параметров  и  от длины  для ПЛС с внутренним диаметром трубопроводов 4,0; 4,8; 6,0 и 8,0 мм при работе их без усилителя мощности (в режиме ручного дистанционного управления с помощью ручного задатчика), с регулятором 04 и с регулятором «Старт». Показанное на графиках зависимости установлены экспериментально.

2. Обобщенные значения параметров , ,  определяющих динамические свойства ПЛС при работе их в комплекте с различными регуляторами, приведены в таблице 1 и на рис. 4.

Заметим, что таблица 1 и графики на рис. 4 построены исходя из ряда допущений, а именно:

Первое допущение. Как показали опыты временные характеристики ПЛС при работе их с регуляторами «Старт» практически не отличаются от временных характеристик линий связи при работе их с регуляторами АУС. Это позволило принять числовые значения , ,  для ПЛС при работе их с регуляторами АУС и 04М те же, что и для ПЛС при работе их с регуляторами «Старт». Принимая во внимание такое решение было учтено, что регуляторы 04М оборудованы усилителями мощности АУС.

Второе допущение. Опытным путем установлено, что время наполнения линии связи сжатым воздухом несколько меньше, чем опорожнения (см. рис. 1). Однако числовые значения , ,  в таблице 1 и в графиках на рис. 4 даны однозначно. Последние приняты по максимальным их значениям. Такое допущение существенно упрощает пользование данным материалом при проектировании САКР, не снижая его практической ценности.

Рис. 2. Графики зависимостизначений параметра  ПЛС от ее диаметра  и длины

Рис. 3. Графики зависимости значений порометра  ПЛС от ее диаметра  и длины

Кроме указанных, в таблице 1 приведены параметры ПЛС: объем  и максимальный расход сжатого воздуха  в режиме наполнения. Эти параметры могут быть использованы при выборе аппаратуры питания.

3. Приведенные в п.п. 1 и 2 выводы относятся к ПЛС, работающих с другими типами регуляторов, датчиками, задатчиками, вычислительными устройствами, усилители мощности которых аналогичны усилителям мощности регуляторов 04, АУС, «Старт». Они относятся также к ПЛС, соединяющих регулирующие устройства с исполнительными механизмами. Однако эти выводы относятся лишь к системам, в которых исполнительные механизмы оборудованы позиционерами. Если же исполнительные механизмы не оборудованы позиционерами, то при прочих равных условиях  увеличивается в 2-4 раза, а  - в 3-10 раз. Здесь увеличение  и  происходит тем больше, чем больше объем рабочей полости исполнительного механизма. В связи с этим использование в CAP исполнительных механизмов без позиционеров в ряде случаев недопустимо.

В тех случаях, когда конструкция исполнительного механизма не допускает установки позиционера, следует на конце линия связи (перед исполнительным механизмом) устанавливать усилитель мощности. С точки зрения уменьшения инерционности ПЛС такое решение является равносильным установке позиционера. Однако усилитель мощности, установленный перед исполнительным механизмом, не может полностью заменить позиционера, так как при таком решении исполнительный механизм не приобретает детектирующих свойств, которые он имеет при установке позиционера.

4. Числовые значения , ,  для ПЛС длиной более 300 м могут быть определены расчетным путем, т.е. перемножением передаточных Функций отдельных участков линия связи, например 300 м 100 м, 300 и 200 м и т.д., с последующей аппроксимацией полученных результатов. Наиболее простым для этих целей является графический метод определения временных характеристик цепочек последовательно соединенных динамических звеньев, достаточно подробно рассмотренный в литературе по автоматическому регулированию, например в [7].

Таблица 1.

Обобщенные показатели динамических свойств ПЛС

м

Усилитель мощности

(тип РУ)

 мм

 мм

 мм

, с

с

,

л

3

, с

с

,

л

3

, с

с

,

л

3

100

-

0,6

3,3

10,0

1,26

1,2

0,5

3,0

9,0

1,8

1,84

0,55

3,5

10,0

2,83

2,25

04

1,0

4,5

11,0

0,94

0,8

5,0

10,0

1,1

1,0

5,5

12,0

1,58

04М, АУС, «Старт»

0,6

3,5

10,0

1,8

0,7

3,0

9,0

1,84

0,6

3,5

10,0

2,52

200

-

1,8

9,0

30,0

2,52

0,86

1,2

7,0

25,0

3,62

1,55

1,6

9,0

27,0

5,65

1,9

04

2,8

9,5

30,0

0,81

2,0

10,0

25,0

1,08

2,5

15,0

34,0

1,15

04М, АУС, «Старт»

2,2

9,0

28,0

0,86

2,0

9,0

25,0

1,2

1,6

10,0

27,0

1,73

300

-

4,0

17,0

60,0

3,77

0,68

2,5

13,0

40,0

5,43

1,29

2,5

17,0

50,0

8,48

1,5

04

4,5

19,0

65,0

0,61

3,0

16,0

48,0

1,04

3,5

22,0

55,0

1,2

04М, АУС, «Старт»

4,0

18,0

65,0

0,64

3,0

13,0

43,0

1,29

3,5

18,0

46,0

1,73


Рис. 4. Графики зависимости обобщенных значений параметров  и * ПЛС от ее диаметра и длины


5. Для реализации ПЛС при работе их с регуляторами 04, «Старт», а также с датчиками, задатчикамии, вычислительными устройствами, исполнительными механизмами, оборудованными усилителями мощности, аналогичными усилителями мощности «Старт», при отсутствии специальных требований по выполнению трубных проводок, предпочтительным является применение пластмассовых труб и пневмокабелей вместо металлических труб. Особенно важно это соблюдать при выполнении трубных проводок в условиях агрессивных сред и в сырых помещениях. Исключением являются взрыво- и пожароопасные помещения, где трубные проводки должны выполняться металлическими трубами [1, 3, 4].

Рекомендуемые сортаменты труб и пневмокабелей, марки материалов, толщины стенок и температурные пределы для трубных проводок систем автоматизации (в том числе и для ПЛС) приведены в [1].

4. ВЛИЯНИЕ ИЗМЕНЕНИЯ ВЕЛИЧИНЫ СКАЧКА ВОЗМУЩАЮЩЕГО ВОЗДЕЙСТВИЯ НА ДИНАМИКУ ПЛС

Серией опытов установлено, что изменение величины скачка возмущающего воздействия оказывает влияние на значение параметров  и  ПЛС. Однако это влияние практически небольшое. Так например для ПЛС длиной 300 м, выполненной трубой с внутренним диаметром 6,0 м и работающей с усилителем мощности «Старт», при скачке возмущающего воздействия от 0,2 до 1,0 кгс/см2 =3,0 с, =15,0 с; при скачке от 1,0 до 0,2 кгс/см2=3,0 с, =3,0 с, =16,0 с; при скачке от 0,2 до 0,8 кгс/ см2 =3,0 с, =13,5 с; при скачке от 0,8 до 0,2 кгс/см2 =3,0 с, =14,5 с; при скачке от 0,2 до 0,6 кгс/см2 =2,5 с,=13,0 с; при скачке от 0,6 до 0,2 кгс/см2 =2,5 с, =14,0 с.

Указанные изменения параметров  и  учтены в таблице 1, т.е. приняты по их максимальным значениям.

5. ВЛИЯНИЕ СУЖЕНИЙ ПРОХОДОВ КОММУТАЦИОННОЙ АППАРАТУРЫ И СОЕДИНИТЕЛЕЙ НА ДИНАМИКУ ПЛС

Учет влияния сужений проходов коммутационной аппаратуры и соединителей на динамику ПЛС обусловлен рядом причин. Первой из них является развитие структур систем автоматического контроля и управления и многорежимность их работы. Это вызвало необходимость расширения функций переключения каналов связи с целью перевода аппаратуры контроля и управления из одного режима работы на другой, что в свою очередь вызвало необходимость установки в каналах связи различной коммутационной аппаратуры; последняя во многих случаях имеет уменьшенные проходы по сравнению с проходами усилителей мощности и линий связи.

Второй причиной можно назвать появление соединительных в присоединительных устройств также с уменьшенными проходами.

В результате появления указанных сужении возникли опасения, что время передачи пневматических сигналов по каналам связи может увеличиваться до недопустимых пределов. Это обусловило необходимость проведения соответствующих экспериментальных исследований, результаты которых обобщены, в Техническом отчете TО 4-70 88, на базе которого даны рекомендации, изложенные в настоящем разделе данного Руководящего материала.

Результаты испытаний влияния сужений проходов коммуникационной аппаратуры и соединителей на динамику ПЛС приведены в таблице 2. Из последней видно, что отрицательное влияние указанных сужений на динамику ПЛС в диапазоне от 4,0 до 2,0 мм проявляется незначительно. Так при сужении проходов соединителей до 2,0 мм

Таблица 2

Влияние сужений проходов коммуникационной аппаратуры и соединителей на динамику ПЛС

,

м

 мм

 мм

Количество и диаметр прохода соединителей на выходе ПЛС

Количество и диаметр прохода соединителей в середине ПЛС

*+*, с

Количество и диаметр прохода соединителей на выходе ПЛС

Количество и диаметр соединителей в середине ПЛС

*+*, с

количество, шт.

диаметр, мм

количество, шт.

диаметр, мм

количество, шт.

диаметр, мм

количество, шт.

количество, шт.

200

-

-

-

-

12,0

-

-

-

-

9,0

-

-

-

-

-

3

4,0

-

-

10,0

3

3,0

-

-

12,5

3

3,0

-

-

10,5

3

2,0

-

-

13,0

3

2,0

-

-

11,0

300

-

-

-

-

23,0

-

-

-

-

18,0

-

-

-

-

-

3

4,0

1

4,0

18,5

3

3,0

1

3,0

23,5

3

3,0

1

3,0

19,0

3

2,0

-

-

24,0

3

2,0

-

-

20,0

3

2,0

1

2,0

24,0

3

2,0

1

2,0

20,0

Постоянная времени  увеличивается: у ПЛС с внутренним диаметром 4.8 мм и длиной 200 или 300 м - на 1,0 с (8,0 или 4,0% соответственно), у ПЛС с внутренним диаметром 4,8 мм и длиной 200 или 300 м - на 2,0 с (22 и 9% соответственно).

На основании полученных результатов испытаний приводятся следующие практические рекомендации:

1. Влияние сужений проходов коммутационной аппаратуры и соединителей на динамику ПЛС следует учитывать лишь в тех случаях, когда значения * и  находятся на пределе допустимых, т.е. когда * и  равно или больше 5 - 10%  и  объекта автоматизации [7].

2. При разработке новой и модернизации существующей коммутационной аппаратуры (станций управления, коммутационных реле, переключателей, пневмоклемм и т.п.), соединительных и присоединительных устройств для приборов, регуляторов, линий связи следует ориентироваться, чтобы они были полнопроходными. В обоснованных случаях для указанной аппаратуры и соединителей допускается для линий связи внутренним диаметром 4,0 - 4,8 мм уменьшение диаметра прохода, до 3,0 - 3,5 мм.

3. Сужение проходов коммутационной аппаратуры и соединителей, кроме ухудшения динамических свойств ПЛС, ухудшает также и условия их эксплуатации, поскольку приводит к засорению проходов в местах сужений и ухудшает условия прочистки, что следует учитывать при проектировании и монтаже систем автоматизации, особенно на объектах с тяжелыми условиями эксплуатации.

6. ВЛИЯНИЕ МОЩНОСТИ ВТОРИЧНОГО ИСТОЧНИКА ПИТАНИЯ НА ДИНАМИКУ ПЛС

При проведении экспериментальной части данной работы ряд опытов предназначался для определения влияния мощности (пропускной способности) вторичного источника питания (стабилизатора давления сжатого воздуха) на динамику ПЛС. Установлено, что, если мощность стабилизатора мала, то при максимальной нагрузке ПЛС (при максимальном скачке возмущающего воздействия) происходит значительное падение давления сжатого воздуха на выходе стабилизатора.

Известно, что изменение давления питающего воздуха перед измерительные прибором или регулятором допускается до величины ±10%. Такое изменение давления питающего воздуха не оказывает существенного влияния на статическую точность технических измерительных приборов и регуляторов (точность в установившихся режимах) и поэтому допускается стандартом, устанавливающим требования к сжатому воздуху питания. Однако на практике наблюдаются случаи изменения давления питающего воздуха и в более широких пределах. Особенно в сторону его падения при наполнении ПЛС.

Чрезмерное падение давления питающего воздуха приводит к увеличению времени наполнения ПЛС и, как следствие этого, к увеличению значений параметров  и , что ухудшает динамические свойства ПЛС в режиме ее наполнения. Указанное ухудшение тем значительнее чем больше диаметр трубопровода. Данное влияние было также учтено при составлении таблицы 1.

Одним из лучших решений, обеспечивающим существенное уменьшение падения давления питающего воздуха, является групповое питание приборов и средств автоматизации сжатым воздухом с резервированием, предупредительной и аварийной сигнализацией.

7. О ДИНАМИКЕ РАЗВЕТВЛЕННЫХ ПЛС

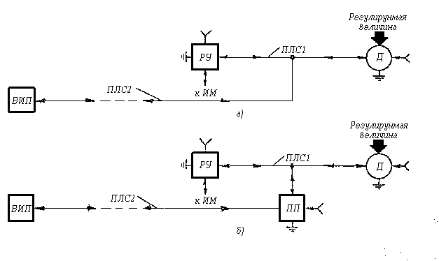
Два характерных примера разветвленных ПЛС представлены на рис. 5. На рис. 5а представлена разветвленная ПЛС, соединяющая датчик Д с регулирующим устройством РУ и вторичным измерительным прибором BИП. Здесь разветвленную линию связи можно рассматривать как одну длинную, к концу которой подключен ВИП, а на сравнительно коротком расстоянии от датчика сделан отвод к РУ.

На рис. 5.б представлена аналогичная линия связи с той лишь разницей, что пневматический сигнал от датчика поступает к ВИП не непосредственно, как в первом случае, а через пневмоповторитель ПП. При такой структуре датчик соединен с РУ короткой, а следовательно малоинерционной линией связи, с ВИП - длинной. В этом случае большая инерционность длинной линии связи, соединяющей датчик с ВИП, благодаря установке пневмоповторителя, не влияет на инерционность короткой линии связи, соединяющей датчик с РУ. В этом преимущество второй структуры линии связи над первой, хотя аппаратурно первая структура реализуется проще, она проще и в эксплуатации.

Для иллюстрации рассмотрим динамику разветвленной связи длиной 300 м, выполненной трубопроводом с внутренним диаметром 6,0 мм по первой и по второй структурам.

В первом случае: в точке присоединения ВИП *=3,5 с, =18,0 с, =46,0 с; в точке присоединения РУ, отстоящей от датчика на расстоянии 100 м, *=0,6 с, = 14,0 с, =44,0 с;

во втором случае: в точке присоединения ВИП *=3,5 с,=18,0 с, =46,0 с; в точке присоединения РУ, отстоящей от датчика на расстояние тоже 100 м, *=0,6 с, = 3,5 с, =10,0 с.

Рисунок 5. Разветвление ПЛС:

а - без установки пневмоповторителя; б - с установкой пневмоповторителя

Исходя из приведенного выбор структуры разветвленной линии связи должен решаться проектным путем с учетом особенностей (динамики) объекта управления и условий его эксплуатации. Напомним при этом, что в ряде случаев для малоинерционных объектов длинные линии связи на участках от ПП до ВИП выполняются средствами электроники. Однако это уже проблемы комбинированных электронно-пневматических систем автоматического управления, которые выходят за рамки данного материала.

8. О ВЛИЯНИИ ИНЕРЦИОННОСТИ ПЛС НА РАБОТУ САКР

Выше (в разделе 1) отмечалось, что одной из характерных особенностей систем автоматического контроля и регулирования (САКР) технологических процессов (ТП), выполняемых на аппаратуре пневмоавтоматики, является наличие в них пневматических линий связи, инерционность которых оказывает отрицательное влияние на качество работы таких систем, а иногда служит критерием самой возможности их функционирования. Выяснение вопросов, связанных с указанными особенностями САКР, составляет одну из принципиальных инженерных задач, решаемых в процессе проектирования и наладки таких систем.

В целях обеспечения успешного решения поставленной задачи и ее облегчения потребовались рекомендации по выбору оптимальных диаметров ПЛС при работе с различной аппаратурой пневмоавтоматики, а также числовые значения параметров, определяющих их динамические свойства, в форме, удобной для анализа и синтеза разрабатываемых систем автоматизации. Выяснению поставленных вопросов посвящена основная часть данного материала.

Однако полная оценка качества выбранной ПЛС может быть определена лишь в сопоставлении ее с динамикой объекта автоматизации, с которым она должна работать. Таким образом возникла вторая задача, решение которой должно быть проведено в процессе проектирования и наладки САКР ТП, а именно: исследование САКР с учетом динамических свойств и условий эксплуатации конкретного объекта автоматизации и динамических свойств конкретной линии связи. Решение поставленной задачи сводится к анализу переходных процессов в САКР.

Весь комплекс вопросов, связанных с анализом переходных процессов в САКР ТП, выходит за рамки данной работы и поэтому здесь не рассматривается. Вопросы анализа переходных процессов с САКР с учетом инерционности ПЛС рассмотрены в ряде других работ, в частности в [7]. Там же приведены и методики проведения этих работ. Однако ниже приведем краткие рекомендации по выбору ПЛС для работы в CAP. Последние сводятся к тому, что если постоянная времени ПЛС  будет равна или меньше 0,05-0,1 постоянной времени регулируемого объекта , то инерционность такой линии связи может не учитываться при выборе типа и параметров настройки автоматического регулятора. Если такое соотношение  обычным способом (путем реализации двухтрубной структуры CAP) получить не удается, то в этом случае следует применить разветвленную линию связи, т.е. перейти на рассредоточенную (четырехтрубную) структуру CAP, которая по динамическим свойствам) более благоприятна, чем простая двухтрубная (сосредоточенная). Более подробно эти вопросы рассмотрены в [7].

ЛИТЕРАТУРА

1. РМ4-6-86 часть II. Системы автоматизации технологических процессов. Проектирование электрических и трубных проводок. ЧастьII. Трубные проводки, ГПИ «Проектмонтажавтоматика», М., 1986.

2. СНиП 3.05.07-85 Системы: автоматизации, Госстрой СССР, М., 1985.

3. СН 550-82 Инструкция по проектированию технологических трубопроводов из пластмассовых труб, Госстрой СССР, М., 1983.

4. Пособие по проектированию технологических трубопроводов из пластмассовых труб (к СН 550-82), НПО «Пластик», М., 1984.

5. О применении полиэтиленовых труб в системах пневмоавтоматики (Технический циркуляр Главмонтажавтоматики №. 28-6-1/117 от 28 апреля 1982 г.). Монтажные и специальные строительные работы. Серия VIII. Монтаж и наладка средств автоматизации и связи. Науч.техн.реф. сборник. ЦБНТИ Минмонтажспецстроя СССР, 1982, вып. 9.

6. РМ4-192-83 Системы автоматизации технологических процессов. Оценка запаздывания в трубных проводках приборов для измерения давления и расхода газа, ГИП «Проектмонтажавтоматика», М., 1984.

7. B.C. Прусенко, Пневматические системы автоматического регулирования технологических процессов. Машиностроение, М., 1987.

8. A.M. Гуров, Ю.К. Осипенко, B.C. Прусенко. Влияние сужений проходов коммутационной аппаратуры и соединителей на динамику пневматических каналов связи. Монтажные и специальные строительные работы. Серия: Монтаж и наладка средств автоматизации и связи. Экспресс-информация. ЦБНТИ Минмонтажспецстроя СССР, 1988, вып. 9.




Rambler's Top100 Яндекс цитирования
  Copyright © 2008-2025, www.docload.ru