Бесплатная библиотека стандартов и нормативов www.docload.ru

Все документы, размещенные на этом сайте, не являются их официальным изданием и предназначены исключительно для ознакомительных целей.
Электронные копии этих документов могут распространяться без всяких ограничений. Вы можете размещать информацию с этого сайта на любом другом сайте.
Это некоммерческий сайт и здесь не продаются документы. Вы можете скачать их абсолютно бесплатно!
Содержимое сайта не нарушает чьих-либо авторских прав! Человек имеет право на информацию!

 

РУКОВОДЯЩИЙ ДОКУМЕНТ

МЕТОДИЧЕСКИЕ УКАЗАНИЯ

Прогнозирование остаточного ресурса
оборудования по изменению параметров его
технического состояния при эксплуатации

РД 26.260.004-91

РУКОВОДЯЩИЙ ДОКУМЕНТ

МЕТОДИЧЕСКИЕ УКАЗАНИЯ

Прогнозирование остаточного ресурса оборудования по изменению параметров его технического состояния при эксплуатации

РД 26.260.004-91

Дата введения 01.01.92.

Настоящий руководящий документ устанавливает требования к выбору методов прогнозирования остаточного ресурса химико-технологического оборудования по изменению параметров его технического состояния при эксплуатации и рекомендации по применению статистических методов при прогнозировании.

Термины и определения соответствуют ГОСТ 27.002.

Примеры прогнозирования остаточного ресурса оборудования приведены в справочном приложении.

1. ОБЩИЕ ПОЛОЖЕНИЯ.

1.1. Основные понятия и определения

При длительной эксплуатации оборудования нефтехимических производств неизбежно возникают повреждения или нарушения работоспособности его элементов даже при отсутствии дефектов изготовления и соблюдении правил эксплуатации. Это обусловлено особенностями нефтехимических производств: высокой коррозионной активностью технологических сред, высокими температурой, давлением и скоростью технологических потоков, наличием переменных температурных деформаций и сложного напряженного состояния металла оборудования. Кроме того, даже при соблюдении технологической дисциплины при эксплуатации оборудования неизбежны колебания состава сырья и реагентов, в том числе содержания в них агрессивных компонентов; колебания регулируемых параметров (температуры, давления, расхода и др.), обусловленные запаздыванием регулирования: колебания внешних воздействий (напряжения электропитания, температуры и давления технологического пара, охлаждающей воды и др.). Воздействие указанных факторов в течение длительного времени вызывает повреждение металла. Развитие микродефектов на поверхностях нагруженных элементов оборудования или отложение на них осадков, препятствующих протеканию технологического процесса. В некоторые моменты функционирования оборудования могут возникать такие сочетания параметров, которые нарушают его работоспособность, т.е. вызывают отказы.

Отказы нефтехимического оборудования можно разделить на три вида: механические, технологические и обусловленные ошибками (нарушениями) при эксплуатации, изготовлении или разработке оборудования.

К первому виду относят отказы, вызванные нарушением механической работоспособности оборудования вследствие изнашивания, коррозии, поломок деталей, нарушения формы элементов оборудования, возникновения недопустимых сопутствующих процессов - вибрации, стука, утечки технологической среды, перегрева подшипников и др.

К технологическим относят отказы, обусловленные нарушением хода технологического процесса, выполняемого на данном оборудовании, приводящего к выпуску некондиционного продукта или нарушению функционирования оборудования. Примерами таких отказов в химических производствах является локальный перегрев сушильного аппарата, приводящий к налипанию на его поверхностях термолабильных продуктов (возникновение так называемого "козла"): закоксовывание труб в трубчатых печах: загрязнение фильтров и разделительных элементов в аппаратах мембранного разделения, приводящее к снижению их производительности: загрязнение катализатора в реакционных аппаратах, отложения на стенках и подвижных элементах машин и др.

Доля отказов третьего вида определяется в основном уровнем технологической дисциплины и культуры производства на конкретном предприятии. В методике этот вид отказов не анализируется.

Большая часть механических и технологических отказов (около 90) проявляется постепенно в изменении одного или нескольких выходных параметров, поэтому их называют также параметрическими. Контролируемыми параметрами могут быть как непосредственно намеряемые величины повреждений (глубина коррозии стенок, износ детали), так и выходные параметры оборудования (производительность, коэффициент полезного действия, степень разделения, осветления, очистки) и другие количественные показатели качества продукта, параметры вибрации, шума, величина утечки среды через уплотнения и т.д.

Далее эти параметры, контроль которых позволяет прогнозировать моменты наступления отказов оборудования, называются параметрами технического состояния, или сокращенно ПТС.

В соответствии с ГОСТ 27.002-89 отказом оборудования считается нарушение его работоспособного состояния. Если оборудование после отказа или технического освидетельствования не подлежит восстановлению, то такое состояние называют предельным состоянием (ПС) оборудования. Нецелесообразность восстановления оборудования, имеющего повреждения, может быть обусловлена как технико-экономическими показателями, так и нарушениями установленных требований безопасности (экологии). Признаки предельного состояния оборудования, установленные в нормативно-технической документации, называются критериями предельного состояния (КПС).

Остаточным ресурсом называют запас возможной наработки оборудования после момента контроля его технического состояния (или ремонта), в течение которого обеспечивается соответствие, требованиям НТД всех его основных технико-эксплуатационных показателей и показателей безопасности.

1.2. Концепция прогнозирования остаточного ресурса

Остаточный ресурс оборудование может иметь не только до истечения расчетного срока службы, но и после него. Это обусловлено действующими нормами и правилами расчета сроков службы оборудования, предусматривающими обеспечение прочности и износостойкости изделий при наиболее неблагоприятных режимах нагружения в заданных условиях эксплуатации, а также при минимальных уровнях механических характеристик конструкционных материалов, обеспечиваемых по государственным стандартам. Фактические режимы нагружения при соблюдении правил эксплуатации оказываются, как правило, менее напряженными, чем расчетные, что снижает интенсивность расходования заложенных запасов (по прочности, износо- и коррозионной стойкости) обеспечивает резерв по остаточному ресурсу оборудования.

Возможность прогнозирования величины остаточного ресурса обеспечивается при одновременном наличии следующих условий:

известны параметры, определяющие техническое состояние оборудования (ПТС);

известны критерии предельного состояния оборудования;

имеется возможность периодического (или непрерывного) контроля значений ПТС.

По многим характерным для нефтехимического оборудования деградационным процессам (сплошной коррозии, изнашиванию, ползучести и др.) указанные условия выполняются. По другим видам повреждений (например, образованию трещин, межкристаллитной коррозии) не все условия, необходимые для прогнозирования остаточного ресурса, по данной методике могут выполняться; в таких случаях требуется проведение специальных исследований. /Возможность эксплуатации сосудов, работающих под давлением, у которых будут выявлены дефекты, превышающие допустимые нормы, определяют с привлечением специализированной научно-исследовательской организации (по ОСТ 26-291-87)/.

Прогнозирование надежности оборудования обычно осуществляется по схеме (рис. 1). Через определенные периоды эксплуатации t1, t2, ... и т.д. измеряют максимальные величины возникших повреждений (износа, коррозии, деформаций) h1, h2, ... и т.д. и экстраполируют зависимость до предельно допустимой величины повреждений hn. Такой метод позволяет получить достаточно точные оценки показателей надежности, если известен вид зависимости h(t) и при измерениях значений h определяются действительно максимальные значения повреждений, т.е. осуществляется сплошной контроль поверхностей оборудования.

Вид зависимости h(t) установлен для многих видов разрушения. При некоторых видах коррозии и изнашивания (трение, эрозионное) зависимость износа от времени линейная: h(t) = ho+C×t, где ho и С - постоянные величины для заданных условий. Некоторые другие виды зависимостей h(t) рассмотрены в приложении 2.

При прогнозировании в зависимости от срока эксплуатации оборудования применяют два подхода. При малом сроке эксплуатации (относительно нормативного) и незначительной поврежденности оборудования для прогнозирования его остаточного ресурса используют только информацию о нагруженности. При сроке эксплуатации близком к нормативному или значительной поврежденности элементов оборудования дополнительно исследуют степень поврежденности оборудования. Преимуществом первого подхода является его меньшая трудоемкость, второго - более точный прогноз, возможность выявления дополнительного резерва ресурса оборудования.

В зависимости от требуемой достоверности прогноза и возможностей получения информации применяют два подхода к прогнозированию: упрощенный, основанный на детерминистических оценках показателей, и уточненный, основанный на вероятностных оценках.

Черт. 1. Типовая схема прогнозирования долговечности оборудования:

t - продолжительность эксплуатации; h - величина повреждений.

При первом - отклонения контролируемых параметров относят к погрешностям методов контроля, случайным помехам и при прогнозировании остаточного ресурса в расчетах учитывают с помощью коэффициентов запасов. При втором подходе колебания наблюдаемых параметров используют в качестве дополнительной информации, что позволяет повысить достоверность прогнозирования.

В методике детерминистические методы выделены в отдельную группу (раздел 3), а вероятностные методы изложены в разделах 4-6.

1.3. Анализ условий эксплуатации

Анализ условий эксплуатации проводят с целью определения возможности достоверного прогнозирования остаточного ресурса оборудования, выявления наиболее информативных параметров и источников получения исходных данных, необходимых для расчета.

Возможность прогнозирования остаточного ресурса оборудования имеется в тех случаях, когда критерии предельного состояния оборудования определены в численных значениях, и в ходе эксплуатации оборудования ведутся измерения (периодические или непрерывные) и регистрация параметров, (ПТС), определяющих предельное состояние.

Примеры возможности прогнозирования остаточного ресурса.

1. Предельным состоянием аппарата, работающего с коррозионно-активной средой, является уменьшение толщины его стенок до расчетной величины (Smin). При эксплуатации периодически осуществляет контроль толщины стенок.

2. Предельным состоянием теплообменника является ухудшение теплообмена из-за отложений на трубах, выражающееся в снижении температуры на выходе нагреваемого продукта до предельно допустимой температуры (Tmin) При эксплуатации ведется непрерывный контроль с записью на ленту температуры на выходе из аппарата.

Информативными параметрами для прогнозирования остаточного ресурса химического и нефтяного оборудования могут быть величины возникающих повреждений (глубина коррозии, величина эрозионного или механического износа, деформации ползучести);

параметры сопутствующих процессов (уровни вибрации агрегатов, величины утечек в уплотнениях, температура узлов трения и др.);

технологические параметры (давление, температура, расход продукта, реагентов);

показатели качества и эффективности функционирования оборудования (степень разделения, осветления, очистки, производительность, расход электроэнергии, к.п.д. и т.п.).

Большинство контролируемых технологических параметров нефтехимических процессов являются стационарными и немонотонными, так как подвергаются регулированию. Некоторые из них могут нести информацию об интенсивности деградации оборудования; в таких случаях при анализе записей параметров наблюдается их дрейф, т.е. постепенное смещение среднего значения. Если этот дрейф не устраняется регулированием технологического процесса и определены предельно допустимые уровни параметров, то такие параметры могут быть использованы для прогнозирования ресурса оборудования.

Поэтому прогнозированию должен предшествовать анализ случайных процессов, определяющих параметры технического состояния обследуемого оборудования. Для анализа случайных процессов существует большое число методов, зачастую достаточно сложных для лиц, не имеющих специальной математической подготовки; в качестве руководства можно использовать, например, работу [30]. Упрошенный анализ может быть выполнен в последовательности, изложенной в п. 6.2.

Для выбора наиболее информативных параметров составляют полный перечень предельных состояний оборудования и контролируемых параметров, связанных с каждым предельным состоянием. Затем из этого перечня исключают зависимые (вторичные) параметры, если при контроле основных параметров обеспечивается получение достоверных данных в достаточном объёме.

По результатам анализа определяют имеющиеся источники получения исходных данных для прогнозирования (вахтовые журналы, ведомости дефектов, контрольные карты, диаграммы и др.) или при их недостатке планируют специальные наблюдения за изменением эксплуатационных параметров.

2. ВИДЫ ПОВРЕЖДЕНИЙ, МЕТОДЫ ИХ ВЫЯВЛЕНИЯ

Методы прогнозирования остаточного ресурса оборудования различаются для разных видов повреждений. Разнообразие химического и нефтяного оборудования, условий его эксплуатации обуславливают большое разнообразие дефектов и повреждений, возникающих в оборудовании различных производств. Хотя все их невозможно охватить в одной методике, но для многих типов оборудования виды повреждений одинаковы и для прогнозирования их развития могут быть использованы типовые методы.

2.1. Характерные повреждения оборудования, закономерности их развития

Виды повреждений являются характерными для двух групп оборудования: машин и агрегатов (т.е. имеющих подвижные элементы) и сосудов и аппаратов

Повреждения сосудов могут быть вызваны эрозионным истиранием стенок рабочей средой, коррозией металла, усталостью, ползучестью, изменением механических свойств металла и другими причинами. Возможны также повреждения, вызванные нарушениями норм конструирования и изготовления. В сосудах, работающих в водород-содержащих средах, под действием водорода, повышенных температуре и давления может возникнуть водородная коррозия металла.

Повреждение сосудов и аппаратов чаще всего вызывается совместным действием различных факторов, поэтому прогнозирование их надежности производят на основе всестороннего анализа их работы.

Наиболее часто встречаемыми повреждениями поверхностей нагрева являются свищи, отдулины, трещины и разрывы трубных элементов, которые могут быть вызваны различными причинами (вследствие отложений, загрязнений внутренних поверхностей, неравномерности температурного поля по сечению топки и газоходов и др.). Перегрев металла вызывает изменение его структуры, снижение механических свойств, повышенное окалинообразование.

Оценка работоспособности оборудования по результатам периодических обследований обычно осуществляется путем выявления возникших повреждений, определения их величины и сопоставления с предельно допустимыми значениями повреждений [22]. Выявленные дефекты относят к допустимым или недопустимым и принимают решение о возможности дальнейшей эксплуатации, необходимости ремонта оборудования или снятия его с эксплуатации. В табл. 1 приведены основные эксплуатационные дефекты оборудования, способы их выявления и возможность эксплуатации.

Таблица 1

Дефекты

Способ выявления

Допустимость эксплуатации

Трещины усталостные, термические, коррозионные и другие

Визуально-оптический, капиллярная и магнитно-порошковая дефектоскопия

Эксплуатация металла с трещинами не допускается*

Коррозионные повреждения

Визуально-оптический, толщинометрия

Эксплуатация возможна в зависимости от степени повреждений, допускаемых по условия прочности

Эрозионный, кавитационный износ

То же

То же

Деформация ползучести

Микрометрирование по реперам

-"-

* Примечание: в некоторых случаях после специальных исследований НИИхиммаш дает разрешения на дальнейшую эксплуатацию сосудов.

Методы выявления и измерений величины повреждений могут быть различными в зависимости от преобладающего характера разрушения оборудования в конкретных условиях. В табл. 2 приведена общая характеристика методов контроля повреждений оборудования, получивших наиболее широкое распространение.

2.2. Критерии предельных состояний оборудования

В соответствии с требованиями ГОСТ 27.002-В9 и ГОСТ 27.003-90 критерии отказов и предельных состояний должны устанавливаться в технических условиях (стандартах технических условий) с целью достоверного определения их технического состояния.

Критерии отказа - это совокупность признаков, характеризующих неработоспособное состояние изделия. Критерием предельного состояния является совокупность признаков, при которых использование по назначению должно быть прекращено (или невозможно) и изделие должно направляться в капитальный ремонт или списываться (сниматься с эксплуатации).

Предельным состоянием оборудования, подвергающегося при эксплуатации коррозионно-эрозионному разрушению, в соответствии с работой [22] является уменьшение толщины его стенок до предельной (расчетной) величины, ниже которой не обеспечивается необходимый запас его несущей способности.

Глубина отдельных локальных повреждений (исключая трещины) может значительно превышать среднюю глубину повреждений (вплоть до сквозного разрушения) и не нарушать несущей способности аппарата. Допустимое количество (доля) повреждений на поверхности аппаратов и их размеры должны регламентироваться в зависимости от характера нагрузки на элементы оборудования и свойств применяемых материалов

Например, для автоклавов [22] установлены следующие критерии предельного состояния (предельных дефектов):

механический износ (истирание), царапины, коррозионное поражение глубиной свыше величины, предусмотренной в расчете на прочность прибавкой толщины стенки на коррозию;

вмятины, овальность, износ запорных устройств свыше величин, указанных в "Положении о диагностировании";

трещины всех видов и направлений;

дефекты сварных швов свыше допустимых по ГОСТ 7512-82, в том числе единичные шлаковые и газовые включения глубиной свыше 10% и длиной более 20% толщины листа;

коррозионное растрескивание металла в зоне сварных швов, а также в местах коррозионных язв и питтингов

Из рассмотренных критериев видно, что критерии предельного состояния могут быть качественными (наличие трещин, вмятин, коррозионного растрескивания) и количественными (величина износа, коррозии и др.)

Так для трубопроводов определены [22] следующие количественные критерии:

износ толщины стенки не более 20%;

величина остаточной деформации труб

из углеродистых сталей не более 3,5%;

из легированных сталей не более 2,5%.

Примеры установления в нормативно-технической документации критериев отказов и предельных состояний приведены в приложении 1.

При отсутствии в технической документации КПС ориентировочными значениями КПС могут служить нормы технологических допусков на изготовление (например, из ОСТ 26-291-87), взятые с коэффициентом 1,5.

2.3. Методы выявления повреждений

Контроль технического состояния сосудов и аппаратов обычно осуществляют путем проведения комплексного обследования, включающего коррозионные исследования, ультразвуковую толщинометрию, ультразвуковую и цветную дефектоскопию, а также исследования прочности аппаратов с учетом выявленных дефектов. В случае необходимости используют также метод акустической эмиссии, позволяющий обнаруживать трещиноподобные развивающиеся дефекты и оценивать степень их опасности.

Наиболее применяемы, методы контроля повреждений оборудования приведены в табл. 2.

Таблица 2

Методы, используемые для контроля повреждений оборудования.

Методы контроля

Тех.средства

Достоинства

Недостатки

Визуально-оптический

Лупы, смотровые трубы, эндоскопы

Простота, возможность осмотра больших поверхностей, определения вида разрушения, участков повышенного износа.

Невысокая точность оценки величины повреждений.

По образцам-свидетелям

Устройства для извлечения образцов

Возможность измерения величины сплошной коррозии и иногда точечной.

Требует длительного контакта с коррозионной средой. Возможны ошибки.

Высверливание при обследовании

Мерительный инструмент

Высокая достоверность измерений

Необходимость последующего заглушения отверстий

Метод градуированных отверстий

Указатели появления среды через отверстия

Возможность наблюдения за скоростью разрушения.

Опасность применения при горячих и токсичных средах.

Микрометрический, по ГОСТ 9.908-85

Механические индикаторы с игольчатым щупом

Возможность измерения глубин отдельных каверн.

Погрешность измерения при наличии сплошной коррозии.

Профилографирование

Каверномеры, профилографы типа ЛИП-3, УИП-5.

Возможность точного измерения распределения повреждений, в т.ч. малых величин

Продукты коррозии могут искажать действительные результаты.

Методы измерение потенциала, электрического сопротивления

Коррозиметры, электроизмерительные приборы.

Возможность непрерывного контроля.

Измерение только усредненной по поверхности скорости коррозии.

Ошибки при появлении в среде примесей

По содержанию ионов железа.

Средства химического анализа.

Пробы отбираются при работающей установке.

Не позволяют оценивать глубину коррозионного поражения металла

Капиллярный (цветной и люминесцентный), ГОСТ 18442-80.

Пенетранты, сорбенты, люминофоры.

Высокая чувствительность при появлении трещин и пор, простота технологии и наглядность.

Необходимость высокой чистоты обработки поверхности, высокая трудоемкость и длительность процесса контроля

Магнитно-порошковый, ГОСТ 21105-87

Дефектоскопы, порошки и пасты.

Высокая чувствительность, производительность и достоверность при контроле трещин в ферромагнитных материалах.

Необходимость удаления покрытий и загрязнений с поверхности.

Металлографический, ГОСТ 1778-70, ГОСТ 6032-89

Металлографические микроскопы.

Возможность измерения поражений малой глубины.

Необходимость вырезки образцов и последующего восстановления поврежденного участка.

Ультразвуковая толщинометрия ГОСТ 20415-82, ГОСТ 14782-86.

Ультразвуковые толщиномеры типов УT, Кварц, ДМ и др.

Позволяет производить измерения толщины металла в процессе работы оборудования.

Коррозионные повреждения могут уменьшать чувствительность прибора.

Радиационная толщинометрия

Радиационный толщинометр ТОР-1 и др.

- " -

- " -

Акустическая эмиссия

Комплект аппаратуры с датчиками.

Возможность контроля интенсивности роста трещин.

Сложность аппаратуры, необходимость повышения давления аппарате до пробного.

3. МЕТОДЫ ПРОГНОЗИРОВАНИЯ ОСТАТОЧНОГО РЕСУРСА, ОСНОВАННЫЕ НА СТАНДАРТИЗОВАННЫХ НОРМАХ РАСЧЕТА

В основу методов, изложенных в данном разделе, положены зависимости ресурса оборудования от его наработки, установленные по конкретным видам деградационных процессов и введенные в государственные стандарты. Для прогнозирования остаточного ресурса оборудования этими методами необходимо установить, что является основной причиной потери работоспособности оборудования, определить фактические действующие на оборудование нагрузки (спектры нагрузок) и при соответствии условий эксплуатации требованиям стандартов выполнить расчеты по установленным стандартами зависимостям.

3.1. Прогнозирование остаточного ресурса при малоцикловых нагрузках

Стальные сосуды и аппараты, подвергающиеся при эксплуатации периодическим нагружениям, могут разрушаться от малоцикловой усталости металла. Поэтому в соответствии с требованиями ГОСТ 14249-89 они должны проверяться на циклическую прочность по ГОСТ 25859-83.

При эксплуатации реальных сосудов фактические действующие нагрузки и напряжения в их элементах отличаются от расчетных, причем в зонах концентрации напряжений или нарушения непрерывности возможно весьма значительное превышение допускаемых напряжений, определяемых по ГОСТ 14249-89. Кроме того, при эксплуатации сосудов возникают различные повреждения (см. раздел 2), которые создают дополнительные концентрации напряжений. Поэтому при оценке остаточного ресурса сосудов необходимо проведение исследования их напряженного состояния с учетом имеющихся концентраторов напряжений. Исследование выполняют расчетными, экспериментальными и расчетно-экспериментальными методами. Расчеты напряженного состояния выполняют с учетом фактической геометрии конструкции, фактических толщин несущих элементов и имеющихся концентраторов напряжений. При экспериментальных методах применяют натурное тензометрирование [34] в условиях эксплуатации, а также замеры температуры несущих конструкций оборудования путем термографирования, использования контактных термометров, термопар или пирометров.

На основе проведенного исследования выполняют расчеты допускаемого числа циклов нагружения [N] в соответствии с ГОСТ 25859-83 и определяют остаточный ресурс сосуда путем вычитания из [N] фактически отработанного числа циклов.

При наличии в элементах сосудов дефектов типа трещин применение для оценки остаточного ресурса ГОСТ 25859-83 не допускается. В таких случаях специализированными организациями, определенными "Правилами" [5] Госпроматомнадзора, используются специальные методы механики разрушения.

3.2. Методы прогнозирования остаточного ресурса составных частей машин

Для прогнозирования остаточного ресурса узлов и агрегатов машин, оборудования и приборов, отказы которых вызывают процессы накопления повреждений, рекомендуется использовать РД 50-490-84 "Методические указания. Техническая диагностика. Методика прогнозирования остаточного ресурса машин и деталей по косвенным параметрам".

В методических указаниях рассматриваются методы оценивания остаточного ресурса в условиях основных типовых ситуаций, возникающих в практике испытаний и эксплуатации, отличающихся объемом и видом исходной для обработки информации.

Методические указания предназначаются для специалистов испытательных лабораторий, эксплуатационных и ремонтных служб, занимающихся вопросами прогнозирования технического состояния, прогнозирования остаточного ресурса, сроков и объемов ремонта.

Среди параметров технического состояния (ПТС) различают прямые и косвенные параметры.

Прямой ПТС - это параметр технического состояния (ТС), непосредственно характеризующий конкретное свойство объема или его составной части - и определяющий его предельное состояние. Косвенный ПТС - это параметр ТС, связанный с прямым ПТС детерминированной или стохастической зависимостью, изменяющийся в результате изменения прямых ПТС.

Прогнозирование остаточного ресурса изделия по косвенным параметрам основано на одновременном выполнении условий:

известны физические процессы, приводящие к ресурсным отказам, а также математические модели изменения прямых (структурных) и косвенных (диагностических) параметров;

для каждого прямого ПТС установлены предельные значения, достижение которых определяет величину ресурса по данному параметру;

в процессе наблюдения за изменением технического состояния изделия имеется возможность фиксации параметров, отражающих индивидуальные особенности изделия;

имеется информация о функциональных или регрессионных соотношениях между прямыми и косвенными ПТС;

зависимость между математическими ожиданиями прямых и косвенных ПТС является монотонной и непрерывной.

Определение остаточного ресурса по косвенным ПТС сопровождается, в общем случае, тремя видами погрешностей:

погрешностями измерения косвенных параметров;

погрешностями, связанными со случайной природой физических процессов развития отказов, а также методическими погрешностями определения прямых ПТС по значениям косвенных.

В зависимости от того, какой информацией располагает исследователь относительно объекта, остаточный ресурс которого прогнозируется, в РД рассмотрены три группы типовых ситуаций.

Первая группа типовых ситуаций характеризуется наличием следующей информации:

известны вид функции F, определяющий связь между прямыми и косвенными параметрами, все коэффициенты и дисперсии этих коэффициентов;

имеются результаты периодических измерений каждого косвенного параметра.

Вторая группа типовых ситуаций характеризуется следующей информацией:

вид функции F известен, коэффициенты неизвестны;

имеются результаты периодических измерений косвенных параметров, а также результаты обучающего эксперимента, в процессе которого производится одновременное измерение пряных и косвенных ПТС.

Третья группа типовых ситуаций характеризуется следующей информацией:

функция F монотонна и непрерывна (общий вид неизвестен);

имеются результаты обучающего эксперимента.

В РД приведены соотношения для расчета остаточного ресурса и его дисперсии для указанных групп типовых ситуаций в общем виде.

Дисперсия оценки остаточного ресурса представлена в виде суммы трех слагаемых: погрешности измерений, погрешности определения коэффициентов функции F и дисперсии случайного изменения приращений контролируемых параметров.

Использование приведенных в РД соотношений затрудняется необходимостью большого объема предварительных исследовании для установления исходных данных. Наиболее доступным для практического использования является метод, основанный на степенной аппроксимации изменения ПТС, включенным также в ГОСТ 27.302-86 для прогнозирования процессов изнашивания и других монотонных процессов ухудшения технического состояния объектов.

Изложенный в ГОСТ 27.302-86 метод оценки остаточного ресурса предназначен для прогнозирования процессов изнашивания и других монотонных процессов ухудшения технического состояния узлов и агрегатов машин, оборудования и приборов.

Математическое описание процесса изменения параметра технического состояния Y(t) (после приработки) основано на аппроксимации каждой реализации данного процесса случайной функцией следующего вида:

                                                   (1)

где К - случайное для группы одноименных составных частей, но неизменное для каждой реализации случайного процесса значение показателя скорости изменения параметра;

a - показатель степени аппроксимирующей функции, характеризующий конструктивные особенности составной части;

z(t) - нормальный стационарный случайный процесс отклонений фактических значений параметра от аппроксимирующей степенной функции каждой реализации процесса Y(t).

Статистические характеристики случайного процесса z(t) при t>0,3 Тср следующие:

                                           (2)

Средний остаточный ресурс составной части вычисляют на основе информации об изменении параметра ее технического состояния Yк и о наработке tк к моменту контроля по приближенной формуле:

.                                                   (3)

При s< 0,03 Yп можно не учитывать поправочный коэффициент Kt.

Точно условный средний остаточный ресурс определяют по формуле

                                               (4)

где Q[п. tocт/Y(tr) = Yк] - условная вероятность отказа (условие состоит в том, что в момент tк значение отклонения параметра составляет Yк).

Для определения остаточного ресурса с заданной вероятностью безотказной работы и оптимального остаточного ресурса используют уравнения, куда входит условная вероятность отказа Q(tocт/Y(tк), являющаяся функцией условного распределения остаточного ресурса.

Для практических вычислений рекомендуется рассчитать таблицы и номограммы остаточного ресурса. Пример такой таблицы, где значения остаточного ресурса нормированы в единицах межконтрольной наработки, приведен в Государственном Стандарте.

Необходимую точность оценки рекомендуемый метод обеспечивает в том случае, если изменение параметра технического состояния к моменту контроля составляет не менее половины предельного отклонения параметра Yп и при соблюдении условия tocт<0,5 tк.

При выполнении всех приведенных условий погрешность рекомендуемого метода прогнозирования не превышает 8-9%.

3.3. Оценка остаточного ресурса по изменениям контролируемого параметра

В тех случаях, когда показатели назначения оборудования монотонно изменяются по времени (наработке), а дисперсия показателей не изменяется, для прогнозирования остаточного ресурса может быть использован метод, изложенный в ГОСТ 23942-80.

Правила стандарта разработаны для линейного:

Y(t) = С1+ C2t,

квадратического

Y(t) = С1 + C2t + C3t                                                       (5)

и экспоненциального законов изменения показателя назначения

Y(t) = exp {C1+ C2t},                                                     (6)

где С1, С2, С3 - неизвестные коэффициенты,

t = ti - t0, t³0,

t0³0 - начальное значение наработки изделия.

Для использования метода, рекомендованного в ГОСТе необходимо убедиться в том, что изменение контролируемого параметра подчиняется одному из законов (4-6), а его дисперсия не изменятся с увеличением наработки изделия (см. раздел 6).

Показатель назначения оценивают по измеренным значениям контролируемого параметра

Yi = F(ti)+Di; i = 1,..., N;                                                     (7)

где ti - значение наработки в i-й момент измерения

tc£t1£t2££tN,

Di - неограниченная случайная величина с дисперсией D, симметрично распределенная относительно математического ожидания, равного нулю, либо симметрично распределенная, ограниченная случайная величина, для которой при всех значениях наработки выполняется условие

-D £ D(t) £D, 0 < D < ¥.

Число измерений N выбирают из условия:

N > 2 m,

где m - количество неизвестных коэффициентов закона изменения параметра, Рекомендуется выбирать N³11.

Моменты измерения ti выбирают таким образом, чтобы случайные величины Di были практически независимыми.

Теоретической основой ГОСТ 23942-80 является оценка соответствующих показателей на базе общеизвестного метода наименьших квадратов.

При линейном законе изменения параметра рекомендуется следующий порядок прогнозирования.

1. Проводят N измерений Yi (i=1, 2, ..., N) контролируемого параметра в определенные моменты времени ti.

2. Вычисляют величины

где через S обозначают сумму по i от 1 до N.

3. Вычисляют точечные оценки коэффициентов закона (4):

С1 = Y1×D11×+Y2×D21; С2 = Y1×D12+Y2×D22.

4. Вычисляют оценку среднего квадратического отклонения параметра

где S=S(Yi - С1 - C2×ti)2.

5. Вычисляют средние квадратические отклонения коэффициентов С1 и С2:

6. Вычисляют гарантированные оценки коэффициентов

Cj = Cj ± K×sj (j = 1; 2),

где (+) берется при возрастающем параметре, (-) - при убывающем;

К = 1,282 (при g= 0,9); 1,6459(g= 0,95); 2,326(g= 0,99);

g - доверительная вероятность.

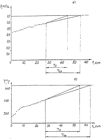
7. Вычисляют средний (ожидаемый) ресурс

Тср = (Yп - C1)/C2 - tк

где tк - наработка на момент последнего контроля.

8. Вычисляют гарантированный остаточный ресурс

Тg = (Yп - C1)/C2 - tк.

Пример прогнозирования остаточного ресурса изложенным методом приведен в приложении 1

Виды функциональных зависимостей, их графика и формулы для определения коэффициентов уравнений, отличающихся от (4) - (6) могут быть взяты из справочника [27] или табл. 6.

4. МЕТОДЫ ПОВЫШЕНИЯ ИНФОРМАТИВНОСТИ КОНТРОЛЯ ТЕХНИЧЕСКОГО СОСТОЯНИЯ ОБОРУДОВАНИЯ

Уточненные методы прогнозирования остаточного ресурса основаны на учете размеров дефектов и повреждений, возникших в элементах оборудования. Поэтому от точности и достоверности определения этих размеров зависят точность и достоверность прогноза. Поскольку сплошной контроль элементов сосудов всеми методами выполнить удается редко (из-за больших поверхностей аппаратов), применяют выборочный контроль и оценку поврежденности по наибольшим размерам выявленных дефектов; чтобы при этом не возникало большой ошибки необходимо применение статистических методов.

4.1. Оценка предельных размеров повреждений статистическими методами

Достоверность контроля, характеризующая степень соответствия его результатов фактическому техническому состоянию объекта, определяется двумя показателями: точностью и доверительной вероятностью. Точность измерения указывают в виде доверительного интервала (например, для толщины стенки 20±2 мм) или односторонней доверительной границы (например, минимальная толщина стенки - 18 мм). Доверительную вероятность, т.е. вероятность нахождения фактического размера внутри доверительного интервала, стандарты по измерениям рекомендуют указывать в зависимости от ответственности контроля, но не ниже 0,95. При обычном уровне контроля доверительную вероятность не определяют, в основном, из-за недостаточной методической подготовки и квалификации персонала, проводящего обследование.

Источники погрешностей при измерениях можно подразделить на объективные и субъективные. Субъективными являются погрешности, обусловленные действиями конкретного оператора (его квалификацией, физико-психическими данными, состоянием здоровья и др.). Объективными источниками являются погрешности метода и средств измерений, а также статистические отклонения, обусловленные выборочным контролем показателей, имеющих разброс (рассеяние).

Например, при измерении толщины стенок портативными ультразвуковыми толщиномерами типа Кварц-15, УТ-93П техническая погрешность измерений составляет 0,1-0,2 мм, что не оказывает существенного влияния на точность контроля остаточной толщины стенок аппаратов. Более высокую погрешность обуславливает разброс толщины стенок, присущий листовому прокату, из которого изготовляют аппараты. Допуск на отклонения толщины листов проката достигает 5% от номинального размера и при толщинах более 20 мм отклонения могут достигать 1 мм.

Но самый большой вклад в разброс результатов измерений вносит действительное различие толщины стенок из-за неравномерности их коррозии. Это различие часто бывает вызвано различием условий нагружения различных участков поверхностей (различием концентраций агрессивных компонентов, температур, скоростей потоков, механических напряжений и др.), а также стохастическими свойствами процесса коррозии.

Участки, подвергающиеся повышенным нагрузкам и коррозии обычно известны, определяются по конструктивным признакам и по результатам внутреннего осмотра аппаратов. Именно такие участки и подвергают более тщательному контролю. Однако и на участках находящихся в одинаковых условиях нагружения, наблюдаются различия в глубине проникновения коррозии [23].

При традиционной схеме на карте контроля точки для измерения толщин распределяют равномерно по поверхности аппарата.

На каждое днище, царгу или отдельный лист (на развертке) планируют по несколько замеров (обычно не менее 4), число которых увеличивают пропорционально площади контролируемой поверхности. После измерений определяют минимальную толщину стенки и сравнивают ее с расчетной. Если разность положительна, то считают аппарат пригодным для дальнейшей эксплуатации, в противном случае аппарат бракуют. Поскольку измерения осуществляют выборочно (в намеченных точках), то при описанном методе минимальная из измеренных толщин может оказаться существенно больше, чем фактическая минимальная, имеющаяся на аппарате. Достоверность контроля при этом остается неопределенной, если учитывать размеры поверхности аппарата.

При планировании измерений возникает вопрос о необходимом и достаточном числе измерений "n"; чем больше "n", тем выше достоверность контроля, но тем выше и его трудоемкость. Рассмотрим предельные случаи. При сплошном контроле, т.е. когда измеряют толщину стенок на всех элементарных участках, глубина коррозии на которых не зависит от соседних участков, минимальная толщина стенки может быть определена со 100% доверительной вероятностью. При величинах S, порядка 10-100 см2 сплошной контроль практически возможен только для небольших участков поверхности аппарата. Другой предельный случай - единственное измерение на контролируемом участке, т.е. n=1. Такие случаи возможны и имеют место в практике обследования для отдельных участков поверхности аппаратов. При этом достоверность контроля может быть достаточно высокой, если известна мера разброса толщины стенки, то есть коэффициент вариации глубин коррозии, Vh. При сплошной коррозии величина Vh обычно находится в интервале 0,1 - 0,4. При известном значении Vh соответствующем нижней границе этого интервала, величина возможного отклонения от измеренной однократно глубины коррозии (30-50%) может быть вполне приемлемой для потребностей практики (см. табл. 3).

Таблица 3

Возможное превышение измеренной глубины коррозии (в %) на поверхности площадью s=m×sc при уровне доверительной вероятности 0,99.

M = S/Sc

Vh

0,1

0,2

0,3

0,4

2

29,4

70,2

130

232

10

36,7

90,7

175

329

100

41,7

105

209

408

1000

45,1

116

234

468

10000

47,9

125

256

521

Как видно из таблицы с увеличением неравномерности коррозии (с увеличением Vh) возможные отклонения (ошибки) быстро возрастают. Поэтому при обследовании аппаратов важно возможно точнее оценить величину Vh. Ориентировочную оценку осуществляют при внутреннем осмотре коррозионного состояния аппарата, а уточненную оценку получают путем статистической обработки результатов измерений. При этом одним из возможных вариантов планов контроля может быть не равномерное распределение точек измерений по поверхности аппарата, а сосредоточение наибольшего числа измерений (10-20) на одном участке (например, на участке максимального нагружения), а на остальных участках ограничиться 1-2 измерениями. Такой план контроля позволяет более точно оценить величину Vh и избежать ненужной работы.

При необходимости более точной оценки остаточной толщины стенки на каком-либо участке поверхности аппарата число измерений "n" увеличивают, имея ввиду, что уменьшение ошибки контроля пропорционально .

4.2. Планирование минимально необходимого объема контроля

Повышение достоверности оценки надежности оборудования всегда желательно, но оно связано с увеличением объема (следовательно, и трудоемкости) получения исходной информации (увеличение числа измерений, частоты обследований). Поэтому уровень достоверности обычно определяется в зависимости от последствий неточности оценки; возникновения организационных неудобств (например, изменение сроков проведения ремонтов); экономических потерь от отказов, возникновения угрозы безопасности при эксплуатации.

Требования к точности и достоверности оценки надежности оборудования должны задаваться в технической документации на оборудование. При отсутствии со стороны заказчика специальных требований по достоверности оценки в соответствии с РД 50-690-89 уровень доверительной вероятности принимается равным 0,8.

Выбор необходимого числа наблюдений (измерений) для оценки показателей надежности регламентирован для различных уровней достоверности и разных законов распределения. С учетом установленного вида закона распределения (Вейбулла) и области возможных значений коэффициентов вариации глубин разрушения подготовлены следующие рекомендации по выбору числа измерений. Минимальное необходимое число N точек на поверхности для измерений следует выбирать в зависимости от степени неравномерности разрушения, характеризующейся коэффициентом вариации глубин разрушения Vh (табл. 4). Доверительную вероятность g выбирают из ряда 0,8; 0,9; 0,95; 0,99. Максимальную допустимую относительную ошибку выбирают из ряда 0,05; 0,1; 0,15; 0,2. Предварительно величина коэффициента вариации Vh может быть ориентировочно выбрана в следующих интервалах: при квазиравномерном сплошном разрушении (коррозии, эрозии) до 0,2; при неравномерной сплошной коррозии 0,3-0,6; при наличии локальных разрушений (каверн, язв, питтингов) свыше 0,6.

Таблица 4

Минимальное число N точек для измерений

S

g

N при Vh

0,1

0,2

0,3

0,4

0,6

0,8

1

0,05

0,8

4

13

25

50

100

200

315

0,9

8

25

65

100

250

500

650

0,95

13

40

100

150

400

650

1000

0,99

25

100

200

315

800

1000

>1000

0,1

0,8

<3

5

10

13

32

50

100

0,9

3

8

15

32

65

125

200

0,95

5

13

25

50

100

200

400

0,99

8

25

50

100

200

400

650

0,15

0,8

<3

3

5

6

15

25

40

0,9

<3

4

8

15

32

65

80

0,95

3

6

13

25

50

100

150

0,99

5

13

25

40

100

200

315

0,2

0,8

<3

<3

3

5

10

20

25

0,9

<3

4

6

10

20

40

50

0,95

<3

5

8

15

32

50

100

0,99

4

8

15

25

65

125

150

После выполнения измерений следует вычислить по формуле (14) фактический коэффициент вариации, и в случае, если он окажется больше предварительно выбранного, выполнить дополнительные измерения в соответствии с рекомендациями табл. 4. При наличии в выборке резко выделяющихся значений на участках, где они были получены, следует выполнить дополнительные измерения. При повторном появлении такого же результата данный участок следует рассматривать отдельно от других, так как повышенная глубина разрушений на нем, по-видимому, вызвана конструктивно-технологическими причинами. Критерием резкого выделения значения из выборки может служить выполнение условия h>hr, где hr определяется по формуле, приведенной далее.

4.3. Сокращение объема контроля за счет использования распределения экстремальных значений

Для эффективного выборочного контроля необходимо применение статистических методов, основанных на использовании информации о законах распределения дефектов по поверхности (или объему) оборудования. Такой подход обеспечивает оценку надежности оборудования с требуемой достоверностью. Необходимое (и достаточное) число измерений дефектов, распределенных по поверхности оборудования, при контроле можно резко (на порядок) сократить, если использовать для оценки закон распределения экстремальных значений.

Задача оценки надежности оборудования при возникновении на его поверхности распределенных дефектов (коррозионных повреждений) сводится к оценке вероятности появления дефекта предельно допустимой величины или определенной доли (%) дефектов на поверхности металла. Поскольку сплошное обследование всей поверхности оборудования площадью в десятки и сотни квадратных метров не представляется возможным, прибегают к выборочным измерениям глубины проникновения коррозии и последующей аппроксимации распределения некоторым теоретическим законом. В работе [23] показано, что распределение глубин коррозионных повреждений при отсутствии дополнительных воздействующих факторов должно подчиняться распределению Вейбулла.

В некоторых публикациях распределение повреждений описывают нормальным или логарифмически-нормальным законом. Однако чаше исследователи описывают распределение глубин проникновения коррозии законом экстремальных значений (двойным экспоненциальным). Такому закону подчиняется распределение максимальной величины из n значений, распределенных по закону с затухающей плотностью распределения (нормальному, логарифмически-нормальному, гамма, Вейбулла и др.). Функция этого распределения имеет следующий вид:

                                         (9)

где an - параметр интенсивности (размерность обратна размерности х);

un - характеристическое наибольшее значение величины х;

Параметры распределения можно определить из следующих соотношений:

                                                    (10)

где  - математическое ожидание максимальной величины хn;

w=0,57721... - постоянная Эйлера;

sn - среднее квадратическое отклонение хn.

Использование данного распределения для оценки поврежденности оборудования возможно следующим образом. На нескольких случайно выбранных участках оборудования площадь, F (со средним числом дефектов ³102) измерить максимальные величины дефектов х; затем определить х и по формулам (10) найти параметры распределения.

Далее по формуле (9) определяют вероятность отсутствия на произвольном участке F дефектов размером более х. Вероятность отсутствия таких дефектов на всей поверхности оборудования площадью F:

.                                                       (11)

При необходимости определения максимального вероятного размера дефекта х задают допустимую вероятность (риск) наличия такого дефекта 1 - ФF(х) и вычисляют х по формулам (11) и (10) в обратном порядке.

Необходимо также отметить, что индивидуальная оценка надежности оборудования путем сплошного контроля дефектов и повреждений, возникших на его поверхностях, очень трудоемка, а иногда и невозможна из-за недоступности отдельных участков оборудования, причем 100%-ный контроль не гарантирует выявления всех дефектов. Доля случайности при применении даже наилучших современных методов дефектоскопии все еще велика и надежности обнаружения даже больших коварных трещин составляет лишь около 80% при высокой вероятности необнаружения этих же трещин во время второй проверки [8].

Как видно из табл. 4, при высокой требуемой достоверности оценки и малой величине допустимой ошибки требуется большое число измерений. Было отмечено, что необходимое число измерений можно резко сократить, используя зависимость (11), если есть возможность измерений максимальных глубин на участках определенной площади. Такая возможность появляется при выраженной неравномерности разрушений, когда повреждения максимальной глубины выявляются уже при внешнем осмотре. В этом случае необходимо определить площадь поверхности S0, приходящуюся на одно независимое измерение (на одну каверну, питтинг) и площадь поверхности S1 охватываемую однократным осмотром (обычно величина S1 составляет 1 - 10 дм2). По величине отношения S1/S0 определяется ориентировочный коэффициент вариации максимальных глубин Vh (табл. 5).

Таблица 5

Определение коэффициента Vh

S1/S0

10

102

103

104

Vh

0,3

0,2

0,15

0,1

Затем по табл. 5 определяется необходимое число точек N для измерения максимальных глубин. После выполнения измерений вычисляют фактическое Vh и при необходимости уточняют N. Далее по графикам (рис. 2) определяют значение коэффициента вариации полного распределения глубин разрушения, принимая M=S1/S0. Значение средней глубины разрушения h может быть определено по величине среднего значения измеренных максимальных глубин h с использованием графиков (рис. 3).

Для этого от значения M=S1/S0 восстанавливается перпендикуляр до пересечения с кривой, соответствующей, определенному значению Vh, и по точке пересечения определяют на оси ординат значение Ehmax= hmax/h, по которому вычисляют h.

Например, при обследовании аппарата на одной из его поверхностей площадью 5 м2 обнаружена сплошная питтинговая коррозия. Для оценки его работоспособности необходимо определить максимальную глубину питтингов на поверхности аппарата. Среднее число питтингов на единицу поверхности составило 100 1/дм2. Оптимальная величина участка S1 на которой визуально выявляется питтинг максимальной глубины, составляет 100´100 мм2, т.е. 1 дм2. Сплошной контроль обусловил бы необходимость осмотра и измерения 500 таких участков, что потребовало бы большого труда. Поэтому принято решение об оценке максимальной глубины питтингов выборочным методом с доверительной вероятностью 0,9 при ошибке не более 10.

РЕШЕНИЕ:

1. Определяется средняя площадь поверхности, приходящаяся на 1 питтинг:

S0=1/100=0,01 дм2.

2. Определяется величина M =S1/S0= 1/0,01 =100.

3. По табл. 5 определяется ориентировочное значение коэффициента вариации максимальных глубин Vmax =0,2.

4. По табл. 4 определяется для заданных значений g=0,9;

d=0,1, необходимое число измерений N=8.

5. В результате измерения максимальных глубин на 8 участках получены следующие значения (мм): 1,5; 1,2; 1,1; 1,7; 1,4; 1,8; 1,3 и 1,5.

6. По формулам (12-14) определяется среднее значение максимального питтинга и его коэффициент вариации:

                                            (12)

                                (13)

                                               (14)

Полученное значение Vhmax не превышает предварительно выбранного (0,2), поэтому достоверность результатов не будет ниже заданной.

7. Наносится точка с координатами М=100; Vh =0,17 на сетку координат (см. рис .2.). Точка попадает на кривую, которая берет начало (при М=1) от значения V=0,7. Следовательно, коэффициент вариации полного распределения глубин питтингов равен 0,7.

Рис. 2

Рис. 3

8. По рис. 3 на пересечении кривой 0,7 с абсциссой М=100 находится значение Ehmax=3. Определяется значение средней глубины питтингов:

9. По той же кривой находится значение Eh =5,1, соответствующее значению M =S/S0=500/0,01=5×104 (где S - площадь поверхности аппарата, пораженной питтингом).

Определяется вероятная максимальная глубина питтинга на поверхности S = 5 м2:

Для сравнения находится по табл. 4. необходимое число измерений глубин питтингов, если максимальные значения на участках визуально не выявляются. В этом случае (при найденной V = 0,7) для обеспечения той же достоверности (g=0,9; d=0,1) потребовалось бы около 100 измерений т.е. на порядок больше.

5. ПРОГНОЗИРОВАНИЕ ОСТАТОЧНОГО РЕСУРСА ОБОРУДОВАНИЯ ПО РАЗВИТИЮ КОРРОЗИОННЫХ ПОВРЕЖДЕНИЙ

5.1. Порядок прогнозирования

5.1.1. Прогнозирование остаточного ресурса осуществляется путем проведения периодических обследований оборудования, измерения глубин проникновения коррозии на его стенках, статистической обработки результатов измерений и последующего расчета остаточного среднего и гарантированного ресурса.

5.1.2. При обследованиях должно быть установлено отсутствие коррозионного растрескивания, локальных видов коррозии (питтинга, щелевой, межкристаллитной), усиленной коррозии металла швов, зоны термического влияния и других видов локальной коррозии оборудования, недопустимых при его эксплуатации, и наличие только сплошной коррозии, коррозии пятнами или коррозионно-эрозионного разрушения поверхностей оборудования.

При незначительной степени коррозии стенок аппаратов, соизмеримой с погрешностью метода измерений, оценка остаточного ресурса по критерию коррозионной стойкости может быть выполнена путем промышленных испытаний образцов, проводимых по специальным методикам

5.1.3. При обследованиях должны быть определены площадь поверхности оборудования, подвергшейся коррозии, площадь поверхности, приходящейся на одно независимое измерение (глубины коррозии или остаточной толщины стенки), степень неравномерности коррозии и необходимое число измерений (N). После измерений в N точках, равномерно распределенных по поверхности, осуществляются статистическая обработка результатов измерений (в соответствии с разделом 5.2) и оценка остаточного ресурса (в соответствии с разделом 5.3).

5.1.4. Целью статистической обработки результатов измерений являются определение параметров функция распределения глубин коррозии и оценка с требуемой достоверностью максимальной глубины коррозии стенок или покрытий обследуемого оборудования при минимальном объеме измерений.

5.1.5. Методы статистической обработки результатов измерений глубин коррозии поверхностей следует применять для оценки степени коррозии больших поверхностей оборудования, находящихся в одинаковых условиях эксплуатации и коррозии, когда невозможно (или нецелесообразно) измерить глубину коррозии на всех участках обследуемой поверхности и измерения осуществляют выборочно. Для участков поверхности, находящихся в существенно различных условиях эксплуатации и коррозии (местные перегревы, повышенные скорости технологической среды и т.п.) применение статистических методов нецелесообразно, т.к. неравномерность коррозии будет определяться, главным образом, различием этих условий.

5.2. Методы обработки результатов измерений.

5.2.1. Статистическая обработка результатов измерений включает:

определение минимального необходимого числа измерений (объема выборки);

оценку однородности полученной выборки;

определение коэффициента вариации и параметров распределения глубин коррозии;

определение максимальной глубины коррозии с учётом масштаба поверхности.

5.2.2. Выбор необходимого минимального числа точек поверхности для измерений следует осуществлять в соответствии с РД 50-690-89 по табл. 4, в зависимости от требуемой доверительной вероятности оценки g, допустимой ошибки D и степени неравномерности разрушения поверхности, характеризующейся коэффициентом вариации глубин коррозии V.

Величина коэффициента вариации V ориентировочно может быть выбрана:

при малой неравномерности коррозии до 0,2

при значительной                - " -                        0,3-0,5

при сильной                          - " -                        свыше 0,5

Доверительную вероятность g выбирают из ряда 0,80; 0,90; 0,95; 0,99.

Максимальную допустимую относительную ошибку выбирают из ряда 0,05; 0,10; 0,15; 0,20.

Если по результатам N измерений получен коэффициент вариации V больше заданного, то объем измерений уточняют в соответствии с табл. 4 и выполняют дополнительные измерения.

5.2.3. Оценка однородности данных.

Поскольку различные участки поверхности оборудования при эксплуатации могут подвергаться различной интенсивности повреждающих воздействий, то полученные данные необходимо проверять на однородность. Для этого выборку разделяют на две, соответствующие сравниваемым участкам поверхности аппарата. Проверку осуществляют по критерию Стьюдента по формуле:

                                                          (15)

где  - средние глубины коррозии образцов на первом и втором участках поверхности;

n1, n2 - число точек измерений на первом к втором участках;

S - объединенная оценка среднего квадратического отклонения, вычисляемая по формуле:

                                                  (16)

в которой S1, S2 - оценки среднеквадратических отклонений глубины коррозии на первом и втором участках;

                                                 (17)

где D - предельная ошибка метода измерений; при определении глубины коррозии по остаточной толщине стенки в эту ошибку входят отклонения в пределах допуска толщины проката металла;

tт - табличное значение критерия Стьюдента.

В случае выполнения условия (15) различие в глубине коррозии образцов на первом и втором участках не является статистически значимым и результаты испытаний могут быть объединены в одну выборку, что позволяет повысить точность оценки скорости коррозии стенок аппарата. При невыполнении условия (16) ресурс рассматриваемых участков определяют раздельно.

5.2.4. Определение коэффициента вариации глубин коррозии по поверхности, V, осуществляют по формуле:

.                                                               (18)

Уточняют N в соответствии с п.5.2.2.

5.2.5. Определение параметров распределения глубин коррозии.

Параметры распределения определяются для функции Вейбулла:

,

где а - параметр масштаба:

b - параметр формы.

Таблица 6

Взаимосвязь параметров b, kв и V распределения Вейбулла

b

kв

V

b

kв

V

0,8

1,133

1,261

3,1

0,894

0,353

0,9

1,052

1,113

3,2

0,896

0,343

1

1

1

3,3

0,897

0,334

1,1

0,965

0,91

3,4

0,898

0,325

1,2

0,941

0,837

3,5

0,9

0,316

1,3

0,924

0,775

3,6

0,901

0,309

1,4

0,911

0,723

3,7

0,902

0,301

1,5

0,903

0,679

3,8

0,904

0,294

1,6

0,897

0,64

3,9

0,905

0,287

1,7

0,892

0,605

4

0,906

0,281

1,8

0,889

0,575

4

0,913

0,253

1,9

0,887

0,547

5

0,918

0,23

2

0,886

0,523

6

0,928

0,194

2,1

0,886

0,5

7

0,935

0,168

2,2

0,886

0,48

8

0,942

0,148

2,3

0,886

0,461

9

0,947

0,133

2,4

0,887

0,444

10

0,951

0,12

2,5

0,887

0,428

12

0,958

0,101

2,6

0,888

0,413

14

0,964

0,087

2,7

0,889

0,393

16

0,969

0,077

2,8

0,89

0,386

18

0,971

0,069

2,9

0,892

0,375

20

0,974

0,0625

3

0,893

0,363

25

0,978

0,051

Параметр масштаба "а" определяется по средней глубине разрушения:

где kв - коэффициент, зависящий от V, определяется по табл. 6.

Параметр формы "b" определяется по коэффициенту вариации V по табл. 6.

5.2.6. Определение максимальной глубины коррозии на обследуемой поверхности.

Максимальная глубина коррозии при возможности измерения на всех участках обследуемой поверхности определяется путем непосредственного измерения.

При выборочном измерении глубин коррозии на отдельных участках поверхности максимальную вероятную глубину коррозии на всей поверхности, подлежащей обследованию, определяют расчетом по формуле:

где g - требуемая достоверность оценки;

m=s/s0 - показатель масштаба;

S - площадь поверхности, подлежащей обследованию;

S0 - площадь поверхности, приходящаяся на одно независимое измерение.

Величина S0 определяется по среднему числу "n" каверн (язв, перегибов профиля поверхности), приходящихся на единицу поверхности, S0=1/n.

Глубину коррозии (hb) на доле поверхности b определяют по формуле:

5.3. Прогнозирование ресурса оборудования.

Прогнозирование ресурса осуществляют по параметрам распределения глубин коррозии, приведенным к заданному моменту времени (экстраполяцией по времени), предельно допустимой глубине проникновения коррозии h и допустимой доле поражения поверхности на предельную глубину.

Параметры распределения глубин коррозии для заданного момента времени t определяются в соответствии с п. 5.2., причем значение средней глубины коррозии ht определяется по функции h(t), а коэффициент вариации Vt - по формуле:

                                                      (19)

где V - коэффициент вариации, соответствующий средней глубине коррозии ; при Vt<0,05 принимается Vt=0,05.

Расчёт среднего ресурса (срока службы) при нелинейности функции h(t) осуществляют путем решения относительно t уравнения

,                                                   (20)

в котором b и k определяют по табл. 5 в зависимости от Vt.

При линейности функции h(t) средний ресурс определяют по формуле:

                                               (21)

где С - средняя скорость коррозии; .

Расчет гарантированного ресурса (срока службы) осуществляют по формуле

Тgср(1-UgVt)                                                        (22)

где Ug - квантиль нормального распределения (см. п. 6.2).

Остаточные средний и гарантированный ресурс определяют вычитанием из вычисленного среднего или гарантированного ресурса наработки аппарата на момент контроля.

Пример оценки ресурса оборудования положенным методом приведен в приложении 2

6. ОЦЕНКА ОСТАТОЧНОГО РЕСУРСА ТЕХНОЛОГИЧЕСКОГО ОБОРУДОВАНИЯ ПО ИЗМЕНЕНИЮ ЕГО ВЫХОДНЫХ ПАРАМЕТРОВ

Большая часть механических и технологических отказов проявляется постепенно в изменении одного или нескольких выходных параметров (поэтому их называют параметрическими). Контролируемыми параметрами могут быть как непосредственно измеряемые величины повреждений (глубина коррозии стенок, износ детали), технологические параметры (температура, давление и т.п.), так и выходные параметры оборудования [производительность, коэффициент полезного действия, степень разделения (осветления, очистки) и другие количественные показатели качества продукта], параметры вибрации, шума, величина утечки среды через уплотнения и т.д. Контролируя изменение этих параметров, можно по мере приближения их значений к предельно допустимым прогнозировать момент наступления следующего отказа. Некоторые методы прогнозирования по этому принципу стандартизованы. Например, ГОСТ 23942-80 устанавливает правила оценки показателей качества и гарантированной наработки изделий, выходные параметры которых монотонно изменяются с увеличением наработки (см. раздел 3.4). Изложенный в ГОСТ 27.302-86 метод оценки остаточного ресурса предназначен для прогнозирования процессов изнашивания и других монотонных процессов ухудшения технического состояния узлов и агрегатов машин, оборудования и приборов (см. раздел 3.3).

Применение указанных документов ограничено необходимостью монотонности изменения контролируемых параметров. Кроме того, ГОСТ 23942-80, основанный на использовании метода наименьших квадратов, предполагает неизменность дисперсии (разброса) измеряемых параметров, тогда как во многих случаях дисперсия параметров с изменением наработки изменяется (см. рис. 4).

Большинство контролируемых технологических параметров нефтехимических процессов являются стационарными и немонотонными, так как подвергаются регулированию. Некоторые из них могут нести информацию об интенсивности деградации оборудования; в таких случаях при анализе записей параметров наблюдается их дрейф, т.е. постепенное смещение среднего значения. Если этот дрейф не устраняется регулированием технологического процесса и определены предельно допустимые уровни параметров, то такие параметры могут быть использованы для прогнозирования ресурса оборудования.

Рис. 4. Схема изменения параметров технического состояния

У при постоянной дисперсии (а) и непостоянной дисперсии (б); кривые: 1 - математического ожидания У(t); 2 - отдельных реализаций; 3 - плотности распределения ресурса; Тср - средний ресурс; Тg - гарантированный (гамма-процентный) ресурс; Упр - предельное значение ПТС.

Поэтому прогнозированию должен предшествовать анализ случайных процессов, определяющих параметры технического состояния обследуемого оборудования. Для анализа случайных процессов существует большое число методов, зачастую достаточно сложных для лиц, не имеющих специальной математической подготовки; в качестве руководства можно использовать, например, работу [30]. Упрощенный анализ может быть выполнен в последовательности, изложенной в п. 6.2.

Суть рекомендуемого в данном разделе метода заключается в использовании наблюдений за изменением параметров до момента контроля для оценки скорости деградации и ее возможных отклонений в последующий период эксплуатации оборудования до его предельного состояния (см. рис. 5).

Оценку остаточного ресурса осуществляют путем статистической обработки значений измеренных параметров технического состояния (ПТС) в соответствии с п. 6.2 и вычислении численных значений показателей по формулам диффузионного распределения (п. 6.3.). Статистическую обработку ПТС осуществляют по результатам их записи за весь период эксплуатации оборудования или (при отсутствии таких записей) специально организуемых наблюдений.

В расчетные формулы входит предельно допустимая величина ПТС, значение которой рекомендуется определять по критериям отказов и предельных состояний оборудования, а также установленным в технологическом регламенте предельно допустимым уровням технологических параметров.

6.1. Порядок подготовки данных

При наличии записей (диаграмм) контролируемых параметров за период предыдущей эксплуатации оборудования осуществляют их статистическую обработку в соответствии с п. 6.2.

При отсутствии записей организуют специальные наблюдения за изменением параметров. При эксплуатационных наблюдениях ПТС периодически измеряют, результаты записывают и наносят на рабочий график наблюдений, на котором также отмечены предельно допустимые уровни значений параметров.

После окончания наблюдений осуществляют статистическую обработку данных измерений и оценку параметров процесса деградации соответствии с п. 6.2.

Рис. 5. Схема прогнозирования остаточного ресурса оборудования после момента контроля tк

Кривые: 1 - изменения контролируемого параметра У до момента контроля; 2 - возможных реализаций процесса деградации; 3 - плотности распределения остаточного ресурса. (Тcр-tк) средний (ожидаемый) остаточный ресурс; (Тg-tк) - гарантированный (гамма-процентный) остаточный ресурс; Dt - периодичность контроля или интервал разбиения записи параметра.

Продолжительность наблюдений Тн должна быть не менее 0,2×Тр, где Тр - ожидаемая наработка (ресурс) до предельного состояния. При этом число измерений в ходе испытаний должно быть для монотонных процессов не менее указанного в табл. 7, для немонотонных - не менее 100 (при этом ошибка в оценке параметров не превысит 25%, если коэффициент их вариации не более 2).

Таблица 7

Минимальное число измерений (n) ПТС в зависимости от допустимой ошибки D и требуемой доверительной вероятности g

D

0,1

0,2

0,3

0,5

g

0,8

0,9

0,8

0,9

0,8

0,9

0,8

0,9

n

70

100

18

25

10

15

3

5

6.2. Статистическая обработка результатов измерений

Результаты измерений, нанесенные на рабочий график, подвергают качественной оценке:

- определяют период приработки (выхода на стационарный режим) - по перегибу графика ПТС или стабилизации колебаний параметра; в дальнейших расчетах скорости изменения ПТС этот период не учитывается;

- определяют монотонность или немонотоность зависимости ПТС от наработки - при отсутствии отрицательных приращений ПТС зависимость считается монотонной;

- оценивают стационарность или нестационарность процесса; (из рассмотрения исключают резкие отклонения параметров по известным причинам - из-за внезапных остановок, резкого изменения внешних условий и т.п.); при наличии признаков нелинейности оценку параметров осуществляют по степенной или другой функции в соответствии с табл. 8 и разделами 3.3 и 3.4).

6.2.1. Предварительная статистическая обработка

При предварительной статистической обработке оценивают величину дисперсии измеряемых параметров и ее однородность.

Определяют среднюю скорость изменения параметра:

W = DYi/N×Dti,                                                           (23)

где DYi - приращение ПТС за 1-й интервал наработки Dti;

N -число интервалов наблюдений.

Определяют среднее квадратическое отклонение скорости:

.                                                   (24)

Определяют коэффициент вариации скорости изменения параметра:

V=s/М.

При V<0,5, монотонных реализациях процесса и однородности дисперсий применяют метод, изложенный в разделе 3.4. При неоднородных дисперсиях применяют метод раздела 3.3. При V>0,5 применяют метод по п.п. 6.2-6.3.

Проверку однородности дисперсии осуществляют по критерию Фишера следующим образом:

- выделяют из всего периода наблюдений начальный (без периода приработки) и конечный периоды, в каждый из которых включают n не менее 3 измерений ПТС (предпочтительно - не менее 10);

- определяют выборочную дисперсию ПТС в каждом периода (выборке) по формуле:

,

где Yi,  - соответственно i-e и среднее значение ПТС в каждой выборке.

- определяют отношение F=D2/D1 и сравнивают его с табличным (табл. 9); если F превышает табличное значение, то оцениваемые дисперсии неоднородны.

6.2.2. Определение интервала корреляции

Поскольку близкорасположенные на графиках точки замеров являются зависимыми друг от друга (коррелированными), необходимо интервал разбиения графика выбирать большим, чем интервал корреляции.

Для определения интервала корреляции строится корреляционная функция r(у) связи приращений контролируемого параметра (см. рис. 6), где у - параметр сдвига (у=0, 1, 2, …, n-1); n - количество интервалов квантования (n³100).

Значения r(у) определяются по формуле

,

где DYi = Yi+1 -Yi; D = S(Yi+1-Yi)2/n.

За величину интервала корреляции принимают значение ук, при котором r(у)<0,2 при всех у>ук.

6.2.3. Оценка параметров скорости изменения ПТС

При линейной зависимости ПТС от наработки определяют среднюю скорость изменения ПТС по формуле [23].

Определение верхней и нижней доверительных границ скорости изменения ПТС осуществляют по формуле:

                                            (25)

где Ug..- квантиль нормального распределения; Ug=1,28 при g=0,9; Ug=1,65 при g=0,95; Ug=2,33 при g=0,99.

Рис. 9. Схема определения интервала корреляции ук по корреляционной функции r(y).

Определение верхней доверительной границы коэффициента вариации скорости осуществляют по формуле:

                                                     (26)

Определение коэффициента вариации остаточного ресурса осуществляют по формуле:

                                                       (27)

6.3. Оценка среднего и гарантированного остаточного ресурса осуществляется по формулам диффузионных распределений (28) для монотонных зависимостей ПТС от наработки и (29) - для немонотонных

                              (28)

где а = w/(Yпр-Yк); ав= wа/(Yпр-Yк);

Yпр, Yк - соответственно предельное и контрольное значение ПТС.

Тср=1/а;

                    (29)

При нелинейной зависимости ПТС от наработки вид зависимости Y(t) выбирают на основе анализа физических процессов, приводящих к потере работоспособности оборудования. Коэффициенты уравнения связи Y(t) определяют по формулам таблицы 8, методом наименьших квадратов (принимая X=t), либо с помощью пакетов прикладных программ по статистическому анализу данных на ЭВМ.

Пример оценки остаточного ресурса оборудования приведен в приложении 1.

Статистический анализ эксплуатационных параметров дает дополнительные возможности для выявления причин низкой надежности оборудования и разработки эффективных мер по их устранению: стабилизации наиболее влияющих параметров, созданию повышенных запасов до предельного состояния по этим параметрам и др. Предварительный анализ стабильности (дисперсии) технологических параметров производств, для которых разрабатывается оборудование, позволяет создавать оборудование с гарантированными показателями надежности для конкретных условий.

Для контроля технологических параметров применяют штатные приборы или специальные средства технического диагностирования [24]. Вариацию скорости коррозии удобно определять с помощью непрерывно контролирующих приборов с датчиками (зондами) поляризационного и электрического сопротивления. Эксплуатация в лабораторных и производственных условиях показала, что данные приборы в определенных условиях (при отсутствии питтинговой коррозии, при надежности уплотнения) является эффективным средством непрерывного контроля за коррозионным процессом.

Таблица 8

Виды функциональных зависимостей, их графики и формулы для определения коэффициентов

Функции

Формулы для определения коэффициентов по способу наименьших квадратов

Графики функций

у=ах+b

y=ax2+bx+c

y=ax2+bx2+cx+d

у=а+b lg x

у=аbx или

lg у=lg а+ lg b

у=аxb или

lg у=lg а+b lg x

Таблица 9

ЗНАЧЕНИЯ КРИТЕРИЯ ФИШЕРА F

n-1

n-1

2

3

4

5

10

20

30

40

50

2

19,00

19,16

19,25

19,30

19,39

19,44

19,46

19,47

19,48

3

9,55

9,28

9,12

9,01

8,78

8,66

8,62

8,60

8,58

4

6,94

6,59

6,39

6,26

5,96

5,80

5,74

5,71

5,70

5

5,79

5,41

5,19

5,05

4,74

4,56

4,50

4,47

4,44

10

4,10

3,71

3,48

3,33

2,97

2,77

2,70

2,67

2,64

15

3,68

3,29

3,06

2,90

2,55

2,33

2,25

2,21

2,18

 

 

 

 

 

 

 

 

 

 

20

3,49

3,10

2,87

2,71

2,35

2,12

2,04

1,99

1,96

30

3,32

2,92

2,69

2,53

2,16

1,93

1,84

1,79

1,76

40

3,23

2,84

2,61

2,45

2,07

1,84

1,74

1,69

1,66

50

3,18

2,79

2,56

2,40

2,02

1,78

1,69

1,63

1,63

60

3,15

2,76

2,52

2,37

1,88

1,75

1,65

1,59

1,59

70

3,13

2,74

2,50

2,35

1,97

1,72

1,62

1,56

1,56

80

3,11

2,72

2,48

2,33

1,95

1,70

1,60

1,54

1,54

100

3,09

2,70

2,46

2,30

1,92

1,68

1,57

1,51

1,51

Приложение 1

ПРИМЕРЫ РАСЧЕТОВ ОСТАТОЧНОГО РЕСУРСА ОБОРУДОВАНИЯ

Пример 1

При эксплуатации аппарата с перемешивающим устройством вследствие эрозионного износа происходит уменьшение толщины лопастей мешалки. Во избежание аварийной поломки лопастей через каждые 720 часов (при текущих ремонтах) измеряют величину износа лопастей. По условию прочности предельно допустимой является величина износа - не более 4 мм. Из-за непостоянства содержания примесей в перемешиваемом продукте скорость изнашивания может изменяться, однако в среднем увеличение износа происходит по линейному закону. Поэтому для прогнозирования остаточного ресурса в данном случае может быть применен метод раздела 3.3.

Результаты замеров величины износа и результаты расчета (выполненного на ЭВМ) представлены в таблице и на рисунке 10. По результатам видно, что величина гарантированного остаточного ресурса (4643 ч) значительно ниже среднего ресурса (6152), что обусловлено как колебаниями скорости изнашивания при эксплуатации аппарата, так и невысокой точностью измерений (до 0,1 мм). Повышение точности оценки может быть достигнуто путем повышения точности измерений, а также путем статистической обработки измеренных величин износа в разных точках поверхности лопастей методом, изложенным разделе 5 и примере 2.

Расчет остаточного ресурса методом линейной экстраполяции

ИСХОДНЫЕ ДАННЫЕ: N=11 Y предел.=4 мм

Доверительная вероятность, у= .99

1   t= 0 ч Y= 0 мм

2   t= 720 ч Y = .3 мм

3   t= 1440 ч Y = .4 мм

4   t= 2160 ч Y = .6 мм

5   t= 2880 ч Y = .9 мм

6   t= 3600 ч Y = 1 мм

7   t= 4320 ч Y = 1.2 мм

8   t= 5040 ч Y = 1.6 мм

9   t= 5760 ч Y = 1.9 мм

10 t= 6480 ч Y = 1.9 мм

11 t= 7200 ч Y = 2.1 мм

РЕЗУЛЬТАТЫ РАСЧЕТА:

С1= 4.544974E-03 C2= 2.992423E-04 С1Y= .1240149 C2Y= 3.272897Е-04

Средний остаточный ресурс ТS= 6151.905 ч

Гарантированный остаточный ресурс ТY= 4642.674 ч.

Рис. 10. Схема прогнозирования остаточного ресурса мешалки.

Тк - момент контроля; Тср - средний (ожидаемый) остаточный ресурс; Тg - гарантированный остаточный ресурс.

Пример 2.

Прогнозирование остаточного ресурса по изменениям ПТС. Эксплуатация пиролизных печей ЭП-300 производства этилена сопровождается отложением кокса на внутренних поверхностях труб. При этом происходит постепенное повышение температуры стенок труб, растет перепад давления. Эксплуатация печи с закоксованными пирозмеевиками неэкономична, поскольку снижается выход целевых продуктов, уменьшается производительность печи. Кроме того, появляется опасность пережога печных труб и усиления процесса науглероживания металла. Поэтому наработку печей ограничивают и при появлении признаков повышенного коксоотложения эксплуатацию прекращают для проведения выжигания кокса.

Давление сырья на входе в печь в начале пробега составляет 0,45 - 0,5 МПа и зависит от установленной производительности по сырью, потерь напора в пирозмеевиках, закалочно-испарительном аппарате (ЗИА) и давления на выходе из ЗИА. В период работы печи вследствие отложений кокса внутри труб давление сырья на входе в печь увеличивается на 0,1-0,15 МПа и в конце пробега достигает 0,7 МПа. С повышением давления в системе снижается выход олефинов и интенсифицируется коксоотложение. Поэтому при достижении давления сырья на входе в печь 0,7 МПа ее останавливают на выжиг кокса.

Длительность пробега печи ограничивается также температурой пирогаза на выходе из ЗИА, которая не должна превышать 450°С. Постепенный рост температуры пирогаза в ЗИА от 350 до 450 °С происходит вследствие ухудшения теплопередачи от продуктов пиролиза к генерируемому водяному пару вследствие загрязнения и коксоотложений в трубках аппарата. Замечено, что температура пирогаза ЗИА начале пробега печи растет примерно на 5°С/сут., а затем, после 5- 10 суток работы печи уменьшается до 1-3°С/сут.

Печь пиролиза останавливают на выжиг кокса при одном из следующих условий [33]:

при температуре пирогаза на выходе из ЗИА более 450°С;

при давлении сырья на входе в печь 0,7 МПа;

когда температура стенки трубы превышает 1030°С (на выходном участке - 1070°С);

при повышении перепада давления пирогаза до и после ЗИЛ более 0,05 МПа;

в случае вынужденной внезапной остановки печи после 10 сут и более работы.

Для правильного планирования момента остановки печи для выжигания кокса необходимо в ходе эксплуатации прогнозировать остаточный ресурс змеевика. В таблице 10 и на рисунке 11 в качестве примера приведены исходные данные и результаты расчета на ЭВМ остаточного ресурса пирозмеевика после 27 суток эксплуатации.

Расчет выполнен в соответствии с рекомендациями раздела 6 по двум наиболее информативным параметрам: давлению сырья на входе в печь и температуре пирогаза на выходе из ЗИУ. Для планирования момента остановки печи используют данные по наименьшим значениям показателей, т.е. данном случае по показателям, определенным по изменению давления, (рис. 11а): средний (ожидаемый) остаточный ресурс - 27,4 сут.; минимальный (гарантированный) - 17,2 суток.

Для сравнения в таблицах 12 и 13 приведены результаты расчетов по данным этого же примера методом линейной экстраполяции, изложенном разделе 3.3. По результатам видно, что метод линейной экстраполяции в случае V>0,5 дает завышенные оценки остаточного ресурса.

Таблица 10

РАСЧЕТ ОСТАТОЧНОГО РЕСУРСА ПЕЧИ ПИРОЛИЗА

Расчет остаточного ресурса по изменению давления

ИСХОДНЫЕ ДАННЫЕ: N= 20 Y предел.=0.7 МПа

Доверительная вероятность у= .99

1

t= 8

Y= .48

2

t= 9

Y= .49

3

t= 10

Y= .5

4

t= 11

Y= .5

5

t= 12

Y= .51

6

t= 13

Y= .52

7

t= 14

Y= .52

8

t= 15

Y= .52

9

t= 16

Y= .53

10

t= 17

Y= .53

11

t= 18

Y= .54

12

t= 19

Y= .54

13

t= 20

Y= .54

14

t= 21

Y= .55

15

t= 22

Y= .55

16

t= 23

Y= .55

17

t= 24

Y= .56

18

t= 25

Y= .56

19

t= 26

Y= .57

20

t= 27

Y= .57

РЕЗУЛЬТАТЫ РАСЧЕТА:

Средняя скорость изменения параметра SY = 4.736842Е-03 МПа/сут.

Коэффициент вариации V= 1.082977

Средний остаточный ресурс ТS= 27.44444 суток.

Гарантированный остаточный ресурс ТY = 17.1927 суток.

Таблица 11

Расчет остаточного ресурса по изменениям температуры

ИСХОДНЫЕ ДАННЫЕ: К: N=28 Y предел.=458°C

Доверительная вероятность у= .99

1

t= 8

Y= 378

2

t= 9

Y= 380

3

t= 10

Y= 381

4

t= 11

Y= 382

5

t= 12

Y= 383

6

t= 13

Y= 384

7

t= 14

Y= 385

8

t= 15

Y= 385

9

t= 16

Y= 387

10

t= 17

Y= 389

11

1= 18

Y= 390

12

t= 19

Y= 391

13

t= 20

Y= 392

14

t= 21

Y= 393

15

t= 22

Y= 395

16

1= 23

Y= 396

17

t= 24

Y= 399

18

t= 35

Y= 400

19

t= 26

Y= 401

20

t= 27

Y= 403

РЕЗУЛЬТАТЫ РАСЧЕТА:

Средняя скорость изменения параметра SY = 1.31579 °С/сут.

Коэффициент вариации V=.5099891

Средний остаточный ресурс ТS= 35.72 суток

Гарантированный остаточный ресурс ТY = 27.88885 суток.

Таблица 12

РАСЧЕТ ОСТАТОЧНОГО РЕСУРСА МЕТОДОМ ЛИНЕЙНОЙ ЭКСТРАПОЛЯЦИИ

ИСХОДНЫЕ ДАННЫЕ: К: N=28 Y предел.= .7 МПа

Доверительная вероятность у=.99

1

t= 8 сут.

Y= .49 МПа

2

t= 9 сут.

Y= .49 МПа

3

t= 18 сут.

Y= .5 МПа

4

t= 11 сут.

Y = .5 МПа

5

t= 12 сут.

Y= .51 МПа

6

t= 13 сут.

Y= .52 МПа

7

t= 14 сут.

Y= .52 МПа

8

t= 15 сут.

Y= .52 МПа

9

t= 16 сут.

Y= .53 МПа

10

t= 17 сут.

Y= .53 МПа

11

t= 18 сут.

Y= .54 МПа

12

t= 19 сут.

Y= .54 МПа

13

t= 20 сут.

Y= .54 МПа

14

t= 21 сут.

Y= .55 МПа

15

t= 22 сут.

Y= .55 МПа

16

t= 23 сут.

Y= .55 МПа

17

t= 24 сут.

Y= .56 МПа

18

t= 25 сут.

Y= .56 МПа

19

t= 26 сут.

Y= .57 МПа

20

t= 27 сут.

Y= .57 МПа

РЕЗУЛЬТАТЫ РАСЧЕТА:

С1= .4550524 С2= 4.368425Е-03 С1Y= .4627716 С2Y 4.787367E-03

Средний остаточный ресурс ТS= 29.0723 cут.

Гарантированный остаточный ресурс ТY = 22.55301 сут.

Таблица 13

РАСЧЕТ ОСТАТОЧНОГО РЕСУРСА МЕТОДОМ ЛИНЕЙНОЙ ЭКСТРАПОЛЯЦИИ

ИСХОДНЫЕ ДАННЫЕ: К: N=28 Y предел.= 458°С

Доверительная вероятность у=.99

1

t= 8 сут.

Y= 378 °С

2

t= 9 сут.

Y= 380°С

3

t= 10 сут.

Y= 381°С

4

t= 11 сут.

Y= 382°С

5

t= 12 сут.

Y= 383°С

6

t= 13 сут.

Y= 384°С

7

t= 14 сут.

Y= 385 °С

8

t= 15 сут.

Y= 385°С

9

t= 16 сут.

Y= 387°С

10

t= 17 сут.

Y= 389°С

11

t= 18 сут.

Y= 390°С

12

t= 19 сут.

Y=391°С

13

t= 20 сут.

Y= 392°С

14

t= 21 сут.

Y= 393°С

15

t= 22 сут.

Y= 395°С

16

t= 23 сут.

Y= 396°С

17

t= 24 сут.

Y= 399°С

18

t= 25 сут.

Y= 400°С

19

t= 26 сут.

Y= 401°С

20

t= 27 сут.

Y= 403°С

РЕЗУЛЬТАТЫ РАСЧЕТА:

С1= 367.542 С2= 1.266159 С1Y= 368.9473 С2Y= 1.342429

Средний остаточный ресурс ТS= 38.12453 сут.

Гарантированный остаточный ресурс ТY = 33.37764 сут.

Рис. 11. Схема прогнозирования остаточного ресурса печи пиролиза по изменению давления на входе Р(а) и по изменению температуры на выходе из ЗИА (б).

Пример 3

ПРИМЕР ПРОГНОЗИРОВАНИЯ НАДЕЖНОСТИ ОБОРУДОВАНИЯ ПО РЕЗУЛЬТАТАМ ЕГО ОБСЛЕДОВАНИЯ

Сушилки типа БН-3,2-22, эксплуатирующиеся на Гайском горно-обогатительном комбинате в условиях сушки медного концентрата, подвергаются коррозионно-эрозионному изнашиванию. С целью выбора коррозионно-стойкого материала взамен применяющейся Ст.3 для указанного типа сушилок НИИхиммашем выполнена научно-исследовательская работа, включавшая измерения остаточной толщины стенок барабана сушилки, эксплуатировавшегося более одного года. На рис. 12 показана схема расположения точек измерения остаточной толщины стенки на развертке обечайки барабана и значения глубин коррозионно-эрозионного износа, нанесенные на координатную сетку; L-h.

(где L - расстояние от края обечайки со стороны загрузки концентрата). Глубина hi определялась по разности d0-di (где d0 - начальная толщина стенки барабана 20 мм). Остаточная толщина стенки определялась ультразвуковым толщиномером "Кварц-6".

Статистические характеристики глубин повреждений приведены в табл. 14, где N - число измерений на участке;

 - среднее значение глубины; s - среднее квадратическое отклонение, V - коэффициент вариации.

Таблица 14

Номер участка

Статистические характеристики

N

, мм

s, км

Vn

1

16

1,56

1,02

0,7

2

26

1,17

0,73

0,62

3

16

1,35

0,93

0,69

4

22

3,1

1,47

0,47

5

21

2,4

1,1

0,46

Расположение точек на рис. 7 наглядно показывает неравномерность разрушения стенки, как по окружности, так и по длине барабана. Эта неравномерность объясняется как стохастическими свойствами локальных систем "вектор параметров потока (температура и состав газа, скорость и концентрация частиц медного концентрата) - участок поверхности барабана", так и изменением физико-химического состава потока по длине барабана (за время движения происходит испарение влаги из медного концентрата до 3 -7% и подкисление до рН=2¸4). Для выяснения значимости различий в глубине повреждений (коррозии, износа) стенок барабана на разных расстояниях от места загрузки концентрата поверхность развертки была разбита на пять смежных участков. Проверка осуществлялась по критерию Стьюдента.

По результатам проверки данных рис. 13 установлено, что на участках 1, 2 и 3 различия в глубине повреждений стенок не является статистически значимыми и могут быть объединены в одну выборку. После объединения результаты измерений глубины повреждений были нанесены на вероятностную бумагу Вейбулла (рис. 14). Расположение точек на одной прямой линии свидетельствует о соответствии полученного эмпирического распределения теоретическому распределению Вейбулла и о правомерности применения для прогнозирования ресурса сушилки данной методики. На участках 4 и 5 различия в h, оцененные по критерию Стьюдента, оказались существенными, поэтому расчёт их остаточного ресурса в соответствии с рекомендациями методики необходимо осуществлять отдельно. Для выполнения расчета необходимо определить критерии предельного состояния оборудования и параметры распределения глубин повреждений, приведенные к моменту наступления предельного состояния.

Критерием предельного состояния барабана сушилки является уменьшение толщины стенки до 10 мм (исходная толщина 20 мм) на поверхности, составляющей от обшей площади 5%, т.е. hn=10 мм; b =0,05. Параметры распределения глубин повреждений определяются через приведенный коэффициент вариации по формуле, в которой Vh, h берутся для участка, подтвержденного наибольшему разрушению.

1 Уточненная оценка коэффициента вариации глубины повреждений для рассматриваемого участка поверхности определится по формуле:

где Vhi. - коэффициент вариации глубины на i-м участке поверхности: ni - число измерений глубины на i-м участке поверхности; N - число обследованных участков поверхности.

Величина коэффициента вариации для 4-го участка (участка наибольшего износа) см. рис. 2) барабана, определенная с использованием зависимости, составила 0,44. Величина приведенного коэффициента вариации Vn, определенного по формуле, составила 0,33. Значения параметров распределения Кв=0,897;

В = f(Vn)=3,3 (в и Кв определены по работе [18]). Расчетный средний ресурс барабана равен:

 лет

где с - средняя скорость коррозии

= 3,1/1,13=2,74 мм/г.

Гарантированный (гамма-процентный) ресурс определяется по формуле

лет

где ug - квантиль нормального распределения, соответствующая уровню g = 0,999; Vт - коэффициент вариации ресурса

.

Фактический срок службы обследованных, барабанных сушилок составил 2 года, что свидетельствует о верности расчёта. Сравнив полученные результаты с результатами расчёта традиционным методом. Ожидаемый срок службы (ресурс) традиционно определяют по средней скорости коррозии.

лет.

Минимальный (гарантированный) ресурс определяют по максимальной глубине hmax измерений повреждений

лет.

Видим, что расчёты традиционными методами дают значительно большую погрешность, чем по РД 26-10-87. Низкий срок службы данных сушилок обусловлен несоответствием коррозионной стойкости Ст.3 условиям эксплуатации. Результаты исследований позволили рекомендовать более стойкие материалы для изготовления барабанов сушилок и их внутренних устройств - насадок, обеспечивающие повышение их ресурса в 5 - 10 раз.

Рис. 12. Схема конструкции барабанной сушилки БН 3,2¸22 (L=22м; D=3,2м; S=20 мм).

Рис. 13

Рис. 14 Распределение измеренных глубин повреждений h, на вероятностной бумаге Вейбулла, {F(h) - интегральная вероятность повреждения на глубину h}.

ПРИЛОЖЕНИЕ 2

Рекомендуемые математические модели для прогнозирования

Вид функции h(t) зависит от многих факторов, важнейшими из которых являются вид преобладающего механизма разрушения (сплошной или локальной коррозии, эрозии, кавитации, ползучести, растрескивания и др.), а также уровень и характер механических нагрузок (растяжения или сжатия, статические или динамические, знакопеременные или пульсирующие).

Типичный качественный вид функции h(t) представлен на рис. 15. В течение срока эксплуатации оборудования можно выделить три характерных периода. В первый переходный период, называемый также периодом приработки, интенсивный рост постепенно замедляется и наступает второй период - стабильный интенсивности разрушения с почти постоянной скоростью. В третьем периоде по мере накопления повреждений и возрастания механических напряжений скорость разрушения начинает увеличиваться и возрастает вплоть до полного разрушения аппарата или его элемента (поломки, потери устойчивости, сквозного разрушения). Относительная продолжительность периода может быть различной при разных видах разрушения в условиях эксплуатации. Так, при сплошной коррозии первый период слабо выражен, при ударно-абразивной эрозии и кавитации износ в первоначальный период отсутствует (имеется так называемый инкубационный период). При высоких напряжениях растяжения в элементах конструкции второго периода может не быть. Третий период может отсутствовать в случае эксплуатации оборудования при умеренных нагрузках и снятия его с эксплуатации до возникновения предельно допустимых величин повреждений.

Обычно прогнозирование долговечности конструкции осуществляют в области первого и второго периода (см. pиc. 15) с применением математической модели зависимости h(t). Большое число моделей при различных видах коррозионного разрушения рассмотрено в работе [22]. Некоторые из них, имеющие наибольшее применение (рис. 16), следующие.

1. Линейная модель вида h(t) =h0 + C×t, где h0 и С - постоянные величины для заданных условий.

Эта модель хорошо описывает кинетику разрушения металлов при обшей коррозии и различных видах механического изнашивания (при трении, гидро- и газоабразивной эрозии) [23]. Величина h0 может быть положительной (кривая 1) и отрицательной (кривая 2). Отрицательные значения h0 наблюдаются в тех случаях, когда появлению внешних признаков разрушения предшествует так называемый инкубационный период, обусловленный накоплением микроповреждений на поверхности металла до величин, достаточных для отделения частиц металла от поверхности. Такой вид разрушения наблюдается при ударно-абразивном изнашивании, а также при кавитации. Во многих случаях величина h0 бывает равной или близкой к нулю. Это имеет место при коррозионных испытаниях некоторых чистых металлов, при квазиравномерной коррозии, например, атмосферной, и в других случаях.

2. Степенная зависимость вида h(t) = C×t, где С и m - постоянные для заданных условий величины.

Модель применяется при описании многих видов коррозии поверхностей металлов (как сплошной, так и локальной), а также при коррозии под напряжением и изнашивании. Показатели степени в разных условиях могут иметь различные положительные значения меньше 1 (кривые 1 и 2) и больше 1 (кривая 3). Для многих случаев обшей коррозии при умеренных напряжениях, а также при локальной коррозии величина m меньше 1 Кинетика коррозии при высоких напряжениях (превышающих некоторое значение, называемое пороговым напряжением) описывается кривой 3 с показателем m>1.

При химической коррозии металлов, в частности, при газовой - показатель m часто имеет значения, близкие к 1/2. Изменение максимальной глубины питтингов хорошо описывается при m=1/3.

3. Логарифмическая зависимость вида h(t)=A ln (t+C), где А и С - постоянные для заданных условий величины, в ряде случае, хорошо описывает кинетику газовой и локальной коррозии.

4. Экспоненциальная модель вида h(t) = С exp [T(t)], где С - постоянная для заданных условий величина и Т(t) - некоторая функция от времени, применяется при описании кинетики общей коррозии под напряжением.

Применяются также другие математические модели для описания частных случаев разрушения элементов оборудования, включающие, кроме фактора времени, ряд эксплуатационных параметров.

На практике при оценке надежности оборудования чаще всего применяется линейная модель h(t). Так как все рассмотренные модели при локальной коррозии являются выпуклыми, то использование линейной модели при оценке надежности по схеме в этом случае - дает оценку с некоторым запасом, что может приводить к преждевременным остановкам на ремонт или списанию оборудования.

Рис. 15
Типичный вид зависимости величины повреждений
h, от продолжительности эксплуатации t:

I - переходный период (приработка);

II - период стабильной интенсивности разрушения;

III - период возрастающей интенсивности разрушения.

Рис. 16
Кинетические модели h(t) коррозионного разрушения металлов

Приложение 3

Примеры нормирования показателей надёжности химического оборудования

1. Фильтр вакуумный барабанный БЛН 20-3, 0-1У-01.

Средняя наработка на отказ, ч, не менее                                   8000

Средний ресурс до капитального ремонта, ч, не менее           28000

Средний полный срок службы, лет не менее                            20

Коэффициент технического использования, не менее            0,9

КРИТЕРИИ ОТКАЗОВ: поломки подшипников, зубчатых колес и шестерен, вала мешалки, ножа, отказы распределительной головки, редукторов, электродвигателей, неустранимые операциями технического обслуживания.

КРИТЕРИИ ПРЕДЕЛЬНОГО СОСТОЯНИЯ ФИЛЬТРА: предельный износ зубчатого колеса барабана - поломка или износ зубьев до толщины менее 90% от начальной;

износ подшипников зубчатого колеса до радиального зазора более 0,5 мм;

коррозионно-эрозионный износ стенок корыта или барабана на глубину более 2 мм. 2. Сепаратор центробежный CДC 531 К-01:

Средняя наработка на отказ, ч, не мене                                     8000

Средний ресурс до капитального ремонта, ч, не менее           20000

Назначенный полный ресурс ротора, ч                                      40000

Назначенный полный срок службы, лет                                    5

Коэффициент технического использования, не менее            0,8

КРИТЕРИИ ОТКАЗОВ:

сильная вибрация (более 10 мм/с) на чаше на уровне горловой опоры;

превышение тока холостого хода электродвигателя 25 А;

превышение температуры подшипников и масла 70°С;

увеличение времени разгона ротора до рабочего числа оборотов более 5 мин;

контакт вращающихся деталей привода и ротора с неподвижными, сопровождающийся резким шумом;

отказ электродвигателя.

КРИТЕРИИ ПРЕДЕЛЬНЫХ СОСТОЯНИЙ.

Критерии необходимости среднего ремонта:

биение посадочных поверхностей вала веретена, более 0,04 мм;

равномерный износ бандажа разгонной муфты более 2 мм на сторону или появление на его рабочей поверхности канавок износа глубиной более 1 мм;

наличие цветов побежалости на вал-шестерне;

износ подшипников до радиального зазора более 0,33 мм;

поломка или износ зубьев венца винтовой передачи до толщины менее 90% от номинальной;

износ стаканов подшипников до появления радиального люфта;

износ пружин и других деталей упорного подшипника, обуславливающий уменьшение зазора между напорным диском и крышкой напорной камеры менее 1,5 мм;

износ стакана подшипника горловой опоры под стаканчиками пружины свыше 0,5 мм глубиной.

КРИТЕРИИ НЕОБХОДИМОСТИ КАПИТАЛЬНОГО РЕМОНТА (или списания):

износ посадочных мест подшипников станине;

появление трещин на станине;

эрозионный износ и появление очагов коррозии на ответственных деталях ротора свыше норм, установленных в "Инструкции по обследованию деталей роторов центробежных сепараторов, 37 - 87";

деформации крышек сепараторов, вызывающая эксцентриситет напорного диска свыше 1 мм.

3. Реактор специального назначения периодического действия.

Девяностопроцентная наработка до отказа, ч, не менее         8000

Назначенный полный ресурс, циклов                                        9000

Полный девяностопроцентный срок службы, лет, не менее     6

Коэффициент технического использования, не менее            0,95

КРИТЕРИИ ОТКАЗА: нарушение герметичности в соединениях.

КРИТЕРИИ ПРЕДЕЛЬНОГО СОСТОЯНИЯ: исчерпание назначенного ресурса или утонение стенки до 16 мм, появление язв глубиной более 5 мм.

Приложение 4

Контроль деформации ползучести котлов и труб паропроводов

Важным критерием эксплуатационной надежности стали является способность к пластической деформации при ползучести. Разрушению элементов котлов, изготовленных из стали с высокой длительной пластичностью, предшествует накопление большой остаточной деформации, заметное увеличение наружных размеров служит сигналом о наступлении опасного состояния и позволяет своевременно заменять ненадежный элемент, пластическая деформация в месте концентрации напряжении от дефектов сварки, в местах резких переходов уменьшает опасность внезапного хрупкого разрушения.

В процессе ползучести по границам зерен образуются сначала очень мелкие, а потом разрастающиеся пустоты; их развитие постепенно подготавливает разрушение от исчерпания длительной прочности.

Разрушению паропроводов от исчерпания длительной прочности предшествует накопление остаточной деформации, поэтому на паропроводах из хромомолибденовых сталей 12МХ и 15ХМ и хромомолибденованадиевых сталей 12Х1МФ и 15Х1М1Ф, работающих при температуре 450°С и выше, осуществляется контроль остаточной деформации по реперам.

Методы, объемы, сроки и организация контроля за этими трубопроводами определяются инструкцией И34-70-010-82.

Реперы устанавливают во время монтажа паропроводов под наблюдением представителя лаборатории металлов предприятия. Составляется исполнительная схема их расположения на паропроводе. Реперы устанавливают на прямых трубах длиной 500 мм и более и на гибах, имеющих прямые участки длиной не менее 500 мм. Располагает реперы по двум взаимно перпендикулярным диаметрам в средней части каждой прямой трубы или прямого участка каждого гиба (на расстоянии не менее 250 мм от сварного соединения или начала гнутого участка).

Реперы на исполнительной схеме паропровода нумеруют. Нумерация остается постоянной в течение всего периода эксплуатации паропровода.

На самом паропроводе места установки реперов должны быть отмечены указателями, выступающими над поверхностью тепловой изоляции.

Остаточная деформация измеряется по реперам микромером с точностью до 0,05 мм. Результаты измерений заносятся в формуляр.

При увеличении наружного диаметра трубы более чем на 0,5% от номинального значения рассчитывают остаточную деформацию по формуле, %:

DЕ=(D1-Dисх)×100%/Dисх.

где D1 - диаметр трубы при i-том измерении;

Dисх - диаметр трубы в исходном состоянии.

Трубы пригодны для дальнейшей эксплуатации, если их остаточная деформация находится в следующих пределах: 0,8% для гнутых труб вне зависимости от марки стали; 1,5% для прямых труб из стали 12Х1МФ; 1% для прямых труб из стали других марок, кроме 12Х1МФ.

Если остаточная деформация превысила указанные выше пределы, то трубы подлежат замене.

Приложение 5

АНАЛИЗ ПОВРЕЖДЕНИЙ МЕТАЛЛА

Анализ повреждений проводится с целью установления причин их возникновения, выработки предложений по объему и технологии ремонта, а также для разработки рекомендаций по предупреждению возможности возникновения аналогичных повреждений в процессе дальнейшей эксплуатации. Возможны случаи, когда в результате исследований будет сделан вывод о нецелесообразности ремонта объекта и о необходимости замены его новым или коренной реконструкции.

Повреждения, обнаруживаемые при внешнем и внутреннем осмотрах и периодическом контроле металла и сварных соединений, могут являться следствием ряда причин, основными из которых является:

1) Дефекты металлургического производства в трубах, листе, отливках или поковках.

2) Технологические дефекты, возникшие при производстве оборудования на заводе-изготовителе или при монтаже (дефекты сварки, трещины, надиры и надрывы в штампованных деталях; пористость, трещиноватость, усадочные раковины и др. дефекты в литых деталях: отклонение от заданных геометрических размеров сверх допусков в элементах оборудования и сварных швах и др.).

3) Отклонения от условий эксплуатации, предусмотренных проектом (превышение температуры, давления, периодическое попадание холодной среды на горячую поверхность металла, чрезмерно высокие скорости среды и др.).

4) Наличие неучтенных при проектировании особенностей эксплуатации или неудачные конструкторские решения.

5) Некачественный ремонт элементов, сосудов и трубопроводов.

Исследования повреждения следует начинать с осмотра детали на месте, до ее вырезки или ремонта. Если позволяют условия, то целесообразно его сфотографировать. Необходимо четко зафиксировать место расположения дефекта и его ориентацию (для поверхности нагрева по высоте, расстоянию от стенки; лобовая или тыльная образующая и др.).

Большую помощь в определении причины разрушения может оказать сравнение внешнего вида излома с уже исследованными ранее случаями, в частности с уже описанными в технической литературе. Важен систематический обзор дефектов металлургического производства в слитках, толстом листе, прутковой стали, штамповках и трубах.

При разрушении трубы или листа из-за дефектов металлургического производства, а также при разрушении сварных соединений из-за больших технологических трещин, непроваров, подрезов, или шлаковых включений причину повреждений установить легко. Свищи и разрывы образуются непосредственно по дефектам. Поверхности несплошности в месте заката, трещины металлургического производства или горячей трещины в сварном шве покрыты окалиной. От них начинаются свежие изломы. Деформация в месте разрушения минимальная, так как сечение сильно ослаблено дефектом, который также играет роль концентратора напряжений. Часто в металле, прилегающем к месту разрыва, наблюдается скопление неметаллических включений.

Обследование повреждения желательно проводить сразу после обнаружения дефекта, так как со временем возможно окисление изломов или механическое удаление оксидов (например, "валиков" оксидов, выступающих из трещин).

Если излом уже окислился, то его можно "освежить" специальным травлением, в результате которого четко обозначаются более темная окисленная зона замедленного разрушения и более светлая зона дорыва.

Определенную помощь в установлении причин повреждений приносит измерение геометрических размеров трубы или листа. При превышении давления или кратковременном значительном перегреве сверх допустимых по расчету происходит большая пластическая деформация.

При разрушении трубы от кратковременного перегрева около места разрыва сильно увеличивается диаметр и утоняется стенка. Кромки бывают скошены под углом 45°, так как металл пластичен, и разрушение наступает за счет среза по плоскости максимальных касательных напряжений. Трещина всегда продольная, так как тангенциальные напряжения от внутреннего давления в 2 раза превышают осевые. Труба обычно имеет большое раскрытие. Силой реакции струи, вытекающей из места разрыва, труба может оказаться сильно погнутой. Внутренняя поверхность чистая, так как струя смывает отложения.

При длительном перегреве по сравнению с расчётной температурой разрушение сопровождается незначительным увеличением диаметра в месте разрыва и небольшим утонением кромок, а на лобовой образующей наружной поверхности появляется сетка продольных трещин.

Разрушения труб в эксплуатации могут происходить также и при замерзании в них воды. Это случается при ремонтах и монтаже в зимних условиях. Чаще повреждения труб от размораживания наблюдаются на трубах экономайзера и в недренируемых трубах пароперегревателей.

При повреждении деталей от размораживания периметр их увеличивается мало, разрыв, как правило, хрупкий, располагается вдоль трубы. Структурных изменений не наблюдается.

При многоцикловом нагружении, коррозионном или коррозионно-механическом разрушении макроскопическая деформация практически отсутствует. Коррозия вызывает местное уменьшение толщины стенки с образованием на поверхности продуктов коррозии. Эрозия также вызывает утонение стенки, но при этом продукты износа уносятся потоком разрушающей среды. Измеренные толщины стенок и диаметры следует наносить на схему поврежденного участка: сравнивать их необходимо с требованиями технических условий на поставку трубы, листа и пр.

Одновременно с осмотром рекомендуется ознакомиться с чертежами (нет ли отступлений), сертификатными данными на материалы, записями в шнуровых книгах и паспортах. Необходимо также опросить эксплуатационный и ремонтный персонал об особенностях эксплуатации и ремонта поврежденных элементов.

При необходимости получения экспресс-заключения образцы металла отбирают сразу для механических испытаний и химического анализа. Если из изделия вырезан кусок металла с повреждением, то эта задача относительно легкая. Следует только предусмотреть, чтобы на изготовление образцов для механических испытании и образцов для спектрального анализа или стружки для химического анализа не использовать металл, который может дать ценную информацию при металлографическом исследованию.

Контроль микроструктуры можно выполнить прямо на изделии, применяя переносной микроскоп или используя метод реплик.

Как правило, механические испытания включают определение твердости металла, испытания на растяжение с определением временного сопротивления, предела текучести (физического или условного), относительного удлинения и поперечного сужения, а также испытания на ударную вязкость (обычно на образцах с круглым надрезом радиусом 1 мм).

Результаты испытаний сравнивают с требованиями технических условий, по которым был поставлен металл. При этом не следует забывать, что длительная эксплуатация при высоких температурах вызывает как бы "доотпуск" металла, т.е. возможны некоторое снижение прочностных показателей и повышение пластических. Косвенным показателем снижения работоспособности при высокой температуре служит уменьшение отношения временного сопротивления при рабочей температуре к временному сопротивлению при комнатной. Это отношение тем ниже, чем выше рабочая температура металла. Снижению отношения временных сопротивлений при рабочей и комнатной температурах обычно соответствует уменьшение предела длительной прочности.

Длительная эксплуатация металла при высокой температуре или кратковременный большой перегрев сверх расчетной температуры вызывает изменения в структуре металла. Влияние длительной эксплуатации на структуру рассмотрено в специальной литературе [1, 6, 9].

ЛИТЕРАТУРА

1. Антикайн П.А. Металлы и расчёт на прочность котлов и трубопроводов. -2-е изд., перераб. - М.: Энергия, 1980. - 424с.

2. Биргер И.А. Техническая диагностика. -M.: Машиностроение, 1978.-240 с.

3. Болотин В.В. К прогнозированию остаточного ресурса. -М.: Машиностроение, 1980, №5, с.58-64.

4. Болотин В.В. Прогнозирование ресурса машин и конструкций. М.: Машиностроение, 1984.-312 с.

5. Правила устройства и безопасной эксплуатации сосудов, работающих под давлением/Утв. Госгортехнадзором СССР 27.11.87.- М.: Металлургия, 1989.

6. Вудфорд Д. Повреждение при ползучести и концепция остаточной долговечности. - Теоретические основы инженерных расчётов. (TP.ASME),1979, т.101, №4 с-1-8.

7. Гусенков А.П., Котов П.И. Малоциклическая усталость при неизометрическом нагружении. -М.:Машиностроение, 1983.- 240с.

8. Коллинз Дж. Повреждение материалов в конструкциях. Анализ, предсказание, предотвращение. - М.: Мир, 1984. -642с.

9. Крутасов Е.И. Надежность металла энергетического оборудования.-М.:Энергоиздат,1981.-240с. - (Межиздательская серия "Надежность и качество").

10. Кудрявцев П.Н. Нераспространяющиеся усталостные трещины. - М:. Машиностроение, 1982.-171с.

11. Мацекко В.Б., Костовецкий Д.Л. Измерение ползучести труб. (В сб.: Энергетическое оборудование. НИИинформтяжмаш, 1975, №9, c.27-31.)

12. Миланчев B.C. Повреждаемость сварной нефтеаппаратуры. - НТРС "Эксплуатация, модернизация и ремонт оборудования нефтеперерабатывающей и нефтехимической промышленности". ЦНИИТЭ-нефтехим. 1983. №2, с.7-13.

13. Михляев П.Г., Нешпор Г.С., Кудрявцев В.Г. Кинетика разрушения. - М.: Металлургия, 1979.-279с.

14. Нахалов В.А. Надежность швов труб теплоэнергетических установок. - М. Энергоиздат, 1983.-194с. - (Межиздательская серия "Надежность и качество").

15. Прочность конструкций при малоциклическом нагружении./Н.А. Махутов, А.З. Воробьев и др. - М.: Наука,1983.-271с.

16. Самсонов Ю.А., Феденко В.И. Справочник по ускоренным ресурсным испытаниям судового оборудования. - Л.: Наука, 1979, с. 256-262.

17. Серенсен С.В., Koгaeв В.П., Шнейдерович P.M. Несущая способность и расчет деталей машин на прочность. - М.: Машиностроение, 1975, -488.

18. Стеклов О.И. Прочность сварных конструкций в агрессивных средах. - М.: Машиностроение, 1976.-200с.

19. Химмельблау Д. Обнаружение и диагностика неполадок в химических и нефтехимических процессах; Пер. с англ.-Л.:Химия,1983.-352 с.

20. Швиденко В.И. Термоусталость. - Киев: Высш. школа, 1980. -208 с.

21. Школьник Л.М. Методика усталостных испытаний: Справочник. - М.: Металлургия, 1978.-304 с.

22. Антикайн П.А., Зыков А.К. Эксплуатационная надежность объектов котлонадзора; Справочное издание. - М.: Металлургия, 1988.

23. Маннапов Р.Г. Оценка надежности химического и нефтяного оборудования при поверхностном разрушении/Обзор.информ. Сер. ХМ-1. -М.: ЦИНТИхимнефтемаш, 1988.

24. Технические средства диагностирования: Справочник/В.В. Клюев, П.П. Пархоменко, В.Е. Абрамчук и др./Под общ.ред. В.В. Клюева. - M.: Машиностроение, 1989.

25. Мазайс Я.Р., Трибис Г.В. Экстраполяционные алгоритмы для прогнозирования и диагностики технического состояния машин/В сб.: Точность и надежность механических систем. Параметрические методы диагностики. - Рига, 1988, с. 72-79.

26. Практика коррозионных измерений по принципу исследования сопротивления/Коррозия и зашита от коррозии. Экспресс-информ.-М.: ВИНИТИ, 1989, № 36.

27. Статистические методы обработки эмпирических данных. - М.: Изд-во стандартов, 1978.

28. Отчет "Исследование прочности и циклической долговечности автоклавов и определение режима и ресурса безопасной эксплуатации", M.: Ниихиммаш, 1990, № гос.peг. 01890049564.

29. Воликова И.Г., Родичева Е.Л. Выбор коррозионно-стойких материалов для барабанной сушилки. -Химическое и нефтяное машиностроение, 1990, № 6, с.21-22.

30. Переверзев Е.С. Случайные процессы в параметрических моделях надежности. Киев; Наукова думка, 1987. 240 с.

31. Стрельников В.П. Вероятностно-физические методы исследования надежности машин и аппаратуры/Надежность и контроль качества. 1989, 9, с.3-7, с.33-38.

32. Инструкция по техническому надзору, методам ревизии и отбраковке оборудования нефтеперерабатывающих и нефтехимических производств ИТН-77. Волгоград; ВНИИКТИнефтехимоборудование, 1978. 134 с.

33. Ентус H.Р., Шарихин В.В. Трубчатые печи в нефтеперерабатывающей и нефтехимической промышленности. -М.; Химия, 1987 - 304.

34. Методы и средства натурной тензометрии, Справочник/М.Л.Дайчик, Н.И.Пригоровский, Г.Х.Хушудов- М.:Машиностроение, 1989, 240с.

ИНФОРМАЦИОННЫЕ ДАННЫЕ

1. РАЗРАБОТАН И ВНЕСЕН.

Всесоюзным научно-исследовательским и конструкторским институтом химического машиностроения - НИИхиммаш.

РАЗРАБОТЧИКИ

Р.Г.Маннапов, канд. техн. наук (руководитель темы);

Е.Н.Гальперин, канд. техн. наук; Ткачева О.В. канд. техн. наук

2. УТВЕРЖДЕН КОНЦЕРНОМ "ХИМНЕФТЕМАШ" И ВВЕДЕН В ДЕЙСТВИЕ

Листом утверждения

от " " 91 г.

3. ЗАРЕГИСТРИРОВАН НИИхиммашем

4. СВЕДЕНИЯ О СРОКАХ И ПЕРИОДИЧНОСТИ ПРОВЕРКИ ДОКУМЕНТА

Срок первой проверки 1996 г., периодичность проверки 5 лет.

5. ВВЕДЕН ВПЕРВЫЕ

6. ССЫЛОЧНЫЕ НОРМАТИВНО-ТЕХНИЧЕСКИЕ ДОКУМЕНТЫ

Обозначения НТД, на которые дана ссылка

Номер пункта, подпункта, перечисления, приложения

ГОСТ 9.908-85

2.2

ГОСТ 27.002-89

Общие положения

ГОСТ 27.302-86

3.2., 6.

ГОСТ 1778-70

2.2.

ГОСТ 6032-89

2.2.

ГОСТ 7512-82

2.2.

ГОСТ 14249-89

3.1.

ГОСТ 14782-86

2.2.

ГОСТ 18442-80

2.2.

ГОСТ 20415-82

2.2.

ГОСТ 21105-87

2.2.

ГОСТ 23942-80

3.3., 6.

ГОСТ 25859-83

3.1.

ОСТ 26-291-87

1.2., 2.2.

РД 26-10-87

Приложение 1.

РД 50-490-84

3.2.

РД 50-690-89

4.2.

СОДЕРЖАНИЕ

1. Общие положения. 1

1.1. Основные понятия и определения. 1

1.2. Концепция прогнозирования остаточного ресурса. 2

1.3. Анализ условий эксплуатации. 3

2. Виды повреждений, методы их выявления. 4

2.1. Характерные повреждения оборудования, закономерности их развития. 4

2.2. Критерии предельных состояний оборудования. 5

2.3. Методы выявления повреждений. 6

3. Методы прогнозирования остаточного ресурса, основанные на стандартизованных нормах расчета. 7

3.1. Прогнозирование остаточного ресурса при малоцикловых нагрузках. 7

3.2. Методы прогнозирования остаточного ресурса составных частей машин. 7

3.3. Оценка остаточного ресурса по изменениям контролируемого параметра. 9

4. Методы повышения информативности контроля технического состояния оборудования. 11

4.1. Оценка предельных размеров повреждений статистическими методами. 11

4.2. Планирование минимально необходимого объема контроля. 12

4.3. Сокращение объема контроля за счет использования распределения экстремальных значений. 13

5. Прогнозирование остаточного ресурса оборудования по развитию коррозионных повреждений. 17

6. Оценка остаточного ресурса технологического оборудования по изменению его выходных параметров. 20

Приложение 1 Примеры расчетов остаточного ресурса оборудования. 26

Приложение 2 Рекомендуемые математические модели для прогнозирования. 33

Приложение 3 Примеры нормирования показателей надёжности химического оборудования. 35

Приложение 4 Контроль деформации ползучести котлов и труб паропроводов. 36

Приложение 5 Анализ повреждений металла. 36

Литература. 38

 




Rambler's Top100 Яндекс цитирования
  Copyright © 2008-2026, www.docload.ru