Бесплатная библиотека стандартов и нормативов www.docload.ru

Все документы, размещенные на этом сайте, не являются их официальным изданием и предназначены исключительно для ознакомительных целей.
Электронные копии этих документов могут распространяться без всяких ограничений. Вы можете размещать информацию с этого сайта на любом другом сайте.
Это некоммерческий сайт и здесь не продаются документы. Вы можете скачать их абсолютно бесплатно!
Содержимое сайта не нарушает чьих-либо авторских прав! Человек имеет право на информацию!

 

ОТРАСЛЕВОЙ СТАНДАРТ

НАСОСЫ
Основные требования к установке и эксплуатации
вне помещений на химических, нефтехимических
и нефтеперерабатывающих производствах

ОСТ 26-1141-74

УТВЕРЖДАЮ:

Начальник Технического

Управления Минхиммаша

_________ А.М. Васильев

17 декабря 1974г.

ОТРАСЛЕВОЙ СТАНДАРТ

НАСОСЫ

Основные требования к установке и эксплуатации вне помещений на химических, нефтехимических и нефтеперерабатывающих производствах

ОСТ 26-1141-74

Взамен
ОН 2606-8-68

Распоряжением Технического управления Минхиммаша от 10.02. 1975 г. № 11-3-53/92 срок введения установлен

с 1 июля 1975г.

до 31 декабря 1989г.

(Измененная редакция, изм. №2).

Несоблюдение стандарта преследуется по закону

Настоящий стандарт распространяется на динамические и объемные насосы (насосные агрегаты), используемые в химических, нефтехимических и нефтеперерабатывающих производствах.

Стандарт устанавливает основные требования к оборудованию мест установки насосов (насосных агрегатов) и правилам их эксплуатации вне помещений в макроклиматических районах с умеренным климатом ("у" по ГОСТ 15150-69) при рабочей температуре окружающего воздуха от минус 45 до плюс 40°С.

1. Общие положения

1.1. Вне помещений допускается устанавливать насосы и насосные агрегаты, изготовленные по 1-й и 2-й категориям размещения ГОСТ 15150-69. Установка вне помещений насосов, выполненных по другим категориям размещения, возможна только при согласовании с предприятиями-изготовителями.

В конструкторской и эксплуатационной документации насосов (насосных агрегатов), допускаемых к установке вне помещений, должна содержаться соответствующая запись со ссылкой на настоящий стандарт.

(Измененная редакция, Изм. № 2).

1.2. Вне помещений могут устанавливаться насосы для перекачивания как жидкостей не замерзающих (застывающих или загустевающих) при температурах окружающего воздуха, так и замерзающих жидкостей. При перекачивании замерзающих или содержащих воду жидкостей на местах эксплуатации следует применять специальные средства, исключающие замерзание жидкостей в трубопроводах и насосе.

1.3. Насосы из неметаллических материалов (керамики, фарфора, пластмассы, резины и ферросилида) не допускаются к наружной установке в районах с умеренным и холодным климатом ("у" и "ХЛ" по ГОСТ 15150-69).

1.4. Вне помещений насосы с проточной частью из чугуна допускается применять, для перекачивания воды, водных эмульсий, жидкостей, содержащих воду, с температурой не ниже плюс 3°С и других жидкостей с температурой не ниже минус 15°С. Температура жидкости в насосе не должна понижаться ниже указанных пределов также и при стоянке насоса.

1.5. Электродвигатели, входящие в состав насосных агрегатов, а также пусковая и защитная электроаппаратура, должны удовлетворять требованиям "Правил устройства электроустановок" и, в случае, когда могут образоваться взрывоопасные смеси газов или паров с воздухом, требованиям "Правил изготовления взрывозащищенного и рудничного электрооборудования".

2. Общие требования по установке насосов

2.1 Насосы насосные агрегаты и насосные установки для удобства наблюдения, обслуживания и ремонта, а также для сокращения и рационального использования основных и вспомогательных трубопроводов следует располагать в одном месте или группами (см. Приложение).

При размещении насосов должны предусматриваться проезды (по действующим нормам) для передвижных подъемно-транспортных механизмов.

2.2. Насосное оборудование должно быть защищено от прямого действия атмосферных осадков. С этой целью насосы следует устанавливать под специальными навесами, этажерками технологических установок или эстакадами. Допускается применение индивидуальных легких съемных кожухов с боковыми отверстиями для естественной вентиляции.

2.3. Для защиты насосных агрегатов от снежных и песчаных заносов, косого дождя площадку следует оборудовать съемными, разборными или передвижными щитовыми ограждениями по всему периметру или со стороны преобладающего направления ветров. В верхней и нижней частях ограждений должны быть проемы, обеспечивающие естественную вентиляцию для безопасной работы установки.

2.4. Уровень площадки под насосные агрегаты должен быть выше прилегающей территории (не менее чем на 100 мм). Прилегающая к площадке территория должна быть спланирована с уклонами, обеспечивающими отвод атмосферных осадков от площадки.

2.5. К площадкам, на которых установлены насосные агрегаты, должен быть подведен пар, или сжатый воздух, или нейтральный газ (в зависимости от требований установки) для прогрева и продувки насосов и трубопроводов.

2.6. При оборудовании насосных установок должны быть приняты меры, исключающие образование наледей на фундаментах и полах вблизи насосных агрегатов (например, обогрев полов).

2.7. Площадки, на которых установлены насосные агрегаты, должны быть оборудованы специальными канавками для отвода утечек и незамерзающей дренажной, системой с отстойниками или дренажным резервуаром. Дренажная система должна иметь люки для чистки и внутренний теплопровод (спутник) в случае слива замерзающих жидкостей.

2.8. При перекачивании жидкостей, замерзающих при температурах окружающего воздуха или содержащих воду, чтобы не допустить замерзание жидкостей в трубопроводах и насосе, должны применяться следующие средства:

теплоизоляция насоса и трубопроводов;

прокладка рядом с дренажными трубопроводами теплопроводов (спутников) с общей теплоизоляцией;

при остановке насоса - слив перекачиваемой жидкости с продувкой насоса и трубопроводов сухим воздухом или нейтральным газом, причем камеры и полости, где после остановки насоса остается охлаждающая, затворная или рабочая жидкость, должны иметь устройства для полного опорожнения.

2.9. В насосах, где это предусмотрено конструкцией, для охлаждения или обогрева могут применяться как замерзающие (вода), так и незамерзающие жидкости (трансформаторное масло, антифриз и подобные им жидкости, имеющиеся в данном производстве). Для обогрева насоса жидкость непрерывно подается по замкнутому контуру, а для охлаждения замерзающие жидкости подаются на проток, а незамерзающие - по замкнутому контуру. Если установлено, что естественный теплоотвод (при температуре окружающего воздуха от минус 45°С до плюс 3°С) обеспечивает нормальную работу насоса, охлаждающую жидкость допускается не подавать.

2.10. Затворная замерзающая жидкость (с температурой не ниже плюс 10°С) должна подаваться непрерывно на проток. Для незамерзающей затворной жидкости проток не нужен; если его необходимость не оговорена инструкцией по эксплуатации насоса. В качестве затворной могут использоваться любые допускаемые по условиям производства жидкости нейтральные по отношению к перекачиваемой среде и безопасные для обслуживающего персонала.

2.11. Дренажные и вспомогательные трубопроводы (внутренний диаметр не менее 15 мм) подачи охлаждающей и затворной жидкостей в соответствующие камеры каждого насоса должны быть снабжены продувочными вентилями и уложены с уклоном не менее 1:50 к дренажной системе или резервуару без образования "мешков" (для возможности опорожнения). Запорные и продувочные вентили (при замерзающих жидкостях) должны располагаться в отапливаемом помещении или в теплых шкафах, причем должны быть приняты меры, исключающие замерзание жидкости в трубопроводе перед вентилем. Трубопроводы должны иметь устройства (воронки, смотровые фонари и т.п.) для контроля протока жидкости. Эти устройства устанавливаются непосредственно за соответствующими камерами насоса.

2.12. Площадки, на которых установлены насосные агрегаты, должны быть оборудованы либо стационарными подъемно-транспортными средствами (ПТС) для механизации монтажно-сборочных работ и перемещения агрегатов или их узлов в ремонтные цеха или мастерские, либо должна быть предусмотрена возможность установки передвижных ПТС и обеспечено их наличие.

2.13. Средний и капитальный ремонты насосов в холодное время года следует производить только в ремонтных цехах или мастерских специализированными ремонтными бригадами, оснащенными соответствующими механизмами и приспособлениями. Для этих целей необходимо предусмотреть в установке включенные в технологическую линию резервные, а в случае, когда кратковременный перерыв в работе насоса допустим - подготовленные к действию оборотные насосы.

2.14. За фланцевыми и взрывозащитными соединениями электронасосов при разборках и сборках должно проводиться систематическое наблюдение во избежание нарушения качества (чистоты поверхности, появление коррозии) поверхностей, образующих взрывоопасные пути.

2.15. При консервации насосных установок для наружных неокрашенных поверхностей рекомендуется применять пластичную смазку ПВК по ГОСТ 19537-74.

(Измененная редакция, Изм. № 1).

2.16. Наружные несопрягаемые поверхности насосов должны иметь атмосферостойкое лакокрасочное покрытие по ГОСТ 9894-61 или защитное цинковое покрытие по ГОСТ 9.073-77.

Наружные поверхности деталей насосов из материалов, не подверженных атмосферной коррозии, допускается не окрашивать.

(Измененная редакция, Изм. № 1).

2.17. При наружной установке насосных агрегатов, должны быть предусмотрены необходимые санитарно-гигиенические мероприятия, обеспечивающие нормальные условия работы ремонтных рабочих и обслуживающего персонала:

дистанционный контроль и, при необходимости, автоматическое управление работой насосных агрегатов из специального помещения, чтобы исключить длительное пребывание обслуживающего персонала на открытых площадках;

выделение, с учетом действующих норм, специально оборудованного помещения для обогрева ремонтных рабочих;

обеспечение ремонтных рабочих спецодеждой по действующим нормам в зависимости от климата (температурно-влажностного, ветрового режимов и осадков) и сезона;

установление режима работы ремонтного персонала в соответствии с действующим законодательством.

3. Эксплуатация насосов при рабочей (ГОСТ 15150-69) температуре окружающего воздуха от минус 45°С до плюс 3°С

3.1. Для смазки подшипников и других узлов и деталей насосного агрегата должны применяться зимние сорта масел в соответствии с требованиями инструкций предприятий-изготовителей.

3.2. При подготовке насосов к работе, помимо обычных требований к пуску насосов, устанавливаемых в отапливаемых помещениях, необходимо обеспечить:

постепенность прогрева насоса продуктом во избежание теплового удара, особенно для насосов из хромистой стали и чугуна, например, пропуском через неработающий насос жидкости с постепенным повышением температуры, работой насоса на закрытую задвижку в течение времени, необходимого для разогрева и пр.;

предварительный прогрев масла в смазываемых узлах насосного агрегата (при необходимости, если это предусмотрено конструкцией агрегата);

предварительную продувку отводящей трубки предохранительного клапана (если она имеется);

проверку легкости проворачивания вала агрегата (где это возможно) или проверку пускового тока (по амперметру) при предварительном кратковременном пуске (до 3 сек.);

проверку протока обогревающей (охлаждающей) и затворной жидкостей через насос.

3.3. При остановке на длительное время насос и трубопроводы следует продуть воздухом или нейтральным газом для удаления жидкостей застывающих при температуре окружающего воздуха.

Незастывающие при температуре окружающего воздуха жидкости допускается не удалять, если это возможно по условиям эксплуатации.

3.4. В насосах "горячего" резерва температуру перекачиваемого продукта можно поддерживать за счет циркуляции через насос в небольших количествах продукта (байпасная линия от работающего насоса). При этом должна быть включена система подачи охлаждающей или обогревающей и затворной жидкостей.

3.5. Все не оговоренные в настоящем стандарте требования по выбору, монтажу, уходу и эксплуатации устанавливаемых вне помещений насосных агрегатов остаются такими же, как и для насосных агрегатов, эксплуатируемых в отапливаемых зданиях, и должны выполняться в соответствии с действующими на предприятиях правилами, а также эксплуатационной документацией и инструкциями предприятий-изготовителей.

4. Эксплуатация насосов при рабочей температуре (ГОСТ 15150-89) окружающего воздуха от плюс 3 до плюс 40°С

4.1. В теплое время года требования к насосам, установленным вне помещений, в отношении смазок и масел, перекачиваемой, затворной и охлаждающей жидкостей, а также общих условий выбора, монтажа, ухода и эксплуатации насосов остаются такими же, как и для насосов, эксплуатируемых в отапливаемых помещениях; насосы должны переводиться на смазку летними сортами масла в соответствии с требованиями инструкций предприятий-изготовителей.

4.2. При перекачивании жидкостей с отрицательными температурами следует провести мероприятия по предотвращению тепловых ударов, при запуске насосного агрегата (постепенное захолаживание насоса).

4.3. При перекачивании легкокипящих жидкостей должна быть произведена теплоизоляция насоса и основных трубопроводов.

4.4. При наружной установке насосных агрегатов в местностях с большим количеством пыли вращающиеся или совершающие возвратно-поступательное движение детали (валы, поршневые штоки и т.п.) необходимо закрывать кожухами из листового материала или пластмассы, обеспечивающими защиту от пыли этих деталей.

Зам. директора ВНИИГидромаш

по научной работе, к.т.н.                                                                              В.Б. Шемель

Зав. отделом                                                                                                   В.И. Сергиевский

Зав. лабораторией № 12

к.т.н.                                                                                                                О.В. Яременко

Руководитель и исполнитель

темы, ст. научный сотрудник,

к.т.н.                                                                                                                Б.А Иткин

СОГЛАСОВАНО:

Мминхимпром

3аместитель начальника Управления

по ремонту предприятий химической

промышленности и оборудованию                                                              В.Н. Назаров

Миннефтехимпром СССР

Начальник Управления оборудования                                                        В.Г. Штангей

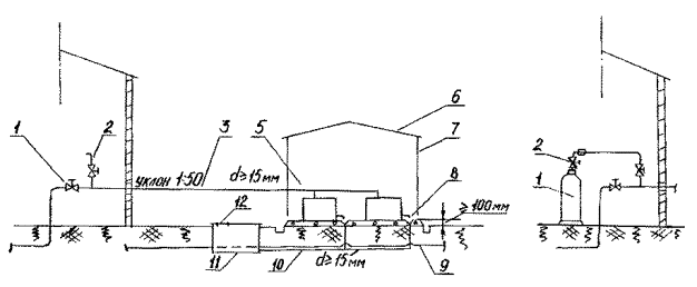
ПРИЛОЖЕНИЕ

Справочное

Схема наружной установки насосов                              Схема продувки вспомогательного трубопровода

1 - запорный вентиль вспомогат. трубопровода;

2 - воздушный продувочный вентиль для слива жидкости при остановках;

3 - вспомогательный трубопровод;

4 - фундамент под насосы (площадка);

5 - насос;

6 - вес над площадкой;

7 - боковой шит;

8 - воронка для контроля протока;

9 - теплопроводы "спутники";

10 - дренажный трубопровод;

11 - дренажный бак или коллектор;

12 - люк

1 - сжатый воздух трубопровода или нейтральный газ;

2 - вентиль продувки под давлением

СОДЕРЖАНИЕ

 




Rambler's Top100 Яндекс цитирования
  Copyright © 2008-2025, www.docload.ru