Бесплатная библиотека стандартов и нормативов www.docload.ru

Все документы, размещенные на этом сайте, не являются их официальным изданием и предназначены исключительно для ознакомительных целей.
Электронные копии этих документов могут распространяться без всяких ограничений. Вы можете размещать информацию с этого сайта на любом другом сайте.
Это некоммерческий сайт и здесь не продаются документы. Вы можете скачать их абсолютно бесплатно!
Содержимое сайта не нарушает чьих-либо авторских прав! Человек имеет право на информацию!

 

ГОСТ 5500-2001

МЕЖГОСУДАРСТВЕННЫЙ СТАНДАРТ

ИЗДЕЛИЯ ОГНЕУПОРНЫЕ СТОПОРНЫЕ
ДЛЯ РАЗЛИВКИ СТАЛИ ИЗ КОВША

Технические условия

 

МЕЖГОСУДАРСТВЕННЫЙ СОВЕТ
ПО СТАНДАРТИЗАЦИИ, МЕТРОЛОГИИ И СЕРТИФИКАЦИИ

Минск

 

Предисловие

1 РАЗРАБОТАН ОАО «Санкт-Петербургский институт огнеупоров» (ОАО «СПбИО»), Межгосударственным техническим комитетом по стандартизации МТК 9 «Огнеупоры»

ВНЕСЕН Госстандартом России

2 ПРИНЯТ Межгосударственным Советом по стандартизации и метрологии (протокол № 19 от 24 мая 2001 г.)

За принятие проголосовали:

Наименование государства

Наименование национального органа по стандартизации

Азербайджанская Республика

Азгосстандарт

Республика Армения

Армгосстандарт

Республика Беларусь

Госстандарт Республики Беларусь

Республика Казахстан

Госстандарт Республики Казахстан

Кыргызская Республика

Кыргызстандарт

Российская Федерация

Госстандарт России

Республика Таджикистан

Таджикстандарт

Туркменистан

Главгосслужба «Туркменстандартлары»

Узбекистан

Узгосстандарт

3 Постановлением Государственного комитета Российской Федерации по стандартизации и метрологии от 30 июля 2001 г. № 302-ст межгосударственный стандарт ГОСТ 5500-2001 введен в действие непосредственно в качестве государственного стандарта Российской Федерации с 1 марта 2002 г.

4 ВЗАМЕН ГОСТ 5500-75

СОДЕРЖАНИЕ

1 Область применения. 2

2 Нормативные ссылки. 2

3 Определения. 3

4 Марки. 3

5 Форма и размеры.. 3

6 Общие технические требования. 12

7 Правила приемки. 16

8 Методы контроля. 17

9 Транспортирование и хранение. 18

Приложение А Расчетные объем, масса и средняя кажущаяся плотность стопорных изделий. 18

Приложение Б Форма и размеры винтовой нарезки металлического стопорного штыря. 21

Приложение В Определение термической стойкости стопорной трубки и пробки. 22

Приложение Г Библиография. 23

ГОСТ 5500-2001

МЕЖГОСУДАРСТВЕННЫЙ СТАНДАРТ

ИЗДЕЛИЯ ОГНЕУПОРНЫЕ СТОПОРНЫЕ ДЛЯ РАЗЛИВКИ СТАЛИ ИЗ КОВША

Технические условия

Stopper refractories for steel pouring from ladle.
Specifications

Дата введения 2002-03-01

1 Область применения

Настоящий стандарт распространяется на огнеупорные стопорные изделия (далее - изделия) для разливки стали из ковша: стопорные трубки, пробки, стаканы, вкладыши к стаканам и гнездовые кирпичи.

Обязательные требования к качеству продукции по массовой доле оксидов, открытой пористости и термической стойкости изложены в пункте 6.1 (таблицы 14, 16, 18, 20, 22).

2 Нормативные ссылки

В настоящем стандарте использованы ссылки на следующие стандарты:

ГОСТ 166-89 (ИСО 3599-76) Штангенциркули. Технические условия

ГОСТ 427-75 Линейки измерительные металлические. Технические условия

ГОСТ 2409-95 (ИСО 5017-88) Огнеупоры. Метод определения кажущейся плотности, открытой и общей пористости, водопоглощения

ГОСТ 2642.0-86 Огнеупоры и огнеупорное сырье. Общие требования к методам анализа

ГОСТ 2642.2-86 Огнеупоры и огнеупорное сырье. Методы определения изменения массы при прокаливании

ГОСТ 2642.3-97 Огнеупоры и огнеупорное сырье. Методы определения оксида кремния (IV)

ГОСТ 2642.4-97 Огнеупоры и огнеупорное сырье. Методы определения оксида алюминия

ГОСТ 2642.5-97 Огнеупоры и огнеупорное сырье. Методы определения оксида железа (III)

ГОСТ 2642.8-97 Огнеупоры и огнеупорное сырье. Методы определения оксида магния

ГОСТ 2991-85 Ящики дощатые неразборные для грузов массой до 500 кг. Общие технические условия

ГОСТ 3749-77 Угольники поверочные 90°. Технические условия

ГОСТ 4069-69 Огнеупоры и огнеупорное сырье. Методы определения огнеупорности

ГОСТ 4070-2000 (ИСО 1893-89) Огнеупоры. Метод определения температуры деформации под нагрузкой

ГОСТ 4071.1-94 (ИСО 10059-1-92) Изделия огнеупорные с общей пористостью менее 45 %. Метод определения предела прочности при сжатии при комнатной температуре

ГОСТ 5402.1-2000 (ИСО 2478-87) Изделия огнеупорные с общей пористостью менее 45 %. Метод определения остаточных изменений размеров при нагреве

ГОСТ 7502-98 Рулетки измерительные металлические. Технические условия

ГОСТ 8179-98 (ИСО 5022-79) Изделия огнеупорные. Отбор образцов и приемочные испытания

ГОСТ 9078-84 Поддоны плоские

ГОСТ 10198-91 Ящики деревянные для грузов массой св. 200 до 20000 кг. Общие технические условия

ГОСТ 10905-86 Плиты поверочные и разметочные. Технические условия

ГОСТ 15136-78 Изделия огнеупорные. Метод измерения глубины отбитости углов и ребер

ГОСТ 24717-94 Огнеупоры и сырье огнеупорное. Маркировка, упаковка, хранение и транспортирование

ГОСТ 25706-83 Лупы. Типы, основные параметры. Общие технические требования

ГОСТ 25714-83 Контроль неразрушающий. Акустический звуковой метод определения открытой пористости, кажущейся плотности, плотности и предела прочности при сжатии огнеупорных изделий

ГОСТ 28584-90 Огнеупоры и огнеупорное сырье. Метод определения влаги

ГОСТ 28833-90 Дефекты огнеупорных изделий. Термины и определения

3 Определения

В настоящем стандарте применяют следующие термины с соответствующими определениями:

3.1 посечка, трещина, скошенность, овальность: По ГОСТ 28833.

3.2 рабочая поверхность стопорного изделия: Поверхность, находящаяся в контакте с расплавом металла и шлака; для стопорной трубки и пробки - также все места стыка изделий, включая винтовую нарезку пробки.

3.3 конусность: Отношение разности верхнего и нижнего диаметров изделия цилиндрической формы к высоте изделия.

4 Марки

4.1 Изделия подразделяют на марки, указанные в таблице 1.

Таблица 1- Характеристика марок стопорных изделий (стопорного припаса)

Марка изделия

Характеристика

Вид изделия

ШСП-32

Шамотный стопорный припас с массовой долей AL203 не менее 32 %

Стопорная трубка, пробка, стакан, гнездовой кирпич

ШСП-34

Шамотный стопорный припас с массовой долей AL203 не менее 34 %

Пробка, стакан

ШСП-35

Шамотный стопорный припас с массовой долей AL203 не менее 35 %

Стопорная трубка

ШСП-37

Шамотный стопорный припас с массовой долей AL203 не менее 37 %

Пробка

ШГСП

Шамотнографитовый стопорный припас

Пробка, стакан

МКРСП

Муллитокремнеземистый стопорный припас с массовой долей AL203 свыше 45 %

Пробка

МКРАСП

Муллитокремнеземистый стопорный припас с массовой долей AL203 свыше 45 % из сырья Аркалыкского месторождения

Стопорная трубка

МЛСП

Муллитовый стопорный припас с массовой долей AL203 свыше 62 %

Стакан

МЛСП-63

Муллитовый стопорный припас с массовой долей AL203 не менее 63 %

Стопорная трубка

МКСП

Муллитокорундовый стопорный припас с массовой долей AL203 свыше 72 %

Пробка

МКСП-73

Муллитокорундовый стопорный припас с массовой долей AL203 не менее 73 %

Стопорная трубка

МКСПТ-73

Муллитокорундовый стопорный припас с массовой долей AL203 не менее 73 % термостойкий

То же

ПСП-90

Периклазовый стопорный припас с массовой долей MgO не менее 90 %

Стакан, вкладыш

РБСП-88

Периклазовый безобжиговый стопорный припас с массовой долей MgO не менее 88 %

То же

ФБСП-54

форстеритовый безобжиговый стопорный припас с массовой долей MgO не менее 54 %

»

5 Форма и размеры

5.1 Форма и размеры изделий должны соответствовать указанным на рисунках 1 - 12 и в таблицах 2 - 12.

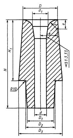
Рисунок 1 - Стопорная трубка номеров 1-8 и 8-1

Таблица 2 - Размеры стопорной трубки

В миллиметрах

Номер изделия

H

h

h1

D

D1

D2

d

d1

d2

Номер применяемой пробки

1

300

10

13

100

67

63

40

72

67

9

2

300

14

17

125

81

75

48

86

79

10

3

300

18

21

140

94

88

54

100

93

11

4

300

18

21

160

106

100

60

111

104

12

5

300

23

26

180

125

115

64

129

119

13

6

300

23

34

180

125

115

64

129

115

13

7

270

23

26

200

125

115

64

129

119

14, 14-2

8

270

23

34

200

125

115

64

129

115

14, 14-2

8-1

270

35

38

200

136

110

64

140

114

14-1

Примечания

1 Высоту h1 стопорной трубки номеров 6 и 8 принимают большей по сравнению с трубкой номеров 5 и 7 с учетом применения разгрузочной металлической шайбы толщиной 8 мм.

2 По соглашению сторон допускается изготавливать стопорные трубки: номеров 1 - 8, 8-1 высотой 150, 200, 250 мм; номеров 5, 6 высотой 275 мм; номеров 7, 8, 8-1 высотой 300 мм, а также номеров 1 - 8, 8-1 с другим внутренним диаметром d.

Рисунок 2 - Пробка номеров 9 - 14, 14-1, 14-2

Таблица 3 - Размеры пробки

В миллиметрах

Номер изделия

H

h

D

D1

D2

d1

d2

d3

d4

l

S

r

r1

R

R1

e

k

9

125

10

100

67

63

34

24

32

22

72

12

2,8

2,6

47,5

27

97

31

10

140

14

125

81

75

40

30

38

28

91

12

2,8

2,6

57,5

45

126

51

11

160

18

140

94

88

48

36

46

34

100

16

3,7

3,6

67,5

54

140

60

12

180

18

160

106

100

55

43

52

40

115

16

3,7

3,6

77,5

62

160

69

13

200

23

180

125

115

55

43

52

40

120

16

3,7

3,6

77,5

62

166

69

14

200

23

200

125

115

55

43

52

40

120

16

3,7

3,6

77,5

62

166

69

14-1

200

35

200

136

110

55

43

52

40

132

16

3,7

3,6

77,5

62

166

69

14-2

225

23

200

125

115

55

43

52

40

120

16

3,7

3,6

77,5

62

166

69

Примечания

1 Верхний и нижний витки винтовой нарезки пробки обрезают так, чтобы исключить возможность образования острого угла.

2 Допускается изготавливать пробку:

без выемки в верхней части винтовой нарезки;

с цилиндрическим пояском высотой 15 - 20 мм в верхней части конической поверхности диаметром D, равным 100 - 160 мм, и высотой 20 - 50 мм диаметром D, равным 180 - 200 мм;

с цилиндрическим пояском высотой до 5 мм на переходе от конической к сферической части;

с выступающим или утопленным сферическим следом от выталкивателя пресс-формы высотой до 1 мм в нижней части.

3 Металлургическим предприятиям, изготавливающим пробки для собственного потребления, разрешается изготавливать их не только с винтовым, но и с анкерным или болтовым креплением.

Рисунок 3 - Стакан номеров 15 - 23

Таблица 4 - Размеры стакана номеров 15 - 23

В миллиметрах

Номер изделия

Н

D

D1

d

d1

r

e

k

Номер применяемой пробки

15

140

140

112

24

26

28

30

32

35

40

45

50

35

34

60

9

50

52

16

240

160

120

20

22

24

26

28

30

35

40

45

50

55

60

65

35

34

67

11

70

72

17

300

160

127

25

30

35

40

45

50

55

60

35

34

65

10, 11

60

62

70

72

18

360

160

120

30

35

40

45

50

55

60

65

40

37

72

11

70

72

19

140

140

112

30

35

40

45

50

58

35

34

64

10

60

62

20

300

160

127

30

35

40

45

50

55

60

65

68

35

34

69

10, 11

70

72

21

360

160

120

30

35

40

45

50

55

60

65

68

55

51

88

12, 13, 14, 14-1, 14-2

70

72

22

240

180

140

30

35

40

45

50

55

60

65

71

50

46

85

11

70

72

23

370

210

146

30

35

40

45

50

55

60

67

90

86

120

12, 13, 14, 14-1, 14-2

70

80

82

65

64

105

90

100

102

54

54

105

Примечание - Стакан номер 23 диаметром внутреннего канала d, равным 70, 80, 90, 100 мм, изготавливают только безобжиговым.

Рисунок 4 - Стакан номер 24

Таблица 5 - Размеры стакана номер 24

В миллиметрах

Номер изделия

Н

Н1

D

D1

D2

D3

d1

d2

r

e

k

Номер применяемой пробки

24

370

320

210

146

152

180

30

35

40

45

50

55

60

67

90

86

120

12, 13, 14, 14-1, 14-2

70

80

82

65

64

105

90

100

102

54

54

105

Примечание - Стакан номер 24 диаметром внутреннего канала d, равным 70, 80, 90 и 100 мм, изготавливают только безобжиговым.

Рисунок 5 - Стакан номеров 25 - 30

Таблица 6 - Размеры стакана номеров 25 - 30

В миллиметрах

Номер изделия

Н

h

h1

D

D1

d

d1

d2

d3

Номер применяемых

вкладыша

пробки

25

200

60

8

125

95

30

35

40

75

80

106

35

9

26

140

60

8

140

112

30

35

40

75

80

106

35

9

27

240

65

12

160

120

25

30

35

40

45

50

55

60

98

102

140

36

10, 11

28

300

65

12

160

127

25

30

35

40

45

50

55

60

98

102

140

36

10, 11

29

360

65

12

160

120

30

35

40

45

50

55

60

98

102

140

36

10, 11

30

240

65

12

180

140

30

35

40

45

50

55

60

98

102

140

36

10, 11

Рисунок 6 - Стакан номеров 31 и 32

Таблица 7 - Размеры стакана номеров 31 и 32

В миллиметрах

Номер изделия

Н

Н1

D

D1

D2

D3

d

d1

r

e

k

Номер применяемой пробки

31

280

170

140

110

120

164

30

35

40

45

50

55

60

65

40

37

72

11

32

360

250

140

110

120

175

30

35

40

45

50

55

60

65

40

37

72

11

Рисунок 7 - Стакан номеров 33 и 34

Таблица 8 - Размеры стакана номеров 33 и 34

В миллиметрах

Номер изделия

H

H1

h

h1

D

D1

D2

D3

d

d1

d2

d3

Номер применяемых

вкладыша

пробки

33

280

170

65

8

140

11

120

164

30

35

40

45

50

55

60

98

102

126

36

10, 11

34

360

250

65

8

140

110

120

175

30

35

40

45

50

55

60

98

102

126

35

10, 11

Примечание - В верхней и нижней частях наружной конической поверхности стаканов всех номеров допускается цилиндрический поясок высотой 10 - 15 мм, а при переходе от верхней конической поверхности к шейке стакана по размеру D3 - закругление радиусом до 5 мм.

Рисунок 8 - Вкладыш номеров 35 и 36

Таблица 9 - Размеры вкладыша номеров 35 и 36

В миллиметрах

Номер изделия

h

d

d1

d2

d3

r

e

k

Номер применяемых

стакана

пробки

35

57

30

35

40

71

76

43

35

29

56

25, 26

9

36

62

25

30

94

98

42

50

44

70

27, 28, 29, 30, 33, 34

10, 11

62

35

40

45

94

98

52

45

39

70

62

50

55

60

94

98

62

40

32

70

Примечание - На верхней части наружной поверхности и конусной части внутренней поверхности вкладыша допускается цилиндрический поясок высотой до 5 мм.

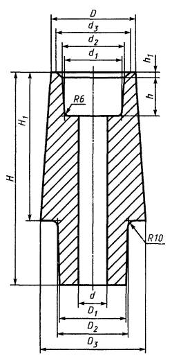
Рисунок 9 - Гнездовой кирпич номеров 37 - 44

Таблица 10 - Размеры гнездового кирпича номеров 37 - 44

В миллиметрах

Номер изделия

В

H

h1

d

d1

d2

Номер применяемого стакана

37

250

100

30

190

129

119

25

38

250

120

30

190

144

126

15, 19, 26

39

250

120

30

225

184

169

22, 30

40

300

150

40

240

184

166

22, 30

41

300

150

40

240

164

146

16, 27

42

300

150

40

240

164

152

17, 18, 20, 21, 28, 29

43

360

150

60

300

215

200

23

44

360

150

60

300

215

206

24

Рисунок 10 - Верхняя часть составного гнездового кирпича номер 45

Рисунок 11 - Нижняя часть составного гнездового кирпича номер 46

Таблица 11 - Размеры гнездового кирпича номеров 45 - 46

В миллиметрах

Номер изделия

В

H1

h1

d

d1

d2

d3

Номер применяемого стакана

45

300

75

40

240

164

160

-

17, 18, 20, 21, 28, 29

46

300

75

-

-

-

160

152

Рисунок 12 - Гнездовой кирпич номер 49

Таблица 12 - Размеры гнездового кирпича номер 49

В миллиметрах

Номер изделия

В

H

h1

d

d1

d2

Номер применяемого стакана

49

300

150

40

220

144

159

31, 32, 33, 34

По соглашению сторон допускается изготавливать изделия других форм и размеров по чертежам заказчика с указанием предельных отклонений по размерам.

5.1.1 Допускается радиус закругления вертикальных граней в наружных углах гнездового кирпича до 8 мм. На конусной части внутренней поверхности гнездового кирпича (по d2 - для номеров 37 - 45; по d3 - для номера 46; по d1 и d2 - для номера 49) допускается цилиндрический поясок высотой 5 - 10 мм.

5.1.2 Расчетный объем, расчетная масса и средняя кажущаяся плотность стопорных изделий (приложение А) не являются браковочным признаком.

5.1.3 Форма и размеры винтовой нарезки металлического стопорного штыря приведены в приложении Б.

5.2 Предельные отклонения размеров изделий должны соответствовать указанным в таблице 13.

Таблица 13 - Предельные отклонения размеров

Размер изделия

Предельное отклонение размеров

стопорной трубки

пробки

стакана

вкладыша

гнездового кирпича

мм

%

мм

%

мм

%

мм

мм

%

1 Диаметр изделия:

 

 

 

 

 

 

 

 

 

полусухого формования:

 

 

 

 

 

 

 

 

 

до 50 мм включ.

±1

-

±1

-

±1

-

±1

-

-

св. 50 » 100 мм »

±2

 

±2

-

±2

-

±1

-

-

» 100 мм

-

±2

-

±2

±2

-

-

±2

-

пластического формования:

 

 

 

 

 

 

 

 

 

до 50 мм включ.

±2

-

±1

-

±1

-

±1

-

-

св. 50 » 100 мм »

±2

-

±2

-

±2

-

±1

-

-

» 100 мм

-

±2

-

±2

-

±2

-

-

±2

2 Диаметр буртика и паза

±1

-

±1

-

-

-

-

-

-

3 Высота буртика (h) и глубина паза (h1)

±1

-

±1

-

-

-

-

-

-

±1

-

-

-

-

-

-

±1

-

4 Высота гнезда под вкладыш

-

-

-

-

+2

-

-

-

-

5 Высота, длина и ширина:

 

 

 

 

 

 

 

 

 

до 100 мм включ.

-

-

-

-

-

-

+1

-

±2

св. 100 » 200 мм »

-

±3

-

±3

±5

-

 

-

±2

» 200 мм

-

±3

-

±3

±6

-

-

-

±2

Примечания

1 Отклонение по диаметру винтовой нарезки пробки устанавливают ±1 мм.

2 Гнездовой кирпич с плюсовым допуском по диаметру рекомендуется использовать со стаканом с плюсовым допуском, а гнездовой кирпич с минусовым допуском - соответственно со стаканом с минусовым допуском.

6 Общие технические требования

6.1 По физико-химическим показателям и показателям внешнего вида изделия должны соответствовать требованиям, указанным в таблицах 14 - 24.

Таблица 14 - Физико-химические показатели стопорной трубки

Наименование показателя

Норма для марки

ШСП-32

ШСП-35

МКРАСП

МЛСП-63

МКСПТ-73

МКСП-73

1 Массовая доля на прокаленное вещество, %:

 

 

 

 

 

 

Аl2O3, не менее

32

35

Св. 45

63

73

73

Fe2О3, не более

-

-

2,8

1,3

1,5

1,1

2 Огнеупорность, °С, не ниже

1690

1710

1750

-

-

-

3 Открытая пористость изделий, %:

 

 

 

 

 

 

полусухого формования

15 - 26

15 - 26

18 - 25

16 - 21

Не более 24

16 - 20

пластического формования

19 - 26

19 - 26

-

-

-

-

4 Дополнительная линейная усадка, %, не более, при температуре:

 

 

 

 

 

 

1350 °С

0,3

0,3

-

-

-

-

1400 °С

-

-

0,3

0,1

0,3

0,1

5 Термическая стойкость, число теплосмен, не менее

1

2

3

2

Примечание - Разность максимального и минимального значений открытой пористости в одной партии изделий марок ШСП-32, ШСП-35 и МКРАСП не должна превышать 6 %.

Таблица 15 - Показатели внешнего вида стопорной трубки

Наименование показателя

Норма для марки

ШСП-32, ШСП-35, МКРАСП

МЛСП-63, МКСПТ-73, МКСП-73

1 Овальность, мм, не более, при диаметре:

 

до 100 мм включ.

1

св. 100 мм

2

1

2 Кривизна по высоте изделия, мм, не более

2

1

3 Скошенность торцовых плоскостей, мм, не более

1

4 Отбитость: на рабочей поверхности

Не допускается

на внешней кромке торцов глубиной, мм, не более

3

5 Отдельные выплавки на рабочей поверхности диаметром, мм, не более

5

6 Отдельные посечки, не образующие сетки и не пересекающие ребро, шириной:

 

до 0,3 мм включ.

-

св. » 0,3 » 0,5 мм »

 

длиной, мм, не более, на поверхности:

 

рабочей

25

20

нерабочей

40

25

7 Трещины

Не допускаются

Примечание - На рабочей поверхности не должно быть выступающих и выкрашивающихся зерен; канал должен быть свободен от песка, шамотного порошка, других загрязнений и налипов.

Таблица 16 - Физико-химические показатели пробки

Наименование показателя

Норма для марки

ШСП-32

ШСП-34

ШСП-37

ШГСП

МКРСП

МКСП

1 Массовая доля на прокаленное вещество, %:

 

 

 

 

 

 

Аl2O3, не менее

32

34

37

-

Св. 45

Св. 72

Fe2О3, не более

-

-

-

-

1,5

1,2

2 Изменение массы при прокаливании, %, не менее

-

-

-

20

-

-

3 Огнеупорность, °С, не ниже

1690

1710

1710

-

Св. 1750

-

4 Открытая пористость, %, изделий:

 

 

 

 

 

 

полусухого формования

15 - 20

15 - 20

15 - 20

-

16 - 21

16 - 21

пластического формования

18 - 23

18 - 22

18 - 23

Не более 27

20 - 25

-

5 Температура начала размягчения, °С, не ниже, изделий:

 

 

 

 

 

 

полусухого формования

1320

1320

1350

-

1350

-

пластического формования

1350

1350

1370

-

1350

-

6 Термическая стойкость, число теплосмен, не менее

1

3

1

Примечания

1 Разность максимального и минимального значений открытой пористости в одной партии изделий марки ШГСП не должна превышать 5 %.

2 Для пробки номер 9 температуру начала размягчения не определяют.

Таблица 17 - Показатели внешнего вида пробки

Наименование показателя

Норма для марки

ШСП-32, ШСП-34, ШСП-37, МКРСП, МКСП

ШГСП

1 Отбитость глубиной, мм:

 

на рабочей поверхности

Не допускается

в местах сопряжения пробки со стаканом и вкладышем

То же

на внешней кромке торцов, не более

3

2 Отдельные выплавки диаметром, мм, не более:

 

на рабочей поверхности

3

в местах сопряжения пробки со стаканом и вкладышем

Не допускаются

3 Посечки

То же

4 Трещины

»

5 Выгорание графита

-

Не допускается

Примечание - На рабочей поверхности не должно быть выступающих и выкрашивающихся зерен; канал должен быть свободен от песка, шамотного порошка, других загрязнений и налипов.

Таблица 18 - Физико-химические показатели стакана

Наименование показателя

Норма для марки

ШСП-32

ШСП-34

ШГСП

МЛСП

ПСП-90

ПБСП-88

ФБСП-54

1 Массовая доля на прокаленное вещество, %:

 

 

 

 

 

 

 

Аl2O3, не менее

32

34

-

Св. 62

-

-

-

Fe2О3, не более

-

-

-

1,5

-

-

-

MgO, не менее

-

-

-

-

90

88

54

SiO2, не более

-

-

-

-

-

-

32

2 Изменение массы при прокаливании, %, не менее

 

 

20

 

 

 

 

3 Огнеупорность, °С, не ниже

1690

1710

-

-

-

-

-

4 Открытая пористость, %, не более

22

20

27

24

26

22

22

5 Температура начала размягчения,

 

 

 

 

 

 

 

°С, не ниже

1350

1350

-

-

-

-

-

6 Предел прочности при сжатии, Н/мм2, не менее

 

 

 

 

25

25

25

7 Кажущаяся плотность, г/см3, не менее

 

 

 

 

.

2,55

 

8 Массовая доля влаги, %, не более

--

--

-

-

--

0,6

0,5

Примечания

1 Допускается изготовлять стакан номеров 19 - 24 марки ПСП-90 с открытой пористостью не более 29 % и пределом прочности при сжатии не менее 20 Н/мм2.

2 По требованию потребителя безобжиговый стакан подвергают парафинированию.

Таблица 19 - Показатели внешнего вида стакана

Наименование показателя

Норма для марки

ШСП-32, ШСП-34, МЛСП, ПСП-90, ПБСП-88, ФБСП-54

ШГСП

1 Отбитость глубиной, мм, не более:

 

на рабочей поверхности

3

в местах сопряжения стакана с пробкой

Не допускается

на нерабочей поверхности:

 

глубиной, мм, не более

10

длиной, мм, не более

15

в количестве, шт., не более

2

2 Отдельные выплавки диаметром, мм, не более:

 

на рабочей поверхности

3

в местах сопряжения стакана с пробкой

Не допускаются

на нерабочей поверхности

5

3 Отдельные посечки, не образующие сетки и не пересекающие ребро, шириной:

 

до 0,3 мм включ.

-

св. 0,3 » 0,5 мм »

 

длиной, мм, не более, на поверхности:

 

рабочей

Не допускаются

нерабочей

40

в нижней части выемки для вкладыша у стакана номеров 25 - 30, 33, 34 и в месте сопряжения наружной конусной части стакана и шейки для стакана номер 24

25

4 Трещины

Не допускаются

5 Выгорание графита

-

Не допускается

Примечание - На рабочей поверхности не должно быть выступающих и выкрашивающихся зерен; канал должен быть свободен от песка, шамотного порошка, других загрязнений и налипов.

Таблица 20 - Физико-химические показатели вкладыша

Наименование показателя

Норма для марки

ПСП-90

ПБСП-88

ФБСП-54

1 Массовая доля на прокаленное вещество, %:

 

 

 

MgO, не менее

90

88

54

SiO2 не более

-

-

32

2 Открытая пористость, %, не более

23

21

20

3 Кажущаяся плотность, г/см3 не менее

-

2,65

-

4 Массовая доля влаги, %, не более

-

0,60

0,50

Примечание - По требованию потребителя безобжиговый вкладыш подвергают парафинированию.

Таблица 21 - Показатели внешнего вида вкладыша

Наименование показателя

Норма для марки

ПСП-90

ПБСП-88

ФБСП-54

1 Отбитость глубиной, мм, не более:

 

на рабочей поверхности

3

в местах сопряжения вкладыша с пробкой

Не допускается

на нерабочей поверхности:

 

глубиной, мм, не более

5

длиной, мм, не более

10

в количестве, шт., не более

2

2 Отдельные выплавки диаметром, мм, не более:

 

на рабочей поверхности

3

в местах сопряжения вкладыша с пробкой

Не допускаются

на нерабочей поверхности

5

3 Отдельные посечки, не образующие сетки и не пересекающие ребро, шириной:

 

до 0,3 мм включ.

-

св. 0,3 » 0,5 мм »

-

длиной, мм, не более, на поверхности:

 

рабочей

Не допускаются

нерабочей

40

4 Трещины

Не допускаются

Примечание - На рабочей поверхности не должно быть выступающих и выкрашивающихся зерен, канал должен быть свободен от песка, шамотного порошка, других загрязнений и налипов.

Таблица 22 - Физико-химические показатели гнездового кирпича марки ШСП-32

Наименование показателя

Норма

1 Массовая доля Аl2О3 на прокаленное вещество, %, не менее

32

2 Огнеупорность, °С, не ниже

1690

3 Открытая пористость, %, не более

23

4 Предел прочности при сжатии, Н/мм2, не менее

15

Таблица 23 - Показатели внешнего вида гнездового кирпича марки ШСП-32

Наименование показателя

Норма

1 Отбитость глубиной, мм, не более:

 

на рабочей поверхности

4

на нерабочей поверхности:

 

глубиной, мм, не более

10

длиной, мм, не более

30

в количестве, шт., не более

3

2 Отдельные выплавки диаметром, мм, не более:

 

на рабочей поверхности

5

на нерабочей поверхности

8

3 Отдельные посечки, не образующие сетки и не пересекающие ребро, шириной:

 

до 0,3 мм включ.

-

св. 0,3 » 0,5 мм »

-

длиной, мм, не более, на поверхности:

 

рабочей

30

нерабочей

50

4 Трещины:

 

на рабочей поверхности

Не допускаются

на нерабочей поверхности длиной, мм, не более

40

Примечание - На рабочей поверхности не должно быть выступающих и выкрашивающихся зерен; канал должен быть свободен от песка, шамотного порошка, других загрязнений и налипов.

Таблица 24 - Размеры посечек в изломе

Наименование изделия

Ширина, мм, не более

Длина, мм, не более

Стопорная трубка

0,5

15

Стакан и вкладыш

0,3

30

Пробка

0,3

15

Гнездовой кирпич

0,5

15

6.2 Изделия в изломе (пробка - в изломе или разрезе) должны быть однородного строения.

Неравномерная окраска, отдельные посечки размерами, указанными в таблице 24, не являются браковочным признаком.

Не допускаются трещины, пустоты и слоистая структура. В шамотных изделиях не допускается черная сердцевина шириной более 10 мм.

6.3 Маркировка и упаковка изделий - по ГОСТ 24717 с дополнениями по п. 6.3.1 - 6.3.3.

6.3.1 На стакан и вкладыш дополнительно наносят размер диаметра внутреннего канала. Например, изготовленный ОАО «Комбинат Магнезит» периклазовый стакан номер 24 диаметром внутреннего канала 40 мм имеет маркировку М-ПСП-90-24-40 или .

6.3.2 При обязательной сертификации продукцию, на которую выдан сертификат, маркируют знаком соответствия по нормативному документу [2].

Знак соответствия наносят на каждую упаковку рядом с маркировкой изделий в соответствии с ГОСТ 24717 и на сопроводительную техническую документацию (сертификат качества).

6.3.3 Безобжиговые стаканы и вкладыши упаковывают в однослойный чехол из полиэтиленовой пленки толщиной не менее 0,150 мм или другие влагонепроницаемые материалы с последующей укладкой на поддоны по ГОСТ 9078 или в ящики по ГОСТ 10198 и ГОСТ 2991.

По согласованию сторон допускается другая упаковка изделий, исключающая гидратацию.

7 Правила приемки

7.1 Правила приемки - по ГОСТ 8179 с дополнениями по 7.1.1 - 7.1.4.

7.1.1 Объем партии не должен превышать:

шамотных стопорных трубок - 75 т, других групп стопорных трубок - 40 т;

пробок, стаканов и вкладышей - 2000 шт.;

гнездовых кирпичей - 4000 шт.;

пробок и стаканов, принимаемых комплектно (комплект - одна пробка и один стакан) - 2000 комплектов.

7.1.2 При приемке изделий, прошедших предварительную разбраковку, применяют следующие номера планов контроля:

2 - для стопорных трубок и пробок;

1 или 1a - для остальных изделий.

При приемке изделий, не прошедших предварительную разбраковку, применяют план контроля номер 5.

7.1.3 При проверке соответствия качества изделий требованиям настоящего стандарта периодичность проведения испытаний должна соответствовать требованиям таблицы 25.

Таблица 25 - Периодичность проведения испытаний

Наименование показателя

Периодичность проведения испытания

1 Внешний вид и размеры

От каждой партии

2 Строение в изломе

То же

3 Химический состав:

 

шамотной стопорной трубки

От каждой десятой партии

других видов шамотных изделий

От каждой пятой партии

остальных изделий

От каждой второй партии

4 Огнеупорность

От каждой пятой партии

5 Открытая пористость

От каждой партии

6 Предел прочности при сжатии

То же

7 Кажущаяся плотность

»

8 Массовая доля влаги

»

9 Температура начала размягчения

От каждой третьей партии

10 Дополнительная линейная усадка

От каждой второй партии

11 Термическая стойкость:

 

шамотной стопорной трубки

От каждой третьей партии

других групп стопорной трубки

От каждой второй партии

пробки

От каждой партии

7.1.4 При проверке готовой продукции измеряют следующие размеры изделий:

стопорная трубка - Н, h, h1, D, d (рисунок 1, таблица 2);

пробка - Н, h, D, d1 (рисунок 2, таблица 3);

стакан - Н, h, h1, D, D1, d, d1 (d1 - для стакана номеров 25 - 30, 33, 34) (рисунки 3 - 7, таблицы 4 - 8);

вкладыш - h, d, d1, d2 (рисунок 8, таблица 9);

гнездовой кирпич - В, Н, H1, h1, d, d1, d2, d3 (рисунки 9 - 12, таблицы 10 - 12).

Точность остальных размеров и конусность изделий обеспечиваются пресс-оснасткой и контролю не подлежат.

8 Методы контроля

8.1 Химический состав определяют по ГОСТ 2642.0, ГОСТ 2642.2 - ГОСТ 2642.5 и ГОСТ 2642.8 или другими методами, обеспечивающими требуемую точность определения.

8.2 Огнеупорность определяют по ГОСТ 4069.

8.3 Открытую пористость и кажущуюся плотность определяют по ГОСТ 2409 или ГОСТ 25714, вкладыша и гнездового кирпича - по ГОСТ 2409. Определения по ГОСТ 25714 проводят на удвоенном количестве образцов. Контрольный метод - по ГОСТ 2409.

8.4 Предел прочности при сжатии определяют по ГОСТ 4071.1 или ГОСТ 25714, гнездового кирпича - по ГОСТ 4071.1.

Предел прочности при сжатии по ГОСТ 25714 определяют на удвоенном количестве образцов.

Контрольный метод - по ГОСТ 4071.1.

8.5 Массовую долю влаги определяют по ГОСТ 28584 на образцах массой 50 - 100 г.

8.6 Температуру начала размягчения определяют по ГОСТ 4070.

8.7 Дополнительную линейную усадку определяют по ГОСТ 5402.1.

8.8 Метод определения термической стойкости приведен в приложении В.

8.9 Размеры и овальность измеряют металлической линейкой по ГОСТ 427, штангенциркулем по ГОСТ 166 или рулеткой по ГОСТ 7502.

Овальность определяют как разность наибольшего и наименьшего диаметров одного сечения изделия.

8.10 Глубину отбитости углов и ребер измеряют по ГОСТ 15136.

8.11 Кривизну определяют на поверочной плите по ГОСТ 10905 или аттестованной металлической плите при помощи щупа [1] или щупа-шаблона шириной 10 мм и толщиной, превышающей на 0,1 мм установленную норму кривизны. Щуп (щуп-шаблон) не должен входить в зазор между плитой и изделием. При определении кривизны изделие слегка прижимают к плите и щуп (щуп-шаблон) вводят в зазор скольжением по плите без применения усилия.

8.12 Для определения скошенности торцовых плоскостей стопорной трубки поверочный угольник типа VII или VIII по ГОСТ 3749 длиной измерительной стороны не менее 250 мм плотно прикладывают одной стороной к образующей стопорной трубки, а второй - к торцу изделия. В образующийся зазор вводят щуп [1] или щуп-шаблон.

Скошенность определяют по максимальному зазору, образующемуся между стороной угольника и торцовой плоскостью.

Для стопорной трубки с конусностью скошенность определяют по указанному максимальному зазору, уменьшенному на значение, равное произведению диаметра измеряемого торца трубки на конусность изделия.

8.13 Диаметр выплавки измеряют в месте ее максимальной величины металлической линейкой по ГОСТ 427.

8.14 Длину посечки или трещины измеряют металлической линейкой по ГОСТ 427.

Ширину посечки или трещины измеряют в месте ее максимального размера измерительной лупой по ГОСТ 25706. Лупу располагают таким образом, чтобы ее шкала была перпендикулярна посечке или трещине. Между шкалой измерения и поверхностью изделия помещают полоску бумаги, которую располагают вдоль шкалы вплотную к делениям.

8.15 Диаметр выплавки на рабочей поверхности стакана и винтовой нарезке пробки, длину посечки на нерабочей поверхности стопорной трубки и нижней части выемки стакана под вкладыш, глубину отбитости на рабочей поверхности стакана и наличие отбитости на винтовой нарезке пробки, а также наличие посечки на рабочей поверхности стакана и на винтовой нарезке пробки оценивают визуально.

8.16 Правильность формы рабочей части пробки определяют по плотности ее прилегания к металлическому стакану-шаблону при вращении пробки вокруг оси симметрии. Не допускается зазор между поверхностью пробки и седловиной стакана-шаблона более 0,3 мм. Правильность выполнения винтовой нарезки пробки определяют навинчиванием пробки на штырь-шаблон.

Правильность формы стакана или стакана с вкладышем определяют по плотности прилегания металлической пробки-шаблона к стакану при вращении ее вокруг оси симметрии. Не допускается зазор более 0,3 мм.

Зазор измеряют щупом [1].

8.17 Строение изделий в изломе (пробка - в изломе или в разрезе) оценивают визуально. Поверхность излома (разреза) получают приложением ударной нагрузки или распилом.

9 Транспортирование и хранение

9.1 Транспортирование и хранение изделий - по ГОСТ 24717.

ПРИЛОЖЕНИЕ А
(справочное)

Расчетные объем, масса и средняя кажущаяся плотность стопорных изделий

А.1 Расчетные объем, масса и средняя кажущаяся плотность стопорных изделий приведены в таблицах А.1 - А.4.

Таблица A.1 - Расчетные характеристики стопорной трубки

Номер изделия

Расчетный объем, см3

Расчетная масса, кг, изделия марки

ШСП-32, ШСП-35

МКРАСП

МЛСП-63

МКСПТ-73

МКСП-73

при средней кажущейся плотности, г/см3

2,0

2,2

2,4

2,5

1

1965

3,9

4,3

4,7

4,9

2

3120

6,2

6,9

7,5

7,8

3

3900

7,8

8,6

9,4

9,8

4

5150

10,3

11,3

12,4

12,9

5

6620

13,2

14,6

15,9

16,6

6

6565

13,1

14,4

15,8

16,4

7

7590

15,2

16,7

18,2

19,0

8

7515

15,0

16,5

18,0

18,8

8-1

7585

15,2

16,7

18,2

19,0

Таблица А.2 - Расчетные характеристики пробки

Номер изделия

Расчетный объем, см3

Расчетная масса, кг, изделия марки

ШСП-32, ШСП-34, ШСП-37

ШГСП

МКРСП

МКСП

при средней кажущейся плотности, г/см3

2,0

1,8

2,2

2,5

9

775

1,6

1,4

1,7

1,9

10

1295

2,6

2,3

2,8

3,2

11

1955

3,9

3,5

4,3

4,9

12

2860

5,7

5,1

6,3

7,2

13

3665

7,3

6,6

8,1

9,2

14

4025

8,1

7,2

8,9

10,1

14-1

4150

8,3

7,5

9,1

10,4

14-2

4620

9,2

8,3

10,2

11,6

Таблица А.3 - Расчетные характеристики стакана

Номер изделия

d, мм

Расчетный объем, см3

Расчетная масса, кг, изделия марки

ШСП-32, ШСП-34

ШГСП

МЛСП

ПСП-90, ПБСП-88, ФБСП-54

при средней кажущейся плотности, г/см3

2,0

1,8

2,4

2,6

15

24

1570

3,1

2,8

-

-

26

1565

3,1

2,8

28

1555

3,1

2,8

30

1550

3,1

2,8

32

1540

3,1

2,8

35

1530

3,1

2,8

40

1505

3,0

2,7

45

1470

2,9

2,6

50

1430

2,9

2,6

16

20

3320

6,6

6,0

8,0

-

22

3310

6,6

6,0

7,9

24

3295

6,6

5,9

7,9

26

3270

6,5

5,9

7,8

28

3265

6,5

5,8

7,8

30

3250

6,5

5,8

7,8

35

3205

6,4

5,8

7,7

40

3155

6,3

5,7

7,6

45

3100

6,2

5,6

7,4

50

3035

6,1

5,5

7,3

55

2965

5,9

5,4

7,1

60

2900

5,8

5,2

7,0

70

2755

5,5

5,0

6,6

17

25

4510

9,0

8,1

10,8

-

30

4460

8,9

8,0

10,7

35

4400

8,8

7,9

10,6

40

4340

8,7

7,8

10,4

45

4260

8,5

7,7

10,2

50

4180

8,4

7,5

10,0

55

4090

8,2

7,4

9,8

60

3990

8,0

7,2

9,6

70

3680

7,4

6,6

8,8

18

30

5075

10,2

9,1

-

-

35

5005

10,0

9,0

40

4915

9,8

8,8

45

4825

9,6

8,7

50

4720

9,4

8,5

55

4605

9,2

8,3

60

4505

9,0

8,1

70

4300

8,6

7,7

19

30

1500

-

-

-

3,9

35

1480

3,8

40

1455

3,8

45

1420

3,7

50

1380

3,6

60

1300

3,4

20

30

4345

-

-

-

11,3

35

4310

11,2

40

4260

11,1

45

4195

10,9

50

4115

10,7

55

4025

10,5

60

3920

10,2

65

3795

9,9

70

3600

9,4

21

30

4915

-

-

-

12,8

35

4865

12,6

40

4800

12,5

45

4720

12,3

50

4630

12,0

55

4515

11,7

60

4385

11,4

65

4240

11,0

70

4100

10,7

22

30

4300

-

-

-

11,2

35

4280

11,1

40

4250

11,1

45

4210

10,9

50

4165

10,8

55

4100

10,7

60

4035

10,5

65

3935

10,2

70

3835

10,0

23

30

8320

-

-

-

21,6

35

8270

21,5

40

8205

21,3

45

8130

21,1

50

8040

20,9

55

7930

20,6

60

7810

20,3

70

7580

19,7

80

7350

19,1

90

7260

18,8

100

7130

18,5

24

30

9455

-

-

-

24,6

35

9375

24,4

40

9300

24,2

45

9220

24,0

50

9145

23,8

55

9065

23,6

60

8990

23,4

70

8835

23,0

80

8680

22,6

90

8525

22,2

100

8370

21,8

25

30

1480

3,0

-

-

-

35

1445

2,9

40

1410

2,8

26

30

1350

2,7

-

-

-

35

1330

2,7

40

1310

2,6

27

25

2985

6,0

-

-

-

30

2950

5,9

35

2910

5,8

40

2860

5,7

45

2810

5,6

50

2745

5,5

55

2680

5,4

60

2605

5,2

28

25

4105

8,2

-

-

-

30

4055

8,1

35

4000

8,0

40

3935

7,9

45

3860

7,7

50

3775

7,6

55

3685

7,4

60

3585

7,2

29

30

4735

9,5

-

-

-

35

4660

9,3

40

4580

9,2

45

4485

9,0

50

4380

8,8

55

4265

8,5

60

4140

8,3

30

30

4060

8,1

-

-

-

35

4020

8,0

40

3970

7,9

45

3920

7,8

50

3855

7,7

55

3790

7,6

60

3715

7,4

31

30

3805

7,6

6,8

-

-

35

3765

7,5

6,8

40

3715

7,4

6,7

45

3655

7,3

6,6

50

3585

7,2

6,4

55

3490

7,0

6,3

60

3390

6,8

6,1

32

30

5515

11,0

9,9

-

-

35

5455

10,9

9,8

40

5385

10,8

9,7

45

5300

10,6

9,5

50

5195

10,4

9,4

55

5075

10,2

9,1

60

4935

9,9

8,9

33

30

3500

7,0

-

-

-

35

3450

6,9

40

3390

6,8

45

3325

6,6

50

3250

6,5

55

3165

6,3

60

3075

6,2

34

30

5215

10,4

-

-

-

35

5140

10,3

40

5055

10,1

45

4960

9,9

50

4855

9,7

55

4735

9,5

60

4605

9,2

Таблица А.4 - Расчетные характеристики вкладыша марок ПСП-90, ПБСП-88, ФБСП-54

Номер изделия

Расчетный объем, см3

d, мм

Расчетная масса, кг, изделия

Номер изделия

Расчетный объем, см3

d, мм

Расчетная масса, кг, изделия

при средней кажущейся плотности 2,65 г/см3

при средней кажущейся плотности 2,65 г/см3

35

160

30

0,42

36

280

35

0,74

155

35

0,41

275

40

0,73

150

40

0,40

270

45

0,72

36

350

25

0,93

255

50

0,68

345

30

0,90

245

55

0,65

 

 

 

235

60

0,62

Таблица А.5 - Расчетные характеристики гнездового кирпича марки ШСП-32

Номер изделия

Расчетный объем, см3

Расчетная масса, кг, изделия

Номер изделия

Расчетный объем, см3

Расчетная масса, кг, изделия

при средней кажущейся плотности 2,0 г/см3

при средней кажущейся плотности 2,0 г/см3

37

4800

9,6

43

13205

26,4

38

5550

11,1

44

13150

26,3

39

4625

9,2

45

4735

9,5

40

9440

18,9

46

5315

10,6

41

10135

20,3

49

10465

20,9

42

10050

20,1

 

 

 

ПРИЛОЖЕНИЕ Б
(обязательное)

Форма и размеры винтовой нарезки металлического стопорного штыря

Б.1 Форма и размеры винтовой нарезки металлического стопорного штыря должны соответствовать указанным на рисунке Б.1 и в таблице Б.1.

Рисунок Б.1- Винтовая нарезка металлического стопорного штыря

Таблица Б.1 - Размеры винтовой нарезки стопорного штыря

В миллиметрах

Номер штыря

d

d1

d2

d3

d4

R

s

r’

r’1

l

Применяемый номер

стопорной трубки

пробки

1

33

31

21

29

19

9

12

3,0

2,0

95

1

9

2

40

37

27

35

25

13

12

3,0

2,0

115

2

10

3

46

45

33

43

31

17

16

4,0

2,8

124

3

11

4

52

52

40

49

37

22

16

4,0

2,8

140

4

12

5

56

52

40

49

37

22

16

4,0

2,8

145

5, 6, 7, 8, 8-1

13, 14, 14-1, 14-2

6

56

53

40

50

37

22

24

4,6

2,5

145

5, 6, 7, 8, 8-1

13, 14, 14-1, 14-2

Примечания

1 Нижний виток винтовой нарезки штыря обрезают так, чтобы исключить образование острого угла.

2 При применении разгрузочной шайбы длина винтовой нарезки lстопорного штыря номер 5 должна быть 133 мм.

3 Штырь номеров 5 и 6 допускается применять диаметром d, равным 60 мм, при соответствующем увеличении внутреннего диаметра d стопорной трубки.

ПРИЛОЖЕНИЕ В
(обязательное)

Определение термической стойкости стопорной трубки и пробки

B.1 Сущность метода

Метод состоит в определении числа теплосмен, выдержанных испытуемым образцом при резкой смене температур от комнатной до 800 °С и последующем охлаждении на воздухе, без разрушения на части.

В.2 Аппаратура

Электрическая вертикальная трубчатая печь внутренним диаметром 200 - 300 мм и высотой жаровой трубы 400 мм, обеспечивающая температуру в рабочем пространстве не ниже 800 °С. Сушильный шкаф с температурой сушки не менее 150 °С. Приспособление для загрузки и выгрузки испытуемых изделий. Термоэлектрический преобразователь с измерительным прибором класса точности 1,5.

В.3 Образцы для испытания

В.3.1 Порядок отбора изделий и количество образцов для испытаний - по ГОСТ 8179, план контроля 2.

В.3.2 Изделие перед испытанием выдерживают не менее 24 ч в сухом отапливаемом помещении или высушивают при температуре 110 - 130 °С в течение 1 ч. Когда испытания проводят непосредственно после обжига изделия, предварительную сушку или выдержку в помещении не производят.

В.3.3 Стопорную трубку или пробку надевают на металлический стержень или штырь-пробкодержатель, резьба которого должна соответствовать номеру испытуемого изделия.

В.4 Проведение испытания

В печь вводят термоэлектрический преобразователь так, чтобы его спай находился в рабочей зоне.

Электрическую печь разогревают до 800 °С, вынимают термоэлектрический преобразователь, подготовленное изделие быстро загружают в печь и закрывают ее крышкой. Изделие с момента загрузки выдерживают в печи 15 мин в вертикальном подвешенном состоянии. В течение этого времени напряжение, подводимое к печи, не должно меняться. Падение температуры после загрузки изделия не фиксируют. Через 15 мин нагретое изделие извлекают из печи и охлаждают на воздухе в подвешенном состоянии.

В.5 Обработка результатов

В.5.1 Термическую стойкость выражают в теплосменах, которые выдержала стопорная трубка (пробка) при резкой смене температур от комнатной до 800 °С и последующем охлаждении на воздухе, находясь в вертикальном подвешенном состоянии, не распадаясь на части, несмотря на наличие трещин, шелушения и сколов по торцам (рисунки B.1 - В.3, В.5 - В.7).

Теплосмену, в которой стопорная трубка (пробка) распалась на части по сквозным трещинам (рисунки В.4, В.8, В.9), не учитывают.

Рисунок B.1

Рисунок В.2

Рисунок В.3

Рисунок В.4

 

Рисунок В.5

Рисунок В.6

Рисунок В.7

Рисунок В.8

Рисунок В.9

В.5.2 Если при указанных испытаниях одно из изделий окажется термически нестойким, проводят повторные испытания на удвоенном количестве образцов (6 шт.), взятых из той же выборки. При наличии хотя бы одного термически нестойкого изделия из шести вновь отобранных образцов партию бракуют.

В.5.3 Результаты испытания записывают в журнал испытания (протокол), в котором указывают:

- наименование предприятия (организации), проводившего испытания;

- обозначение настоящего стандарта;

- дату проведения испытания;

- наименование изделия, его марку и номер;

- номер партии;

- характер разрушения;

- количество теплосмен (Rтс, 800 °С, воздух);

- фамилию исполнителя.

В.5.4 При оценке партии изделий учитывают результаты определения термической стойкости каждого образца.

ПРИЛОЖЕНИЕ Г
(справочное)

Библиография

1 ТУ 2-034-0221197-011-91 Щупы. Модели 82003, 82103, 82203, 82303 (ЗАО «Завод Измерон», С.-Петербург)




Rambler's Top100 Яндекс цитирования
  Copyright © 2008-2026, www.docload.ru