МИНИСТЕРСТВО АВТОМОБИЛЬНЫХ ДОРОГ РСФСР
ГОСУДАРСТВЕННЫЙ ДОРОЖНЫЙ ПРОЕКТНО-ИЗЫСКАТЕЛЬСКИЙ И
НАУЧНО-ИССЛЕДОВАТЕЛЬСКИЙ ИНСТИТУТ
ГИПРОДОРНИИ
ЭТАЛОН
ОТЧЕТА ПО ИНЖЕНЕРНО-ГЕОЛОГИЧЕСКИМ ИЗЫСКАНИЯМ
ПРИ ПРОЕКТИРОВАНИИ АВТОМОБИЛЬНЫХ ДОРОГ
И МОСТОВЫХ ПЕРЕХОДОВ
Утвержден на заседании секции
НТС
Гипродорнии проектной части
Протокол № 10 от 23.12.86
МОСКВА 1987
Эталон отчета по инженерно-геологическим изысканиям при
проектировании автомобильных дорог и мостовых переходов/ Гипродорнии. - М.:
ЦБНТИ Минавтодора РСФСР. 1987.
Основная задача выпуска Эталона - унификация форм полевой,
лабораторной и камеральной документации инженерно-геологических работ.
Эталоном отчета предусмотрены все основные виды записок,
чертежей, ведомостей и графиков, выпускаемых геологической службой Гипродорнии.
При составлении Эталона были учтены требования действующих государственных
стандартов, нормативных документов и пособий к ним.
Разработан гл. геологом - инженером Р.Т. Власюком
(технический отдел Гипродорнии) в развитие ранее изданных (в 1985 г.) образцов
оформления инженерно-геологических паспортов при изысканиях автомобильных
дорог.
Директор института
канд. техн. наук Е.К. Купцов
СОДЕРЖАНИЕ
Технический отчет по инженерно-геологическим изысканиям
должен содержать все данные, необходимые для разработки проектно-сметной
документации, соответствующей стадии проектирования автомобильных дорог.
Отчеты по подробным инженерно-геологическим изысканиям (для
составления проекта и рабочего проекта) должны состоять из пояснительной
записки, текст которой иллюстрируется рисунками и фотографиями, графических
приложений, ведомостей, инженерно-геологических паспортов мостовых переходов,
путепроводов, мест индивидуального проектирования земляного полотна, площадок
под здания и сооружения, месторождений грунта и дорожно-строительных
материалов.
Указания по составлению и составу инженерно-геологических
паспортов приведены в образцах оформления инженерно-геологических паспортов при
изысканиях автомобильных дорог и сооружений на них, изданных техническим
отделом Гипродорнии в 1985 г.
В настоящем Эталоне даны общие указания об объеме отчета по
инженерно-геологическим изысканиям. В каждом отдельном случае его определяют
индивидуально в зависимости от местных условий, особенно это относится к
изысканиям мостовых переходов.
МИНИСТЕРСТВО АВТОМОБИЛЬНЫХ ДОРОГ РСФСР
ГИПРОДОРНИИ
(Филиал)
ОТЧЕТ
ПО ИНЖЕНЕРНО-ГЕОЛОГИЧЕСКИМ РАБОТАМ ДЛЯ
СОСТАВЛЕНИЯ ПРОЕКТА (РАБОЧЕГО ПРОЕКТА)
НА СТРОИТЕЛЬСТВО (РЕКОНСТРУКЦИЮ)
АВТОМОБИЛЬНОЙ ДОРОГИ (МОСТОВОГО ПЕРЕХОДА
ЧЕРЕЗ р. …………………..)………………………………….
Начальник отдела И.О.
Фамилия
Главный геолог (специалист) отдела И.О.
Фамилия
Главный (старший) геолог
экспедиции (партии) И.О.
Фамилия
19 ... г.
2.1. Введение
Административные и географические границы района изысканий.
По чьему заданию осуществлены работы.
Время производства работ.
Степень изученности территории объекта изысканий.
Организация полевых работ (количество партий, отрядов).
Производители работ (главный геолог, начальник партии, ст.
инженер и т.д.). Должность, фамилия автора отчета.
Технология производства инженерно-геологических работ
(проходка шурфов и буровых скважин, тип и марка станков, геофизические методы
разведки, полевые методы исследования грунтов).
Полнота и качество выполненных работ.
2.2. Природные условия района, работ
2.2.1. Климат:
- общая климатическая характеристика района с указанием
климатических зон по участкам трассы;
- осадки, распределение их по месяцам, ливни, средняя
многолетняя и максимальная толщина снежного покрова, число дней со снегопадом,
продолжительность периода снежных метелей и число дней с метелями,
продолжительность зимнего периода;
- сведения дорожно-эксплуатационной службы о снегозаносах на
дорогах в районе проложения трассы;
- число дней с оттепелями, гололедом, туманами;
- средние, максимальные и минимальные температуры воздуха,
переход среднесуточных температур через 0 и 5 градусов; глубина промерзания
почвы, абсолютная и относительная влажность воздуха, даты замерзания и вскрытия
рек, сведения о снежных лавинах и селевых паводках для горных районов;
- ветер; господствующие ветры по временам года, ветры со
скоростью свыше 4 м/с. Зимняя роза ветров, а в южных засушливых районах -
летняя.
2.2.2. Рельеф и гидрография:
- общая геоморфологическая характеристика района проложения
трассы автомобильной дороги;
- районирование трассы по рельефу;
- обеспеченность естественного стока воды, заболачиваемость;
- гидрографическая сеть района проложения трассы;
- перечень средних и больших мостовых переходов.
2.2.3. Почвы и растительность:
- общая характеристика почв района в целом и по участкам;
- описание основных типов почв вдоль трассы автомобильной
дороги;
- растительный покров района проложения трассы автомобильной
дороги;
- рекомендации по древесно-кустарниковой растительности для
снегозащитного и декоративного озеленения;
- возможность использования растительности для дорожного
строительства.
2.2.4. Геология, тектоника и гидрогеология:
- особенность тектоники района, сейсмичность;
- краткая характеристика геологического строения района
проложения трассы дороги в целом и по отдельным участкам;
- характеристика и глубина залегания коренных пород;
- характеристика пород четвертичного возраста;
- условия поверхностного стока, формирование верховодки;
- грунтовые воды, распространение и особенности их
залегания;
- расчетный уровень горизонта грунтовых вод и методы его
определения при инженерно-геологическом обследовании;
- химический состав грунтовых и поверхностных вод
(агрессивные свойства по отношению к бетону, пригодность для затворения бетона,
пригодность для питья);
- источники получения воды для технических целей (полив при
укладке земляного полотна).
2.3. Инженерно-геологическая
характеристика участков изысканий
2.3.1. Грунты:
- общая характеристика грунтов инженерно-геологических
элементов по всему протяжению трассы и по участкам;
- гранулометрический состав и физические свойства основных
грунтовых разностей (естественная влажность, оптимальная влажность и плотность,
определяемая на приборе стандартного уплотнения Союздорнии, пределы
пластичности) категории грунтов по трудности разработки;
- оценка грунтов как строительного материала для возведения
земляного полотна и как основания дорожных сооружений;
- химический состав (содержание водорастворимых солей в
районе развития засоленных почв) по данным местных сельскохозяйственных
предприятий и по данным собственных лабораторных исследований.
2.3.2. Современные физико-геологические процессы:
- наличие и интенсивность проявления современных
физико-геологических процессов, их влияние на работу и устойчивость дорожных
сооружений;
- наличие оползневых явлений, осыпей, карста, болот, мокрых
выемок и других мест, требующих индивидуального проектирования земляного
полотна.
2.3.3.
Инженерно-геологические условия строительства:
- особенности строительства участков типового и
индивидуального проектирования земляного полотна;
- рекомендуемые мероприятия по обеспечению устойчивости
земляного полотна;
- особенности строительства искусственных сооружений и
объектов ПГС.
Примечание. Раздел 2.3 при необходимости можно составлять по трассе
автомобильной дороги и дорожным сооружениям в целом или отдельно по земляному
полотну, малым искусственным сооружениям, мостовым переходам и путепроводам и
объектам ПГС.
2.4. Дорожно-строительные материалы
Использованные литературные и архивные источники - данные
изысканий прежних лет, а также данные для решения вопроса обеспечения объекта
строительными материалами.
Оценка геологического строения рассматриваемого района
проложения автомобильной дороги в части возможности и условий получения
дорожно-строительных материалов.
Краткая общая характеристика обследованных и разведанных
месторождений дорожно-строительных материалов по группам камня, гравия, песка.
Марки и классы материалов по СНиП.
Притрассовые месторождения грунтов для отсыпки насыпей. Их
расположение, условия разработки и транспортировки.
Рекомендации по улучшению строительных материалов, не
отвечавших требованиям норм и технических условий.
Рекомендации по применению местных грунтов, укрепленных
вяжущими для устройства оснований дорожных одежд, а также для других видов
дорожно-строительных работ.
Наличие действующих карьеров и баз по переработке
дорожно-строительных материалов. Качество материалов, условия их получения и
доставки.
Наличие предприятий местной промышленности, дающих отходы,
пригодные к использованию в качестве материалов для дорожно-строительных работ.
Условия получения и доставки отходов. Качество отходов как дорожно-строительных
материалов.
Анализ обеспеченности строительства местными и привозными
дорожно-строительными материалами и их качественная характеристика.
2.5. Результаты обследования существующих автомобильных
дорог
2.5.1. Земляное полотно:
- характеристика земляного полотна в целом и по характерным
участкам;
- деформации, повреждения и разрушения земляного полотна;
- степень уплотнения земляного полотна;
- состояние водоотвода;
- рекомендации по дальнейшему использованию земляного
полотна.
2.5.2. Дорожная одежда:
- состояние дорожной одежды в целом и по характерным
участкам;
- наличие и мощность конструктивных слоев дорожной одежды;
- состав и
характеристика конструктивных слоев дорожной одежды;
- рекомендации по дальнейшему использованию дорожной одежды.
2.6. Выводы
Основные результаты инженерно-геологических исследований
трассы автомобильной дороги и дорожных сооружений.
Рекомендации по устройству дорожных покрытий и оснований,
исходя из природных условий и наличия местных дорожно-строительных материалов.
Примечания.
1. Текст записки
иллюстрируется фотографиями производственных процессов, видов ландшафта
местности, характерных обнажений, отдельных сложных мест, переходов через
водотоки, отдельных участков, показывающих состояние существующих дорог и т.п.
2. Климат района может
быть представлен графиками климатических данных, кривыми температур, осадков и
розами ветров.
Для засушливых районов
следует прилагать не только зимнюю розу ветров, но и летнюю.
3. При сдаче отчета в
геологический фонд его состав и оформление должны отвечать требованиям к
отчетным материалам, сдаваемым в геологический фонд Мингео СССР и в
Мособлгеофонд.

Продолжение


Таблица характеристик глинистых грунтов
Нормативных Расчетных
|
Номер
инженерно-геологического элемента
|
Наименование
грунтов по ГОСТ 25100-82
|
Условные
обозначения
|
Геологический
возраст и генетический тип
|
Природная
влажность
|
Плотность
грунта, т/м3
|
Коэффициент
пористости
|
Показатель
текучести
|
Условное
динамическое сопротивление грунтов в МПа
|
Удельное
сопротивление грунта конусу при статич. зонд, МПа
|
Сопрот.
трения грунта по бок. поверхн. зонда, кН
|
Временное
сопротивление одноосному сжатию, МПа
|
Расчетное
сопротивление грунтов основания, кПа
|
Модуль
деформации, МПа
|
Угол
внутреннего трения в градусах
|
Удельное
сцепление, кПа
|
Удельный
вес грунта, км/м3
|
|
По
несущей способности
|
По
деформациям
|
По
несущей способности
|
По
деформациям
|
По
несущей способности
|
По
деформациям
|
|
W
|
r
|
е
|
Ji
|
РД
|
Р?
|
РQ
|
Rc
|
Ro
|
E
|
УI
|
УII
|
CI
|
CII
|
gI
|
gII
|
|
1
|
Суглинок тугопластичный
|

|
01QIV
|
0,21
0,12(5)
|
1,98
|
0,05
0,09(5)
|
0,36
|
-
|
-
|
-
|
-
|
147
|
14
|
20,9
|
23
|
8
|
12
|
1,91
|
1,95
|
|
2
|
Суглинок мягкопластичный
|

|
0,24
0,13(2)
|
1,97
|
0,75
0,1(2)
|
0,67
|
-
|
-
|
-
|
-
|
-
|
12
|
20,0
|
22
|
7,3
|
11
|
1,95
|
1,94
|
|
4
|
Щебенистый грунт с супесчаным заполнителем
|

|
|
5,8
0,11(6)
|
-
|
-
|
|
-
|
-
|
-
|
-
|
490
|
-
|
-
|
-
|
-
|
-
|
-
|
-
|
|
5
|
Песчаник
|

|
|
-
|
2,5
|
-
|
-
|
-
|
-
|
-
|
80
|
-
|
-
|
-
|
-
|
-
|
-
|
2,4
|
2,5
|
Таблица характеристик
песчаных грунтов
Нормативных Расчетных
|
Номер
инженерно-геологического элемента
|
Наименование
грунтов по ГОСТ 25100-82
|
Условные
обозначения
|
Геологический возраст и генетический тип
|
Гранулометрический состав в %, фракции - в мм
|
Степень неоднородности
|
Степень
влажности
|
Коэффициент
фильтрации, м/сут
|
Условное
динамическое сопротивление грунтов, МПа
|
Расчетное
сопротивление грунтов основания, КПа
|
Модуль
деформации, МПа
|
Угол
внутреннего трения в градусах
|
Удельное
сцепление, кПа
|
|
по
несущей способности
|
по
деформациям
|
по
несущей способности
|
по
деформациям
|
|
> 10
|
10-2
|
2-1
|
1-0,5
|
0,5-0,25
|
0,25-0,10
|
0,10-0,05
|
< 0,05
|
Cu
|
Cr
|
Кф
|
RД
|
Ro
|
E
|
УI
|
УII
|
CI
|
CII
|
|
3
|
Песок крупный
|

|
alQIV
|
-
|
5
|
20
|
32
|
15
|
13
|
12
|
3
|
8,9
|
0,99
|
4,5
|
75
|
343
|
30
|
34
|
38
|
-
|
-
|
Результаты химического анализа воды
|
Лаб.
номер
|
Место
отбора пробы
|
Расчет
|
рН
|
НСО¢3
|
Cl¢
|
SO¢¢4
|
Mg¢¢
|
Ca¢¢
|
Na¢ + K¢
|
CO2 свободная
|
CO2 агрессивная
|
Жесткость
|
Сухой
остаток
|
|
37
|
Русло, глубина 0,5 м
|
мг/л
|
5
|
48,8
|
1,59
|
4
|
следы
|
6,4
|
14,03
|
8
|
15
|
-
|
56
|
|
мг-экв/л
|
0,8
|
0,05
|
0,08
|
следы
|
0,32
|
0,61
|
-
|
-
|
0,32
|
-
|
|
38
|
Скв. 4
Глубина 6 м
|
мг/л
|
6,2
|
|
|
|
|
|
|
|
|
|
|
|
мг-экв/л
|
|
|
|
|
|
|
|
|
|
|
Примечание: характеристики W и l представляются в виде: ,
где X - среднее значение характеристики;
V - коэффициент вариации;
n - число определений.
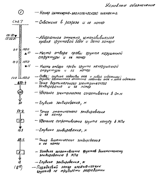
Схема
расположения и других разведочных точек *

Привязка разведочных выработок к трассе *
|
Наименование
и номер выработки
|
КМ
|
ГК
|
+
|
Расстояние,
м
|
Отметка
устья, м
|
|
влево
|
вправо
|
|
|
|
|
|
|
|
|
С-Г
|
17
|
22
|
85
|
Ось
|
183,12
|
|
ВЭ3-1
|
17
|
22
|
85
|
10
|
|
184,00
|
|
ВЭ3-2
|
17
|
22
|
90
|
|
5
|
182,60
|
|
С-3
|
17
|
23
|
15
|
Ось
|
172,50
|
|
ВЭ3-3
|
17
|
23
|
30
|
Ось
|
173,80
|
|
С-4
|
17
|
23
|
45
|
Ось
|
175,00
|
|
ДЗ-1
|
17
|
23
|
45
|
|
5
|
175,10
|
|
ВЭ3-4
|
17
|
23
|
70
|
Ось
|
184,20
|
|
С5
|
17
|
23
|
75
|
Ось
|
183,30
|
|
С3-1
|
17
|
23
|
75
|
|
5
|
183,38
|
|
С-6
|
17
|
24
|
5
|
Ось
|
182,00
|
|
С3-2
|
17
|
24
|
5
|
5
|
|
181,90
|
Пояснения
1. Места расположения
мостового перехода.
2. Сроки выполнения
работ, виды и объемы выполненных работ.
3. Геоморфологические
особенности долины реки.
4. Краткая
характеристика геологического строения. Сейсмичность.
5. Гидрогеологические
условия: типы подземных вод, характеристика водоносных горизонтов, сведения о
режиме и химическом составе, агрессивность грунтовых вод по отношению к
бетонам.
6. Физико-механические
свойства грунтов.
7. Проявление
современных геологических процессов и явлений, их влияние на строительство.
8. Рекомендации по
возведению фундаментов опор.
___________
* - Схему расположения выработок и привязку их к трассе
следует помещать в начале паспорта.
|
|
|
|
|
|
|
|
|
|
|
|
|
|
|
|
|
|
|
|
|
Автомобильная дорога
А-Б
|
|
|
|
|
|
|
|
|
|
|
Искусственные
сооружения
|
Стадия
|
Лист
|
Листов
|
|
|
|
|
|
РП
|
1
|
3
|
|
|
|
|
|
|
|
|
|
|
Инженерно-геологический
паспорт мостового перехода через Р.Б.
|
Минавтодор РСФСР
Гипродорнии
|
|
|
|
|
|
|
|
|
|
|
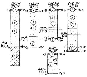
Скважина № 2
Диаметр скважины 127 мм Способ
бурения:
Абс. отм. Устья: 113,12 м колонковый
Начато:
- окончено:
10.02.81
- 10.02.81

Скважина № 3
Диаметр скважины 127 мм Способ
бурения:
Абс. отм. устья: 172,50 м ударный
колонковый
Начато: - окончено:
09.02.81 - 09.02.81

Скважина № 4
Диаметр скважины 127 мм Способ
бурения: Точка
зондирования Д3-1
Абс. отм. устья: 175,00 м ударный
колонковый Тип
установки: Уп 6-15
Начато: - окончено: Абс.
отм. поверхности: 175,00
10.02.81 - 10.02.81 Дата
испытания: 11.02.81

Скважина № 5
Диаметр скважины 127 мм Способ
бурения: Точка
зондирования С3-1
Абс. отм. устья: 183,30 м ударный
колонковый Тип
установки:
Начато: - окончено: Абс.
отм. поверхности: 183,30
11.02.81 - 11.02.81 Дата
испытания: 11.02.81

Скважина № 6
Диаметр скважины 127 мм Способ
бурения: Точка
зондирования С3-2
Абс. отм. устья: 182,00 м ударный Тип
установки:
Начато: - окончено: Абс.
отм. поверхности: 181,90
12.02.81 - 12.02.81 Дата
испытания: 11.02.81

Сводная таблица
физико-механических свойств грунтов по лабораторным и полевым испытаниям
|
Номер
выработки (скважины)
|
Полевой
номер пробы
|
Лабораторный номер пробы
|
Глубина взятия пробы
|
Влажность
|
Число пластичности
|
Показатель
текучести
|
Плотность
|
Относительное содержание
органических веществ
|
Относительное
набухание
|
Относительная просадочность
|
Гранулометрический состав, %,
фракции в мм
|
Степень неоднородности
|
Степень влажности
|
Коэффициент
фильтрации, к/сут
|
Условное динамическое
сопротивление грунтов, МПа
|
Удельное сопротивление грунтов
конусу при статическом зондировании, МПа
|
Сопротивление трения грунта по
боковой поверхности, кН
|
Сдвиговые характеристики
|
Модуль деформации, МПа
|
Предел прочности одноосному
сжатию в водонасыщенном состоянии, МПа
|
Коэффициент
размягчаемости
|
Наименование грунтов по ГОСТ
25100-82
|
Номер инженерно-геологического
элемента (ИГЭ)
|
|
|
природная
|
на
границе текучыести
|
на
границе раскатывания
|
грунта, т/м3
|
частиц грунта, т/м3
|
|
|
Удельное сцепление, кПа
|
Угол внутреннего трения в
градусах
|
|
|
> 10
|
10¸5
|
5¸2
|
2¸1
|
1¸0,5
|
0,5¸0,25
|
0,25¸0,1
|
0,1¸0,05
|
0,05¸0,005
|
< 0,005
|
|
|
W
|
WL
|
Wp
|
Jp
|
JL
|
r
|
rs
|
Jот
|
esw
|
esl
|
Cu
|
Sг
|
Кф
|
РД
|
Рф
|
РQ
|
С
|
j
|
Е
|
Rc
|
Ksat
|
|
|
6
|
3
|
|
0,5
|
0,21
|
0,28
|
0,16
|
0,12
|
0,45
|
1,97
|
2,68
|
0,03
|
-
|
-
|
-
|
-
|
-
|
-
|
-
|
-
|
-
|
-
|
-
|
-
|
-
|
-
|
|
-
|
|
|
|
|
|
|
|
Суглинок тугопластичный
|
1
|
|
|
4
|
|
1,5
|
0,21
|
0,28
|
0,17
|
0,11
|
0,35
|
1,98
|
2,67
|
0,02
|
-
|
-
|
-
|
-
|
-
|
-
|
-
|
-
|
-
|
-
|
-
|
-
|
-
|
-
|
-
|
-
|
|
|
|
|
|
|
|
|
|
5
|
6
|
|
2,0
|
0,22
|
0,29
|
0,18
|
0,11
|
0,35
|
1,97
|
2,67
|
0,01
|
0,01
|
0,0
|
-
|
-
|
-
|
-
|
-
|
-
|
-
|
-
|
-
|
-
|
-
|
-
|
-
|
-
|
|
|
|
|
|
|
|
|
|
7
|
|
4,5
|
0,21
|
0,27
|
0,16
|
0,11
|
0,45
|
1,98
|
2,68
|
0,03
|
-
|
-
|
-
|
-
|
-
|
-
|
-
|
-
|
-
|
-
|
-
|
-
|
-
|
-
|
-
|
-
|
|
|
|
|
|
|
|
|
|
8
|
|
7,3
|
0,20
|
0,28
|
0,16
|
0,12
|
0,33
|
1,98
|
2,68
|
0,03
|
-
|
-
|
-
|
-
|
-
|
-
|
-
|
-
|
-
|
-
|
-
|
-
|
-
|
-
|
-
|
-
|
|
|
|
|
|
|
|
|
|
6
|
1
|
|
1,6
|
0,24
|
0,27
|
0,18
|
0,09
|
0,67
|
1,97
|
2,67
|
0,07
|
-
|
-
|
-
|
-
|
-
|
-
|
-
|
-
|
-
|
-
|
-
|
-
|
-
|
-
|
-
|
-
|
|
|
|
|
|
|
|
Суглинок мягкопластичный
|
2
|
|
|
2
|
|
4,1
|
0,25
|
0,26
|
0,17
|
0,05
|
0,67
|
1,96
|
2,67
|
0,06
|
-
|
-
|
-
|
-
|
-
|
-
|
-
|
-
|
-
|
-
|
-
|
-
|
-
|
-
|
-
|
-
|
|
|
|
|
|
|
|
|
|
3
|
53
|
|
2,0
|
-
|
-
|
-
|
-
|
-
|
-
|
-
|
-
|
-
|
-
|
-
|
5
|
8
|
12
|
32
|
15
|
13
|
12
|
2
|
1
|
>3
|
0,99
|
5,0
|
-
|
|
|
|
|
|
|
|
Песок крупный
|
3
|
|
|
54
|
|
5,0
|
-
|
-
|
-
|
-
|
-
|
-
|
-
|
-
|
-
|
-
|
-
|
4
|
9
|
15
|
30
|
14
|
12
|
12
|
2,5
|
15
|
>3
|
-
|
-
|
-
|
|
|
|
|
|
|
|
|
|
4
|
14
|
|
2,0
|
-
|
-
|
-
|
-
|
-
|
-
|
-
|
-
|
-
|
-
|
-
|
5
|
6
|
13
|
31
|
16
|
11
|
10
|
4
|
2
|
>3
|
-
|
-
|
-
|
|
|
|
|
|
|
|
|
|
16
|
|
5,0
|
-
|
-
|
-
|
-
|
-
|
-
|
-
|
-
|
-
|
-
|
-
|
4
|
7
|
11
|
30
|
14
|
10
|
9
|
8
|
7
|
>3
|
-
|
-
|
7,0
|
|
|
|
|
|
|
|
|
|
5
|
10
|
|
14,5
|
-
|
-
|
-
|
-
|
-
|
|
-
|
-
|
-
|
-
|
-
|
3
|
9
|
17
|
29
|
10
|
12
|
10
|
6
|
4
|
>3
|
0,99
|
2,5
|
8,0
|
|
|
|
|
|
|
|
|
|
6
|
5
|
|
11,4
|
-
|
-
|
-
|
-
|
-
|
-
|
-
|
-
|
-
|
-
|
-
|
5
|
7
|
13
|
35
|
12
|
9
|
14
|
4
|
1
|
>3
|
-
|
-
|
-
|
|
|
|
|
|
|
|
|
|
2
|
30
|
|
3,0
|
0,23
|
0,21
|
0,16
|
0,5
|
1,4
|
-
|
-
|
-
|
-
|
-
|
56
|
14
|
2
|
1
|
2
|
4
|
2
|
4
|
5
|
10
|
>3
|
-
|
-
|
-
|
|
|
|
|
|
|
|
Щебенистый грунт с супесчаным заполнителем
|
4
|
|
|
3
|
56
|
|
7,0
|
0,21
|
0,20
|
0,16
|
0,4
|
1,2
|
-
|
-
|
-
|
-
|
-
|
58
|
15
|
1
|
1
|
1
|
0,5
|
1,5
|
5
|
6
|
11
|
>3
|
-
|
-
|
-
|
|
|
|
|
|
|
|
|
|
57
|
|
9,0
|
0,23
|
0,21
|
0,17
|
0,4
|
1,5
|
-
|
-
|
-
|
-
|
-
|
57
|
9
|
2
|
3
|
4
|
4
|
3
|
6
|
4
|
8
|
>3
|
-
|
-
|
-
|
|
|
|
|
|
|
|
|
|
4
|
18
|
|
9,3
|
0,22
|
0,19
|
0,16
|
0,3
|
2,0
|
-
|
-
|
-
|
-
|
-
|
59
|
13
|
3
|
4
|
2
|
3
|
4
|
3
|
3
|
6
|
>3
|
-
|
-
|
-
|
|
|
|
|
|
|
|
|
|
5
|
11
|
|
17,5
|
0,22
|
0,21
|
0,16
|
0,5
|
4,5
|
-
|
-
|
-
|
-
|
-
|
55
|
15
|
6
|
3
|
4
|
1
|
2
|
8
|
7
|
9
|
>3
|
-
|
-
|
-
|
|
|
|
|
|
|
|
|
|
12
|
|
19,3
|
0,23
|
0,21
|
0,16
|
0,5
|
1,4
|
-
|
-
|
-
|
-
|
|
60
|
12
|
3
|
1
|
5
|
2
|
1
|
6
|
5
|
5
|
>3
|
-
|
-
|
-
|
|
|
|
|
|
|
|
|
|
2
|
52
|
|
10,0
|
-
|
-
|
-
|
-
|
-
|
2,35
|
-
|
-
|
-
|
-
|
-
|
-
|
-
|
-
|
-
|
-
|
-
|
-
|
-
|
-
|
-
|
-
|
-
|
-
|
-
|
-
|
-
|
-
|
-
|
95,0
|
>0,75
|
Песчаник кварцево-глауконитовый
|
5
|
|
|
3
|
58
|
|
10,5
|
-
|
-
|
-
|
-
|
-
|
2,30
|
-
|
-
|
-
|
-
|
-
|
-
|
-
|
-
|
-
|
-
|
-
|
-
|
-
|
-
|
-
|
-
|
-
|
-
|
-
|
-
|
-
|
-
|
-
|
|
|
59
|
|
12,0
|
-
|
-
|
-
|
-
|
-
|
2,32
|
-
|
-
|
-
|
-
|
-
|
-
|
-
|
-
|
-
|
-
|
-
|
-
|
-
|
-
|
-
|
-
|
-
|
-
|
-
|
-
|
-
|
-
|
-
|
|
|
4
|
20
|
|
12,0
|
-
|
-
|
-
|
-
|
-
|
2,36
|
-
|
-
|
-
|
-
|
-
|
-
|
-
|
-
|
-
|
-
|
-
|
-
|
-
|
-
|
-
|
-
|
-
|
-
|
-
|
-
|
-
|
-
|
-
|
|
|
21
|
|
13,5
|
-
|
-
|
-
|
-
|
-
|
2,35
|
-
|
-
|
-
|
-
|
-
|
-
|
-
|
-
|
-
|
-
|
-
|
-
|
-
|
-
|
-
|
-
|
-
|
-
|
-
|
-
|
-
|
-
|
-
|
|
|
5
|
13
|
|
22,4
|
-
|
-
|
-
|
-
|
-
|
2,34
|
-
|
-
|
-
|
-
|
-
|
-
|
-
|
-
|
-
|
-
|
-
|
-
|
-
|
-
|
-
|
-
|
-
|
-
|
-
|
-
|
-
|
-
|
-
|
|
|
|
|
|
|
|
|
|
|
|
|
|
|
|
|
|
|
|
|
|
|
Автомобильная дорога
А-Б
|
|
|
|
|
|
|
|
|
|
|
Искусственные
сооружения
|
Стадия
|
Лист
|
Листов
|
|
|
|
|
|
РП
|
3
|
3
|
|
|
|
|
|
|
|
|
|
|
Инженерно-геологический
паспорт мостового перехода через Р.Б.
|
Минавтодор РСФСР
Гипродорнии
|
|
|
|
|
|
|
|
|
|
|

Продолжение


Состояние грунтов
|
Песков
|
Супесей
|
Суглинков и глин
|
|
-
|
-
|

|
Твердые
|
|
Маловлажные
|
Твердые
|

|
Полутвердые
|
|
-
|
-
|

|
Тугопластичные
|
|
Влажные
|
Пластичные
|

|
Мягкопластичные
|
|
-
|
-
|

|
Текучепластичные
|
|
Водонасыщенные
|
Текучие
|

|
Текучие
|
Таблица характеристик песчаных
грунтов
Нормативных Расчетных
|
Номер инженерно-геологического
элемента
|
Наименование грунтов по ГОСТ
25100-82
|
Условные обозначения
|
Геологический возраст и
генетический тип
|
Гранулометрический состав в %,
фракции в мм
|
Степень неоднородности
|
Степень влажности
|
Коэффициент фильтрации, м/сут
|
Условное динамическое сопротивление грунтов, МПа
|
Расчетное сопротивление грунтов основания, кМа
|
Модуль деформации, МПа
|
Угол внутреннего трения в градусах
|
Удельное сцепление, кПа
|
|
|
по несущей способности
|
по деформациям
|
по несущей способности
|
по деформациям
|
|
|
> 10
|
10-2
|
2-1
|
1-0,5
|
0,5-0,25
|
0,25-0,10
|
0,10-0,05
|
<
0,05
|
|
|
Cu
|
Sг
|
Кф
|
РД
|
Ro
|
E
|
jI
|
jII
|
CI
|
СII
|
|
|
1
|
Насыпной грунт песок средней
крупности
|

|
tQIV
|
-
|
22
|
5,0
|
8,0
|
28,8
|
32,0
|
5,2
|
6,8
|
4,5
|
0,3
|
0,4
|
-
|
-
|
-
|
-
|
-
|
-
|
-
|
|
|
4
|
Песок средней крупности с
гравием средней плотности
|

|
|
-
|
7,0
|
2,1
|
6,0
|
38,9
|
34,7
|
6,1
|
5,2
|
4,0
|
0,6; 0,96
|
0,9
|
6,5
|
24,5
|
40
|
32
|
35
|
0,66
|
1
|
|
|
5
|
Песок гравелистый плотный
|

|
flgQIII
|
4,6
|
27,4
|
6,5
|
7,8
|
26,0
|
20,0
|
4,2
|
3,5
|
5,7
|
0,98
|
3,0
|
15,0
|
343
|
40
|
35
|
38
|
-
|
-
|
|
|
6
|
Песок мелкий средней плотности
|

|
-
|
-
|
4,5
|
9,2
|
25,3
|
39,0
|
7,2
|
14,8
|
4,0
|
0,95
|
0,3
|
3,5
|
147
|
38
|
29
|
32
|
1,33
|
2
|
|
Пояснения
1. Место расположения мостового путепровода.
2. Сроки выполнения работ, виды и объемы выполненных работ, фамилии
исполнителей (геолог, бурильщик).
3. Геоморфологические особенности места устройства путепровода.
4. Краткая характеристика геологического строения. Сейсмичность.
5. Гидрогеологические условия: типы подземных вод, характеристики
водоносных горизонтов, сведения о режиме и химическом составе, агрессивность
грунтовых вод по отношению к бетонам.
6. Физико-механические свойства грунтов.
7. Проявление современных геологических процессов и явлений, их влияние
на строительство.
8. Рекомендации по возведению
фундаментов опор.
Таблица характеристик глинистых грунтов
Нормативных Расчетных
|
Номер инженерно-геологического
элемента
|
Наименование грунтов по ГОСТ
25100-82
|
Условные обозначения
|
Геологический возраст и
генетический тип
|
Природная влажность
|
Плотность грунта, т/м3
|
Коэффициент пористости
|
Показатель текучести
|
Условное динамическое сопротивление грунтов, МПа
|
Удельное сопротивление грунта
конусу при статическом зондировании, МПа
|
Сопротивление трения грунта по
боковой поверхности зонда, кН
|
Временное сопротивление
одноосному сжатию, МПа
|
Расчетное сопротивление
грунтов основания к Па
|
Модуль деформации, МПа
|
Угол внутреннего трения в градусах
|
Удельное сцепление, кПа
|
Удельный вес грунта, км/м3
|
|
по несущей способности
|
по деформациям
|
по несущей способности
|
по деформациям
|
по несущей способности
|
по деформациям
|
|
W
|
r
|
е
|
JL
|
РД
|
Pq
|
PQ
|
Rc
|
Ro
|
E
|
jI
|
jII
|
CI
|
СII
|
gI
|
gII
|
|
3
|
Супесь твердая с тонкими прослоями песка
|

|
flgQII
|
0,2
0,10(6)
|
2,28
0,06(6)
|
0,41
|
-0,5
|
4-6
|
-
|
-
|
-
|
343
|
32
|
26
|
30
|
14
|
21
|
2,20
|
200
|
|
7
|
Супесь твердая с гравием и прослоями песка
|

|
0,9
0,9(6)
|
2,22
0,05(6)
|
0,35
|
-0,4
|
-
|
-
|
-
|
-
|
343
|
32
|
26
|
30
|
14
|
21
|
2,10
|
1,98
|
|
8
|
Супесь пластичная с гравием и прослоями песка
|

|
0,13
0,9(6)
|
2,29
0,06(6)
|
4
|
0,5
|
7,0
|
-
|
-
|
-
|
98
|
32
|
24
|
28
|
13
|
19
|
2,22
|
2,10
|
|
|
|
|
|
|
|
|
|
|
|
|
|
|
|
|
|
|
|
|
|
Автомобильная дорога
А-Б
|
|
|
|
|
|
|
|
|
|
|
Искусственные
сооружения
|
Стадия
|
Лист
|
Листов
|
|
|
|
|
|
РП
|
-
|
1
|
|
|
|
|
|
|
|
|
|
|
Инженерно-геологический
паспорт путепровода на ГК10 (км 743)
|
Минавтодор РСФСР
Гипродорнии
|
|
|
|
|
|
|
|
|
|
|
Схема расположения выработок

Условные обозначения к схеме
- Линии разрезов
- Скважина опробованная, ее номер и абсолютная отметка устья
- Скважина неопробованная, ее номер и абсолютная отметка устья
Скважина № 7
Диаметр
скважины Способ
бурения:
Абс.
отм. устья 127,60 м Начато
- окончено
20.08.81 - 20.08.81
|
Номер слоя
|
Геологический индекс
|
Подошва слоя
|
Мощность слоя, м
|
Описание грунта
|
Разрез скважины, место отбора проб и их номера
|
Подземные воды
|
|
Глубина
|
Абс. отметка
|
Глубина уровня воды
|
Абс. отм. ур. Воды и дата замера
|
|
1
|
2
|
3
|
4
|
5
|
6
|
7
|
8
|
9
|
|
|
|
0,22
|
127,40
|
0,2
|
Почвенно-растительный слой
|

|
|
|
|
|
adQIV
|
5,5
|
122,10
|
5,3
|
Суглинок с включением одиночного мелкого щебня, песчаников,
известняков, желтоватый, косослоистой структуры, тугопластичный, слабо
вскипает при реакции с соляной кислотой. С глубины 4 м суглинок приобретает
мягкопластичную консистенцию. Суглинок делювиально-аллювиального генезиса
|
5,4
|
122,20
|
|
|
aQIII
|
6,8
|
120,80
|
1,3
|
Песок средней крупности, кварцевато-пылевато-шпатовый светлосерый,
средней плотности, водонасыщенный
|
|
21.08.81
|
|
|
J
|
7,5
|
|
|
Глина жирная, зеленовато-голубая, полутвердая
|
Скважина № 8
Диаметр
скважины Способ
бурения:
Абс.
отм. устья 128,30 м Начато
- окончено
20.08.81 - 21.08.81
|
1
|
2
|
3
|
4
|
5
|
6
|
7
|
8
|
9
|
|
|
|
0,3
|
128,00
|
0,3
|
Почвенно-растительный слой
|
|
|
|
|
|
adQIV
|
4,8
|
123,50
|
4,5
|
Суглинок с включением одиночного мелкого щебня, песчаников и
известняков, желтоватый, косослоистой структуры, тугопластичный, слабо вскипает
при реакции с соляной кислотой. С глубины 3,7 м суглинок приобретает
мягкопластичную консистенцию. Суглинок делювиально-аллювиального генезиса
|

|
5,8
|
122,50
|
|
|
aQIII
|
7,0
|
121,30
|
2,2
|
Песок средней крупности, кварцевато-пылевато-шпатовый светлосерый,
средней плотности. С глубины 5,8 м - водонасыщенный
|
|
21.02.81
|
|
|
J
|
8,0
|
|
|
Глина жирная, зеленовато-голубая, полутвердая
|


Состояние грунтов
|
Песков
|
Супесей
|
Суглинков и глин
|
|
-
|
-
|

|
Твердые
|
|
Маловлажные
|
Твердые
|

|
Полутвердые
|
|
-
|
-
|

|
Тугопластичные
|
|
Влажные
|
Пластичные
|

|
Мягкопластичные
|
|
-
|
-
|

|
Текучесластичные
|
|
Водонасыщенные
|
Текучие
|

|
Текучие
|
Таблица характеристик глинистых
грунтов
Нормативных Расчетных
|
Номер ИГЭ
|
Наименование грунтов по ГОСТ
25100-82
|
Условные обозначения
|
Геологический возраст и
генетический тип
|
Природная влажность
|
Плотность грунта, т/м3
|
Коэффициент пористости
|
Показатель текучести
|
Условное динамическое сопротивление грунтов, МПа
|
Удельное сопротивление грунта
конусу при статическом зондировании, МПа
|
Сопротивление трения грунта по
боковой поверхности зонда, кН
|
Временное сопротивление
одноосному сжатию, МПа
|
Расчетное сопротивление
грунтов основания к Па
|
Модуль деформации, МПа
|
Угол внутреннего трения в градусах
|
Удельное сцепление, кПа
|
Удельный вес грунта, км/м3
|
|
по несущей способности
|
по деформациям
|
по несущей способности
|
по деформациям
|
по несущей способности
|
по деформациям
|
|
W
|
r
|
е
|
JL
|
РД
|
Pq
|
PQ
|
Rc
|
Ro
|
E
|
jI
|
jII
|
CI
|
СII
|
gI
|
gII
|
|
3
|
Супесь твердая с тонкими прослоями песка
|

|
adQIV
|
0,25
0,09(6)
|
1,99
0,06(6)
|
0,70
|
0,33
|
-
|
-
|
-
|
-
|
2,0
|
170
|
15
|
18
|
17
|
26
|
1,93
|
1,91
|
|
7
|
Супесь твердая с гравием и прослоями песка
|

|
adQIV
|
0,30
0,10(6)
|
1,97
0,06(6)
|
0,77
|
0,66
|
-
|
-
|
-
|
-
|
1,5
|
180
|
15
|
18
|
15
|
22
|
1,91
|
1,90
|
|
8
|
Супесь пластичная с гравием и прослоями песка
|

|
J
|
0,30
0,03(6)
|
2,20
0,05(6)
|
6,60
|
0,20
|
-
|
-
|
-
|
-
|
3,0
|
210
|
16
|
19
|
40
|
61
|
2,13
|
2,10
|
Таблица характеристик песчаных
грунтов
Нормативных Расчетных
|
Номер ИГЭ
|
Наименование грунтов по ГОСТ
25100-82
|
Условные обозначения
|
Геологический возраст и
генетический тип
|
Гранулометрический состав в %,
фракции в мм
|
Степень неоднородности
|
Степень влажности
|
Коэффициент фильтрации, м/сут
|
Условное динамическое сопротивление грунтов, МПа
|
Расчетное сопротивление грунтов основания, кМа
|
Модуль деформации, МПа
|
Угол внутреннего трения в градусах
|
Удельное сцепление, кПа
|
|
|
по несущей способности
|
по деформациям
|
по несущей способности
|
по деформациям
|
|
|
> 10
|
10-2
|
2-1
|
1-0,5
|
0,5-0,25
|
0,25-0,10
|
0,10-0,05
|
< 0,05
|
|
|
Cu
|
Sг
|
Кф
|
РД
|
Ro
|
E
|
jI
|
jII
|
CI
|
СII
|
|
|
3
|
Песок средней крупности с
гравием средней плотности
|

|
flgQIII
|
0
|
0
|
1,7
|
13,2
|
40,2
|
33,9
|
5,9
|
5,1
|
3,9
|
0,9
|
0,7
|
-
|
4,0
|
450
|
32
|
35
|
0,007
|
0,01
|
|
Результаты химического анализа
воды
|
Лаб.
номер
|
Место
отбора пробы
|
Расчет
|
рН
|
НСО¢3
|
Cl¢
|
SO¢¢4
|
Mg¢¢
|
Ca¢¢
|
Na¢ + K¢
|
CO2 свободная
|
CO2 агрессивная
|
Жесткость
|
Сухой
остаток
|
|
981
|
Скв. 5
Глубина 6 м
|
мг/л
|
5
|
48,8
|
1,59
|
4
|
следы
|
6,4
|
14.03
|
8
|
15
|
-
|
56
|
|
мг-экв/л
|
0,8
|
0,05
|
0,03
|
следы
|
0,32
|
0,41
|
-
|
-
|
0,32
|
|
Пояснения
1. Место расположения мостового площадки.
2. Сроки выполнения работ, виды и объемы выполненных работ, фамилии
исполнителей (геолог, бурильщик).
3. Геоморфологические особенности площадки.
4. Краткая характеристика геологического строения. Сейсмичность.
5. Гидрогеологические условия: типы подземных вод, характеристики
водоносных горизонтов, сведения о режиме и химическом составе, агрессивность
грунтовых вод по отношению к бетонам.
6. Физико-механические свойства грунтов.
7. Проявление современных геологических процессов и явлений, их влияние
на строительство.
8. Рекомендации по возведению
фундаментов опор.
|
|
|
|
|
|
|
|
|
|
|
|
|
|
|
|
|
|
|
|
|
Автомобильная дорога
А-В
|
|
|
|
|
|
|
|
|
|
|
Гражданские и
промышленные здания
|
Стадия
|
Лист
|
Листов
|
|
|
|
|
|
РП
|
-
|
1
|
|
|
|
|
|
|
|
|
|
|
Инженерно-геологический
паспорт площадки под ДЭУ
|
Минавтодор РСФСР
Гипродорнии
|
|
|
|
|
|
|
|
|
|
|

Продолжение

Пояснения: *
1. Местоположение выемки.
2. Время обследования, виды и объемы выполненных работ.
3. Геоморфологические особенности, краткая
характеристика геологического строения и гидрологические особенности.
4. Краткая характеристика грунтов, слагающих выемку,
пригодность грунтов выемки для возведения насыпей.
5. Проявление современных физико-геологических
процессов.
6. Рекомендации по устройству выемки в целях
устойчивости откосов и основания земляного полотна.
___________
* Пояснения следует помещать в конце паспорта.
Инженерно-геологические разрезы
по поперечникам

Схема расположения скважин


Состояние грунтов
|
Песков
|
Супесей
|
Суглинков и глин
|
|
-
|
-
|

|
Твердые
|
|
Маловлажные
|
Твердые
|

|
Полутвердые
|
|
-
|
-
|

|
Тугопластичные
|
|
Влажные
|
Пластичные
|

|
Мягкопластичные
|
|
-
|
-
|

|
Текучепластичные
|
|
Насыщенные водой
|
Текучие
|

|
Текучие
|
Таблица нормативных характеристик
грунтов
|
Номер инженерно-геологического элемента
|
Геологический возраст и генетический тип
|
Наименование грунта по СНиП 2.05.02-85
|
Условные обозначения
|
Средний гранулометрический состав в процентах,
фракции в мм
|
Степень неоднородности
|
Коэффициент фильтрации
|
Степень влажности, м/сутки
|
Влажность
|
Число пластичности
|
Показатель текучести
|
|
|
Природная
|
Оптимальная
|
На границе текучести
|
На границе раскатывания
|
|
|
>
10
|
10¸2
|
2¸1
|
1¸0,5
|
0,5¸0,25
|
0,25¸0,10
|
0,10¸0,05
|
0,05¸0,005
|
<
0,005
|
|
|
Cu
|
Кф
|
Sт
|
W
|
Wo
|
WL
|
Wp
|
Jp
|
JL
|
|
|
1
|
aIV
|
Супесь пылеватая новая
|

|
3
|
35
|
62
|
-
|
-
|
-
|
0,12
0,13(6)
|
0,15
|
0,22
|
0,16
|
0,06
|
< 0
|
|
|
2
|
aIII
|
Суглинок тяжелый пылеватый
тугопластичный
|

|
0
|
50
|
50
|
-
|
-
|
-
|
0,20
0,11(6)
|
0,19
|
0,34
|
0,18
|
0,16
|
0,26
|
|
|
3
|
aIII
|
Суглинок тяжелый пылеватый
мягкопластичный
|

|
0
|
43
|
57
|
-
|
-
|
-
|
0,24
0,11(6)
|
-
|
0,32
|
0,18
|
0,14
|
0,74
|
|
|
4
|
9II
|
Глина песчанистая с щебнем
мягкопластичная
|

|
18
|
48
|
34
|
-
|
-
|
-
|
0,27
0,12(6)
|
0,19
|
0,38
|
0,20
|
0,18
|
0,40
|
|
|
5
|
aIV
|
Песок мелкий маловлажный
|

|
-
|
-
|
9
|
15
|
21
|
35
|
7
|
4
|
9
|
-
|
-
|
-
|
0,04
|
-
|
-
|
-
|
-
|
-
|
|
Продолжение
|
Плотность, т/м3
|
Плотность сухого грунта, т/м3
|
Максимальная допустимая влажность (Wпр) при коэффициенте уплотнения
насыпи, равном
|
Требуемая плотность (rп)
при коэффициенте уплотнения насыпе, равном
|
Коэффициент относительного
уплотнения (к1) при коэффициенте уплотнения насыпи, равном
|
Коэффициент пористости
|
Коэффициент переувлажнения
|
Относительное набухание
|
Относительная просадочность
|
Удельное сцепление, кПа
|
Угол внутреннего трения, в
градусах
|
Угол естественного откоса, в
градусах
|
Группа грунтов по трудности
разработки (СНиП № 2-82)
|
|
|
грунта
|
частиц грунта
|
максимальная при оптимальной
влажности
|
|
|
в сухом состоянии
|
под водой
|
|
|
r
|
rs
|
rdmax
|
rск
|
0,98
|
0,95
|
0,98
|
0,95
|
0,98
|
0,95
|
l
|
Ky
|
es
|
esl
|
С
|
j
|
|
|
1,92
|
2,67
|
1,72
|
1,71
|
0,19
|
0,20
|
1,60
|
1,63
|
0,98
|
0,96
|
0,55
0,09(6)
|
< 1
|
< 0,04
|
< 0,01
|
17
|
29
|
-
|
-
|
34б
|
|
|
1,98
|
2,70
|
1,74
|
1,65
|
0,20
|
0,23
|
1,70
|
1,65
|
1,03
|
1,0
|
0,64
0,08(6)
|
1,05
|
< 0,04
|
< 0,01
|
28
|
22
|
-
|
-
|
33б
|
|
|
1,97
|
2,70
|
-
|
-
|
-
|
-
|
-
|
-
|
-
|
-
|
0,66
0,09(6)
|
-
|
-
|
-
|
25
|
19
|
-
|
-
|
33a
|
|
|
2,10
|
2,72
|
1,75
|
-
|
-
|
-
|
-
|
-
|
-
|
-
|
0,64
0,1(6)
|
1,4
|
< 0,04
|
< 0,01
|
57
|
18
|
-
|
-
|
8б
|
|
|
1,84
|
2,66
|
-
|
-
|
-
|
-
|
-
|
-
|
-
|
-
|
-
|
-
|
-
|
-
|
-
|
-
|
23
|
18
|
27а
|
|
|
|
|
|
|
|
|
|
|
|
|
|
|
|
|
|
|
|
|
|
|
Автомобильная дорога
М-К
|
|
|
|
|
|
|
|
|
|
|
Земляное полотно
|
Стадия
|
Лист
|
Листов
|
|
|
|
|
|
РП
|
-
|
1
|
|
|
|
|
|
|
|
|
|
|
Инженерно-геологический
паспорт выемки ГК69 - ГК72
|
Минавтодор РСФСР
Гипродорнии
|
|
|
|
|
|
|
|
|
|
|
Схема расположения скважин и других разведочных точек


|
Песков
|
Супесей
|
Суглинков и глин
|
|
-
|
-
|

|
Твердые
|
|
Маловлажные
|
Твердые
|

|
Полутвердые
|
|
-
|
-
|

|
Тугопластичные
|
|
Влажные
|
Пластичные
|

|
Мягкопластичные
|
|
-
|
-
|

|
Текучепластичные
|
|
Водонасыщенные
|
Текучие
|

|
Текучие
|
Пояснения:
1. Место расположение участка, насыпи.
2. Время обследования, виды и объемы выполненных
работ.
3. Геоморфологические особенности участка, проявление
современных геологических процессов и явлений.
4. Краткая характеристика геологического строения и
гидрологических условий.
5. Краткая характеристика состава и состояния грунтов,
в том числе слабых - их мощность и распространение в плане.
6. Рекомендации по устройству насыпи на данном
участке, возможность использования слабой толщи в качестве основания.

Продолжение

Таблица нормативных характеристик грунтов
|
Номер ИГЭ
|
Геологический возраст и генетический тип
|
Наименование грунта по СНиП 2.05.02-85
|
Условные обозначения
|
Гранулометрический состав в процентах, фракции в мм
|
Пластичность
|
Природная влажность
|
Показатель текучести
|
Плотность
|
Коэффициент пористости
|
Относительное содержание органических веществ
|
Степень разложения органического вещества, %
|
Степень зольности, %
|
Степень волокнистости, %
|
Суммарное содержание легко и средне растворимых
солей
|
|
|
Влажность на пределе текучести
|
Влажность на пределе раскатывания
|
Число пластичности
|
грунта, т/м3
|
частиц грунта, т/м3
|
сухого грунта, т/м3
|
|
|
> 2
|
2¸0,05
|
0,05¸0,005
|
<
0,005
|
|
|
WL
|
WP
|
JP
|
W
|
JL
|
r
|
rs
|
rd
|
l
|
Jот
|
Ddp
|
|
|
1
|
|
Торф
|

|
-
|
-
|
-
|
-
|
-
|
-
|
-
|
8,50
|
-
|
1,23
|
1,56
|
0,13
|
11,0
|
0,76
|
25
|
15
|
75
|
-
|
|
|
2
|
aQII-IV
|
Супесь тяжелая пылеватая
|

|
1
|
16
|
83
|
0,23
|
0,17
|
0,06
|
0,24
|
1,1
|
1,89
|
2,68
|
1,52
|
0,76
|
-
|
-
|
-
|
-
|
-
|
|
|
3
|
Суглинок тяжелый
|

|
0
|
43
|
57
|
0,35
|
0,20
|
0,15
|
0,31
|
0,73
|
1,96
|
2,71
|
1,50
|
0,80
|
-
|
-
|
-
|
-
|
-
|
|
|
4
|
Песок мелкий
|

|
2
|
85
|
7
|
6
|
не пластичный
|
-
|
-
|
-
|
-
|
-
|
-
|
-
|
-
|
-
|
-
|
-
|
|
Продолжение
|
Сдвиговые показатели
|
Компрессионные показатели
|
Характеристики уплотняемости во времени
|
|
удельное сцепление, кПа
|
угол внутреннего трения, в градусах
|
по крыльчатке в природном залегании, кПа
|
коэффициент пористости при расчетной нагрузке (р =
50 кПа)
|
модуль осадки при расчетной нагрузке (р = 50 кПа),
мм/м
|
модуль деформации при расчетной нагрузке (р = 50
кПа), МПа
|
коэффициент консолидации, см2/год
|
Консолидационные параметры
|
Коэффициент фильтрации в горизонтальном направлении
|
Коэффициент фильтрации в вертикальном направлении
|
|
с
|
j
|
Сусл
|
е
|
lр
|
Ep
|
Ск
|
alр, мин
|
Вlр, мин/см2
|
mp
|
Тг, мин
|
l1
|
Кф, см/сут
|
Кф, см/сут
|
|
-
|
-
|
20
|
7,1
|
300
|
0,13
|
-
|
-
|
-
|
-
|
-
|
-
|
-
|
-
|
|
0,00
|
14
|
-
|
-
|
-
|
12,5
|
-
|
-
|
-
|
-
|
-
|
-
|
-
|
-
|
|
0,15
|
17
|
-
|
-
|
-
|
19,0
|
-
|
-
|
-
|
-
|
-
|
-
|
-
|
-
|
|
-
|
-
|
-
|
-
|
-
|
-
|
-
|
-
|
-
|
-
|
-
|
-
|
-
|
-
|
|
|
|
|
|
|
|
|
|
|
|
|
|
|
|
|
|
|
|
|
|
Автомобильная дорога
А-Б
|
|
|
|
|
|
|
|
|
|
|
Земляное полотно
|
Стадия
|
Лист
|
Листов
|
|
|
|
|
|
РП
|
-
|
1
|
|
|
|
|
|
|
|
|
|
|
Инженерно-геологический
паспорт насыпи на слабом основании на ГК8
|
Минавтодор РСФСР
Гипродорнии
|
|
|
|
|
|
|
|
|
|
|
Схема расположения скважин с
изолинией слабой толщи (изолинии проведены через 1 м) М 1:1000


Поперечные
инженерно-геологические разрезы

Таблица
нормативных характеристик грунтов
|
Номер
инженерно-геологического элемента
|
Геологический возраст и генетический тип
|
Наименование грунта по СНиП 2.05.02-85
|
Условные обозначения
|
Гранулометрический состав в процентах, фракции в мм
|
|
Число пластичности
|
Показатель текучести
|
|
Коэффициент пористости
|
Относительное содержание органических веществ
|
Степень разложения органических веществ
|
Степень зольности в процентах
|
Степень волокнистости в процентах
|
Суммарное содержание легко- и среднерастворимых
солей
|
|
|
природная
|
на границе текучести
|
на границе раскатывания
|
грунта
|
частиц грунта
|
сухого грунта
|
|
|
> 2
|
2¸1
|
1¸0,5
|
0,5¸0,25
|
0,25¸0,10
|
0,10¸0,05
|
0,05¸0,005
|
< 0005
|
|
|
W
|
WL
|
WP
|
Jp
|
JL
|
r
|
rs
|
rd
|
l
|
Jот
|
Ddс
|
|
|
2
|
aIV
|
Супесь легкая крупная пластичная
|

|
-
|
-
|
-
|
-
|
-
|
-
|
-
|
-
|
0,21
0,13(6)
|
0,22
|
0,19
|
0,03
|
0,70
|
1,90
|
2,65
|
1,43
|
0,85
0,01(6)
|
-
|
-
|
-
|
-
|
-
|
|
|
3
|
aIV
|
Песок мелкий водонасыщенный
|

|
-
|
3
|
17
|
33
|
25
|
7
|
9
|
6
|
-
|
не пластичн.
|
-
|
-
|
-
|
-
|
-
|
-
|
-
|
-
|
-
|
-
|
|
|
4
|
hIV
|
Торф
|

|
-
|
-
|
-
|
-
|
-
|
-
|
-
|
-
|
1,76
0,12(8)
|
-
|
-
|
-
|
-
|
-
|
-
|
-
|
-
|
0,83
|
25
|
15
|
75
|
-
|
|
|
5
|
hIV
|
Сапропель
|

|
-
|
-
|
-
|
-
|
-
|
-
|
-
|
-
|
2,57
0,11(6)
|
0,52
|
0,50
|
0,02
|
> 1
|
-
|
-
|
-
|
-
|
0,20
|
-
|
-
|
-
|
-
|
|
|
6
|
9II
|
Суглинок легкий тугопластичный
|

|
-
|
-
|
-
|
-
|
-
|
-
|
-
|
-
|
0,13
0,12(6)
|
0,19
|
0,11
|
0,08
|
0,26
|
1,96
|
2,70
|
1,56
|
0,73
0,01(6)
|
|
-
|
-
|
-
|
-
|
|
Продолжение
|
Сдвиговые показатели
|
Компрессионные показатели
|
Характеристики уплотняемости во времени
|
|
удельное сцепление, кПа
|
угол внутреннего трения, в градусах
|
сопротивление по крыльчатке, КПа
|
модуль осадки от расчетной нагрузки, мм/м
|
модуль деформации от расчетной нагрузки, МПа
|
коэффициент консолидации, см2/год
|
Коэффициент фильтрации в вертикальном направлении
|
Коэффициент фильтрации в горизонтальном направлении
|
Консолидационные параметры
|
|
с
|
j
|
Сусл
|
lр
|
Ep
|
Ск
|
Кф, м/сут
|
Кф, м/сут
|
alр, мин
|
Вlр, мин/см2
|
mp
|
Тг, мин
|
l1
|
|
9
|
18
|
-
|
-
|
-
|
-
|
-
|
-
|
-
|
-
|
-
|
-
|
-
|
|
-
|
28
|
-
|
-
|
-
|
-
|
-
|
-
|
-
|
-
|
-
|
-
|
-
|
|
-
|
-
|
0,35
|
350
|
0,25
|
-
|
-
|
-
|
-
|
-
|
-
|
-
|
-
|
|
-
|
-
|
0,22
|
400
|
< 0,1
|
-
|
-
|
-
|
-
|
-
|
-
|
-
|
-
|
|
24
|
21
|
-
|
-
|
-
|
-
|
-
|
-
|
-
|
-
|
-
|
-
|
-
|
Примечание: Характеристики W и l представляются
в виде ,
где - среднее значение
характеристики;
V - коэффициент
вариации;
N - число
определений.
Условные обозначения:

Состояние грунтов
|
Песков
|
Супесей
|
Суглинков и глин
|
|
-
|
-
|

|
Твердые
|
|
Маловлажные
|
Твердые
|

|
Полутвердые
|
|
-
|
-
|

|
Тугопластичные
|
|
Влажные
|
Пластичные
|

|
Мягкопластичные
|
|
-
|
-
|

|
Текучепластичные
|
|
Насыщенные водой
|
Текучие
|
|
Текучие
|

Пояснения:
1. Место расположения участка насыпи.
2. Время обследования, виды и объемы выполненных
работ.
3. Геоморфологические особенности участка, проявление
современных геологических процессов и явлений.
4. Краткая характеристика геологического строения и
гидрологических условий.
5. Краткая характеристика состава и состояния грунтов,
в т.ч. слабых - их мощность и распространение в плане (типы болот и
строительные типы болотных грунтов).
6.
Рекомендации по устройству насыпи на данном участке, возможность использования
слабой толщи в качестве основания.
|
|
|
|
|
|
|
|
|
|
|
|
|
|
|
|
|
|
|
|
|
Автомобильная дорога
А-Б
|
|
|
|
|
|
|
|
|
|
|
Земляное полотно
|
Стадия
|
Лист
|
Листов
|
|
|
|
|
|
РП
|
-
|
1
|
|
|
|
|
|
|
|
|
|
|
Инженерно-геологический
паспорт болота на ГК202+54 ¸ Гк204+94 (км 21)
|
Минавтодор РСФСР
Гипродорнии
|
|
|
|
|
|
|
|
|
|
|


Условные обозначения:

Геолого-литологические разрезы

Таблица физико-механических
свойств грунтов по данным лабораторных испытаний
|
Номер слоя
|
Геологический возраст и генетический тип
|
Наименование грунта по СНиП 2.05.02.85
|
Условные обозначения
|
Номер пробы
|
Наименование и номер выработки
|
Глубина взятия пробы
|
Пластичность
|
Влажность
|
Плотность
|
Зерновой состав в процентах, фракции в мм
|
Относительное содержание органических веществ
|
Суммарное содержание легко- и среднерастворимых
солей
|
Сопротивление сдвигу при проектной плотности и
влажности
|
|
|
полевой
|
лабораторный
|
влажность на границе текучести
|
влажность на границе раскатывания
|
число пластичности
|
природная
|
оптимальная
|
грунта
|
частиц грунта
|
скелета грунта
|
скелета при оптимальной влажн.
|
> 2
|
2¸1
|
1¸0,5
|
0,5¸0,25
|
0,25¸0,10
|
0,10¸0,05
|
0,05¸0,005
|
0,005
|
|
|
удельное сцепление
|
угол внутр. трения
|
|
|
WL
|
Wp
|
Jp
|
W
|
Wo
|
r
|
rs
|
rd
|
rdmax
|
Jот
|
с
|
j
|
|
|
1
|
|
Супесь тяжелая пылеватая
|

|
6
|
-
|
С.6
|
1.0-1.3
|
0.22
|
0.16
|
0.06
|
0.14
|
0.15
|
1.96
|
2.68
|
1.72
|
1.77
|
1.0
|
15
|
85
|
-
|
-
|
-
|
-
|
|
|
|
То же
|
|
10
|
-
|
С.7
|
0.9-1.0
|
0.20
|
0.15
|
0.04
|
0.15
|
0.16
|
-
|
-
|
-
|
-
|
-
|
-
|
-
|
-
|
-
|
-
|
-
|
-
|
-
|
-
|
-
|
-
|
|
|
|
«
|
|
15
|
-
|
С.12
|
1.0-1.3
|
0.22
|
0.17
|
0.05
|
0.14
|
0.16
|
1.98
|
2.69
|
1.73
|
1.78
|
1.5
|
17
|
83
|
-
|
-
|
-
|
-
|
|
|
Среднее значение по слою
|
Супесь тяжелая пылеватая
|

|
|
|
|
-
|
0.21
|
0.16
|
0.05
|
0.14
|
0.16
|
1.97
|
2.69
|
1.79
|
1.78
|
1.25
|
16
|
84
|
-
|
-
|
-
|
-
|
|
|
2
|
|
Суглинок тяжелый
|
|
4
|
|
С.3
|
2.0-2.1
|
0.33
|
0.10
|
0.14
|
0.19
|
0.18
|
-
|
-
|
-
|
-
|
-
|
-
|
-
|
-
|
-
|
-
|
-
|
-
|
-
|
-
|
-
|
-
|
|
|
|
То же
|
|
11
|
|
С.7
|
2.9-3.0
|
0.34
|
0.09
|
0.15
|
0.19
|
0.
|
-
|
-
|
-
|
-
|
-
|
-
|
-
|
-
|
-
|
-
|
-
|
-
|
-
|
-
|
-
|
-
|
|
|
|
«
|
|
12
|
|
С.9
|
1.1-2.4
|
0.33
|
0.20
|
0.14
|
0.20
|
0.19
|
2.00
|
2.71
|
1.67
|
1.78
|
1.0
|
42
|
58
|
-
|
-
|
-
|
-
|
|
|
|
«
|
|
19
|
|
С.4
|
1.2-1.5
|
0.35
|
0.19
|
0.16
|
0.18
|
0.18
|
-
|
-
|
-
|
-
|
-
|
-
|
-
|
-
|
-
|
-
|
-
|
-
|
-
|
-
|
-
|
-
|
|
|
Среднее значение по слою
|
Суглинок тяжелый
|
|
|
|
|
|
0.34
|
0.19
|
0.15
|
0.19
|
0.18
|
2.00
|
2.71
|
1.67
|
1.78
|
1.0
|
42
|
58
|
-
|
-
|
-
|
-
|
|
|
3
|
|
Суглинок тяжелый
|
|
1
|
-
|
С.1
|
2.1-2.4
|
0.33
|
0.19
|
0.14
|
0.22
|
0.09
|
1.99
|
2.71
|
1.58
|
1.76
|
-
|
44
|
56
|
-
|
-
|
-
|
-
|
|
|
|
То же
|
|
2
|
-
|
С.1
|
1.3-3.4
|
0.32
|
0.19
|
0.13
|
0.21
|
0.18
|
-
|
-
|
-
|
-
|
-
|
-
|
-
|
-
|
-
|
-
|
-
|
-
|
-
|
-
|
-
|
-
|
|
|
|
«
|
|
5
|
-
|
С.3
|
3.5-3.6
|
0.35
|
0.20
|
0.15
|
0.22
|
0.19
|
-
|
-
|
-
|
-
|
-
|
-
|
-
|
-
|
-
|
-
|
-
|
-
|
-
|
-
|
-
|
-
|
|
|
|
«
|
|
7
|
-
|
С.6
|
3.1-3.4
|
0.33
|
0.19
|
0.14
|
0.19
|
0.18
|
2.02
|
2.71
|
1.69
|
1.82
|
-
|
47
|
53
|
-
|
-
|
-
|
-
|
|
|
|
«
|
|
8
|
-
|
С.6
|
1.2-1.5
|
0.95
|
0.19
|
0.16
|
0.20
|
0.18
|
-
|
-
|
-
|
-
|
-
|
-
|
-
|
-
|
-
|
-
|
-
|
-
|
-
|
-
|
-
|
-
|
|
|
|
«
|
|
13
|
-
|
С.9
|
1.2-4.3
|
0.44
|
0.20
|
0.14
|
0.28
|
0.19
|
-
|
-
|
-
|
-
|
-
|
-
|
-
|
-
|
-
|
-
|
-
|
-
|
-
|
-
|
-
|
-
|
|
|
|
«
|
|
16
|
-
|
С.12
|
|
0.39
|
0.20
|
0.13
|
0.20
|
0.18
|
2.01
|
2.70
|
1.03
|
1.78
|
-
|
49
|
51
|
-
|
-
|
-
|
-
|
|
|
|
«
|
|
17
|
-
|
С.12
|
4.1-4.4
|
0.35
|
0.20
|
0.15
|
0.20
|
0.28
|
-
|
-
|
-
|
-
|
-
|
-
|
-
|
-
|
-
|
-
|
-
|
-
|
-
|
-
|
-
|
-
|
|
|
|
«
|
|
20
|
-
|
С.14
|
3.0-3.1
|
0.34
|
0.19
|
0.15
|
0.21
|
0.18
|
-
|
-
|
-
|
-
|
-
|
-
|
-
|
-
|
-
|
-
|
-
|
-
|
-
|
-
|
-
|
-
|
|
|
|
«
|
|
21
|
-
|
С.14
|
1.1-1.2
|
0.95
|
0.20
|
0.16
|
0.22
|
0.19
|
-
|
-
|
-
|
-
|
-
|
-
|
-
|
-
|
-
|
-
|
-
|
-
|
-
|
-
|
-
|
-
|
|
|
Среднее значение по слою
|
Суглинок тяжелый
|
|
|
-
|
-
|
-
|
0.34
|
0.20
|
0.11
|
0.21
|
0.18
|
2.04
|
2.71
|
1.68
|
1.79
|
-
|
45,6
|
53,4
|
-
|
-
|
-
|
-
|
|
|
4
|
|
Суглинок тяжелый
|
|
3
|
-
|
С.1
|
4.5
|
-
|
-
|
-
|
0.25
|
-
|
-
|
-
|
-
|
-
|
-
|
-
|
-
|
-
|
-
|
-
|
-
|
-
|
-
|
-
|
-
|
-
|
|
|
|
То же
|
|
9
|
-
|
С.6
|
5.0
|
0.34
|
0.19
|
0.15
|
0.25
|
0.18
|
-
|
-
|
-
|
-
|
-
|
-
|
-
|
-
|
-
|
-
|
-
|
-
|
-
|
-
|
-
|
-
|
|
|
|
«
|
|
18
|
-
|
С.12
|
5.4
|
-
|
-
|
-
|
0.26
|
-
|
-
|
-
|
-
|
-
|
-
|
-
|
-
|
-
|
-
|
-
|
-
|
-
|
-
|
-
|
-
|
-
|
|
|
Среднее значение по слою
|
Суглинок тяжелый
|
|
|
-
|
-
|
-
|
0.34
|
0.19
|
0.19
|
0.25
|
0.18
|
-
|
-
|
-
|
-
|
-
|
-
|
-
|
-
|
-
|
-
|
-
|
-
|
-
|
-
|
-
|
-
|
|
|
5
|
|
Глина жирная
|
|
14
|
-
|
С.14
|
5.9-6.0
|
0.52
|
0.24
|
0.28
|
0.38
|
0.28
|
-
|
-
|
-
|
-
|
-
|
-
|
-
|
-
|
-
|
-
|
-
|
-
|
-
|
-
|
-
|
-
|
|
|
* Только грунтов предназначенных для высоких насыпей.
|
|
Условные обозначения
- Почвенно-растительный слой (95).
- Линия контура подсчета грунта, влажность
которого обеспечивает плотность насыпи с коэффициентом уплотнения не менее 0.9.
- Порядковый номер грунтовой
классификации по трудности разработки, согласно СНиП
IV-2-82 (табл. 1-1).
Таблица подсчета запасов
|
Метод подсчета
|
Площадь всего месторождения или отдельных участков,
м2
|
Полезные ископаемые
|
Вскрыша
|
Геологический коэффициент вскрыши
|
|
Наименование грунта № пп. табл. 1-1 СНиП IV-5-82
|
Средняя мощность, м
|
Запас, тыс. м3
|
Наименование грунта по дорожной классификации № пп.
табл. 1-1 СНиП IV-5-82
|
Средняя мощность, м
|
Запас, тыс. м3
|
|
разведанный
|
уточнен с учетом рекультивации
|
|
Среднего арифметического
|
54000
|
Супесь пылеватая (34б)
Суглинок тяжелый пылеватый (33б)
|
4.8
|
259.2
|
256.0
|
Супесь гумусированная
|
0.2
|
10.8
|
0.04
|
Основные показатели грунтов
полезной толщи
|
Номер полезной толщи
|
Наименование грунта по СНиП 2.05.02-85
|
Влажность
|
Коэффициент переувлажнения
|
Плотность
|
Максимальная допустимая влажность (Wmax) при коэф. уплот. насыпи,. равном
|
Требуемая плотность (rн) при коэффициенте уплотнения насыпи, равном
|
Коэф. относит. уплотн. (ki), при коэффиц. уплотнения
насыпи, равном
|
Сдвиг при проектной плотности и влажности *
|
|
|
природная
|
оптимальная
|
грунта
|
скелета грунта
|
скелета при оптимальной влажности
|
|
|
удельное сцепление - С
|
угол внутреннего трения в град.
|
|
|
W
|
Wo
|
Kq
|
r
|
rск
|
0,98
|
0,95
|
0,98
|
0,95
|
0,98
|
0,95
|
|
|
1
|
Супесь пылеватая
|
0,14
|
0,16
|
< 1
|
1,97
|
1,73
|
1,78
|
0,18
|
0,20
|
1,74
|
1,69
|
1,01
|
0,99
|
-
|
-
|
|
|
2
|
Суглинок тяжелый пылеватый
|
0,19
|
0,18
|
1,05
|
2,00
|
1,67
|
1,78
|
0,20
|
0,23
|
1,74
|
1,69
|
1,04
|
1,01
|
-
|
-
|
|
|
3
|
Суглинок тяжелый пылеватый
|
0,21
|
0,18
|
1,17
|
2,01
|
1,68
|
1,79
|
0,19
|
0,21
|
1,75
|
1,70
|
1,04
|
1,01
|
-
|
-
|
|
|
4
|
Суглинок тяжелый пылеватый
|
0,25
|
0,18
|
1,39
|
-
|
-
|
-
|
-
|
-
|
-
|
-
|
-
|
-
|
-
|
-
|
|
|
5
|
Глина жирная
|
0,38
|
0,22
|
1,72
|
-
|
-
|
-
|
-
|
-
|
-
|
-
|
-
|
-
|
-
|
-
|
|
|
* Испытаниям подвергаются грунты предназначенные для
сооружения высоких насыпей.
|
|
Пояснения:
1. Местоположение месторождения -
привязка к трассе в географическом и административном отношениях.
2. Наименование занимаемых
угодий.
3. Сведения о предварительном
согласовании отвода земли.
4. Время разведки месторождения,
виды и объемы выполненных работ.
5. Краткая геоморфологическая
характеристика месторождения.
6. Краткая характеристика
полезной толщи, вскрышных и подстилающих грунтов.
7. Гидрологические условия.
8. Глубина сезонного промерзания.
9. Условия и способ разработки
месторождения, возможность круглогодичной разработки, транспортировка грунта.
10. Протяженность и состояние
подъездного пути, согласование его использования с учетом большегрузных машин.
11. Заключение о пригодности
полезной толщи (для отсыпки насыпи, подстилающего слоя и т.д.) с ограничениями
или без них.
12. Требования землепользователя по рекультивации
земель и влияние их на добычу полезного ископаемого.
|
|
|
|
|
|
|
|
|
|
|
|
|
|
|
|
|
|
|
|
|
Автомобильная дорога
А-Б
|
|
|
|
|
|
|
|
|
|
|
Земляное полотно
|
Стадия
|
Лист
|
Листов
|
|
ГНП
|
|
|
|
РП
|
-
|
1
|
|
Гл. спец.
|
|
|
|
|
Гл. геолог
|
|
|
|
Паспорт
«месторождения грунта»
|
Минавтодор РСФСР
Гипродорнии
|
|
Составил
|
|
|
|
|
Проверил
|
|
|
|

Геолого-литологические разрезы

Колонки выработок, не вошедших в
геолого-литологические разделы
Масштаб 1:100

Таблица подсчета запасов
|
Метод подсчета
|
Площадь всего месторождения
или отдельных участков, м2
|
Полезные ископаемые
|
Вскрыша
|
Геологический коэффициент
вскрыши **
|
|
Наименование грунта * № пп.
табл. 1-1 СНиП IV2-82
|
Средняя мощность, м
|
Запас, тыс. м3
|
Наименование грунта по
дорожной классификации; № пп. табл. 1-1 СНиП IV2-82
|
Средняя мощность, м
|
Запас, тыс. м3
|
|
разведанный
|
уточнен с учетом рекультивации
|
|
Среднего арифметического
|
30000
|
Песок средний (27с)
|
3,8
|
114
|
|
Почвенно-растительный слой
|
0,2
|
6
|
0,053
|
|
Итого * Для месторождения грунта наименование грунтов
дается по дорожной классификации и для месторождений вод. строительных
материалов (пески и валунно-гравийных пород) по соотв. ГОСТам.
** Для месторождения дорожно-строительных
материалов.
|
Условные
обозначения:


Сводная таблица физико-механических
свойств грунтов полезной толщи по данным лабораторных испытаний
|
Номер слоя
|
Геологический возраст и генетический тип
|
Наименование песка по ГОСТ 8436-77
|
Средний зерновой состав в процентах, фракции в мм
|
Модуль крупности
|
Природная влажность
|
Плотность частиц
|
Насыпная плотность
|
Пустотность песка
|
Относит. содержание органич. веществ
|
Удельная поверхность *
|
Содержание глины в комках
|
Показатель потенциально-реакционной способности *
|
Минерало-петрографический состав
|
|
|
10
|
10-5
|
5-2,5
|
2,5-1,25
|
1,25-0,63
|
0,63-0,315
|
0,315-0,14
|
0,14-0,05
|
0,05
|
|
|
Мк
|
W
|
rs
|
rн
|
Vп
|
Jом
|
S
|
|
|
2
|
9IV
|
Песок средний
|
-
|
-
|
9.8
|
7.2
|
24.0
|
46.0
|
10.0
|
1.0
|
2.0
|
2.95
|
0.03
|
2.66
|
1.49
|
-
|
-
|
-
|
0.30
|
-
|
Преимущественно кварц
|
|
|
* Определяется при наличии
специального задания заказчика.
|
|
Пояснения:
1. Местоположение месторождения -
привязка к трассе в географическом и административном отношениях.
2. Наименование занимаемых
угодий.
3. Сведения о предварительном
согласовании отвода земли.
4. Время разведки месторождения,
виды и объемы выполненных работ.
5. Краткая характеристика
полезной толщи, вскрышных и подстилающих грунтов.
6. Краткая геоморфологическая
характеристика месторождения
7. Гидрогеологические условия.
8. Глубина сезонного промерзания
9. Условия и способ разработки
месторождения, возможность круглогодичной разработки, условия транспортировки.
10. Протяженность и состояние подъездного пути,
согласование его использования с учетом большегрузных машин.
11. Заключение о пригодности
полезной толщи (для отсыпки насыпи, подстилающего слоя и т.д.) с ограничениями
или без них.
12. Требования землепользователя по рекультивации
земель и влияние их на добычу полезного ископаемого.
|
|
|
|
|
|
|
|
|
|
|
|
|
|
|
|
|
|
|
|
|
Автомобильная дорога
А-Б
|
|
|
|
|
|
|
Н. Контр.
|
|
|
|
Строительные
материалы
|
Стадия
|
Лист
|
Листов
|
|
ГНП
|
|
|
|
РП
|
-
|
1
|
|
Гл. спец.
|
|
|
|
|
Гл. геолог
|
|
|
|
Паспорт месторождения
песка № 36 «Белицы» (кн 276)
|
Минавтодор РСФСР
Гипродорнии
|
|
Составил
|
|
|
|
|
Проверил
|
|
|
|

Геолого-литологические разрезы

Продолжение

Сводная таблица
физико-механических свойств по данным лабораторных испытаний
|
Номер слоя
|
Геологический возраст и генетический тип
|
Наименование породы по ГОСТ 24100-80
|
Условные обозначения
|
Средний зерновой состав в %, фракций в мм
|
Общие показатели породы
|
Форма зерен
|
Песчаная составляющая
|
|
|
> 70
|
70-40
|
40-20
|
20-10
|
10-5
|
5-2,5
|
2,5-12,5
|
1,25-0,63
|
0,63-0,315
|
0,315-0,14
|
0,14-0,05
|
< 0,05
|
Процентное содержание в породе
|
Насыпная плотность
|
Петрографический состав
|
Модуль крупности
|
Плотность частиц
|
Насыпная плотность
|
Содержание пылеватых и глинистых частиц
|
|
|
песка
|
гравия
|
валунов
|
|
|
Рн
|
Мк
|
rч
|
rн
|
|
|
3
|
аII-III
|
Валунно-гравийно-песчаная
|

|
18
|
4
|
5,5
|
11,9
|
19,2
|
11,0
|
7,2
|
5,8
|
5,4
|
4,8
|
6,3
|
1,5
|
42
|
40
|
18
|
2,12
|
граниты - 45, дидолы - 36 %,
- 19 %, известняк доломитовый -
9 %, рудные примеси отсутствуют
Глина в комках отсутствует
|
гравия и валунов в основном
гладкая; песка - окатанная
|
2,81
|
2,55
|
1,94
|
3,6
|
|
Продолжение
|
Валунно-гравийная составляющая
|
|
Содержание зерен пластинчатой и игловатой формы
|
Содержание зерен слабых пород
|
Дробимость зерен при сжатии в цилиндре
|
Истираемость в полочном барабане
|
Морозостойкость
|
Водостойкость
|
|
Мрз
|
|
18
|
5
|
?
|
И-II
|
Мрз50
|
-
|
Пояснения:
1.
Местоположение месторождения - привязка к трассе в географическом и административном
отношениях.
2.
Наименование занимаемых угодий.
3.
Сведения о предварительном согласовании отвода земли.
4.
Время разведки месторождения, виды и объемы выполненных работ.
5.
Краткая характеристика полезной толщи, вскрышных и подстилающий грунтов.
6.
Краткая геоморфологическая характеристика месторождения.
7.
Гидрогеологические условия.
8.
Глубина сезонного промерзания.
9.
Условия и способ разработки месторождения, возможность круглогодичной
разработки. Условия транспортировки.
10.
Протяженность и состояние подъездного пути, согласование его использования с
учетом большегрузных машин.
11.
Заключение о пригодности полезной толщи с ограничениями или без них.
12. Требования землепользователя
по рекультивации земель и влияние их на ископаемое.
|
|
|
|
|
|
|
|
|
|
|
|
|
|
|
|
|
|
|
|
|
Автомобильная дорога
А-Б
|
|
|
|
|
|
|
|
|
|
|
Строительные
материалы
|
Стадия
|
Лист
|
Листов
|
|
|
|
|
|
РП
|
-
|
1
|
|
|
|
|
|
|
|
|
|
|
Паспорт месторождения
№ 7 валунно-гравийно-песчаной породы (км 37)
|
Минавтодор РСФСР
Гипродорнии
|
|
|
|
|
|
|
|
|
|
|
Таблица подсчета запасов
|
Метод подсчета
|
Площадь всего месторождения
или отдельных участков, м2
|
Полезные ископаемые
|
Вскрыша
|
Геологический коэффициент
вскрыши
|
|
Номер группы грунта по СНиП №
2-82
|
Средняя мощность, м
|
Запас, тыс. м3
|
Наименование грунта по
дорожной классификации; № пп. табл. 1-1 СНиП IV2-82
|
Средняя мощность, м
|
Запас, тыс. м3
|
|
разведанный
|
уточнен с учетом рекультивации
|
|
Среднеарифметический
|
105000
|
6г
|
6,7
|
7035
|
6500
|
Суглинок 33б - 85 %
Песок пылеватый 27а - 13 %
|
0,9
|
94,5
|
0,13
|

Условные обозначения:

Геолого-литологические разрезы

Сводная таблица
физико-механических свойств камня
|
Номер полезного слоя
|
Геологический возраст
|
Наименование породы
|
Плотность
|
Пористость
|
Водопоглощение
|
Морозостойкость
|
Врем. сопротивл. одноосному сжатию в водонасыщенном
состоянии
|
Коэффициент размягчаемости
|
Степень выветрелости
|
|
средняя
|
истинная
|
|
rm
|
r
|
пср
|
Wпогл
|
Мрз
|
Rс
|
Крз
|
К?
|
|
1
|
С1
|
Известняк прочный
кристаллический
|
2.61
|
2.82
|
|
3.5
|
25
|
|
|
|
|
2
|
С1
|
То же
|
2.61
|
2.85
|
|
3.7
|
50
|
|
|
|
Колонки выработок, не вошедших в
геологолитологические разрезы
Масштаб 1:100

Таблица
подсчета запасов
|
Метод подсчета
|
Площадь всего месторождения
или отдельных участков, м2
|
Полезные ископаемые
|
Вскрыша
|
Геологический коэффициент
вскрыши **
|
|
Наименование грунта** № пп. табл.
1-1 СНиП IV2-82
|
Средняя мощность, м
|
Запас, тыс. м3
|
Наименование грунта по
дорожной классификации; № пп. табл. 1-1 СНиП IV2-82
|
Средняя мощность, м
вскрыша
пустые прослои
|
Запас, тыс. м3
вскрыша
пустые прослои
|
|
разведанный
|
уточнен с учетом рекультивации
|
|
Параллельных сечений
|
1.7
|
Известняк прочный кристаллический (15в)
|
6.69
|
62.6
|
55.0
|
Суглинок 33б
глина 8д
|
1.77
0.82
|
37.9
16.4
|
0,87
|
|
Итого:
* Для месторождения грунта наименование грунтов дается по дорожной
классификации и для месторождений дорожно-строительных материалов (песка и
валунно-гравийно-песчаных пород) по соответствующим ГОСТам.
** Для месторождений
дорожно-строительных материалов.
|
Пояснения:
1.
Местоположение месторождения - привязка к трассе в географическом
административном отношениях.
2.
Наименование занимаемых угодий.
3.
Сведения о предварительном согласовании отвода земли.
4.
Время разведки месторождения, виды и объемы выполненных работ.
5.
Краткая геоморфологическая характеристика месторождения.
6.
Краткая характеристика полезной толщи - петрографические наименования,
происхождение:
- содержание основных
породообразующих минералов;
- данные о наличии или отсутствии
включений пород и минералов, относимых к вредным примесям, с количественной
оценкой их содержания;
- описание структурных и
текстурных особенностей;
- данные о наличии или отсутствии
следов выветривания;
- оценку трещиноватости,
вторичных изменений;
- данные о содержании прослоев
глин и других засоряющих пород.
7.
Гидрогеологические условия.
8. Глубины
сезонного промерзания.
9. Условия и
способ разработки месторождения, возможность круглогодичной разработки.
10. Протяженность
и состояние подъездного пути, согласование его использования с учетом
большегрузных машин.
11. Заключение
о пригодности полезной толщи (для отсыпки насыпи, подстилающего слоя и т.д.) с
ограничениями или без них.
12. Требования землепользователя по
рекультивации земель и влияние их на добычу полезного ископаемого.
|
|
|
|
|
|
|
|
|
|
|
|
|
|
|
|
|
|
|
|
|
Автомобильная дорога
Р-К
|
|
|
|
|
|
|
|
|
|
|
Строительные
материалы
|
Стадия
|
Лист
|
Листов
|
|
|
|
|
|
РП
|
|
|
|
|
|
|
|
|
|
|
|
|
Паспорт месторождения
камня № 25
|
Минавтодор РСФСР
Гипродорнии
|
|
|
|
|
|
|
|
|
|
|
|
Геоморфологические подразделения
|
Общее геологическое строение
|
Краткая геофорфологическая характеристика
|
Гидрогеологические условия
|
Морфо-генетические типы рельефа их группы
|
|
области
|
районы
|
подрайоны
|
индекс областей, районов, подрайонов
|
Индекс группы
|
Наименование групп
|
Индекс типа
|
Наименование типов
|
|
1
|
2
|
3
|
4
|
5
|
6
|
7
|
8
|
9
|
10
|
11
|
|
Алювиально-флювиогляциальная
равнина
|
Белореченския
|
|
I-1
|
Преимущественное распространение
имеют верхнемеловые мергели, мел, опоки. Четвертичные отложения, главным
образом флювиогляциальные и аллювиальные, образуют сплошной покров
значительной мощности
|
Преобладают группы типов рельефа
аллювиальных четвертичных террас и террасовых равнин, ледниковых и
водоледниковых аккумулятивных среднечетвертичных равнин.
Глубина расчленения рельефа
небольшая
|
Для
аллювиально-флювиогляциальной Придеснинской равнины характерны следующие
водоносные горизонты:
1. Современный аллювиальный
приурочен к пойменным и русловым отложениям. Воды безнапорные с уровнями на
глубине 0-2 м подвержены загрязнению.
Верхнечетвертичный - включает
обводненные аллювиальные отложения различных террас. Обводненность террас
неодинаковая. Воды, как правило, безнапорные с уровнями на глубине 0-5 м.
3. Воды спорадического
распространения в нерасчлененных покровных отложениях. Развиты локально по
склонам и водоразделам и имеют характер верховодки. Мощность водоносных линз
не превышает 1-3 м.
4. Московско-днепровский
флювиогляциальный распространен отдельными изолированными участками. Мощность
водоносного горизонта от 1 до 14-16 м. Уровни на глубине 1-4 м.
5. Верхнемеловой - мощность
обводненных пород от 50 до 100 м. Дебит весьма различный.
|
III
|
Алювиальные четвертичные
террасы и террасовые равнины
|
1
|
Современная пойма
|
|
2
|
Четвертичная первая и вторая
надпойменные террасы
|
|
3
|
Четвертичная третья и четвертая
надпойменные террасы
|
|
II
|
Ледниковые и водоледниковые
аккумулятивные среднечетвертичные равнины
|
4
|
Слаборасчлененная
флювиогляциальная пониженная (150-200 м) равнина
|
|
Чернореченский
|
Правобережный - Чернореченский
|
I-2-а
|
В районе широкое развитие имеют
карбонатные верхнемеловые, в меньшей мере песчано-глинистые палеогеновые
породы перекрытые морской и флювиогляциальными отложениями днепровского
оледенения, а также перигляциальными (6 тилассовыми)
отложениями
|
В целом преобладает рельеф относительно
пониженных доледниковых равнин с глубиной расчленения от 30 до 70 м.
Характерна резкая асимметрия
бассейнов и долин рек с преобладанием широких террас в левобережье.
На поверхности равнин
встречаются дюнные и моренные скопления
|
III
|
Алювиальные четвертичные
террасы и террасовые равнины
|
1
|
Современная пойма
|
|
2
|
Четвертичная первая и вторая
надпойменные террасы
|
|
3
|
Четвертичная третья и четвертая
надпойменные террасы
|
|
II
|
Ледниковые и водоледниковые аккумулятивные
среднечетвертичные равнины
|
4
|
Слаборасчлененная
флювиогляциальная пониженная (150-200 м) равнина
|
|
I
|
Доледниковые
эрозионно-бекудоционные и аккумулативные меотеново-нижнечетвертичные равнины в
пределах оледенения и в приледниковой зоне
|
5
|
Среднерасчлененная
пологохолмистая относительно пониженная (менее 240 м) равнина
|
|
6
|
Среднерасчлененная
пологоволнистая относительно пониженная (менее 240 м) равнина
|
Продолжение
|
|
|
|
Морфологическая характеристика
|
Проявление современных физико-геологических процессов
|
Генезис и возраст
|
Наименование грунтов комплекса
|
|
12
|
13
|
14
|
15
|
|
Пологая наклонная к реке
поверхность, местами заболоченная и расчлененная протоками
|
Заболачивание, боковая речная
эрозия
|
aQIV
|
Сложное переслаивание песчаных и
глинистых грунтов с линзами гравийно-галечного материала, иногда торфа и
илов. Пески, в основном мелкие и пылеватые, реже крупные и средней крупности.
Суглинки, в основном, тяжелые и тяжелые пылеватые, мягкопластичные. Мощность
комплекса 5-10 м
|
|
Ровные поверхности с небольшим
уклоном в сторону реки. Террасы имеют четко выраженные уступы высотой 10-12 и
20-25 м
|
Местами заболачивание, боковая
речная эрозия
|
aQIV
|
Переслаивание песчаных и
глинистых грунтов. Местами встречаются линзы торфа, илов и гравийно-галечного
материала. Пески - мелкие, пылеватые - средней крупности, реже крупные.
Суглинки - тяжелые и тяжелые пылеватые тугопластичной и мягкопластичной
консистенции. Мощность комплекса 10-15 м
|
|
Слегка волнистая поверхность, расчлененная
неглубокими распластанными ложбинками. Наблюдаются четко выраженные уступы
высотой 30-40 м
|
Местами заболачивание
|
aQII-III
|
Переслаивание песков, суглинков
и глин. В нижней части разреза преобладают пески. Пески, в основном мелкие и средней
крупности. Среди глинистых грунтов преобладают суглинки легкие пылеватые,
тугопластичной консистенции. Мощность комплекса от 2-3 до 40 м.
|
|
Слегка волнистая плоская
поверхность осложнена замкнутыми неглубокими понижениями местами
заболоченными
|
Местами заболачивание, боковая
речная эрозия
|
fgQIIdn-m
|
Преимущественно пески с
прослоями суглинков и глин. Пески, в основном, средней крупности с гравием и
галькой плохо отсортированы. Глины песчанистые, суглинки - тяжелые с
включением гравия. Мощность комплекса от 5-10 до 20 м.
|
|
Пологая наклонная к реке
поверхность, местами заболоченная и расчлененная протоками
|
Заболачивание, боковая речная
эрозия
|
aQIV
|
Сложное переслаивание песчаных и
глинистых грунтов с линзами гравийно-галечного материала, иногда торфа и
илов. Пески, в основном мелкие и пылеватые, реже крупные и средней крупности.
Суглинки, в основном, тяжелые и тяжелые пылеватые, мягкопластичной
консистенции. Мощность комплекса 5-10 м
|
|
Ровные поверхности с небольшим
уклоном в сторону реки. Террасы имеют четко выраженные уступы высотой 10-12 м
и 20-25 м
|
Местами заболачивание, боковая
речная эрозия
|
aQIV
|
Переслаивание песчаных и
глинистых грунтов. Местами встречаются линзы торфа, илов и гравийно-галечного
материала. Пески - мелкие, пылеватые и средней крупности, реже крупные.
Суглинки тяжелые и тяжелые пылеватые, тугопластичной и мягкопластичной
консистенции. Мощность комплекса 10-15 м
|
|
Слегка волнистая поверхность расчленена
распластанными ложбинами, наблюдаются четко выраженные уступы высотой 30-40 м
|
Местами заболачивание
|
aQII-III
|
Переслаивание песков, суглинков
и глин. В нижней части разреза преобладают пески. Пески, в основном мелкие и
средней крупности. Среди глинистых грунтов преобладают суглинки легкие
пылеватые, тугопластичной консистенции. Мощность комплекса от 2-3 до 40 м.
|
|
Слегка волнистая поверхность
осложнена неглубокими замкнутыми понижениями и расчленена неглубокими
распластанными ложбинами
|
Суффозия, боковая речная эрозия
|
prQI-IV
fgQIIok-dn
|
Лессовидные суглинки, пылеватые
глины и супеси. Мощность комплекса 5-10 м, иногда 20-30 м. Пески с прослоями
суглинков и глин. Пески, в основном, средней крупности с гравием, суглинки тяжелые
с включением гравия; глины песчаные. Мощность комплекса до 10 м. Опоки,
глины, реже песок. Ниже по разрезу мел и мергель.
|
|
Поверхность местами расчленена
долинами мелких рек. Склоны долин расчлененные оврагами. На поверхности
водоразделов встречаются карстовые воронки
|
Суффозия, оврагообразование,
карст
|
prQI-IV
к2
|
Лессовидные суглинки, пылеватые
глины и супеси. Мощность комплекса 5-10 м, иногда 20-30 м. Опоки, глины, реже
пески. Внизу разреза мергель и мел. Мел белый глинистый внизу опесчаненный.
Мергель плотный, мекозернистый с прослоями более слабого
|
|
Поверхность местами расчленена
долинами временных водотоков и тогда на склонах долин проявляются оползневые
процессы
|
Суффозия, оврагообразование,
оползни
|
prQI-IV
gQIIdn
fgQIIok-dn
|
Лессовидные суглинки, пылеватые
глины и супеси. Мощность комплекса 5-10 м до 20-30 м. Суглинки тяжелые,
тяжелые пылеватые и глины песчанистые плотные с включением щебня и валунов кристаллических
пород с линзами песка. Мощность 10-15, иногда 30-80 м. Пески с прослоями
суглинков и глин с включением гравия. Мощность до 20 м.
|
Окончание таблицы
|
Физико-механические свойства
|
|
16
|
|
Пески мелкие и пылеватые - рыхлые
водонасыщенные
|
Пески средней крупности и
крупные - средней плотности, водонасыщенные
|
Суглинки тяжелые и тяжелые пылеватые
|
Торф слаборазложившийся,
избыточно влажный, малозольный
|
|
Jp - 16; 17
|
JL - 0,70
|
|
WL - 0,36; 0,37
|
r - 1,82; 1,84
|
|
W - 0,31; 0,32
|
|
|
Пески мелкие и пылеватые -
средней плотности, влажные и водонасыщенные
|
Пески средней крупности и
крупные - средней плотности, влажные и водонасыщенные
|
Суглинки тяжелые и тяжелые пылеватые
|
Торф влажный малозольный, среднеразложившийся
|
|
Jp - 16; 17
|
JL - 0,35; 0,60
|
|
WL - 0,36; 0,37
|
r - 1,82; 1,84
|
|
W - 0,25; 0,30
|
|
|
Суглинки легкие и легкие пылеватые
|
Глины песчанистые
|
Пески мелкие и средней
крупности, плотные, влажные местами, водонасыщенные
|
|
Jp - 9; 11
|
JL - 0,26
|
Jp - 21
|
JL - 0,30
|
|
WL - 0,27; 0,29
|
r - 1,78
|
WL - 0,43
|
r - 1,98
|
|
W - 0,20; 0,2
|
|
W - 0,19
|
|
|
Пески средней крупности с
включением гравия и гальки - плотные
|
Суглинки тяжелые
|
Глины песчанистые
|
|
Jp - 16
|
JL - 0,30
|
Jp - 21
|
JL - 0,28
|
|
WL - 0,36
|
r - 1,80
|
WL - 0,43
|
r - 1,98
|
|
W - 0,24
|
|
W - 0,27
|
|
|
Пески мелкие и пылеватые,
рыхлые, водонасыщенные
|
Пески средней крупности и
крупные - средней плотности, водонасыщенные
|
Суглинки тяжелые и тяжелые пылеватые
|
Торф слаборазложившийся,
избыточно влажный, малозольный
|
|
Jp - 16; 17
|
JL - 0,70
|
|
WL - 0,36; 0,37
|
r - 1,82; 1,84
|
|
W - 0,31; 0,32
|
|
|
Пески мелкие и пылеватые - средней
плотности, влажные и водонасыщенные
|
Пески средней крупности и
крупные - средней плотности, влажные и водонасыщенные
|
Суглинки тяжелые и тяжелые пылеватые
|
Торф влажный малозольный,
среднеразложившийся
|
|
Jp - 16; 17
|
JL - 0,35; 0,60
|
|
WL - 0,36; 0,37
|
r - 1,82; 2,0
|
|
W - 0,25; 0,30
|
|
|
Суглинки легкие и легкие пылеватые
|
Глины песчанистые
|
Пески мелкие и средней
крупности, плотные, влажные местами, водонасыщенные
|
|
Jp - 9; 11
|
JL - 0,26
|
Jp - 21
|
JL - 0,30
|
|
WL - 0,27; 0,29
|
r - 1,78
|
WL - 0,43
|
r - 1,98
|
|
W - 0,20; 0,21
|
|
W - 0,19
|
|
|
Лессовидные суглинки:
Jp - 13
WL - 0,32
W - 0,11
JL - 0,22
r - 1,60
е -0,85
|
Глины пылеватые:
Jp - 23
WL - 0,45
W - 0,23
JL - 0,28
r - 1,98
|
Супеси пылеватые:
Jp - 5
WL - 0,21
W - 0,26
JL - 0,45
r - 1,72
|
Мергель:
r - 1,90
rs - 2,70
е - 0,78
W - 0,25
Rc - 3,5 МПа
|
Мел:
r - 1,86
rs - 2,60
е - 0,74
Rc - 6,0 МПа
|
|
Лессовидные суглинки:
Jp - 13
WL - 0,32
W - 0,11
JL - 0,22
r - 1,60
е - 0,85
|
Глины пылеватые:
Jp - 23
WL - 0,45
W - 0,24
JL - 0,27
r - 1,98
|
Супеси пылеватые:
Jp - 5
WL - 0,21
W - 0,26
JL - 0,4
r - 1,72
|
Мергель:
r - 1,90
rs - 2,70
е - 0,78
W - 0,25
Rc - 3,5 МПа
|
Мел:
r - 1,96
rs - 2,60
е - 0,74
Rc - 6,0 МПа
|
|
Суглинки тяжелые и тяжелые пылеватые:
|
Глины песчанистые с включением щебня:
|
|
Jp - 16; 17
|
JL - 0,27
|
Jp - 21
|
JL - 0,30
|
|
WL - 0,36; 0,37
|
r -
1,94; 1,95
|
WL - 0,43
|
r - 2,04
|
|
W - 0,14; 0,16
|
|
W - 0,19
|
|
Условные обозначения:
- Заболоченность
- Боковая речная эрозия
- Растущие овраги и балки
- Оползни
- Крестовые воронки
- Блюдцеобразные западины
- Границы инженерно-геологических районов
- Границы морфо-геологических типов рельефа.
Схематическая карта инженерно-геологического
районирования

|
Условный знак и индекс инженерно-геологического
района
|
Условия строительства
|
|
I-1 - III-1
|
Преобладает 3-й тип местности
по условиям увлажнения. Основания земляного полотна, в основном, слабые. Для возведения
насыпей могут быть использованы только песчаные грунты из сосредоточенных
резервов
|
|
I-1 - III-2
|
Преобладают 2-й и 1-й типы
местности по условиям увлажнения. Основания земляного полотна, в основном,
прочные. Для возведения насыпей могут быть использованы грунты
сосредоточенных резервов
|
|
I-1 - III-3
|
Преобладает 1-й, реже 2-й и 3-й
типы местности по условиям увлажнения. Основания земляного полотна прочные.
Для возведения насыпей могут быть использованы грунты выемок, сосредоточенных
и боковых резервов
|
|
I-1 - II-4
|
Преобладает 2-й и 1-й, местами
3-й типы местности по условиям увлажнения. Основания земляного полотна, в
основном, прочные, местами слабые. Для возведения насыпей могут быть использованы
грунты неглубоких выемок и сосредоточенных резервов
|
|
I-2-a - III-1
|
Преобладает 3-й тип местности
по условиям увлажнения. Основания земляного полотна, в основном, слабые. Для
возведения насыпей могут быть использованы только песчаные грунты из
сосредоточенных резервов
|
|
I-2-a - III-2
|
Преобладают 2-й и 1-й типы
местности по условиям увлажнения. Основания земляного полотна, в основном,
прочные. Для возведения земляного полотна могут быть использованы грунты
сосредоточенных резервов
|
|
I-2-a - III-3
|
Преобладает 1-й, реже 2-й и 3-й
типы местности по условиям увлажнения. Основания земляного полотна прочные.
Для возведения насыпей могут быть использованы грунты выемок, сосредоточенных
и боковых резервов
|
|
I-2-a - II-4
|
Преобладают 2-й и 1-й типы
местности по условиям увлажнения. Основания земляного полотна, в основном,
прочные, местами слабые. Для возведения насыпей могут быть использованы
грунты неглубоких выемок и сосредоточенных резервов
|
|
I-2-a - I-5
|
Преобладают 1-й и 2-й типы
местности по условиям увлажнения. Основания земляного полотна прочные, иногда
слабые. Для возведения насыпей могут быть использованы грунты выемок, боковых
и сосредоточенных резервов
|
|
I-2-a - I-6
|
То же
|
Примечание: Инженерно-геологическое районирование прилагается к отчету
со сложными инженерно-геологическими условиями.
|
|
|
|
|
|
|
|
|
|
|
|
|
|
|
|
|
|
|
|
|
Автомобильная дорога
А-Б
|
|
|
|
|
|
|
|
|
|
|
Искусственные
сооружения
|
Стадия
|
Лист
|
Листов
|
|
|
|
|
|
|
-
|
1
|
|
|
|
|
|
|
|
|
|
|
Инженерно-геологическое
районирование притрассовой полосы автомобильной дороги А-Б
|
Минавтодор РСФСР
Гипродорнии
|
|
|
|
|
|
|
|
|
|
|
|
Номер инженерно-геологического элемента
|
Геологический возраст и генетический тип
|
Наименование грунтов по ГОСТ 25100-82 и СНиП 2.05.02-85
|
Влажность
|
Число пластичности
|
Показатель текучести
|
Плотность, т/м3
|
Коэффициент пористости
|
Относит. содержание орган. веществ, в %
|
Относительное набухание
|
Относительная просадочность
|
Степень засоленности, в %
|
Гранулометрический состав в процентах, фракции в мм
|
Степень неоднородности
|
Степень влажности
|
Коэффициент фильтрации, м/сут
|
Предел прочности одноосному сжатию в водонасыщ. состоянии,
МПа
|
Коэффициент размягчаемости
|
Температура и льдистость
|
Степень цементации льдом
|
|
|
природная
|
на границе текучести
|
на границе раскатывания
|
грунта
|
частиц грунта
|
Сухого грунта
|
|
|
> 200
|
200-10
|
10-2
|
2-1
|
1-0,5
|
0,5-0,25
|
0,25-0,10
|
0,10-0,05
|
0,05-0,005
|
< 0,005
|
|
|
|
W
|
WL
|
Wp
|
Jp
|
JL
|
r
|
rs
|
rd
|
l
|
J¢
|
esw
|
esl
|
Cu
|
Sг
|
Кф
|
Rc
|
Rsat
|
|
|
|
|
|
|
|
|
|
|
|
|
|
|
|
|
|
|
|
|
|
|
|
|
|
|
|
|
|
|
|
|
|
|
|
|
|
* Только для вечномерзлых
грунтов.
|
|
Характеристики W?, l; Rc представляются в виде: ,
где
- среднее значение
характеристики;
V - коэффициент вариации;
m - число определений.
|
|
|
|
|
|
|
|
|
|
|
|
|
|
|
|
|
|
|
|
|
Автомобильная дорога
А-Б
|
|
|
|
|
|
|
|
|
|
|
|
Стадия
|
Лист
|
Листов
|
|
|
|
|
|
РП
|
-
|
1
|
|
|
|
|
|
|
|
|
|
|
Ведомость физических
свойств грунтов
|
Минавтодор РСФСР
Гипродорнии
|
|
|
|
|
|
|
|
|
|
|

Продолжение

Условные обозначения:
- месторождения гравия;
- месторождения песка;
- месторождения супесей, суглинков и глин для
земляного полотна;
- месторождения песчаного грунта для
земляного полотна;
- средняя мощность полезного слоя, м
объем
полезного ископаемого, тыс. м3
- выемки;
- боковые резервы.
Примечание: настоящий график составляется на строительство новых линий
автомобильных дорог протяженностью более 25 км.
|
|
|
|
|
|
|
|
|
|
|
|
|
|
|
|
|
|
|
|
|
Автомобильная дорога
А-Б
|
|
|
|
|
|
|
|
|
|
|
Земляное полотно
|
Стадия
|
Лист
|
Листов
|
|
|
|
|
|
РП
|
1
|
1
|
|
|
|
|
|
|
|
|
|
|
График притрассовых
месторождений грунтов
|
Минавтодор РСФСР
Гипродорнии
|
|
|
|
|
|
|
|
|
|
|

Месторождения материалов для дорожной одежды:
- камень;
- гравий;
- песок.
Месторождения грунтов для
земляного полотна:
- песок;
- суглинок;
- супесь;
- песчаник;


|
|
|
|
|
|
|
|
|
|
|
|
|
|
|
|
|
|
|
|
|
Автомобильная дорога
А-Б
|
|
|
|
|
|
|
|
|
|
|
Строительные
материалы
|
Стадия
|
Лист
|
Листов
|
|
|
|
|
|
РП
|
-
|
1
|
|
|
|
|
|
|
|
|
|
|
Схематический план
расположения месторождений
|
Минавтодор РСФСР
Гипродорнии
|
|
|
|
|
|
|
|
|
|
|
Автомобильная дорога А-Б
Рабочий проект
|
Местоположение болот
|
Местоположение
разведочных точек ПК+
|
Мощность болотных
грунтов, м (торф + сапропелъ)
|
Характеристика грунтов
|
Строительный тип
болота
|
Рекомендуемые
проектные решения по возведению земляного полотна
|
Обосновывающий
проектный объект
|
|
|
км
|
от ПК+
|
до ПК+
|
протяжение, м
|
|
|
влево от оси, м
|
по оси трассы
|
вправо от оси, м
|
болотных
|
минерального дна
|
|
|
мощность
|
мощность
|
|
|
1
|
2
|
3
|
4
|
5
|
6
|
7
|
8
|
9
|
10
|
11
|
12
|
13
|
14
|
15
|
16
|
17
|
|
|
32
|
314+10
|
316+30
|
220
|
314 + 25
|
|
|
|
0,3
|
|
|
|
1. Торф средней зольности, средней влажности, степень
разложения 25 %
Сопротивляемость сдвигу по крыльчатке - 0,25 кгс/см2
Модуль осадки при нагрузке 1 кгс/см2 - 450
мм/м.
Строительный тип - II
2. Сапропель органический, избыточно влажный
Сопротивляемость сдвигу по крыльчатке 0,01 кгс/см2
Строительный тип - III
|
Песок мелкий средней плотности, водонасыщенный
|
III
|
Тип основания по устойчивости - Ш.
Производится удаление торфа на глубину до 2 м. Возведение
насыпи из дренирующих грунтов с посадкой ее на минеральное дно путем
выдавливания сапропеля
|
Инженерно-геологический паспорт болота
|
|
|
314 + 50
|
|
|
|
1
|
5
1,1
|
|
|
|
|
314 + 75
|
|
|
|
1,7
|
|
|
|
|
|
315 + 00
|
20
2 + 0,3
|
10
2 + 0,4
|
5
2 + 0,4
|
2 + 0,8
|
5
2 + 0,5
|
10
2 + 0,5
|
20
2 + 0,5
|
|
|
315 + 25
|
|
|
|
2 + 0,8
|
|
|
|
|
|
315 + 50
|
|
|
5
2 + 1,2
|
2 + 1,2
|
5
2 + 1,4
|
|
|
|
|
315 + 75
|
|
|
|
2 + 1,1
|
|
|
|
|
|
316 + 00
|
18
2 + 0,3
|
8,5
2 + 0,4
|
4
2 + 0,4
|
2 + 0,5
|
7
2 + 0,5
|
13
2 + 0,5
|
22
2 + 0,4
|
|
|
316 + 25
|
|
|
5
0,4
|
0,3
|
5
0,4
|
|
|
|
Главный
геолог объекта (И.О.
Фамилия)
Проверил (И.О.
Фамилия)
Составил (И.О.
Фамилия)
Автомобильная дорога А-Б
Рабочий проект
|
Номер месторождения
|
Привязка к оси дороги
|
Местоположение
месторождения и занимаемые земли
|
Качественная
характеристика грунта
Порядковый номер
грунта по СНиП
IV-2-82
|
Площадь. га
|
Средняя мощность, м
|
Условия разработки и
транспортировки материала
|
Намечаемое
использование грунта
|
Сведения о
согласовании отвода земли и условия по рекультивации
|
|
|
км
|
ПК
|
влево или вправо, км
|
объем, тыс. м3
|
|
|
полезного слоя
|
вскрыши
|
|
|
вскрыта
|
полезная толща
|
|
|
1
|
2
|
3
|
4
|
5
|
6
|
7
|
8
|
9
|
10
|
11
|
12
|
13
|
|
|
15
|
160
|
0
|
вправо 1
|
В 0,1 км к Ю-B от села Никольского, на правой надпойменной
террасе безымянного ручья, на пашне колхоза имени В.И. Ленина Барановического
р-на Брестской обл.
|
Супесь гумусированная (34б)
|
1. Песок средней крупности с тонкими прослоями супеси,
маловлажный, Кф-1,5 м/сут (27а) - 60 %.
2. Суглинок легкий пылеватый, твердый Ку = 1,03 (33в) - 40
%
|
2,5
|
11,7
292,5
|
0,2
5,0
|
Разработку месторождений рекомендуется проводить в летнее
время. Транспортировка возможна по существующей дороге протяжением 1,5 км.
Подъездной путь согласован
|
Песок используется для отсыпки верхней части земполотна на
участке км 156-163, суглинок -для нижней части земляного полотна
|
Временный отвод земли площадью 2,5 га согласован с
условием рекультивации отработанной площади под лесопосадки/ Решение
Барановического райисполкома № 532 от 19.11.75 и Брестского облисполкома №
206 от 15.03.76 (Оформлен акт выбора подъездного пути)
|
|
Примечание. Для составления рабочего
проекта составляется ведомость используемых месторождений грунта.
Главный геолог объекта (И.О. Фамилия)
Начальник изыскательской партии (И.О. Фамилия)
Проверил (И.О.
Фамилия)
Составил (И.О.
Фамилия)
Автомобильная дорога А-Б
Рабочий проект
|
Номер месторождения
|
Привязка к оси дороги
|
Название месторождения,
его местоположение, занимаемые земли
|
Материал, его
качественная характеристика, результаты лабораторных испытаний
|
Геологическое строение
и гидрогеологические условия месторождения. Порядковый номер грунта (по СНиП
IV-2-82)
|
Площадь, га
|
Средняя мощность, м
|
Условия разработки и
транспортировки материала
|
Намечаемое
использование материала
|
Сведения о согласовании
земли и условия рекультивации
|
|
км
|
ПК
|
влево или вправо, км
|
объем, тыс. м3
|
|
полезного слоя
|
вскрыши
|
|
1
|
2
|
3
|
4
|
5
|
6
|
7
|
8
|
9
|
10
|
11
|
12
|
13
|
|
7
|
22
|
70
|
вправо
|
«Крутое» - расположено в 1 км к Ю-В от ст. Новопавловка
Чернореченского р-на Хабаровского края, на неудобных землях совхоза
«Октябрьский»
|
Песчано-гравийная смесь (гравия до 60 %), заполнитель - песок
крупный. Содержание пылеватоглинистых частиц 0,0-2,4 %. Содержание лещадных
зерен 7 %, обломки преимущественно метаморфических пород. Марка гравия по
дробимости - «Др-12» (потеря в весе 10 %) по истираемости «И-П» потеря в весе
25 %), морозостойкость «Мрз-25»
|
Месторождение приурочено к 1 надпойменной террасе р.
Северка. Полезная толща представлена аллювиальными отложениями, залегающими
выдержанным слоем мощностью до 5 м. С глубины 2,5 м толща обводнена (6а)
Вскрыша - супесь гумусированная (34б)
|
8
|
5,1
408,0
|
0,45
3,6
|
Разработку рекомендуется производить экскаватором-драглайн
в теплое время года. Требуется улучшение существующей дороги на протяжении
3,5 км и устройство подъездного пути от существующей дороги до трассы
протяжением 4,5 км. Подъездной путь согласован
|
Для устройства дополнительного основания
|
Временный отвод земли с землепользователем согласован с
учетом использования выработанного пространства под водоем. Решение
Чернореченского райисполкома № 532 от 19.11.75 и Хабаровского крайисполкома №
206 от 15.03.76. Оформлен акт выбора (с учетом подъездного пути)
|
Указания
по составлению:
1. В ведомость включаются все разведанные
месторождения, а также используемые базисные карьеры дорожно-строительных
материалов.
Главный геолог объекта (И.О.
Фамилия)
Начальник изыскательской партии (И.О.
Фамилия)
Проверил: (И.О.
Фамилия)
Составил: (И.О.
Фамилия)
Автомобильная
дорога А-Б
Рабочий
проект
|
Проектный км
|
Участок
|
Протяжение, м
|
Характеристика участка
|
Рекомендуемые
мероприятия
|
Обосновывающий проектный
документ
|
|
от ПК+
|
до ПК+
|
|
1
|
2
|
3
|
4
|
5
|
6
|
7
|
|
21
|
0 + 50
|
1
|
50
|
Долина безымянного ручья: сложена легкими пылеватыми
суглинками до глубины 2,4 м - заторфованными текучими, до 5,5 м - мягкопластичными,
до 8,2 м - текучепластичными и текучими, ниже полутвердыми
|
Устойчивость основания по расчету обеспечена. При подсчете
объемов земляных работ учесть поправку на осадку земляного полотна
|
Материалы группы «Б»
|
|
56
|
854 + 25
|
861 + 50
|
725
|
Выемка мокрая. Грунтовые воды залегают выше проектной
линии на 0,5 м
|
Двусторонний подкюветный дренаж
|
Инженерно-геологический паспорт выемки
|
Главный геолог объекта (И.О. Фамилия)
Проверил (И.О.
Фамилия)
Составил (И.О.
Фамилия)
|