Бесплатная библиотека стандартов и нормативов www.docload.ru

Все документы, размещенные на этом сайте, не являются их официальным изданием и предназначены исключительно для ознакомительных целей.
Электронные копии этих документов могут распространяться без всяких ограничений. Вы можете размещать информацию с этого сайта на любом другом сайте.
Это некоммерческий сайт и здесь не продаются документы. Вы можете скачать их абсолютно бесплатно!
Содержимое сайта не нарушает чьих-либо авторских прав! Человек имеет право на информацию!

 

Министерство монтажных и специальных
строительных работ СССР

ИНСТРУКЦИЯ
ПО СВАРКЕ СТАЛЬНЫХ КОНСТРУКЦИЙ
ПОРОШКОВОЙ ПРОВОЛОКОЙ ППВ-5

ВСН 427-81

ММСС СССР

УТВЕРЖДЕНЫ

Министерством монтажных

и специальных строительных

работ СССР.

17 июля 1981 г.

Заместитель министра

К.К. Липодат

Центральное бюро
научно-технической информации

Москва - 1982

СОДЕРЖАНИЕ

Настоящая инструкция, предназначенная для инженерно-технических работников и рабочих-специалистов, содержит указания по полуавтоматической сварке стальных конструкций порошковой проволокой ППВ-5 (тип Э50А в нижнем, горизонтальном, вертикальном и наклонном положениях: по подготовке строительных конструкций из углеродистой и низколегированных сталей под сварку, режиму сварки, выбору сварочного оборудования и комплектации поста, контролю качества сварных швов и устранению дефектов. Приведены требования к квалификации сварщиков. Большое внимание уделено технике выполнения многослойных швов в разных пространственных положениях.

Приведенные в инструкции режимы и технология сварки рекомендуются также для проволоки ППВ-4 типа Э46 по ТУ 36-1905-76.

Инструкция разработана Краснодарским филиалом ВНИИмонтажспецстроя и Днепропетровским экспериментально-исследовательским заводом сварочных материалов на основании своих исследований и опыта использования проволоки ППВ-5 при монтаже трестами Спецстальконструкция Главстальконструкции Минмонтажспецстроя СССР, Севкавтехмонтаж, Юговостоктехмонтаж, Южстальконструкция, Юговостокстальконструкция и Коксохимтепломонтаж Минмонтажспецстроя УССР.

Составители: В.Г. Лозовой, канд. техн. наук В.Г. Хохлов, В.Д. Курмаз.

Научный редактор И.С. Иоффе.

Министерство монтажных и специальных строительных работ СССР (Минмонтажспецстрой)

Ведомственные строительные нормы

ВСН 427-81

ММСС СССР

Инструкция по сварке стальных конструкций порошковой проволокой ППВ-5

Впервые

1. ОБЩИЕ ПОЛОЖЕНИЯ

1.1. Инструкция распространяется на полуавтоматическую сварку открытой дугой порошковой проволокой ППВ-5* конструкций из углеродистых и низколегированных сталей в вертикальном, горизонтальном, нижнем и наклонном положениях.

* А.с. 512888 - Б.И., 1976, № 17.

1.2. Металл шва и сварное соединение, выполненное проволокой ППВ-5, должны соответствовать требованиям ГОСТ 9467-75, предъявляемым к электродам Э50А. Механические свойства должны иметь значения, не менее:

предел прочности sв, МПа....................................................................... 500

относительное удлинение d5, %.............................................................. 20

ударная вязкость aн при + 20°С, Дж/см2................................................ 130

угол загиба, град........................................................................................ 150

1.3. Химический состав наплавленного металла должен быть следующим, %:

углерод........................................................................................................ 0,09-0,14

марганец..................................................................................................... 0,55-1,3

кремний...................................................................................................... 0,19-0,40

алюминий................................................................................................... 0,1-0,32

сера, не более............................................................................................. 0,03

фосфор, не более........................................................................................ 0,03

1.4. При сварке порошковой проволокой ППВ-5 мероприятия по технике безопасности должны соответствовать требованием главы СНиП по технике безопасности в строительстве и ГОСТ 12.3.003-75.

Внесены Краснодарским филиалом ВНИИмонтажспецстроя

Утверждены Минмонтажспецстроем СССР

17 июля 1981 г.

Срок введения в действие

1 январи 1982 г.

2. СВАРОЧНЫЕ МАТЕРИАЛЫ

2.1. Проволока ППВ-5 диаметром 2,35 мм предназначена для сварки со свободным формированием без дополнительной защиты соединений конструкций из углеродистых и низколегированных сталей толщиной 8 мм и более в вертикальном положении, 3 мм и более в наклонном, горизонтальном и нижнем положениях.

2.2. В зависимости от тока коэффициент наплавки проволоки составляет 16 - 19 г/(А×ч).

2.3. Расход проволоки на 1 кг наплавленного металла составляет 1,26 кг.

2.4. Номинальный диаметр проволоки 2,3±0,1 мм. При большем диаметре формирование вертикальных и горизонтальных швов затруднено.

2.5. Проволока должна быть упакована в герметичную тару и иметь сертификат завода-изготовителя, в котором указаны марка и диаметр проволоки, номер партии, химический состав металла шва, результаты испытаний механических свойств, типичные режимы сварки вертикальных и горизонтальных соединений.

2.6. Внутренний диаметр мотка проволоки должен быть не более 450 мм. Моток должен состоять из одного куска проволоки массой 3-20 кг. Повторная перемотка проволоки не допускается.

2.7. Поверхность проволоки не должна иметь механических повреждений (смятие, раскрытие замка), а также следов ржавчины. Допускается наличие рисок от волочения и технологической смазки.

2.8. Проволоку необходимо хранить в герметичной таре, поступаемой с завода-изготовителя, в сухом месте при температуре выше 0°С. Раскрывать тару следует непосредственно перед сваркой. Гарантийный срок хранения 4 мес. При более длительном хранении следует проверять технологические свойства проволоки: легкость зажигания дуги, отделимость шлака, наличие дефектов-пор и шлаковых включений.

2.9. При транспортировке проволока должна быть защищена от атмосферных воздействий. При погрузке и разгрузке повреждение упаковки не допускается.

2.10. В случае несоблюдения условий хранения и транспортировки в соответствии с пп. 2.8 и 2.9 настоящей инструкции проволоку следует прокалить при температуре 140-160°С в течение 1 ч и выполнить сварку контрольных образцов. В печь проволоку необходимо загружать при режиме прокалки. Не допускается прокалка проволоки при температуре выше 200°С.

3. КВАЛИФИКАЦИЯ СВАРЩИКОВ

3.1. К сварке в нижнем положении допускаются электросварщики не ниже третьего, а в вертикальном и горизонтальном положениях - не ниже четвертого разряда, прошедшие специальную теоретическую и практическую подготовку и сдавшие соответствующие экзамены по программе, составленной на основании данной инструкции.

3.2. В процессе практического обучения сварщики сваривают стыки и технологические пробы в вертикальном, горизонтальном и нижнем положениях. Толщина, марка и вид соединения должны быть аналогичны толщине и виду соединения свариваемой конструкции.

3.3. Количество контрольных стыков должно соответствовать требованиям действующих технических условий.

4. ПОДГОТОВКА И СБОРКА КОНСТРУКЦИЙ ПОД СВАРКУ

4.1. Подготовку кромок соединений можно производить ручным и механизированным способами, а также с помощью газовой резки (с обязательной последующей очисткой места реза от окалины и грата) и механической обработки в соответствии с ГОСТ 8713-70.

4.2. Подготовку и сборку конструкций под сварку следует осуществлять в соответствии с действующими техническими условиями на изделие.

4.3. При сборке конструкций прихватки необходимо выполнять электродами Э50А или проволокой ППВ-5. Перед сваркой прихватки следует тщательно очистить от шлака.

5. ОБОРУДОВАНИЕ И НАСТРОЙКА СВАРОЧНОГО ПОСТА

5.1. В комплект сварочного поста должны входить источник питания дуги, полуавтомат, амперметр постоянного тока с пределом измерения до 500 А, шунт на 75 мВ и вольтметр постоянного тока на 75 В.

5.2. Для сварки применяют генераторы с жесткой характеристикой ПСГ-500 и ПСУ-500, отрегулированные на падение напряжения при сварке по сравнению с напряжением холостого хода не более чем на 3 В, выпрямитель ВС-600 или другой с пологопадающей характеристикой.

5.3. Падение напряжения по п.5.2 настоящей инструкции замеряют с помощью вольтметра на клеммах генератора при холостом ходе и сварке. Разность этих показаний является значением падения напряжения.

5.4. Если показания вольтметра на клеммах генератора при холостом ходе отличаются от показаний при сварке более чем на 3 В, генератор следует регулировать небольшим смещением траверсы щеткодержателя с нейтрального положения: для увеличения падения - по ходу вращения, для уменьшения - против хода.

5.5. Длина и сечение подводящих кабелей должны обеспечивать падение в них напряжения при протекании сварочного тока не более 7 В.

5.6. Падение напряжения в кабелях по п. 5.5 настоящей инструкции определяют по разнице показаний вольтметра, подключенного при сварке к клеммам источника питания, и вольтметра, подключенного непосредственно на рабочем месте к электрододержателю и свариваемому металлу.

5.7. При несоответствии сварочных кабелей требованиям п. 5.5 настоящей инструкции их необходимо укоротить или увеличить площадь поперечного сечения.

5.8. Сварку рекомендуется производить полуавтоматами А-765, А-1035, А-1197, ПМП-6 или другими, обеспечивающими устойчивую, без смятий подачу проволоки.

5.9. Вертикальные и горизонтальные швы следует выполнять держателями облегченного типа, рассчитанными на токи до 250 А, например А-836Р или другими, более совершенными.

6. ТЕХНОЛОГИЯ И ТЕХНИКА СВАРКИ

6.1. Сварку следует производить постоянным током обратной полярности (+ на электроде).

6.2. Перед сваркой необходимо проверить, чтобы положение клемм генератора соответствовало маркировке (+ -).

6.3. Перед сваркой следует проверить соответствие характеристик источника питания и сварочных кабелей по пп. 5.2 и 5.5, при необходимости осуществить регулировку согласно пп. 5.3, 5.4, 5.6 и 5.7 настоящей инструкции.

6.4. Для обеспечения стабильного качества сварки подающий механизм полуавтомата должен быть оснащен роликами, исключающими деформирование проволоки.

6.5. В подающем механизме полуавтомата должна быть соосность канавок подающих роликов, подводящих, отводящих каналов с продольной осью порошковой проволоки. При отсутствии соосности следует произвести соответствующую регулировку.

6.6. Сварку следует выполнять при вылетах проволоки (расстояние от токоподводящего мундштука до изделия) не менее 30-35 мм.

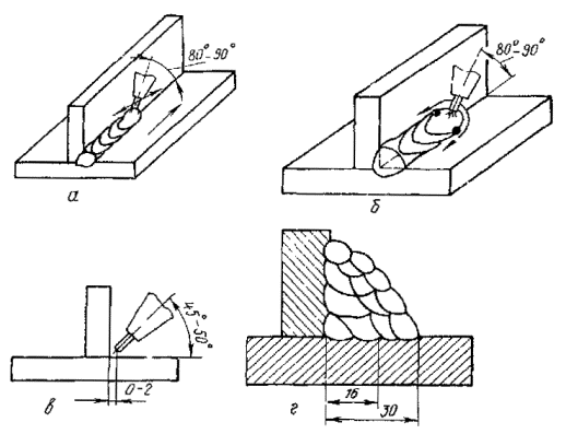
Для повышения качества вертикальных швов сварку необходимо производить при удлиненном вылете проволоки, используя специальный токоподводящий мундштук-удлинитель (рис. 1 и 2).

6.7. Сварку конструкций из низкоуглеродистых сталей при максимальном содержании углерода и марганца по ГОСТ следует выполнять при минимальных значениях напряжения на дуге и максимальном вылете проволоки в соответствии с табл. 1-3.

Рис. 1. Мундштук - удлинитель вылета:
1 - мундштук; 2 - керамическая втулка

Рис. 2. Положение удлинителя (1) в электрододержателе (2)

Вертикальное положение

6.8. Сварку в вертикальном положении следует выполнять при режимах, указанных в табл. 1.

6.9. Сварку однослойных швов (за один проход) следует начинать с наведения ванны на всю площадь поперечного сечения разделки, а при выполнении многослойных швов - на площадь сечения накладываемого слоя.

6.10. При наложении однослойных валиковых швов на конструкции толщиной 8-16 мм угол наклона электрода к оси шва должен составлять не менее 110° (рис. 3 и 4). При этом дугу следует зажигать в корне шва и вести по одной из скошенных кромок, проплавляя ее с задержкой дуги у края сварочной ванны на расстоянии 2-3 мм от поверхности свариваемой конструкции (см. рис. 3.а, б, в) После образования достаточного количества расплавленного металла дугу следует перемещать к корню шва и противоположную кромку стыка. Далее процесс повторяют. Сварка по второй схеме (см. рис. 4) отличается от первой перемещением электрода за пределы разделки на 1-2 мм с задержкой у кромки, но при движении вверх.

Для получения гладкого обратного валика корня шва электрод следует продвигать по стыку вперед (в направлении сварки), выводя дугу на нерасплавленные кромки в зазоре и перемещая ее по расплавленной ванне.

При толщине конструкции 16 мм однослойный шов можно накладывать по двум схемам (см. рис. 3, б и рис. 4, б), по которым для более равномерного усиления электрод дополнительно поперечно перемещают торцом с кратковременной задержкой в центре сечения разделки.

6.11. Техника выполнения первого слоя многослойных швов не отличается от указанной для однослойных в пп. 6.9 и 6.10 настоящей инструкции. При выполнении многослойных швов слои следует распределять так, чтобы каждый имел толщину 4-5 мм (см. рис 3, в, г). Второй и последующие слои накладывают при уменьшенных вылетах проволоки (30-50 мм). Угол наклона электрода по отношению к продольной оси шва должен составлять не менее 110° (см. п. 6.10 и рис. 3, а).

После выполнения каждого слоя поверхность шва необходимо тщательно зачистить от шлака. При наложении второго и последующих слоев особое внимание следует уделять удалению шлака в местах прилегания слоя к поверхности кромок. Чтобы исключить непровары и зашлаковку в начале шва, дугу необходимо зажигать несколько выше и затем возвращать к началу шва или применять выводные технологические планки.

6.12. Если необходимо прервать сварку при наложении первого слоя вертикального шва, то в месте перерыва следует прожечь отверстие диаметром 5-6 мм. Продолжение сварки следует начинать при минимальном вылете проволоки, дугу возбуждать в вершине шва и затем перемещать к отверстию, прогревая всю поверхность застывшей ванны. При этом шлак и часть расплавленного металла направляют в отверстие.


Таблица 1

Разделка кромок по ГОСТ 5264-69

Толщина металлоконструкций, мм

Количество слоев

Режим сварки

Производительность

Ток, А

Напряжение дуги, В

Скорость подачи проволоки, м/ч

Вылет, мм

сварки, м/ч

наплавки, кг/ч

Стыковые соединения

8-10

1

90-110

20-25

112

50-80

2,0-2,2

1,9

12

1

110-150

22-26

126-142

50-100

2,1-2,7

2,1-2,3

14

1

130-150

23-26

142-159

60-100

2,1-2,3

2,3-2,7

16

1

130-150

24-26

142-159

40-80

2,2-2,4

2,3-2,7

14

2

110-120

22-25

126

60-100

1,6-1,8

2,1

16

2

110-130

22-26

126-159

50-100

1,3-2,0

2,1-2,7

18-22

2

120-150

24-27

142-159

50-100

-

2,3-2,7

24-30

3

130-170

24-27

159-178

50-100

0,6-0,7

2,7-2,9

Угловые, нахлесточные и тавровые соединения

8-10

1

100-120

20-24

112

40-60

2,2-2,4

1,9

12-14

1

120-150

22-26

126-142

40-60

-

2,1-2,7

16

1

130-160

24-27

159

40-60

-

2,7

18-20

2

140-160

23-26

142-159

20-50

-

2,3-2,7

24-30

2-3

140-180

24-25

159-178

40-50

-

2,7-2,9

Примечание. При однопроходной сварке необходимо наложение подварочного шва.


Рис. 3. Схема наложения вертикального стыкового шва (вариант I):
а - однослойного при толщине конструкции 8-14 мм; б - то же, 14-16 мм; в - многослойного при толщине конструкции 16-18 мм; г - то же, 24-30 мм

Рис. 4. Схема наложения вертикального стыкового шва (вариант 2) при толщине конструкции, мм:
а - 8-14; б - 14-16

Рис. 5. Схема наложения вертикального таврового шва:
а - однослойного катетом 8-16 мм; б - многослойного катетом 18-30 мм

6.13. Второй и последующие слои необходимо накладывать после зачистки поверхности застывшей ванны при минимальном вылете проволоки.

6.14. Тавровые швы катетом 8-16 мм следует закладывать по схеме, указанной в п. 6.10 настоящей инструкций (рис. 5, а). При этом сварку следует вести при минимальном вылете проволоки и угле наклона электрода к оси шва 100-110°. Перемещение электрода вверх по направлению сварки необходимо начинать вне ванны по корню разделки стыка, задерживая его в местах, отмеченных на рис. 5, а точками.

6.15. Первый слой многослойных тавровых швов следует накладывать в соответствии с указаниями п. 6.14 настоящей инструкции. При наложении валика катетом более 16 мм необходимо проваривать дугой середину ванны для обеспечения равномерного заполнения валика по всему поперечному сечению. При наложении многослойных вертикальных тавровых швов наплавленный металл следует распределять по слоям так, чтобы толщина каждого слоя составляла 3-5 мм. Валик следует накладывать при минимальном вылете проволоки, задерживая электрод в местах, отмеченных на рис. 5, б точками.

Наклонное положение

6.16. К наклонным отнесены положения, представленные на рис. 6, и промежуточные.

6.17. В наклонном положении сварку следует выполнять при режимах, указанных в табл. 2.

Рис. 6. Наклонные положения электрода

6.18. Стыковые соединения толщиной 4-6 мм, а также тавровые катетом 4-6 мм при угле наклона до 45° следует выполнять способом сверху - вниз, при угле наклона 60° - снизу - вверх при минимальной скорости подачи проволоки, используя технику наложения шва, аналогичную рекомендованной для сварки этих соединений в вертикальном положении (см. рис. 3, а, б).

6.19. Соединения толщиной 8-14 мм при углах наклона до 45-50° можно выполнять двумя способами:

сваривать в два прохода при максимальной скорости подачи проволоки. Первый слой накладывают сверху - вниз, второй - снизу - вверх, используя технику манипулирования электродом, представленную на рис. 7;

сваривать в один проход при минимальной скорости подачи проволоки, используя манипуляции электрода, аналогичные манипуляциям в вертикальном положении.

При угле наклона более 45° соединения выполняют аналогично вертикальным.

Рис. 7. Техника манипулирования электродом при наложении второго слоя наклонных под углом 30-45° соединений конструкций толщиной 8-14 мм

6.20. Способы выполнения соединений толщиной 16-20 мм зависят от их длины.


Таблица 2

Разделка кромок по ГОСТ 5264-69

Толщина металлоконструкции, мм

Угол наклона соединения, град

Количество слоев

Режим сварки

Производительность наплавки

Способ сварки

Ток, А

Напряжение дуги, В

Скорость подачи проволоки, м/ч

Стыковые соединения

4-6

30

1

110-140

21-23

112-142

1,9-2,3

Снизу-вверх и сверху-вниз

45

1

110-140

21-23

112-142

1,9-2,3

60

1

110-130

21-22

112-126

1,9-2,1

8-10

30

1-2

110-140

21-22

112-142

1,9-2,3

В один слой снизу-вверх, в два слоя - комбинированно: корень - сверху-вниз, второй слой - снизу-вверх

45

1-2

110-140

21-22

112-142

1,9-2,3

60

1

90-120

20-21

99,5-112

1,7-1,9

12-14

30

1-2

120-150

22-23

126-159

2,1-2,7

То же

45

1-2

120-150

22-23

126-159

2,1-2,7

60

1

130

22

126

2,1

16-20

30

2-3

140-180

24-25

186-210

3,3-3,7

Снизу-вверх

45

2-3

150-180

25-26

210-298

3,7-5,3

60

2

150-180

25-26

210-256

3,7-4,5

18-22

30

2

310

27

298

5,3

Снизу-вверх по корневому шву

45

2

210

27

298

5,3

60

1

210

27

298

5,3

Тавровые и нахлесточные соединения

4-6

15-20

1

140-170

24-25

178-198

2,9-3,6

Сверху-вниз

Снизу-вверх и сверху-вниз

30

1

120-140

22-23

126-142

2,1-2,3

45

1

120-140

22-23

126-142

2,1-2,3

60

1

120-140

22-23

126-142

2,1-2,3

8-10

30

1

110-140

21-23

112-142

1,9-2,3

Снизу-вверх

45

1

110-140

21-23

112-142

1,9-2,3

60

1

110-140

21-23

112-142

1,9-2,3

12 и более

30

2 и более

120-150

22-23

126-159

2,1-2,7

То же

45

2 и более

120-150

22-23

126-159

2,1-2,7

60

2 и более

120-150

22-25

126-189

2,1-3,3

Примечание. Оптимальный вылет проволоки 35-59 мм.


Соединения большой длины при угле наклона 30-45° необходимо выполнять, накладывая небольшой по толщине (3-4 мм) первый слой способом сверху-вниз при минимальных по току режимах (скорость подачи 126-159 м/ч), затем заполняя разделку слоями большой толщины при максимальной скорости подачи проволоки (рис. 8, а). Если угол наклона соединений составляет 50-60°, первый слой следует накладывать способом снизу-вверх при скорости подачи проволоки 112-126 м/ч, а разделку заполнять аналогично описанному выше.

При разбросанности свариваемых узлов соединения небольшой длины следует выполнять без изменения режимов сварки. В этом случае всю разделку заполняют толстыми слоями способом снизу-вверх (рис. 8, б).

Рис. 8. Порядок наложения слоев стыкового соединения конструкций толщиной 16-20 мм

6.21. При угле наклона тавровых соединений 30-45° швы катетом 8 мм и более следует накладывать способом снизу-вверх, используя технику, показанную на рис. 5. При угле наклона этих соединений 50-60° техника наложения швов аналогична указанной для вертикальных соединений.

Горизонтальное положение

6.22. Горизонтальные стыки следует сваривать при режимах, указанных в табл. 3, угол наклона электрода по отношению к горизонтальной плоскости должен соответствовать указанному на рис. 9.

6.23. Соединение конструкций толщиной 3-5 мм следует выполнять сваркой за один проход, электрод перемещать либо перпендикулярно плоскости стыка, либо углом назад с возвратно-поступательным движением и задержкой в местах, указанных на рис. 9 точками. При этом по общему направлению сварки электрод двигают с несколько большей скоростью, чем в направлении на валик.

Возможна также сварка углом вперед.

Рис. 9. Техника наложения горизонтальных швов:
а - соединение конструкций толщиной 3-5 мм; б - корневой валик многослойного шва; в - последний валик многослойного шва

6.24. Корневой валик многослойных соединений накладывают следующим образом: дугу возбуждают на нижней кромке и круговым движением с задержкой в зазоре переводят на верхнюю кромку, после наведения устойчивой ванны электрод углом назад перемещают по краю ванны дугообразным возвратно-поступательным движением, не давая ванне затекать перед дугой и тщательно выгоняя шлак на верхнюю и нижнюю кромки задержкой дуги в хвостовой части ванны.

6.25. Для обеспечения хорошего сплавления слоев и легкого удаления шлака в рельефе шва не должно быть узких (4 мм) и глубоких (5 мм) участков.

6.26. Для соединения толщиной 6-18 мм порядок распределения металла по слоям шва указан на рис. 10. При этом промежуточные слои следует распределять так, чтобы последний слой был ниточным.


Таблица 3

Разделка кромок по ГОСТ 5264-69

Толщина металлоконструкции, мм

Количество слоев

Режим сварки

Производительность

Примечание

Ток, А

Напряжение дуги, В

Скорость подачи проволоки, м/ч

Вылет, мм

сварки, м/ч

наплавки, кг/ч

3-5

1

90-110

18-21

88-99,5

40-50

15-20

1,5-1,7

Конструкции толщиной 3 мм сваривают при максимальном вылете проволоки, толщиной 5 мм - минимальном

6-8

2

130-150

23-26

142-159

40-100

7-9

2,3-2,7

Корневой слой выполняют при максимальном вылете проволоки, второй - минимальном

10-12

3-4

140-190

23-26

178-188

40-100

4,0-4,7

2,9-3,1

14-16

5

180-230

24-27

188-235

40-100

3,0-3,3

3,1-4,0

30

11-13

210-240

24-28

236-265

40-100

1,1-1,2

4,0-4,3


Первый (корневой), второй и третий валики накладывают при вылете проволоки 80-100 мм, используя технику сварки, указанную в п. 6.24 настоящей инструкции, остальные - при вылете проволоки 30-40 мм и непрерывном ведении электрода углом назад (либо перпендикулярно плоскости стыка).

Рис. 10. Порядок распределения валиков многослойных горизонтальных соединений конструкций толщиной, мм: а - 6-8, б - 10-12; в - 12-14; г, д - 16-18

Последний валик накладывают так же при вылете проволоки 20-30 мм, используя технику сварки, указанную в п. 6.23 настоящей инструкции.

Рис. 11. Порядок распределения валиков многослойных горизонтальных соединений конструкций толщиной 20-30 мм

6.27. Для соединений толщиной 20-30 мм порядок распределения металла по слоям шва представлен на рис. 11.

Таблица 4

Соединение

Общее количество слоев

Слой

Режим сварки

Ток, А

Напряжение дуги, В

Скорость подачи проволоки, м/ч

Вылет, мм

1

1

140-190

22-25

159-10

50-70

2

1

190-230

22-27

210-256

50-70

 

2

140-160

22-25

159-179

30-60

2

1

210-260

24-27

230-287

50-70

 

2

140-160

22-25

159-179

30-60

2

1

230-290

24-27

256-320

50-70

 

2

140-160

22-5

159-180

30-60

 

1

270-320

25-28

297-387

50-70

 

2

140-160

22-25

159-179

30-60

 

3

140-160

22-25

159-179

30-60

Варианты "а" и "б" предусматривают наращивание нижней кромки, вариант "в" - заполнение разделки "стенками". Все слои, кроме первого, выполняют валиками при вылете проволоки 30-40 мм.

6.28. Горизонтальное соединение большой длины конструкций толщиной 6-20 мм при угле скоса верхней кромки, меньшем 45°, следует выполнять по технологии, представленной в табл. 4.

Нижнее положение

6.29. Сварку в нижнем положении следует выполнять при режимах, указанных в табл. 5.

6.30. Техника сварки стыковых швов в нижнем положении представлена на рис. 12.

Рис. 12. Техника выполнения в нижнем положении стыковых соединений:
а - конструкций толщиной 3-4 мм; б - то же, 5-8 мм, в - многослойного соединения конструкций толщиной 8 мм; г - то же, более 8 мм

Конструкции толщиной 3-4 мм сваривают углом назад односторонним или двусторонним швом при максимальном вылете проволоки. Конструкции толщиной 6-8 мм следует сваривать при вылете проволоки 40-50 мм, перемещая электрод под углом 80-90° по краю ванны с задержкой в зазоре.


Таблица 5

Разделка кромок по ГОСТ 5264 - 69

Толщина металлоконструкции, мм

Количество слоев

Режим сварки

Производительность

Примечание

Ток, А

Напряжение дуги, В

Скорость подачи проволоки, м/ч

Вылет, мм

сварки, м/ч

наплавки, кг/ч

Стыковые соединения

3-6

1

130-200

23-27

159-210

40-80

16-21

2,7-3,4

Без вырубки корня шва. Соединения конструкций 3-4 мм выполняют при минимальных значениях тока и максимальном вылете проволоки

8-10

2

220-260

26-33

265-298

40-80

10-12

4,3-4,8

Корневой шов выполняют при максимальном вылете проволоки

12-14

2

290-340

26-31

337-335

40-80

11-14

5,3-7,8

24-90

4-5

290-340

26-31

337-435

40-80

3,1-4,0

5,3-7,8

Тавровые соединения

3-6

1

150-230

25-31

159-265

40-80

20-25

2,8-4,5

-

8-10

1

300-390

27-33

337-435

40-50

14-17

5,3-7,8

12-16

3

300-390

27-33

337-435

40-50

-

5,3-7,8

30

1-14

310-390

27-33

337-435

40-50

-

5,3-7,8

3-12

1

150-390

25-33

159-435

40-80

-

2,8-7,8

-

12-16

2-5

310-390

27-33

337-535

40-50

-

5,3-7,8


Конструкции толщиной 12 мм сваривают за два прохода и более (см. рис. 12, в, г). Корневой слой шва, в зависимости от величины притупления и зазора в стыке, накладывают согласно рис. 12, а или рис. 12, б. Последующие слои накладывают при положении электрода углом назад. Толщина валика должна быть не более 6 мм. При этом корневой слой накладывают при вылете проволоки 60 - 70 мм, последующие - 40 - 50 мм.

6.31. Для уменьшения сварочных деформаций и исключения дефектов в замках многослойных швов большой длины при сварке проволокой ППВ-5 следует использовать те же приемы, что и при ручной сварке штучными электродами.

6.32. Техника сварки угловых и тавровых соединений представлена на рис. 13, а, б (сварку ведут углом назад). Угол между полкой таврового соединения и продольной осью проволоки составляет 45-50° (см. рис. 13, в).

Швы катетом 3-4 мм накладывают при возвратно-поступательном движении электрода и вылете проволоки 60-80 мм (см. рис. 13, а).

При наложении однослойных швов катетом 8-10 мм электрод перемещают по краю ванны с задержкой в мостах, указанных на рис. 13, б. Вылет проволоки должен составлять 40-50 мм.

Рис. 13. Техника наложения угловых и тавровых швов в нижнем  положении:
а - однослойных катетом 3-6 мм; б - то же, 8-10 мм; в, г - многослойных катетом 16-30 мм

Многослойные швы тавровых соединений выполняют при вылете проволоки 40-50 мм, перемещая электрод без поперечных колебаний. Рациональное распределение валиков в швах катетом 16 -30 мм приведено на рис. 13, г.

6.33. Тавровые соединения с односторонним скосом кромок выполняют аналогично горизонтальным стыковым соединениям.

6.34. При обрыве дуги (прекращении сварки) кратер ванны необходимо зачистить от шлака, возбудить дугу на расстоянии 10 - 15 мм от места обрыва и перенести на кратер. Заварку кратера следует производить быстрыми поперечными колебаниями конца электродной проволоки, затем резко оборвать дугу.

6.35. Подварку корня шва допускается выполнять штучными электродами Э50А.

6.36. При автоматической сварке под флюсом допускается выполнение подварочных швов, наложение отдельных слоев и исправление дефектов проволокой ППВ-5.

7. КОНТРОЛЬ КАЧЕСТВА СВАРНЫХ СОЕДИНЕНИЙ

7.1. Способы контроля качества сварных соединений - по ГОСТ 3242-69 "Швы сварных соединений. Методы контроля качества" и СНиП III-18-75 "Металлические конструкции. Правила производства и приемки работ", а также ППР.

Определение механических свойств - по ГОСТ 6966-75; контроль неразрушающими методами - по ГОСТ 14782-76, ГОСТ 7512-75, ГОСТ 23055-78; металлографические исследования - по ГОСТ 5640-68, ГОСТ 1778-70.

7.2. До начала и в процессе сварки следует контролировать:

а) состояние порошковой проволоки в соответствии с ТУ завода-изготовителя;

б) соответствие характеристики источника питания требованиям п. 5.2 настоящей инструкции;

в) равномерность подачи проволоки и надежность ее контакта с токоподводящим мундштуком держателя;

г) качество сборки, подготовки кромок и их очистки от загрязнений, очистки прихваток от шлака, а также наличие трещин в прихватках;

д) соблюдение режимов, техники манипулирования электродом.

7.3. После сварки необходимо провести внешний осмотр соединений для выявления внешних дефектов: трещин, пор и подрезов.

7.4. Дефектные места следует удалить или исправить. Повторную сварку дефектных мест производят электродами Э50А или Э42А.

8. ДЕФЕКТЫ СВАРНЫХ ШВОВ И СПОСОБЫ ИХ ПРЕДУПРЕЖДЕНИЯ

8.1. При соответствии проволоки техническим условиям дефекты в сварных швах являются следствием нарушения технологии сварки или неисправности оборудования.

8.2. Основные дефекты в сварных швах, выполненных порошковой проволокой ППВ-5, и способы их предупреждения приведены в табл. 6.

Таблица 6

Дефекты

Причина возникновения

Способы предупреждения

Поры

Высокое напряжение дуги

Отрегулировать режим в соответствии с рекомендациями табл. 1-3

Мал вылет проволоки при сварке

Увеличить вылет проволоки в соответствии с рекомендациями табл. 1-3

Неравномерная скорость подачи проволоки

Отрегулировать подающий механизм или прочистить направляющий канал шланга

Генератор имеет возрастающую характеристику

Отрегулировать генератор в соответствии с п. 5.3 настоящей инструкции

Износ наконечника держателя

Заменить наконечник

Большие зазоры между свариваемыми деталями

Привести величину зазора в соответствие с требованиями ГОСТ 5264-69

Сырая, ржавая проволока

Прокалить проволоку в соответствии с п. 2.10 настоящей инструкции и очистить от ржавчины

Повышенное содержание углерода, марганца, кремния и других примесей в основном металле

Проверить химический состав основного металла

Шлаковые включения

Предыдущий слой плохо очищен от шлаковой корки

Тщательно зачистить промежуточные слои

Напряжение на дуге не соответствует необходимому

Отрегулировать режим сварки. Уменьшить длину кабелей, увеличить площадь их поперечного сечения

Неправильное распределение валиков по слоям.

Неправильная техника сварки

Соблюдение техники сварки

Не удалена окалина после подготовки кромок газовой резкой

Тщательно очистить от окалины кромки

Непровары

Мал сварочный ток, большая скорость сварки, неправильная техника наложения шва

Отрегулировать режим сварки и придерживаться рекомендуемой техники сварки

Подрезы

Высокое напряжение дуги, неправильная техника сварки

Отрегулировать режим, выполнять указания настоящей инструкции

 




Rambler's Top100 Яндекс цитирования
  Copyright © 2008-2026, www.docload.ru