Бесплатная библиотека стандартов и нормативов www.docload.ru

Все документы, размещенные на этом сайте, не являются их официальным изданием и предназначены исключительно для ознакомительных целей.
Электронные копии этих документов могут распространяться без всяких ограничений. Вы можете размещать информацию с этого сайта на любом другом сайте.
Это некоммерческий сайт и здесь не продаются документы. Вы можете скачать их абсолютно бесплатно!
Содержимое сайта не нарушает чьих-либо авторских прав! Человек имеет право на информацию!

 

Государственный комитет по гражданскому строительству
и архитектуре при Госстрое СССР
(ГОСГРАЖДАНСТРОЙ)

Центральный научно-исследовательский и проектно-экспериментальный институт инженерного оборудования городов, жилых и общественных зданий
(ЦНИИЭП инженерного оборудования)

Утверждаю:

Директор института

А.И. Кунахович

РЕКОМЕНДАЦИИ
ПО ТЕХНИКО-ЭКОНОМИЧЕСКОМУ ОБОСНОВАНИЮ
ПРИМЕНЕНИЯ НЕТРАДИЦИОННЫХ СОЛНЕЧНЫХ
И СОЛНЕЧНО-ТЕПЛОНАСОСНЫХ СИСТЕМ ТЕПЛОХЛАДОСНАБЖЕНИЯ
НА ГРАЖДАНСКИХ И ПРОМЫШЛЕННЫХ ОБЪЕКТАХ

Москва 1987

Рекомендованы к изданию решением секции НТО ЦНИИЭП инженерного оборудования и одобрены Управлением инженерного оборудования населенных мест Госгражданстроя.

Рекомендации по технико-экономическому обоснованию применения нетрадиционных солнечных и солнечно-теплонасосных систем теплохладоснабжения на гражданских и промышленных объектах. М., 1987 г., 53 с. (Госкомитет по гражданскому строительству и архитектуре при Госстрое СССР. Центр. научно-исслед. и проектно-экспериментальный институт инж. оборудования. ЦНИИЭП инж. оборудования).

Составители: Гукасова Ф.М. (ЦНИИЭП инженерного оборудования), Сарнацкий Э.В. (Госгражданстрой), Антонов Е.П., Хачатурян Р.А. (ГрузНИИЭГС), Карагезов Р.И. (Спецгелиотепломонтаж Грузглавмонтажспецстроя).

Под общей редакцией - Меладзе Н.В. (Спецгелиотепломонтаж).

Обобщены материалы по оценке экономической эффективности нетрадиционных возобновляемых источников энергии, используемых в системах теплохладоснабжения.

Приведены методические положения расчета технико-экономических показателей солнечных и солнечно-теплонасосных систем теплохладоснабжения, справочный материал и примеры расчета применительно к условиям Грузинской ССР.

Для инженерно-технических работников, занимающихся вопросами теплохладоснабжения.

Табл. 16. ил. 13.

1. ОБЩИЕ ПОЛОЖЕНИЯ

1.1. Настоящие Рекомендации являются результатом обобщения материалов по оценке эффективности систем теплоснабжения, использующих нетрадиционный (альтернативный) возобновляемый источник энергии - энергию солнечной радиации как непосредственную, так и аккумулированную окружающей средой (воздух, вода, грунт), и базируются на анализе проектных и экспериментальных данных, а также на ряде разработанных методических материалов по экономической оценке и сравнительному анализу эффективности капитальных вложений в создание новой техники.

В Рекомендациях приводятся методические положения по расчету основных технологических и других показателей систем теплоснабжения с использованием солнечных и солнечно-теплонасосных установок.

1.2. При оценке эффективности использования солнечной энергии, кроме настоящих Рекомендаций, следует применять перечисленные ниже инструктивные материалы:

Методику определения экономической эффективности капитальных вложений. Экономическая газета", 1981, № 2.3;

Методику (основные положения) определения экономической эффективности использования в народном хозяйстве новой техники, изобретений и рационализаторских предложений. М., ГК СССР по делам изобретений, 1986;

Нормы амортизационных отчислений по основным фондам народного хозяйства СССР и положение о порядке планирования, начисления и использования амортизационных отчислений в народном хозяйстве. М., Госплан СССР, 1974;

Временную типовую методику определения экономической эффектов -нести осуществления природоохранных мероприятий и оценки экономического ущерба, причиняемого народному хозяйству загрязнением окружающей среды. М., Госплан СССР, Госстрой СССР, АН СССР, 1963;

Методические рекомендации по определению экономической эффективности установок и устройств, использующих нетрадиционные возобновляемые источники энергии. ГКНТ СМ Груз. ССР, Тбилиси. 1987;

Методические рекомендации по технико-экономической эффективности технических решений систем солнечного теплоснабжения для объектов жилищно-гражданского назначения. М., ЦНИИЭП инженерного оборудования, 1984;

Рекомендации по экспериментальному проектированию систем теплохладоснабжения с использованием серийно выпускаемых холодильных машин, работающих в режиме тепловых насосов. М., ЦНИИЗП инженерного оборудования, 1986;

Руководство по расчету количества и удельных показателей выбросов вредных веществ в атмосферу. М., ВПТИтрансстрой, 1982;

Методику технико-экономических расчетов в энергетике. М., Энергоатомиздат, 1986.

1.3. Системы солнечного теплоснабжения (ССТ) подразделяют на два основных типа: пассивные и активные. В пассивных системах использование энергии солнечного излучения происходит посредством ее поглощения, аккумулирования и передачи конструктивным элементам зданий. В активных системах преобразование энергии солнечного излучения в тепловую осуществляется в специальных установках, в которых обеспечивается достижение температуры теплоносителя, необходимой для теплоснабжения. Приводимые ниже рекомендации по расчету ССТ относятся к активным системам.

1.4. Рекомендации предназначены для использования при проектировании систем энергоснабжения (теплоснабжения) жилых, общественных и промышленных зданий и сооружений, в первую очередь, в населенных пунктах с малой плотностью застройки, в зонах децентрализованного теплоснабжения, не охваченных газификацией, где указанные системы более эффективны.

1.5. Целесообразность и эффективность использования ССТ и СТСТ (солнечно-теплонасосных систем теплохладоснабжения) в схемах энергоснабжения следует определять на основе технико-экономических расчетов при условии сопоставимости рассматриваемых систем с базовыми (традиционными) по энергетическим показателям, степени воздействия на окружающую среду и расчетным срокам эксплуатации. Сравниваемые варианты должны быть приведены к оптимальным условиям.

1.6. Расчет экономической эффективности систем теплоснабжения с использованием возобновляемых источников энергии должен производиться в рамках комплекса вопросов энергоснабжения с учетом сложившейся структуры топливно-энергетического баланса региона, климатических особенностей отдельных районов, архитектурно-строительных факторов и др.

1.7. В соответствии с "Методикой определения экономической эффективности капитальных вложений" ("Экономическая газета", 1981. № 2,3) критерием для выбора наиболее целесообразного варианта технического решения является минимум приведенных затрат, определяемых по формуле

З=ЕНК+И,                                                              (1)

где З - приведенные затраты, руб/год; И - ежегодные издержки, руб/год; К - капитальные вложения, руб; ЕН - нормативный коэффициент сравнительной эффективности капитальных вложений, 1/год (для ССТ жилищно-гражданского строительства рекомендуется принимать равным 0,1).

1.8. Экономические показатели систем энергоснабжения исчисляются за год.

Показатели экономической эффективности следует определять не только применительно к объекту в целом, но и на единицу сбереженного первичного энергоресурса, что позволит сопоставлять различные технологии использования возобновляемых источников энергии и установки с различной производительностью.

1.9. При расчете экономической эффективности использования нетрадиционных возобновляемых источников энергии имеют место сложности, обусловленные отсутствием близких аналогов, недостаточностью информационной базы для определения стоимостных показателей, а также необходимостью учета ряда специфических особенностей использования нетрадиционных источников энергии и прежде всего таких, как создание дублирующих (базовых) источников и аккумуляторов для перерегулирования неравномерности поступления возобновляемой энергии.

2. РАСЧЕТ СОЛНЕЧНЫХ СИСТЕМ ТЕПЛОСНАБЖЕНИЯ

2.1. Расчет систем солнечного теплоснабжения основывается на оценке потенциала и режима солнечной радиации, а также определении схемно-структурной организации, характеристик отдельных элементов, производительности системы и ее эффективности.

2.2. Оценку располагаемого потенциала и режима поступления солнечной энергии для каждого рассматриваемого района производят на основе данных Справочника по климату СССР (Гидрометеоиздат Л., 1962). Оценке подлежат краткосрочные, среднесрочные и долгосрочные характеристики. При этом под перечисленными характеристиками понимаются средние значения интенсивности солнечной радиации в часовом, суточном, месячном и годовом интервалах времени.

Величину располагаемого потенциала и режимные характеристики солнечного излучения определяют на основе обработки результатов наблюдений за солнечной радиацией на актинометрических станциях и построения соответствующих статистических моделей потока солнечной радиации в том или ином районе.

2.3. Долгосрочные характеристики солнечного излучения (МДж/м2×месяц - формулы (2)-(4) и МДж/м2×год - формулы (5)-(7)) находят на основе статистических моделей распределения солнечного излучения по территории рассматриваемого региона

                                                        (2)

                                     (3)

                                    (4)

H=Hb+Hd,                                                              (5)

                                                             (6)

                                                            (7)

где , ,  - среднемесячные значения потоков прямой, рассеянной и полной солнечной радиации на горизонтальную поверхность для i-го месяца (i=1, 2 ... 12); Hb, Hd, H - то же, для среднегодовых значений; a, b, c, d - эмпирические коэффициенты; j', l', z' - координаты проектируемой ССТ, соответственно широта, долгота и высота над уровнем моря; j, l, z - то же, для некоторой точки, принятой за начальную в рассматриваемом регионе.

2.4. Значения эмпирических коэффициентов, входящих в функции распределения солнечной радиации, см. формулы (3) и (4), могут быть получены на основе статистической обработки данных наблюдений за интенсивностью солнечного сияния на актинометрических станциях. Указанные коэффициенты для Грузинской ССР приведены в табл. 1.

Таблица 1

Месяц

Эмпирические параметры

Hb

Hd

a

b

c

d

a'

b'

c'

d'

I

100

0,52

-0,36

0,2

100

0,64

-0,8

0,08

II

102

1,2

-0,84

0,15

110

-0,4

-0,64

0,12

III

200

-2

-8

0,12

210

-4

-11,2

0,12

IV

240

4,4

2,4

0,08

250

-6

-10,4

0,16

V

350

5,6

-6,72

-0,008

246

0,4

1,6

0,168

VI

406

10,4

2,72

-0,064

256

-1,6

-3,2

0,12

VII

354

12,4

12,16

-0,008

244

0,08

14,56

0,072

VIII

344

12,4

7,68

-0,024

240

-2,24

0,8

0,032

IX

292

3,52

8,8

-0,016

190

-1,92

-7,2

0,048

X

190

2,08

3,36

0,096

150

-0,8

-1,92

0,024

XI

138

-5,6

-11,2

0,152

102

0,48

-0,64

0,088

XII

88

-0,8

-7,2

0,2

90

0,32

-4,32

0,072

Таблица 2

Месяц

Обеспеченность, %

10

20

40

50

60

80

90

95

100

Западная Грузия (Сухуми)

Январь

5,87

11,5

9,7

8,9

7,2

5,9

4,8

2,8

1,8

1,2

0,6

Февраль

7,95

16

13,8

12,2

9,6

7,8

6,3

3,5

2

1,5

0,8

Март

12,21

25,4

20

17,7

15,3

13

10,8

5,4

3

2,2

0,9

Апрель

15,12

29,7

25,3

23,1

19,1

15,9

12

6,2

4,3

3

0,7

Май

19,96

31,7

29,9

27,2

24,3

22,4

19,4

11,2

7,9

4,7

1,8

Июнь

23,05

33

30,5

29,8

27,2

25,2

22,6

16,1

11,3

7,5

3

Июль

22,96

31,5

29,5

28,3

26

24,6

22,6

16,2

10,8

6,4

3

Август

19,73

29,1

26,5

25,3

23,1

21,8

20,1

13,4

8,5

5,4

2,6

Сентябрь

15,71

25,4

22

20,4

18,6

17,7

16

9,8

6,6

4,2

2,1

Октябрь

10,61

20,4

16,4

15,3

13,3

12,2

10

4,9

2,9

2

0,9

Ноябрь

6,61

13,9

11

10

8,2

7,2

5,4

2,9

1,8

1,3

0,6

Декабрь

4,66

9

8

7,5

5,6

4,4

3,5

2

1,2

0,9

0,4

Восточная Грузия (Телави)

Январь

6,45

11,9

10

9,1

7,5

6,5

5,7

3,6

2,4

1,8

1

Февраль

8,69

17,5

13,4

11,9

10

9

8,1

4,7

3,5

2,6

0,6

Март

11,28

24,1

19,1

16,8

12,8

11,3

9,4

5,5

3,6

2,8

1,2

Апрель

15,23

33,8

24

21,9

17,8

15,3

13,2

8,5

5,4

3,4

1,7

Май

19,91

40,6

28,2

26,2

22,8

21

18,5

14

10,2

7,6

1,8

Июнь

22,85

37

31,8

29,1

26,1

24

21,9

16,3

11,3

8

2,3

Июль

23,5

36,9

30,6

28,7

26,4

25,1

23,3

18,4

13,6

8,3

1,7

Август

20,5

32,5

27,6

25,8

23,7

22,5

21,3

14,2

8,1

5,3

2

Сентябрь

15,33

27

21,8

20,4

18,1

16,9

15,3

9,1

6,4

3,8

1,3

Октябрь

10,84

21,3

16,3

14,7

12,8

11,8

10,4

6,2

3,6

2,5

1

Ноябрь

6,87

16,3

10,8

10,1

6

7,3

6

3,2

2,1

1,5

0,6

Декабрь

5,26

10,2

8,3

7,8

6,5

5,5

4,3

2,6

1,7

1,3

0,6

Горные районы (Цалка)

Январь

7,4

10,7

9,3

9,1

8,1

7,4

7,2

5,9

4,4

4,1

1,8

Февраль

10,7

15,8

13,4

12,5

11,5

11,1

10,3

8

7,5

7

0,8

Март-

14,08

20,1

19,3

17,5

15,1

13,7

14,7

12,7

10,3

9,5

2,2

Апрель

15,97

23,1

22,7

21,5

20

18,1

18

16,3

9,9

9,2

2,3

Май

18,34

24,4

23,1

21,7

20,2

18,9

18,3

15,2

10,3

9,6

2,5

Июнь

21,15

26,9

25,9

24

21,9

20,5

19,8

19,1

18

14,6

3

Июль

20,89

30,6

24,7

23,4

22,2

21,3

19,6

18,1

17,1

14,2

3,5

Август

18,8

25,2

23,7

21,5

20,6

18,4

17,4

15,6

15,1

13,8

3,3

Сентябрь

15,41

22,4

19,6

18,9

16,4

15

14,1

11,9

11,1

8,8

2,8

Октябрь

11,11

15,2

13,9

12,8

11,6

11

9,8

8

8,4

7,5

2,1

Ноябрь

7,1

10,4

9,2

9

8,2

7,3

7

5,6

4,1

3,8

1,3

Декабрь

6,24

9,1

8,8

7,4

6,6

6,1

5,7

4,7

4,4

4

1,1

Рис. 1. Среднесуточные показатели потока солнечной радиации НДН (1) и температуры воздуха Т0 (2) Грузинской ССР

а - для горных районов;

б - для равнинных районов

2.5. Среднегодовые значения потока солнечной радиации Н на горизонтальной поверхности находят по формулам (5)-(7) суммированием их среднемесячных значений по формулам (2)-(4).

2.6. По среднесрочным характеристикам потока солнечной радиации определяют их максимальные средние суточные величины, а также обеспеченность последних для равнинных и горных районов (рис. 1, см. табл. 2).

2.7. Краткосрочные характеристики интенсивности солнечной радиации определяют по их максимальным суточным значениям для различных месяцев года на основании коэффициентов суточного распределения, которые находят по графикам, рис. 2.

2.8. Для перехода от значений потоков солнечной радиации на горизонтальной поверхности к соответствующим их значениям для наклонных поверхностей используют формулу

                          (8)

где a - угол наклона поверхности к горизонту; r - коэффициент, характеризующий отражательную способность поверхности; Rbi - коэффициент приведения, зависящий от широты местности, времени года, времени суток и угла наклона, находят по рис. 3.

Рис. 2. Графики относительного распределения солнечной радиации в течение дня (в % от )

2.9. Расчет ССТ производят на основе приведенных выше методов определения характеристик потока солнечной радиации, а также теплотехнических характеристик отдельных элементов ССТ, графика тепловой нагрузки объекта теплоснабжения с учетом требований к расчетным температурам теплоносителя.

2.10. При расчете ССТ используют годовой и суточный графики тепловых нагрузок потребителя по отдельным процессам, различающимся расчетными температурами теплоносителя.

2.11. Расчет ССТ в общем случае из-за нестационарности поступления солнечной радиации представляет сложную техническую задачу, для решения которой используют методы моделирования на ЭВМ. Однако эти методы целесообразны лишь при решении исследовательских задач, связанных с выбором типовых схемных решений ССТ. На проектной стадии ССТ разрабатывают на основе типовых схем, приведенных на рис. 4.

2.12. На начальном этапе расчета ССТ определяют долю среднегодовой тепловой нагрузки объекта, покрываемой альтернативным источником (см. п. 4.5). Величину aа находят либо по результатам технико-экономических расчетов, либо на основании задаваемого графика работы ССТ. В последнем случае

                                                        (9)

где aа - доля нагрузки Qi=qi×hi, покрываемой ССТ в i-й промежуток времени, МДж; qi - средняя часовая (суточная) тепловая нагрузка за i-й промежуток времени, МДж/ч, МДж/сут; hi - продолжительность i-го промежутка времени, ч, сут.

Рис. 3. Значения Rb для ориентированных на юг поверхностей (j - широта местности, a - угол наклона поверхности. Римскими цифрами указаны месяцы).

а - j-a=15°; б - j-a= 0°; в - j-a= 90°; г - j-a=-15°

В качестве расчетного промежутка времени hi обычно принимают календарный месяц. В этом случае aаi - доля среднемесячной нагрузки, покрываемой ССТ в i-м месяце (i=1, 2, 3 ... 12). По известному значению aа и среднегодовой тепловой нагрузке объекта  определяют годовую тепловую производительность ССТ

QССТ=aа×Q.                                                           (10)

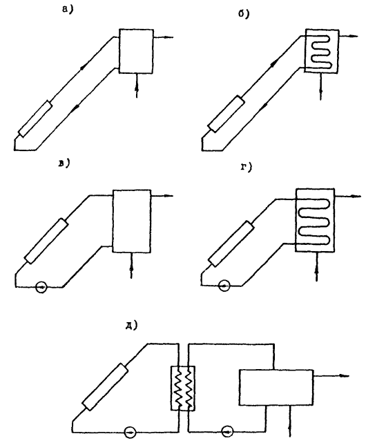
2.13. В зависимости от назначения, годовой производительности и расчетных параметров теплоносителя в системе теплоснабжения выбирают одну из возможных типовых схем, см. рис. 4.

Рис. 4. Принципиальные схемы действующих систем солнечного теплоснабжения

а и в - одноконтурные системы соответственно с естественной и принудительной циркуляцией теплоносителя; б и г - двухконтурные системы соответственно с естественной и принудительной циркуляцией теплоносителя и емкостным теплообменником; д - то же, с принудительной циркуляцией и со скоростным теплообменником

2.14. Системы СТ проектируются на базе стандартного набора технологических элементов, включающих солнечные коллекторы; аккумулирующие емкости; трубопроводы; регулирующие устройства.

2.15. В системах солнечного теплоснабжения в зависимости от их назначения используют солнечные коллекторы различного типа, отличающиеся конструктивными особенностями и теплотехническими характеристиками, табл. 3.

Для покрытия сезонных нагрузок горячего водоснабжения (смотри п.4.4) целесообразно использовать упрощенные ССТ на базе солнечных абсорберов, т.е. солнечные коллекторы без стеклянных поверхностей ограждения. В системах солнечного подогрева воды круглогодичного назначения - коллекторы типа "лист-труба" с одинарным остеклением; в комплексных системах солнечного подогрева воды и отопления - сочетание коллекторов с одинарным и двойным остеклением и селективным покрытием.

В общем случае выбор типа используемых солнечных коллекторов является частью задачи технико-экономического обоснования ССТ.

2.16. Несовпадение графиков выработки и потребления теплоты ССТ обусловливает необходимость включения в ССТ тепловых аккумуляторов, обеспечивающих регулирование отпуска теплоты в соответствии с графиком его потребления.

По характеру регулирования отпуска теплоты в ССТ используют аккумуляторы трех типов: суточного регулирования; регулирования неравномерности выработки теплоты, обусловленной влиянием метеорологических факторов, и регулирования сезонной неравномерности выработки и потребления теплоты.

В зависимости от расчетных параметров теплоносителя в ССТ, ее эффективности, графика тепловой нагрузки и ряда других факторов при проектировании для выравнивания суточной неравномерности солнечной радиации и кратковременного влияния метеорологических факторов удельную величину аккумулирования принимают 50-75 л на 1 м2 солнечного коллектора. Емкость аккумулятора для сезонного регулирования требует специальных расчетов.

В крупных ССТ для суточного регулирования предпочтительно использовать многосекционные аккумуляторы или системы отдельных аккумуляторов, что обеспечивает гибкость системы при различных вариациях поступления солнечной радиации.

Таблица 3

Тип коллектора

Максимально возможная доля солнечной радиации, воспринимаемая коллектором

Тепловые потери коллектора, Вт/(м2×°С)

С одним прозрачным покрытием и матово-черной поглощающей пластиной

0,74

6,56

С двумя прозрачными покрытиями и неселективной пластиной

0,64

3,74

С одним прозрачным покрытием и селективной поглощающей пластиной

0,71

4,74

С двумя прозрачными покрытиями и селективной поглощающей пластиной

0,66

2,76

С двойным остеклением и матово-черной поглощающей поверхностью

0,66

3,63

С двумя покрытиями и нёселективной поглощающей пластиной

0,46

3,07

Жидкостный с селективной поглощающей поверхностью из черного никеля и двойными покрытиями

0,53

3,92

Жидкостный зеркальный с селективной зеркальной пластиной из черного никеля

0,42

3,37

Медный жидкостный с двумя покрытиями

0,71

5,48

Жидкостный с одним покрытием и селективной поглощающей пластиной

0,7

5,69

Жидкостный с двумя покрытиями и без селективной поглощающей пластины

0,65

4,43

В качестве тепловых аккумуляторов в ССТ используют стандартные металлические емкости с дополнительной теплоизоляцией.

2.17. В ССТ с принудительной циркуляцией теплоносителя важное значение имеет правильный выбор мощности циркуляционного насоса, так как это влияет на расход теплоносителя через коллекторы, а следовательно, и на эффективность отвода теплоты. Мощность циркуляционного насоса выбирают из расчета, чтобы развиваемый им напор удовлетворял условию

ННАС³XV2,                                                            (11)

где X - полное гидравлическое сопротивление системы; V - расход теплоносителя в системе, кг/(м2×с).

Приемлемые значения коэффициента отвода теплоты в коллекторе достигаются при расходе теплоносителя V=0,005-0,001 кг/(м2×с). Суммарный расход теплоносителя в системе и его гидравлическое сопротивление определяются конфигурацией и элементным составом системы.

2.18. Системы солнечного теплоснабжения должны быть в полной мере оснащены регулирующими устройствами, обеспечивающими возможность получения максимального КПД в процессе пуско-наладочных испытаний. В частности, ССТ должна быть оснащена вентилями в объеме, достаточном для проверки работоспособности и регулирования ее отдельных частей и узлов, а также устройствами автоматического регулирования.

2.19. ССТ проектируют из стандартных элементов в виде секций солнечных коллекторов с параллельно-последовательным соединением отдельных секций с таким расчетом, чтобы обеспечить одинаковый расход теплоносителя через коллекторы всех секций.

Отдельные секции солнечных коллекторов должны включать равное число рядов с последовательным соединением. Для обеспечения однородности поля температур в плоскости коллекторов общее число рядов плоских коллекторов в секции не должно превышать 16. Число последовательно соединенных коллекторов в ряду определяется расходом теплоносителя через коллектор и расчетной разностью его температур на входе и выходе из ряда. При принятых расчетных температурах теплоносителя в системах теплоснабжения и рекомендуемых расходах теплоносителя число последовательно соединенных коллекторов в ряду не должно быть более 2-3. С увеличением числа коллекторов в ряду температура теплоносителя на выходе превышает расчетную, что отрицательно сказывается на КПД коллекторов по ходу движения теплоносителя и приводит к снижению эффективности работы системы в целом.

2.20. Расчетную площадь SCCT солнечных коллекторов в ССТ определяют по среднегодовой тепловой нагрузке ССТ QССТ, среднегодовому КПД системы рассматриваемого типа  и годовому потоку солнечной радиации по направлению нормали к плоскости коллекторов системы Н. Величину QCCT - в соответствии с рекомендациями п.2.12.

Значения , полученные на основании эксплуатационных характеристик 165 ССТ (единичной площадью 5-1000 м2), построенных управлением "Спецгелиотепломонтаж", приведены на рис. 5.

 в зимний период

 в летний период

Рис. 5. Эксплуатационный коэффициент эффективности ССТ при температурах теплоносителя

1 - 30°С; 2 - 40°C; 3 - 50°C; 4 - 60°C

Годовой поток солнечной радиации Н находят по формуле (8) с приведением к нормали по направлению к плоскости коллекторов. При этом угол наклона плоскости коллекторов принимают из условия максимизации суммарного потока солнечной радиации за расчетный срок эксплуатации системы в течение года. В системах солнечного подогрева воды для нужд сезонных потребителей a=j+15°, для круглогодичного назначения a=j, где j - широта местности.

На основании значений QCCT и  объекта по графикам, смотри рис. 5, определяют значения  и SCCT из условия

QCCT=×Н× SCCT.                                                     (12)

2.21. Используя графики относительного изменения среднемесячных КПД ССТ различного типа (рис. 6), значений Hi и SCCT, вычисляют расчетные значения теплопроизводительности ССТ для различных месяцев года и долю их участия в покрытии месячных нагрузок объекта.

Рис. 6. Относительные изменения среднемесячных КПД теплоносителя в гелиоконтуре

1 - при постоянном расходе; 2 - при регулируемом расходе

При расчете сезонных ССТ (см. п.4.4), а также (см. рис. 5, 6) ССТ, работающих в зимний период (ом. пп.3.12-3.13), используют кривые зависимости КПД ССТ от площади коллекторов и температуры теплоносителя, построенные как для зимнего периода (декабрь-февраль), так и условно летнего (остальные месяцы года).

2.22. При известной площади солнечных коллекторов проектируемой ССТ ее конкретная конфигурация обусловлена условиями размещения коллекторов. Во всех случаях схемное решение ССТ должно обеспечивать равномерное распределение теплоносителя в системе, недопустимость превышения расчетных значений его температур и возможность регулирования отдельных секций.

3. РАСЧЕТ СОЛНЕЧНО-ТЕПЛОНАСОСНЫХ СИСТЕМ ТЕПЛОХЛАДОСНАБЖЕНИЯ

3.1. Естественными аккумуляторами энергии солнечного излучения являются атмосфера, гидросфера и верхние слои грунта земной поверхности. При определенных термодинамических условиях эти низкопотенциальные источники теплоты могут быть использованы в тепло-насосных установках (ТНУ) для теплохладоснабжения потребителей. Величинами, характеризующими низкопотенциальные источники возобновляемой энергии, являются их температура и удельная энтальпия. Эти показатели для различных районов страны могут быть получены из соответствующих климатологических и гидрологических справочников.

В качестве примера на графиках (рис. 7-9) для различных районов Грузинской ССР приведены среднемесячные температуры воздуха, воды и почвы (на различных глубинах), на рис. 10 - зависимость изменения среднемесячных значений теплоотдачи грунта от глубины залегания теплоприемников ТНУ.

3.2. Наряду с приведенными выше внешними факторами, при выборе принципиальной схемы ТНУ необходимо учитывать структуру тепловой и холодильной нагрузки теплоснабжения и соответствующую им величину зимней и летней расчетной часовой нагрузки.

3.3. Теплонасосная установка работает по одной из разновидностей термодинамического цикла и отличается от холодильной машины тем, что действует при более высоких нижнем и верхнем уровнях температур. В зависимости от конструкции и принципа работы ТНУ бывают компрессионными, абсорбционными, пароэжекторными, турбовоздушными и полупроводниковыми. В настоящее время наиболее распространены ТНУ компрессионного типа, рассматриваемые ниже.

1 - для равнинных районов Западной Грузии; 2 - то же, Восточной Грузии; 3 - для горных районов

Рис. 7. Среднемесячная температура воздуха

1 - в Черном море; 2 - в реках Западной Грузии; 3 - то же, Восточной Грузии; 4 - в горных реках и водоемах

Рис. 8. Среднемесячная температура воды

Рис. 9. Среднемесячные температуры почвы на различных глубинах

а - для равнинных районов; б - для горных районов

1 - 3,2м; 2 - 1,6м; 3 - 0,8 м; 4 - 0,4 м; 5 - 0,2м

3.4. Принципиальная схема парокомпрессионной ТНУ включает два теплообменника, испаритель, конденсатор и компрессор. Действие ТНУ основано на отборе теплоты qО.С от низкопотенциального источника (в нашем случае окружающей среды), ее трансформации и передаче теплоносителю qК. В результате подвода теплоты qО.С при температуре окружающей среды ТО.С рабочий агент в испарителе из жидкого состояния переходит в пар, который в компрессоре сжимается до состояния насыщенного пара. При повышении давления температура рабочего агента возрастает до температуры теплоприемника. Сжатый пар поступает в конденсатор, где в результате отбора теплоты qК рабочий агент переходит в первоначальное жидкое состояние, после чего цикл повторяется.

Рис. 10. Зависимость теплового потока от глубины залегания теплоприемников для различных месяцев года

а - для равнинных районов; б - для горных районов

3.5. Для обратимо работающей ТНУ тепловая энергия, переданная потребителю qК, равна сумме теплоты, отобранной у низкопотенциального источника qО.С и эквивалентного количества теплоты, полученной за счет расхода электроэнергии на привод компрессора qЭ,

qK=qO.C+qЭ,                                                           (13)

                                                        (14)

                                                     (15)

где ТО.С и Т - соответственно температура среды теплоотдатчика и теплоприемника, К.

Коэффициент преобразования ТНУ fТНУ определяется отношением количества теплоты, переданной нагреваемой среде к подаваемой,

                                                 (16)

Величина, обратная fТНУ, определяет удельные затраты работы на выработку теплоты

                                                (17)

3.6. Реальные тепловые насосы работают в необратимом цикле, вследствие этого их коэффициент преобразования вычисляют по формуле

                                                     (18)

где hе - степень термодинамического совершенства рассматриваемого цикла.

Для парокомпрессионных ТНУ

                             (19)

где hD - степень термодинамического совершенства необратимого цикла Карно; hЭ - коэффициент, учитывающий приближение эталонного цикла к необратимому циклу Карно; hi - индикаторный КПД; hКМ - коэффициент, учитывающий степень обратимости процесса сжатия в компрессоре; hМ, hЭЛ - механический и электрический КПД установки.

Перечисленные коэффициенты находят по формулам

                                    (20)

hЭ=0,97-0,00412(Т-Т0),                                               (21)

                                                      (22)

hМ=0,85,                                                             (23)

hЭЛ=0,9,                                                              (24)

где DТК, DТИ - соответственно температурные перепады в конденсаторе и испарителе. Рекомендуемые значения DТК= 5°С, DТИ= 3°С.

3.7. При переменных во времени температурах теплоотдатчика и теплоприемника подлежат определению максимальные, минимальные и средние за рассматриваемый промежуток времени значения коэффициента . Первые два находят согласно п. 3.6 Рекомендаций, а последний - по формуле (25)

                                                 (25)

где fТНУ,  - соответственно коэффициент преобразования и потребляемая мощность ТНУ в i-й интервал времени; m - число интервалов, на которое разбивается рассматриваемый промежуток времени.

3.8. На предпроектной стадии средние значения  для различных низкопотенциальных источников теплоты можно определять по зависимостям, приведенным на рис. 11. Технические характеристики ТНУ, а также холодильных пароэжекторных машин, используемых в режиме ТНУ, приведены в табл. 4.

3.9. Эффективность солнечно-теплонасосных систем теплохладоснабжения обусловлена, с одной стороны, возможностью частичного снижения тепловых нагрузок ССТ (а следовательно, уменьшения площади их коллекторов), а с другой стороны, созданием условий, при которых как ССТ, так и ТНУ работают в течение года при максимально возможных КПД первых и коэффициенте преобразования вторых.

Рис. 11. Зависимость коэффициента преобразования ТНУ от типа низкопотенциальных источников теплоты

1 - воздух; 2 - вода; 3 - грунт

3.10. Зависимость производительности как ССТ, так ТНУ от изменяющихся с течением времени параметров внешней среды предопределяет необходимость обеспечения работы СТСТ в двух основных режимах:

летний - параллельная работа ССТ и ТНУ, используемой в режиме кондиционирования воздуха при одновременном подогреве воды в конденсаторе;

зимний - последовательная работа ССТ и ТНУ с отбором теплоты у теплоносителя гелиоконтура, в испарителе ТНУ и подогревом до нужной температуры в конденсаторе ТНУ теплоносителя системы.

3.11. Использование теплоты, сбрасываемой в конденсаторе ТНУ, который работает в режиме кондиционирования воздуха, для частичного покрытия графика нагрузки горячего водоснабжения в летний период обусловливает снижение нагрузки ССТ за тот же период на величину

                                              (26)

где  - отпуск теплоты, используемой в (условно) летний период для горячего водоснабжения, ГДж; qКОНД - максимальная часовая нагрузка (установленная мощность) в режиме летнего кондиционирования воздуха, ГДж/ч; fЛ - средние за летний период значения коэффициента преобразования ТНУ (рис. 11); hК - число часов использования установленной мощности ТНУ в условно летний период.

Таблица 4

Марка машины

Тепло- или хладопроизводительность, ГДж/ч

Расход теплоносителя, м3

Мощность привода, кВт

Удельная стоимость машины*,

испаритель

конденсатор

МКТ-14-2-0

0,1

6

3,5

8,6

27,4

МКТ-20-2-0

0,12

10

5

13,5

21,7

ИКГ-28-2-0

0,16

12,5

7

17,5

21,6

МКТ-40-2-0

0,25

15

15

19,8

10,4

МКТ-80-2-0

0,5

30

30

39,6

13,4

1 ХМФУ-40/1

0,33

30

30

27,8

11,6

1 ХМФУ-80/1

0,66

54

60

52

9

МКГ-110-2-0

0,9

45

50

75

9,1

МКТ-220-2-6

1,55

90

105

97

8,2

МКТ-350-2-1

2,43

150

150

165

10

АН-4,5-2,4

0,02

-

1,2

3

40

МВТ-14-1-0

0,06

6

-

6,3

46

10 ТМТ-2000

14

108

114

1100

26,4

АТФТ-5-10

39,6

1600

220

4000

25,3

*Удельная стоимость машины включает стоимость наладки, монтажа и площади, занимаемой машиной, и определяется коэффициентом 1,38.

3.12. С учетом формулы (26) расчетную летнюю нагрузку ССТ  - определяют из выражения

                                                   (27)

а соответствующую ей площадь солнечных коллекторов

                                                      (28)

где  - нагрузка горячего водоснабжения потребителя, которая в летний период в рассматриваемых схемах, как правило в течение 4-5 месяцев полностью покрывается ССТ или СТСТ, МДж;  - суммарное летнее поступление солнечной радиации на площадь коллектора, ГДж/м2;  - среднее значение КПД солнечной системы в летний период, находят по рис. 6.

3.13. Эффективность работы СТСТ в зимний период в значительной степени определяется расчетной температурой теплоносителя в гелиоконтуре ТЗ. Оптимальное значение этой температуры, К, находят из уравнения

                         (29)

где , , , Т0 - усредненные за зимний период значения;  - коэффициент поглощения солнечной радиации гелиоконтуром; UЗ - коэффициент полных тепловых потерь гелиоконтура,  - среднесуточный поток солнечной радиации, Вт/м2; Т0 - среднесуточная температура воздуха за рассматриваемый период, К;  - температура теплоносителя в системе теплоснабжения объекта, К.

В системах горячего водоснабжения при ТР=55°С оптимальные значения ТГ.В находятся в интервале 25-35°С. Переход к приведенным значениям рабочих температур теплоносителя приводит к увеличению средних значений КПД гелиоконтура в 1,5-2 раза (см. рис. 5).

Использование подогретой в гелиоконтуре воды в качестве низкопотенциального источника в зимний период обеспечивает достаточно высокие значения коэффициента преобразования ТНУ, а следовательно, повышает и ее эффективность в целом.

3.14. В солнечно-теплонасосных установках, предназначенных для покрытия годового графика нагрузки потребителя, за расчетную нагрузку ТНУ принимают наибольшее значение из тепловой qT и холодильной qX нагрузок, т.е.

qТНУ=max{qT, qX}.                                                     (30)

В этом случае тепловую нагрузку ССТ в летний период рекомендуется определять по формуле (27), а в зимний из выражения

                                                   (31)

где  - среднее значение коэффициента преобразования ТНУ за зимний период, соответствующее температуре низкопотенциального источника (воды, подогретой в гелиоконтуре); определяют по уравнению (29); hЗ - число часов использования расчетной нагрузки в зимний период.

Площадь солнечных коллекторов (м2), обеспечивающая поступление теплоты в объеме, определяемом из выражения (31), равна

                                                         (32)

где  - средний за зимний период КПД ССТ при расчетной температуре теплоносителя в гелиоконтуре, определяемой из выражения (29) и по рис. 5; НЗ - суммарный поток солнечной радиации на плоскость коллектора за зимний период, МДж/м2.

В общем случае площадь солнечных коллекторов ССТ, вычисляемая из выражения (32), будет больше ее значения, определяемого из выражения (28), т.е. SЗ>SЛ. С учетом этого в СТСТ круглогодичного назначения для использования избыточных мощностей ССТ в летний период необходимо устройство сезонных аккумуляторов теплота, что позволит снизить нагрузку ССТ в зимний период. При этом между тепловой емкостью аккумулятора и разностью SЗ-SЛ существует оптимальное соотношение, определяемое технико-экономическими расчетами.

3.15. Расчет отдельных компонентов солнечно-теплонасосных установок при определенных выше значениях их тепловых и холодильных нагрузок и параметрах теплоносителя производят в соответствии с приведенными в пп.2.1-2.22 и 3.5-3.10 рекомендациями.

4. ОЦЕНКА ЭКОНОМИЧЕСКОЙ ЭФФЕКТИВНОСТИ ИСПОЛЬЗОВАНИЯ НЕТРАДИЦИОННЫХ ВОЗОБНОВЛЯЕМЫХ ИСТОЧНИКОВ ЭНЕРГИИ

4.1. Эффективность использования нетрадиционных (альтернативных) источников энергии по сравнению с традиционными (базовыми) зависит от работы всех звеньев системы теплохладоснабжения, включая получение, преобразование и использование энергоресурсов.

4.2. Экономическая эффективность альтернативных источников энергии определяется совокупностью факторов, обусловленных:

денежными и материальными затратами на новые системы теплохладоснабжения;

экономией на базовых источниках энергоресурсов и значениями замыкающих затрат по этим ресурсам;

сокращением ущерба от загрязнения окружающей среды;

экономией труда на базовых генерирующих установках, а в ряде случаев и вытеснением генерирующих мощностей базовых источников.

4.3. Применяя критерий, см. формулу (1), при сопоставлении приведенных затрат альтернативного За и базового Зб источника энергии используют выражение

DЗ=Зба³0,                                                           (33)

где DЗ - эффект частичного или полного замещения базового источника альтернативным (в нашем случае ССТ или СТСТ), руб/год. Иначе DЗ можно представить в следующем виде

DЗ=DЗЭ+DЗО.С+DЗЧ-DЗГ,                                                (34)

где DЗЭ - эффект от экономии энергоресурса, используемого базовым источником тепловой энергии, руб/год (определяют согласно пп.4.4-4.7 настоящих Рекомендаций); DЗО.С - эффект от снижения загрязнения окружающей среды при использовании альтернативного источника энергии (п.4.8), руб/год; DЗЧ - эффект от экономии зарплаты на базовой генерирующей установке или социальный эффект при применении мелких индивидуальных установок (пп. 4.9-4.10), руб/год; DЗГ - дополнительные затраты на альтернативные генерирующие установки - ССТ и СТСТ (пп. 4.11-4.13), руб/год.

4.4. Экономический эффект от экономии энергоресурса, используемого базовым источником теплоснабжения, определяется:

объемом тепловой энергии, покрываемой альтернативным источником Qa;

удельным расходом энергоресурса, используемого базовым источником теплоэнергии ;

замыкающими затратами на топливо и (или) электроэнергию франко-базисный источник С.

DЗЭ=Qa××C.                                                          (35)

Величину Qа определяют, как

Qа=aa×Q,                                                             (36)

где Q - среднегодовая (сезонная) тепловая нагрузка объекта, оборудованного ССТ и СТСТ; aa - доля среднегодовой нагрузки, покрываемой альтернативными источниками.

Величина Qa зависит как от характера потребителя, так и режима потребления теплоты в течение года. По времени потребления теплоты в течение года эти потребители можно подразделить на три условные группы:

1. Круглогодичные - жилые дома, гостиницы, общежития, санатории, сельскохозяйственные и производственные потребители горячей воды (технологические и санитарно-гигиенические нужды), спортивно-оздоровительные объекты, предприятия коммунального хозяйства и т.п.

2. Средней длительности (6 месяцев) - сезонные базы отдыха, кемпинги, а также сезонные предприятия бытового обслуживания и общественного питания и т.п.

3. Малой длительности (3-4 месяца) - пионерские лагеря, летние базы отдыха, дачные дома, а также предприятия коммунально-бытового обслуживания и торговли в этих районах (бани, парикмахерские, организации общественного питания и т.п.).

В каждой из этих групп потребителей теплоты имеются относительно крупные, средние и мелкие. Это предъявляет различные требования как к теплогенерирующим установкам, так и к используемым ими теплоносителям.

Для потребителей первой группы при оценке эффективности ССТ и СТСТ учитывают эффект от вытеснения части топлива, который в значительной мере зависит от доли нагрузки (aa<1), покрываемой нетрадиционным возобновляемым источником энергии. Расчет этой величины приведен ниже (см. пп.4.6-4.7). Эффект от экономии зарплаты при возможности остановки одного или нескольких котлов в период максимальной солнечной радиации см. п.4.9.

Для потребителей 2 и 3 группы возможно полное исключение традиционного источника теплоснабжения. В этом случае aa=1 и при оценке экономического эффекта ССТ и СТСТ учитывают и экономию капитальных вложений в традиционный источник.

4.5. Оптимальное значение доли годовой нагрузки, покрываемой ССТ или СТСТ, определяют на основе максимизации выражения (33). Практически это достигается варьированием коэффициента aa в пределах 0-1 с одновременным определением для каждого значения aa величины эффекта замещения базового источника DЗ в формуле (34). Оптимальной является величина aa, при которой эффект от замещения базового источника альтернативным достигает максимального значения.

Таблица 5

Установки

Энергоноситель

твердое топливо

жидкое топливо

электроэнергия

I. Паровые и водогрейные котлы

КВ-300 М; КВ-300 МТ

40-50

55-60

-

КВ-300 У

-

50-60

-

КТ-500; ЦТ-1000

45-55

-

-

Д-721 А; Д-900

-

55-60

-

Е-1/9

40-50

50-60

-

КИ-1500; КГ-1500

-

55-65

-

Энергия 3М и 6М

45-55

60-70

-

Универсал 5М и 6М

-

-

-

Минск-1

40-50

-

-

ДКВР-2,5-13; 4,0-13; 6,5-13

45-55

60-70

-

II. Теплогенераторы

ТГ-2,5; ТГ-75А; ТТ-150А; TH-1А

-

50-60

-

III. Электрокотельные

 

-

-

95

IV. Отопительные варочные печи

 

40-50

-

-

V. Водонагреватели индивидуального пользования

Электроводонагреватели

-

-

95

Водогрейные колонки

40-50

-

-

4.6. Значения удельного расхода сэкономленного энергоресурса (величина в формуле (35)) определяют

для электроэнергии  (Вт×ч/ГДж)

                                                           (37)

для (условного) топлива  (т/ГДк)

                                                          (38)

где 278 и 0,034 - соответственно теоретический эквивалент электроэнергии и топлива (условного) на 1 ГДж теплоты;

,  - среднегодовые эксплуатационные коэффициенты полезного использования (КПИ) энергоносителей (электроэнергия, топливо), учитывающие потери (табл. 5-7): в теплогенерирующих установках hГ, при транспортировании hТ и хранении hХР энергоресурсов

=hГ× hТ,                                                             (39)

=hВ×hТ×hХР,                                                        (40)

таблица 6

Коэффициенты

Твердое топливо

Жидкое топливо

Электроэнергия

hТР

0,9-0,95

0,95-0,97

0,85-0,9

hХР

0,95

0,95-0,97

-

Таблица 7

Установки

Энергоноситель

твердое топливо

жидкое топливо

электроэнергия

Паровые и водогрейные котлы типа:

 

 

 

КВ-300, Е-1/9. Минск-1;

0,34-0,45

0,48-0,56

-

ДКВР, Энергия, Универсал, КТ-500

0,38-0,5

0,5-0,66

-

Теплогенераторы типа ТГ и ТН

-

0,48-0,56

-

Электрокотельные, электроводонагреватели

-

-

0,81-0,86

Водогрейные колонки и отопительные варочные печи

0,34-0,45

-

-

Значения эксплуатационного КПД базовой установки hб определяют из табл. 5. Значения коэффициентов hТ и hХР - из табл. 6.

Потери тепловой энергии в теплопроводящих сетях не учитываются, так как они имеют место как в альтернативных, так и базовых системах теплоснабжения (при условии размещения гелиоколлекторов на кровле).

4.7. Удельные народнохозяйственные затраты на топливо и электроэнергию, используемые базовыми теплогенерирующими установками (величина С в выражении (35)), определяют как

                                               (41)

                                                    (42)

Рис. 12. Удельные приведенные затраты на внутрирайонный автомобильный транспорт

1 - твердого топлива; 2 - жидкого топлива

где СЭМ - замыкающие затраты на условное топливо, руб/т, или электроэнергию, руб/МВт×ч; принимают по табл. 8 и 9; СВ.Т - приведенные значения затрат на внутрирайонный транспорт условного топлива, руб/т и электроэнергии, руб/МВт×ч, принимают соответственно по рис. 12 и табл. 10; СХР - приведенные значения удельных затрат на хранение условного топлива, руб/т.

Для определения СХР, необходимо на основе анализа годового режима потребления и доставки топлива найти требуемую емкость складирования; зная значения емкости склада, по укрупненным показателям табл. 11 определяют его стоимость, а делением полученной величины на годовой (сезонный) расход топлива - величину удельных затрат на хранение топлива.

4.8. Экономический эффект от предотвращения загрязнения окружающей среды при использовании возобновляемых источников энергии определяется снижением дополнительных затрат на базовые источники энергоснабжения при условии их экологической сопоставимости. Экологическую составляющую экономической эффективности возобновляемых источников энергии можно оценить по величине ущерба, наносимого окружающей среде традиционными теплогенерирующими установками.

Таблица 8

Районы СССР

Энергетический уголь рядовой

Природный газ

Мазут

каменный

бурый

 

Северо-запад РСФСР

50-52

-

57-60

69-72

 

Мурманская обл., Карельская АССР

53-56

-

60-63

72-75

 

Архангельская обл., Коми АССР

44-48

-

50-54

68-71

 

Центральный район

48-51

45-48

57-60

69-72

 

Центрально-Черноземный район

49-52

46-49

56-59

69-72

 

Северный Кавказ

55-58

-

62-65

73-76

 

Среднее Поволжье

47-50

-

53-65

68-71

 

Уральский район

37-40*

33-36

-

47-50

65-68

 

Тюменская обл.

36-39

-

31-33

64-67

 

Омская обл.

33-36*

27-30

31-33

44-47

64-67

 

Новосибирская, Томская области

30-34

26-29

40-42

66-69

 

Кемеровская обл., Алтайский край

27-30

21-24

42-44

68-71

 

Красноярский край

29-32

18-20

41-43

66-69

 

Иркутская обл.

31-34

22-25

42-45

67-70

 

Бурятская АССР, Читинская обл.

37-40

33-36

-

70-73

 

Амурская обл.

47-50

45-48

-

78-81

 

Хабаровско-Комсомольский край

49-52

47-50

60-63

77-79

 

Приморский край

54-57

52-53

-

80-83

 

Восточная Украина, Ростовская обл.

53-56

49-52

60-63

73-75

 

Западная Украина, Молдавия

55-59

-

64-67

74-77

 

Белоруссия, Литва

52-55

-

61-64

72-75

 

Латвия, Эстония

53-56

-

62-65

73-76

 

Закавказье

57-60

-

64-67

71-74

 

Туркмения

45-48

-

49-52

68-71

 

Узбекистан

42-45

-

50-53

68-71

 

Киргизия, Таджикистан

45-70

-

54-57

71-74

 

Западный Казахстан

41-44

-

52-55

66-69

 

Северо-Восточный Казахстан

32-35*

18-21

-

47-50

65-68

 

Южный Казахстан

32-35*

28-31

-

54-57

67-70

 

*В знаменателе указаны затраты на экибазстузский уголь.

Таблица 9

Объединенные и отдельные электроэнергетические системы

Замыкающие затраты по зонам графика электрической нагрузки

базисная

маневренная

пиковая

Центр, Северо-запад, Средняя Волга

19-20

29-34

47-50

Юг, Северный Кавказ

19-20

32-34

50-53

Закавказье

19-20

34-35

52-54

Урал

20-21

26-27

46-48

Сибирь

15-16

16-17

17-18

Дальний Восток

23-23

23-24

24-25

Казахстан

16-18

19-20

20-21

Средняя Азия

20-21

24-26

25-27

Европейский Север

20-21

30-33

-

Таблица 10

Районы

Затраты**, руб/МВт×ч

Нечерноземная зона

11-13

Центрально-Черноземная нона

9-11

Северный Кавказ

10-12

Среднее Поволжье

8-10

Нижнее Поволжье

11-13

Северный Урал

9-11

Южный Урал

8-10

Западная Сибирь

11-14

Восточная Сибирь

12-15

Дальний Восток

12-15

Украина

6-10

Молдавия

8-10

Белоруссия

13-14

Прибалтика

6-8

*Обжитая зона.

**Затраты на распределение дополнительного потока электроэнергии по элементам распределительной сети высокого напряжения при свободном режиме электропотребления и годовом числе часов использования максимума нагрузки - 3700.

Таблица 11

Жидкое топливо (условное)

Твердое топливо (условное)

емкость склада, тыс. т

затраты, руб/т

емкость склада, тыс. т

затраты, руб/т

3(1´3)

39

20

23

5(1´5)

33

50

l6

8(2´3)

29

100

14

10(1´10)

27

100

10

40(2´20

17

-

-

60(3´20)

15

-

-

Экономический эффект от снижения загрязнения окружающей среды (величина DЗО.С в выражении (34)) зависит от объема топлива, сэкономленного на базовой теплогенерирующей установке за счет использования возобновляемых источников энергии Qа ВТ и величины удельного ущерба от снижения расхода топлива (условного)  (руб/т)

DЗО.С=×Qа×ВТ,                                                    (43)

Величину  можно определять по "Временной типовой методике определения экономической эффективности осуществления природоохранных мероприятий и оценке экономического ущерба, причиняемого народному хозяйству загрязнением окружающей среды" (Госплан СССР, Госстрой СССР, АН СССР, 1983) и "Руководству по расчету количества и удельных показателей выбросов вредных веществ в атмосферу" (М., ВПТИтрансстрой, 1982).

Экономическую оценку ущерба, причиняемого газовыми выбросами загрязнений в атмосферу воздуха для отдельного источника в соответствии с указанными методиками, определяют по формуле

                                                       (44)

где ВТ - годовой (сезонный) объем топлива (условного), сэкономленного за счет использования альтернативной установки; g - константа, численное значение которой равно 2,4 руб/т; s - показатель относительной опасности загрязнения атмосферы воздуха над территорией населенных пунктов различного назначения (безразмерная). Эта величина равна 2 - для села; 5 - для города и 10 - для зон рекреации; z - поправочный коэффициент, учитывающий характер рассеяния примеси в атмосфере. Для мелких котельных с высотой труб менее 10 м значение z в зависимости от наличия золоуловителей и их КПД составляет: 07 - для газообразных примесей (SO2, СО, NО и т.п.) и твердых частиц при КПД золоуловителей >90%; 3 - для твердых частиц при КПД золоуловителей 70-90%; 10 - для твердых частиц при отсутствии золоуловителей или при их КПД меньше 70%; m - приведенная масса годового выброса загрязнений, т/год,

                                                          (45)

где J - общее число примесей, выбрасываемых источником в атмосферу; mi - масса годового выброса примесей i-го вида топлива (условного) в атмосферу, т/год; Аi - показатель относительной агрессивности примеси i-го вида топлива (условного), т/т. Он учитывает целый ряд факторов, в том числе предельно допустимую концентрацию в радиусе действия установки, вероятность накопления исходной примеси и вторичных загрязнителей в компонентах окружающей среды, в продуктах питания, поступления примеси в организм человека неингаляционным путем и т.п. Величины Аi и mi определяют по дополнению к приложению "Временной типовой методики определения экономической эффективности осуществления природоохранных мероприятий и оценки экономического ущерба, причиняемого народному хозяйству загрязнением окружающей среды" (М., Госплан СССР, Госстрой СССР, АН СССР, 1983), а также с использованием ряда исходных данных "Руководства по расчету количества выбросов".

Для укрупненных расчетов (в условиях Грузинской ССР) удельный ущерб DЗО.С, причиняемый при сжигании различных видов топлива, по данным инж. Бирюкова Г.Р., можно принять в зависимости от наличия (1) или отсутствия (2) очистных сооружений в размере, руб/т.

Виды топлива

Село

Город

Зона рекреации

 

(1)

(2)

(1)

(2)

(1)

(2)

Природный газ

-

1

-

2,5

-

5

Мазут, печное бытовое

2

14

5

36

10

72

Уголь

1,5

56

4

145

7

260

Приведенные данные показывают необоснованность рассмотрения в качестве базовых источников теплоты угольных мелких котельных (без очистных сооружений) в городах и зонах рекреации и теплогенерирующих установок на мазуте и печном бытовом топливе (ПБТ) в зонах рекреации. Здесь в качестве базовых источников должны рассматриваться электрические системы теплоснабжения. При внедрении ССТ и СТСТ на действующих объектах значение  определяют по приведенным выше показателям в зависимости от вида вытесняемого топлива.

4.9. Эффект от экономии зарплаты (руб/год) на базовой теплогенерирующей установке, см. величину DЗЧ в формуле(34), определяют возможностью полной или частичной остановки котлов в течение 3-6 месяцев максимального солнечного излучения

                                                     (46)

где  - расходы на заработную плату эксплуатационного персонала , приходящегося на котел, останавливаемый летом (на tЛ месяцев) в период работы ССТ, руб/год;  находят из выражения

                                   (47)

здесь Ч - среднегодовая удельная зарплата с начислениями эксплуатационного персонала, обслуживающего базисную установку; по данным АКХ, может приниматься в размере 1900-2000 руб/год на человека.

Величину  определяют из формулы

=nб×aа,                                                              (48)

где nб - численность эксплуатационного персонала базисного источника находят по проектным данным или для укрупненных расчетов - по табл. 12; aа определяют по формуле (9).

За - заработную плату персонала (годовые расходы на протирку поверхности остекления солнечных коллекторов, руб/год), обслуживающего ССТ, рассчитывают по формуле

По аналогии с затратами на протирку окон промышленных предприятий  (по данным ЦНИИ промзданий) можно принимать в размере: 2-2,5 руб на 10 м поверхности солнечных коллекторов. (Большaя величина для условий более высокой запыленности).

Таблица 12

Состав оборудования

Установленная производительность,

ГДж/ч

Удельные капвложения,

Платный коэффициент

Автор проекта и год выпуска

Газомазутное топливо

1.4´"Минск"

13,4

5,8

0,37

УкрНИИинжпроект, 1986

2.4´"Братск II"

14,2

12

0,8

Калинингражданпроект, 1986

3.5´"Факел II"

16,7

10

0,72

То же, 1965

4.4´"Братск II"+2 экономайзера

16,7

10,6

0,72

" , 1986

Твердое топливо

5.2´"Универсал"

2,8

5

1,4

Каунасский ин-т с/х стр-ва

6.2´КВМ-0,63

3,8

21,2

1,3

Кишинев-колхоз-проект, 1988

7.6´КВМ-0,63

11,3

12,6

1

То же

8.4´Е-1/9

9,8

16,2

1,2

ГПИ Сантехпроект, г. Горький

9.6´"Братск I"

22,6

13,4

0,71

Калинингражданпроект

4.10. Эффект, выражающийся в экономии затрат труда при самообслуживании индивидуальных источников теплоты (так называемый социальный эффект использования альтернативных источников энергии), определяют для ССТ как

                                                     (49)

где  - удельная величина социального эффекта; принимается равной 3 руб/м2 ССТ.

4.11. Дополнительные затраты в солнечные системы теплоснабжения, см. величину DЗГ в формуле (34), определяют для первой группы потребителей (см. п.4.4)

                                                (50)

где Е'Н=(ЕН+eССТ)=0,15-0,18 коэффициент, учитывающий норму эффективности капитальных вложений (ЕН=0,1) и отчислений на амортизацию; eССТ=0,05-0,08 - амортизационные отчисления ССТ в долях от капитальных вложений соответственно для ССТ потребителей 1-й и 2-й и 3-й групп. Отчисления на ремонт ССТ ввиду малых значений при укрупненных расчетах можно не учитывать;  - удельные капиталовложения в ССТ, определяют по смете. Для укрупненных расчетов до 1990 г. принимают равными 120 руб/м2; SССТ - площадь ССТ, определяемая из формул (10) и формул (12) как

                                                     (51)

4.12. Для второй и третьей групп потребителей, см. формулу (36), при aа=1 и, следовательно, Qа=Q, величину дополнительных затрат в ССТ находят по формуле

                                   (52)

где  - удельные капиталовложения в упрощенные ССТ, определяемые по смете. Для укрупненных расчетов до 1990 г. принимают равными 80-100 руб/м2; Е''Н=(ЕН+eБ) - коэффициент, учитывающий норму эффективности капитальных вложений, отчисления на амортизацию и текущий ремонт. Укрупненно eБ можно принимать равным 0,1-0,07);  - удельные капиталовложения в базовый источник, определяемые по смете или укрупненным показателям (см. табл. 12), тыс.руб/(ГДж/ч); QЧ - расчетная часовая нагрузка потребителя, ГДж/ч.

4.13. Дополнительные затраты (руб/год) в солнечно-теплонасосные системы теплоснабжения (СТСТ), см. величину DЗГ в формуле (34), определяют по формуле

           (53)

где Е'''Н - коэффициент, учитывающий норму эффективности капитальных вложений, отчисления на амортизацию и текущий ремонт ТНУ; eТНУ можно принимать равным 0,15;  - величина расчетной нагрузки, покрываемая СТСТ, т.е. величина, характеризующая возможное уменьшение дублирующей мощности базовой установки, ГДж/ч. Она может изменяться от нуля до величины расчетной нагрузки потребителя;  - часовая производительность ТНУ, ГДж/ч; СЭ - удельные затраты на электроэнергию, франко ТНУ, руб/МВт×ч; определяют по данным табл. 9 и 10; hТНУ - число часов использования мощности ТНУ;  - среднее годовое значение коэффициента преобразования ТНУ, определяемое из формулы (18) или рис. 11;  - удельные капитальные вложения в ТНУ, руб/(ГДж/ч). Определяют по табл. 4.

В системах, где производительность ТНУ выбирают по холодильной нагрузке, =0, так как потребность в парокомпрессионной холодильной машине учитывается и в базовом варианте.

Приложение

ПРИМЕР РАСЧЕТА ЭКОНОМИЧЕСКОЙ ЭФФЕКТИВНОСТИ СИСТЕМЫ СОЛНЕЧНОГО ТЕПЛОСНАБЖЕНИЯ ДЛЯ ЧАСТИЧНОГО ОБЕСПЕЧЕНИЯ ГОРЯЧИМ ВОДОСНАБЖЕНИЕМ ЖИЛОГО ДОМА

1. Краткая характеристика сравниваемых вариантов

Система солнечного теплоснабжения предназначена для частичного обеспечения горячим водоснабжением (совместно с традиционным источником) 5-этажного четырехсекционного сорокаквартирного жилого дома в населенных пунктах различных категорий (поселок городского типа, зона децентрализованного теплоснабжения города и зона рекреации) в условиях равнинной части Грузинской ССР.

За базу для сравнения принята групповая котельная, обеспечивающая потребности горячего водоснабжения и отопления, работающая на различных видах энергоносителей - угле, мазуте и электроэнергии.

2. Исходные данные для расчета

Таблица 1

Показатели

Теплоснабжение

Основание

от котельной

от ССТ с дублером-котельной

Годовая потребность в теплоте на отопление и горячее водоснабжение, ГДж,

2340

2340

Расчет потребности по СНиП

1060

1060

в т.ч. на горячее водоснабжение

 

 

Вид вытесняемого энергоносителя и коэффициент полезного его использования*

Уголь

0,5

-

Табл. 7

Мазут

0,6

Электроэнергия

0,85

-

 

Дополнительные удельные капиталовложения в систему солнечного теплоснабжения, руб/м2

-

120

п.4.11 настоящих Рекомендаций

Замыкающие затраты на топливо (условное), руб/т

 

 

Табл. 8, 11

уголь

58

58

 

мазут

70

70

 

Замыкающие затраты на электроэнергию, руб/МВт×ч

34

34

Табл. 9

Затраты на внутрирайонный транспорт топлива (условного), руб

 

 

Рис. 12

уголь

20

20

 

мазут

15

15

 

Передача дополнительного потока электроэнергии, руб/МВт×ч

11

11

Табл. 10

Среднемесячная потребность в теплоте, ГДж/м-ц (при длительности отопительного периода 5 мес)

 

 

 

QЗИМ

1710

1710

Рисунок

(к примеру)

QЛЕТН

630

630

Расчетная часовая нагрузка, ГДж/ч

0,91

0,91

*В знаменателе приведен коэффициент полезного использования топлива.

2. Площадь коллекторов, м2, определяем по формуле (50) и по рисунку (к примеру)

График среднемесячной тепловой нагрузки 40-квартирного жилого дома (в равнинных условиях Грузинской СОР)

   - нагрузка горячего водоснабжения, обеспечиваемая от ССТ при площади солнечных коллекторов SССТ=413 м2

    - то же, при SССТ= 368 м2 (за минусом зоны)

Величину aа находим по формуле (9)

здесь = Q - годовая потребность в теплоте, равная 2340 ГДж. Исходя из условия полного покрытия нагрузки горячего водоснабжения в течение 5 летних месяцев (апрель-август) за счет применения ССТ, по формулам (5, 6, 7), а также по табл. 1 и 2 определяем значения солнцепритока НДН на наклонную поверхность. Для нашего примера НДН= 20 МДж×дн/м2.

Суточная потребность в теплоте на нужды горячего водоснабжения по табл.2 составляет 3 ГДж, КПД ССТ находим из рис. 5 Рекомендаций. На рисунке (к примеру) приведен среднесуточный баланс теплоэнергии рассматриваемого потребителя. При aа=0,31 (720/2340=0,31) и 5-месячной обеспеченности использования солнечной радиации площадь гелиоприемников (солнечных коллекторов) составит SCCT=413 м2, а при двухмесячной обеспеченности и aа= 0,28 S'CCT= 368 м2,  м2.

Опыт управления Спецгелиотепломонтаж по созданию и эксплуатации более 150 ССТ показал, что наряду с температурой теплосъема на энергетическую эффективность ССТ влияет ряд факторов (качество проектирования, производства, монтажа, наладки, надежность эксплуатации ССТ и т.п.).

В большинстве случаев с увеличением общей площади солнечных коллекторов влияние суммы этих факторов приводит к некоторому уменьшению удельного эксплуатационного показателя эффективности ССТ (см. рис.5), изменяющегося по сезонам года в пределах

зима (отопительный период) от 0,3-0,37 до 0,1-0,18,

лето (остальной период года) от 0,43-0,49 до 0,25-0,35.

4. Зная значения НДН и НМ-Ц для зимних и летних месяцев и определив по рис. 5 значения  для площади 350-450 м, из формулы (12) находим величины годовой выработки теплоты ССТ при принятых значениях обеспеченности полного покрытия нагрузки ГВС, т.е. для обеспеченности 16,6%, при которой S= 368 м2 и обеспеченности 41,6%, при которой S=413 м2. Результаты расчета приведены ниже.

Таблица 2

Показатели

Месяцы

Всего

I

II

III

IV

V

VI

VII

VIII

IX

X

XI

XII

НСУТ, МДж/сут

8

11

14

18

21

20

22

22

19

12

9

8

-

НМЕС, МДж/мес

242

308

434

540

651

600

682

682

589

375

270

248

-

QГВС, ГДж/м

90

90

90

90

90

90

90

90

90

90

90

90

1080

QCCT

Р=16,6%

17

22

30

74

89

82

95

93

80

51

19

17

669

17

22

30

74

89

82

90

90

80

51

19

15

661

Р=41,6%

19

24

34

83

100

100

104

104

90

57

21

20

756

19

24

34

83

90

90

90

90

90

57

21

20

708

Р=16,6%

0,19

0,24

0,33

0,82

0,99

0,91

1

1

0,88

0,87

0,21

0,19

0,61

Р=41,6%

0,21

0,27

0,38

0,92

1

1

1

1

1

0,63

0,23

0,22

0,66

Результаты расчета эффективности ССТ, обеспечивающей частичное горячее водоснабжение 40-квартирного жилого дома в населенных пунктах различных категорий и вытесняющей различные энергоносителя при 16,6%-ной обеспеченности полного покрытия нагрузки ГВС, приведены в табл. 3.

Таблица 3

Категория населенных пунктов

Виды энергоносителей

Экономический эффект, руб/год

Срок окупаемости тыс/год

DЗЭ

DЗО.С

DЗ

DЗЗАМ

DЗССТ

Село

Уголь

3686

2517

724,2

3091

3836

11,5

Мазут

3446

527

546,9

3091

1428,9

30,9

Электроэнергия

9727

-

236,7

3091

6872,7

6,4

Пригородная зона крупного города

Уголь

2786

6517

724,2

3091

6936,2

6,4

Мазут

2901

1356

546,9

3091

1712,9

25,8

Электроэнергия

7348

-

236,7

3091

4493,7

9,8

Зона рекреации (курорт)

Уголь

3686

11686

724,2

309]:

13005,2

3,4

Мазут

3446

2713

546,9

3091

3614,9

12,2

Электроэнергия

9727

 

236,7

3091

6872,7

6,4

Экономический эффект от использования ССТ рассчитывают из выражения

DЗССТ=DЗЭ+DЗО.С+DЗЧ-DЗ.

1. Экономический эффект, руб/год, от вытеснения органического топлива и электроэнергии при Р=16,6% определяют в соответствии с пп. 4.4-4.7

Для Qa=661 ГДж/год  

(см. табл. 7 Рекомендаций).

Для сельской местности

*Аналогичные вычисления для курортной зоны

Для города (без учета затрат во внутрирайонный транспорт топлива и электроэнергии)

2. Экономический эффект, руб/год, от охраны окружающей среды DЗО.С определяют в соответствии с п. 4.8

Для сельской местности

Для города

Для курорта

3. Экономию заработной платы, руб/год, на обслуживание DЗ определяют по формулам (46, 47 и 48) настоящих Рекомендаций

4. Дополнительные затраты (руб/год) на амортизационные отчисления по ССТ

DЗАМ=0,07×КССТ.

Капиталовложения (соответственно руб и руб/год) в систему солнечного теплоснабжения КССТ равны

КССТ=120×368=44160.

DЗАМ=0,07×44160=3091,2

5. Срок окупаемости капитальных вложений Т (год) определим из выражения

Анализ результатов расчетов показывает, что устройство ССТ для частичного горячего водоснабжения экономически эффективно при вытеснении твердого топлива в районах децентрализованного теплоснабжения городов (пригородные зоны крупных городов) и в зонах рекреации; использование ССТ при вытеснении электроэнергии эффективно для всех рассматриваемых зон. При вытеснении мазута системы солнечного горячего водоснабжения экономически не эффективны, так как Т>ТН=10 годам.

СОДЕРЖАНИЕ

 




Rambler's Top100 Яндекс цитирования
  Copyright © 2008-2026, www.docload.ru