Бесплатная библиотека стандартов и нормативов www.docload.ru

Все документы, размещенные на этом сайте, не являются их официальным изданием и предназначены исключительно для ознакомительных целей.
Электронные копии этих документов могут распространяться без всяких ограничений. Вы можете размещать информацию с этого сайта на любом другом сайте.
Это некоммерческий сайт и здесь не продаются документы. Вы можете скачать их абсолютно бесплатно!
Содержимое сайта не нарушает чьих-либо авторских прав! Человек имеет право на информацию!

 

АКЦИОНЕРНОЕ ОБЩЕСТВО
НАУЧНО-ИССЛЕДОВАТЕЛЬСКИЙ
ПРОЕКТНО-КОНСТРУКТОРСКИЙ ИНСТИТУТ
ТЯЖПРОМЭЛЕКТРОПРОЕКТ

РЕКОМЕНДАЦИИ
ПО ПРОЕКТИРОВАНИЮ ОСВЕЩЕНИЯ ПОМЕЩЕНИЙ СО
ВЗРЫВООПАСНЫМИ ЗОНАМИ

СОГЛАСОВАНО

Начальник технического отдела

А.А. Шалыгин

Главный инженер института

А.Г. Смирнов

Отдел светотехнических установок

Начальник отдела

З.К. Горбачева

Ответственный исполнитель

к.т.н. С.А. Клюев

Москва, 1994.

АННОТАЦИЯ

В работе содержатся указания по проектированию освещения помещений со взрывоопасными зонами. Приводятся рекомендации по определению классов взрывоопасных зон, сведения по уровню взрывозащиты, маркировке и обозначению взрывозащищенных светильников, выбору систем и видов освещения, нормированию освещенности и качества освещения. Даются сведения о типах применяемых источников света, номенклатуре и техническим характеристикам взрывозащищенных светильников, способах освещения, сведения о комплектных осветительных устройствах с шалевыми световодами и их применении для освещения взрывоопасных зон, указания по расчету освещения.

В электротехнической части работы даны указания по надежности и схемам питания освещения взрывоопасных зон, напряжению сети, защите, расчету и выполнению сетей, управлению освещением, занулению и заземлению осветительных установок.

Работа предназначена для проектировщиков осветительных установок промышленных предприятий и может быть полезной для специалистов, работающих в области монтажа и эксплуатации электроустановок во взрывоопасных производствах, а также студентам высших и средних учебных заведений энергетических специальностей.

СОДЕРЖАНИЕ

Аннотация. 1

Раздел 1. Общие указания. 2

1.1. Область применения. Определения. 2

1.2. Определение классов взрывоопасных зон. 3

1.3. Уровни взрывозащиты, маркировка и обеспечения типов светильников. 7

Раздел 2. Светотехническая часть проекта. 8

2.1. Системы, виды освещения. 8

2.2. Нормы освещенности и качества освещения. 9

2.3. Источники света. 9

2.4. Светильники. 9

2.5. Щелевые световоды.. 12

2.6. Щелевые световоды НПО «Ватра». 13

2.7. Способы освещения. Расположение светильников и щелевых световодов. 15

2.8. Расчет освещения. 16

Раздел 3 Электротехническая часть проекта. 16

3.1. Источники питания. Напряжение. 16

3.2. Схемы питания. 19

3.3. Защита сетей. 19

3.4. Управление освещением.. 21

3.5. Расчеты сетей. 22

3.6. Выполнение сетей. 24

3.7. Зануление и заземление. 25

Приложение Категории помещения по взрывопожарной и пожарной опасности. 26

Принятые сокращения. 26

Список литературы.. 26

РАЗДЕЛ 1. ОБЩИЕ УКАЗАНИЯ

1.1. Область применения. Определения

1.1.1. Настоящая работа предназначена для использования при проектировании освещения помещений со взрывоопасными зонами (ВЗ). Работа может быть полезна также для специалистов, работающих в области монтажа и эксплуатации электроустановок взрывоопасных производств и студентам высших и средних учебных заведений энергетических специальностей.

В работе рассматриваются вопросы проектирования освещения помещений с взрывоопасными зонами на промышленных предприятиях и других зданиях разного назначения и не рассматривается - освещение взрывоопасных подземных объектов (шахт, рудников), а также взрывоопасные наружные установки, которым посвящена отдельная работа «Рекомендации по освещению наружных установок во взрывоопасных зонах» шифр работы М4166, 1993 г., автор ВНИПИ Тяжпромэлектропроект.

1.1.2. Указания и рекомендации работы отвечают требованиям Правил устройства электроустановок (ПУЭ) шестого издания [1] и СНиП II-4-79 [2].

1.1.3. Общие сведения, указания и рекомендации по освещению взрывоопасных зон содержатся в книге «Электрическое освещение взрывоопасных и пожароопасных зон», автор И.Я. Пикман [3].

1.1.4. Для удобства пользования настоящей работой в ней применены сокращенные обозначения некоторых терминов, понятий и наименований светотехнического и электротехнического оборудования, перечень которых приведен в конце работы.

1.1.5. Взрывоопасная смесь - смесь с воздухом горючих газов, паров легковоспламеняющихся жидкостей (ЛВЖ), горючих пылей или волокон с нижним концентрационным пределом воспламенения не более 65 г/м3 при переходе их во взвешенное состояние, которая при определенной концентрации способна взрываться при возникновении источника инициирования взрыва.

К взрывоопасным относятся также смесь горючих газов и паров ЛВЖ с кислородом и другими окислителями (например, хлором).

1.1.6. Верхний и нижний концентрационные пределы воспламенения соответственно максимальная и минимальная концентрация горючих газов, паров ЛВЖ, пыли или волокон в воздухе выше или ниже которых взрывание происходит даже при возникновении источника инициирования взрыва.

1.1.7. Безопасный экспериментальный максимальный зазор (БЭМЗ) - максимальный зазор между фланцами оболочки, через который не проходит передача взрыва из оболочки в окружающую среду при любой концентрации смеси в воздухе.

1.1.8. Взрывоопасная зона - помещение или ограниченное пространство в помещении или наружной установке, в котором имеются или могут образовываться взрывоопасные смеси.

1.1.9. Зоны класса В-I - зоны, расположенные в помещениях, в которых выделяются горючие газы или пары ЛВЖ в таком количестве и с такими свойствами, что они могут образовывать с воздухом взрывоопасные смеси при нормальном режиме работы, например при загрузке или разгрузке технологических аппаратов, хранении или переливании ЛВЖ, находящихся в открытых емкостях и т.п.

1.1.10. Зоны класса В-Ia - зоны, расположенные в помещениях, в которых при нормальной эксплуатации взрывоопасные смеси горючих газов (независимо от нижнего концентрационного предела воспламенения) или паров ЛВЖ с воздухом не образуются, а возможны только в результате аварий и неисправностей.

1.1.11. Зоны класса В-Iб - зоны, расположенные в помещениях, в которых при нормальной эксплуатации взрывоопасные смеси горючих газов или паров ЛВЖ с воздухом не образовываются, а возможны только в результате аварий или неисправностей и которые, отличаются одной из следующих особенностей:

1. Горючие газы в этих зонах обладают высоким нижним концентрационным пределом воспламенения (15 % и более) и резким запахом при предельно допустимых концентрациях по ГОСТ 12.1.005-76 (например, машинные залы аммиачных компрессорных и холодильных абсорбционных установок).

2. Помещения производств, связанных с обращением газообразного водорода, в которых по условиям технологического процесса исключается образование взрывоопасной смеси в объеме, превышающем 5 % свободного объема помещения, имеют взрывоопасную зону только в верхней части помещения. Взрывоопасная зона условно принимается от отметки 0,75 общей высоты помещения, считая от уровня пола, но не выше кранового пути, если таковой имеется (например, помещения электролиза воды, зарядные станции тяговых и стационарных аккумуляторных батарей).

Пункт 2 не распространяется на электромашинные помещения с турбогенераторами с водородным охлаждением при условии обеспечения электромашинного помещения вытяжной вентиляцией с естественным побуждением; эти электромашинные помещения имеют нормальную среду.

1.1.12. Зоны класса В-Iг - пространства у наружных установок; технологических установок, содержащих горючие газы или ЛВЖ, надземных или подземных резервуаров с ЛВЖ или горючими газами (газгольдеры) эстакад для слива и налива ЛВЖ, открытых нефтеловушек, прудов - отстойников с плавающей нефтяной пленкой и т.п.

Освещение зон класса В-Iг в данной работе не рассматриваются, этому вопросу посвящена отдельная работа [4].

1.1.13. Зоны класса В-II - зоны, расположенные в помещениях, в которых выделяются переходящие во взвешенное состояние горючие пыли или волокна в таком количестве и с такими свойствами, что они способны образовывать с воздухом взрывоопасные смеси при нормальных режимах работы (например, при загрузке и разгрузка технологических аппаратов).

1.1.14. Зоны классов В-IIa - зоны, расположенные в помещениях, в которых опасные состояния, указанные в п. 1.1.13 не имеют места при нормальной эксплуатации, а возможны только в результате аварий или неисправностей.

1.2. Определение классов взрывоопасных зон

1.2.1. В помещениях могут образоваться взрывоопасные зоны классов В-I, В-Iа, В-Iб, В-II и В-IIа.

1.2.2. Определение классов ВЗ, а также, какая и как ориентированная в пространстве часть объема помещения является взрывоопасной, производится технологами проектных организаций или технологами самих предприятий.

1.2.3. В нормативно-технологической документации по проектированию электроустановок предприятий некоторых отраслей промышленности и видов производства содержится классификация помещений по взрыво- и пожарной опасности. В табл. 1.1 приведены выдержки из такой документации с указанием классов ВЗ и некоторых других сведений, которые могут использоваться как справочные материалы [3].

1.2.4. В заданиях технологов на проектирование освещения помещений со ВЗ часто указываются не классы ВЗ по ПУЭ, а категории помещений в соответствии с ОНТП 24-86/МВД СССР [5] по взрывоопасной и пожарной опасности (категории А, Б, В, Г, Д, см. приложение, листы 65, 66).

Определение категории помещения по ОНТП 24-86 производится в зависимости от характера веществ и материалов, находящихся (обращающихся) в помещении. В зависимости от категории помещения принимаются объемно-планировочные и конструктивные решения зданий и помещений, обеспечивающие пожарную безопасность (огнестойкость строительных конструкций, противопожарные преграды, пути эвакуации).

Классы зон по ПУЭ и категории производств по ОНТП 24-86 могут не совпадать, так как имеют разное назначение. Проектирование освещения помещений со ВЗ следует вести только в соответствии с классификацией зон по ПУЭ.

1.2.5. Взрывоопасные смеси газов и паров ЛВЖ с воздухом разделяются на категории и группы как указано в табл. 1.2 и 1.3 (соответственно таблицы 7.3.1 и 7.3.2 ПУЭ). Из таблиц видно, что взрывоопасные смеси разделены на 5 категорий, обозначенных I, II, IIА, IIВ, IIС в зависимости от величины БЭМЗ (см. п. 1.1.7) и на 6 групп, обозначенных от Т1 до Т6 в зависимости от температуры самовоспламенения смеси.

Таблица 1.1 Классы взрывоопасных зон некоторые помещений производственных предприятий

Наименование помещения или производственного процесса

Вещество, обращающееся в производстве

Класс взрывоопасной зоны

1

2

3

1. Металлообрабатывающие производства

1.1 Промывка и расконсервация узлов деталей в изолированных помещениях

Бензин, керосин, уайт-спирит, ацетон, трихлорэтилен и другие ЛВЖ

В-Iа (в общем объеме помещения или в пределах 5 м от краев промывочных ванн или оборудования)

1.2 Одиночные установки промывки узлов и деталей, размещаемые в общих технологических потоках

То же

В-Iа (в пределах 5 м от краев промывочных ванн или оборудования)

2. Окрасочные производства

2.1 Цеха и отделения камерной и бакамерной окраски в изолированных помещениях с применением легковоспламеняющихся растворителей

Уайт-спирит, бензол, толуол, ксилол и другие ЛВЖ

В-Iа1 (в общем объеме помещения или в пределах 5 м от проемов окрасочных и сушильных камер, или от краев решеток и от окрашиваемых изделий)

2.2 Окраска с размещением окрасочных и сушильных камер в общих технологических потоках с общей площадью камер не более 200 м

в помещениях площадью до 2000 м2 или 10 % при общей площади помещений более 2000 м2

Уайт-спирит, бензол, толуол, ксилол и другие ЛВЖ

В-Iа (в пределах 5 м от открытых проемов камер)

2.3 Бескамерная окраска изделий в общих технологических потоках на; открытых площадках с общей площадью решеток не более 200 м2 в помещениях площадью по 2000 м2 или 10 % при общей площади помещений более 200 м2

-"-

В-Iа (в пределах 5 м от краев решеток и от окрашиваемых изделий)

2.4 Камерная или бескамерная окраска с общей площадью камер или решеток более 2000 м2 ли 10 % при общей площади помещений более 2000 м2

-"-

В-Iа1 (в общем объеме помещения или в пределах 5 м от открытых проемов окрасочных и сушильных камер или от краев решеток и от окрашиваемых изделий)

2.5 Краскоприготовительное отделение.

Разлив ЛВЖ

В-Iа

2.6 Отделение полимерных покрытий

Порошки с нижним концентрированным пределом до 65 г/м3

В-IIа

2.7 Промывка тары жидких лакокрасочных материалов

Разлив ЛВЖ

В-Iа (в общем объема помещений или в пределах 5 м от краев промывочных ванн В-Iб2)

2.8 Лаборатории лакокрасочных материалов

То же

В-Iб2

3. Электроремонтное производство

3.1 Сушильно-пропиточное отделение секций, полюсных катушек и якорей

Пропиточные составы и ЛВЖ

В-Iа1 (в общем объеме помещений или в пределах 5 м от краев ванн и другого оборудования)

3.2 Лаборатории пропиточных составов

То же

В-Iб2

4. Производства пластмассовых изделий

4.1 Прессовые паха и отделения с применением пресс-порошков и таблеток

Пресс-материалы с нижним концентрационным пределом воспламенения пыли до 65 г/м3

В-IIа3

4.2 Отделения таблетирования и измельчения отходов пластмасс

Пресс-материалы с нижним концентрационным пределом воспламенения пыли до 65 г/м3

В-IIа3

4.3 Отделение механической обработки пластмассовых изделий

Пыль пластмассовая после обработки на шлифовальных и полировальных станках с нижним концентрационным пределом воспламенения пыли до 65 г/м3

В-IIа3

5. Котельные

5.1 Дробильные отделения для фрезерного торфа

Торфяная пыль

В-IIа

5.2 Пылеприготовительные отделения

Ленинск-Кузнецкие каменные угли марки Д и другие угли с нижним концентрационным пределом воспламенения пыли до 65 г/м3

В-IIа

5.3 Насосные станции жидкого топлива и присадок

ЛВЖ

В-Iа

5.4 Газораспределительные пункты

Горючие газы

В-Iа

6. Ацетиленовые станции

6.1 Генераторные установки

Ацетилен

В-Iа

6.2. То же с газовыделениями при загрузке генераторов и илоудаления

То же

В-I

6.3 Компрессия, сушка и очистка ацетилена

То же

В-Iа

6.4 Наполнительные баллоны, газгольдерные установки (внутренние), ремонтно-испытательные устройства

То же

B-la

6.5 Раскупорочное отделение

Карбид кальция

B-la

6.6 Лаборатории

Ацетилен

В-Ia2

7. Газораспределительные пункты и газораспределительные станции

7.1 Газораспределительные пункты (регулировка и управление системами газоснабжения)

Природный газ, метан, пропан и другие горючие газы

В-Ia

7.2 Газонаполнительные станции (прием хранение, перекачка, компрессия и обработка сжиженных газов; наполнение, слив, дегазация, смешение газов)

Сжиженные углеводородные газы

B-la

8. Холодильные станции. Машинные залы

Аммиак

В-Iб

9. Водородно-кислородные станции (получение электролитического водорода)

9.1 Электролизерные, очистные и осушительные установки

Водород

В-Iб (выше отметки 0,75 общей высоты помещения)

9.2. Компрессорная водорода

То же

В-Iа

9.3 Наполнительные баллонов, ремонтно-испытательные установки

То же

В-Iа

10. Вентиляционные камеры

10.1 Зоны в помещениях вытяжных вентиляторов обслуживающие взрывоопасные зоны любого класса

Горючие газы, пары ЛВЖ, горючие пыли

Аналогичный классу зон, обслуживаемых вытяжными вентиляторами

10.2 Зоны в помещениях приточных вентиляторов при отсутствии обратных клапанов, не допускающих обратное проникновение в помещении взрывоопасных смесей при прекращении подачи воздуха

То же

То же

11. Насосные станции и очистные сооружения

11.1 Перекачка ЛВЖ

ЛВЖ

В-Iа

11.2 Перекачка канализационных стоков

Стоки, содержащие ЛВЖ

В-Iа

11.3 Помещения очистки производственных стоков

Стоки, содержащие ЛВЖ

В-Iа

12. Гаражи

12.1 Участки вулканизации

ЛВЖ

В-Iа (в пределах 5 м от краев рабочих мест)

12.2 Участки ремонта топливной аппаратуры

ЛВЖ

В-Iа

13. Аккумуляторные установки

13.1 Помещения стационарных аккумуляторных батарей в распределительных устройствах (при зарядном напряжении на элементе более 2-3 В)

Водород

В-Iа

13.2 Помещения стационарных аккумуляторных батарей АТС промышленных предприятии и общественных зданий

Водород

В-Iб (выше отметки 0,75 общей высоты помещения)

13.3 Помещения зарядных станций тяговых и стартерных аккумуляторные батарей

Водород

В-Iб (выше отметки 0,75 общей высоты помещения, но не выше отметки крановых путей)

14. Складское хозяйство

14.1 Закрытые склады и кладовые ЛВЖ, лакокрасочных материалов

ЛВЖ

В-Iа

14.2 Разливочные пункты в мелкую тару в помещениях

ЛВЖ

В-Iа

14.3 Закрытые склады карбида кальция

Карбид кальция

В-Iа

1 Взрывоопасные зоны в общем объеме помещения или в пределах 5-ти метровой зоны от камер, ванн и другого оборудования с выделением взрывоопасных смесей уточняются расчетом.

2 При работе с горючими газами и ЛВЖ в вытяжных шкафах или под вытяжными зонтами зоны в лабораториях относятся к невзрывоопасным.

3 При уточнении (по данным технологов) невозможности перехода взрывоопасных пылей во взвешенное состояние, зону следует принимать пожароопасной класса II-II (по главе 7.4 ПУЭ), вместо взрывоопасной В-IIа.

Таблица 1.2. Категории взрывоопасных смесей газов и паров с воздухом

Категория смеси

Наименование смеси

БЭМЗ, мм

I

Рудничный метан

Более 1,0

II

Промышленные газы и пары

 

IIА

То же

Более 0,9

IIВ

То же

Более 0,5 до 0,9

IIC

То же

До 0,5

ПРИМЕЧАНИЕ. Указанные в таблице значения БЭМЗ не могут служить для контроля ширины зазора оболочки в эксплуатации.

Таблица 1.3. Группы взрывоопасных смесей газов и паров с воздухом по температуре самовоспламенения

Группа

Температура самовоспламенения смеси, °С

Группа

Температура самовоспламенения смеси, °С

Т1

Выше 450

Т4

Выше 135 до 200

T2

от 300 до 450

Т5

от 100 до 135

Т3

от 200 до 300

T6

от 85 до 100

1.2.6. Для зон классов В-I, В-Iа, В-Iб в заданиях на проектирование освещения должно быть указано к каким категориям и группам по табл. 1.2 и 1.3 (табл. 7.3.1 и 7.3.2 ПУЭ) относятся присутствующие в помещениях взрывоопасные смеси,

1.2.7. Взрывоопасные пыли, которые могут образоваться в зонах классов В-II и В-IIа, характеризуются нижним концентрационным пределом воспламенения (см. п. 1.1.6), выраженным в г/м3, и температурой воспламенения и самовоспламенения пыли (в °С). Указанные характеристики должны учитываться при выборе светильников и электрооборудования для зон В-II и В-IIа.

Характеристики взрывоопасных пылей некоторых веществ приведены в табл. 7.3.4 ПУЭ [1].

1.2.8. При проектировании освещения зон классов В-II и В-IIа конкретные сведения о характеристике пыли присутствующей в помещении (взвешенная или осевшая, величина температуры самовоспламенения) должны указываться технологами в зданиях на проектирование. Эти сведения необходимы для правильного выбора светильников по температурным характеристикам.

1.2.9. В помещениях без взрывоопасной зоны, отделенных стенами (с дверными проемами или без них) от взрывоопасной зоны смежных помещений следует принимать взрывоопасную зону, класс которой определяется в соответствии с табл. 1.4. Размер зоны до 5 м по горизонтали и вертикали от проема двери.

1.2.10. Зоны в помещениях вытяжных вентиляторов, обслуживающих взрывоопасные зоны любого класса, относятся к взрывоопасные зонам того же класса, что и обслуживаемые ими зоны.

1.2.11. Зоны в помещениях приточных вентиляторов, обслуживающих взрывоопасные зоны любого класса, не относятся к взрывоопасным, если приточные воздуховоды оборудованы самозакрывающимися обратными клапанами, не допускающими проникновения взрывоопасных смесей в помещения приточных вентиляторов при прекращении подачи воздуха.

Таблица 1.4. Класс зоны помещения, смежного со взрывоопасной зоной другого помещения

Класс взрывоопасной зоны

Класс зоны помещения, смежного со взрывоопасной зоной другого помещения и отделенного от нее

стеной (перегородкой) с дверью, находящейся во взрывоопасной зоне

стеной (перегородкой) баз проемов или с проемами, оборудованными тамбурами и шлюзами или дверями, находящимися вне взрывоопасной зоны

В-I

В-Iа

Невзрыво- и непожаро-опасная

В-Iа

В-Iб

То же

В-Iб

Невзрыво- и непожаро-опасная

То же

В-II

В-IIа

То же

В-IIа

Невзрыво- и непожаро-опасная

То же

Таблица 1.5. Сопоставление категорий взрывоопасных смесей по ПИВРЭ ПИВЭ и ПУЭ

Категория взрывоопасной смеси по ПИВРЭ и ПИВЭ

Категория взрывоопасной смеси по ПУЭ, для которой электрооборудование является взрывозащищенным

1

IIA

2

IIA

3

IIA, IIВ

4

IIA, IIВ, IIС

Таблица 1.6. Сопоставление температурных групп взрывоопасных смесей по ПИВРЭ, ПИВЭ и ПУЭ

Группа взрывоопасной смеси в маркировке электрооборудования, изготавливаемого по

Группа взрывоопасной смеси по ПУЭ, для которой электрооборудование является взрывозащищенным

ПИВРЭ

ПИВЭ

Т1

А

Т1

Т2

Б

Т1 - Т2

Т3

-

Т1 - Т3

Т4

Г

Т1 - Т4

Т5

Д

Т1 - Т5

При отсутствии обратных клапанов помещения приточных вентиляторов имеют взрывоопасные зоны того же класса, что и обслуживаемые ими зоны.

1.2.12. В помещениях отопительных котельных, встроенных в здания и предназначенных для работы на газообразном топливе с температурой вспышки 61 °С и ниже, требуется предусматривать необходимый минимум взрывозащищенных светильников включаемых перед началом работы котельной установки Выключатели для светильников устанавливаются вне помещения котельной.

1.2.13. В рабочих чертежах освещения помещений со ВЗ на планах расположения должен указываться класс взрывоопасной зоны, а для зон В-I, В-Iа, В-Iб также категория и группа взрывоопасной смеси.

Если ВЗ занимает не весь объем помещения, а только его часть, это должно отмечаться в рабочих чертежах.

1.3. Уровни взрывозащиты, маркировка и обеспечения типов светильников

1.3.1. Светильники для ВЗ, имеющие в своей конструкции средства взрывозащиты, носят общее название взрывозащищенные.

Для светильников установлены следующие уровни взрывозащиты:

Светильники взрывобезопасные, знак уровня 1; они обеспечивают взрывозащиту как при нормальном режиме работы, так и при признанных вероятных повреждениях, определяемых условиями эксплуатации, кроме повреждений средств взрывозащиты;

Светильники повышенной надежности против взрыва, знак уровня 2; они обеспечивают взрывозащиту только в признанном нормальном режиме работы.

1.3.2. Для светильников применяются следующие виды взрывозащиты:

взрывонепроницаемая оболочка, обозначение d;

защита вида «е», обозначение е.

Взрывонепроницаемая оболочка (d) выдерживает давление взрыва внутри ее и предотвращает распространение взрыва из оболочки в окружающую взрывоопасную среду.

Защита вида «е» является дополнительным видом защиты светильников, не имеющих нормально искрящих частей, затрудняющих появление опасных нагревов, электрических искр и дуг.

1.3.3. Каждому электротехническому изделию, имеющему средства взрывозащиты, дается его маркировка по взрывозащите в соответствии с ПУЭ. В маркировке взрывозащищенных светильников в следующей последовательности указывается:

знак уровня взрывозащиты 1 или 2 (см. п. 1.3.1);

знак Ех, указывающий на соответствие светильника стандартам на взрывозащищенное электрооборудование;

знаки видов защиты е, d (см. п. 1.3.2);

знак категории взрывоопасной смеси I, IIA, IIB, IIC (см. п. 1.2.4, табл. 1.2 и табл. 7.3.3 ПУЭ);

знак температурной группы взрывоопасной смеси

Т1, Т2, Т3, Т4, Т5, Т6 (см п. 1.2.4, табл. 1.3 и табл. 7.3.3 ПУЭ).

Примеры маркировки светильников по взрывозащите:

1ExedIBT4;     2ExedIICT2

Указанная маркировка светильников по взрывозащите дает полное представление по допустимым областям их применения во ВЗ.

1.3.4. Разработчики изготовители светильников присваивают им условные обозначения типов в соответствии с ГОСТ 17677-82 [6]. В обозначениях типов взрывозащищенных светильников кроме знаков, указывающих тип лампы, способ установки светильников, его назначение, количество, мощность ламп и др. содержится обозначение категорий и групп взрывоопасных смесей в соответствие с п. 1.2.4, табл. 1.2, 1.3 и табл. 7.3.3 ПУЭ (например, IIСТ4, IIВТ3).

1.3.5. В обозначениях типов некоторых ранее разработанных и еще выпускаемых или эксплуатируемых взрывозащищенных светильников указаны категории и группы взрывоопасных смесей не по ПУЭ (табл. 1.2, 1.3), а по ПИВРЭ [7] и ПИВЭ [8] (см. приложение 1 к гл. 7.3 ПУЭ), например ВЗГ, НЧБ.

По ПИВРЭ и ПИВЭ установлены 4 категории взрывоопасных смесей - 1,2, 3,4 в зависимости от величины критического зазора в оборудовании (БЭМЗ, см. п. 1.2.3, табл. 1.2). По ПИВРЭ установлено 5 температурных групп взрывчатых смесей - T1, T2, Т3, Т4, Т5 и по ПИВЭ 4 температурные группы - А, Б, Г, Д.

Сопоставления категорий и групп взрывоопасных смесей по ПИВРЭ, ПИВЭ и ПУЭ приведены в табл. 1.5. и 1.6.

1.3.6. Светильники, имеющие маркировку для категории смеси IIC (табл. 1.2) являются взрывозащищенными для категорий смеси IIA и IIB, имеющие маркировку IIВ являются взрывозащищенными для категории IIА.

Светильники, имеющие температурную группу Т6 (табл. 1.3) являются взрывозащищенными для температурных групп Т1-Т5, имеющие группу Т5 являются взрывозащищенными для групп Т1-Т4 и т.д.

РАЗДЕЛ 2. СВЕТОТЕХНИЧЕСКАЯ ЧАСТЬ ПРОЕКТА

2.1. Системы, виды освещения

2.1.1. Помещения со ВЗ имеются на предприятиях многих отраслей промышленности и в зданиях разных областей народного хозяйства. Назначение таких помещений, характер производимых в них работ и требования к их освещению очень разнообразны.

В связи с этим в данной работе представилось возможным привести только общие указания и рекомендации по устройству ОУ в помещениях со ВЗ.

2.1.2. В зависимости от назначения помещения со ВЗ и характера выполняемых в нем работ могут применяться системы общего равномерного, общего локализованного и комбинированного освещения.

2.1.3. При выборе систем и способов освещения помещений со ВЗ следует руководствоваться указаниями и рекомендациями отраслевых нормативно- технических материалов по ОУ для данной отрасли промышленности или вида производства, а при их отсутствии общими руководящими и справочными материалами по проектированию освещения, например [9, 10, 11, 12].

2.1.4. Характер работ, выполняемых в большинстве помещений со ВЗ, требует устройства только общего равномерного или общего локализованного освещения.

Комбинированное освещение (общее и местное) предусматривается при выполнении точных зрительных работ, для которых одного общего освещения недостаточно. В некоторых случаях местное освещение входит в комплект технологического оборудования и при наличии задания необходимо предусматривать подводку сети для его питания.

2.1.5. В помещениях со ВЗ, в которых неправильные действия персонала при отсутствии освещения могут вызвать взрыв, пожар, отравление людей, длительное нарушение технологического процесса, необходимо предусматривать аварийное освещение (АО).

2.1.6. В помещениях служебных, для прохода людей, где указанные в п. 2.1.5 опасные условия отсутствуют, должно предусматриваться эвакуационное освещение (ЭО).

2.2. Нормы освещенности и качества освещения

2.2.1. Величины нормируемой освещенности и нормы качества освещения - показатель ослепленности и коэффициент пульсации освещенности при освещении разрядными лампами (РЛ), должны приниматься по соответствующим отраслевым нормам искусственного освещения, а при их отсутствии по общим нормам естественного и искусственного освещения [2].

2.2.2. В помещениях с недостаточным по нормами [2] естественным освещением при зрительных работах, нормируемым по разрядам I, II и III, должно предусматриваться совмещенное освещение в соответствии с разделом 3 норм [2]. При совмещенном освещении недостаток естественного света компенсируется искусственным освещением.

2.2.3. Освещенность, создаваемая на рабочих поверхностях АО должна составлять не менее 5 % освещенности, нормируемой для рабочего освещения (РО) при системе общего освещения, но не менее 2 лк.

2.2.4. Эвакуационное освещение должно обеспечивать наименьшую освещенность на полу основных проходов и на ступенях лестниц не менее 0,5 лк.

2.3. Источники света

2.3.1. Для освещения помещений со ВЗ рекомендуется применить преимущественно РЛ, - люминесцентные (ЛЛ) и разрядные лампы высокого давления (РЛВД) - ртутные с исправленной цветностью типа ДРЛ, металлогалогенные типа ДРИ и металлогалогенные зеркальные типа ДРИЗ, натриевые типа ДНаТ. РЛ по сравнению с ЛН обладают более высокой световой отдачей и сроком службы.

2.3.2. Лампы накаливания должны применяться для АО и ЭО в помещениях, где для РО используются РЛВД. Они могут применяться также в случаях, когда использование РЛВД невозможно ввиду повышенных требований к цветопередаче или невозможности по каким-либо причинам применение светильников с ЛЛ.

2.3.3. Мощность ламп, используемых для освещения ВЗ, обуславливается типами применяемых светильников - см. табл. 2.2. Технические характеристики ламп приводятся в светотехнических справочниках [9, 10, 11].

2.4. Светильники

2.4.1. Допустимые уровни взрывозащиты или степени защиты стационарных светильников для ВЗ указаны в табл. 2.1.

2.4.2. Номенклатура и технические характеристики взрывозащищенных светильников для стационарной установки приведены в табл. 2.2.

2.4.3. Взрывозащищенные светильники, специально предназначенные для местного освещения, не выпускаются. При необходимости устройства местного освещения, в случаях, когда местное освещение не входит в комплект технологического оборудования, в зонах классов В-I, В-Iа и В-II могут использоваться взрывозащищенные светильники общего освещения, в зонах В-Iб и В-IIа общепромышленные светильники без средств взрывозащиты со степенью защиты оболочки не ниже 1Р53.

Таблица 2.1. Допустимые уровни взрывозащиты или степени защиты стационарно устанавливаемых светильников в зависимости от класса взрывоопасной зоны

Класс взрывоопасной зоны

Уровень взрывозащиты или степень защиты

В-I

Взрывобезопасное

В-Iа, В-Iг

Повышенной надежности против взрыва

В-Iб

Без средств взрывозащиты. Степень защиты 1Р53*

В-II

Повышенной надежности против взрыва (при соблюдении требований п. 2.4.7.)

В-IIа

Без средств взрывозащиты (при соблюдении требований п. 2.4.7.). Степень защиты 1Р53

*Допускается изменять степень защиты оболочки от проникновения воды (2-я цифра обозначения) в зависимости от условий среды, в которой устанавливаются светильники.


Таблица 2.2. Номенклатура и технические характеристики стационарных взрывозащищенных светильников общего освещения

Светильник

Источник света

Светотехнические характеристики

Размеры диаметр´высота, мм

Масса, кг

Изготовитель

Тип

Маркировка по взрывозащите

Уровень взрывозащиты

Тип

Мощность, Вт

Отражатель

есть +

нет -

Тип кривой сил света

К. П. Д. общий (в нижнюю полусферу)

Защитный угол, град.

1

2

3

4

5

6

7

8

9

10

11

12

Светильники с лампами типов ДРЛ и ДРИ

РСП-1-80-011У1

1ExedIICT4

B

ДРЛ

80

+

Г

50 (50)

10

400´450

11

НПО «Ватра»

РСП31-80-012У1

То же

В

-"-

80

-

Д

70 (40)

90

250´430

9

Ашинский светотехнический завод ПО «Электролуч»

РСП25-80-001

1ExedIIBT4

B

-"-

80

+

Д

60 (60)

15

476´490

14,5

РСП25-125-001

То же

В

-"-

125

+

Д

60 (60)

15

476´490

14,5

РСП25-250-001

То же

B

-"-

250

+

Д

60 (60)

15

516´530

15,5

РСП25-80-001

То же

В

-"-

80

-

М

80 (50)

90

280´490

 

РСП25-125-001

То же

B

-"-

125

-

М

80 (50)

90

280´490

 

РСП25-250-001

То же

В

-"-

250

-

М

80 (50)

90

280´530

 

РСП25-80-002

2ExedIICT4

ПН

-"-

80

+

Д

60 (60)

15

476´490

14,5

РСП25-125-002

То же

ПН

-"-

125

+

Д

60 (60)

15

476´430

14,5

РСП25-250-002

То же

ПН

-"-

250

+

Д

60 (60)

15

516´530

15,5

РСП25-80-002

То же

ПН

-"-

80

-

М

80 (50)

90

280´490

 

РСП25-125-002

То же

ПН

-"-

125

-

М

80 (50)

90

280´490

 

РСП25-250-002

То же

ПН

-"-

250

-

М

80 (50)

90

280´530

 

ГСП25-125-001

1ExedIIBT4

В

ДРИ

125

+

Д

60 (60)

15

476´490

14,5

ГСП25-175-001

То же

В

-"-

175

+

Д

60 (60)

15

476´530

15,5

ГСП25-250-001

То же

В

-"-

250

+

Д

60 (60)

15

476´530

15,5

ГСП25-125-001

То же

В

-"-

125

-

М

80 (50)

90

280´490

 

ГСП25-175-001

То же

В

-"-

175

-

М

80 (50)

90

280´530

 

ГСП25-250-001

То же

В

-"-

250

-

М

80 (50)

90

280´530

 

ГСП25-125-002

2ExedIICT4

ПН

ДРИ

125

+

Д

60 (60)

15

476´490

14,5

ГСП25-175-002

То же

ПН

-"-

175

+

Д

60 (60)

15

476´530

14,5

ГСП25-250-002

То же

ПН

-"-

250

+

Д

60 (60)

15

476´530

15,5

ГСП25-125-002

То же

ПН

-"-

125

-

М

80 (50)

90

280´490

 

ГСП25-175-002

То же

ПН

-"-

175

-

М

80 (50)

90

280´530

 

ГСП25-250-002

То же

ПН

-"-

250

-

М

80 (50)

90

280´530

 

В3Т3-ДРЛ250-1

1ExedIIBT3

В

ДРЛ

250

+

Д

50 (50)

15

550´640

20

НПО «Ватра»

В3Т3-ДРЛ250-2

То же

В

-"-

250

-

М

60 (35)

90

304´640

18

ОМР-125/ВЗГ-ДРЛ125/ПРА

ВЗГ

В

-"-

125

+

Д

50 (50)

15

460´545

15

Предприятия Польши

-

М

75 (40)

90

250´545

14

ОМП-250/ВЗГ-ДРЛ250/ПРА

ВЗГ

В

-"-

250

+

Д

50 (50)

15

610´665

29

-

М

75 (40)

90

334´665

28

OWP-250/Н4Т2-ДРЛ250-ПРА

Н4Т2

ПН

-"-

250

+

Д

50 (50)

15

550´610

19

-

М

75 (40)

90

280´610

18

Светильники с люминесцентными лампами

Н4Т4Л-1´80-11

2ExedIICT4

ПН

ЛЛ

80

+

Д

60 (60)

15

дл. 1695

´390

14,5

НПО «Ватра»

шир. 205

Н4Т4Л-1´80-12

То же

ПН

-"-

80

-

М

70 (40)

90

дл. 1695

´390

12,3

шир. 113

Н4Т4Л-2´80-11

То же

ПН

-"-

2´80

+

Д

55 (55)

15

дл. 1695

´405

27,5

шир. 310

Н4Т4Л-2´80-12

То же

ПН

-"-

2´80

-

М

65 (40)

90

дл. 1695

´405

24,5

шир. 230

Н4Т5Л-1´65-11

2ExedIICT5

ПН

-"-

65

+

Д

60 (60)

15

дл. 1695

´390

15

шир. 205

Н4Т5Л-1´65-12

То же

ПН

-"-

65

-

М

70 (40)

90

дл. 1695

´390

12,8

шир. 113

Н4Т5Л-2´65-11

То же

ПН

-"-

2´65

+

Д

55 (55)

15

дл. 1695

´405

28,5

шир. 310

Н4Т5Л-2´65-12

То же

ПН

-"-

2´65

-

М

65 (40)

90

дл. 1695

´405

25,5

шир. 230

Светильники с лампами накаливания

В4A-60

В4А

В

ЛН

60

-

Д

50 (50)

15

дл. 340

´210

6,3

Завод «Электросвет» (г. Москва)

шир. 230

ВЗГ-100

ВЗГ

В

-"-

100

-

Д

45 (45)

15

дл. 340

´195

8

шир. 310

ВЗГ-200АМС

ВЗГ

В

-"-

200

+

Д

60 (60)

30

398´520

7,5

-

М

75 (55)

90

232´520

5,8

ВЗГ/В4А-200МС

ВЗГ/В4А

В

-"-

200

+

Д

45 (45)

30

398´510

8,3

Гагаринский светотехнический завод

-

М

65 (45)

90

246´510

7,7

НСП23-200-001 (002)

2ExedIICT2

ПН

-"-

200

-

НТ**

70 (50)

90

240´350

6,5

НПО «Ватра»

НСП23-200-003 (004)

То же

ПН

-"-

200

+

Д

60 (60)

15

410´350

7,4

Н4Б-300МА

Н4Б

ПН

-"-

300

+

Г

50 (50)

15

508´584

10,5

Завод «Электросвет» (г. Москва)

-

М

70 (40)

90

300´584

9

НСП38-100-001

1ExeIICT4

В

-"-

100

-

М

70

90

200´370

6,5

НПО «Ватра»

НСП38-100-002

2ExeIICT3

ПН

-"-

100

-

М

75

90

200´370

6,5

* Уровни взрывозащиты светильников: В - взрывобезопасный, ПН - повышенной надежности против взрыва.

**НТ - нетиповая кривая сил света.

Примечания:

1. Все светильники на напряжение 220 В.

2. Степень защиты всех светильников по ГОСТ 14254-86 IP54.

3. В графе 2 указана маркировка светильников по взрывозащите гл. 7.3. ПУЭ, ПИВРЭ [5] и ПИВЭ [6].

4. В графе 7 обозначения типов кривых сил света указаны по ГОСТ 17677-82 [7].

5. Указанный в графе защитный угол светильников равный 90° является условным.

6. Все светильники с лампами ДРЛ и ДРИ имеют встроенные некомпенсированные ПРА. Величину коэффициента мощности (cosφ) следует принимать: для светильников с лампами мощностью 175 Вт и менее - 0,45, мощностью 250 Вт - 0,5.

7. Конструкция всех светильников позволяет выполнять уплотненный ввод питающих кабелей круглой формы наружным диаметром до 16 мм или кабелей и изолированных проводов, проложенных в стальных трубах диаметром 1/2".

8. Светильники с люминесцентными лампами имеют встроенные бесстартерные ПРА, коэффициент мощности одноламповых светильников 0,5, двухламповых 0,92.

9. Все светильники поставляются заводами-изготовителями заряженными проводами с нагревостойкой изоляцией, проложенными внутри светильника между вводной камерой, аппаратами электрической схемы светильника и ламповыми патронами.


2.4.4. Номенклатура и технические характеристики переносных взрывозащищенных светильников в настоящей работе не приводятся, т.к. в проектах освещения такие светильники не учитываются как оборудование, приобретаемое не за счет средств, выделяемых на капитальное строительство, а за счет средств, предусматриваемых на эксплуатацию предприятия.

2.4.5. Во ВЗ класса В-I должны применяться взрывобезопасные светильники, в зонах В-Iа - светильники повышенной надежности против взрыва. В обоих случаях светильники должны иметь исполнение для соответствующих категорий и групп взрывоопасных смесей (см. п. 1.2.4 и табл. 1.2, 1.3, 1.5, 1.6).

2.4.6. В зонах класса В-Iб могут применяться светильники без средств взрывозащиты со степенью защиты оболочки не ниже 1Р53. Допускаются изменения степени защиты оболочки светильника от проникновения воды (вторая цифра обозначения степени защиты) в зависимости от условий среды, в которой установлен светильник.

2.4.7. Согласно ПУЭ (п. 7.3.63) для зон классов В-II и В-IIа рекомендуется применять электрооборудование, специально предназначенное для взрывоопасных зон со смесями горючих пылей или волокон с воздухом. При отсутствии такого электрооборудования допускается применять в зонах В-II электрооборудование для работы в средах со взрывоопасными смесями горючих газов и паров ЛВЖ с воздухом, а в зонах В-IIа электрооборудование общего назначения (без средств взрывозащиты), но имеющее соответствующую степень защиты от проникновения пыли.

Светильники, специально предназначенные для зон классов В-II и В-IIа не выпускаются, в связи с чем для зон В-II следует применять светильники взрывобезопасные или повышенной надежности против взрыва, в зонах В-IIа светильники общего назначения со степенью защиты не ниже 1Р53. При этом светильники для зон В-II и В-IIа должны удовлетворять следующим требованиям: температура поверхности светильника, на которую могут оседать горючие пыли или волокна, будет не менее чем на 50 °С ниже температуры тления пыли для тлеющих пылей или не более двух третей температуры самовоспламенения для нетлеющих пылей.

Наибольшая температура наружных поверхностей взрывозащищенных светильников в зависимости от их температурной маркировки указана в табл. 2.3 [14].

В связи с тем, что температура наружных поверхностей светильников без средств взрывозащиты не нормируется, сведения о наибольших значениях температуры общепромышленных светильников следует запрашивать у заводов - изготовителей.

Сведения о характере и температурных характеристиках взрывоопасных пылей должны выдавать технологи проектных организаций или владельцев предприятий.

2.4.8. Типы и технические характеристики общепромышленных светильников, используемых в зонах классов В-Iб и В-IIа, в данной работе не приводятся. Сведения о них следует получать из светотехнических справочников [11] и других информационных материалов по светильникам.

2.4.9. Большинство приведенных в табл. 2.2 взрывозащищенных светильников выпускается в двух модификациях по характеру светораспределения - с отражателем (с кривыми сил света типов Д и Г по ГОСТ 17977-82 [6]) и без отражателя (с кривой типа М). Это позволяет в зависимости от требований к освещению применять светильники с наиболее целесообразным светораспределением.

Указания и рекомендации по выбору светораспределения светильников общего освещения приведены в светотехнических справочниках и других руководящих материалах по проектированию ОУ [9, 10, 11, 12].

2.5. Щелевые световоды

2.5.1. Для освещения помещений со ВЗ взамен светильников могут использоваться комплектные осветительные устройства (КОУ) со щелевыми световодами (ЩС).

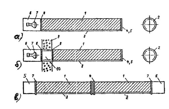
2.5.2. Щелевой световод (рис. 1) представляет собой полую цилиндрическую трубу 1 (канал световода) длиной от нескольких до десятков метров, большая часть внутренней поверхности которой покрыта зеркально отражающим слоем 2. Световой поток одного или нескольких ИС, установленных во вводном устройстве 6, направляется в канал световода и выходит из него равномерно по длине канала через светопропускающую часть (оптическую щель) 3, не закрытую светоотражающим слоем. Для повышения КПД ЩС в его торце размещается зеркальный светоотражающий элемент 5. Отделение ИС от канала достигается установкой на вводном устройстве прозрачного иллюминатора из термостойкого силикатного стекла.

Таблица 2.3. Температура наружных поверхностей взрывозащищенных светильников

Температурная маркировка или маркировка по взрывозащите светильника по графе 2 табл. 2.2

Температура наружных поверхностей светильника не более, °С

Т1

445

Т2

295

Т3

195

Т4

130

Т5

95

В4А

445

Н4Б

295

ВЗГ

195

ПРИМЕЧАНИЕ: Температура наружных поверхностей светильников указана при температуре воздуха в зоне их установки +25 °С. При температуре воздуха большей или меньшей, температуру поверхностей светильников следует увеличивать или уменьшать на соответствующее число градусов.

Рис. 1. Комплектные осветительные устройства (КОУ) со щелевыми световодами:

а - вводное устройство в освещаемом помещении; б - вводное устройство вынесено из освещаемого помещения; в - состыкованная установка двух щелевых световодов;

1 - трубчатый канал щелевого световода; 2 - зеркально отражающая часть внутренней поверхности канала; 3 - светопропускающая часть канала (оптическая щель); 4 - натяжное устройство (для мягких каналов); 5 - торцевой зеркально отражающий элемент; 6 - вводное устройство; 7 - источник света; 8 - прозрачный иллюминатор; 9 - стена помещения; 10 - переходное устройство.

2.5.3. Каналы ЩС могут быть мягкими и жесткими. Мягкие каналы изготовляются из полос специальной полиэтилентерефталатной зеркалированной и светорассеивающей пленки, свариваемых или склеиваемых для образования трубчатого канала.

Жесткие каналы ЩС изготавливаются из пластмассы способом экструдирования или из алюминия.

2.5.4. Щелевые световоды имеют преимущество перед светильниками, заключающееся в существенном сокращении количества ИС в ОУ и уменьшении мест их установки благодаря использованию в ЩС ламп большой единичной мощности и возможности размещения во вводных устройствах нескольких ламп. Применение ЩС целесообразно для многих помещений со ВЗ.

2.6. Щелевые световоды НПО «Ватра»

2.6.1. НПО «Ватра» (Украина, г. Тернополь) выпускает КОУ со ЩС для системы напряжения 380/220 В с заземленной нейтралью. ЩС имеют мягкие каналы диаметром 275 и 600 мм. Для придания цилиндрической формы мягкому ЩС его оболочка предварительно натягивается с помощью закрепленного в конце канала натяжного устройства 4 (рис. 1) и наполняется воздухом, подаваемым в канал под небольшим избыточном давлении через отверстия в натяжном устройстве.

2.6.2. В качестве ИС используются зеркальные металлогалогенные лампы типа ДРИЗ или ЛН, которые применяются, в основном, для АО и ЭО, ПРА для ламп ДРИЗ размещаются в отдельном ящике, устанавливаемом вблизи вводного устройства.

2.6.3. Для КОУ со ЩС применяются некомпенсированные ПРА. Коэффициент мощности комплекта лампа ДРИЗ-ПРА равен 0,32, напряжение питания ламп 380 В, степень защиты вводных устройств и ящиков с ПРА 1Р54.

2.6.4. НПО «Ватра» выпускает КОУ со ЩС двух вариантов: КОУ1 с размещением вводного устройства и трубчатого канала в одном помещении - рис. 1, а и КОУ1А с размещением вводного устройства в смежном помещении или снаружи здания, а трубчатого канала в освещаемом помещении - рис. 1, б. В последнем варианте соединение вводного устройства с трубчатым каналом производится с помощью переходного устройства 10.

2.6.5. Вариант КОУ1А может применяться для помещений с ВЗ классов В-I, В-Iа и В-II, вариант КОУ1 - для ВЗ классов В-Iб и В-IIа. Области применения КОУ1 и КОУ1А для ВЗ разных классов в зависимости от температурных характеристик взрывоопасных смесей приведены в табл. 2.4

2.6.6. КОУ со ЩС с мягкими каналами диаметром 275 мм изготовляются длиной 6 м, диаметром 600 мм - 18 м. При необходимости указанные длины каналов могут быть уменьшены путем их укорочения, а если необходимая длина оказывается больше, чем у изготовляемых ЩС, можно состыковать два световода с установкой вводных устройств на противоположных концах каналов и удалением торцевых зеркальных отражателей (рис. 1, в).

2.6.7. Для облегчения проектирования ОУ со ЩС разработаны и распространяются Центральным институтом типового проектирования (Акционерное общество ЦИТП) две серии альбомов типовых чертежей:

1. Серия 5.407.93 «Конструктивные узлы комплектных осветительных устройств (КОУ) со щелевыми световодами для промышленных помещений с нормальными условиями среды и пожароопасными зонами». Разработчик Пермское отделение ВНИПИ Тяжпромэлектропроект, ответственный исполнитель С.Н. Силантьев, 1987 г.

2. Серия 5.407.94 «Конструктивные узлы комплектных осветительных устройств (КОУ) со щелевыми световодами в промышленных помещениях со взрывоопасными зонами». Разработчик Куйбышевское ПТБ ВНИИПроектэлектромонтаж, ответственный исполнитель Ю.М. Арапов, 1987 г.

Таблица 2.4. Области применения КОУ со щелевыми световодами

Диаметр канала световода, мм

Количество, мощность, Вт ламп типа ДРИЗ

Класс и характеристика взрывоопасной зоны

КОУ1А

КОУ1

В-I, В-Iа, группа смесей по табл. 1.3

II-II, температура тления или самовоспламенения Сx не менее для пылей

В-Iб, все группы смесей по табл. 1.3

В-IIа, температура тления или самовоспламенения Сх, не менее, для пылей

тлеющих

самовоспламеняющихся

тлеющих

самовоспламеняющихся

275

1´250

T1-T6

120

105

ограничений нет

160

170

1´400

T1-T5

140

130

200

225

1´700

T1-T4

170

180

280

345

600

4´250

Т1-Т6

120

105

165

175

4´400

T1-T5

150

150

195

220

4´700

Т1-Т4

170

180

260

315

х Применение КОУ разрешается при температуре тления и самовоспламенения пыли выше указанного в таблице.

Общее руководство работой осуществлял Г.Б. Бухман (Киевское отделение УГППКИ Тяжпромэлектропроект).

Каждая серия состоит из трех выпусков (альбомов):

выпуск 0 - материалы для проектирования; выпуск 1 - чертежи монтажные; выпуск 2 - чертежи изделий.

Чертежи альбомов ориентированы на установку КОУ со ЩС с каналами диаметром 275 и 600 мм. В качестве ИС используются металлогалогенные зеркальные лампы типа ДРИЗ мощностью 250, 400 и 700 Вт, одна лампа для канала диаметром 275 мм и 4 - для 600 мм.

2.6.8. Чертежи альбомов серии 5.407-93 предусматривают установку КОУ1 без переходного элемента с размещением вводных устройств с ИС и ящиков с ПРА непосредственно в освещаемом помещении на стенах, площадках, нижних поясах металлических и железобетонных ферм, под перекрытиями и светоаэрационными фонарями.

Такая установка КОУ со ЩС применяется в помещениях производственных зданий без пожаро- и взрывоопасных зон, в помещения с пожароопасными зонами всех классов, а также в помещениях с ВЗ класса В-Iб при взрывоопасных смесях горючих газов и паров ЛВЖ с воздухом всех категорий и групп, и со ВЗ класса В-IIа в зависимости от минимальной температуры тления или самовозгорания взрывоопасных пылей и мощности ламп, используемых в КОУ (см. табл. 2.4 [15]).

2.6.9. Чертежи альбомов серии 5407-94 предусматривают установку КОУ1А с переходным элементом с размещением вводных устройств с ИС и ящиков с ИРА вне освещаемого помещения со ВЗ классов В-I, В-Iа и В-II (на наружной стене здания или в смежном помещении без взрывоопасных зон (см. табл. 2.4 [15]). Установка переходного устройства предусматривается в стене помещения.

2.6.10. В альбомах обоих серий типовых чертежей указанных в пп. 2.6.8 и 2.6.9 в выпуске 0 приводятся пояснения по пользованию типовыми чертежами, таблицы выбора технических решений установки вводных, торцевых и переходных устройств КОУ и чертежи строительных заданий на установку этих устройств.

В альбоме 1 содержатся установочные чертежи указанных устройств, в альбоме 2 - чертежи деталей, изготавливаемых и собираемых в мастерских электромонтажных заготовок.

В типовых чертежах установки КОУ широко используются электромонтажные изделия, выпускаемые заводами концерна «Электромонтаж».

2.7. Способы освещения. Расположение светильников и щелевых световодов

2.7.1. Освещение помещений со ВЗ может выполняться следующими способами:

а) Светильниками, устанавливаемыми непосредственно в освещаемом помещении - взрывозащищенными для зон классов В-I, В-Iа, В-II и без средств взрывозащиты со степенью защиты 1Р53 для зон В-Iб и В-IIа;

б) щелевыми световодами с размещением каналов в освещаемом помещении, а вводных устройств и ящиков с ПРА вне освещаемого помещения (для зон классов В-I, В-Iа, В-II) и с размещением всех элементов КОУ в освещаемом помещении (для зон В-Iб и В-IIа);

Светильниками общепромышленного назначения (без средств взрывозащиты):

в) через не открывающиеся окна без фрамуг и форточек, устанавливаемых снаружи здания. При одинарном остеклении окон светильники должны иметь защитные стекла;

г) через специально устроенные в стенах ниши с двойным остекленением и вентиляцией ниш с естественным побуждением наружным воздухом;

д) через фонари специального типа, устраиваемые в потолке помещения, с двойным остекленением и вентиляцией фонарей с естественным побуждением наружным воздухом;

е) через остекленные короба, продуваемые под избыточным давлением чистым воздухом. В местах, где возможны повреждения стекол, для застекленения коробов следует применять небьющиеся стекла.

2.7.2. Освещение помещений со ВЗ, имеющих светлые потолок и верхние части стен, может выполняться отраженным светом прожекторов или светильников с зеркальными лампами, устанавливаемыми вне освещаемого помещения перед неоткрывающимися окнами с двойным остекленением и направляющими световой поток вверх на потолок и стены.

2.7.3. Выбор способов освещения помещений со ВЗ должен производиться в зависимости от местных условий (характер производства, требования к освещению, строительные особенности и т.п.) и с учетом технической целесообразности разных способов освещения.

2.7.4. Для помещений с взрывоопасной ацетилено-воздушной средой, для которой не существует светильников обеспечивающих взрывозащиту, следует применять один из перечисленных в п. 2.7.1 способов освещения с выносом светильников из освещаемого помещения.

2.7.5. При размещении светильников в помещениях со ВЗ следует руководствоваться указаниями и рекомендациями, содержащимися в светотехнических справочниках [10, 11] и других руководящих материалах по проектированию ОУ.

При этом необходимо учитывать местные особенности освещаемых помещений и предусматривать возможность удобного и безопасного обслуживания светильников.

2.7.6. При выборе мест размещения ЩС в освещаемых помещениях необходимо учитывать такие факторы, как строительные особенности помещения, характер и размещение технологического оборудования, требования к освещению, возможные места установки переходных и вводных устройств, ящиков с ПРА при их выносе из освещаемого помещения, а для случаев размещения всех элементов КОУ в освещаемом помещении возможность удобного и безопасного подхода к ним для обслуживания.

2.7.7. Места размещения светильников, выносимых за пределы освещаемых помещений с ВЗ (см. пп. 2.7.1, в, г, д, е), определяются объемно-планировочными, строительными другими местными условиями, а также необходимостью обеспечения нормируемых величин освещенности и требований к качеству освещения.

2.7.8. При проектировании освещения ВЗ использованием КОУ со ЩС необходимо выдавать строительные задания на проемы в стенах для установки переходных устройств и на конструкции креплений вводных, концевых устройств и ящиков с ПРА, а также лестниц или других приспособлений для подхода к ним для удобного и безопасного обслуживания.

2.8. Расчет освещения

2.8.1. При расчете освещения помещений со ВЗ необходимо стремиться к максимальному сокращению количества устанавливаемых светильников и соблюдению при этом нормативных требований к качеству освещения (показатель ослепленности, коэффициент пульсации освещенности при освещении разрядными лампами, равномерность освещения).

2.8.2. При расчете освещенности от светильников для помещений со ВЗ используются те же методы, что и для расчета освещения помещений без ВЗ - методы коэффициента использования, точечный, расчет по удельной мощности.

2.8.3. Величина коэффициента запаса должна приниматься в соответствии с отраслевыми нормами искусственного освещения, а при их отсутствии по общим нормам естественного и искусственного освещения [2].

2.8.4. При расчете освещения должны обеспечиваться нормативные требования к качеству освещения (показатель ослепленности, коэффициент пульсации освещенности при освещении разрядными лампами, равномерность освещения).

Соответствующие указания и рекомендации по этим показателям содержится в светотехнических справочниках [10, 11] и других материалах по проектированию ОУ.

2.8.5. Расчет освещения от КОУ со ЩС должен выполняться методом коэффициента использования по материалам, опубликованным в [16] или методом, описанным в работе [17].

РАЗДЕЛ 3 ЭЛЕКТРОТЕХНИЧЕСКАЯ ЧАСТЬ ПРОЕКТА

3.1. Источники питания. Напряжение

3.1.1. Осветительные установки (ОУ) помещений со ВЗ питаются от тех же ТП, что и ОУ всех остальных помещений и зданий предприятия.

На ТП предусматриваются трансформаторы, как правило, общие для силовых и осветительных электроприемников.

3.1.2. Светильники РО и АО должны питаться от независимых источников. Что понимается под независимыми источниками в системах электроснабжения указано в п. 1.2.10 ПУЭ [1].

В качестве независимого источника питания АО могут использоваться также аккумуляторные батареи при наличии их на предприятии, на питание от которых светильники АО автоматически переключаются при отключении основного источника питания.

3.1.3. Для питания ЭО независимый источник не требуется, оно может питаться от того же трансформатора, что и РО, но самостоятельной сетью начиная от ТП, а в зданиях, не имеющих своих ТП, самостоятельной сетью начиная от вводных устройств.

В связи с тем, что в зданиях со ВЗ в подавляющем большинстве случаев предусматривается АО, ЭО целесообразно питать также от независимого источника, используемого для питания АО. При этом сети питания АО и ЭО могут быть общими.

3.1.4. Напряжение сети питания общего освещения помещений со ВЗ принимается таким же как для общего освещения других помещений здания. В подавляющем большинстве случаев применяется система напряжения 380/220 В при заземленной нейтрали.

На некоторых объектах для питания ОУ и в том числе освещения помещений со ВЗ используется система напряжения 3´220 В без нейтрали или с изолированной нейтралью.

В отдельных случаях, при наличии технической целесообразности, питание освещения помещений со ВЗ может выполняться малым напряжением (42 В и меньше). При этом один из выводов обмотки низшего напряжения понижающего трансформатора должен зануляться (заземляться).

3.1.5. Питание отдельных светильников общего освещения BS при системе напряжения 380/220 В производится фазным напряжением 220 В, при системе 3´220 В линейным междуфазовым напряжением 220 В. При напряжении 380/220 В светильники без средств взрывозащиты с лампами типов ДРИ и ДРИЗ мощностью 250 Вт и выше должны питаться линейным напряжением 380 В.

3.1.6. При использовании для местного освещения во ВЗ светильников общего освещения (см. п. 2.4.3) для их питания может быть допущено напряжение 220 В. Такое допущение по условиям электробезопасности оправдывается тем, что конструкция взрывозащищенных светильников, используемых в зонах В-I, В-Iа, В-II и светильников со степенью защиты 1Р53, используемых в зонах В-Iб, В-IIа, обеспечивает большую эксплуатационную надежность и высокую электробезопасность светильников.

3.1.7. При использовании для местного освещения осветительных устройств, входящих в комплект технологического оборудования, напряжение питания местного освещения должно приниматься в соответствии с заданием на проектирование, получаемым от технологов.

3.1.8. Низковольтные комплектные устройства для линий питающей и групповой сети (распределительные пункты, шкафы, ящики управления, групповые щитки) должны размещаться в помещениях без ВЗ.

3.1.9. В случаях крайней необходимое например, для помещений со ВЗ больших размеров или при невозможности установки групповых щитков в других помещениях и т.п., в помещениях со ВЗ могут устанавливаться взрывонепроницаемые (взрывобезопасные) групповые щитки типа ЩОВ, предназначенные для зон классов В-Iа, В-Iб, В-II, В-IIа, в которых могут образовываться взрывоопасные смеси категорий ПА, ПВ (табл. 1.2) температурных групп Т1, Т2, Т3, Т4 (табл. 1.3).

Щитки типа ЩОВ предназначены для напряжения 380/220 В. Технические характеристики щитков приведены в табл. 3.1, электрические схемы на рис. 2 общий вид на рис. 3.

Щитки имеют 2 вводных отверстия для труб диаметром 2" и 4 отверстия для труб диаметром 1". Рукоятки управления вводным разъединителем и автоматами групповых линий выведены на крышки корпуса щитка.

Таблица  3.1 Щитки осветительные взрывонепроницаемые (взрывобезопасные) типа ЩОВ

Щит щитка

Аппарат на вводе

Автоматы на группах

Масса, кг

Тип

Ток расцепителя, А

Количество

однополюсных

трехполюсных

ЩОВ-1А

Трехполюсный разъединитель

АЕ2044

16

6

 

100

АЕ2046

50

 

2

 

ЩОВ-2А

То же

АЕ2044

16

12

-

110

Рис. 2. Схемы принципиальные электрические щитков:

а - ЩОВ-1А; б - ЩОВ-2А.

Х0, X1, Х2, Х3 - проходные зажимы; Х4 - заземляющие зажимы; S1, S2, S3 - автоматы.

Рис. 3. Щитки ЩОВ-1A, ЩОВ-2А. Общий вид, габаритные и установочные размеры.

1 - основной корпус; 2 - крышка основного корпуса; 3 - корпус вводного разъединителя; 4 - корпус вводного устройства; 5 - рукоятка управления вводного разъединителя.

3.1.10. Предусматривать во ВЗ штепсельные розетки не следует ввиду отсутствия взрывозащищенных штепсельных разъемов, предназначенных для осветительных сетей.

При необходимости использования во ВЗ переносных взрывозащищенных светильников, не имеющих автономных источников питания (т.е. питаемых от штепсельной сети), штепсельные розетки для подключения светильников должны размещаться вне ВЗ. При этом напряжение штепсельных розеток должно приниматься 12 В, т.к. переносные взрывозащитные светильники имеют ЛН на напряжение 12 В.

3.2. Схемы питания

3.2.1. Для освещения помещений со ВЗ применяются тоже схемы питающих и групповых сетей, что и для питания освещения помещений без ВЗ. Рекомендуемые схемы питания приводятся в светотехнических справочниках, например [12].

3.2.2. Линии питающей сети освещения помещений со ВЗ, в зависимости от их размеров, расположения помещений в здании, количества и мощности устанавливаемых в них светильников могут быть самостоятельными, предназначенными только для питания освещения помещений со ВЗ или общими для питания освещения других помещений.

3.2.3. Групповые щитки для линий питания светильников ВЗ могут быть самостоятельными, предназначенными только для ВЗ или общими для групповых линий других помещений.

3.2.4. При питании от общих щитков светильников ВЗ и других помещений при небольшом количестве светильников во ВЗ допускается питать эти светильники общей групповой линией со светильниками других помещений, за исключением светильников, устанавливаемых в зонах класса В-I, которые должны питаться самостоятельными групповыми линиями.

3.2.5. При системе напряжения 380/220 В групповые линии, питающие светильники во ВЗ всех классов, кроме класса В-I, могут выполняться по системе фаза и нуль (двухпроводные), две фазы и нуль (трехпроводные) и три фазы и нуль (четырехпроводные) с использованием для зануления светильников рабочего нулевого провода. Во всех случаях на участке от ближайшей к светильнику ответвительной коробки до светильника должен предусматриваться зануляющий проводник.

3.2.6. При системе напряжения 380/220 В групповые линии, питающие светильники в зонах класса В-I, должны выполняться однофазными с установкой аппарата защиты как в фазном, так и в рабочем нулевом проводах и предусматриваться прокладка от щитка к светильникам самостоятельного зануляющего проводника (трехпроводная линия).

3.2.7. При системе напряжения 3´220 В групповые линии питания светильников во ВЗ всех классов могут выполняться двухфазными трехпроводными или трехфазными четырехпроводными; в последнем случае предусматривается поочередное присоединение светильников к разным парам фаз сети (АВ, АС, ВС и т.д.). Для заземления светильников в обоих случаях в групповой линии должен предусматриваться дополнительный заземляющий проводник.

3.2.8. При системе напряжения 380/220 В к каждой фазе групповой линии должно присоединяться не более 20 светильников с ЛН, ДРЛ, ДРИ, ДНаТ и не более 50 светильника с ЛЛ питаемых фазным напряжением 220 В, к каждой двухфазной линии 380 В не более 20, к трехфазной линии 380 В не более 30 светильников, питаемых линейным напряжением 380 В.

3.2.9. При системе напряжения 3х220 В каждой двухфазной трехпроводной групповой линией должно питаться не более 20 светильников, трехфазной четырехпроводной не более 30 светильников с ЛН, ДРЛ, ДРИ, ДНаТ, и не более соответственно 50 и 75 люминесцентных ламп.

3.3. Защита сетей

3.3.1. Осветительные сети в помещениях со ВЗ всех классов кроме класса В-Iб, должны защищаться от токов короткого замыкания (КЗ) и от перегрузки. Для зон класса В-Iб необходима защита только от тока КЗ.

3.3.2. Защита сетей осуществляется аппаратами защиты - автоматическими выключателями (автоматами) или предохранителями, отключающими защищаемую линию при протекании по ней тока более определенной величины.

3.3.3. Для защиты осветительных сетей наиболее распространены автоматы, совмещающие в себе функции как защитного, так и отключающего аппарата.

3.3.4. Для сетей освещения и в том числе сетей освещения ВЗ используются автоматы с комбинированными (тепловыми и электромагнитными) расцепителями. Применение автоматов с электромагнитными мгновенно действующими расцепителями для осветительных сетей не рекомендуется.

3.3.5. Аппараты защиты должны устанавливаться в цепях всех нормально не заземленных фазах или полюсах.

Установка аппаратов защиты в цепях нулевых проводников системы напряжения 380/220 В с заземленной нейтралью запрещается за исключением однофазных двухпроводных групповых линий, питающих светильники в зонах класса В-I, для которых расцепители автоматов должны устанавливаться в цепях как фазных, так и нулевых проводников.

3.3.6. Соотношение между наибольшими допустимыми токами проводников сети освещения ВЗ Iп и номинальными токами аппаратов защиты (уставками автоматов с комбинированными нерегулируемыми расцепителями или плавкими элементами предохранителей) I3 должно быть:

При защите от токов КЗ и перегрузки для автоматов

Iп ≥ I3;            I3 ≤ Iп;

для предохранителей

Iп ≥ 1,25 I3;          I3 ≤ 0,8 Iп.

При защите только от токов КЗ (класс В-Iб)

для автоматов

IпI3;                   I3Iп;

для предохранителей

Iп ≥ 0,33 I3;                    I3 ≤ 3 Iп.

3.3.7. Защита сетей освещения ВЗ должна обеспечивать надежное отключение аварийного участка с наименьшим временем и по возможности с учетом требований селективности.

Указания по обеспечению надежности отключения осветительных сетей помещений со ВЗ приведены далее в п. 3.5.10.

3.3.8. Для обеспечения требований селективности защиты номинальные токи уставок автоматов или плавких элементов предохранителей каждого последующего по направлению к светильникам аппарата защиты рекомендуется принимать не менее чем на 2 ступени ниже, чем предыдущего, если это не приводит к завышению сечения проводников сети. Разница не менее чем на одну ступень обязательна при всех условиях.

3.3.9. Номинальные токи уставок автоматов и плавких элементов предохранителей следует выбирать по возможности наименьшими, по расчетным токам защищаемых участков сети.

3.3.10. Аппараты защиты должны устанавливаться в начале каждой линии питающей и групповой сети. Размещать аппараты защиты следует вне помещений со ВЗ за исключением случаев, когда во ВЗ устанавливаются взрывозащищенные групповые щитки типа ЩОВ (п. 3.1.9).

3.3.11. Для защиты групповых линий, питающих светильники, устанавливаемые во ВЗ, используются одно, двух и трехполюсные автоматы.

3.3.12. При системе напряжения 380/220 В рекомендуется применять автоматы:

однополюсные для одно-, двух- и трехфазных групповых линий, питающих светильники фазным напряжением 220 В во ВЗ всех классов, за исключением класса В-I;

двухполюсные для однофазных двухпроводных групповых линий, питающих светильники напряжением 220 В в зонах класса В-I;

трехполюсные для трехфазных четырехпроводных групповых линий, питающих междуфазовым (линейным) напряжением 380 В светильники с лампами типа ДРИ мощностью 250 Вт и более и лампы типа ДРИЗ мощностью 250, 400, 700 Вт, устанавливаемые в КОУ со ЩС (см. пп. 2.5, 2.6). Трехполюсные автоматы могут использоваться также в качестве двухполюсных для групповых линий, питающих светильники напряжением 220 В в зонах класса В-I; при этом один из полюсов автомата не используется.

3.3.13. При системе напряжения 380/220 В в случаях, когда для питания светильников в зонах класса В-I прокладывается не более двух групповых линий, для соблюдения требования об установке аппарата защиты в цепи нулевого проводника, взамен группового щитка рекомендуется использовать для каждой групповой линии двух- или трехполюсный одиночный автомат.

При большем количестве таких групповых линий целесообразно применение группового щитка с трехполюсными автоматами (например, распределительного пункта серии ПРII), питаемого по системе, 2 фазы и нуль, с присоединением нулевого проводника питающей линии к одной из фазных и к нулевой шинам щитка, а двух других фаз питающей линии к двум другим фазным шинам щитка. При этом нулевая шина щитка используется для присоединения заявляющих проводников групповых линий (рис. 4).

3.3.14. При системе напряжения 3´220 В для ВЗ всех классов рекомендуется применять двух- и трехполюсные автоматы: двухполюсные для двухфазных, трехполюсные для трехфазных групповых линий.

Однополюсные автоматы применять не следует, как и обеспечивающий одновременное отключение всех фаз сети.

3.3.15. Распределительные пункты и групповые щитки для питания групповых линий при системе напряжения 3´220 В должны укомплектовываться трехполюсными автоматами. При двухфазных групповых линиях один из полюсов трехполюсного автомата не используется, а для выравнивания нагрузок по фазам сети двух фазные групповые линии должны поочередно присоединяться к разным парам фаз (АВ, АС, ВС и т.д.).

3.4. Управление освещением

3.4.1. Для помещений со ВЗ принимаются тоже основные положения и принципы управления (включения и отключения) освещения, что и для помещений без ВЗ.

Указания по проектированию систем управления освещением промышленных предприятий содержатся в [18].

Далее приводятся отдельные указания и рекомендации которые необходимо учитывать при проектировании управления освещением помещений со ВЗ.

3.4.2. Системы и схемы управления освещением ВЗ должны предусматривать возможность независимого включения РО и АО (ЭО). АО и ЭО могут включаться и отключаться одновременно.

Рис. 4. Схема питания светильников в зоне класса В-I от группового щитка с трехполюсными автоматами.

A, B, N - фазы и нейтраль сети системы напряжения 380/220 В;

1 - групповой щиток (распределительный пункт); 2 - линия питающей сети; 3 - групповая линия; 4 - светильник.

3.4.3. Системы и схемы управления освещением ВЗ должны обеспечивать повторное автоматическое включение освещения при восстановлении напряжения в линиях осветительной сети после его кратковременного или длительного исчезновения.

3.4.4. Для помещений со ВЗ применяются системы централизованного (непосредственного прямого или дистанционного) и местного управления освещением или сочетание этих систем.

3.4.5. При системе централизованного непосредственного (прямого) управления в качестве аппаратов управления используются, как правило, автоматы линий питающей или групповой сети, установленные на распределительных пунктах или групповых щитках.

3.4.6. При системе дистанционного управления в качестве аппаратов управления используются магнитные пускатели, включаемые в линии питающей или групповой сети.

3.4.7. Местное управление осуществляется выключателями или другими коммутационными аппаратами, размещаемыми вблизи освещаемых помещений со ВЗ.

3.4.8. Выбор систем управления освещением должен производиться в зависимости от характера и особенностей производства и других местных факторов. Можно привести только некоторые общие соображения и рекомендации.

Централизованное управление освещением целесообразно для больших помещений со ВЗ. При этом выбор между непосредственным и дистанционным управлением производится с учетом местных особенностей объекта.

Местное управление целесообразно для освещения небольших помещений со ВЗ.

При системе централизованного управления освещением для отдельных светильников или их групп, в случаях наличия технической целесообразности может предусматриваться дополнительное местное управление.

3.4.9. Аппараты управления освещением должны размещаться вне помещений со ВЗ. Исключением являются случаи, когда в помещениях со ВЗ устанавливаются взрывобезопасные групповые щитки типа ЩОВ, автоматы или вводные выключатели которых могут использоваться для управления освещением (см. пп. 3.1.9, 3.3.10).

3.4.10. В сетях напряженнее 380/220 В с заземленной нейтралью аппараты управления должны устанавливаться во всех фазных проводниках. Установка аппаратов управления в нулевых проводниках запрещается за исключением однофазных двухпроводных групповых линий зон класса В-I, для которых аппараты управления устанавливаются в фазном и нулевом проводниках и должно предусматриваться одновременное включение и отключение фазного и нулевого проводников.

При питании светильников фазным напряжением 220 В для групповых линий, выполняемых по системе 2 фазы и нуль и 3 фазы и нуль могут применяться однополюсные аппараты управления, самостоятельные для каждой фазы сети.

При питании светильников линейным напряжением 380 В аппараты управления должны обеспечивать одновременное включение и отключение всех фазных проводников.

3.4.11. В сетях напряжением 3´220 В без нейтрали и в сетях постоянного тока аппараты управлении должны предусматриваться во всех рабочих проводниках линии и обеспечиваться их одновременное включение и отключение (см. п. 3.3.13, рис. 4).

3.4.12. Управление освещением отдельных участков помещений с разной естественной освещенностью должно быть раздельным. В помещениях с естественным боковым освещением рекомендуется предусматривать включение светильников рядами, параллельными окнам.

3.4.13. Распределительные пункты и групповые щитки, автоматы вторых используются для централизованного управления освещением, а также аппараты местного управления освещением, должны устанавливаться в доступных и удобных для обслуживания местах.

3.5. Расчеты сетей

3.5.1. Линии питающей и групповой сети помещений со ВЗ, как и осветительные сети всех помещений должны рассчитываться на механическую прочность на нагрев при протекании по ним тока осветительной нагрузки, на допустимую потерю напряжения и на надежность отключения при однофазном коротком замыкании (КЗ), происходящем в конце линии.

3.5.2. Из четырех значений сечений линий, определенных из условий, указанных в п. 3.5.1, должно выбираться большее.

3.5.3. По условиям механической прочности сечения проводов и кабелей во ВЗ должны быть не менее указанных в табл. 3.2.

3.5.4. Для расчета сети по току нагрузки и потере напряжения необходим подсчет расчетной нагрузки, величина которой складывается из установленной мощности ламп, питаемых линией, а при использовании разрядных ламп (РЛ) типов люминесцентных (ЛЛ), ДРЛ, ДРИ, ДРИЗ с добавлением потерь мощности в пускорегулирующих аппаратах.

Величина потерь, мощности составляет в среднем для ЛЛ 20 % для ламп ДРЛ, ДРИ и ДРИЗ мощностью до 250 Вт включительно 10 %, более 250 Вт 5 % от мощности ламп.

3.5.5. При расчете групповой сети помещений со ВЗ по току нагрузки и на потерю напряжения коэффициент спроса принимается равным 1.

3.5.6. Допустимые по условию нагрева проводников нагрузки на провода и кабели приведены в главе 1.3 ПУЭ [1], где допустимые токовые нагрузки указаны для температуры окружающей среды при прокладке в воздухе + 25 °С, при прокладке в земле + 15 °С. Для других значений температуры допустимые токовые нагрузки, взятые из таблиц ПУЭ, должны умножаться на коэффициенты, приведенные в табл. 1.3.3. ПУЭ.

3.5.7. Определение расчетного тока линий I, А производится по формулам:

для трехфазных линий с рабочим нулем и без рабочего нулевого провода при равномерной нагрузке фаз:

;                                                     (1)

для двухфазной линии с рабочим нулем при равномерной нагрузке фаз:

;                                                         (2)

Таблица 3.2. Минимальные значения сечений жил проводов и кабелей по механической прочности в помещениях со взрывоопасными зонами

Вид прокладки проводов и кабелей

Минимальные сечения жил проводов и кабелей

медных

алюминиевых

Провода в металлических трубах по строительным конструкциям, в полу

1

2

Кабели по строительным конструкциям, по тросу (или стальной проволоке)*, на лотках, в коробах к неподвижным электроприемникам

0,5

2

Кабели в гибких рукавах

0,5

2

Кабели многожильные гибкие для переносных электроприемников

0,75

-

Заземляющие и нулевые защитные проводники:

 

 

изолированные провода

1

2

жилы кабелей

1

2

* Минимальный диаметр стального троса 2 мм, стальной проволоки 5 мм.

для однофазной двухпроводной и двухфазной двухпроводной линии

;                                                           (3)

для каждой из фаз двух- и трехфазной линии с нулем при любой, в том числе неравномерной нагрузке фаз

;                                                          (4)

где: Р3, Р2, Р1 - активная мощность, кВт, включая потери в ПРА при РЛ соответственно для трех- двух- и однофазной двух проводной (или двухфазной двухпроводной) линии;

Pф - активная мощность, кВт, включая потери в ПРА при РЛ для какой либо фазы трехфазной четырехпроводной или двухфазной трехпроводной линии;

Uл, Uф, Uн - напряжение сети, кВ, соответственно линейное (междуфазное), фазное номинальное (т.е. фазное или линейное);

соs φ - коэффициент мощности нагрузки.

3.5.8. Значение коэффициента мощности для светильников с разными источниками свата следует принимать в соответствии с табл. 3.3.

3.5.9. Расчет осветительных сетей ВЗ на потерю напряжения производится, как и для всех других помещений, по таблицам моментов нагрузки (кВт/м). Описание способа расчета величины располагаемых потерь напряжения и таблица моментов нагрузки приведены в светотехнических справочниках и других работах по проектированию осветительных установок, например [10, 12].

Таблица 3.3. Значение коэффициента мощности для светильников с разными источниками света

Светильники c источниками света

Среднее значение cоs φ

С лампами накаливания

1

Взрывозащищенные с люминесцентными лампами

 

одноламповые

0,5

двухламповые

0,92

Взрывозащищенные с лампами типов ДРЛ, ДРИ мощностью:

 

175 Вт и меньше

0,45

250 Вт

0,5

Комплектные осветительные устройства со щелевыми световодами с лампами типа ДРИЗ мощностью 250, 400, 700 Вт

0,32*

*Комплект лампы типа ДРИЗ-ПРА питается напряжением 380 В.

3.5.10. Для надежного отключения сети освещения помещений со ВЗ ток однофазного КЗ в конце групповой линии должен быть не менее шестикратного номинального тока расцепителя автомата групповой линии или четырехкратного номинального тока плавкого элемента предохранителя групповой линии.

Указания по определению тока КЗ в осветительных сетях приведены в [10, 19].

3.6. Выполнение сетей

3.6.1. В помещениях со ВЗ классов В-I и В-Iа должны применяться провода и кабели с медными жилами, в помещениях со ВЗ классов В-Iб, В-II, В-IIа и наружных ВЗ класса В-Iг допускаются провода и кабели с алюминиевыми жилами.

3.6.2. Осветительные сети в помещениях со ВЗ должны выполняться:

в зонах классов В-I и В-II изолированными проводами в открыто и скрыто проложенных стальных водо-газопроводных трубах;

в зонах классов В-Iа, В-Iб, В-IIа при отсутствии механических и химических воздействий на оболочки кабелей - открыто прокладываемыми небронированными кабелями с поливинилхлоридной и резиновой оболочкой.

При опасности механических повреждений небронированные кабели следует защищать стальными трубами или металлическими уголками, при опасности химических воздействий на оболочки кабелей рекомендуется применять изолированные провода, прокладываемые в стальных водогазопроводных трубах.

3.6.3. Во ВЗ любого класса для осветительных сетей могут применяться:

провода с поливинилхлоридной и резиновой изоляцией;

кабели с поливинилхлоридной и резиновой изоляцией и оболочкой.

Применение проводов и кабелей с полиэтиленовой изоляцией или оболочкой во ВЗ любого класса запрещается.

3.6.4. Открыто прокладываемые кабели во ВЗ любого класса не должны иметь наружные покровы и покрытия из горючих материалов (джута, битума, хлопчатобумажных опилок и т.п.).

3.6.5. Небронированные кабели групповых линий, прокладываемые во ВЗ всех классов должны иметь круглую форму для обеспечения надежного уплотнения при вводе кабелей в проходные ответвительные коробки и светильники.

3.6.6. Нулевые рабочие, и нулевые защитные проводники должны иметь изоляцию, равноценную изоляции фазных проводников.

3.6.7. В помещениях со ВЗ класса В-I прокладка групповых линий запрещается. Групповые линии следует прокладывать вне помещений с зонами В-I и предусматривать ответвления от них к светильникам, останавливаемым в зоне В-I.

3.6.8. В помещениях со ВЗ классов В-Iа, В-Iб, В-II и В-IIа линии групповой осветительной сети рекомендуется прокладывать вне ВЗ. В случаях затруднений в выполнении этой рекомендации, например, в производственных помещениях больших размеров, количество устанавливаемых во ВЗ на этих линиях соединительных и ответвительных коробок должно быть по возможности минимальным.

3.6.9. Через помещение со ВЗ любого класса, если весь объем помещения является ВЗ или через ВЗ любого класса, если ВЗ занимает часть объема помещения (см. п. 1.1.8) на расстоянии не менее 5 м по горизонтали и вертикали от ВЗ запрещается прокладывать не относящиеся к данному технологическому процессу (производству) транзитные осветительные электропроводки. Допускается их прокладка через помещение, весь объем которого является ВЗ или на расстоянии менее 5 м по горизонтали и вертикали от ВЗ в случаях, когда ВЗ занимает часть объема помещения, при выполнении дополнительных защитных мероприятий, например, прокладка транзитных линий, в трубах закрытых коробах, в полах.

3.6.10. В зонах класса В-I при выполнении осветительной сети изолированными проводами в стальных водогазопроводных трубах ответвления к светильникам должны выполняться с помощью взрывобезопасных ответвительных коробок, имеющих уровень взрывозащиты, соответствующий характеру взрывоопасных смесей в данной зоне.

В качестве таких коробок могут использоваться чугунные взрывозащищенные тройниковые коробки, изготавливаемые Концерном «Электромонтаж» для труб диаметром 3/4" и 1" типов Кт 3/4" У 3,5 и КТ 1" У 3,5 [20] для взрывоопасных смесей категорий 1-4 (табл. 1.2) и групп Т1-Т5 (табл. 1.3). Степень защиты коробок IP 65.

3.6.11. В зонах класса В-II при выполнении осветительных сетей изолированными проводами в стальных водогазопроводных трубах ответвления к светильникам должны выполняться с помощью коробок, специально предназначенных для ВЗ со смесями горючих пылей или волокон с воздухом.

При отсутствии таких коробок допускаются коробки, указанные в п. 3.6.10 для зон класса В-I.

3.6.12. В зонах класса В-Iа для осветительных сетей, прокладываемых небронированным кабелем, должны применяться ответвительные коробки со степенью защиты IP 65. Для таких электропроводок большое распространение получила пластмассовая коробка типа У 409, имеющая 4 сальниковых рожка для уплотненного ввода кабелей наружным диаметром до 16 мм. Степень защиты коробки IP 65 [20].

3.6.13. В зонах класса В-Iб и В-IIа для осветительных сетей, выполняемых небронированными кабелями, должны применяться ответвительные коробки со степенью защиты IP 54. До освоения промышленностью коробок со степенью защиты IP 54 могут применяться коробки со степенью защиты IP 44 или коробки с более высокой степенью защиты типа У 409 (см. п. 3.6.12).

3.6.14. При переходе труб электропроводки из помещения со ВЗ классов В-I и В-Iа в помещение с нормальной средой или во ВЗ другого класса, с другой категорией или группой взрывоопасной смеси, или наружу, трубы с проводами в местах перехода через стену должны иметь разделительные уплотнения в специально для этого предназначенных коробках.

Во ВЗ классов В-Iб, В-II и В-IIа установка разделительных уплотнений не требуется.

3.6.15. Разделительные уплотнения должны устанавливаться:

а) в непосредственной близости от места ввода трубы во ВЗ;

б) при прокладке трубы из ВЗ одного класса в помещение ВЗ более высокого класса;

в) при прокладке трубы из одной ВЗ в другую того же класса - в помещение с более высокими категорией и группой взрывоопасной смеси.

Допускается установка разделительного уплотнения со стороны невзрывоопасной зоны, или снаружи, если во ВЗ установка разделительного уплотнения невозможна.

3.6.16. В качестве разделительных уплотнений для групповой сети могут использоваться проходные чугунные взрывозащищенные коробки для труб диаметром 3/4" и 1", изготавливаемые концерном «Электромонтаж»: проходные прямые типа КПП-20УI, КПП-25УI и проходные через одно типа КПД-20УI, КПД-25УI.

3.6.17. Ввод в светильники проложенных в трубах проводов должен выполняться совместно с трубой, при этом в трубе на вводе в светильник должно быть установлено разделительное уплотнение, если во вводном устройстве светильника такое уплотнение отсутствует.

3.6.18. Отверстия в стенах и полах для прохода кабелей и труб электропроводки должны быть плотно заделаны несгораемыми материалами.

3.7. Зануление и заземление.

3.7.1. Во ВЗ всех классов занулению (заземлению) подлежат все металлические нетоковедущие части осветительных установок при всех значениях напряжения переменного и постоянного тока.

3.7.2. В осветительных сетях с заземленной нейтралью во ВЗ любого класса кроме класса В-I, в групповых линиях на участке сети от светильника до ближайшей ответвительной коробки зануление светильника осуществляется отдельным проводником, присоединяемым к нулевому рабочему проводу групповой линии.

В зонах класса В-I зануление светильников осуществляется отдельным проводником, проложенным от светильника до ближайшего группового щитка.

3.7.3. В сетях напряжением 3´220 В без нейтрали (или с изолированной нейтралью) и в сетях малого напряжения (42 В и менее) для заземления светильников в групповых линиях должен предусматриваться отдельный заземляющий проводник.

3.7.4. В сетях с заземленной нейтралью нулевые защитные проводники всех звеньев сети должны быть проложены в общих оболочках (кабелях, трубах) с фазными проводами.

3.7.5. В сетях напряжением 3´220 В без нейтрали или с изолированной нейтралью заземляющие проводники могут прокладываться как в общей оболочке с фазными проводниками, так и отдельно от них.

3.7.6. В осветительных установках со ВЗ использование металлических конструкций зданий, конструкций производственного оборудования, стальных труб электропроводки в качестве нулевых защитных (заземляющих) проводников допускается только как дополнительное мероприятие.

Приложение

Категории помещений по взрывопожарной и пожарной опасности

Таблица  1 из ОНТП 24-86/МВД СССР «Общесоюзные нормы технологического проектирования. Определение категорий помещений и зданий по взрывоопасной и пожарной опасности».

Категория помещения

Характеристика веществ и материалов, находящихся (обращающихся) в помещении

1

2

А взрывопожароопасная

Горючие газы, легковоспламеняющиеся жидкости с температурой вспышки не более 20 °С в таком количестве, что могут образовываться взрывоопасные парогазовоздушные смеси, при воспламенении которых развивается расчетное избыточное давление взрыва в помещении, превышающее 5 кПа.

Вещества и материалы, способные взрываться или гореть при взаимодействии с водой, кислородом воздуха или друг с другом в таком количестве, что расчетное избыточное давление взрыва в помещении превышает 5 кПа.

Б

взрывопожароопасная

Горючие пыли или волокна, легковоспламеняющиеся жидкости с температурой вспышки более 28 °С, горючие жидкости в таком количестве, что могут образовывать взрывоопасные пылевоздушные или паровоздушные смеси, при воспламенении которых развивается избыточное плавление взрыва в помещении, превышающее 5 кПа.

В

пожароопасная

Горючие и трудносгораемые жидкости, твердые горючие и трудносгораемые вещества и материалы (в том числе пыли и волокна), вещества и материалы, способные при воздействии с водой, кислородом воздуха или друг с другом только гореть, при условии, что помещения, в которых они имеются, в наличии или обращаются, не относятся к категориям А или Б.

Г

Негорючие вещества и материалы в горячем, раскаленном или расплавленном состоянии, процесс обработки которых сопровождается выделением лучистого тепла, искр и пламени; горючие газы, жидкости и твердые вещества, которые сжигаются и утилизируются в качестве топлива.

Д

Негорючие вещества и материалы в холодном состоянии.

Принятые сокращения

АО             - аварийное освещение

ВЗ              - взрывоопасные зоны

ДРИ           - дуговые ртутные металлогалогенные лампы

ДРИЗ         - дуговые ртутные металлогалогенные зеркальные лампы

ДРЛ           - дуговые ртутные люминесцентные лампы с исправленной цветностью

КЗ              - короткое замыкание

КОУ           - комплектные осветительные устройства

ЛВЖ          - легко воспламеняющаяся жидкость

ЛЛ             - люминесцентные лампы

ЛН             - лампы накаливания

ОУ             - осветительные установки

ПРА           - пускорегулирующий аппарат

ПУЭ           - Правила устройства электроустановок

РЛ              - разрядные лампы

РЛВД         - разрядные лампы высокого давления

РО              - рабочее освещение

СНиП         - Строительные Нормы и Правила

ТП              - трансформаторная подстанция

ЩС            - щелевые световоды

ЭО              - эвакуационное освещение

Список литературы

1. Правила устройства электроустановок (ПУЭ). Издание 6. М. Энергоатомиздат, 1986, 648 с.

2. СНиП II-4-79. Естественное и искусственное освещение. Нормы проектирования (с изменениями). «Светотехника», 1991, № 6, с. 1-31.

3. И.Я. Пикман. Электрическое освещение взрывоопасных и пожароопасных зон. М. Энергоиздат, 1985, 105 с.

4. Рекомендации по освещению наружных установок во взрывоопасных зонах. Материалы для проектирования. Шифр работы М4166. ВНИПИ Тяжпромэлектропроект, 1993, 26 листов.

5. Общесоюзные нормы технологического проектирования. Определение категорий помещений и зданий по взрывоопасной и пожарной опасности. ОНТП 24-86/МВД СССР.

Ротапринт ВНИПИ Тяжпромэлектропроект.

6. ГОСТ 17677-82. Светильники. Общие технические условия.

7. ПИВРЭ. Правила изготовления взрывозащитного и рудничного электрооборудования. - М. Энергия, 1970, 223 с.

8. ПИВЭ. Правила изготовления взрывозащищенного электрооборудования. - М. Госэнергоиздат. 1963, 90 с.

9. Справочная книга по светотехнике. Под редакцией Ю.Б. Айзенберга. - М. Энергоатомиздат, 1983, 472 с.

10. Справочная книга для проектирования электрического освещения. Под редакцией Г.М. Корринга. - Л. Энергия, 1976, 384 с.

11. Справочник по проектированию осветительных установок промышленных предприятий. Том 1. Светотехническая часть.

Книга 1, главы 1-4, шифр Л3121, 383 листа;

Книга 2, главы 5, 6, шифр Л3126, 238 листов. Ротапринт Ленинградского отделения ВНИПИ Тяжпромэлектропроект, 1991.

12. Справочник по проектированию осветительных установок промышленных предприятий. Том 2. Электротехническая часть.

Книга 1, глава 7-11, шифр М4139, 147 листов; книга 2, главы 12-16, шифр М4140, 169 листов. Ротапринт ВНИПИ Тяжпромэлектропроект, 1991.

13. ГОСТ 14254-80. Изделия электротехнические. Оболочки. Степени защиты.

14. Ю.Б. Айзенберг. Световые приборы. М. Энергия 1980, 464 с.

15. Ю.Б. Айзенберг., Г.Б. Бухман, С.А. Клюев. Применение комплектных осветительных устройств со щелевыми световодами во взрывоопасных зонах. «Светотехника», 1988, № 8, с. 26.

16. А.А. Коробко. Коэффициенты использования осветительных установок со щелевыми световодами. «Светотехника» 1988, № 4, с. 28.

17. Опыт проектирования осветительных установок со щелевыми световодами. Шифр работы 1511-502. Ротапринт Киевского отделения УГППКИ Тяжпромэлектропроект, 1986, 106 листов.

18. Справочник по проектированию систем управления освещением промышленных предприятий. Шифр М4155, 52 листа. Ротапринт ВНИПИ Тяжпромэлектропроект, 1992.

19. Расчеты сетей наружного освещения. Шифр М4164, 43 листа. Ротапринт ВНИПИ Тяжпромэлектропроект, 1993.

20. Электромонтажные устройства и изделия. Справочник. - М. Энергоатомиздат, 1988, 256 с.




Rambler's Top100 Яндекс цитирования
  Copyright © 2008-2026, www.docload.ru