Бесплатная библиотека стандартов и нормативов www.docload.ru

Все документы, размещенные на этом сайте, не являются их официальным изданием и предназначены исключительно для ознакомительных целей.
Электронные копии этих документов могут распространяться без всяких ограничений. Вы можете размещать информацию с этого сайта на любом другом сайте.
Это некоммерческий сайт и здесь не продаются документы. Вы можете скачать их абсолютно бесплатно!
Содержимое сайта не нарушает чьих-либо авторских прав! Человек имеет право на информацию!

 

ГОСУДАРСТВЕННЫЙ СТАНДАРТ СОЮЗА ССР

ДЕТАЛИ КРЕПЛЕНИЯ ТРУБОПРОВОДОВ

СКОБЫ ТРЕХМЕСТНЫЕ

Конструкция и размеры

ГОСТ 24135-80

ИЗДАТЕЛЬСТВО СТАНДАРТОВ

Москва

ГОСУДАРСТВЕННЫЙ СТАНДАРТ СОЮЗА ССР

Детали крепления трубопроводов

СКОБЫ ТРЕХМЕСТНЫЕ

Конструкция и размеры

Pipe-line fastening parts.
Three-seat cramps.
Design and dimensions

ГОСТ
24135-80

Взамен
ГОСТ 16689-71

Постановлением Государственного комитета СССР по стандартам от 25 апреля 1980 г. № 1891 срок введения установлен

с 01.01.81

Ограничение срока действия отменено, ИУС II-12-94

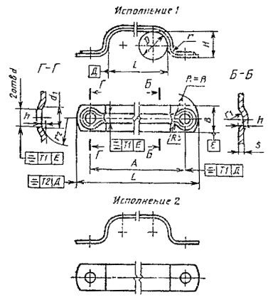
1. Настоящий стандарт распространяется на трехместные скобы диаметром D от 4 до 50 мм.

2. Конструкция и размеры трехместных скоб должны соответствовать указанным на чертеже и в таблице.

Примечания:

1. Все размеры, кроме размеров В и s, обеспечиваются инструментом

2. Отклонение от центра радиуса R относительно оси поверхности Е не должно быть более 1 мм.

Размеры, мм

D

A ± 0,5

b ´ s для исполнений

Н

L

d

H14

d1

h

l

r

r1

r2

Масса 1000 шт., кг, для исполнения

Применяемость для исполнений

1

2

Номин.

Пред. откл.

1

2

1

2

4

30

16 ´ 1,0

16 ´ 1,6

3

46

5,8

9

1,0

12

±0,6

3

2

10

5,7

9,1

 

 

5

32

4

48

15

6,1

9,8

6

38

16 ´ 2

5

54

18

6,8

13,6

8

42

6

58

24

7,7

15,4

10

48

8

64

30

8,9

17,8

12

55

10

71

37

10,1

20,2

14

67

18 ´ 1,6

18 ´ 3

12

85

7,0

10

1,4

43

5

3

10

21,9

40,9

 

 

16

73

14

91

49

24,1

45,1

18

78

16

96

54

25,6

47,9

20

85

18

102

61

27,9

52,2

22

100

22 ´ 1,6

22 ´ 3

20

122

9,0

14

70

38,8

72,6

25

108

22

130

78

42,9

80,2

28

118

24

140

88

46,5

86,9

32

130

28

152

100

51,5

96,3

36

140

32

162

110

55,7

104,2

40

160

30 ´ 2,0

30 ´ 3

30

190

2,0

125

±1,0

6

4

16

111,0

166,5

45

175

40

205

140

120,9

181,9

50

190

45

220

155

132,5

198,7

Пример условного обозначения трехместной скобы исполнения 1 D = 20 мм из стали марки 08 кп с покрытием Хим. фос прм:

Скоба 1-20-08кп-Хим.фос.прм ГОСТ 24135-80

То же, исполнения 2 из стали марки 12Х18Н10Т с покрытием Хим. Пас.:

Скоба 2-20-12Х18Н10Т-Хим.Пас. ГОСТ 24135-80.

3. Технические требования - по ГОСТ 24140-80.




Rambler's Top100 Яндекс цитирования
  Copyright © 2008-2026, www.docload.ru