Бесплатная библиотека стандартов и нормативов www.docload.ru

Все документы, размещенные на этом сайте, не являются их официальным изданием и предназначены исключительно для ознакомительных целей.
Электронные копии этих документов могут распространяться без всяких ограничений. Вы можете размещать информацию с этого сайта на любом другом сайте.
Это некоммерческий сайт и здесь не продаются документы. Вы можете скачать их абсолютно бесплатно!
Содержимое сайта не нарушает чьих-либо авторских прав! Человек имеет право на информацию!

 

 

ГОСУДАРСТВЕННЫЙ СТАНДАРТ СОЮЗА ССР

 

ПИГМЕНТ ЖЕЛТЫЙ ЖЕЛЕЗООКИСНЫЙ

ТЕХНИЧЕСКИЕ УСЛОВИЯ

ГОСТ 18172-80

 

ГОСУДАРСТВЕННЫЙ КОМИТЕТ СССР ПО СТАНДАРТАМ

Москва

 

 

ГОСУДАРСТВЕННЫЙ СТАНДАРТ СОЮЗА ССР

ПИГМЕНТ ЖЕЛТЫЙ ЖЕЛЕЗООКИСНЫЙ

Технические условия

Yellow iron oxide.
Specifications

ГОСТ
18172-80

Взамен
ГОСТ 18172-72

Постановлением Государственного комитета СССР по стандартам от 31 января 1980 г. № 494 срок введения установлен

с 01.01.81

Проверен в 1985 г. Постановлением Госстандарта от 13.11.85 № 3594 срок действия продлен

до 01.01.91

 

Настоящий стандарт распространяется на желтый железо-окисный синтетический неорганический пигмент, представляющий собой моногидрат окиси железа.

(Измененная редакция, Изм. № 2).

1. МАРКИ И ТЕХНИЧЕСКИЕ ТРЕБОВАНИЯ

1.1. Желтый железоокисный пигмент в зависимости от цвета и применения должен выпускаться следующих марок, указанных в табл. 1.

Таблица 1

Марка

Назначение

Ж-0

Лакокрасочные материалы для покрытий высокой атмосферостойкости и с высокими декоративными свойствами (класс покрытий I и II по ГОСТ 9.032-74); художественные краски, а также высококачественные изделия кожевенной, бумажной, керамической и резиновой промышленности

Ж-1

Лакокрасочные материалы для покрытий повышенной атмосферостойкости с хорошими декоративными свойствами (класс покрытия II и III по ГОСТ 9.032-74); художественные краски, а также для керамической, кожевенной, бумажной и резиновой промышленности

Ж-2

Лакокрасочные материалы, эксплуатируемые в атмосферных условиях и внутри помещения, а также для строительной промышленности

(Измененная редакция, Изм. № 2).

1.2. Пигменты должны изготовляться в соответствии с требованиями настоящего стандарта по технологическому регламенту, утвержденному в установленном порядке.

1.3. Образцы цвета и красящей способности утверждаются в установленном порядке.

1.4. По физико-химическим показателям пигмент должен соответствовать требованиям и нормам, указанным в табл. 2.

Таблица 2

Наименование показателя

Норма для марки

Метод испытания

Ж-0

Ж-1

Ж-2

Высший сорт ОКП
23 2242 0102

Первый сорт ОКП
23 2242 0103

ОКП
23 2242 0200

ОКП
23 2242 0300

1. Цвет

 

 

 

 

а) инструментальный метод определения - полное цветовое различие DЕ, не более

6

6

6

6

По ГОСТ 16873-78 и п. 4.2 настоящего стандарта

 

 

 

 

 

 

б) визуальный метод определения

В пределах допусков цвета паст, утвержденных образцов каждой марки

 

2. Массовая доля соединений железа в пересчете на Fe2O3, %, не менее

87

86

85

84

По п. 4.3

3. Массовая доля веществ, растворимых в воде, %, не более

0,3

0,5

0,8

По ГОСТ 21119.2-75 и п. 4.4 настоящего стандарта

4. Массовая доля летучих веществ, %, не более

0,5

1,0

1.5

По ГОСТ 21119.1-75 и п. 4.5 настоящего стандарта

5. рН водной суспензии

4,5 - 7,0

4,0-7,0

4,0-7,0

По ГОСТ 21119.3-75

6. Диспергируемость за 30 мин, мкм, не более

15

20

25

25

По п. 4.6

7. Маслоемкость, г/100 г пигмента

30 - 50

35-60

35-60

По ГОСТ 21119.8-75 и п. 4.7 настоящего стандарта

8. Укрывистость, г/м2, не более

15

20

20

По ГОСТ 8784-75 и п. 4.8 настоящего стандарта

9. Относительная красящая способность, %, не менее

100

95

95

По ГОСТ 16872-78 и п. 4.9 настоящего стандарта

10. Остаток после мокрого просеивания на сите с сеткой 0063, %, не более

0,01

0,08

0,20

0,30

По ГОСТ 21119.4-75 и п. 4.10 настоящего стандарта

11. Остаток после сухого просеивания на сите с сеткой 016, %, не более

0,05

0,05

Не нормируется

По ГОСТ 21119.4-75 и п. 4.11 настоящего стандарта

Примечание. Марка Ж-0 может быть переведена в марку Ж-1, а марка Ж-1 в Ж 2 при отклонении одного из показателей до нормы низшей марки при условии сохранения цвета лучшей марки, а маслоемкости низшей марки. Норма по показателю "диспергируемость" не является браковочной до 01.01.93. Определение обязательно с 01.01.91.

(Измененная редакция, Изм. № 1, 2).

2. ТРЕБОВАНИЯ БЕЗОПАСНОСТИ

2.1. Пигмент пожаро- и взрывобезопасен.

2.2. Предельно допустимая концентрация пигмента в воздухе рабочей зоны производственных помещений - 10 мг/м3 класс опасности 4.

2.3. При производстве пигмента и в производственных помещениях, в которых используется этот пигмент, необходимо соблюдать «Санитарные правила организации технологических процессов и гигиенические требования к производственному оборудованию» № 554-65, утвержденные Министерством здравоохранения СССР.

3. ПРАВИЛА ПРИЕМКИ

3.1. Правила приемки - по ГОСТ 9980.1-86.

Относительную красящую способность и маслоемкость пигмента определяют периодически по требованию потребителя.

(Измененная редакция, Изм. № 1).

3.2. Показатель «остаток после сухого просеивания» по пункту 11 табл. 2 нормируется для пигмента, предназначенного для резиновой промышленности.

4. МЕТОДЫ ИСПЫТАНИЙ

4.1. Отбор проб - по ГОСТ 9980.2-86.

4.2. Определение цвета

4.2.1. Инструментальный метод

Полное цветовое различие DЕ определяют в пасте по ГОСТ 16873-78 на приборах типа «Радуга», «Спектротон» или «Пульсар» при геометрии измерения диф/8° с учетом зеркальной составляющей, при этом для получения пасты берут 3,00 г пигмента и 3,0-4,0 см3 льняного масла.

В качестве образца сравнения используют пасты образцов цвета желтого железоокисного пигмента каждой марки, светлый допуск, утвержденные в установленном порядке. Допускается в качестве образца сравнения использовать пасту образца цвета желтого железоокисного пигмента, согласованного с конкретным потребителем.

За результат испытаний принимают среднее арифметическое результатов двух параллельных определений, абсолютное расхождение между которыми не превышает допускаемое расхождение, равное 1,5. Допускаемая абсолютная суммарная погрешность результата анализа ±1,5 при доверительной вероятности 0,95. Окончательный результат округляют до целого числа.

(Измененная редакция, Изм. № 2).

4.2.2. Визуальный метод

При визуальной оценке цвет пигмента определяют в пасте в полном тоне по ГОСТ 16873-78 относительно паст двух утвержденных образцов каждой марки, при этом для получения пасты берут 0,3 - 0,4 см3 льняного масла.

При разногласиях определение проводят инструментальным методом.

(Измененная редакция, Изм. № 2).

4.3. Определение массовой доли железа в пересчете на Fe2O3

4.3.1. Реактивы и растворы

Кислота соляная по ГОСТ 3118-77, ч. д. а., разбавленная 1:1.

Кислота сульфосалициловая по ГОСТ 4478-78, ч. д. а., с массовой долей кислоты в растворе, 5 %.

Аммиак водный по ГОСТ 3760-79 с массовой долей аммиака 10 %.

Натрий уксуснокислый по ГОСТ 199-78, ч. д. а., насыщенный раствор.

Аммоний азотнокислый по ГОСТ 22867-77, ч. д. а., с массовой долей в растворе 2 %.

Стандартный раствор Fе с массовой концентрацией 1 мг/см3 готовят по ГОСТ 4212-76.

Этилендиаминтетрауксусной кислоты динатриевая соль (трилон Б) по ГОСТ 10652-73, раствор концентрации с (С10Н14О8N2Nа2×20)=0,05 моль/дм3 (0,05 М); готовят и сохраняют раствор по ГОСТ 10398-76, разд. 3. Допускается приготовление из фиксанала.

Бумага индикаторная универсальная.

Вода дистиллированная по ГОСТ 6709-72.

Весы лабораторные общего назначения по ГОСТ 24104-88 2-го класса точности с наибольшим пределом взвешивания 200 г или весы аналогичного типа.

(Измененная редакция, Изм. № 1, 2).

4.3.2а. Определение массы железа, соответствующей 1 см3 раствора трилона Б

50 см3 стандартного раствора железа помещают в коническую колбу вместимостью 250 см3 и разбавляют водой до 100 см3 и далее определение проводят по п. 4.3.2.

Массу железа (А) в граммах, соответствующую 1 см3 раствора трилона Б, вычисляют по формуле

,

где V1 - объем стандартного раствора железа, взятый для титрования, см3,

V - объем раствора трилона Б, израсходованный на титрование, см3;

т - масса железа в 1 см3 стандартного раствора, г.

(Введен дополнительно, Изм. № 1).

4.3.2. Проведение испытания

0,1000 г пигмента, высушенного при (105 ± 5) °С в течение 2 ч, помещают в коническую колбу вместимостью 250 см3 и растворяют при нагревании в 30 см3 раствора соляной кислоты. Раствор охлаждают, разбавляют водой до 100 см3 и, добавляя раствор уксуснокислого натрия, доводят рН раствора до 2 - 3 по универсальной индикаторной бумаге. Приливают 5 см3 раствора сульфосалициловой кислоты, нагревают до 50 - 70 °С и титруют раствором трилона Б до перехода окраски из темно-вишневой в лимонно-желтую.

(Измененная редакция, Изм. № 2).

4.3.3. Обработка результатов

Массовую долю соединения железа в пересчете на Fe2O31) в процентах вычисляют по формуле

,

где V - объем раствора трилона Б, израсходованный на титрование, см3;

А - масса железа, соответствующая 1 см3 раствора трилона Б с концентрацией 0,05 моль/дм3;

1,4297 - коэффициент пересчета Fe на Fe2O3;

т - масса навески пигмента, г.

За результат испытания принимают среднее арифметическое двух параллельных определений, допускаемые расхождения между которыми не должны превышать 0,5 % (Р1 = 0,95).

4.3.2, 4.3.3. (Измененная редакция, Изм. № 1).

4.4. Массовую долю веществ, растворимых в воде, определяют по ГОСТ 21119.2-75, методом горячей экстракции или кондуктометрическим.

При этом для получения водной вытяжки берут навеску 10 г и фильтруют через фильтр «синяя лента».

Построение градуировочного графика проводят по раствору сульфата аммония (ГОСТ 3769-78).

4.5. Массовую долю летучих веществ определяют по ГОСТ 21119.1-75, разд. 2, при этом берут навеску пигмента массой 5 г и высушивают в течение 2 ч.

(Измененная редакция, Изм. № 2).

4.6 - 4.6.3. (Исключены, Изм. № 1).

4.6а Определение диспергируемости

4.6а.1. Аппаратура, реактивы

Мельница лабораторная бисерная с частотой вращения вала мешалки (3000 ± 250) мин-1.

Стакан металлический вместимостью 250 см3.

Шарики стеклянные для диспергирования в бисерных мельницах диаметром (1,7 ± 0,3) мм, стойкостью к абразивному износу не менее 93 %.

Палочка стеклянная.

Гриндометр (прибор «Клин»).

Весы лабораторные по ГОСТ 24104-88 3-го класса точности с наибольшим пределом взвешивания 1000 г.

Уайт-спирит (нефрас-С4-155/200) по ГОСТ 3134-78.

Лак ПФ-064Н, ПФ-060Н вязкостью 60 - 80 с по вискозиметру типа ВЗ-246 по ГОСТ 9070-75 с диаметром сопла 4 мм, разбавленный уайт-спиритом до массовой доли летучих веществ 30 %, определенных по ГОСТ 17537-72.

4.6а.2. Проведение испытания

В стакан бисерной мельницы помещают 80 см3 стеклянных шариков и 65,0 г лака. Вращая стакан, смачивают шарики лаком, затем добавляют 37,0 г пигмента. Содержимое стакана тщательно перемешивают стеклянной палочкой, подставляют стакан под мешалку бисерной мельницы, закрепляют в держателе, закрывают крышкой и включают бисерную мельницу. Желтый железоокисный пигмент диспергируют в течение 30 мин.

Сразу же после выключения бисерной мельницы стакан снимают с мешалки. Степень перетира определяют по ГОСТ 6589-74. Отбор пробы - с помощью стеклянной палочки.

4.6а - 4.6а.2. (Введены дополнительно Изм. № 2).

4.7. Маслоемкость определяют по ГОСТ 21119.8-75, разд. 1 (с помощью стеклянной палочки).

4.8. Укрывистость определяют по ГОСТ 8784-75, разд. 1. при этом берут 2 г пигмента, взвешенного с погрешностью не более 0,01 г, и 4 - 5 г натуральной льняной олифы по ГОСТ 7931-76. Пигмент растирают с натуральной олифой на плите курантом или на механическом растирателе типа МАПП-1.

4.9. Относительную красящую способность определяют по ГОСТ 16872-78, разд. 1 или 2, при этом для получения пасты цветного пигмента берут 0,603 г пигмента и 1,12 см3 льняного масла. Для получения испытуемой и контрольной пасты берут 0,600 г пасты цветного пигмента.

При разногласиях в оценке качества пигмента испытания проводят по ГОСТ 16872-78, разд. 2, при этом относительную красящую способность определяют по величине .

4.10. Остаток после мокрого просеивания определяют по ГОСТ 21119.4-75, разд. 1. Масса навески - 50 г. Допускается использовать металлические сита диаметром 100 мм.

(Измененная редакция, Изм. № 2).

4.11. Остаток после сухого просеивания определяют по ГОСТ 21119.4-75, разд. 2. Масса навески - 10 г.

5. УПАКОВКА, МАРКИРОВКА, ТРАНСПОРТИРОВАНИЕ И ХРАНЕНИЕ

5.1. Упаковка, маркировка, транспортирование и хранение пигмента - по ГОСТ 9980.3-86 - ГОСТ 9980.5-86. Основной вид тары - мягкие контейнеры и бумажные метки.

(Измененная редакция, Изм. № 1).

5.2. Маркировка транспортной тары - по ГОСТ 14192-77 с нанесением манипуляционного знака «Боится сырости», с указанием знака опасности по ГОСТ 19433-88 (класс 9, подкласс 9.2, классификационный шифр 922).

(Введен дополнительно, Изм. № 2).

6. ГАРАНТИИ ИЗГОТОВИТЕЛЯ

6.1. Изготовитель гарантирует соответствие пигмента требованиям настоящего стандарта при соблюдении условий транспортирования и хранения.

6.2. Гарантийный срок хранения пигмента - 12 мес со дня изготовления.

(Измененная редакция, Изм. № 1).

 

ПРИЛОЖЕНИЕ

Справочное

Массовая доля соединений серы в пересчете на SO3, %, не более: для марки Ж-0 - 1,2; для марки Ж-1 - 1,8; для марки Ж-2 - 2,0.

Определение массовой доли соединений серы в пересчете на SO3 проводят титрометрическим методом

Реактивы, материалы и оборудование

Йод по ГОСТ 4159-79, раствор концентрации с (1/2 .J2) = 0,01 моль/дм3 (0,01 н.).

Крахмал растворимый по ГОСТ 10163-76, с массовой долей крахмала в растворе 1 %.

Кислота серная по ГОСТ 4204-77, ч., концентрированная.

Кислород газообразный технический и медицинский в баллонах по ГОСТ 5583-78.

Кальций хлористый плавленый по ГОСТ 4460-77.

Меди окись порошкообразная по ГОСТ 16539-79.

Вода дистиллированная по ГОСТ 6709-72.

Лодочка фарфоровая для сжигания № 3 по ГОСТ 9147-80.

Трубка фарфоровая с внутренним диаметром 20 мм и длиной 700 мм.

Бюретка но ГОСТ 20292-74, 2-2-25-0,1.

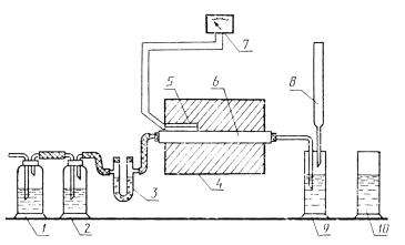
Установка для сжигания (см. чертеж).

1 - склянка с 30 %-ным раствором щелочи; 2 - склянка с концентрированной серной кислотой  (плотностью - 1,84 г/см3); 3 - U-образная трубка с плавленным хлористым кальцием; 4 - трубчатая печь; 5 - термопара; 6 - фарфоровая трубка; 7 - милливольтметр; 8 - бюретка; 9 - поглотительная склянка; 10 - контрольный сосуд

Определение массы SO3, соответствующей 1 см3 раствора йода молярной концентрации с (1/2 J2) = 0,01 моль/дм3.

(0,5000 - 0,5099) г стандартного образца концентрата 154-б сжигают в установке и титруют раствором йода в соответствии с п. 4.6.3.

Массу SO3 (А), соответствующую 1 см3 раствора йода с молярной концентрацией с (1/2 J2) = 0,01 моль/дм3 в граммах, вычисляют но формуле

,

где V - объем раствора йода с молярной концентрацией с (1/2 J2), израсходованный на титрование, см3;

т - масса стандартного образца, г;

0,31 - массовая доля серы в пересчете на SO3 в стандартном образце № 154-б, %.

Проведение испытания

0,2 г пигмента, высушенного до постоянной массы при 105 - 110 °С, взвешивают с погрешностью не более 0,0002 г, помещают равномерным слоем в лодочку и сверху насыпают 1,5 г окиси меди, взвешенной с погрешностью не более 0,02 г. Лодочку при помощи стального крючка вдвигают в середину фарфоровой трубки, нагретой до 1250 °С. Трубку закрывают резиновой пробкой, соединенной с резиновой трубкой и капилляром. Конец капилляра опускают в поглотительную склянку (или колбу Эрленмейера), содержащую приблизительно 150 мл дистиллированной воды, 5 мл раствора крахмала и 0,5 - 0,7 мл раствора йода, прибавляемого из бюретки до получения устойчивой синей окраски раствора. Аналогично готовится контрольный раствор в другой поглотительной склянке.

Через установку пропускают кислород со скоростью 5 - 10 пузырьков в секунду и титруют обесцвечивающийся раствор в поглотительной склянке раствором йода до получения устойчивой синей окраски, не изменяющейся в течение 3 мин. Эта окраска должна совпадать с окраской контрольного раствора.

Обработка результатов

Массовую долю соединений серы в пересчете на SO3 (Х2) в процентах вычисляют по формуле

,

где V - объем раствора йода с молярной концентрацией с (1/2 J2) = 0,01 моль/дм3 израсходованный на титрование, см3;

А - масса SO3, соответствующая 1 см3 раствора йода с молярной концентрацией с (1/2 J2) = 0,01 моль/дм3, г;

т - масса навески пигмента, г.

За результат испытания принимают среднее арифметическое двух параллельных определений, допускаемые расхождения между которыми не должны превышать 0,05% при доверительной вероятности Р = 0,95.

(Введено дополнительно, Изм. № 1).

 




Rambler's Top100 Яндекс цитирования
  Copyright © 2008-2026, www.docload.ru