Бесплатная библиотека стандартов и нормативов www.docload.ru

Все документы, размещенные на этом сайте, не являются их официальным изданием и предназначены исключительно для ознакомительных целей.
Электронные копии этих документов могут распространяться без всяких ограничений. Вы можете размещать информацию с этого сайта на любом другом сайте.
Это некоммерческий сайт и здесь не продаются документы. Вы можете скачать их абсолютно бесплатно!
Содержимое сайта не нарушает чьих-либо авторских прав! Человек имеет право на информацию!

 

\МИНИСТЕРСТВО ВНУТРЕННИХ ДЕЛ
РОССИЙСКОЙ ФЕДЕРАЦИИ

ГОСУДАРСТВЕННАЯ ПРОТИВОПОЖАРНАЯ СЛУЖБА

НОРМЫ ПОЖАРНОЙ БЕЗОПАСНОСТИ

ТЕХНИКА ПОЖАРНАЯ.
РУКАВА ПОЖАРНЫЕ НАПОРНЫЕ.
ТЕХНИЧЕСКИЕ ТРЕБОВАНИЯ
ПОЖАРНОЙ БЕЗОПАСНОСТИ.
МЕТОДЫ ИСПЫТАНИЙ

НПБ 152-2000

МОСКВА 2001

Разработаны Федеральным государственным учреждением «Всероссийский ордена «Знак Почета» научно-исследовательский институт противопожарной обороны Министерства внутренних дел Российской Федерации» (ФГУ ВНИИПО МВД России) (В.И. Логинов, С.М. Ртищев, Ю.А. Федотов).

Внесены и подготовлены к утверждению отделом пожарной техники и вооружения Главного управления Государственной противопожарной службы Министерства внутренних дел Российской Федерации (ГУГПС МВД России).

Утверждены и введены в действие приказом ГУГПС МВД России от 27 декабря 2000 г. № 80.

Дата введения в действие с 1 марта 2001 г.

С введением в действие НПБ 152-2000 утрачивают силу НПБ 152-96, утвержденные приказом ГУГПС МВД России от 28.06.1996 г. № 40, с изменениями и дополнениями, внесенными в соответствии с приказом ГУГПС МВД России от 21.12.1999 г. № 99.

МИНИСТЕРСТВО ВНУТРЕННИХ ДЕЛ
РОССИЙСКОЙ ФЕДЕРАЦИИ

ГОСУДАРСТВЕННАЯ ПРОТИВОПОЖАРНАЯ СЛУЖБА

НОРМЫ ПОЖАРНОЙ БЕЗОПАСНОСТИ

ТЕХНИКА ПОЖАРНАЯ.
РУКАВА ПОЖАРНЫЕ НАПОРНЫЕ.
ТЕХНИЧЕСКИЕ ТРЕБОВАНИЯ
ПОЖАРНОЙ БЕЗОПАСНОСТИ.
МЕТОДЫ
ИСПЫТАНИЙ

FIRE EQUIPMENT.
FIRE HOSE.
TECHNICAL REQUIREMENTS
OF FIRE SAFETY.
TEST METHODS

НПБ 152-2000

Дата введения 1 марта 2001 г.

1. ОБЛАСТЬ ПРИМЕНЕНИЯ

1.1. Нормы пожарной безопасности (далее - нормы) распространяются на напорные пожарные рукава (далее - рукава), предназначенные для подачи воды и водных растворов пенообразователей к месту пожара.

1.2. Настоящие нормы устанавливают технические требования пожарной безопасности к рукавам и методы их испытаний.

1.3. Настоящие нормы применяются на стадиях разработки, изготовления и испытаний рукавов в целях подтверждения соответствия рукавов установленным требованиям при их сертификации в Системе сертификации продукции и услуг в области пожарной безопасности.

1.4. Настоящие нормы могут использоваться как типовая программа и методика приемочных и квалификационных испытаний пожарных рукавов.

2. ОБЩИЕ ПОЛОЖЕНИЯ

2.1. Конструкторская документация на отечественную продукцию должна быть оформлена в соответствии с требованиями ЕСКД и откорректирована по результатам испытаний установочной серии с присвоением в установленном порядке литеры «А».

2.2. Эксплуатационная документация на продукцию, импортируемую российским потребителям, должна быть на русском языке по ГОСТ 2.601.

2.3. Продукция, изготавливаемая отечественными предприятиями, допускается к проведению сертификационных испытаний в области пожарной безопасности, если она прошла все стадии и этапы разработки, предусмотренные ГОСТ Р 15.201, ГОСТ 2.103, все виды испытаний, имеет полный комплект документации на серийное производство с литерой «А».

2.4. Экспертиза конструкторской документации является обязательной при организации и проведении сертификационных испытаний в области пожарной безопасности.

2.5. Сведения, содержащиеся на изделии, должны быть на русском языке.

3. КЛАССИФИКАЦИЯ

3.1. Рукава в зависимости от назначения подразделяются на:

рукава для пожарных кранов (ПК) и переносных мотопомп на рабочее давление 1,0 МПа;

рукава для комплектации передвижной пожарной техники (ПТ) на рабочее давление 1,6 МПа (Ø 89 мм - 1,4 МПа; Ø 150 мм - 1,2 МПа) и 3,0 МПа.

3.2. В зависимости от конструктивных особенностей и используемых материалов рукава могут быть:

из натуральных волокон (льняные, пеньковые, джутовые и т.д.);

с каркасом (чехлом) из синтетических волокон (лавсан, капрон и т.д.), с внутренним гидроизоляционным слоем (резиновая камера, камера из полимерных материалов и т.п.) без наружного покрытия;

с внутренним гидроизоляционным слоем и каркасом с пропиткой тем же материалом, что и гидроизоляционный слой (типа латексированных);

с двусторонним покрытием, с каркасом из синтетических волокон.

3.3. По виду климатического исполнения могут быть:

рукава исполнения У, категории размещения 1 по ГОСТ 15150, любого назначения, рассчитанные на работу при температуре окружающей среды от минус 40 до 45 °С;

рукава исполнения УХЛ, категории размещения 1 по ГОСТ 15150, предназначенные для комплектации передвижной пожарной техники и рассчитанные на работу при температуре окружающей среды от минус 50 до 45 °С.

Схемы конструкций рукавов приведены в приложении (рисунок 1).

4. ТЕХНИЧЕСКИЕ ТРЕБОВАНИЯ ПОЖАРНОЙ БЕЗОПАСНОСТИ

4.1. Рукава должны изготавливаться в соответствии с требованиями настоящих норм, технической документации и технологических регламентов, утвержденных в установленном порядке.

4.2. Основные параметры и размеры рукавов должны соответствовать показателям, указанным в таблице 1.

Таблица 1

Показатель

Рукава для пожарных кранов и переносных мотопомп

Рукава для передвижной пожарной техники

На рабочее давление

1,6 МПа

3,0 МПа

Номинал

Предельные отклонения

Номинал

Предельные отклонения

Номинал

Предельные отклонения

1. Внутренний диаметр, мм

25

+2,0

25

+2,0

25

+2,0

38

38

38

51

51

51

66

66

66

 

77

 

89

+2,5

 

 

150

+3,0

2. Длина рукава, м

10, 15 или 20

±1

20

±1

20

±1

3. Рабочее давление, МПа, не более

1,0

-

1,6*

-

3,0

-

1,4**

-

1,2***

-

4. Испытательное давление, МПа, не менее

1,25

-

2,0*

-

3,75

-

1,8**

-

1,5***

-

5. Разрывное давление, МПа, не менее

2,0

-

3,5*

-

6,0

-

2,8**

-

-

-

1,4***

-

-

-

6. Температура хрупкости покрытия, °С, не выше:

 

 

 

 

 

 

- для умеренного климата

минус 40

-

минус 40

-

минус 40

-

- для холодного климата

-

-

минус 50

-

минус 50

-

7. Прочность связи внутреннего слоя покрытия с тканью каркаса при раздире, Н/см (кг/см), не менее:

 

 

 

 

 

 

- для рукавов без наружного покрытия

10 (1,0)

-

10 (1,0)

-

10 (1,0)

-

- для рукавов с двусторонним покрытием

10 (1,0)

-

10 (1,0)

-

10 (1,0)

-

- для рукавов с пропиткой и для латексированных

7 (0,7)

-

7 (0,7)

-

7 (0,7)

-

8. Относительное удлинение рукава при рабочем давлении, % не более

5

-

5

-

5

-

9. Относительное увеличение диаметра рукава при рабочем давлении, %, не более

10

-

5

-

5

-

10. Стойкость к абразивному износу рукавов диаметром 51, 66, 77 мм, циклов, не менее:

 

 

 

 

 

 

- для рукавов с двусторонним покрытием

150

-

300

-

300

-

- для рукавов с пропиткой

75

-

150

-

150

-

- для рукавов без наружного покрытия

20

-

40

-

40

-

11. Стойкость к контактному прожигу рукавов диаметром 51, 66, 77 мм при температуре 450 °С, с, не менее:

 

 

 

 

 

 

- для рукавов с двусторонним покрытием

-

-

30

-

30

-

- для рукавов с пропиткой и без наружного покрытия

3

-

5

-

5

-

12. Масса рукава длиной 1 м, кг, не более, для рукавов диаметром:

 

 

 

 

 

 

25

0,17

-

0,25

-

0,25

-

38

0,26

-

0,34

-

0,34

-

51

0,35

-

0,45

-

0,45

-

66

0,45

-

0,55

-

0,55

-

77

-

-

0,65

-

-

-

89

-

-

0,75

-

-

-

150

-

-

1,20

-

-

-

13. Толщина внутреннего слоя покрытия, мм не менее

0,35

-

0,35

-

0,35

-

* Для рукавов диаметром 25-77 мм.

** Для рукавов диаметром 89 мм.

*** Для рукавов диаметром 150 мм.

4.3. Снижение показателей, указанных в пп. 5 и 7 таблицы 1, после термического старения (п. 6.15) - не более 25 % от нормированных.

4.4. Рукава в процессе испытаний гидравлическим рабочим и испытательным давлением должны быть герметичны (кроме льняных).

4.5. В комплект поставки рукавов должна входить эксплуатационная документация (паспорт).

4.6. В эксплуатационной документации (паспорте) на рукава в соответствии с ГОСТ 2.601 должны содержаться следующие сведения:

данные об изготовителе;

основные параметры и размеры рукавов;

данные о комплектности;

отметка о приемке;

гарантии изготовителя;

заметки по эксплуатации, транспортированию и хранению.

4.7. Маркировка и упаковка.

4.7.1. На каждом рукаве на расстоянии 150 мм от одного из концов должна быть нанесена маркировка, сохраняющаяся в течение всего срока эксплуатации, с указанием:

наименования или товарного знака предприятия-изготовителя;

внутреннего диаметра рукава, мм;

длины рукава, м;

рабочего давления, МПа;

даты изготовления (месяц, год).

На другом конце рукава (внутренний конец скатки) должна быть нанесена маркировка, содержащая наименование предприятия-изготовителя или его товарный знак.

Рукава, предназначенные для поставки в районы с умеренным и холодным климатом, должны иметь дополнительную маркировку УХЛ.

4.7.2. Рукава поставляются в скатках. Намотка рукава должна быть ровной, без выступающих кромок отдельных витков. Наружный конец рукава в скатке закрепляют перевязочным материалом, исключающим возможность механического повреждения рукава.

4.7.3. Скатки рукавов помещают в полиэтиленовую пленку в виде рукава, ГОСТ 10354, с последующим термическим склеиванием или заворачивают в упаковочную ткань или другой упаковочный материал, обеспечивающий сохранность рукавов при транспортировании, и зашивают.

По согласованию с заказчиком допускается поставка рукавов без упаковки.

4.7.4. На каждую упаковочную единицу (или на рукав без упаковки) наклеивают ярлык с указанием:

наименования предприятия-изготовителя;

внутреннего диаметра рукавов;

климатического исполнения (для УХЛ);

даты изготовления (месяц, год);

обозначения нормативного документа;

номера партии;

номера упаковочной единицы;

манипуляционных знаков "Крюками не брать", "Боится нагрева" по ГОСТ 14192.

Запись на ярлыке должна быть ясной, четкой и сохраняться в течение всего срока транспортирования и хранения.

5. ВИДЫ ИСПЫТАНИЙ

5.1. Для контроля соответствия качества напорных пожарных рукавов требованиям настоящих норм и технической документации проводят следующие испытания:

приемочные;

квалификационные;

приемо-сдаточные;

периодические;

типовые;

сертификационные.

5.2. Объем видов испытаний приведен в таблице 2.

Таблица 2

Проверяемые показатели

Пункты настоящих норм

Вид испытаний

Технические требования

Методы испытаний

Приемочные, квалификационные

Приемо-сдаточные

Периодические

Сертификационные

1. Внутренний диаметр

Таблица 1 (п.1)

6.5

+

+

-

+

2. Длина рукава

Таблица 1 (п. 2)

6.6 (6.6.1)

+

+

-

+

3. Рабочее давление

Таблица 1 (п.2)

6.7

-

-

-

+

4. Испытательное давление

Таблица 1 (п. 4)

6.7

+

+

+

+

5. Разрывное давление

Таблица 1 (п. 5)

6.9

+

-

+

+

6. Температура хрупкости покрытия

Таблица 1 (п. 6)

6.10

+

-

+

+

7. Прочность связи внутреннего покрытия с тканью каркаса

Таблица 1 (п. 7)

6.11

+

+

-

+

8. Относительное удлинение рукава при рабочем давлении

Таблица 1 (п. 8)

6.8

+

-

+

+

9. Относительное увеличение диаметра рукава при рабочем давлении

Таблица 1 (п. 9)

6.8

+

-

+

+

10. Стойкость к абразивному износу

Таблица 1 (п. 10)

6.12

+

-

+

+

11. Стойкость к контактному прожигу

Таблица 1 (п. 11)

6.13

+

-

+

+

12. Масса рукава

Таблица 1 (п. 12)

6.14

+

-

+

+

13. Толщина внутреннего слоя покрытия

Таблица 1 (п. 13)

6.6 (6.6.2)

+

+

-

+

14. Термическое старение

4.3

6.15

+

-

-

-

15. Маркировка

4.7

6.16

+

+

+

+

16. Упаковка

4.7

6.16

-

-

+

+

5.3. Объем типовых испытаний устанавливают в зависимости от вносимых конструктивных или иных изменений, способных повлиять на основные параметры рукавов, и согласовывают в установленном порядке.

5.4. На испытания представляют по три рукава каждого типа и размера.

6. МЕТОДЫ ИСПЫТАНИЙ

6.1. Все испытания, если это не оговорено отдельно, проводят в нормальных климатических условиях по ГОСТ 15150 при:

температуре от 10 до 35 °С;

относительной влажности воздуха 45-80 %;

атмосферном давлении 84,0-106,7 кПа.

6.2. Испытательное оборудование и средства измерения должны иметь соответствующие свидетельства государственной поверки.

6.3. Проверку нормативно-технической документации (п. 4.1) проводят путем определения соответствия содержания документации на рукава требованиям настоящих норм.

6.4. Проверку соответствия рукавов требованиям пп. 4.6, 4.7 проводят визуально.

6.5. Внутренний диаметр рукава (п. 1 таблицы 1) измеряют ступенчатым металлическим калибром (см. приложение, рисунок 2). Рукав натягивают на калибр усилием от руки без упора. Диаметр считается равным максимальному размеру ступени, на которую он натянут полностью.

6.6. Длину рукавов (п. 2 таблицы 1) измеряют рулеткой с ценой деления не более 1 мм, длину участков на рукаве при измерении удлинения рукавов (п. 8 таблицы 1) - линейкой с ценой деления не более 1 мм, наружные диаметры при увеличении диаметра при рабочем давлении (п. 9 таблицы 1) – штангенциркулем с погрешностью измерения не более 0,1 мм, толщину внутреннего слоя покрытия (п. 13 таблицы 1) – толщиномером с погрешностью не более 0,01 мм.

6.6.1. Для измерения длины рукава скатку раскатывают на ровной горизонтальной поверхности. Длину измеряют с погрешностью до 0,1 м.

6.6.2. Для определения толщины внутреннего слоя покрытия от любого конца каждого из рукавов отрезают образец длиной 20-30 мм.

На образцах, подготовленных к испытанию, делают десять замеров в точках, расположенных на равном расстоянии друг от друга по длине окружности. У рукавов с двусторонним покрытием замеры толщины следует делать между продольными рифлениями. Затем отделяют от каркаса гидроизоляционный слой и измеряют толщину стенки рукава в тех же точках.

Разница между результатами замера толщины стенки рукава с гидроизоляционным слоем и без него составляет толщину внутреннего слоя покрытия, которую определяют как среднеарифметическое десяти значений, полученных при замерах.

Среднюю толщину гидроизоляционного слоя покрытия рукавов Рср рассчитывают по формуле

PсpPi/п, мм,

где Pi - толщина гидроизоляционного слоя покрытия i-го образца, мм; п - количество образцов.

6.7. Испытание на герметичность под действием испытательного давления (п. 4 таблицы 1) проводят на рукавах в сборе с соединительными головками длиной (20±1) м. При поставке рукавов без головок навязка рукавов на головки осуществляется в соответствии с «Инструкцией по эксплуатации пожарных рукавов». Один конец рукава присоединяют к насосу, снабженному контрольным манометром, ГОСТ 2405, класс точности 1,5, со шкалой, обеспечивающей измерение давления в соответствии с п. 4 таблицы 1 а другой заглушают, например, перекрывным пожарным стволом. Рукав медленно наполняют водой при открытом стволе до полного удаления воздуха, после чего ствол перекрывают. Давление в течение 1-2 поднимают до испытательного (п. 4 табл. 1) и выдерживают (3,0±0,1) мин. Появление воды в виде капель не допускается.

6.8. Относительные удлинение рукава и увеличение его диаметра (п. 8 и 9 таблицы 1) проверяют аналогично п. 6.7. Рукав наполняют водой до полного удаления воздуха, давление в нем поднимают до 0,1 МПа.

При этом давлении на трех контрольных участках рукава (в начале, середине и в конце) с помощью металлической линейки, ГОСТ 427, наносят контрольные метки исходной длины l0, равной (1000±1) мм, и замеряют штангенциркулем, ГОСТ 166, наружный диаметр d0. Давление в рукаве поднимают до рабочего (п. 3 таблицы 1) и выдерживают 2-3 мин. Замеряют длину l с погрешностью не более 1 мм и наружный диаметр d с погрешностью не более 0,1 мм на каждом контрольном участке.

Относительное удлинение εl вычисляют по формуле

100 %,

где l0 - исходная длина, мм; l - длина при рабочем давлении, мм.

Относительное увеличение диаметра εд вычисляют по формуле

100 %,

где d0 - исходный диаметр, мм; d - диаметр при рабочем давлении, мм.

За величину относительного удлинения рукава и увеличения его диаметра принимают среднеарифметические значения показателей, полученных при замерах на трех участках рукава.

6.9. Проверку разрывного давления (п. 5 таблицы 1) проводят на образцах рукава длиной (1,0±0,1) м и испытывают в той же последовательности, как в п. 6.7. После заполнения рукава водой давление в нем поднимают в течение 1-2 мин до разрыва. Если при испытании конец рукава вырывается из зажима, повторные испытания проводят на новом образце рукава.

6.10. Для определения температуры хрупкости покрытия (п. 6 таблицы 1) от обоих концов рукава отрезают по одному образцу длиной 10-15 мм каждый.

Образцы в виде колец устанавливают в приспособление (см. приложение, рисунок 3). Температуру в морозильной камере (типа КТХ-0,4-004) доводят до значения, равного заданному для рукавов этого типа (п. 6 таблицы 1), после чего образцы в приспособлении помещают в камеру, где выдерживают в течение (15±1) мин, затем камеру открывают и не позднее чем через 2-3 с щеки приспособления с образцами смыкают до упора. После этого образцы извлекают из приспособления и осматривают. При обнаружении трещин на линии перегиба образец считают не выдержавшим испытание.

Испытания должны выдерживать все образцы.

6.11. Прочность связи внутреннего покрытия с каркасом (п. 7 таблицы 1) проверяют на разрывной машине маятникового типа со скоростью движения нижнего зажима (200 ±20) мм/мин. При этом усилие раздира полоски рукава шириной 50 мм определяют по динамометру с диапазоном измерения до 300 Н с погрешностью не более ±1 % от измеряемой силы.

От любого конца рукава отрезают образец длиной 250 мм, из которого в направлении нитей основы вырезают две полоски шириной (50±1) мм. Один конец полоски расслаивают на длину 40-50 мм, остальную часть полоски делят на 10 равных частей отметками. Из образцов рукавов диаметром 25 мм вырезают одну полоску.

Расслоенные концы полоски закрепляют: один в подвижном, другой в неподвижном зажимах разрывной машины. При расслоении записывают показания динамометра при прохождении соответствующих отметок. Показатель прочности связи слоев на раздир каждого образца вычисляют как среднеарифметическое значение 20 показаний динамометра по двум полоскам, вырезанным из одного рукава.

6.12. Стойкость к абразивному износу (п. 10 таблицы 1) определяют на образцах рукавов длиной (500±25) мм на испытательном стенде (см. приложение, рисунок 4). При этом образец рукава устанавливают в зажимных опорах, где образец совершает вращательное движение со скоростью 12 об./мин. Истирание производится шлифовальной шкуркой 14А25НМ, ГОСТ 5009, ширина 50 мм, совершающей возвратно-поступательное движение вдоль оси рукава со скоростью 2,2 м/мин, величина хода 80 мм, усилие прижатия шкурки к образцу рукава, находящемуся под избыточным давлением воды (0,50 ±0,01) МПа, составляет 105 Н, подача шкурки за один двойной ход каретки 2-4 мм. Количество двойных ходов каретки со шкуркой регистрируется счетчиком.

Стойкость рукава к абразивному износу оценивается количеством циклов до появления свища.

6.13. Стойкость рукава к контактному прожигу (п. 11 таблицы 1) определяют на образцах рукавов длиной 500 мм. Образец устанавливают в зажимных опорах и заполняют водой, удаляя при этом воздух. Давление внутри образца поднимают до (1,00±0,01) МПа и поддерживают его постоянным в течение испытания. Калильный стержень (см. приложение, рисунок 5) нагревают до температуры (450±25) °С и прижимают к образцу с усилием (4,0±0,1) Н.

Стойкость рукава к контактному прожигу определяют как время контакта калильного стержня с рукавом до образования свища. Время замеряют секундомером с погрешностью не более 0,1 с.

6.14. Массу рукава длиной 1 м (п. 12 таблицы 1) определяют как частное от деления массы рукава в скатке на его длину. При этом массу рукава в скатке определяют взвешиванием на весах для статического взвешивания с ценой деления шкалы 0,1 кг, а длину рукава в скатке так же, как в п. 6.6.1 настоящих норм.

6.15. Термическое старение образцов рукавов (п. 4.3) проводят в термостате, удовлетворяющем следующим условиям:

обеспечение полного обмена воздуха не менее трех и не более десяти раз в течение часа;

поддержание температуры в рабочем объеме 70 или 100 °С с отклонением от заданных значений не более ±1 °С.

Образцы рукавов длиной 1 м помещают, подвешивая на нитях, в термостат. Расстояние между образцами и стенками термостата должно быть не менее 5 мм.

Продолжительность испытаний и температуру старения определяют в зависимости от типа рукава.

После термического старения образцы кондиционируют в течение 24 ч, а затем определяют прочность связи внутреннего слоя покрытия с тканью каркаса на раздир (п. 7 таблицы 1) и разрывное давление (п. 5 таблицы 1).

6.16. Правильность маркировки и упаковки проверяют внешним осмотром.

7. НОРМАТИВНЫЕ ССЫЛКИ

В настоящих нормах использованы ссылки на следующие нормативные документы:

ГОСТ 2.103-88 ЕСКД. Стадии разработки.

ГОСТ 2.601-95 ЕСКД. Эксплуатационные документы.

ГОСТ Р 15.201 Система разработки и постановки продукции на производство. Продукция производственно-технического назначения. Порядок разработки и постановки продукции на производство

ГОСТ 166-89 Штангенциркули. Технические условия.

ГОСТ 427-75* Линейки измерительные металлические. Технические условия.

ГОСТ 2405-88 Манометры, вакуумметры, мановакуумметры, напоромеры, тягомеры и тягонапоромеры. Общие технические требования.

ГОСТ 5009-82* Шкурка шлифовальная тканевая. Технические условия.

ГОСТ 10354-82* Пленка полиэтиленовая. Технические условия.

ГОСТ 14192-96 Маркировка грузов.

ГОСТ 15150-69 Машины, приборы и другие технические изделия. Исполнения для различных климатических районов. Категории, условия эксплуатации, хранения и транспортирования в части воздействия климатических факторов внешней среды.

Инструкция по эксплуатации пожарных рукавов. М., 1994.

ПРИЛОЖЕНИЕ

(справочное)

Схемы конструкций пожарных рукавов и испытательного оборудования

Рисунок 1. Схемы конструкций напорных рукавов:

а - прорезиненный, с внутренним гидроизоляционным покрытием (слоем); б - латексированный; в - с двусторонним покрытием;
1 - армирующий каркас; 2 - внутренний слой; 3 - наружный защитный слой

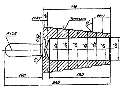
Рисунок 2. Ступенчатый калибр

Номер калибра

d1

d2

d3

d4

d5

d6

d7

d8

Масса, кг

1

22

23

24

25

26

27

28

-

0,25

2

35

36

37

38

39

40

41

28

0,48

3

48

49

50

51

52

53

54

40

0,61

4

63

64

65

66

67

68

69

55

0,74

5

74

75

76

77

78

79

80

65

0,87

6

86

87

88

89

90

91

92

77

0,98

7

147

148

149

150

151

152

153

140

1,55

Примечания: 1. Допуск на диаметры ступенек по h1. 2. Допуск на длину по Н14. 3. Материал рабочих калибров - алюминиевый сплав.

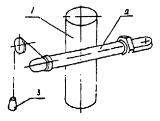
Рисунок 3. Приспособление для оценки хрупкости покрытия рукава

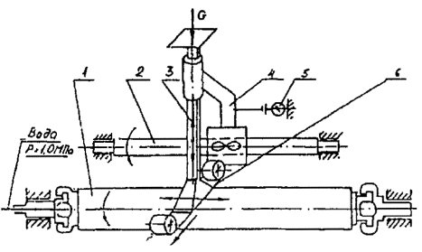
Рисунок 4. Схема стенда испытаний пожарных рукавов на стойкость к абразивному износу:

1 - рукав; 2 - вал привода суппорта; 3 - узел размещения и подачи абразивной ленты; 4 - суппорт; 5 - счетчик двойных ходов суппорта; 6 - абразивная лента

Рисунок 5. Схема стенда испытаний пожарных рукавов на стойкость к контактному прожигу:

1 - рукав; 2 - калильный стержень; 3 - груз

СОДЕРЖАНИЕ

 




Rambler's Top100 Яндекс цитирования
  Copyright © 2008-2026, www.docload.ru