Бесплатная библиотека стандартов и нормативов www.docload.ru

Все документы, размещенные на этом сайте, не являются их официальным изданием и предназначены исключительно для ознакомительных целей.
Электронные копии этих документов могут распространяться без всяких ограничений. Вы можете размещать информацию с этого сайта на любом другом сайте.
Это некоммерческий сайт и здесь не продаются документы. Вы можете скачать их абсолютно бесплатно!
Содержимое сайта не нарушает чьих-либо авторских прав! Человек имеет право на информацию!

 

ГОСУДАРСТВЕННЫЕ СТАНДАРТЫ СОЮЗА ССР

ИНСТРУМЕНТ ТВЕРДОСПЛАВНЫЙ
ДЛЯ ОБРАЗОВАНИЯ
ОТВЕРСТИЙ В СТРОИТЕЛЬНЫХ
МАТЕРИАЛАХ

СВЕРЛА КОЛЬЦЕВЫЕ ТВЕРДОСПЛАВНЫЕ

Основные размеры

ГОСТ 17013-71

МОСКВА - 1973

ГОСУДАРСТВЕННЫЙ СТАНДАРТ СОЮЗА ССР

СВЕРЛА КОЛЬЦЕВЫЕ ТВЕРДОСПЛАВНЫЕ

Основные размеры

Carbide annular drills.

Main sizes

ГОСТ

17013-71

Постановлением Государственного комитета стандартов Совета Министров СССР от 3/VI 1971 г. № 1072 срок введения установлен

с 1/1 1973 г.

Несоблюдение стандарта преследуется по закону

1. Настоящий стандарт распространяется на твердосплавные кольцевые сверла для сверления отверстий различного назначения в кирпиче, гипсолите, бетоне и железобетоне (с принудительным удалением буровой мелочи) ручными электрическими сверлильными машинами.

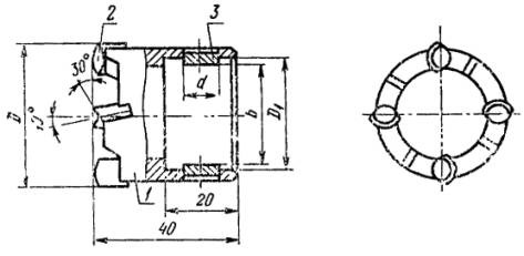
2. Основные размеры сверл должны соответствовать указанным на чертеже и в таблице.

1 - корпус; 2 - пластинка твердосплавная по технической документации, утвержденной в установленном порядке; 3 - шип

Размеры в мм

D

d1 (пред. откл. по А3)

d

b

Количество пластинок

16

11

4

8

3

20

15

6

12

25

18

15

4

(30)

24

21

32

10

20

(36)

28

24

40

32

28

(45)

36

32

50

42

38

75

68

64

6

85

78

74

Примечание. Размеры сверл, заключенные в скобки, применять не рекомендуется.

Пример условного обозначения кольцевого сверла диаметром 16 мм:

Сверло СК-16 ГОСТ 17013-71

Технические требования - по ГОСТ 17017-71.




Rambler's Top100 Яндекс цитирования
  Copyright © 2008-2026, www.docload.ru