Бесплатная библиотека стандартов и нормативов www.docload.ru

Все документы, размещенные на этом сайте, не являются их официальным изданием и предназначены исключительно для ознакомительных целей.
Электронные копии этих документов могут распространяться без всяких ограничений. Вы можете размещать информацию с этого сайта на любом другом сайте.
Это некоммерческий сайт и здесь не продаются документы. Вы можете скачать их абсолютно бесплатно!
Содержимое сайта не нарушает чьих-либо авторских прав! Человек имеет право на информацию!

 

МИНИСТЕРСТВО МОНТАЖНЫХ И СПЕЦИАЛЬНЫХ
СТРОИТЕЛЬНЫХ РАБОТ СССР

Утверждаю:

Зам. министра монтажных и

специальных строительных

работ СССР

К.К. Липодат

5 апреля 1978 г.

ИНСТРУКЦИЯ
ПО МОНТАЖУ
ВРАЩАЮЩИХСЯ ВАКУУМ-ФИЛЬТРОВ

ВСН 389-78

ММСС СССР

ЦЕНТРАЛЬНОЕ БЮРО НАУЧНО-ТЕХНИЧЕСКОЙ ИНФОРМАЦИИ

Москва - 1979

Разработана Государственным институтом по проектированию технологии монтажа предприятий химической промышленности.

Гл. инженер                                                                    М. А. Льянов

Нач. отдела                                                                      Н. И. Шварц

Ответственный исполнитель                                        Р. Ф. Мендес

Внесена Главным управлением по монтажу технологического оборудования предприятий химической промышленности.

Гл. инж.                                                                           А. В. Анохин

Согласована с Госстроем СССР (письмо № 1-4151 от 14.12.77 г.), НИИхиммашем Минхиммаша (письмо № 0151-02-76 от 13.01.77 г.), Главным техническим управлением Минмонтажспецстроя СССР.

Зам. начальника                                                              Г. А. Сукальский

Утверждена Министерством монтажных и специальных строительных работ СССР.

Зам. министра                                                                 К. К. Липодат

Инструкция содержит требования к подготовке, производству и приемке работ при монтаже вращающихся вакуум-фильтров.

Предназначена для работников организаций, выполняющих проекты производства монтажных работ и монтаж указанных фильтров технологических объектов.

Разработана Гипрохиммонтажем Минмонтажспецстроя СССР в развитие главы СНиП III-31-74 «Технологическое оборудование. Основные положения».

СОДЕРЖАНИЕ

1. Общая часть. 2

Общие положения. 2

Приемка фундаментов (оснований) 2

Приемка фильтров в монтаж.. 2

Подготовительные работы.. 3

2. Общие положения по монтажу фильтров. 3

3. Условия поставки и последовательность монтажа вращающихся вакуум-фильтров. 4

Барабанные вакуум-фильтры.. 4

Дисковые вакуум-фильтры.. 7

Ленточные вакуум-фильтры.. 7

4. Особенности монтажа фильтров. 8

Особенности монтажа барабанных вакуум-фильтров. 8

Особенности монтажа дисковых вакуум-фильтров. 8

Особенности монтажа ленточных вакуум-фильтров. 8

5. Испытания фильтров. 8

Подготовка к испытаниям.. 8

Испытания. 9

6. Указания по технике безопасности. 9

Общие указания. 9

Меры безопасности при монтаже барабана вакуум-фильтров. 10

 

Минмонтажспецстрой СССР

Ведомственные строительные нормы

ВСН 389-78

ММСС СССР

Инструкция по монтажу вращающихся вакуум-фильтров

Впервые

1. ОБЩАЯ ЧАСТЬ

Общие положения

1.1. Требования настоящей инструкции должны выполняться при монтаже, испытании и приемке вращающихся вакуум-фильтров: барабанных (с наружной и внутренней фильтрующими поверхностями), дисковых и ленточных, применяемых в химической, нефтехимической, горнорудной, пищевой и других отраслях промышленности, изготовляемых из углеродистых и коррозионностойких сталей, титана, пластмасс, а также гуммированных.

Требования инструкции не распространяются на монтаж, испытание и приемку карусельных, тарельчатых и экспериментальных вращающихся вакуум-фильтров.

1.2. Требования обязательны для организаций, разрабатывающих проекты производства работ (ППР), выполняющих монтажные работы, а также для заводов-изготовителей вакуум-фильтров при разработке инструкций по монтажу.

Внесены
Гипрохиммонтажем Минмонтажспецстроя
СССР

Утверждены
Минмонтажспецстроем СССР
5 апреля 1978 г.

Срок введения

1 октября 1978 г.

1.3. При монтаже, испытаниях и приемке смонтированных фильтров наряду с требованиями настоящей инструкции следует руководствоваться указаниями завода-изготовителя, ППР и СНиП:

по монтажу технологического оборудования;

по бетонным и железобетонным конструкциям монолитным и сборным;

по технике безопасности в строительстве;

по электротехническим устройствам;

по монтажу приборов и средств автоматизации.

Приемка фундаментов (оснований)

1.4. Отклонения фактических размеров фундаментов от проектных не должны превышать приведенных в главах СНиП на производство и приемку работ по устройству бетонных и железобетонных (монолитных и сборных) фундаментов, а опорных металлических конструкций - в главе СНиП по монтажу металлических конструкций.

Приемка фильтров в монтаж

1.5. Распаковку и приемку фильтра или поставочных блоков следует производить в присутствии представителя заказчика непосредственно в зоне монтажа.

Транспортировка узлов фильтра волоком от места хранения к месту монтажа не допускается.

Гуммированные поверхности должны быть предохранены от прямого воздействия солнечных лучей.

Хранение гуммированных узлов при температуре ниже +2 °С недопустимо.

1.6. Монтажной организации на время производства монтажных работ должна быть передана следующая заводская техническая документация:

спецификации, комплектовочные ведомости, сборочные чертежи и схемы строповки;

технические условия и технический паспорт;

акт ОТК об испытании фильтра.

На аппараты, поставляемые в разобранном виде, дополнительно должны быть переданы схемы членения оборудования на поставочные блоки, маркировочные схемы и схемы строповки блоков.

1.7. Электродвигатели, поставляемые с фильтрами или отдельно от них, должны быть проверены при передаче в монтаж заказчиком или привлеченной им электромонтажной организацией в соответствии с правилами главы СНиП по монтажу электротехнических устройств.

1.8. Если при приемке установлена некомплектность оборудования, а также обнаружены дефекты в процессе его монтажа или испытания, монтажная организация обязана немедленно поставить в известность заказчика и принять участие в составлении акта по форме № М-27, утвержденного ЦСУ СССР.

Подготовительные работы

1.9. Поверхности фильтров, законсервированные на заводах-изготовителях смазками и покрытиями, должны подвергаться расконсервации, но без разборки.

Поверхности, законсервированные смазкой ЦБК (не окрашенные площадки, ручьи шкивов, зубья шестерен открытых зубчатых передач, звездочки и другие трущиеся поверхности), подлежат расконсервации. Указанные поверхности сначала протираются салфетками, а затем промываются уайт-спиритом.

Подшипниковые узлы, законсервированные смазкой ЦИАТИМ-203, а также внутренние полости редукторов, редукторов-вариаторов, законсервированные смазкой НГ-203 «Б» или НГ-203 «Г», расконсервации не подлежат.

1.10. После расконсервации детали и узлы должны быть подвергнуты осмотру, при котором проверяются:

отсутствие забоин на обработанных поверхностях деталей, видимых трещин и зазоров;

отсутствие повреждений на гуммированных поверхностях;

отсутствие заусенцев на перфорированных поверхностях выступающих кромок, острых углов, выступающих головок винтов и других неровностей;

исправность и надежность элементов уплотнений;

отсутствие повреждений на крепежных и других деталях.

1.11. Стержни анкерных болтов должны быть очищены от грязи, ржавчины и окалины. Мыть стержни керосином или соляровым маслом, а также смазывать их машинным маслом не разрешается.

При загрязнении резьбу следует очистить, промыть, протереть и смазать маслом.

2. ОБЩИЕ ПОЛОЖЕНИЯ ПО МОНТАЖУ ФИЛЬТРОВ

2.1. Схемы монтажа фильтров определяются в ППР в зависимости от габаритов и массы фильтров, характеристик монтажных средств, места расположения фильтров, высоты фундамента и т.д.

2.2. Строповку фильтров для подъема и установки в проектное положение следует производить за места, указанные в чертежах.

2.3. При выверке фильтров необходимо обеспечить совмещение их осей с осями фундамента, требуемый зазор для подливки, высотную отметку и горизонтальность. Допускаемые отклонения (если нет специальных указаний предприятия-изготовителя):

смещение осей в плане от осей фундамента - 10 мм;

отклонение от проектной высотной отметки - 10 мм;

отклонение от горизонтальности - см. пп. 4.1; 4.8 и 4.11.

Горизонтальность фильтров проверяют при помощи брускового или рамного уровня, который устанавливают на обработанную базовую поверхность или контрольную площадку.

2.4. Выверка фильтров производится:

на регулировочных винтах (если они предусмотрены в конструкции опорной части);

на инвентарных установочных домкратах;

на установочных гайках забетонированных анкерных болтов без упругих элементов (см. рисунок);

то же, с упругими элементами;

на жестких опорах (отнивелированных бетонных подушках);

на пакетах металлических подкладок.

Преимущественно должна применяться выверка на установочных гайках без упругих элементов и регулировочных винтах.

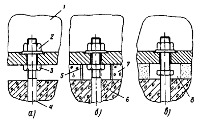
2.5. Выверка фильтров непосредственно на установочных гайках выполняется в следующем порядке:

установка по высоте и горизонтали с помощью установочных гаек анкерных болтов;

фиксация фильтра на время подливки крепежными гайками (см. рис. 1, а);

установка опалубки по периметру фундамента, а также вокруг анкерных болтов в зазоре между фундаментом и фильтром для обеспечения доступа к установочной гайке после подливки (см. рис. 1, б);

подливка бетонной смесью;

Выверка фильтров непосредственно на установочных гайках:

1 - опорная часть фильтра; 2 - крепежная гайка фундаментного болта; 3 - установочная гайка; 4 - фундаментный болт; 5 - опалубка фундаментного болта; 6 - фундамент; 7 - бетонная подливка; 8 - ниша

снятие опалубок (по достижении бетоном подливки проектной прочности) и навинчивание установочных гаек на анкерные болты для образования зазора между гайками и фильтром (см. рис. 1, в).

2.6. Крепление фильтров к фундаментам и основаниям осуществляется при помощи анкерных и фундаментных болтов для химического и нефтяного оборудования по ОСТ 26-956-74 ¸ ОСТ 26-980-74.

2.7. После окончания подливки до затвердения бетонной смеси следует выполнять контрольную проверку выверенного положения фильтра.

2.8. Правильность установки фильтров на фундамент оформляется актом по форме, приведенной в приложении к главе СНиП по монтажу технологического оборудования.

3. УСЛОВИЯ ПОСТАВКИ И ПОСЛЕДОВАТЕЛЬНОСТЬ МОНТАЖА ВРАЩАЮЩИХСЯ ВАКУУМ-ФИЛЬТРОВ

Барабанные вакуум-фильтры

3.1. Условия поставки и последовательность монтажа барабанных вакуум-фильтров приведены в табл. 1.

Таблица 1

Типоразмер фильтра

Основные поставочные узлы

Количество узлов

Порядок монтажа

 

1

2

3

4

 

Фильтры с наружной фильтрующей поверхностью

 

БОК 1-1

1. Фильтр в собранном виде

1

Установка и выверка фильтра

 

БОР 1-1

2. Головка распределительная

1

Монтаж головки

Испытания (обкатка вхолостую - 1 ч)

 

БОР 3-1,75

БОК 3-1,75

1. Фильтр в собранном виде

1

Установка и выверка фильтра

 

БОК 5-1,75

БОР 5-1,75

2. Привод мешалки

1

Монтаж привода мешалки

 

БГКЗ-1,75

3. Головка распределительная

1

Монтаж головки

Испытания (обкатка вхолостую - 1 ч)

 

БОУ 5-1,75

ВОУ 10-2,6

БОР 10-2,6

БОК 10-2,6

БОУ 20-2,6

БОК 20-2,6

1. Фильтр в собранном виде

1

Установка и выверка фильтра

Монтаж привода барабана

Монтаж привода мешалки

Монтаж головки

Испытания (обкатка вхолостую - 1 ч)

 

2. Привод барабана

1

 

3. Привод мешалки

1

 

4. Головка распределительная

1

 

БОУ 40-3

1. Барабан с цапфами

1

Установка и выверка корыта

Установка подшипников и проверка соосности

Монтаж мешалки

Монтаж барабана

Монтаж привода мешалки

Монтаж привода барабана

Монтаж распределительных головок

Монтаж ножа для съема осадка

Монтаж приспособления для промывки осадка

Испытания (проверка плотности корыта наливом воды; обкатка фильтра вхолостую - 2 ч.)

 

2. Корыто

1

 

3. Мешалка

1

 

4. Головка распределительная

2

 

5. Главные подшипники

2

 

6. Привод фильтра

1

 

7. Привод мешалки

1

 

8. Нож для съема осадка

1

 

9. Приспособление для промывки осадка

1

 

10. Приспособление для навивки проволоки

1

 

11. Система централизованной смазки

1

 

БТР 30-3,14

БТР 45-3,14

1. Барабан с цапфами

1

Сборка половин корыта, установка и выверка на фундаменте

 

2. Корыто (две половины)

1

 

3. Головка распределительная

1

 

4. Мешалка

1

Установка нижней половины корпуса редуктора с червяком

Монтаж рамы мешалки

Монтаж барабана в сборе с корпусами сальников, нажимных втулок, главного подшипника и червячного венца

Монтаж редуктора-вариатора с электродвигателем

Монтаж и выверка опорных рам

Монтаж привода мешалки

Монтаж распределительной головки

Монтаж валикового съема

Монтаж промывного устройства

Испытания (проверка на герметичность всех прокладочных и сальниковых уплотнений заполнением корыта водой; обкатка вхолостую - 2 ч)

 

5. Редуктор червячный

1

 

6. Привод барабана

1

 

7. Привод мешалки

1

 

8. Съем валиковый

1

 

9. Рама опорная 1

(2)

 

10. Главный подшипник

1

 

11. Устройство промывное

1

 

БГУ 50-3

БГХ 50-3

БГУ 75-3

1. Корпус фильтра

1

Установка и выверка корпуса

Монтаж подшипника

Монтаж червячного редуктора

Монтаж сальников

Монтаж барабана

Монтаж приводов барабана и шнека

Монтаж шнека

Монтаж распределительной головки

Монтаж масляных насосов

Монтаж ножа

Монтаж крышки фильтра (после опрессовки барабана)

Испытания (опрессовка корпуса и крышки давлением воздуха 0,1 кгс/см2; обкатка фильтра - 2 ч.)

 

2. Барабан с цапфами

1

 

3. Подшипник правый

1

 

4. Червячный редуктор

1

 

5. Сальник

2

 

6. Головка распределительная

1

 

7. Привод фильтра

1

 

8. Шнек

1

 

9. Масляный насос

2

 

10. Нож для съема осадка

1

 

11. Система промывки

1

 

12. Крышка фильтра

1

 

ВЛК 40-3

1. Корыто

1

Монтаж корыта

Установка спускного клапана

Испытание корыта на плотность

 

2. Барабан с цапфами

1

 

3. Головка распределительная

1

 

4. Привод мешалки

1

 

5. Привод барабана

1

Установка подшипников и проверка их соосности

Монтаж мешалки

Монтаж барабана

Установка и регулировка ножа

Установка и сборка привода мешалки

Установка и сборка привода барабана

Установка храпового устройства

Монтаж распределительной головки

Монтаж приспособления для промывки осадка

Монтаж приспособления для намотки проволоки

Испытание (обкатка фильтра - 2 ч)

 

6. Мешалка

1

 

7. Подшипник правый

1

 

8. Клапан спускной

1

 

9. Храповое устройство

1

 

10. Нож для съема осадка

1

 

11. Приспособление для промывки осадка

1

12. Приспособление для намотки проволоки

1

 

БВК 20-2,6

1. Барабан

1

Установка и выверка корпуса

Установка корпусов подшипников в сборе с корпусами сальников и подшипником качения

Сборка сальников и главного подшипника

Установка боковины

Монтаж привода барабана

Монтаж шнека

Монтаж привода шнека

Монтаж распределительной головки

Установка съемного валика

Установка лотка

Испытания (обкатка фильтра вхолостую с корпусом, наполненным водой, - 2 ч)

 

2. Корпус

1

 

3. Головка распределительная

1

 

4. Привод барабана

1

 

5. Шнек

1

 

6. Привод шнека

1

 

7. Подшипник главный

1

 

8. Приспособление для съема папки

1

 

9. Валик равнительный

1

 

10. Валик обжимной

1

 

11. Лоток

1

 

Бсх

ОКЗ-1,75

Бсх

ОУ5-1,75

Всх

ОУ10-2,6

1. Фильтр в собранном виде

1

Установка и выверка фильтра

Установка приспособления для съема осадка (для БсхОУ-10)

Монтаж привода барабана

Монтаж привода мешалки Монтаж распределительной головки

Испытания (обкатка фильтра вхолостую с корытом, наполненным водой, - 2 ч)

 

2. Привод барабана

1

 

3. Привод мешалки

1

 

4. Распределительная головка

1

 

5. Приспособление для съема осадка (только для БсхОУ-10)

1

 

Бсх

ОУ40-3,4

Бсх

ОК40-3,4

1. Корыто фильтра

1

Установка и выверка корыта

Монтаж мешалки

Установка ванны приспособления для съема осадка

Монтаж корпуса подшипника

Монтаж барабана (со сборкой главного подшипника)

Установка роликов приспособления для съема осадка

Полная сборка приспособления для съема осадка сходящим потоком

Монтаж привода барабана

Монтаж привода мешалки

Монтаж распределительной головки

Испытания (обкатка фильтра вхолостую с корытом, наполненным водой, - 2 ч)

 

2. Барабан

1

 

3. Приспособление для съема осадка

1

 

4. Привод барабана

1

 

5. Мешалка

1

 

6. Привод мешалки

1

 

7. Подшипник главный

1

 

8. Подшипник

1

 

БгВУ20-2,6

БгВУ40-3,4

БгВУ60-3,4

БгВК20-2,6

БгВК40-3,4

БгВК60-3,4

1. Корыто

1

Монтаж корыта фильтра

Монтаж ванн

Сварка ванн с корытом

Сварка стоек и сектора бандажного кольца

Монтаж барабана в сборе с подшипниками и корпусами сальников

Установка боковин

Установка валика съемного

Монтаж приводов барабана и шнека

Установка лотка

Установка равнительного валика и валика для съема осадка

Монтаж зонта

Испытания (на плотность наливом воды места стыка корыта с ваннами; обкатка вхолостую с корытом и ваннами, наполненными водой - 2 ч)

 

2. Начальная ванна

1

 

3. Концевая ванна

1

 

4. Стойка

2

 

5. Бандажное кольцо

1

 

6. Барабан

1

 

7. Подшипники

2

 

8. Сальники

2

 

9. Боковины

2

 

10. Привод барабана

1

 

11. Валик съемный

1

 

12.* Валик равнительный

 

 

13.* Валик для отжима осадка

 

 

14.* Зонт вентиляционный

 

 

Фильтры с внутренней фильтрующей поверхностью

 

ВУ25-2,5

ВК25-2,5

1. Рама опорных роликов с приводом

1

Установка и выверка рамы опорных роликов

Монтаж барабана

Монтаж опоры транспортера

Сборки транспортера

Монтаж бункера

Монтаж головки

Испытания (обкатка фильтра вхолостую - 2 ч.)

 

2. Барабан

1

 

3. Опора транспортера с приводом

1

 

4. Транспортер

1

 

5. Транспортер

1

 

6. Головка распределителъная

 

 

ВУ40-2,5

1. Рама опорных роликов

1

Монтаж рамы опорных роликов

Установка нижней части подшипника и выверка рамы опорных роликов

Монтаж барабана

Установка верхней части подшипника

Монтаж привода барабана

Монтаж стойки транспортера Монтаж транспортера

Оборка и монтаж бункера Монтаж головки

Испытания (обкатка фильтра вхолостую - 2 ч.)

 

2. Стойка

1

 

3. Барабан

1

 

4. Подшипник главный

1

 

5. Головка распределительная

1

 

6. Привод барабана

1

 

7. Стойка транспортера

1

 

8. Транспортер

1

 

9. Бункер

1

 

10. Скребок

1

 

_____________

* Поставляются дополнительно для БгВК20, БгВК40 и БгВК60.

Дисковые вакуум-фильтры

3.2. Условия поставки и последовательность монтажа дисковых вакуум-фильтров приведены в табл. 2.

Таблица 2

Типоразмер фильтра

Основные поставочные узлы

Количество узлов

Порядок монтажа

1

2

3

4

Фильтры общего назначения

ДУ9-1,8

ДК9-1,8

ДУ18-1,8

ДК18-1,8

ДУ27-1,8

ДК27-1,8

Фильтр в собранном виде

1

Установка, выверка и крепление фильтра

Испытание (обкатка фильтра вхолостую - 1 ч.)

ДУ34-2,5

ДК34-2,5

ДУ40-2,7

ДУ-51-2,5

ДК51-2,5

ДУ60-2,7

ДУ68-2,5

ДК68-2,5 ДУ80-2,7

ДУ100-2,5

1. Фильтр в собранном виде

1

Установка, выверка и крепление фильтра

Монтаж привода мешалки

Установка и закрепление штока привода мешалки с валом рамной мешалки фильтра

Установка колена

Испытание (обкатка фильтра вхолостую - 1 ч.)

2. Привод мешалки

1

3. Колено

1

Фильтры специальные

ДТ34-2,5

ДТ51-2,5

ДТ68-2,5

Д68-2,5У

ДУ80-2,7/8

Фильтр в собранном виде

1

Установка, выверка и крепление фильтра

Испытание (обкатка фильтра вхолостую - 1 ч)

ДШ68-2,5У

1. Фильтр в собранном виде

1

Установка, выверка и крепление фильтра, ч

2. Кожух

1

Монтаж кожуха (обкатка фильтра вхолостую - 1 ч)

Ленточные вакуум-фильтры

3.3. Условия поставки и последовательность монтажа ленточных вакуум-фильтров приведены в табл. 3.

Таблица 3

Типоразмер фильтра

Основные поставочные узлы

Количеств узлов

Порядок монтажа

1

2

3

4

Л1-0,5

Л1,6-0,5

Л2,5-0,5

Л3,2-0,5

Л4-0,5

1. Фильтр в собранном виде

1

Установка на фундамент фильтра и привода

Выверка и крепление фильтра и привода

Установка перегородок

Установка резинотканевой ленты и регулировка фильтра

Испытание (обкатка фильтра - 1 ч.)

2. Привод фильтра

1

3. Лента резинотканевая

1

4. Перегородки передвижные

4

ЛУ10-1,25

ЛДО10-1,25

Лсх10-1,4к

1. Фильтр в сборе

1

Установка фильтра и привода на фундамент

Выверка и крепление фильтра и привода

Монтаж металлоконструкций

Установка перегородок

Установка резинотканевой ленты и регулировка фильтра

Испытание (обкатка фильтра - 1 ч.)

2. Привод фильтра

1

3. Площадка, перила, лестница, ограждение

1

4. Лента резинотканевая

 

5. Перегородки передвижные

 

4. ОСОБЕННОСТИ МОНТАЖА ФИЛЬТРОВ

Особенности монтажа барабанных вакуум-фильтров

4.1. Допускаемое отклонение корыта от горизонтального положения - 1 мм на 1 м, но не более 3 мм на всю длину.

4.8. При монтаже и сборке гуммированных узлов и деталей во избежание повреждения слоя гуммирования не допускаются:

касание зачалочных канатов и цепей поверхности гуммировки;

удары по поверхности гуммировки металлическими инструментами и твердыми предметами;

установка деталей на поверхность гуммировки;

попадание на поверхность гуммировки масла, керосина или бензина;

неравномерное затягивание болтовых соединений.

4.3. В процессе монтажа необходимо выдержать зазоры между шейкой вала и верхним вкладышем, между галтелью шейки и цапфы и торцом фиксирующего подшипника.

4.4. При монтаже приводов барабана и мешалки необходимо выверить правильность зацепления зубчатых передач. При проверке «на краску» площадь прилегания зубьев должна соответствовать принятой степени точности передачи.

Пятна краски (отпечатки) должны располагаться симметрично относительно средней плоскости зубчатого (червячного) венца.

4.5. Необходимо проверить соответствие маркировки корпуса головки номеру фильтра, так как головки не взаимозаменяемы.

4.6. Нож для съема осадка, приспособление для заглаживания трещин, валики съемные, отжимные и равнительные должны быть параллельны поверхности барабана. Расстояние их от поверхности барабана должно соответствовать размерам, указанным в чертежах.

Особенности монтажа дисковых вакуум-фильтров

4.7. Перед монтажом фильтра необходимо убедиться в том, что воронки и отводные трубопроводы под люки слива суспензии поставлены на место.

4.8. Допускаемое отклонение ванны от горизонтального положения - 0,5 мм на 1 м только в сторону распределительной головки.

4.9. При монтаже привода мешалки необходимо руководствоваться п. 4.3.

4.10. Лезвия ножей съема осадка должны быть параллельны плоскости дисков. Допустимая непараллельность - 2,0 мм на длину ножа.

Особенности монтажа ленточных вакуум-фильтров

4.11. Допускаемый уклон вакуум-камеры - 0,5 мм на 1 м в сторону выгрузки осадка (в сторону приводного барабана).

4.12. При установке резинотканевой ленты необходимо:

снять борта со стороны съемных стоек рамы;

снять стойки и раскос;

приподнять приводной и натяжной барабаны;

завести резинотканевую ленту на барабаны;

установить снятые узлы и закрепить их;

натянуть предварительно ленту натяжным устройством;

установить питающий лоток, концевую перегородку и нож;

установить промежуточные перегородки и промывные лотки;

подсоединить к фильтру коммуникации: питающую, вакуумную, промывной и смывной жидкостей.

4.13. Вытяжные кожухи следует устанавливать на борта фильтра с резиновой прокладкой и крепить к бункеру поддона болтами.

5. ИСПЫТАНИЯ ФИЛЬТРОВ

Подготовка к испытаниям

5.1. К началу индивидуального испытания фильтра должны быть закончены следующие работы:

изготовление чистых полов, отделочные и другие строительные работы в помещении цеха;

проектное перекрытие кабельных и трубопроводных каналов, а также приямков, расположенных вокруг фильтра;

присоединение к штуцерам фильтра всех трубопроводов коммуникаций фильтровальной установки;

установка всех контрольно-измерительных приборов, причем они должны иметь паспорт и клеймо проверки текущего года, удостоверяющие их исправность и точность показаний;

подводка электропитания, заземление фильтров и проверка готовности электрической сети приводов;

установка защитных кожухов, сеток и ограждения;

проводка освещения обслуживающих площадок.

5.2. При подготовке механизмов фильтра к испытаниям следует:

залить масло в корпуса редукторов, редуктора-вариатора, мотор-редуктора (марка масел и уровень заливки указаны в соответствующих чертежах);

проверить наличие смазки в подшипниковых опорах;

нанести смазку на поверхности зубьев зубчатой и цепной передач;

заполнить консистентной смазкой колпачковые масленки.

5.3. Правильность направления вращения приводов следует проверить кратковременным включением («толчком») каждого электродвигателя.

5.4. Механизмы фильтра следует поочередно опробовать на холостом ходу. При отсутствии заеданий, рывков, стуков и т.п. фильтр считается подготовленным к испытаниям.

Испытания

5.5. Смонтированные фильтры перед сдачей в комплексное опробование должны подвергаться следующим индивидуальным испытаниям:

на плотность (мест соединений деталей, работающих под наливом);

обкатке вхолостую.

5.6. Испытания на плотность мест соединений деталей, работающих под наливом, следует производить заполнением корыта (ванны) водой до максимального рабочего уровня суспензии. При этом проверяется герметичность прокладочных и сальниковых уплотнений на корыте и герметичность прокладочных уплотнений крышки люка и ячейковой цапфы на барабане.

Продолжительность испытания наливом воды - не менее 1 ч при температуре воды не ниже +5 °С и температуре окружающего воздуха не ниже 0 °С.

Течи, капельное выделение воды по месту прокладок во фланцевом соединении двух половин корыта, в крышке люков и заглушках корыта не допускаются.

Подтягивание гаек на шпильках нажимных втулок, сальниковых уплотнений цапф барабана должно производиться при вращении барабана до тех пор, пока утечки воды через сальниковое уплотнение не уменьшатся до 0,1 л/мин.

5.7. Все фильтры, поставляемые в собранном виде, после монтажа следует обкатывать в течение 1 ч, а поставляемые в разобранном виде - 2 ч.

Обкатку производить при наибольшей скорости.

5.8. При обкатке надлежит производить проверку правильности сборки и работы всех механизмов фильтра. При этом следует проверить:

степень нагрева подшипников и трущихся поверхностей;

поступление смазки к трущимся поверхностям;

работу зубчатых и цепных передач;

правильность работы промывных устройств.

5.9. После окончания испытания необходимо составить акт об испытании вакуум-фильтра вхолостую и акт передачи вакуум-фильтра в комплексное опробование согласно правилам главы СНиП по монтажу технологического оборудования.

Указанный акт является одновременно актом об окончании монтажных работ.

6. УКАЗАНИЯ ПО ТЕХНИКЕ БЕЗОПАСНОСТИ

Общие указания

6.1. При монтаже фильтров необходимо соблюдать правила главы СНиП по технике безопасности в строительстве.

6.2. Площадку монтажа и пути транспортировки фильтров надлежит обеспечить хорошо видимыми предупреждающими плакатами и надписями.

6.3. Монтажная площадка должна быть выровнена, а проемы, каналы или колодцы, расположенные вблизи фундаментов фильтров и на площадке, до монтажа должны быть ограждены перилами высотой не менее 1,0 м или закрыты прочными крышками-щитами.

6.4. Перед началом монтажа следует провести инструктаж всех участников по технологии производства работ, технике безопасности и персональным обязанностям.

6.5. Строповку, зацепку и перемещение грузов с помощью кранов разрешается производить такелажнику, имеющему удостоверение на право производства работ. Во время работы такелажник должен иметь при себе удостоверение и предъявлять его по требованию инспектора Госгортёхнадзора и крановщика.

6.6. Перед началом монтажных работ такелажник должен подобрать необходимые для работы стропы - по грузоподъемности, числу ветвей, длине и углу наклона ветвей стропа к вертикали (угол между ветвями не должен превышать 90°) и проверить их исправность и наличие клейм или бирок с обозначением номера, даты испытания и грузоподъемности.

6.7. При подъеме и перемещении фильтра необходимо поднять его на 200-300 мм, а затем (после проверки устойчивости крена, правильности строповки, надежности работы тормозов механизмов подъема груза и стрелы) - на проектную отметку.

6.8. Если фильтр имеет острые ребра, между ним и ветвями стропа следует ставить предохранительные прокладки.

6.9. Место укладки фильтра должно быть внимательно осмотрено и подготовлено. Снимать стропы с фильтра или крана разрешается лишь после того, как фильтр будет надежно установлен.

6.10. Запрещается:

производить такелажные работы при недостаточном освещении рабочего места;

волочить или подтаскивать фильтр крюком при косом натяжении полиспаста;

оттягивать фильтр во время его подъема, перемещения или опускания;

применять для строповки и зацепки фильтров не предусмотренные схемами строповки приспособления (ломы, штыри и т.п.);

поддерживать перемещаемый фильтр руками;

производить очистку от грязи, предохранительной краски и смазки поверхностей фильтра, находящегося в подвешенном состоянии;

опускать фильтр на временные перекрытия, трубопроводы, электрические кабели и т.п.;

вытаскивать стропы из-под фильтра с помощью крюка.

6.11. Электроснабжение и система заземления должны быть выполнены в соответствии с правилами устройств электроустановок (ПУЭ).

Меры безопасности при монтаже барабана вакуум-фильтров

6.12. Допуск во внутреннее пространство барабана фильтра для производства работ или осмотра разрешается только после продувки его воздухом в количестве не менее пятикратной емкости барабана.

Для выполнения работ следует назначать не менее двух рабочих, из которых один (страхующий) должен находиться снаружи и следить за безопасностью работающего внутри барабана.

Во время производства работ (осмотра) должна быть вентиляция внутреннего пространства барабана.

6.13. Внутри барабана необходимо пользоваться переносным электрическим светильником только на напряжение 12 В, во взрывонепроницаемом, искробезопасном исполнении, с защитной металлической сеткой.




Rambler's Top100 Яндекс цитирования
  Copyright © 2008-2026, www.docload.ru